JP4334166B2 - 液晶表示装置及び配向膜の露光装置及び配向膜の処理方法 - Google Patents
液晶表示装置及び配向膜の露光装置及び配向膜の処理方法 Download PDFInfo
- Publication number
- JP4334166B2 JP4334166B2 JP2001233663A JP2001233663A JP4334166B2 JP 4334166 B2 JP4334166 B2 JP 4334166B2 JP 2001233663 A JP2001233663 A JP 2001233663A JP 2001233663 A JP2001233663 A JP 2001233663A JP 4334166 B2 JP4334166 B2 JP 4334166B2
- Authority
- JP
- Japan
- Prior art keywords
- alignment film
- liquid crystal
- alignment
- diamine component
- photomask
- Prior art date
- Legal status (The legal status is an assumption and is not a legal conclusion. Google has not performed a legal analysis and makes no representation as to the accuracy of the status listed.)
- Expired - Fee Related
Links
Images
Classifications
-
- G—PHYSICS
- G03—PHOTOGRAPHY; CINEMATOGRAPHY; ANALOGOUS TECHNIQUES USING WAVES OTHER THAN OPTICAL WAVES; ELECTROGRAPHY; HOLOGRAPHY
- G03F—PHOTOMECHANICAL PRODUCTION OF TEXTURED OR PATTERNED SURFACES, e.g. FOR PRINTING, FOR PROCESSING OF SEMICONDUCTOR DEVICES; MATERIALS THEREFOR; ORIGINALS THEREFOR; APPARATUS SPECIALLY ADAPTED THEREFOR
- G03F7/00—Photomechanical, e.g. photolithographic, production of textured or patterned surfaces, e.g. printing surfaces; Materials therefor, e.g. comprising photoresists; Apparatus specially adapted therefor
- G03F7/20—Exposure; Apparatus therefor
- G03F7/22—Exposing sequentially with the same light pattern different positions of the same surface
-
- G—PHYSICS
- G02—OPTICS
- G02F—OPTICAL DEVICES OR ARRANGEMENTS FOR THE CONTROL OF LIGHT BY MODIFICATION OF THE OPTICAL PROPERTIES OF THE MEDIA OF THE ELEMENTS INVOLVED THEREIN; NON-LINEAR OPTICS; FREQUENCY-CHANGING OF LIGHT; OPTICAL LOGIC ELEMENTS; OPTICAL ANALOGUE/DIGITAL CONVERTERS
- G02F1/00—Devices or arrangements for the control of the intensity, colour, phase, polarisation or direction of light arriving from an independent light source, e.g. switching, gating or modulating; Non-linear optics
- G02F1/01—Devices or arrangements for the control of the intensity, colour, phase, polarisation or direction of light arriving from an independent light source, e.g. switching, gating or modulating; Non-linear optics for the control of the intensity, phase, polarisation or colour
- G02F1/13—Devices or arrangements for the control of the intensity, colour, phase, polarisation or direction of light arriving from an independent light source, e.g. switching, gating or modulating; Non-linear optics for the control of the intensity, phase, polarisation or colour based on liquid crystals, e.g. single liquid crystal display cells
- G02F1/1303—Apparatus specially adapted to the manufacture of LCDs
-
- G—PHYSICS
- G02—OPTICS
- G02F—OPTICAL DEVICES OR ARRANGEMENTS FOR THE CONTROL OF LIGHT BY MODIFICATION OF THE OPTICAL PROPERTIES OF THE MEDIA OF THE ELEMENTS INVOLVED THEREIN; NON-LINEAR OPTICS; FREQUENCY-CHANGING OF LIGHT; OPTICAL LOGIC ELEMENTS; OPTICAL ANALOGUE/DIGITAL CONVERTERS
- G02F1/00—Devices or arrangements for the control of the intensity, colour, phase, polarisation or direction of light arriving from an independent light source, e.g. switching, gating or modulating; Non-linear optics
- G02F1/01—Devices or arrangements for the control of the intensity, colour, phase, polarisation or direction of light arriving from an independent light source, e.g. switching, gating or modulating; Non-linear optics for the control of the intensity, phase, polarisation or colour
- G02F1/13—Devices or arrangements for the control of the intensity, colour, phase, polarisation or direction of light arriving from an independent light source, e.g. switching, gating or modulating; Non-linear optics for the control of the intensity, phase, polarisation or colour based on liquid crystals, e.g. single liquid crystal display cells
- G02F1/133—Constructional arrangements; Operation of liquid crystal cells; Circuit arrangements
- G02F1/1333—Constructional arrangements; Manufacturing methods
- G02F1/1337—Surface-induced orientation of the liquid crystal molecules, e.g. by alignment layers
- G02F1/133711—Surface-induced orientation of the liquid crystal molecules, e.g. by alignment layers by organic films, e.g. polymeric films
- G02F1/133723—Polyimide, polyamide-imide
-
- G—PHYSICS
- G02—OPTICS
- G02F—OPTICAL DEVICES OR ARRANGEMENTS FOR THE CONTROL OF LIGHT BY MODIFICATION OF THE OPTICAL PROPERTIES OF THE MEDIA OF THE ELEMENTS INVOLVED THEREIN; NON-LINEAR OPTICS; FREQUENCY-CHANGING OF LIGHT; OPTICAL LOGIC ELEMENTS; OPTICAL ANALOGUE/DIGITAL CONVERTERS
- G02F1/00—Devices or arrangements for the control of the intensity, colour, phase, polarisation or direction of light arriving from an independent light source, e.g. switching, gating or modulating; Non-linear optics
- G02F1/01—Devices or arrangements for the control of the intensity, colour, phase, polarisation or direction of light arriving from an independent light source, e.g. switching, gating or modulating; Non-linear optics for the control of the intensity, phase, polarisation or colour
- G02F1/13—Devices or arrangements for the control of the intensity, colour, phase, polarisation or direction of light arriving from an independent light source, e.g. switching, gating or modulating; Non-linear optics for the control of the intensity, phase, polarisation or colour based on liquid crystals, e.g. single liquid crystal display cells
- G02F1/133—Constructional arrangements; Operation of liquid crystal cells; Circuit arrangements
- G02F1/1333—Constructional arrangements; Manufacturing methods
- G02F1/1337—Surface-induced orientation of the liquid crystal molecules, e.g. by alignment layers
- G02F1/13378—Surface-induced orientation of the liquid crystal molecules, e.g. by alignment layers by treatment of the surface, e.g. embossing, rubbing or light irradiation
- G02F1/133788—Surface-induced orientation of the liquid crystal molecules, e.g. by alignment layers by treatment of the surface, e.g. embossing, rubbing or light irradiation by light irradiation, e.g. linearly polarised light photo-polymerisation
-
- C—CHEMISTRY; METALLURGY
- C09—DYES; PAINTS; POLISHES; NATURAL RESINS; ADHESIVES; COMPOSITIONS NOT OTHERWISE PROVIDED FOR; APPLICATIONS OF MATERIALS NOT OTHERWISE PROVIDED FOR
- C09K—MATERIALS FOR MISCELLANEOUS APPLICATIONS, NOT PROVIDED FOR ELSEWHERE
- C09K2323/00—Functional layers of liquid crystal optical display excluding electroactive liquid crystal layer characterised by chemical composition
- C09K2323/02—Alignment layer characterised by chemical composition
- C09K2323/025—Polyamide
-
- C—CHEMISTRY; METALLURGY
- C09—DYES; PAINTS; POLISHES; NATURAL RESINS; ADHESIVES; COMPOSITIONS NOT OTHERWISE PROVIDED FOR; APPLICATIONS OF MATERIALS NOT OTHERWISE PROVIDED FOR
- C09K—MATERIALS FOR MISCELLANEOUS APPLICATIONS, NOT PROVIDED FOR ELSEWHERE
- C09K2323/00—Functional layers of liquid crystal optical display excluding electroactive liquid crystal layer characterised by chemical composition
- C09K2323/02—Alignment layer characterised by chemical composition
- C09K2323/027—Polyimide
-
- G—PHYSICS
- G02—OPTICS
- G02F—OPTICAL DEVICES OR ARRANGEMENTS FOR THE CONTROL OF LIGHT BY MODIFICATION OF THE OPTICAL PROPERTIES OF THE MEDIA OF THE ELEMENTS INVOLVED THEREIN; NON-LINEAR OPTICS; FREQUENCY-CHANGING OF LIGHT; OPTICAL LOGIC ELEMENTS; OPTICAL ANALOGUE/DIGITAL CONVERTERS
- G02F2201/00—Constructional arrangements not provided for in groups G02F1/00 - G02F7/00
- G02F2201/08—Constructional arrangements not provided for in groups G02F1/00 - G02F7/00 light absorbing layer
- G02F2201/086—UV absorbing
Landscapes
- Physics & Mathematics (AREA)
- Nonlinear Science (AREA)
- General Physics & Mathematics (AREA)
- Chemical & Material Sciences (AREA)
- Crystallography & Structural Chemistry (AREA)
- Optics & Photonics (AREA)
- Spectroscopy & Molecular Physics (AREA)
- Mathematical Physics (AREA)
- Engineering & Computer Science (AREA)
- Manufacturing & Machinery (AREA)
- Liquid Crystal (AREA)
Description
【発明の属する技術分野】
本発明は液晶の配向を制御するために配向膜に紫外線を照射しあるいは配向膜に土手構造物を設けたりした液晶表示装置に関する。また、本発明は液晶表示装置の配向膜の露光装置及び配向膜の処理方法に関する。
【0002】
【従来の技術】
液晶表示装置は一対の基板の間に液晶を挟持してなり、各基板の内面側には液晶に電界を印加するための電極及び液晶の配向を制御する配向膜が設けられる。配向膜は、液晶分子を所定の方向に配向させるために配向処理される。典型的には、配向膜はレーヨン等の繊維材料でラビングされ、液晶分子はラビング方向に配向するようになる。しかし、配向膜を繊維材料でラビングすると、繊維材料が飛び散り、液晶パネルが汚染される可能性がある。そこで、配向膜をラビングすることなく、液晶の配向を制御する技術が求められている。
【0003】
例えば、特開平11−202336号公報は、配向膜に紫外線を斜めから照射することによって液晶の配向を制御する技術を開示している。この公報に記載された発明では、配向膜を移動させながら、紫外線はスリットを有するマスクを介して斜め方向から配向膜に照射される。
【0004】
特開平11−352489号公報は、配向膜に土手構造物(突起状のパターン)を設けることによって液晶の配向を制御する技術を開示している。この場合、垂直配向膜が使用され、液晶分子は配向膜に対して垂直に配向する。土手構造物(突起状のパターン)がある位置では、液晶分子は土手構造物(突起状のパターン)の側面に対して垂直に配向し、概しては基板面に対して斜めに配向することになる。土手構造物(突起状のパターン)は両側に側面を有し、土手構造物(突起状のパターン)の一方の側面に対して垂直に配向する液晶分子の配向方向は、土手構造物(突起状のパターン)の反対側の側面に対して垂直に配向する液晶分子の配向方向とは逆になる。これによって、配向分割が達成される。
【0005】
配向分割は、1画素内に液晶の配向が異なった複数の領域を設けることである。ラビングを例にとると、配向膜の1画素分の面積を2つの領域に分割し、第1の領域を一方の方向にラビングをし、第2の領域を反対の方向にラビングする。すると、第1の領域に接する液晶分子は一方の方向を向いてプレチルトし、第2の領域に接する液晶分子は反対の方向を向いてプレチルトする。配向分割をされた液晶表示装置では、視角特性が改善されることが知られている。
【0006】
負の誘電率異方性を有する液晶、及び垂直配向性を有する配向膜を用いると、容易に配向分割を実現することができる。
【0007】
垂直配向性を有する配向膜に紫外線を斜めから照射すると、紫外線の照射方向と垂直な平面内に存在する配向膜のアルキル側鎖が紫外線を吸収して切断され、紫外線の照射方向と平行な平面内に存在する配向膜のアルキル側鎖が紫外線を吸収することなく残り、この残ったアルキル側鎖に従って液晶分子が配向する。配向分割を行うためには、配向膜の一つの領域に紫外線を一方の斜め方向から照射し、配向膜の他の一つの領域に紫外線を反対の斜め方向から照射する。この場合、紫外線光源と配向膜との間にマスクを配置して前記一つの領域及び他の一つの領域に選択的に紫外線を照射する。
【0008】
配向膜としては種々の材料が使用される。例えば、特開昭64−004720号公報は、ポリアミック酸とポリイミドとの混合物からなる配向膜を用いたTN型液晶表示装置を開示している。ただし、この公報では、ポリアミック酸とポリイミドとの混合物はTN型液晶セルを構成している。
【0009】
さらに、垂直配向性を有する配向膜に紫外線を斜めから照射すると、液晶表示装置として使用するときに液晶が紫外線の照射方向と平行な方向に配向するようになる。一方、基板には配向膜とともに電極が設けられている。一方の基板はTFT基板であり、複数の画素電極及びバスラインを有する。他方の基板はカラーフィルタ基板であり、共通電極を有する。配向膜の配向処理は、液晶の配向方向がバスラインと平行になるように行われる。この場合、画素電極とバスラインとの間に横電界が作用し、画素電極とバスラインとの境界部分においては、液晶の配向が横電界により乱されるという問題がある。
【0010】
【発明が解決しようとする課題】
配向膜に紫外線を斜めから照射する場合、紫外線光源は配向膜に対して角度をつけて配置される。このような角度をつけた配置においては、紫外線光源と配向膜との間の距離(光路長)が配向膜の位置によって変化する。そのため、配向膜に照射される紫外線の強度が変動し、それによって実現されるプレチルト角が変動することがあり、安定した配向を得ることができず、ドメインが現れるなどして良好な表示ができなくなるという問題があった。
【0011】
紫外線照射による配向制御技術において、配向分割を達成するためには、紫外線光源とマスクとを含む露光装置を使用する。マスクは紫外線光源と配向膜との間に配置され、よって紫外線が配向膜の部分に選択的に照射される。配向分割の第1の方法では、マスクの開口部の面積を小さくし、散乱性をもった紫外線がマスクの開口部を透過するようにする。しかし、この方法では、紫外線の利用効率が低く、紫外線の照射時間を長くしなければならないという問題があった。
【0012】
配向分割の第2の方法では、マスクの開口部の面積を画素の半分を照射するのに適した大きさにし、紫外線光源をマスクに斜めに配置して紫外線を配向膜の各画素の半分を照射し、それから紫外線光源をマスクに逆向きに斜めに配置して紫外線を配向膜の各画素の残りの半分を照射する。しかし、この場合、画素が小さくなるに従って、マスクと配向膜との位置合わせが難しくなる。また、プロキシミティ露光ではマスクと配向膜との間に間隔を空けてマスクと配向膜との位置合わせを行う。しかし、画素が小さくなるに従って、マスクと配向膜との間の間隔を小さくする必要があるが、マスクと配向膜との間の間隔を許容値よりも小さくすることができない。
【0013】
本発明の目的は、液晶の安定な配向を実現することができ、それによって良好な表示を得ることのできる液晶表示装置を提供することである。
【0014】
本発明の目的は、紫外線の利用効率の高い、液晶の安定な配向を実現することができるようにした配向膜の露光装置を提供することである。
【0015】
本発明の目的は、紫外線の照射により配向膜の配向処理を行う際に、マスクと配向膜との位置合わせを容易に行うことができるようにした配向膜の処理方法を提供することである。
【0016】
本発明の目的は、液晶の配向が画素電極とバスラインとの境界部分において横電界により乱されるのを防止するようにした液晶表示装置を提供することである。
【0017】
【課題を解決するための手段】
本発明による液晶表示装置は、一対の基板と、該一対の基板の間に挟持される液晶と、該基板の内面側に設けられた配向膜とを備え、該配向膜は、垂直配向膜であって、紫外線照射により配向処理されたものであり、ジアミン成分を含むポリアミック酸と、該ポリアミック酸のジアミン成分とは異なるジアミン成分を含むポリイミドとの混合物からなり、該ポリイミドに含まれるジアミン成分が、垂直配向性に寄与するジアミン成分と垂直配向性に寄与しないジアミン成分とを含み、該ポリイミドに含まれるジアミン成分全体に対する該垂直配向性に寄与するジアミン成分の割合が30%以上である。
また、本発明による他の液晶表示装置は、一対の基板と、該一対の基板の間に挟持される液晶と、該基板の内面側に設けられた配向膜とを備え、該配向膜は、垂直配向膜であって、紫外線照射により配向処理されたものであり、ジアミン成分を含むポリアミック酸と、該ポリアミック酸のジアミン成分とは異なるジアミン成分を含むポリイミドとの混合物からなり、該ポリアミック酸に含まれるジアミン成分及び該ポリイミドに含まれるジアミン成分のそれぞれが、垂直配向性に寄与するジアミン成分と垂直配向性に寄与しないジアミン成分とを含む。
【0018】
この構成において、ポリアミック酸は紫外線の照射量が変化しても実現されるプレチルト角はほとんど変わらず、ポリイミドは紫外線の照射量が変化すると実現されるプレチルト角が大きく変化する。この両者を混合すると、紫外線の照射を開始してある時間に達すると、紫外線照射量に依存することなく、ポリイミドとポリアミック酸の混合割合に対応したプレチルト角が安定に実現されることになる。ただし、ポリアミック酸及びポリイミドに用いられるジアミン成分が同一のものであると、ポリアミック酸とポリイミドが均一に混ざりやすくなり、ポリイミドの配向状態を変化させる効果が少なくなるため、ポリアミック酸の性質に近くなってしまう。このため、ポリアミック酸に用いられるジアミン成分とポリイミドに用いられるジアミン成分とは異なる方がよい。
【0019】
本発明による配向膜の露光装置は、紫外線光源と、紫外線光源から放射された紫外線を通過させるスリット及び紫外線光源とは反対側に反射面を有する反射板と、反射板のスリットから出射した紫外線を通過させる開口部及び反射板側に反射面を有するフォトマスクとを備えたことを特徴とする。
【0020】
上記露光装置によれば、紫外線の利用効率が高く、液晶の安定な配向を実現することができる。
【0021】
本発明による配向膜の処理方法は、複数の画素領域が規定されている配向膜に紫外線を照射して配向膜の配向処理を行う配向膜の形成方法において、フォトマスクを配向膜の上方に配置し、フォトマスクの第1の開口部の中心部が配向膜の第1の画素領域の中心部に整列するようにフォトマスクを配向膜に対して位置合わせし、紫外線光源をフォトマスクの上方に配置し、紫外線光源、フォトマスク及び配向膜は、フォトマスクの前記第1の開口部を通過した紫外線が配向膜の前記第1の画素領域からn個(nは0以上の整数)離れた画素領域を照射するように配置されており、そして、フォトマスクの開口部の幅をa(μm)、フォトマスクと配向膜との間の間隔をd(μm)、配向膜に入射する紫外線の角度をθ(rad)、画素領域のピッチをg(μm)とするとき、紫外線光源、フォトマスク、及び配向膜は次の関係を満足するように配置され、
(g/2−20)≦a≦(g/2+20) (1)
【0022】
【数4】
そして、紫外線光源から紫外線を照射して配向膜に配向処理を行うことを特徴とする。
【0023】
上記処理方法によれば、マスクと配向膜との位置合わせを容易に行って、紫外線の照射により配向膜の配向処理を行うことができる。
【0024】
本発明による液晶表示装置は、第1及び第2の対向する基板と、該第1及び第2の基板の間に挟持される液晶と、該第1の基板の内面側に設けられた複数の画素電極、バスライン及び配向膜と、該第2の基板の内面側に設けられた共通電極及び配向膜とを備え、該第1及び第2の基板の少なくとも一方の配向膜には液晶を所定の方向に配向させる処理が施されており、該第2の基板の配向膜には該第1の基板のバスラインに対応する位置に厚さ0.1〜0.15μmの土手構造が設けられていることを特徴とする。
【0025】
この構成においては、土手構造が液晶の配向が画素電極とバスラインとの境界部分において横電界により乱されるのを防止する。
【0026】
【発明の実施の形態】
以下本発明の実施例について図面を参照して説明する。図1は本発明の第1実施例の液晶表示装置を示す図である。液晶表示装置10は、一対の透明な基板12,14と、一対の基板12,14の間に挟持される液晶16と、基板12,14の内面側に設けられる配向膜18,20とを備える。電極22,24がそれぞれ配向膜18,20の下に設けられる。一方の電極はTFTを含むアクティブマトリクスとともに設けられる。液晶16は負の誘電率異方性をもつ液晶であり、配向膜18,20は垂直配向膜である。従って、図1に示すように、液晶16は基板12,14に対してほぼ垂直に且つプレチルトをもって配向する。
【0027】
この実施例では、配向膜18,20はジアミン成分を含むポリイミドを含む材料で形成される。好ましくは、配向膜18,20は、ジアミン成分を含むポリアミック酸と、ジアミン成分を含むポリイミドとの混合物で作られ、ポリアミック酸のジアミン成分とポリイミドのジアミン成分とは互いに異なっている。そして、ポリイミドのジアミン成分については、実質的に垂直配向性に寄与しないジアミン成分と実質的に垂直配向性に寄与するジアミン成分とを含み、ジアミン成分全体に対する該実質的に垂直配向性に寄与するジアミン成分の割合が30%以上である。
【0028】
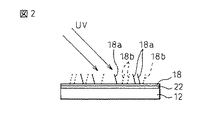
図2は配向膜18(20)に紫外線を照射する例を示す図である。配向膜18(20)の実質的に垂直配向性に寄与するジアミン成分は誇大化して示したアルキル側鎖18a,18bを有するものとする。アルキル側鎖18a,18bは配向膜18(20)の表面に対して種々の向きで突出している。アルキル側鎖18aは紫外線の入射方向に対してほぼ平行な平面内に存在し、アルキル側鎖18bは紫外線の入射方向に対してほぼ垂直な平面内に存在している。配向膜18(20)に無偏光又は偏光した紫外線を斜めから照射すると、紫外線の照射方向に対してほぼ垂直な平面内に存在しているアルキル側鎖18bは紫外線を吸収して切断され、紫外線の入射方向に対してほぼ平行な平面内に存在しているアルキル側鎖18aは紫外線を吸収せず、切断されない。従って、アルキル側鎖18aは切断されずに残る。
【0029】
図3は図2の配向膜18(20)を使用するときに液晶分子が配向する例を示す図である。このようにして処理された配向膜18,20を含む液晶表示装置を図1に示すように組み立て、液晶16を挿入すると、液晶16の分子は切断されずに残ったアルキル側鎖18aに従ってプレチルトするようになる。従って、液晶16の分子は、配向膜18,20の垂直配向性により基板12,14に対してほぼ垂直に配向するが、アルキル側鎖18aに従って所定のプレチルト角だけプレチルトする。
【0030】
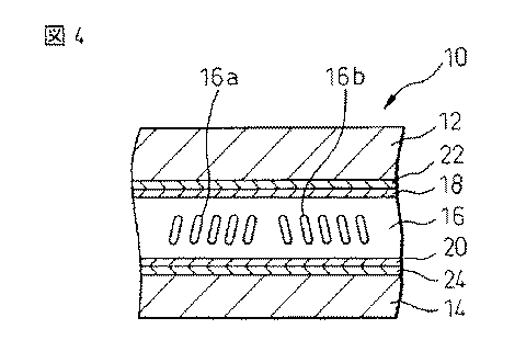
図4は図1の液晶表示装置の変形例を示す図である。図4においては、液晶16は基板12,14に対してほぼ垂直に且つプレチルトをもって配向している。しかし、一部の領域の液晶16の分子16aは他の一部の領域の液晶16の分子16bとは異なった方向に配向(プレチルト)している。1画素内に異なった配向をもつ複数の領域があると(配向分割)、液晶表示装置の視角特性が改善されることが知られている。
【0031】
図5は図4の配向膜18(20)に紫外線を照射する例を示す図である。一部の領域の液晶16の分子16aを配向させるためには、紫外線UV1が一方の斜め方向から照射される。他の一部の領域の液晶16の分子16bを配向させるためには、紫外線UV2が前記のものとは反対の斜め方向から照射される。紫外線UV1,UV2が照射されるときに、マスク26が使用される。
【0032】
上記したように、紫外線を斜めから照射すると、紫外線放射源と配向膜18(20)との間の光路長が位置によって変化し、照射される紫外線の強度が位置によって異なって、プレチルト角が異なるようになり、安定した配向を得ることができないという問題がある。そこで、本発明では、配向膜18(20)の材料を上記したように構成することによってそのような問題点を改善する。
【0033】
図6はポリアミック酸及びポリイミドをそれぞれ単独で配向膜としたときの紫外線の照射量とプレチルト角との関係を示す図である。曲線A,B,Cは垂直配向性に寄与するジアミン成分の含有量が異なるポリアミック酸A,B,Cについての紫外線の照射量とプレチルト角との関係を示す図である。便宜のために、樹脂の種類とそれに対応する曲線とを同じ記号で示す。ポリアミック酸単独で配向膜としたときには、ジアミン成分の含有量が異なっても、実現されるプレチルト角はほとんど変化しない。
【0034】
曲線D,E,F,G,H,Iは垂直配向性に寄与するジアミン成分の含有量が異なるポリイミドD,E,F,G,H,Iについての紫外線の照射量とプレチルト角との関係を示す図である。便宜のために、樹脂の種類とそれに対応する曲線とを同じ記号で示す。ポリイミドD,E,F,G,H,Iの垂直配向性に寄与するジアミン成分の割合は、20,40,50,60,90,100%である。ポリイミド単独で配向膜としたときには、紫外線照射により実現されるプレチルト角は大きく変化する。しかし、ポリイミド単独で配向膜としたときには、紫外線の照射量が変化すると実現されるプレチルト角がかなり大きく変化する。
【0035】
図7はポリアミック酸とポリイミドとを混合して配向膜としたときの紫外線の照射量とプレチルト角との関係を示す図である。曲線DA,EA,CA,GB,HA,IAは、上記したポリアミック酸A,B,Cと、上記したポリイミドD,E,F,G,H,Iとをそれぞれ混合して作成した配向膜の場合を示す。垂直配向性に寄与するジアミン成分の含有量が少ない(20%)ポリイミドを含む混合物を示す曲線DAにおいては、紫外線の照射量が変化すると、実現されるプレチルト角が大きく変化する。垂直配向性に寄与するジアミン成分の含有量が多い(90、又は100%)ポリイミドを含む混合物に関する曲線IAにおいては、紫外線の照射量が多くなっても、実現されるプレチルト角の変化は比較的に小さい。垂直配向性に寄与するジアミン成分の含有量が適切な(30%以上)ポリイミドを含む混合物に関する曲線EA,FC,GB,HAにおいては、紫外線の照射量が変化するにもかかわらず、実現されるプレチルト角の変化が非常に小さい。
【0036】
要するに、ポリアミック酸は紫外線の照射量が多くても実現されるプレチルト角の変化はかなり小さく、ポリイミドは紫外線の照射量が多くなるにつれてプレチルト角が比較的に大きく変化する。この両者を混合すると、ポリイミドの特性とポリアミック酸の特性とが平均化され、紫外線の照射の開始からある時間経過後には、それからの紫外線照射量に依存することなく、ポリイミドとポリアミック酸の混合割合に対応したプレチルト角が安定に維持されることになる。すなわち、紫外線の照射量2000mJから3000mJの範囲では、曲線EA,FC,GG,HAにおいては紫外線の照射量が変化してもプレチルト角はほとんど変化しない。従って、実際に照射される紫外線の量が変動しても、実現されるプレチルト角はほとんど一定になる。
【0037】
ただし、ポリアミック酸に用いられるジアミン成分とポリイミドに用いられるジアミン成分が同一のものであると、ポリアミック酸とポリイミドが均一に混ざりやすくなり、ポリイミドの配向状態を変化させる効果が少なくなるため、ポリアミック酸の性質に近くなってしまう。このため、ポリアミック酸に用いられるジアミン成分とポリイミドに用いられるジアミン成分とは異なる方がよい。
【0038】
また、ジアミンには垂直配向性を発現するものとそうでないものとがある。ポリイミドに用いられる垂直配向性を発現するジアミンがあまり少ないと、紫外線を照射したときのプレチルト変化が大きくなりすぎるので、ポリアミック酸と混合したときにプレチルトの制御が難しくなる。このために、ジアミン成分全体に対する垂直配向性を有するジアミン成分の割合が30%以上であるのがよい。より好ましくは、垂直配向性を有するジアミン成分の割合が40%以上で90%以下であるのがよい。
【0039】
図8は2種類の樹脂を単独で基板に塗布したときの配向膜及び混合したときの配向膜の紫外線の照射量と表面エネルギーの関係を示す図である。曲線Bは上記のポリアミック酸Bと同様のポリアミック酸Bに関するものであり、曲線Gは上記のポリイミドGと同様のポリイミドGに関するものである。曲線GBはポリアミック酸BとポリイミドGとを混合したものに関するものである。図6,7に示したプレチルト角のときと同様に、紫外線の照射により表面エネルギーがほとんど変わらない樹脂と大きく変わる樹脂とを混合することで、ある照射量で表面エネルギーがほとんど変わらない安定した領域が現れる。これにより、安定したプレチルトを得ることができる。
【0040】
表面エネルギーが異なっていれば、ジアミン成分が異なるときの理由と同じで、樹脂を混合させたときにある程度の不均一性を生じるため都合がよい。従って、基板12,14上に形成される配向膜18,20の表面エネルギーの値が2mN/m以上異なる樹脂の混合物であることが好ましい。
【0041】
紫外線に対する表面エネルギーの変化量が異なる樹脂を混合することは、ポリアミック酸とポリイミドとを混合したときのようにプレチルト角が異なる樹脂を混合することに相当する。従って、基板12,14上に形成される配向膜18,20が紫外線に対する表面エネルギーの変化量が異なる少なくとも2種類の樹脂を混合してなることが好ましい。
【0042】
図9は2種類の樹脂を単独で基板に塗布したときの配向膜及び混合したときの配向膜の紫外線の照射量と電圧保持率を示す図である。曲線Cは上記のポリアミック酸Cと同様のポリアミック酸Cに関するものであり、曲線Fは上記のポリイミドFと同様のポリイミドFに関するものである。曲線FCはポリイミドFとポリアミック酸Cとを混合したものに関するものである。曲線Cの配向膜は紫外線により電圧保持率が低下し、曲線Fの配向膜は紫外線により電圧保持率が上昇する。この両者を混合する(曲線FC)と、結果的に電圧保持率の低下が抑えられるので、紫外線が照射されても良好な電圧保持率を得ることができる。
【0043】
従って、基板12,14上に形成される配向膜18,20が紫外線に対する電圧保持率の変化量が異なる少なくとも2種類の樹脂を混合してなることが好ましい。
【0044】
次に具体的な例について説明する。
【0045】
(例1)
ポリアミック酸AとポリイミドH(垂直配向性に寄与するジアミン成分の含有量が90%)との混合物から配向膜18,20を作った。混合比率は、ポリアミック酸A:ポリイミドH=49:1とした。この混合物を含む配向膜材料をスピナーで塗布し、ベークして、基板12,14上に配向膜18,20を形成した。この配向膜18,20に45°の斜め方向から紫外線を照射した。なお、紫外線の照射量を変化させて幾つかのサンプルを作成した。一方の基板に熱硬化性シール材を塗布し、他方の基板に4μmのスペーサを散布して、両基板を貼り合わせた。真空パック後熱硬化を行い、空セルを作成した。この空セルに負の誘電率異方性を有する液晶を真空中にて注入し、液晶表示パネルを作成した。このようにして作成した液晶表示パネルのプレチルト角を測定したところ、図7の曲線HAに示すように、紫外線の照射量3Jでプレチルト角は最低となり、プレチルト角の変化はこの最低値の前後でかなり小さい。これによって、安定したプレチルト角を得ることができた。
【0046】
(例2)
図8に示されるような表面エネルギーの変化をもつポリアミック酸BとポリイミドG(垂直配向性に寄与するジアミン成分の含有量が60%)との混合物から配向膜18,20を作った。混合比率は、ポリアミック酸B:ポリイミドG=4:1とした。この混合物を含む配向膜材料を用いて例1と同様にして液晶表示パネルを作成した。このようにして作成した液晶表示パネルのプレチルト角を測定したところ、図7の曲線GBに示すように、紫外線の照射量3Jでプレチルト角は最低となり、プレチルト角の変化はこの最低値の前後でかなり小さい。これによって、安定したプレチルト角を得ることができた。また、図8に示したように、表面エネルギーもほとんど変化しなかった。
【0047】
(例3)
図9に示されるような表面エネルギーの変化をもつポリアミック酸CとポリイミドF(垂直配向性に寄与するジアミン成分の含有量が50%)との混合物から配向膜18,20を作った。混合比率は、ポリアミック酸C:ポリイミドF=3:1とした。この混合物を含む配向膜材料を用いて例1と同様にして液晶表示パネルを作成した。このようにして作成した液晶表示パネルのプレチルト角を測定したところ、図7の曲線FCに示すように、紫外線の照射量2Jから3Jでプレチルト角は88°程度となり、プレチルト角の変化はほとんどない。これによって、安定したプレチルト角を得ることができた。また、図9に示したように、電圧保持率の変化も小さく、良好な電圧保持率を得ることができた。
【0048】
(比較例)
ポリアミック酸AとポリイミドD(垂直配向性に寄与するジアミン成分の含有量が20%)との混合物から配向膜18,20を作った。混合比率は、ポリアミック酸C:ポリイミドF=49:1とした。この混合物を含む配向膜材料を用いて例1と同様にして液晶表示パネルを作成した。このようにして作成した液晶表示パネルのプレチルト角を測定したところ、図7の曲線DAに示すように、紫外線の照射量が増加するにつれて、プレチルト角は急激に低下し、安定したプレチルト角を得ることができなかった。
【0049】
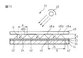
図10は本発明の第2実施例による配向膜の露光装置を示す図である。配向膜の露光装置30は、例えば図4に示された液晶表示装置10の配向膜18(20)に配向処理を行うものである。露光装置30は、紫外線光源32と、紫外線を通過させるスリット34aを有する反射板34と、反射板34のスリット34aを通過した紫外線aを直接に及び反射板34のスリット34aを通過した後で反板34の紫外線光源32とは反対側の表面で反射した紫外線を通過させる開口部36aを有するフォトマスク36とを備えたものである。
【0050】
反射板34のスリット34a及びフォトマスク36の開口部36aは図10の紙面に垂直な方向にストライプ状に延びる。反射板34のスリット34aの幅は例えば約5mmである。フォトマスク36の開口部36aの幅は例えば約20μmであり、開口部36aは220μmピッチで設けられている。反射板34とフォトマスク36間の間隔は1cm、フォトマスク36と配向膜18(20)間の間隔は100μmである。
【0051】
実施例においては、反射板34は透明な散乱板38に取り付けられている。従来の露光装置で使用されるマスクはクロム等で作られているが、クロム等は反射率が低い。本発明の反射板34及びフォトマスク36は、紫外線の波長領域において高い反射率を有する材料からなる。例えば、反射板34とフォトマスク36とがアルミニウム、又はフッ素化合物によりコーティングされたアルミニウムで形成されている。あるいは、反射板34及びフォトマスク36は、誘電体多層膜で形成されている。
【0052】
紫外線光源32は主として220nmから260nmまでの範囲の紫外線を放射する。この波長の範囲の紫外線は紫外線照射により配向膜のアルキル側鎖を切断するのに適しており、良好な配向膜の配向処理を行うことができる。また、この波長の範囲の紫外線は室内光とは区別できるため、扱い易い。アルミニウムは220nmから260nmまでの範囲の紫外線に対する反射率は90パーセント程度であるため,紫外線に対する反射率の高い材料として適している。
【0053】
アルミニウムは使用しているうちに表面が酸化され、その酸化物はアルミニウムを保護するが、紫外線の反射率が低下する原因となる。そこで、表面をフッ素化合物でコーティングされたアルミニウムを用いることで、紫外線の反射率が低下するのを防止し、反射率を増加させることができる。このようなフッ素化合物としては、例えばフッ化マグネシウムやフッ化カルシウムがある。また、誘電体多層膜としては、SiO2 /MgF2 や、LaF3 /MgF2 がある。誘電体多層膜は屈折率の異なる2つの物質を1/4波長の厚さで交互に数十層形成したものであり、その反射率は95%程度である。
【0054】
反射板34のフォトマスク36側の表面、及びフォトマスク36の反射板34側の表面は反射面となる。紫外線光源32は散乱光を出射する。従って、実線の矢印で示されるように、紫外線光源32から放射された紫外線は反射板34のスリット34aを通り、そして、フォトマスク36の開口部36aを通って、配向膜18(20)を照射する。さらに、破線の矢印で示されるように、紫外線光源32から放射された紫外線は反射板34のスリット34aを通り、フォトマスク36で反射し且つ反射板34で反射してフォトマスク36の開口部36aを通って、配向膜18(20)を照射する。
【0055】
このように、反射板34のスリット34aから出射した紫外線が直接に、及び反射板34のスリット34aから出射してフォトマスク36及び反射板34で反射した紫外線が、フォトマスク36の開口部36aを通って、配向膜18(20)を照射する。従って、反射板34がない場合と比べて、フォトマスク36の開口部36aを通る紫外線の量が増加し、紫外線の利用効率の高い、液晶の安定な配向を実現することができる配向膜18(20)を得ることができるようになる。そして、散乱板38が設けられていると、散乱板38の内部を透過してきた紫外線が反射板34のスリット34aから出射するようになり、紫外線の利用効率がさらに向上する。
【0056】
紫外線光源32は散乱光を出射し、フォトマスク36の開口部36aを通った紫外線は主として配向膜18(20)を斜めに照射する。一方の方向から斜めに進む紫外線(UV1)は、配向膜18(20)の一部の領域に当たる。反対の方向から斜めに進む紫外線(UV1)は、配向膜18(20)の他の一部の領域に当たる。このようにして、紫外線を配向膜18(20)に斜めに照射することによる配向膜18(20)の配向処理の作用については図2及び図3を参照して説明した通りである。一方の方向から斜めに進む紫外線(UV1)及び反対の方向から斜めに進む紫外線(UV1)により、配向分割を達成する作用は図4及び図5を参照して説明した通りである。本実施例では、1回の配向処理により、配向分割を達成することができる。
【0057】
図11はフォトマスク36の詳細を示す図である。フォトマスク36は透明な基材36bに紫外線反射率の高い材料層(アルミニウム)36cと紫外線を吸収する材料層(酸化チタン)36dとを二層構造で形成したものである。開口部36aは紫外線反射率の高い材料層36cに形成される。紫外線反射率の高い材料層36cは反射板34のスリット34aから出射した紫外線を反射させ、さらに反射板34で反射した紫外線を開口部36aを通過させるものである。紫外線を吸収する材料層36dは照射されるべき配向膜18(20)側に位置し、配向膜18(20)で反射した紫外線を吸収する。こうして、配向膜18(20)で反射した紫外線がフォトマスク36で反射して迷光として配向膜18(20)に入射するのを防止している。
【0058】
図10及び図11の露光装置30で作成された配向膜(JSR製)18,20を有する基板12,14の一方に熱硬化性シール材(三井化学製)を塗布し、他方の基板に4μmのスペーサ(積水ファインケミカル製)を散布して、両基板を貼り合わせた。真空パックして135℃のオーブンに90分間放置して空セルを作成した。この空セルに負の誘電率異方性を有する垂直配向膜(メルク製)16を挿入して、液晶表示パネルを製造した。
【0059】
図12は図10の配向膜の露光装置の変形例を示す図である。図11の例と同様に、配向膜の露光装置30は、紫外線光源32と、紫外線を通過させるスリット34aを有する反射板34と、反射板34のスリット34aから出射した紫外線及び反射板34の紫外線光源32とは反対側の表面で反射した紫外線を通過させる開口部36aを有するフォトマスク36とを備えたものである。反射板34は透明な散乱板38に取り付けられている。
【0060】
図12においては、紫外線光源32が平行な紫外線を放射し、そして、紫外線光源32と反射板34との間に凸レンズからなる集光手段40が設けられている。集光手段40は紫外線光源32から出た紫外線を反射板34のスリット34aで集光させ、集光された紫外線が反射板34のスリット34aを通過する。また、散乱板38を透過した光も反射板34のスリット34aを通過する。反射板34のスリット34aの幅は例えば約5mmである。フォトマスク36の開口部36aの幅は例えば約20μmであり、開口部36aは220μmピッチで設けられている。集光手段40と反射板34との間の間隔は2cm、反射板34とフォトマスク36間の間隔は1cm、フォトマスク36と配向膜18(20)間の間隔は100μmである。前例と同様にして液晶表示パネルを作成した。
【0061】
図13は本発明の第3実施例による配向膜の露光方法の1回目の露光ステップを示す図である。図14は図13の後の2回目の露光ステップを示す図である。基板14は図1に示された液晶表示装置10の基板14と同様のTFT基板である。基板14は画素電極24及び配向膜20を有する。
【0062】
各画素電極24はゲートバスライン42及びデータバスラインによって囲まれている。図13及び図14はゲートバスライン42とクロスする断面図であり、画素電極24はデータバスラインと平行に長く延びる形状を有し、ゲートバスライン42及びデータバスラインは200μm×70μmの画素領域を形成する。ゲートバスライン42及びデータバスラインは幅5μmであり、画素電極24から3μm離れて形成されている。対向基板12はブラックマトリクス及び共通電極22及び配向膜18を有する。ブラックマトリクスは200μm×70μmの画素領域を形成する。画素ピッチgは2つのゲートバスライン42によって定められる。対向基板12の場合にも、同様にして画素ピッチgが定められる。
【0063】
露光装置44は、平行な紫外線を出射する紫外線光源46と、フォトマスク48とを備えている。フォトマスク48は透明な板(例えば石英)の表面に遮光部材(例えば金属クロム)48aを設けたものであり、遮光部材48aは開口部48bを形成している。フォトマスク48の開口部48bの大きさはa(μm)である。
【0064】
フォトマスク48は配向膜20の上方に配置され、フォトマスク48(の遮光部材48aの表面)と配向膜20との間の間隔はd(μm)である。フォトマスク48は、フォトマスク48の1つの開口部48bの中心部が配向膜20の1つの画素領域の中心部(2つのゲートバスライン42間の中心)に整列するように、配向膜20に対して位置合わせされる。
【0065】
紫外線光源46はフォトマスク48の上方に斜めに配置される。紫外線光源46はフォトマスク48及び配向膜20に入射する紫外線の角度がθ(rad)となるように配置される。紫外線光源46は、図13に示されるように最初フォトマスク48の上方に斜めに角度θで配置され、1回目の露光を行い、それから図14に示されるように最初の配置の紫外線光源46に対して対称に斜めに角度θで配置され、1回目の露光を行う。
【0066】
開口部48bの大きさa(μm)は画素ピッチg(μm)のほぼ半分であるのが望ましい。例えば、開口部48bの大きさaは100μmであり、画素ピッチgは200μmである。こうすれば、図13に示されるようにフォトマスク48を配向膜20に位置決めして1回目の露光を行い、配向膜20の各画素領域の半分を紫外線で照射することができ、それからフォトマスク48と配向膜20との関係を維持した状態で(再度位置決めすることなしに)図14に示されるように2回目の露光を行い、配向膜20の各画素領域の残りの半分を紫外線で照射することができる。つまり、面倒なフォトマスク48と配向膜20との位置決め作業を1回だけにして、異なった角度から2回の露光を行うことができる。
【0067】
図15は図13及び図14の露光方法によって処理された配向膜20を有する基板14を示す図である。一部の領域の液晶16の分子16aと、他の一部の領域の液晶16の分子16bとは、反対方向に配向する。このようにして、配向分割した液晶表示装置を容易に製造することができる。
【0068】
図16は図13及び図14の配向膜の処理方法の変形例を示す図である。図16において、露光装置44は、平行な紫外線を出射する紫外線光源46と、フォトマスク48とを備えている。画素ピッチはg(μm)であり、開口部48bの大きさはa(μm)である。フォトマスク48は配向膜20の上方に配置され、フォトマスク48と配向膜20との間の間隔はd(μm)である。紫外線光源46はフォトマスク48の上方に斜めに配置される。紫外線光源46はフォトマスク48及び配向膜20に入射する紫外線の角度がθ(rad)となるように配置される。
【0069】
フォトマスク48は配向膜20の上方に配置され、フォトマスク48と配向膜20との間の間隔はd(μm)である。フォトマスク48は、フォトマスク48の1つの開口部48bの中心部が配向膜20の1つの画素領域の中心部(2つのゲートバスライン42間の中心)に整列するように、配向膜20に対して位置合わせされる。図16の紫外線光源46は、最初フォトマスク48の上方に斜めに角度θで配置され、1回目の露光を行い、それから最初の配置の紫外線光源46に対して対称に斜めに角度θで配置され、2回目の露光を行う。こうして、図13及び図14の配向膜の処理方法と同様に、図16の配向膜の処理方法は、面倒なフォトマスク48と配向膜20との位置決め作業を1回だけにして、異なった角度から2回の露光を行うことができる。
【0070】
第3実施例の基本的な特徴においては、紫外線光源46、フォトマスク48及び配向膜20は、フォトマスク48の1つの開口部48bを通過した紫外線が該1つの開口部48bと整列した(該1つの開口部48bの直下にある)配向膜20の画素領域からn個(nは0以上の整数)離れた画素領域を照射するように配置されている。
【0071】
図16においては、フォトマスク48の1つの開口部48bを通過した紫外線が該1つの開口部48bと整列した(該1つの開口部48bの直下にある)配向膜20の画素領域から1個離れた(隣の)画素領域を照射するように配置されている。なお、図13及び図14の例はnが0の場合に相当する。
【0072】
そして、紫外線光源46、フォトマスク48、及び配向膜20は次の関係を満足するように配置される。
【0073】
(g/2−20)≦a≦(g/2+20) (1)
【0074】
【数5】
このように、位置決めを行った後で、紫外線光源46から紫外線を照射して配向膜20に配向処理を行う。
【0075】
また、フォトマスク48と配向膜20との間の間隔d(μm)は次の関係を満足する。
【0076】
【数6】
また、配向膜20に入射する紫外線の角度θ(rad)は次の関係を満足する。
【0077】
【数7】
図17は1つの画素領域を2回の露光により配向分割した液晶表示装置の非露光領域の幅と配向状態を示す図である。図18は1つの画素領域を2回の露光により配向分割した液晶表示装置の重複露光領域の幅と配向状態を示す図である。非露光領域及び重複露光領域は図19及び図20を参照して説明される。1回目及び2回目に露光される領域がそれぞれ1画素領域の中心線の両側に丁度分布するならば、非露光領域及び重複露光領域は生じない。しかし、実際にはそのように理想的にはいかない。非露光領域及び重複露光領域が小さいならば、配向状態に影響を与えないが、非露光領域及び重複露光領域が大きいと、配向状態に影響を与える。
【0078】
図17は非露光領域の幅が20μm以下であれば、良好な配向状態を維持することができることを示している。図18は重複露光領域の幅が20μm以下であれば、良好な配向状態を維持することができることを示している。上記関係式(1)、(2)は図17及び図18に示される検討結果に基づいている。
【0079】
図19はフォトマスク48の開口部48bの大きさa(μm)を変えた場合の1画素領域の露光状態を示す図である。50は1画素領域を示し、50Aは1回目の露光により露光された領域を示し、50Bは1回目の露光により露光された領域を示す。矢印はプレチルトの方向である。図19(A)は開口部48bの大きさa(μm)が、1回目及び2回目の露光により露光される領域50A,50Bがそれぞれ1画素領域の中心線の両側に丁度分布するように設定された場合である。この場合、非露光領域及び重複露光領域がない。
【0080】
図19(B)は開口部48bの大きさa(μm)が、図19(A)の場合よりも小さく設定された場合である。この場合、露光領域50A,50Bがともに狭くなるので、非露光領域50Cが発生する。図19(C)は開口部48bの大きさa(μm)が、図19(A)の場合よりも大きく設定された場合である。この場合、露光領域50A,50Bがともに広くなるので、重複露光領域50Dが発生する。
【0081】
図20はフォトマスク48と配向膜20との間の間隔d(μm)を変えた場合の1画素領域の露光状態を示す図である。図20(A)は間隔dが、1回目及び2回目の露光により露光される領域50A,50Bがそれぞれ1画素領域の中心線の両側に丁度分布するように設定された場合である。この場合、非露光領域及び重複露光領域がない。
【0082】
図20(B)は間隔dが、図20(A)の場合よりも小さく設定された場合である。この場合、露光領域50A,50Bが外側にずれるので、画素中心部に非露光領域50Cが発生し、画素端部に重複露光領域50Dが発生する。図20(C)は間隔dが、(A)の場合よりも大きく設定された場合である。この場合、露光領域50A,50Bが中心側にずれるので、画素中心部に重複露光領域50Dが発生し、画素端部に非露光領域50Cが発生する。
【0083】
図21は画素ピッチg(μm)を変えた場合の問題点を説明する図である。プロキシミティ露光ではフォトマスク48と配向膜20との間に間隔dを空けてフォトマスク48と配向膜20との位置合わせを行う。しかし、画素が小さくなるに従って、フォトマスク48と配向膜20との間の間隔dを小さくする必要があるが、間隔dを許容値よりも小さくすることができない。
【0084】
図21(A)は画素ピッチgが十分に大きく、フォトマスク48と配向膜20との間の間隔dが許容範囲内にある場合を示す図である。図21(B)は画素ピッチgが小さくなって、間隔dが許容範囲内よりも小さい値をとることが必要になった場合を示す図である。しかし、実際には、間隔dが許容範囲内よりも小さい値をとることができないので、一回の位置合わせで、2回の露光を行うことができるようにするためには、間隔dを許容範囲内の値にして、配向膜20に入射する紫外線の角度θを変える場合がある。しかし、配向膜20に入射する紫外線の角度θを変えると、紫外線の照射による配向処理能力が低下するので好ましくない。
【0085】
このような場合には、図16を参照して説明したように、フォトマスク48の1つの開口部48bを通過した紫外線が該1つの開口部48bと整列した(該1つの開口部48bの直下にある)配向膜20の画素領域からn個(nは0以上の整数)離れた画素領域を照射するように構成するとよい。こうすれば、間隔dを許容範囲内の値にして、且つ配向膜20に入射する紫外線の角度θを適切な値に設定することができる。第3実施例はこの利点を奏することができる。
【0086】
図22は本発明の第4実施例の液晶表示装置を示す図である。液晶表示装置10は、一対の透明な基板12,14と、一対の基板12,14の間に挟持される液晶16と、基板12,14の内面側に設けられる配向膜18,20とを備える。電極22,24がそれぞれ配向膜18,20の下に設けられる。一方の基板12はカラーフィルタ基板であり、電極22は共通電極である。他方の基板14はTFT基板であり、電極24はTFTを含むアクティブマトリクスとともに設けられる複数の画素電極からなる。
【0087】
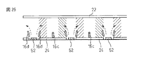
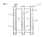
図24は図22のカラーフィルタ基板12の内面を示す平面図である。カラーフィルタ基板12はブラックマトリクス54を有する。図25はカラーフィルタ基板12の土手構造が付加的に示されたTFT基板14の内面を示す平面図である。画素電極24はゲートバスライン42及びデータバスライン52によって囲まれている。図22ではデータバスライン52が見えている。
【0088】
液晶16は負の誘電率異方性をもつ液晶であり、配向膜18,20は垂直配向膜である。配向膜18,20は液晶分子16cが図22の紙面に対して垂直な方向に配向するように配向処理されている。図24及び図25では、液晶の配向方向(プレチルト方向)が矢印で示されている。配向処理はあらゆる手段により行われることができる。例えば、配向処理はラビング又はこれまで説明した紫外線照射により行われることができる。
【0089】
図23は図22のカラーフィルタ基板12の一部を示す拡大図である。図22及び図23において、カラーフィルタ基板12の配向膜18にはTFT基板14のデータバスライン52に対応する位置に土手構造56が設けられている。誘電体の膜58が共通電極22上に所定の形状に形成され、土手構造56は配向膜18が誘電体の膜58を覆う凸部として形成されている。誘電体の膜58は非常に薄い。例えば、誘電体の膜58をレジストパターンで形成する場合、形成されたレジストパターンをオゾンアッシングするなどしてレジストパターンを薄くする。また、レジストを希釈剤で薄めておいてスピンコートし、希釈剤を飛ばすことによってレジストパターンを薄くする。本発明においては、土手構造56の厚さtは0.1〜0.15μmの範囲内にする。
【0090】
図22から図25に示されるように、土手構造56はデータバスライン52の直上に位置し、データバスライン52と平行に延びる。土手構造56の幅はデータバスライン52の幅よりも広い。従って、土手構造56はデータバスライン52を覆うだけでなく、画素電極24の端部とオーバーラップしている。土手構造56と画素電極24とのオーバーラップ量はOで示され、土手構造56のブラックマトリクス54からのはみ出し量はPで示されている。
【0091】
図26は液晶の配向が画素電極とバスラインとの境界部分において横電界により乱されるのを説明するための液晶表示装置の例を示す図である。配向膜18,20は図26では省略されている。液晶分子16cは図26の紙面に対して垂直な方向に配向するようになっている。ところが、画素電極24とデータバスライン52との境界部分に位置する液晶分子16dは、画素電極24とデータバスライン52との間の横電界の作用を受け、破線の矢印で示されるように図26の紙面に対して平行な方向に(画素電極24の端部から中心部へ向かう方向に)傾斜しようとする。このため、液晶の配向が画素電極24とデータバスライン52との境界部分において乱され、ハッチングで示されるように、ディスクリネーションが生じる。例えば、この部分では、白表示をするときに透過率が低下し、輝度が低下する。
【0092】
図27は液晶の配向が乱されるのを防止する基本的な例を示す図である。かなりの厚さを有する土手構造60がデータバスライン52の直上にデータバスライン52と平行に設けられる。土手構造60の近傍の液晶分子16dは土手構造60の表面に対して垂直に配向しようとする。土手構造60の近傍の液晶分子16dの配向方向は、画素電極24とデータバスライン52との境界部分に位置して横電界の作用を受ける液晶分子16dの配向方向と逆になり、両者は相殺しあって図27の紙面に対して平行な方向に(画素電極24の端部から中心部へ向かう方向に)傾斜しようとするのが防止される。従って、ディスクリネーションの発生を抑えることができる。
【0093】
しかし、土手構造60はカラーフィルタ基板12に設けられているので、カラーフィルタ基板12とTFT基板14との貼り合わせ時の位置あわせずれを考慮する必要がある。また、土手構造60と画素電極24の端部とのオーバーラップ量が問題となる。オーバーラップ量が小さいと、土手構造60の配向規制力が小さくなり、横電界に起因するディスクリネーションの発生を抑えることができない。オーバーラップ量が大きいと、土手構造60の配向規制力が大きくなり、逆に土手構造60に起因するディスクリネーションが発生する。
【0094】
土手構造60と画素電極24の端部とのオーバーラップ量とディスクリネーションとの関係について考察した結果、最もディスクリネーションが軽減される場合の土手構造60と画素電極24の端部とのオーバーラップ量は土手構造60の厚さtにより変化することが分かった。土手構造60の厚さtが大きくなるほど、ディスクリネーションが軽減される場合のオーバーラップ量は小さくなり、逆に、土手構造60の厚さtが小さくなるほど、ディスクリネーションが軽減される場合のオーバーラップ量は大きくなる。
【0095】
ディスクリネーションが位置合わせずれに基づいて発生するのを小さくするため、土手構造60の厚さをできるだけ薄くすることが望ましい。本発明においては、土手構造56の厚さtは0.1μm以上、0.15μm以下の範囲内にする。この場合、ディスクリネーションが軽減される場合の土手構造56と画素電極24の端部とのオーバーラップ量は2μm以上、8μm以下の範囲内にあるのが好ましい。
【0096】
実施例においては、ゲートバスライン42方向の画素ピッチが80μm、データバスライン52の幅が5μm、画素電極24とデータバスライン52との間の間隔が3μm、画素電極24の幅が69μmである。また、ブラックマトリクス54の幅が11μm、ブラックマトリクス54のピッチが80μmである。土手構造56の厚さは0.12μm、土手構造56の幅は21μmである。従って、土手構造56と画素電極24とのオーバーラップ量Oは5μmであり、土手構造56のブラックマトリクス54からのはみ出し量Pは5μmである。
【0097】
カラーフィルタ基板12とTFT基板14との貼り合わせは、ブラックマトリクス54の端部と画素電極24の端部とが整列するように行った。また、カラーフィルタ基板12の配向膜18のプレチルト方向とTFT基板14の配向膜20のプレチルト方向とが互いに逆になるようにして貼り合わせた。カラーフィルタ基板12とTFT基板14との貼り合わせる際、位置合わせマージンを±3μm程度考慮する必要がある。土手構造56と画素電極24とのオーバーラップ量Oが5μmであれば、位置ずれが生じた場合にもオーバーラップ量Oは2μm〜8μmの範囲内に納まることになる。オーバーラップ量Oがこの範囲内にあれば、ディスクリネーションの発生を抑えることができる。
【0098】
図28は土手構造56の厚さが0.15μmの場合の土手構造56と画素電極24とのオーバーラップOと輝度比との関係を示す図である。輝度比は画素電極24の中心部を1とした場合の画素電極24の端部の輝度を示す。オーバーラップOが2〜8μmの範囲内であれば、輝度低下は20%以内である。また、オーバーラップOが2〜8μmの範囲外になっても、輝度低下は小さい。
【0099】
図29は土手構造56の厚さが0.31μmの場合の土手構造56と画素電極24とのオーバーラップOと輝度比との関係を示す図である。オーバーラップOが3μmを中心とする小さな範囲内であれば、輝度低下は20%以内である。オーバーラップOがこの範囲外になると、急激に輝度が低下する。
【0100】
図30は土手構造56の厚さが1.75μmの場合の土手構造56と画素電極24とのオーバーラップOと輝度比との関係を示す図である。オーバーラップOが−1μm〜+3μmの範囲内であれば、輝度低下は20%以内である。オーバーラップOがこの範囲外になると、急激に輝度が低下する。なお、オーバーラップOが−1μmとは、土手構造56と画素電極24との間が空いていることを示す。
【0101】
【発明の効果】
以上説明したように、本発明によれば、液晶の安定な配向を実現することができ、それによって良好な表示を得ることのできる液晶表示装置を得ることができる。
【図面の簡単な説明】
【図1】本発明の第1実施例の液晶表示装置を示す図である。
【図2】図1の配向膜に紫外線を照射する例を示す図である。
【図3】図2の配向膜を使用するときに液晶分子が配向する例を示す図である。
【図4】図1の液晶表示装置の変形例を示す図である。
【図5】図4の配向膜に紫外線を照射する例を示す図である。
【図6】ポリアミック酸及びポリイミドをそれぞれ単独で配向膜としたときの紫外線の照射量とプレチルト角との関係を示す図である。
【図7】ポリアミック酸とポリイミドとを混合して配向膜としたときの紫外線の照射量とプレチルト角との関係を示す図である。
【図8】2種類の樹脂を単独で基板に塗布したときの配向膜及び混合したときの配向膜の紫外線の照射量と表面エネルギーの関係を示す図である。
【図9】2種類の樹脂を単独で基板に塗布したときの配向膜及び混合したときの配向膜の紫外線の照射量と電圧保持率を示す図である。
【図10】本発明の第2実施例による配向膜の露光装置を示す図である。
【図11】図10のフォトマスクの詳細を示す図である。
【図12】図10の配向膜の露光装置の変形例を示す図である。
【図13】本発明の第3実施例による配向膜の露光方法の1回目の露光ステップを示す図である。
【図14】図13の1回目の露光ステップの後の2回目の露光ステップを示す図である。
【図15】図13及び図14の露光方法によって処理された配向膜を有する基板を示す図である。
【図16】図13及び図14の配向膜の処理方法の変形例を示す図である。
【図17】1つの画素領域を2回の露光により配向分割した液晶表示装置の非露光領域の幅と配向状態を示す図である。
【図18】1つの画素領域を2回の露光により配向分割した液晶表示装置の重複露光領域の幅と配向状態を示す図である。
【図19】フォトマスクの開口部の大きさを変えた場合の1画素領域の露光状態を示す図である。
【図20】フォトマスクと配向膜との間の間隔を変えた場合の1画素領域の露光状態を示す図である。
【図21】画素ピッチを変えた場合の問題点を説明する図である。
【図22】本発明の第4実施例の液晶表示装置を示す図である。
【図23】図22のカラーフィルタ基板の一部を示す拡大図である。
【図24】図22のカラーフィルタ基板を示す平面図である。
【図25】カラーフィルタ基板の土手構造が付加的に示されたTFT基板を示す平面図である。
【図26】液晶の配向が画素電極とバスラインとの境界部分において横電界により乱されるのを説明するための液晶表示装置の例を示す図である。
【図27】液晶の配向が乱されるのを防止する基本的な例を示す図である。
【図28】土手構造と画素電極とのオーバーラップと輝度比との関係を示す図である。
【図29】土手構造と画素電極とのオーバーラップと輝度比との関係を示す図である。
【図30】土手構造と画素電極とのオーバーラップと輝度比との関係を示す図である。
【符号の説明】
10…液晶表示装置
12,14…基板
16…液晶
18,20…配向膜
22,24…電極
26…マスク
30…露光装置
32…紫外線光源
34…反射板
36…フォトマスク
38…散乱板
40…集光手段
42…ゲートバスライン
44…露光装置
46…紫外線光源
48…フォトマスク
50…画素領域
52…データバスライン
54…ブラックマトリクス
56…土手構造
58…誘電体の膜
60…土手構造
Claims (4)
- 一対の基板と、該一対の基板の間に挟持される液晶と、該基板の内面側に設けられた配向膜とを備え、
該配向膜は、垂直配向膜であって、紫外線照射により配向処理されたものであり、ジアミン成分を含むポリアミック酸と、該ポリアミック酸のジアミン成分とは異なるジアミン成分を含むポリイミドとの混合物からなり、
該ポリイミドに含まれるジアミン成分が、垂直配向性に寄与するジアミン成分と垂直配向性に寄与しないジアミン成分とを含み、
該ポリイミドに含まれるジアミン成分全体に対する該垂直配向性に寄与するジアミン成分の割合が30%以上であることを特徴とする液晶表示装置。 - 一対の基板と、該一対の基板の間に挟持される液晶と、該基板の内面側に設けられた配向膜とを備え、
該配向膜は、垂直配向膜であって、紫外線照射により配向処理されたものであり、ジアミン成分を含むポリアミック酸と、該ポリアミック酸のジアミン成分とは異なるジアミン成分を含むポリイミドとの混合物からなり、
該ポリアミック酸に含まれるジアミン成分及び該ポリイミドに含まれるジアミン成分のそれぞれが、垂直配向性に寄与するジアミン成分と垂直配向性に寄与しないジアミン成分とを含むことを特徴とする液晶表示装置。 - 該ポリイミドに含まれるジアミン成分全体に対する該垂直配向性に寄与するジアミン成分の割合が30%以上であることを特徴とする請求項2に記載の液晶表示装置。
- 該垂直配向性に寄与するジアミン成分は、該配向膜の該液晶の側に突出したアルキル側鎖を含むことを特徴とする請求項1から3のいずれかに記載の液晶表示装置。
Priority Applications (9)
| Application Number | Priority Date | Filing Date | Title |
|---|---|---|---|
| JP2001233663A JP4334166B2 (ja) | 2001-08-01 | 2001-08-01 | 液晶表示装置及び配向膜の露光装置及び配向膜の処理方法 |
| US10/096,182 US7081935B2 (en) | 2001-08-01 | 2002-03-12 | Liquid crystal display device with alignment layer including a diamine component and treated by UV irradiation |
| US11/450,754 US7251001B2 (en) | 2001-08-01 | 2006-06-09 | Liquid crystal display device treated by UV irradiation |
| US11/820,891 US7430033B2 (en) | 2001-08-01 | 2007-06-21 | Liquid crystal display device treated by UV irradiation |
| US12/164,924 US7782430B2 (en) | 2001-08-01 | 2008-06-30 | Liquid crystal display device treated by UV irradiation |
| US12/838,976 US7944532B2 (en) | 2001-08-01 | 2010-07-19 | Liquid crystal display device treated by UV irradiation |
| US13/083,715 US8085373B2 (en) | 2001-08-01 | 2011-04-11 | Liquid crystal display device treated by UV irradiation |
| US13/309,032 US8400595B2 (en) | 2001-08-01 | 2011-12-01 | Liquid crystal display device treated by UV irradiation |
| US13/788,702 US8681300B2 (en) | 2001-08-01 | 2013-03-07 | Liquid crystal display device treated by UV irradiation |
Applications Claiming Priority (1)
| Application Number | Priority Date | Filing Date | Title |
|---|---|---|---|
| JP2001233663A JP4334166B2 (ja) | 2001-08-01 | 2001-08-01 | 液晶表示装置及び配向膜の露光装置及び配向膜の処理方法 |
Related Child Applications (1)
| Application Number | Title | Priority Date | Filing Date |
|---|---|---|---|
| JP2009131051A Division JP2009187043A (ja) | 2009-05-29 | 2009-05-29 | 液晶表示装置 |
Publications (3)
| Publication Number | Publication Date |
|---|---|
| JP2003043492A JP2003043492A (ja) | 2003-02-13 |
| JP2003043492A5 JP2003043492A5 (ja) | 2009-04-16 |
| JP4334166B2 true JP4334166B2 (ja) | 2009-09-30 |
Family
ID=19065412
Family Applications (1)
| Application Number | Title | Priority Date | Filing Date |
|---|---|---|---|
| JP2001233663A Expired - Fee Related JP4334166B2 (ja) | 2001-08-01 | 2001-08-01 | 液晶表示装置及び配向膜の露光装置及び配向膜の処理方法 |
Country Status (2)
| Country | Link |
|---|---|
| US (8) | US7081935B2 (ja) |
| JP (1) | JP4334166B2 (ja) |
Families Citing this family (39)
| Publication number | Priority date | Publication date | Assignee | Title |
|---|---|---|---|---|
| JP4334166B2 (ja) * | 2001-08-01 | 2009-09-30 | シャープ株式会社 | 液晶表示装置及び配向膜の露光装置及び配向膜の処理方法 |
| TWI360680B (en) * | 2004-02-24 | 2012-03-21 | Jsr Corp | Liquid crystal alignment agent and manufacturing m |
| JP4415740B2 (ja) * | 2004-04-20 | 2010-02-17 | Jsr株式会社 | 垂直配向型の液晶配向剤および液晶表示素子 |
| KR100646981B1 (ko) * | 2004-12-27 | 2006-11-23 | 엘지.필립스 엘시디 주식회사 | 액정 표시 장치의 배향막 형성 방법 |
| JP2006243637A (ja) | 2005-03-07 | 2006-09-14 | Sharp Corp | 液晶表示装置及びその製造方法 |
| JP4826897B2 (ja) * | 2005-03-31 | 2011-11-30 | Dic株式会社 | 液晶配向膜の製造方法、及び液晶配向膜のチルト角を減じる方法 |
| JP2006330605A (ja) * | 2005-05-30 | 2006-12-07 | Sharp Corp | 液晶表示装置 |
| JP4265652B2 (ja) * | 2006-12-22 | 2009-05-20 | ソニー株式会社 | 液晶表示素子およびその製造方法 |
| US8134668B2 (en) | 2007-03-05 | 2012-03-13 | Sharp Kabushiki Kaisha | Liquid crystal display device and production method thereof |
| JP5156894B2 (ja) * | 2007-09-13 | 2013-03-06 | 独立行政法人物質・材料研究機構 | 液晶配向剤、液晶配向膜及びその製造方法、並びに液晶表示素子 |
| TWI362530B (en) * | 2008-02-26 | 2012-04-21 | Au Optronics Corp | Pixel unit, liquid crystal display panel, electro-optical apparatus, and methods of manufacturing the same |
| KR100911459B1 (ko) | 2008-08-06 | 2009-08-11 | 삼성전자주식회사 | 배향막 형성방법, 이를 이용한 액정 표시 장치의 제조방법및 배향막 형성 장치 |
| KR101494315B1 (ko) * | 2008-08-12 | 2015-02-17 | 삼성디스플레이 주식회사 | 액정 표시 장치 및 이의 제조 방법 |
| KR101810061B1 (ko) | 2011-04-05 | 2017-12-19 | 삼성디스플레이 주식회사 | 액정 표시 장치 및 그 제조 방법 |
| KR101490488B1 (ko) | 2008-11-27 | 2015-02-06 | 삼성디스플레이 주식회사 | 액정 표시 장치 및 그 제조 방법 |
| US9052549B2 (en) | 2008-11-27 | 2015-06-09 | Samsung Display Co., Ltd. | Liquid crystal display and manufacturing method thereof |
| KR101613629B1 (ko) | 2009-01-19 | 2016-04-20 | 삼성디스플레이 주식회사 | 액정표시장치와 이의 제조방법 및 이에 포함되는 배향막 조성물 |
| CN102741746B (zh) * | 2010-03-12 | 2014-10-22 | 夏普株式会社 | 光掩模、曝光装置以及液晶显示面板的制造方法 |
| JP5704591B2 (ja) * | 2010-04-23 | 2015-04-22 | 株式会社ブイ・テクノロジー | 配向処理方法及び配向処理装置 |
| JP5688730B2 (ja) * | 2010-09-17 | 2015-03-25 | 株式会社ブイ・テクノロジー | 露光装置 |
| WO2012081098A1 (ja) * | 2010-12-15 | 2012-06-21 | 株式会社ブイ・テクノロジー | 配向処理装置及び配向処理方法 |
| KR101771623B1 (ko) * | 2010-12-15 | 2017-09-06 | 삼성디스플레이 주식회사 | 배향막을 배향하는 방법 및 장치, 및 이를 이용한 액정표시장치의 제조방법 |
| JP5292438B2 (ja) * | 2011-05-23 | 2013-09-18 | 株式会社ジャパンディスプレイ | 液晶表示装置 |
| KR101829778B1 (ko) * | 2011-06-29 | 2018-02-20 | 삼성디스플레이 주식회사 | 노광 장치 및 액정 표시 장치의 제조 방법 |
| JP5906063B2 (ja) * | 2011-11-21 | 2016-04-20 | 株式会社ジャパンディスプレイ | 液晶表示装置およびその製造方法 |
| KR20130057177A (ko) * | 2011-11-23 | 2013-05-31 | 삼성디스플레이 주식회사 | 액정 표시 장치 및 그 제조 방법 |
| JP6002478B2 (ja) * | 2012-07-04 | 2016-10-05 | 株式会社ジャパンディスプレイ | 液晶表示装置 |
| CN102830548A (zh) * | 2012-08-15 | 2012-12-19 | 深圳市华星光电技术有限公司 | 对液晶显示面板进行曝照处理的装置及方法 |
| KR102014880B1 (ko) * | 2012-12-28 | 2019-08-28 | 삼성디스플레이 주식회사 | 표시 장치 및 이의 제조방법 |
| JP6203575B2 (ja) * | 2013-08-29 | 2017-09-27 | パナソニック液晶ディスプレイ株式会社 | 表示装置 |
| EP3126883B1 (en) * | 2014-04-03 | 2023-07-12 | ROLIC Technologies AG | Optical devices with patterned anisotropy incorporating parallax optic |
| CN104122727B (zh) * | 2014-07-29 | 2017-02-22 | 深圳市华星光电技术有限公司 | 阵列基板及液晶显示面板 |
| CN104678643B (zh) * | 2015-03-27 | 2018-05-11 | 合肥京东方光电科技有限公司 | 显示基板及显示面板的制作方法 |
| CN104777674B (zh) * | 2015-04-27 | 2018-10-19 | 深圳市华星光电技术有限公司 | 一种用于光配向的光罩装置及应用设备 |
| CN104932147A (zh) * | 2015-06-19 | 2015-09-23 | 深圳市华星光电技术有限公司 | 一种液晶面板的制造机台及其制造方法 |
| CN105093689A (zh) * | 2015-07-17 | 2015-11-25 | 深圳市华星光电技术有限公司 | 彩色滤光片整合晶体管式液晶面板及其制造方法 |
| CN108153061B (zh) * | 2018-01-04 | 2020-12-01 | 京东方科技集团股份有限公司 | 光配向检测单元、光配向方法及装置 |
| US11164934B2 (en) * | 2019-03-12 | 2021-11-02 | X Display Company Technology Limited | Tiled displays with black-matrix support screens |
| CN119225075B (zh) * | 2024-11-15 | 2025-06-24 | 太原理工大学 | 一种光配向光罩及其设计方法 |
Family Cites Families (32)
| Publication number | Priority date | Publication date | Assignee | Title |
|---|---|---|---|---|
| JPS55121441A (en) | 1979-03-14 | 1980-09-18 | Fujitsu Ltd | Mask for far ultraviolet exposure |
| JPS5990930A (ja) | 1982-11-17 | 1984-05-25 | Toshiba Corp | ドライエツチング方法及び装置 |
| JPH0624490Y2 (ja) | 1987-06-26 | 1994-06-29 | 株式会社イトーキクレビオ | 壁パネル装置における支柱の支持装置 |
| JPS644720A (en) | 1987-06-29 | 1989-01-09 | Matsushita Electric Industrial Co Ltd | Field effect type liquid crystal display element |
| JP2556604B2 (ja) | 1990-04-24 | 1996-11-20 | キヤノン株式会社 | 液晶素子 |
| US5192596A (en) | 1989-06-02 | 1993-03-09 | Canon Kabushiki Kaisha | Liquid crystal device |
| JP2794359B2 (ja) * | 1992-02-05 | 1998-09-03 | キヤノン株式会社 | 液晶素子 |
| JP2987045B2 (ja) | 1993-12-27 | 1999-12-06 | 松下電器産業株式会社 | 液晶パネル用基板とその製造方法 |
| US5623354A (en) * | 1994-02-10 | 1997-04-22 | International Business Machines Corporation | Liquid crystal display with multi-domains |
| JPH08101393A (ja) * | 1994-09-30 | 1996-04-16 | Nissan Chem Ind Ltd | 液晶配向処理方法及び液晶表示素子 |
| US5693379A (en) * | 1994-10-20 | 1997-12-02 | Chisso Corporation | Polyimide |
| JPH08254702A (ja) * | 1995-03-15 | 1996-10-01 | Hoechst Ind Kk | 液晶表示素子 |
| JP3649818B2 (ja) * | 1996-09-19 | 2005-05-18 | 富士通ディスプレイテクノロジーズ株式会社 | 液晶表示装置 |
| KR100191787B1 (ko) * | 1996-09-20 | 1999-06-15 | 구자홍 | 광시야각을 가지는 액정셀의 제조방법 |
| KR100230436B1 (ko) * | 1996-12-17 | 1999-11-15 | 손욱 | 광배향성 조성물, 이로부터 형성된 배향막 및이 배향막을 구비한 액정표시소자 |
| JP4201862B2 (ja) | 1997-02-27 | 2008-12-24 | シャープ株式会社 | 液晶表示装置 |
| JPH10274776A (ja) | 1997-03-31 | 1998-10-13 | Sanyo Electric Co Ltd | 光硬化型樹脂の硬化方法及び封止剤硬化装置及び遮光マスク |
| JP2982777B2 (ja) | 1997-12-26 | 1999-11-29 | 日本電気株式会社 | 液晶表示装置 |
| JPH11202336A (ja) | 1998-01-09 | 1999-07-30 | Sony Corp | 光の照射方法及びその装置、高分子配向膜の製造方法及びその装置 |
| US6300993B1 (en) * | 1998-01-20 | 2001-10-09 | Industrial Technology Research Institute | Wide viewing angle liquid crystal display panel |
| KR100309918B1 (ko) | 1998-05-16 | 2001-12-17 | 윤종용 | 광시야각액정표시장치및그제조방법 |
| US7061679B1 (en) * | 1998-05-27 | 2006-06-13 | Lg. Philips Lcd Co., Ltd. | Light irradiating device |
| JP4397444B2 (ja) * | 1998-12-28 | 2010-01-13 | シャープ株式会社 | 液晶表示装置 |
| JP2000292791A (ja) | 1999-02-04 | 2000-10-20 | Sharp Corp | 液晶表示素子およびプラズマアドレス型液晶表示装置 |
| JP2000275646A (ja) * | 1999-03-24 | 2000-10-06 | Nec Corp | 液晶表示装置 |
| JP4401538B2 (ja) | 1999-07-30 | 2010-01-20 | シャープ株式会社 | 液晶表示装置及びその製造方法 |
| JP2001081323A (ja) | 1999-09-17 | 2001-03-27 | Jsr Corp | 液晶配向剤および液晶表示素子 |
| KR100475107B1 (ko) * | 1999-10-14 | 2005-03-09 | 엘지.필립스 엘시디 주식회사 | 멀티도메인 액정셀의 제조방법 |
| JP2001142073A (ja) * | 1999-11-05 | 2001-05-25 | Koninkl Philips Electronics Nv | 液晶表示装置 |
| JP2002303870A (ja) | 2001-01-30 | 2002-10-18 | Jsr Corp | 垂直配向型液晶配向膜および垂直配向型液晶表示素子 |
| US6562420B2 (en) * | 2001-07-31 | 2003-05-13 | Industrial Technology Research Institute | Liquid crystal aligning film |
| JP4334166B2 (ja) * | 2001-08-01 | 2009-09-30 | シャープ株式会社 | 液晶表示装置及び配向膜の露光装置及び配向膜の処理方法 |
-
2001
- 2001-08-01 JP JP2001233663A patent/JP4334166B2/ja not_active Expired - Fee Related
-
2002
- 2002-03-12 US US10/096,182 patent/US7081935B2/en not_active Expired - Lifetime
-
2006
- 2006-06-09 US US11/450,754 patent/US7251001B2/en not_active Expired - Lifetime
-
2007
- 2007-06-21 US US11/820,891 patent/US7430033B2/en not_active Expired - Fee Related
-
2008
- 2008-06-30 US US12/164,924 patent/US7782430B2/en not_active Expired - Fee Related
-
2010
- 2010-07-19 US US12/838,976 patent/US7944532B2/en not_active Expired - Fee Related
-
2011
- 2011-04-11 US US13/083,715 patent/US8085373B2/en not_active Expired - Fee Related
- 2011-12-01 US US13/309,032 patent/US8400595B2/en not_active Expired - Fee Related
-
2013
- 2013-03-07 US US13/788,702 patent/US8681300B2/en not_active Expired - Fee Related
Also Published As
| Publication number | Publication date |
|---|---|
| US8085373B2 (en) | 2011-12-27 |
| JP2003043492A (ja) | 2003-02-13 |
| US20070285606A1 (en) | 2007-12-13 |
| US7430033B2 (en) | 2008-09-30 |
| US20080291388A1 (en) | 2008-11-27 |
| US20060227272A1 (en) | 2006-10-12 |
| US20110187974A1 (en) | 2011-08-04 |
| US20130189626A1 (en) | 2013-07-25 |
| US7944532B2 (en) | 2011-05-17 |
| US8681300B2 (en) | 2014-03-25 |
| US20120077115A1 (en) | 2012-03-29 |
| US8400595B2 (en) | 2013-03-19 |
| US20030025864A1 (en) | 2003-02-06 |
| US7251001B2 (en) | 2007-07-31 |
| US7782430B2 (en) | 2010-08-24 |
| US7081935B2 (en) | 2006-07-25 |
| US20100277680A1 (en) | 2010-11-04 |
Similar Documents
| Publication | Publication Date | Title |
|---|---|---|
| JP4334166B2 (ja) | 液晶表示装置及び配向膜の露光装置及び配向膜の処理方法 | |
| JP4201862B2 (ja) | 液晶表示装置 | |
| KR100268069B1 (ko) | 반사판, 반사판이 결합된 반사형 액정 표시 장치 및 그 제조 방 법 | |
| US5657102A (en) | Liquid crystal display apparatus, a method for producing the same, and a substrate having an alignment layer with different degrees of roughness | |
| JP3068376B2 (ja) | 液晶表示装置の製造方法 | |
| JP5215423B2 (ja) | 液晶表示装置の製造方法 | |
| JP2010039332A (ja) | 液晶装置、電子機器 | |
| JP2009187043A (ja) | 液晶表示装置 | |
| JP2000105370A (ja) | 反射板、並びに反射型表示素子及びその製造方法 | |
| JP2003161946A (ja) | 液晶表示装置製造方法及び液晶表示装置 | |
| JP3718695B2 (ja) | 液晶表示パネル | |
| JP2000081621A (ja) | 液晶表示装置の製造方法 | |
| WO2012011403A1 (ja) | 液晶表示装置 |
Legal Events
| Date | Code | Title | Description |
|---|---|---|---|
| A711 | Notification of change in applicant |
Free format text: JAPANESE INTERMEDIATE CODE: A711 Effective date: 20050712 |
|
| A711 | Notification of change in applicant |
Free format text: JAPANESE INTERMEDIATE CODE: A711 Effective date: 20050713 |
|
| RD02 | Notification of acceptance of power of attorney |
Free format text: JAPANESE INTERMEDIATE CODE: A7422 Effective date: 20050808 |
|
| A621 | Written request for application examination |
Free format text: JAPANESE INTERMEDIATE CODE: A621 Effective date: 20061011 |
|
| A977 | Report on retrieval |
Free format text: JAPANESE INTERMEDIATE CODE: A971007 Effective date: 20080409 |
|
| A521 | Request for written amendment filed |
Free format text: JAPANESE INTERMEDIATE CODE: A523 Effective date: 20090303 |
|
| A131 | Notification of reasons for refusal |
Free format text: JAPANESE INTERMEDIATE CODE: A131 Effective date: 20090331 |
|
| A521 | Request for written amendment filed |
Free format text: JAPANESE INTERMEDIATE CODE: A523 Effective date: 20090529 |
|
| TRDD | Decision of grant or rejection written | ||
| A01 | Written decision to grant a patent or to grant a registration (utility model) |
Free format text: JAPANESE INTERMEDIATE CODE: A01 Effective date: 20090623 |
|
| A01 | Written decision to grant a patent or to grant a registration (utility model) |
Free format text: JAPANESE INTERMEDIATE CODE: A01 |
|
| A61 | First payment of annual fees (during grant procedure) |
Free format text: JAPANESE INTERMEDIATE CODE: A61 Effective date: 20090623 |
|
| FPAY | Renewal fee payment (event date is renewal date of database) |
Free format text: PAYMENT UNTIL: 20120703 Year of fee payment: 3 |
|
| R150 | Certificate of patent or registration of utility model |
Free format text: JAPANESE INTERMEDIATE CODE: R150 Ref document number: 4334166 Country of ref document: JP Free format text: JAPANESE INTERMEDIATE CODE: R150 |
|
| FPAY | Renewal fee payment (event date is renewal date of database) |
Free format text: PAYMENT UNTIL: 20120703 Year of fee payment: 3 |
|
| FPAY | Renewal fee payment (event date is renewal date of database) |
Free format text: PAYMENT UNTIL: 20130703 Year of fee payment: 4 |
|
| LAPS | Cancellation because of no payment of annual fees |
