JP3813633B2 - 静電消失特性を有する部品キャリアテープ - Google Patents
静電消失特性を有する部品キャリアテープ Download PDFInfo
- Publication number
- JP3813633B2 JP3813633B2 JP51194797A JP51194797A JP3813633B2 JP 3813633 B2 JP3813633 B2 JP 3813633B2 JP 51194797 A JP51194797 A JP 51194797A JP 51194797 A JP51194797 A JP 51194797A JP 3813633 B2 JP3813633 B2 JP 3813633B2
- Authority
- JP
- Japan
- Prior art keywords
- strip portion
- cover
- carrier tape
- carrier
- tape
- Prior art date
- Legal status (The legal status is an assumption and is not a legal conclusion. Google has not performed a legal analysis and makes no representation as to the accuracy of the status listed.)
- Expired - Lifetime
Links
- 239000000463 material Substances 0.000 claims description 40
- 230000003068 static effect Effects 0.000 claims description 24
- 239000000853 adhesive Substances 0.000 claims description 23
- 230000001070 adhesive effect Effects 0.000 claims description 23
- -1 alkyl methacrylate Chemical compound 0.000 claims description 12
- 239000004417 polycarbonate Substances 0.000 claims description 12
- 229920000515 polycarbonate Polymers 0.000 claims description 12
- 229920000728 polyester Polymers 0.000 claims description 7
- 238000003860 storage Methods 0.000 claims description 6
- 230000007246 mechanism Effects 0.000 claims description 5
- 230000002829 reductive effect Effects 0.000 claims description 5
- CERQOIWHTDAKMF-UHFFFAOYSA-M Methacrylate Chemical compound CC(=C)C([O-])=O CERQOIWHTDAKMF-UHFFFAOYSA-M 0.000 claims description 4
- 125000005250 alkyl acrylate group Chemical group 0.000 claims description 4
- 125000000217 alkyl group Chemical group 0.000 claims description 4
- 230000000694 effects Effects 0.000 claims description 4
- 230000008030 elimination Effects 0.000 claims description 4
- 238000003379 elimination reaction Methods 0.000 claims description 4
- 150000004820 halides Chemical class 0.000 claims description 4
- 125000005208 trialkylammonium group Chemical group 0.000 claims description 4
- MPNXSZJPSVBLHP-UHFFFAOYSA-N 2-chloro-n-phenylpyridine-3-carboxamide Chemical compound ClC1=NC=CC=C1C(=O)NC1=CC=CC=C1 MPNXSZJPSVBLHP-UHFFFAOYSA-N 0.000 claims description 3
- VVQNEPGJFQJSBK-UHFFFAOYSA-N Methyl methacrylate Chemical compound COC(=O)C(C)=C VVQNEPGJFQJSBK-UHFFFAOYSA-N 0.000 claims description 3
- CQEYYJKEWSMYFG-UHFFFAOYSA-N butyl acrylate Chemical compound CCCCOC(=O)C=C CQEYYJKEWSMYFG-UHFFFAOYSA-N 0.000 claims description 3
- SUPCQIBBMFXVTL-UHFFFAOYSA-N ethyl 2-methylprop-2-enoate Chemical compound CCOC(=O)C(C)=C SUPCQIBBMFXVTL-UHFFFAOYSA-N 0.000 claims description 3
- 238000005304 joining Methods 0.000 claims description 3
- 239000007795 chemical reaction product Substances 0.000 claims 3
- 238000000576 coating method Methods 0.000 description 36
- 239000011248 coating agent Substances 0.000 description 35
- 230000000052 comparative effect Effects 0.000 description 29
- 238000000034 method Methods 0.000 description 16
- 230000032683 aging Effects 0.000 description 14
- 238000007789 sealing Methods 0.000 description 14
- LFQSCWFLJHTTHZ-UHFFFAOYSA-N Ethanol Chemical compound CCO LFQSCWFLJHTTHZ-UHFFFAOYSA-N 0.000 description 11
- XLYOFNOQVPJJNP-UHFFFAOYSA-N water Substances O XLYOFNOQVPJJNP-UHFFFAOYSA-N 0.000 description 10
- 239000010410 layer Substances 0.000 description 9
- 239000012790 adhesive layer Substances 0.000 description 8
- 238000003856 thermoforming Methods 0.000 description 8
- 238000009825 accumulation Methods 0.000 description 7
- 239000002904 solvent Substances 0.000 description 7
- ZWEHNKRNPOVVGH-UHFFFAOYSA-N 2-Butanone Chemical compound CCC(C)=O ZWEHNKRNPOVVGH-UHFFFAOYSA-N 0.000 description 6
- 239000002216 antistatic agent Substances 0.000 description 6
- 239000000243 solution Substances 0.000 description 6
- 230000005611 electricity Effects 0.000 description 5
- 238000004519 manufacturing process Methods 0.000 description 5
- 229920003023 plastic Polymers 0.000 description 5
- 239000004033 plastic Substances 0.000 description 5
- 229920000642 polymer Polymers 0.000 description 5
- 239000007787 solid Substances 0.000 description 5
- 229920001169 thermoplastic Polymers 0.000 description 5
- 230000002411 adverse Effects 0.000 description 4
- 239000011230 binding agent Substances 0.000 description 4
- 238000005259 measurement Methods 0.000 description 4
- 230000008569 process Effects 0.000 description 4
- 229920005989 resin Polymers 0.000 description 4
- 239000011347 resin Substances 0.000 description 4
- OKKJLVBELUTLKV-UHFFFAOYSA-N Methanol Chemical compound OC OKKJLVBELUTLKV-UHFFFAOYSA-N 0.000 description 3
- 239000004793 Polystyrene Substances 0.000 description 3
- 239000000356 contaminant Substances 0.000 description 3
- 238000001816 cooling Methods 0.000 description 3
- 238000010586 diagram Methods 0.000 description 3
- 230000008034 disappearance Effects 0.000 description 3
- 239000000428 dust Substances 0.000 description 3
- 239000005038 ethylene vinyl acetate Substances 0.000 description 3
- 229920001200 poly(ethylene-vinyl acetate) Polymers 0.000 description 3
- 229920000098 polyolefin Polymers 0.000 description 3
- 229920002223 polystyrene Polymers 0.000 description 3
- 239000007921 spray Substances 0.000 description 3
- 238000007655 standard test method Methods 0.000 description 3
- 239000004416 thermosoftening plastic Substances 0.000 description 3
- 239000004698 Polyethylene Substances 0.000 description 2
- 239000004743 Polypropylene Substances 0.000 description 2
- 239000003990 capacitor Substances 0.000 description 2
- 239000006229 carbon black Substances 0.000 description 2
- 239000004020 conductor Substances 0.000 description 2
- 230000007423 decrease Effects 0.000 description 2
- GNTDGMZSJNCJKK-UHFFFAOYSA-N divanadium pentaoxide Chemical compound O=[V](=O)O[V](=O)=O GNTDGMZSJNCJKK-UHFFFAOYSA-N 0.000 description 2
- 230000009977 dual effect Effects 0.000 description 2
- 238000001125 extrusion Methods 0.000 description 2
- 230000001771 impaired effect Effects 0.000 description 2
- 239000000203 mixture Substances 0.000 description 2
- 230000036961 partial effect Effects 0.000 description 2
- 229920000058 polyacrylate Polymers 0.000 description 2
- 229920000573 polyethylene Polymers 0.000 description 2
- 229920000139 polyethylene terephthalate Polymers 0.000 description 2
- 239000005020 polyethylene terephthalate Substances 0.000 description 2
- 229920001155 polypropylene Polymers 0.000 description 2
- 239000000523 sample Substances 0.000 description 2
- 229920003048 styrene butadiene rubber Polymers 0.000 description 2
- 239000000126 substance Substances 0.000 description 2
- 239000004094 surface-active agent Substances 0.000 description 2
- 229920001897 terpolymer Polymers 0.000 description 2
- 229910001887 tin oxide Inorganic materials 0.000 description 2
- 238000011179 visual inspection Methods 0.000 description 2
- 150000000565 5-membered heterocyclic compounds Chemical class 0.000 description 1
- 150000000644 6-membered heterocyclic compounds Chemical class 0.000 description 1
- NIXOWILDQLNWCW-UHFFFAOYSA-M Acrylate Chemical compound [O-]C(=O)C=C NIXOWILDQLNWCW-UHFFFAOYSA-M 0.000 description 1
- 229920000178 Acrylic resin Polymers 0.000 description 1
- 239000004925 Acrylic resin Substances 0.000 description 1
- HCLZZCCPFFHZAX-UHFFFAOYSA-N CC(CN)(C(C1)CC2)C=C1C1C2=CC1 Chemical compound CC(CN)(C(C1)CC2)C=C1C1C2=CC1 HCLZZCCPFFHZAX-UHFFFAOYSA-N 0.000 description 1
- 239000004677 Nylon Substances 0.000 description 1
- 239000004820 Pressure-sensitive adhesive Substances 0.000 description 1
- BZHJMEDXRYGGRV-UHFFFAOYSA-N Vinyl chloride Chemical compound ClC=C BZHJMEDXRYGGRV-UHFFFAOYSA-N 0.000 description 1
- 229920002433 Vinyl chloride-vinyl acetate copolymer Polymers 0.000 description 1
- 229920005822 acrylic binder Polymers 0.000 description 1
- XECAHXYUAAWDEL-UHFFFAOYSA-N acrylonitrile butadiene styrene Chemical compound C=CC=C.C=CC#N.C=CC1=CC=CC=C1 XECAHXYUAAWDEL-UHFFFAOYSA-N 0.000 description 1
- 229920000122 acrylonitrile butadiene styrene Polymers 0.000 description 1
- 239000004676 acrylonitrile butadiene styrene Substances 0.000 description 1
- 238000004026 adhesive bonding Methods 0.000 description 1
- 238000005054 agglomeration Methods 0.000 description 1
- 230000002776 aggregation Effects 0.000 description 1
- XXLJGBGJDROPKW-UHFFFAOYSA-N antimony;oxotin Chemical compound [Sb].[Sn]=O XXLJGBGJDROPKW-UHFFFAOYSA-N 0.000 description 1
- 238000003491 array Methods 0.000 description 1
- 230000000712 assembly Effects 0.000 description 1
- 238000000429 assembly Methods 0.000 description 1
- 230000001680 brushing effect Effects 0.000 description 1
- 239000003985 ceramic capacitor Substances 0.000 description 1
- 230000008859 change Effects 0.000 description 1
- 239000012612 commercial material Substances 0.000 description 1
- 239000011231 conductive filler Substances 0.000 description 1
- 239000012050 conventional carrier Substances 0.000 description 1
- 230000001627 detrimental effect Effects 0.000 description 1
- 238000007598 dipping method Methods 0.000 description 1
- 238000005553 drilling Methods 0.000 description 1
- 238000001035 drying Methods 0.000 description 1
- 230000005686 electrostatic field Effects 0.000 description 1
- 230000007613 environmental effect Effects 0.000 description 1
- 230000006870 function Effects 0.000 description 1
- 230000009477 glass transition Effects 0.000 description 1
- 125000005842 heteroatom Chemical group 0.000 description 1
- 150000002391 heterocyclic compounds Chemical class 0.000 description 1
- 238000010348 incorporation Methods 0.000 description 1
- 238000001746 injection moulding Methods 0.000 description 1
- 238000003780 insertion Methods 0.000 description 1
- 230000037431 insertion Effects 0.000 description 1
- 239000011229 interlayer Substances 0.000 description 1
- 238000005342 ion exchange Methods 0.000 description 1
- 238000010030 laminating Methods 0.000 description 1
- 239000007788 liquid Substances 0.000 description 1
- 230000007774 longterm Effects 0.000 description 1
- 238000002844 melting Methods 0.000 description 1
- 230000008018 melting Effects 0.000 description 1
- 229910044991 metal oxide Inorganic materials 0.000 description 1
- 150000004706 metal oxides Chemical class 0.000 description 1
- 238000012986 modification Methods 0.000 description 1
- 230000004048 modification Effects 0.000 description 1
- 239000002736 nonionic surfactant Substances 0.000 description 1
- 229920001778 nylon Polymers 0.000 description 1
- 230000003287 optical effect Effects 0.000 description 1
- 239000007800 oxidant agent Substances 0.000 description 1
- 239000002245 particle Substances 0.000 description 1
- 239000003348 petrochemical agent Substances 0.000 description 1
- 239000002985 plastic film Substances 0.000 description 1
- 229920006255 plastic film Polymers 0.000 description 1
- 229920006254 polymer film Polymers 0.000 description 1
- 239000002861 polymer material Substances 0.000 description 1
- 239000002952 polymeric resin Substances 0.000 description 1
- 238000006116 polymerization reaction Methods 0.000 description 1
- 239000004800 polyvinyl chloride Substances 0.000 description 1
- 229920000915 polyvinyl chloride Polymers 0.000 description 1
- 238000007781 pre-processing Methods 0.000 description 1
- 230000001737 promoting effect Effects 0.000 description 1
- 230000029058 respiratory gaseous exchange Effects 0.000 description 1
- 230000002441 reversible effect Effects 0.000 description 1
- 239000012945 sealing adhesive Substances 0.000 description 1
- 239000004065 semiconductor Substances 0.000 description 1
- 230000035945 sensitivity Effects 0.000 description 1
- 229910052708 sodium Inorganic materials 0.000 description 1
- 239000011734 sodium Substances 0.000 description 1
- 239000011877 solvent mixture Substances 0.000 description 1
- 238000005507 spraying Methods 0.000 description 1
- 230000002459 sustained effect Effects 0.000 description 1
- 229920003002 synthetic resin Polymers 0.000 description 1
- 238000010998 test method Methods 0.000 description 1
- 239000012815 thermoplastic material Substances 0.000 description 1
- XOLBLPGZBRYERU-UHFFFAOYSA-N tin dioxide Chemical compound O=[Sn]=O XOLBLPGZBRYERU-UHFFFAOYSA-N 0.000 description 1
- 238000001771 vacuum deposition Methods 0.000 description 1
- 238000007666 vacuum forming Methods 0.000 description 1
- 238000004804 winding Methods 0.000 description 1
Images
Classifications
-
- H—ELECTRICITY
- H05—ELECTRIC TECHNIQUES NOT OTHERWISE PROVIDED FOR
- H05K—PRINTED CIRCUITS; CASINGS OR CONSTRUCTIONAL DETAILS OF ELECTRIC APPARATUS; MANUFACTURE OF ASSEMBLAGES OF ELECTRICAL COMPONENTS
- H05K13/00—Apparatus or processes specially adapted for manufacturing or adjusting assemblages of electric components
-
- H—ELECTRICITY
- H05—ELECTRIC TECHNIQUES NOT OTHERWISE PROVIDED FOR
- H05K—PRINTED CIRCUITS; CASINGS OR CONSTRUCTIONAL DETAILS OF ELECTRIC APPARATUS; MANUFACTURE OF ASSEMBLAGES OF ELECTRICAL COMPONENTS
- H05K13/00—Apparatus or processes specially adapted for manufacturing or adjusting assemblages of electric components
- H05K13/003—Placing of components on belts holding the terminals
-
- Y—GENERAL TAGGING OF NEW TECHNOLOGICAL DEVELOPMENTS; GENERAL TAGGING OF CROSS-SECTIONAL TECHNOLOGIES SPANNING OVER SEVERAL SECTIONS OF THE IPC; TECHNICAL SUBJECTS COVERED BY FORMER USPC CROSS-REFERENCE ART COLLECTIONS [XRACs] AND DIGESTS
- Y10—TECHNICAL SUBJECTS COVERED BY FORMER USPC
- Y10S—TECHNICAL SUBJECTS COVERED BY FORMER USPC CROSS-REFERENCE ART COLLECTIONS [XRACs] AND DIGESTS
- Y10S428/00—Stock material or miscellaneous articles
- Y10S428/922—Static electricity metal bleed-off metallic stock
-
- Y—GENERAL TAGGING OF NEW TECHNOLOGICAL DEVELOPMENTS; GENERAL TAGGING OF CROSS-SECTIONAL TECHNOLOGIES SPANNING OVER SEVERAL SECTIONS OF THE IPC; TECHNICAL SUBJECTS COVERED BY FORMER USPC CROSS-REFERENCE ART COLLECTIONS [XRACs] AND DIGESTS
- Y10—TECHNICAL SUBJECTS COVERED BY FORMER USPC
- Y10T—TECHNICAL SUBJECTS COVERED BY FORMER US CLASSIFICATION
- Y10T428/00—Stock material or miscellaneous articles
- Y10T428/14—Layer or component removable to expose adhesive
-
- Y—GENERAL TAGGING OF NEW TECHNOLOGICAL DEVELOPMENTS; GENERAL TAGGING OF CROSS-SECTIONAL TECHNOLOGIES SPANNING OVER SEVERAL SECTIONS OF THE IPC; TECHNICAL SUBJECTS COVERED BY FORMER USPC CROSS-REFERENCE ART COLLECTIONS [XRACs] AND DIGESTS
- Y10—TECHNICAL SUBJECTS COVERED BY FORMER USPC
- Y10T—TECHNICAL SUBJECTS COVERED BY FORMER US CLASSIFICATION
- Y10T428/00—Stock material or miscellaneous articles
- Y10T428/14—Layer or component removable to expose adhesive
- Y10T428/1424—Halogen containing compound
-
- Y—GENERAL TAGGING OF NEW TECHNOLOGICAL DEVELOPMENTS; GENERAL TAGGING OF CROSS-SECTIONAL TECHNOLOGIES SPANNING OVER SEVERAL SECTIONS OF THE IPC; TECHNICAL SUBJECTS COVERED BY FORMER USPC CROSS-REFERENCE ART COLLECTIONS [XRACs] AND DIGESTS
- Y10—TECHNICAL SUBJECTS COVERED BY FORMER USPC
- Y10T—TECHNICAL SUBJECTS COVERED BY FORMER US CLASSIFICATION
- Y10T428/00—Stock material or miscellaneous articles
- Y10T428/14—Layer or component removable to expose adhesive
- Y10T428/1471—Protective layer
-
- Y—GENERAL TAGGING OF NEW TECHNOLOGICAL DEVELOPMENTS; GENERAL TAGGING OF CROSS-SECTIONAL TECHNOLOGIES SPANNING OVER SEVERAL SECTIONS OF THE IPC; TECHNICAL SUBJECTS COVERED BY FORMER USPC CROSS-REFERENCE ART COLLECTIONS [XRACs] AND DIGESTS
- Y10—TECHNICAL SUBJECTS COVERED BY FORMER USPC
- Y10T—TECHNICAL SUBJECTS COVERED BY FORMER US CLASSIFICATION
- Y10T428/00—Stock material or miscellaneous articles
- Y10T428/14—Layer or component removable to expose adhesive
- Y10T428/1476—Release layer
-
- Y—GENERAL TAGGING OF NEW TECHNOLOGICAL DEVELOPMENTS; GENERAL TAGGING OF CROSS-SECTIONAL TECHNOLOGIES SPANNING OVER SEVERAL SECTIONS OF THE IPC; TECHNICAL SUBJECTS COVERED BY FORMER USPC CROSS-REFERENCE ART COLLECTIONS [XRACs] AND DIGESTS
- Y10—TECHNICAL SUBJECTS COVERED BY FORMER USPC
- Y10T—TECHNICAL SUBJECTS COVERED BY FORMER US CLASSIFICATION
- Y10T428/00—Stock material or miscellaneous articles
- Y10T428/14—Layer or component removable to expose adhesive
- Y10T428/149—Sectional layer removable
-
- Y—GENERAL TAGGING OF NEW TECHNOLOGICAL DEVELOPMENTS; GENERAL TAGGING OF CROSS-SECTIONAL TECHNOLOGIES SPANNING OVER SEVERAL SECTIONS OF THE IPC; TECHNICAL SUBJECTS COVERED BY FORMER USPC CROSS-REFERENCE ART COLLECTIONS [XRACs] AND DIGESTS
- Y10—TECHNICAL SUBJECTS COVERED BY FORMER USPC
- Y10T—TECHNICAL SUBJECTS COVERED BY FORMER US CLASSIFICATION
- Y10T428/00—Stock material or miscellaneous articles
- Y10T428/31504—Composite [nonstructural laminate]
- Y10T428/31507—Of polycarbonate
-
- Y—GENERAL TAGGING OF NEW TECHNOLOGICAL DEVELOPMENTS; GENERAL TAGGING OF CROSS-SECTIONAL TECHNOLOGIES SPANNING OVER SEVERAL SECTIONS OF THE IPC; TECHNICAL SUBJECTS COVERED BY FORMER USPC CROSS-REFERENCE ART COLLECTIONS [XRACs] AND DIGESTS
- Y10—TECHNICAL SUBJECTS COVERED BY FORMER USPC
- Y10T—TECHNICAL SUBJECTS COVERED BY FORMER US CLASSIFICATION
- Y10T428/00—Stock material or miscellaneous articles
- Y10T428/31504—Composite [nonstructural laminate]
- Y10T428/31786—Of polyester [e.g., alkyd, etc.]
-
- Y—GENERAL TAGGING OF NEW TECHNOLOGICAL DEVELOPMENTS; GENERAL TAGGING OF CROSS-SECTIONAL TECHNOLOGIES SPANNING OVER SEVERAL SECTIONS OF THE IPC; TECHNICAL SUBJECTS COVERED BY FORMER USPC CROSS-REFERENCE ART COLLECTIONS [XRACs] AND DIGESTS
- Y10—TECHNICAL SUBJECTS COVERED BY FORMER USPC
- Y10T—TECHNICAL SUBJECTS COVERED BY FORMER US CLASSIFICATION
- Y10T428/00—Stock material or miscellaneous articles
- Y10T428/31504—Composite [nonstructural laminate]
- Y10T428/31786—Of polyester [e.g., alkyd, etc.]
- Y10T428/31797—Next to addition polymer from unsaturated monomers
-
- Y—GENERAL TAGGING OF NEW TECHNOLOGICAL DEVELOPMENTS; GENERAL TAGGING OF CROSS-SECTIONAL TECHNOLOGIES SPANNING OVER SEVERAL SECTIONS OF THE IPC; TECHNICAL SUBJECTS COVERED BY FORMER USPC CROSS-REFERENCE ART COLLECTIONS [XRACs] AND DIGESTS
- Y10—TECHNICAL SUBJECTS COVERED BY FORMER USPC
- Y10T—TECHNICAL SUBJECTS COVERED BY FORMER US CLASSIFICATION
- Y10T428/00—Stock material or miscellaneous articles
- Y10T428/31504—Composite [nonstructural laminate]
- Y10T428/31855—Of addition polymer from unsaturated monomers
- Y10T428/31935—Ester, halide or nitrile of addition polymer
Landscapes
- Engineering & Computer Science (AREA)
- Manufacturing & Machinery (AREA)
- Microelectronics & Electronic Packaging (AREA)
- Packaging Frangible Articles (AREA)
- Packages (AREA)
- Belt Conveyors (AREA)
- Addition Polymer Or Copolymer, Post-Treatments, Or Chemical Modifications (AREA)
Description
技術分野
本発明は、広くは電子部品を保管し、これらの部品を順次機械に供給するためのキャリアテープに関する。特に、本発明は、静電消失特性を有するキャリアテープに関する。
従来技術の説明
一般に、新しい製品に組み立てる異なる部品製造業者に部品を運搬するのに用いられるキャリアテープはよく知られている。例えば、電子回路アセンブリの分野では、電子部品はこのような部品のサプライから、それが取り付けられる回路基板上の特定の位置へと搬送される。この部品には、表面実装部品を含むいくつかの異なる種類がある。例えば、メモリチップ、集積回路チップ、抵抗器、コネクタ、デュアル・インラインプロセッサ、コンデンサ、ゲートアレイ等が特に例示される。このような部品は、通常、後に電子デバイスに組み込まれる回路基板に取り付けられている。
個々の電子部品をそれぞれ手で回路基板に取り付けず、電子業界では、「ピックして配置する(pick-and-place)」マシンとして知られていることがあるロボット式配置マシンが広く使われている。これは、特定の位置(サプライ)側の部品を掴んで、他の特定の位置(回路基板)側へ配置するものである。ロボット式配置マシンの持続動作を確実なものにするために、電子部品の連続サプライがマシンに備わっていなければならない。
所望の位置へ電子部品を連続供給する一つの方法はキャリアテープを用いることである。従来のキャリアテープは、通常、矩形プラスチックストリップ(しばしばキャリアと呼ばれる)を備えている。このプラスチックストリップは、その長片に沿って所定の、等しい間隔で形成された一連の同一のポケットを有している。そのポケットは、電子部品を受け止めるように設計されている。連続カバー(しばしばカバーテープと呼ばれる)を、矩形ストリップを覆うように取り付けて、ポケットの中の部品を保持する。キャリアテープは、ロボット式配置マシンへ供給される。そのマシンは、連続カバーテープをキャリアから引き剥がして、部品をポケットから除去し、それらを回路基板上に載せる。
キャリアテープの運搬中に生じる振動により、保管された部品は、カバーテープおよび/またはポケットの壁と接触する。その結果生じる摩擦により静電気が発生する。カバーテープを除去しても静電気が発生する。しかしながら、困ったことに、静電界およびそれに続いて起こる静電放電があるだけで、高感度の電子部品に非常に有害となり得る。これは、ワークに静電気が発生することによって劣化または破壊される恐れのある最新の半導体および集積回路に特に当てはまる。特に高感度な部品は、50ボルトという小さな電位で大きく影響を受けるが、単に歩くという動作だけで、摩擦電気により30,000ボルト以上の電位が生成されてしまう。
この問題に取り組む試みの中で様々な技法が開発されてきた。例えば、カーボンブラック、金属酸化物およびその他帯電防止剤を、キャリアが形成されるポリマー樹脂へ組み込んできた。これらの物質の中には、キャリアの透明度を減じるものがある。しかしながら、保管された部品を、カバーテープを除去することなく目視で検査できるようキャリアは透明であるのが望ましいことが多い。組み込まれた帯電防止剤は、表面にマイグレーション、ブルーミングまたはブリージングすることによって機能する。しかしながら、これらの物質の効果は、時間が経つと減少する。
開発された他の技法は、キャリアまたはカバーテープに静電消失コーティングを塗布することである。例えば、特開平4−214339号公報には、キャリア用の透明導電性コーティングが開示されている。このコーティングは、塩化ビニル−酢酸ビニルコポリマー樹脂およびアクリル樹脂ベースのバインダー樹脂中にアンチモン酸化錫を含んだものである。キャリアを作成するのに用いられるプラスチック類は、ポリスチレン、ポリ塩化ビニルおよびポリエチレンである。キャリアは、ポリエステルを含むベースシート、エチレン−酢酸ビニルコポリマー樹脂および非イオン系界面活性剤のような帯電防止剤を含むヒートシール樹脂層を含むカバーテープと共に用いてもよい。酸化錫化合物の存在は、ヘーズを増大させ、カバーテープとキャリア間を良好に接合させる力に悪影響を及ぼす。
特開平5−42969号公報には、プラスチックキャリアテープベースシート(例えば、塩化ビニル、ポリスチレンまたはポリエチレン)用の透明導電性コーティングを提供するためにアクリルバインダー中に分散された7,7,8,8−テトラシアノキノジメタン導電性充填材が開示されている。
静電消失カバーテープを最も効果的とするためには、静電消失コーティングを、内部表面、すなわち、部品搬送ポケットの内部に面する表面に塗布しなければならない。この表面には、通常、キャリアと接着接合させるために接着剤が付けられている。米国特許第4,902,573号(Jonasら)は、帯電防止材料を接着剤に入れると接着損失が起こると注意している。Jonasらはさらに、接着剤が熱活性であることが多く、キャリアと接合させるために用いる熱が帯電特性を下げることがあると述べている。
Jonasらによると、「従来、接着熱可塑性コーティングを施されたこれらのプラスチックフィルムは、帯電仕上げをされていない。というのは、帯電仕上げのために接着熱可塑性コーティングが、自身の接着性を失ったり、接着性がいずれにしてもひどく損なわれる恐れがあったためである。さらに、ヒートシール(溶融)に通常用いられる温度によって接着性が失われない場合は、プラスチックの帯電仕上げに従来使われていた帯電性の中熱安定性の経験から、帯電仕上げが期待されるが、それでもひどく減少するのは確かである。」Jonasらは、バインダーおよび5員環または6員環のヘテロ環状化合物の酸化重合のための酸化剤を含む溶液で接着剤をコーティングし、生成したコーティングをヘテロ環状化合物の溶液で処理することを提案している。しかしながら、ヘテロ原子があると、長い間に、カバーテープの色が望ましくなく変色してしまう。
米国特許第5,208,103号(Miyamotoら)は、同様の懸念に言及しており、さらに、キャリアに安定に接合するバインダーを選択するのは難しいことに注目している。Miyamotoらによれば、「カバーテープの内部表面、すなわち、カバーテープの接着層のための帯電防止処理は、帯電防止剤の接着層へのコーティングまたは組み込みにより成される。しかしながら、組み込みの場合には、接着層に組み込まれた帯電防止剤は、カバーテープの内部表面にブリードして、シーリングが不安定となったりシーリングの不良により多くのトラブルを招く。さらに、帯電防止効果が、時間の経過と共に減少し、パッケージを用いた温度と湿度、特に湿度の条件により大きく影響され、10%RHのような低い湿度では大幅に減少する。このように、十分な効果が得られなかった。一方、導電性材料を接着層に組み込むのは、押出されたフィルム等を外側層に積層することにより接着層が形成されているために、技術的に難しい。さらに、組み込むことによって、生成するカバーテープの透明度が大幅に減少し、カバーテープの有用性に疑問がわいてくる。導電性材料の接着層へのコーティングは、キャリアテープに安定に接合可能なバインダーの選択が難しく、そして接着層がコーティングによりカバーされ隠れているため、実際のところ実施できない。」
Miyamotoらは、二軸配向ポリエステル、ポリプロピレンまたはナイロン層をポリオレフィン中間層に接着接合させた多層カバーテープを開示している。ポリオレフィン層の逆表面は、キャリアに接合された、導電性粒子が充填された、透明で、熱可塑性の、ヒートシーリング接着層でコーティングされている。カバーテープがキャリアから除去されると、ポリオレフィン中間層の凝集が損なわれ、その一部がキャリアに接着接合したままになる。キャリア上に残った残渣は、埃やその他の汚染物質を引き寄せ、キャリアをリサイクルして再使用するのを難しくする。
このように、静電消失キャリアおよび同じく静電消失であるのが好ましい接着接合カバーテープを含むキャリアテープに対する要望があった。キャリアが静電消失コーティングを含んでいる場合には、カバーテープへの接着が減少したり損なわれてはいけない。理想的には、静電消失コーティングは、カバーテープへの接着を促進して、長い間に接着力が大きく変わることなく、カバーテープをキャリアへしっかり接着させ、熱接合可能なカバーテープを低めの温度でキャリアへ接着できるようにする。接着力が長い間に減少すると、カバーテープが緩んで、保管された部品が早期に損失を受ける。接着力が長い間に増大すると、キャリアからカバーテープを除去するのが難しくなる。同様に、長い間そして通常の製造および保管条件で静電消失特性が大幅に失われてはいけない。全体の構造はまた、キャリアテープにより運搬される電子部品がカバーテープを除去しなくても目視で見えるよう十分に透明なままでなくてはならない。
発明の概要
本発明は、電子部品の保管および前進メカニズムによる送出のためのフレキシブルキャリアテープに関する。キャリアテープは、上面、上面の逆側の下面、部品を搬送するための配列された複数のポケットを有する静電消失ストリップ部分を含んでおり、該ポケットは、ストリップ部分に沿って間隔をあけて配列していて、上面へ開口している。
ポケットには一般に、隣接していてストリップから下側に延在した少なくとも1つの側壁および側壁に隣接した下部壁が含まれる。ポケットは、それぞれ隣接する側壁に対してほぼ直角な4つの側壁を含んでいるのがより好ましい。通常、各ポケットは、実質的に同一で、ストリップ部分に沿って等しい間隔で並んでいる。ストリップ部分はさらに、第1および第2の平行な縦の端表面を有しており、端表面のうち少なくとも1つに、前進メカニズム(例えば、鎖歯車)を受け入れる複数の等しい間隔をあけて並ぶ穴が含まれているのが好ましい。
ストリップ部分には、さらにその上に静電消失効果のある静電消失材料が含まれる。静電消失材料には、アルキルアクリレート(好ましくはブチルアクリレート)、アルキルメタクリレート(好ましくはメチルメタクリレート)およびトリアルキルアンモニウムハライドアルキルメタクリレート(好ましくは2−(塩化トリメチルアンモニウム)エチルメタクリレート)のポリマー(すなわち、ターポリマー)が含まれる。
キャリアテープにはまた、ストリップ部分の上面に剥離可能に接着接合され、ストリップ部分に沿って延在し、ポケットを覆うカバー(好ましくは静電消失性のもの)が含まれる。
好ましい実施形態において、ストリップ部分は、ポリカーボネートより形成され、カバーはポリエステルから形成され、カバーをストリップ部分に接合する接着剤はエチレン−酢酸ビニルコポリマーまたはスチレン−ブタジエンブロックコポリマーのような熱接合可能な材料である。
ストリップ部分に用いる静電消失コーティングは、たとえ、高温高湿の非常に活性な条件下であってもカバーへの接着に悪影響を及ぼさない。非常に驚いたことに、そして意外なことに、静電消失材料は、実際に熱接合可能なカバーへの接着を促進し、その結果、静電消失コーティングが存在しなければ、またはその他の静電消失材料を使用したら用いることのできる温度よりも低い温度でこのようなカバーをストリップ部分へ接合させることができる。静電消失コーティングを用いても、キャリアテープは、カバーを除去せずにキャリアテープにより搬送される部品の目視検査が可能な程度に透明のままである。
このように、本発明はまた、アクリルポリマー層をストリップ部分に用いることにより、熱接合可能なカバーがポリカーボネートキャリへ接合する温度を減少させる方法に関する。本発明はさらに、ポリカーボネートキャリアテープのストリップ部分の静電を消失させるために、そして、ストリップ部分が、熱接合可能な接着剤を有するカバーに熱接合できる温度を減少させるためにアクリルポリマーを用いる方法に関する。
【図面の簡単な説明】
本発明は、以下の図面を参照するとより完全に理解されよう。同様または類似の部品については、同一の参照番号を付けてある。
図1は、本発明のキャリアテープの部分透視図である。図中、静電消失コーティングの一部が除去され、下の構造がより明確に示されている。また、そのカバーは、部分的に除去されてキャリアテープ内に保管された部品を示している。しかしながら、ポケットの内部をより明確に示すために部品は主要なポケットからは省かれている。
図2は図1の2−2線に沿った部分図である。
図3は本発明によるキャリアテープの一製造方法の概略図である。
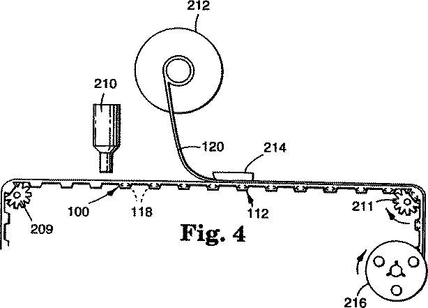
図4は本発明によるキャリアテープに部品を充填し、続いてカバーを取り付ける方法を示す概略図である。
図5は本発明によるキャリアテープから部品を除去するロボット式マシンを示す概略図である。
好ましい実施形態の詳細な説明
図面を参照すると、本発明によるキャリアテープが図1および2に示されている。図示されたキャリアテープは、部品(特に電子部品)を保管し、前進メカニズムにより送出するのに有用である。より詳しくは、フレキシブルキャリアテープ100は、上面およびその上面の逆側の下面を定義するキャリアまたはストリップ部分102を有している。ストリップ部分102は、縦の端表面104および106、および端表面の一つ、好ましくは両面に、そしてそれに沿って形成された配列前進穴108および110の列を含んでいる。前進穴108および110は、キャリアテープ100を所定の位置に進める鎖歯車ドライブの歯のような前進メカニズムを受け止める手段を提供する。
一連のポケット112が、ストリップ部分102に、そしてそれに沿って間隔をあけて形成されており、ポケットは、ストリップ部分の上面へ開口している。一つのキャリアテープ内の各ポケットは通常実質的に他のポケットと同一である。通常、それらは互いに一列に等しい間隔をあけて並んでいる。図示した実施形態において、各ポケットには、4つの側壁114が含まれており、それぞれ隣接する側壁に対してほぼ直角である。側壁114は隣接しており、ストリップ部分の上面から下方に延在しており、下部壁116に隣接していてポケット112を形成している。下部壁116は、ほぼ平面でストリップ部分102の面に平行である。任意で、しかし望ましくは、下部壁116には、ポケット112に保管された部品118(電子部品のような)を除去するのを促すために、メカニカルプッシュアップ(例えば、ポークアップニードル)を収容する大きさのアパーチャまたはスルーホール117が含まれていてもよい。アパーチャ117はまた、あるポケットの中の部品の有無を検出するために光学スキャナにより用いられることもある。さらに、アパーチャ117は、ポケットに部品をより効果的に充填するために、ポケットを真空にするのにも有用である。
ポケット112は、受け止めようとする部品のサイズおよび形に合うように設計することができる。特に図示はしないが、ポケットの有する側壁は、好ましい実施形態において示された4つより多くても少なくてもかまわない。一般に、各ポケットには、隣接し、ポケットを形成するためにストリップ部分102から下方へ延在する少なくとも1つの側壁と、側壁と隣接している下部壁が含まれる。このように、ポケットの外形は、円形、楕円形、三角形、多角形またはその他の形状であってもよい。各側壁はまた、部品の挿入を促進し、キャリアテープ作製中にポケットを鋳型から取り外したりダイを形成するのを支援するために、わずかに抜き勾配(すなわち、ポケット中央から2°から12°の傾斜)を設けて形成してもよい。ポケットの深さもまた、ポケットが受け止めようとする部品によって変えることができる。さらに、特別の部品を良好に収容または支持するために、ポケットの内部に、突部、リブ、台座、バー、レール、付属物およびその他同様の構造機構を形成してもよい。図には一列のポケットを示したが、多数の部品を同時に送出するのを促すために、2列以上の配列されたポケットをストリップ部分の長片に沿って形成してもよい。一列の複数のポケットが、隣接した列の複数のポケットと横の列が配列された状態で、互いに平行に配列されるものとする。
ストリップ部分102は、保存用リールのハブで巻き取られるのに十分なゲージおよび可撓性を有する任意のポリマー材料で形成してもよい。好ましくは、ストリップ部分102は、光学的に透明である。これは、ポケットの中に保管された部品が、矩形カバー120(以下に詳しく説明する)を除去することなく目視で検査できるのに十分なほど透明であるということを意味している。ポリエステル(例えば、グリコール−変性ポリエチレンテレフタレート)、ポリカーボネート、ポリプロピレン、ポリスチレンおよびアクリロニトリル−ブタジエン−スチレンを含む様々なポリマー材料を用いることができるが、これに限られるものではない。しかしながら、その優れた透明性、低ヘーズ、良好な熱抵抗性および良好な機械特性から、ポリカーボネートの使用が特に好ましい。
利点として、ストリップ部分102には、静電消失材料119の層またはコーティングが含まれる。静電消失コーティングは、キャリアテープ全体から電荷を消失させて、好ましくは接地させることができる。この特徴が、蓄積された静電電荷により、キャリアテープ内に含まれるコーティングが損傷されるのを防ぐのを助ける。静電消失コーティング119を、ポケット側壁114およびポケット下部壁の内部表面、すなわち、ポケット112により搬送される部品に面する面に付ける。静電消失コーティング119はまた、ストリップ部分102の縦の端表面104および106に付けてもよい(付けるのが好ましい)。静電消失コーティング119はまた、ストリップ部分102の下面(すなわち、ポケット側壁および下部壁の外表面)に付けてもよい。コーティングはまた、触ったときに乾燥(すなわち非粘着性)していなければならない。
静電消失コーティング119は、静電消失材料により提供される。本発明に有用なこれらの材料は、ポリマー界面活性剤であるといえる。特に好ましい例としては、アルキルアクリレート(例えば、ブチルアクリレート)、アルキルメタクリレート(例えば、メチルメタクリレート)およびトリアルキルアンモニウムハライドアルキルメタクリレート(例えば、2−(塩化トリメチルアンモニウム)エチルメタクリレート)のポリマー(すなわち、ターポリマー)が挙げられる。非常に有用な市販の材料は、ガラス転移温度が200℃で、23℃そして65%の相対湿度の表面抵抗率が約109オーム/平方であるNippon Nyukazi Co., Ltd.(日本)製のRS−811である。
静電消失材料は、キャリアに塗布しやすい溶液の形態で提供されるのが一般的である。溶液を形成するための溶媒は、静電消失材料が溶解する、または乳化できるものでなければならない。溶媒はまた、ストリップ部分を濡らすものでなければならない。水/メタノール溶媒系を用いてもよいが、水/エタノール溶媒系が特に好ましく、有用な例としては約80〜95%のエタノール、これに対応して約20〜5%の水を含有したものである。静電消失効果となるように、好ましくは約1.0〜3.0wt%の静電消失材料、より好ましくは約1.2〜2.0wt%の静電消失材料を溶媒に加える。乾燥すると、静電消失材料層は、好ましくは約0.1〜1.0μmの厚さ、より好ましくは約0.2〜0.4μmの厚さである。
単体キャリアテープ100にはまた、矩形カバー120(カバーテープと呼ばれることもある)が含まれる。カバー120は、コーティングを保持するためにキャリアテープのポケットを覆うように取り付けられる。カバー120はまた、ポケットに侵入する埃およびその他汚染物質から部品を保護することができる。図1および2によく示されているように、カバー120は可撓性があり、ポケット112の全ての部分を覆い、ストリップ部分102の長さに沿って前進穴108および110の横の列の間に配置されている。カバー120は、ストリップ部分102の上面に取り外し可能に固定されており、後に除去して、保管された部品に到達できるようにする。図示したように、カバー120には、それぞれ、ストリップ部分102の縦の端表面104および106に接合された平行な縦の接合部分122および124が含まれている。例えば、アクリレート材料のような感圧接着剤、またはエチレン−酢酸ビニルコポリマーまたはスチレン−ブタジエンブロックコポリマーのような熱活性接着剤を用いてカバーを端表面104および106に接着する。接着剤の厚さは、通常、約30μmである。ストリップ部分を良好にシールするためには、熱活性接着剤を用いるのが特に好ましい。カバーは、接着層をカバーに接着するのを促進するために下塗りしてもよい。カバー120は、ストリップ部分に目視で確認できる接着剤またはその他の種類の残渣を残すことなくストリップ部分102から除去されるのが好ましい。このような残渣は、埃またはその他汚染物質を引き寄せ、キャリアをリサイクルして再使用するのを難しくする。
完全に静電消失したキャリアテープを提供するために、カバー120は、静電消失するよう変性しなければならない。カバー120は、ポリマー材料中に点在するか、または後にカバーにコーティングされるカーボンブラック、五酸化バナジウムまたは界面活性剤のような静電消失材料を含んでいてもよい。静電消失材料はまた、接着に悪影響を及ぼさない限りは、カバー120をストリップ部分102に接合する接着剤に組み込んでもよい。ストリップ部分102で述べた通り、カバーは光学的に透明であるのが望ましい。カバー120は、ストリップ部分102を提供するのに用いられるようなものを含む様々なポリマー材料で形成してよい。ポリエステル類(特に、ポリエステル類ベースのポリエチレンテレフタレート)が特に好ましい。有用な、市販されている静電消失カバーテープとしては、DENKA ALS-AS(Denki Kagaku Kogyo Co. Ltd.,日本)が例示される。カバーの厚さ(接着剤は含まない)は通常約25μmである。
一般に、本発明のキャリアテープは、ポリマー材料のシートにポケットを形成し、キャリアテープをリール上に巻き付けてロールを形成することにより作製される。特に、図3の概略図を例として参照すると、フレキシブル熱可塑性ポリマーのフィルム状材料(web)200を事前形成ロール、事前形成されたシートとして、直接押出し、または連続注入成形により、フィルム状材料を熱成形する鋳型またはダイ204(適合する一対の雄雌ダイ)へ供給する。鋳型204は、ポケットを所望のサイズおよび形状に熱成形する(冷却の際、後に収縮可能)。入ってくるポリマーフィルム状材料の寸法は、形成されるキャリアテープのゲージおよび幅により決められる。
「熱成形」とは、熱と圧力の両方を用いて熱可塑性材料を変形するプロセスのことを言う。熱は鋳型そのもの、予熱器202または押出し機(特に図示せず)により与えてもよい。いずれにしても、ポリマーフィルム状材料200は熱成形できるくらいに十分加熱する。ポリマーフィルム状材料を加熱しなければならない温度は、熱成形される材料のゲージおよびタイプ、そして製造ラインの速度によって広い範囲にわたって異なる(すなわち、約200〜550°F)。印加された圧力は、鋳型またはダイパターンの高品質な複製となるくらい十分なものとし、例えば、鋳型を閉じるときに鋳型がフィルム状材料200上にかける力、またはフィルム状材料を雄ダイの上で変形させて、フィルム状材料を雌ダイへ引き抜くのを促す真空塗布(すなわち、真空熱成形)することにより提供してもよい。フィルム状材料200は、熱成形の後、通常、空冷、ファン、水浴または冷却オーブンにより熱可塑性ポリマーが固化するまで冷却される。
一般に、熱形成は、当業者に良く知られたプロセスであり、異なる熱成形プロセスおよびロール供給、シート供給、インライン押出しおよび連続フィルム状材料システムの使用について論じているEncyclopedia of Polymer Science and Engineering(Jone Wiley & Sons, 1989年、第16巻、第2版)のような様々な参照文献に記載されている。適合する鋳型成形、プラグ−アシスト成形、基本真空成形および圧力成形のような様々な熱成形技法に用いることのできる、技術文献に記載されているフラットフォーミングおよびロータリデバイスのような異なる熱成形ツールをすべて用いて本発明のキャリアテープを製造することができる。
前進穴は、パンチ205による穿孔のような別の操作で後に形成される。
キャリアが準備できたら、静電消失コーティングを、浸漬、ブラッシングまたはスプレー(例えば、空気スプレーまたは超音波スプレー)(図3にステーション206として概略図が示されている)を含む様々な技法により塗布する。静電消失コーティングを塗布したら、フィルム状材料上にドライコーティングを形成するために、コーティングしたフィルム状材料200は、溶媒またはキャリア液体が蒸発するのに十分な温度および時間、乾燥させなければならない。これは、コーティングしたフィルム状材料を乾燥オーブン207を通過させることで容易に行うことができる。
キャリアテープをリール208の芯の周りに巻き付けて(同心または水平巻き付けのいずれか)、キャリアテープに部品が充填されるまで保管するための供給ロールを形成する。この代わりに、図4に示すように、キャリアテープ100を形成した直後に、部品装填機210がポケット112に部品118を充填し、カバー120をロール212から送出し、アプリケーター214によりキャリアテープストリップ部分の縦の端表面へ固定して、充填したキャリアテープを芯またはリール216の周りに保管または送出のために巻き付ける。熱活性接合を提供するカバーの場合、アプリケーターを加熱する。好ましくは、接合は、室温(約25℃)と約220℃の間、より好ましくは室温と約200℃の間、最も好ましくは室温と約180℃の間の温度で形成する。キャリアテープ100を鎖歯車209および211により進める。
使用に際しては、ロボット式配置マシン218と共にキャリアテープ100が図示された図5の概略図に示すように、キャリアテープを外す。サプライリール216はキャリアテープ100を供給する。剥離機アセンブリ220は、剥離機アセンブリが指定した経路をはずれてキャリアテープを引っ張るのを防ぐ支援をする剥離機ブロック222の周りのキャリアテープ100からカバー120を剥離する。キャリアテープ100を鎖歯車224により進めて、キャリアテープをロボット式配置マシン218へ移動する。各部品が順次所望のピックアップポイントに到達したら、ロボット式配置マシンが、部品を掴み(手または吸い込むかのいずれかにより)、例えば、適切な位置の回路基板上に配置する。
本発明のキャリアテープは、メモリチップ、集積回路チップ、抵抗器、コネクタ、デュアル・インラインプロセッサ、コンデンサ、ゲートアレイ等のような表面実装電子部品を搬送および送出するために、電子業界において特に有用である。しかしながら、キャリアテープは、小さなスプリング、クリップ等の他の部品を搬送するのに用いてもよい。
本発明は、以下の実施例を参照するとより完全に理解されよう。ただし、これに限られるものではない。
全般的な前処理
静電消失材料の水/アルコール溶液を、部品ポケットを有するストリップ部分に塗布し、溶媒を除去することによって静電消失ストリップ部分を作成した。より詳しく述べると、水:エタノール(1:10w/w)溶媒混合物中に1.5固体重量%のRS−811ターポリマー(Nippon Nyukazai Company, Ltd.,日本)を含む溶液を、幅8ミリメートル(mm)および厚さ0.25mmのポリカーボネートフィルム状材料(3Mブランド#2703、3M Company, St. Paul, ミネソタ州)にスプレーコーティングして、65℃で2分間乾燥させて静電消失ストリップ部分を作成した。(水/エタノール混合物を作成するのに用いた水は、最初にイオン交換により精製した。)乾燥したコーティングの厚さは約0.3μm(ミクロン)と計算された。
熱および圧力を用いてカバーテープでストリップ部分をシールして、キャリアテープを形成した。より詳しく述べると、静電消失の、接着剤をコーティングしたカバーテープ、DENKA ALS-AS(Denki Kagaku Kogyo Co., Ltd.,日本)を、圧力10psi、2.5走向、走行毎の休止時間0.4秒および温度180℃の往復モード(走行毎のキャリアテープのインデクシングは32mm)で作動させたMT-30テーパー(Systemation Engineered Products, Inc., New Berlin,ウィスコンシン州)を用いてストリップ部分に接着した。
試験方法
表面抵抗率
「全般的な前処理」で記載した通りに作成されたストリップ部分の静電消失特性を、表面抵抗率を測定することによって評価した。より詳しく述べると、表面抵抗率は、20mm離れた位置にある2つのピン(直径=2mm)を有する2ピンプロープ(40x30x42mm)(Hiresta series probe、タイプHA、モデル#MCP-HTP1、Mitsubishi Chemical Corp.,(日本))を用いた以外は、日本工業規格試験方法JIS-K-6911により測定した。印加した圧力は500ボルトであった。ストリップ部分は長さ500ミリメートルで、10回の測定ができた。試料を2〜4時間23℃で相対湿度(RH)65%の状態にして、23℃、65%RHで試験した。1E10オーム/平方未満の表面抵抗率であるのが望ましく、3E9オーム/平方未満の値であるのが好ましい。
透明度およびヘーズ
「全般的な前処理」で記載した通りに作成されたストリップ部分の透明度およびヘーズを評価して、後に付けたカバーテープを除去しない目視検査手順に対する適合性を判定した。より詳しく述べると、透明度およびヘーズは、日本工業規格試験方法JIS-K-7105(1981年3月1日発行)を用いて測定した。85%を超える値の透明度が望ましく、90%を超える値であるのが好ましい。5%未満のヘーズ値が望ましく、1%未満の値であるのが好ましい。
静電蓄積
キャリアテープの静電荷蓄積に対する感受性を評価した。より詳しく述べると、ストリップ部分に100個のセラミックコンデンサチップ(0.16mmx0.08mm)をポケット当たり1個のチップずつ充填し、「全般的な前処理」で記載した通りDENKA ALS-ASカバーテープでシールした。充填およびシールされたキャリアテープを振とう機に入れて、23℃、65%RHで200/分の周波数で70時間振とう(振動距離=40mm一方向)した。70時間後、キャリアテープを振とう機から取り出し、逆さまにして、カバーテープをゆっくり注意して手で剥がした。静電荷の蓄積によりストリップ部分のポケットに残ったチップの数を数えた。残ったチップの数は、1000個当たり1個未満(0.1%未満)でなければならない。
剥離接着力
カバーテープをストリップ部分から剥がすのに必要な力を、日本工業規格試験方法JIS-C-0806(1990年1月1日発行)を用いて測定した。カバーをストリップ部分から300ミリメートル/分の連続剥離速度で180°の角度で剥がした。5つの試料を試験し、その結果を用いて、平均剥離接着力を計算した。一般に、10〜70グラム重の剥離接着力が望ましく、20〜60グラム重であるのが好ましい。カバーテープは均等に除去しなければならない。音を立てて剥がす(接着の強い、または弱い領域)のは望ましくない。カバーテープはまた、ストリップ部分に目視で見える接着剤残渣を残すことなく除去しなければならない。
エージング
いくつかの試料の表面抵抗率、剥離接着力および静電蓄積の特性をまた、様々なエージングプロトコルの後に測定した。エージングプロトコルには、次の条件の1つまたはそれ以上が含まれていた。A)23℃でのエージング、B)40℃でのエージング、C)60℃でのエージング、D)40℃/80%RHでのエージングおよびE)50℃/95%RHでのエージング。表面抵抗率の測定には、電子部品およびカバーテープのないストリップ部分をエージングさせて上述の通りに試験した。剥離接着力の測定には、カバーテープでシールしたストリップ部分をエージングさせて上述の通りに試験した。静電蓄積測定には、電子部品およびカバーテープのないストリップ部分をエージングさせて電子チップを充填した。その後カバーテープをストリップ部分にシールした。充填され、シールされたキャリアテープを上述の通りに試験した。
表面抵抗率について好ましい(およびより好ましい)値は、次の通りである。コンディションAで1000時間か、コンディションCで100時間の場合:1E11オーム/平方未満(3E10オーム/平方未満)、コンディションDで200時間の場合:3E11オーム/平方未満(1E11オーム/平方未満)。
剥離接着力について好ましい(およびより好ましい)値は、次の通りである。コンディションAで1000時間の場合:10〜70グラム重(20〜60グラム重)、コンディションCで1000時間の場合:10〜80グラム重(20〜70グラム重)およびコンディションDで200時間の場合:10〜70グラム重(20〜60グラム重)。
実施例1
「全般的な前処理」で上述した通りに静電消失ストリップ部分を作成した。初期および様々なエージングプロトコル後の表面抵抗率、および初期の透明度とヘーズについて、上述した通りにストリップ部分を試験した。結果を表1に示す。
比較例1
比較例(C.E.)1において、静電消失コーティングを用いなかった以外は実施例1のストリップ部分を作成した。ストリップ部分を上述の実施例1と同様に試験した。結果を表1に示す。
比較例2
比較例2を作成するために、比較例1のストリップ部分を、5固体重量%までメチルエチルケトンで希釈した酸化錫(ELCOM P-3537、メチルエチルケトン中の25固体重量%、Shokubaikasei Kogyo Company, Ltd.,日本)の分散液でスプレーコーティングし、65℃で2分間乾燥させて、約0.2μmの計算厚さとした。初期および様々なエージングプロトコル後の表面抵抗率、および初期の透明度とヘーズについてストリップ部分を試験した。結果を表1に示す。
比較例3
比較例1のストリップ部分を、4固体重量%まで1:1水:エタノール混合物で希釈したアルキルスルホン酸ナトリウム(ATRAIT AS-140、水中の40固体重量%、Nikko Petrochemicals Company, Ltd.,日本)でスプレーコーティングし、65℃で2分間乾燥させ、約0.7μmの計算厚さとして、比較例3を作成した。初期および様々なエージングプロトコル後の表面抵抗率、および初期の透明度とヘーズについてストリップ部分を試験した。結果を表1に示す。
表1は、本発明により作成した静電消失ストリップ部分が、静電消失コーティングを含まないストリップ部分に比べたとき(実施例1対比較例1)、透明度が大幅に失われたり、ヘーズが大幅に増大していないことを示している。しかしながら、実施例1のストリップ部分を、比較例1のストリップ部分と比べると、表面抵抗率が大きく減少しているのが分かる。本発明により作成されたストリップ部分の表面抵抗率、透明度およびヘーズ特性は、従来の静電消失処理を組み込んだストリップ部分と比べて、それに匹敵する、またはより良いものとなる。
実施例2
本発明による静電消失キャリアテープを、実施例1の静電消失ストリップ部分および「全般的な前処理」で記載したDENKA ALS-ASカバーテープを用いて作成した。実施例2の静電蓄積について上述の通りに試験した。結果を表2に示す。
比較例4
比較例1のストリップ部分およびカバーテープのシーリング温度を220℃とした以外は、実施例2に記載した通りに比較例4を作成し、試験した。結果を表2に示す。
比較例5
比較例2のストリップ部分およびカバーテープのシーリング温度を220℃とした以外は、実施例2に記載した通りに比較例5を作成し、試験した。結果を表2に示す。
比較例6
比較例3のストリップ部分およびカバーテープのシーリング温度を220℃とした以外は、実施例2に記載した通りに比較例6を作成し、試験した。結果を表2に示す。
実施例2のキャリアテープの静電蓄積に対する抵抗性は、静電消失コーティングのない比較例4に比べて大いに改善されているのが分かった。実施例2の静電蓄積に対する抵抗性は、従来の静電消失処理を組み込んだキャリアテープに匹敵するものであった。
実施例3
カバーテープのシーリング温度を190℃とした以外は実施例2に記載した通りに本発明の静電消失キャリアテープを作成した。初期および様々なエージングプロトコル後の剥離接着力について、実施例3を上述の通りに試験した。結果を表3に示す。
実施例4
DENKA ALS-ASカバーテープではなく、3Mブランドの導電性感圧カバーテープ#2666を23℃および10psiの圧力で用いた以外は、実施例2に記載した通りに本発明の静電消失キャリアテープを作成した。初期および様々なエージングプロトコル後の剥離接着力について、実施例4を上述の通りに試験した。結果を表3に示す。
表3には比較例4〜6も併記してある。
本発明の静電消失キャリアテープは、静電消失コーティングのないキャリアテープに比べて剥離接着特性を維持している(実施例3および4対比較例4)。このように、静電消失コーティングは、たとえ様々な活性環境条件においても、剥離接着力に悪影響を及ぼさない。さらに、このような長所となる挙動は、高温のシーリング温度で塗布したものと、室温で塗布したものを含む異なるカバーテープで観察されている。加えて、本発明の静電消失キャリアテープは、その他の従来の静電消失コーティングを用いて得られた接着力に比べてカバーテープのストリップ部分への接着力が大幅に改善されている(実施例3および4対比較例5および6)。
実施例5
異なるシーリング温度を用いた以外は、実施例2に記載した通りに、本発明の一連の静電消失キャリアテープを作成した。実施例5の剥離接着力を上述した手順を用いて23℃で試験した。結果を表4に示す。
比較例7
異なるシーリング温度を用いた以外は、比較例4に記載した通りに、一連のキャリアテープを作成した。比較例4の剥離接着力を上述した手順を用いて23℃で試験した。結果を表4に示す。
180℃という低い温度で、許容される剥離接着力が本発明においては得られた。しかしながら、比較例7については、シーリング温度が20%(40℃)を超えて増大して220℃となるまで同様の剥離接着力の許容される接合は得られなかった。180℃では、比較例7は、ポリカーボネートキャリアにも接合しなかった。対応の比較例は220℃で接合したが、ヒートシール可能なカバーテープを用いる本発明の実施例は、約180〜190℃の温度で、静電消失ポリカーボネートキャリアに良好に接合することができた。
本発明は、カバーテープとキャリアの間の接合を促進すると同時に、意外にもキャリアの静電を消失させるものであった。このように、本発明は、驚いたことに、低いシーリング温度を用いてカバーテープを静電消失ポリカーボネートキャリアに接合させることを可能にするものである。低いシーリング温度は、カバーテープまたはキャリアの変形の恐れを減じ、製造コストを下げ、安全であるために有利である。さらに、キャリアの幅が増えるに従い、カバーがシールされる温度は通常増大する。しかしながら、高いシーリング温度が既に狭い幅のキャリアに必要とされている場合は、より広い幅を作製するのは難しいこともある。
本発明を、いくつかの実施例により説明してきた。本発明の範囲から逸脱することなく、当業者であれば、記載した実施例を様々に変更することができることは明白であろう。従って、本発明の範囲は、ここに記載した構造に限定されず、請求項の文言およびこれら構造の均等物によよってのみ限定されるものとする。
Claims (5)
- (a)上面と、前記上面の逆側の下面と、ストリップ部分に沿って間隔をあけて配列され、前記上面へ開口している、電子部品を搬送するための複数のポケットと、アルキルアクリレート、アルキルメタクリレートおよびトリアルキルアンモニウムハライドアルキルメタクリレートの反応生成物を含有する、前記ストリップ部分上の静電消失効果のある静電消失材料とを含む静電消失ストリップ部分と、
(b)前記ストリップ部分に沿って延在し、前記複数のポケットをカバーする、前記ストリップ部分の前記上面に剥離可能に接着接合されたカバーとを含む、電子部品を保管し、前進メカニズムによって送出するためのフレキシブルキャリアテープ。 - 前記ストリップ部分がポリカーボネートから形成されている請求項1記載のフレキシブルキャリアテープ。
- 前記カバーがポリエステルから形成されている請求項1記載のフレキシブルキャリアテープ。
- 前記静電消失材料は、ブチルアクリレート、メチルメタクリレートおよび2−(塩化トリメチルアンモニウム)エチルメタクリレートの反応生成物を含む請求項1記載のフレキシブルキャリアテープ。
- 電子部品を搬送するための複数のポケットを有するポリカーボネートストリップ部分と、前記ストリップ部分の上面に熱接合接着剤によって剥離可能に取り付けられ、前記複数のポケットをカバーするカバーを含む、電子部品を保管し、前進メカニズムによって送出するためのフレキシブルキャリアテープにおいて、
(a)熱接合可能な接着剤を有するカバーを提供する工程と、
(b)前記部品を搬送するための複数のポケットを有するポリカーボネートストリップ部分と、前記カバーが前記ストリップ部分に熱接合可能となる温度を低減させるためのアルキルアクリレート、アルキルメタクリレートおよびトリアルキルアンモニウムハライドアルキルメタクリレートの反応生成物を含む材料の層とを提供する工程と、
(c)前記カバーを前記熱接合可能な接着剤で前記ストリップ部分へ熱接合する工程とを含む、
低減された温度で前記カバーを前記ストリップ部分へ接合する方法。
Applications Claiming Priority (3)
| Application Number | Priority Date | Filing Date | Title |
|---|---|---|---|
| US08/528,684 | 1995-09-15 | ||
| US08/528,684 US5846621A (en) | 1995-09-15 | 1995-09-15 | Component carrier tape having static dissipative properties |
| PCT/US1996/013104 WO1997010693A1 (en) | 1995-09-15 | 1996-08-12 | Component carrier tape having static dissipative properties |
Publications (2)
| Publication Number | Publication Date |
|---|---|
| JPH11511418A JPH11511418A (ja) | 1999-10-05 |
| JP3813633B2 true JP3813633B2 (ja) | 2006-08-23 |
Family
ID=24106710
Family Applications (1)
| Application Number | Title | Priority Date | Filing Date |
|---|---|---|---|
| JP51194797A Expired - Lifetime JP3813633B2 (ja) | 1995-09-15 | 1996-08-12 | 静電消失特性を有する部品キャリアテープ |
Country Status (9)
| Country | Link |
|---|---|
| US (1) | US5846621A (ja) |
| EP (1) | EP0850552B1 (ja) |
| JP (1) | JP3813633B2 (ja) |
| KR (1) | KR100433641B1 (ja) |
| CN (1) | CN1099225C (ja) |
| DE (1) | DE69602452T2 (ja) |
| IL (1) | IL123331A (ja) |
| TW (1) | TW343955B (ja) |
| WO (1) | WO1997010693A1 (ja) |
Families Citing this family (41)
| Publication number | Priority date | Publication date | Assignee | Title |
|---|---|---|---|---|
| WO1998012908A1 (en) * | 1996-09-17 | 1998-03-26 | Matsushita Electric Industrial Co., Ltd. | Method and apparatus for packaging ic chip, and tape-shaped carrier to be used therefor |
| EP0898445A3 (en) * | 1997-08-21 | 2000-05-03 | Rexham Industries Corp. | Transparent static dissipative heat sealable cover tape |
| US6027802A (en) * | 1997-10-23 | 2000-02-22 | Four Piliars Enterprise Co., Ltd. | Cover tape for packaging |
| JP4190611B2 (ja) * | 1998-03-13 | 2008-12-03 | パナソニック株式会社 | 部品装着方法、及び部品装着装置 |
| US6606485B1 (en) * | 1999-10-06 | 2003-08-12 | Qualcomm, Incorporated | Candidate system search and soft handoff between frequencies in a multi-carrier mobile communication system |
| AU2001241650A1 (en) * | 2000-02-25 | 2001-09-03 | Robotic Vision Systems, Inc. | Taper machine using inertial control of parts |
| JP2001297549A (ja) * | 2000-04-10 | 2001-10-26 | Nitto Denko Corp | 制振材連続供給体 |
| US6604876B2 (en) * | 2000-09-29 | 2003-08-12 | Zih Corp. | System for dissipating electrostatic charge in a printer |
| US20030205030A1 (en) * | 2001-02-22 | 2003-11-06 | Martin Weiss | Taper machine using inertial control of parts |
| US6820401B2 (en) * | 2001-10-31 | 2004-11-23 | International Product Technology, Inc. | Method and apparatus for tensioning cover tape |
| US20030079444A1 (en) * | 2001-10-31 | 2003-05-01 | Robotic Vision Systems, Inc. | Method and apparatus for flattening cover tape |
| SG115510A1 (en) * | 2001-12-20 | 2005-10-28 | Nitto Denko Corp | Cover tape for the electronic part conveyance, process for its production and electronic part conveying member |
| US20030198785A1 (en) * | 2002-04-23 | 2003-10-23 | Young Ha Ahn | Cover tape to be overlaid on a carrier tape for carrying parts therewith |
| JP2003341782A (ja) * | 2002-05-27 | 2003-12-03 | Oki Electric Ind Co Ltd | 電子デバイス収容体、電子デバイスの搬送方法、電子デバイスの実装方法、電子デバイスの収容方法 |
| JP4317351B2 (ja) * | 2002-08-23 | 2009-08-19 | 富士機械製造株式会社 | 回路基板管理方法および電子回路生産システム |
| WO2004034764A1 (en) * | 2002-10-04 | 2004-04-22 | Electro Scientific Industries, Inc. | Method of forming dimensionally precise slots in resilient mask of miniature component carrier |
| US20070096345A1 (en) * | 2005-11-03 | 2007-05-03 | Vishay Vitramon Inc. | Frame packaged array electronic component |
| US20070154717A1 (en) * | 2005-12-30 | 2007-07-05 | Saint-Gobain Performance Plastics Corporation | Thermally stable composite material |
| US20070154716A1 (en) * | 2005-12-30 | 2007-07-05 | Saint-Gobain Performance Plastics Corporation | Composite material |
| US20070152195A1 (en) * | 2005-12-30 | 2007-07-05 | Saint-Gobain Performance Plastics Corporation | Electrostatic dissipative composite material |
| US20070155949A1 (en) * | 2005-12-30 | 2007-07-05 | Saint-Gobain Performance Plastics Corporation | Thermally stable composite material |
| US7476339B2 (en) * | 2006-08-18 | 2009-01-13 | Saint-Gobain Ceramics & Plastics, Inc. | Highly filled thermoplastic composites |
| KR100825491B1 (ko) * | 2006-09-04 | 2008-04-25 | (주)코스탯아이앤씨 | 다열 포켓을 갖는 캐리어 테이프 |
| EP2145838A4 (en) | 2007-04-11 | 2010-10-27 | Sumitomo Bakelite Co | PACKING BODY FOR ELECTRONIC COMPONENTS |
| US20080283164A1 (en) * | 2007-05-16 | 2008-11-20 | Mark Noonan | Roll-On Protective Covers for Hand-Held Consumer Electronic Devices |
| JP4460015B2 (ja) * | 2007-11-09 | 2010-05-12 | シャープ株式会社 | 半導体装置の梱包構造、および半導体装置の梱包方法 |
| WO2010065335A1 (en) * | 2008-12-03 | 2010-06-10 | 3M Innovative Properties Company | Method of making a component carrier tape |
| US8205766B2 (en) * | 2009-05-20 | 2012-06-26 | The Bergquist Company | Method for packaging thermal interface materials |
| US8784586B2 (en) | 2010-08-20 | 2014-07-22 | First Solar, Inc. | Tape applicator |
| JP5689001B2 (ja) * | 2011-03-16 | 2015-03-25 | 富士機械製造株式会社 | テープフィーダ |
| US8981435B2 (en) | 2011-10-01 | 2015-03-17 | Intel Corporation | Source/drain contacts for non-planar transistors |
| WO2013095527A1 (en) * | 2011-12-22 | 2013-06-27 | Intel Corporation | Electrostatic discharge compliant patterned adhesive tape |
| JP6000668B2 (ja) * | 2012-06-07 | 2016-10-05 | 日東電工株式会社 | 半導体素子のマーキング方法、半導体装置の製造方法、及び半導体装置 |
| CN102745406A (zh) * | 2012-08-03 | 2012-10-24 | 厦门市海德龙电子有限公司 | 一种电子元器件载带结构 |
| KR101640106B1 (ko) * | 2012-12-14 | 2016-07-15 | 쓰리엠 이노베이티브 프로퍼티즈 컴파니 | 접착제 조성물 및 정밀 페인트 선 생성용 마스킹 용품 |
| WO2015005330A1 (ja) * | 2013-07-09 | 2015-01-15 | 住友ベークライト株式会社 | 電子部品包装用カバーテープ |
| US9969541B2 (en) | 2016-05-14 | 2018-05-15 | Qualcomm Incorporated | Vented carrier tape |
| JP7036088B2 (ja) * | 2019-06-21 | 2022-03-15 | 株式会社村田製作所 | カバーシートの接着強度測定方法およびキャリアプレート |
| JP7759717B2 (ja) * | 2019-11-12 | 2025-10-24 | 株式会社村田製作所 | ベーステープおよび電子部品連 |
| USD1094325S1 (en) | 2021-08-24 | 2025-09-23 | Vishay Dale Electronics, Llc | Electro-magnetic device |
| WO2023023983A1 (en) * | 2021-08-25 | 2023-03-02 | 3M Innovative Properties Company | Carrier tape and carrier tape assembly |
Family Cites Families (26)
| Publication number | Priority date | Publication date | Assignee | Title |
|---|---|---|---|---|
| US3324091A (en) * | 1964-03-31 | 1967-06-06 | American Cyanamid Co | Antistatic composition |
| US3517045A (en) * | 1968-06-07 | 1970-06-23 | American Cyanamid Co | Hydroxyalkyl quaternary ammonium ethers as antistatic agents |
| JPS49111949A (ja) * | 1973-02-27 | 1974-10-24 | ||
| US4104175A (en) * | 1973-12-10 | 1978-08-01 | Modokemi Aktiebolag | Aqueous solutions of quaternary ammonium compounds |
| US3933779A (en) * | 1974-02-21 | 1976-01-20 | Fine Organics Inc. | Antistatic polymer blend |
| EP0004151B1 (en) * | 1978-03-15 | 1981-05-27 | Imperial Chemical Industries Plc | Antistatic films |
| US4623594A (en) * | 1984-03-12 | 1986-11-18 | Metallized Products, Inc. | Antistatic resin composition |
| CA1287322C (en) * | 1984-03-12 | 1991-08-06 | Metallized Products, Inc. | Coating and irradiating reaction product of prepolymer and antistatic quaternary ammonium salt |
| US4662154A (en) * | 1984-10-12 | 1987-05-05 | Continental Can Company, Inc. | Liquid inert gas dispenser and control |
| WO1987002333A1 (en) * | 1985-10-09 | 1987-04-23 | The Dow Chemical Company | Antistatic sheet material, package, and method of making |
| US4605684A (en) * | 1985-10-31 | 1986-08-12 | Pcolinsky Jr Michael P | Antistatic polyurethane foam |
| EP0232033B1 (en) * | 1986-01-24 | 1993-04-07 | Sumitomo Chemical Company, Limited | Transparent electrically conductive plastic molded articles |
| DE3619094A1 (de) * | 1986-06-10 | 1987-12-17 | Bayer Ag | Kohlenstoff-haltige formkoerper |
| DE3729875A1 (de) * | 1987-09-05 | 1989-03-23 | Bayer Ag | Verfahren zur antistatischen ausruestung von schmelzkleberschichten |
| US5171641A (en) * | 1988-01-14 | 1992-12-15 | W. R. Grace & Co.-Conn. | Permanent antistatic acid copolymer/quaternary amine polymeric films |
| US5217767A (en) * | 1988-10-28 | 1993-06-08 | Minnesota Mining And Manufacturing Company | Static shielding film |
| US5270367A (en) * | 1989-11-29 | 1993-12-14 | Denki Kagaku Kogyo Kabushiki Kaisha | Permanent antistatic resin composition |
| JPH04214339A (ja) * | 1990-12-11 | 1992-08-05 | Dainippon Printing Co Ltd | 電子部品搬送体用のキャリアテープ |
| US5165985A (en) * | 1991-06-28 | 1992-11-24 | Minnesota Mining And Manufacturing Company | Method of making a flexible, transparent film for electrostatic shielding |
| TW203624B (ja) * | 1991-02-28 | 1993-04-11 | Sumitomo Bakelite Co | |
| EP0502483A3 (en) * | 1991-03-05 | 1993-01-20 | Matsushita Electric Industrial Co., Ltd. | Static dissipative resin composition |
| JP3210685B2 (ja) * | 1991-05-22 | 2001-09-17 | 触媒化成工業株式会社 | キャリアテープ、導電性塗料およびキャリアテープの製造方法 |
| JPH0542969A (ja) * | 1991-08-09 | 1993-02-23 | Sun A Chem Ind Co Ltd | 導電性キヤリアテープ |
| JP3259846B2 (ja) * | 1991-10-02 | 2002-02-25 | ヤマハ株式会社 | 楽音信号形成装置 |
| US5427835A (en) * | 1992-06-04 | 1995-06-27 | Minnesota Mining And Manufacturing Company | Sulfopolymer/vanadium oxide antistatic compositions |
| JP3403430B2 (ja) * | 1992-08-28 | 2003-05-06 | 東ソー株式会社 | 高導電性高分子成形体の製造方法 |
-
1995
- 1995-09-15 US US08/528,684 patent/US5846621A/en not_active Expired - Lifetime
-
1996
- 1996-08-12 KR KR10-1998-0701936A patent/KR100433641B1/ko not_active Expired - Lifetime
- 1996-08-12 CN CN96197002A patent/CN1099225C/zh not_active Expired - Lifetime
- 1996-08-12 EP EP96928143A patent/EP0850552B1/en not_active Expired - Lifetime
- 1996-08-12 IL IL12333196A patent/IL123331A/xx not_active IP Right Cessation
- 1996-08-12 JP JP51194797A patent/JP3813633B2/ja not_active Expired - Lifetime
- 1996-08-12 DE DE69602452T patent/DE69602452T2/de not_active Expired - Lifetime
- 1996-08-12 WO PCT/US1996/013104 patent/WO1997010693A1/en not_active Ceased
- 1996-08-19 TW TW085110110A patent/TW343955B/zh active
Also Published As
| Publication number | Publication date |
|---|---|
| EP0850552A1 (en) | 1998-07-01 |
| DE69602452T2 (de) | 2000-01-13 |
| KR100433641B1 (ko) | 2004-06-16 |
| IL123331A (en) | 2000-11-21 |
| IL123331A0 (en) | 1998-09-24 |
| CN1099225C (zh) | 2003-01-15 |
| JPH11511418A (ja) | 1999-10-05 |
| TW343955B (en) | 1998-11-01 |
| WO1997010693A1 (en) | 1997-03-20 |
| MX9801757A (es) | 1998-08-30 |
| KR19990044681A (ko) | 1999-06-25 |
| US5846621A (en) | 1998-12-08 |
| DE69602452D1 (de) | 1999-06-17 |
| EP0850552B1 (en) | 1999-05-12 |
| CN1196871A (zh) | 1998-10-21 |
Similar Documents
| Publication | Publication Date | Title |
|---|---|---|
| JP3813633B2 (ja) | 静電消失特性を有する部品キャリアテープ | |
| US6030692A (en) | Cover tape for formed tape packing system and process for making same | |
| JPH09508606A (ja) | カバーストリップを備えたキャリヤテープ | |
| JP2000500720A (ja) | 接着剤と保護壁を備えたキャリアテープ | |
| JP2000503941A (ja) | 部品キャリヤテープ | |
| TWI389826B (zh) | 覆蓋膠帶及製造方法 | |
| JP4376345B2 (ja) | キャリアテープ用カバーテープ及びテープ状搬送体 | |
| TWI841722B (zh) | 電子零件包裝用覆蓋帶及包裝體 | |
| KR0174328B1 (ko) | 캐리어테이프용 열 접착테이프 | |
| MXPA98001757A (en) | Carrier ribbon of components that have distilling properties of the status | |
| JP7201125B2 (ja) | 電子部品包装用カバーテープおよび包装体 | |
| US6875493B2 (en) | Protective cover tape having a foam layer | |
| JPH0955402A (ja) | 半導体素子用キャリアテープ | |
| JP2006008152A (ja) | カバーテープ | |
| JP2003192022A (ja) | チップ体搬送用カバーテープ | |
| JPH0936182A (ja) | 半導体素子用キャリアテープ | |
| JP3813214B2 (ja) | 電子部品搬送用底材 | |
| JPH0955403A (ja) | 半導体素子用キャリアテープ | |
| JP3912631B2 (ja) | キャリアテープ | |
| JP4657138B2 (ja) | 電子部品包装用導電性材料及び電子部品用包装容器 | |
| JPH0924969A (ja) | キャリアテープおよびその製造方法 | |
| JPH0582884U (ja) | 電気/電子部品等の部品用キャリヤテープ | |
| JP2001003014A (ja) | チップ型電子部品キャリア用ボトムカバーテープ | |
| JPH04214339A (ja) | 電子部品搬送体用のキャリアテープ | |
| JPH069985Y2 (ja) | 電子部品搬送体 |
Legal Events
| Date | Code | Title | Description |
|---|---|---|---|
| A131 | Notification of reasons for refusal |
Free format text: JAPANESE INTERMEDIATE CODE: A131 Effective date: 20060104 |
|
| A521 | Request for written amendment filed |
Free format text: JAPANESE INTERMEDIATE CODE: A523 Effective date: 20060328 |
|
| A72 | Notification of change in name of applicant |
Free format text: JAPANESE INTERMEDIATE CODE: A721 Effective date: 20060328 |
|
| TRDD | Decision of grant or rejection written | ||
| A01 | Written decision to grant a patent or to grant a registration (utility model) |
Free format text: JAPANESE INTERMEDIATE CODE: A01 Effective date: 20060523 |
|
| A61 | First payment of annual fees (during grant procedure) |
Free format text: JAPANESE INTERMEDIATE CODE: A61 Effective date: 20060601 |
|
| R150 | Certificate of patent or registration of utility model |
Free format text: JAPANESE INTERMEDIATE CODE: R150 |
|
| FPAY | Renewal fee payment (event date is renewal date of database) |
Free format text: PAYMENT UNTIL: 20090609 Year of fee payment: 3 |
|
| FPAY | Renewal fee payment (event date is renewal date of database) |
Free format text: PAYMENT UNTIL: 20100609 Year of fee payment: 4 |
|
| FPAY | Renewal fee payment (event date is renewal date of database) |
Free format text: PAYMENT UNTIL: 20110609 Year of fee payment: 5 |
|
| FPAY | Renewal fee payment (event date is renewal date of database) |
Free format text: PAYMENT UNTIL: 20110609 Year of fee payment: 5 |
|
| FPAY | Renewal fee payment (event date is renewal date of database) |
Free format text: PAYMENT UNTIL: 20120609 Year of fee payment: 6 |
|
| FPAY | Renewal fee payment (event date is renewal date of database) |
Free format text: PAYMENT UNTIL: 20120609 Year of fee payment: 6 |
|
| FPAY | Renewal fee payment (event date is renewal date of database) |
Free format text: PAYMENT UNTIL: 20130609 Year of fee payment: 7 |
|
| R250 | Receipt of annual fees |
Free format text: JAPANESE INTERMEDIATE CODE: R250 |
|
| R250 | Receipt of annual fees |
Free format text: JAPANESE INTERMEDIATE CODE: R250 |
|
| R250 | Receipt of annual fees |
Free format text: JAPANESE INTERMEDIATE CODE: R250 |
|
| EXPY | Cancellation because of completion of term |
