JP3758397B2 - 高周波送受信装置および車載レーダシステム - Google Patents

高周波送受信装置および車載レーダシステム Download PDF

Info

Publication number
JP3758397B2
JP3758397B2 JP00494999A JP494999A JP3758397B2 JP 3758397 B2 JP3758397 B2 JP 3758397B2 JP 00494999 A JP00494999 A JP 00494999A JP 494999 A JP494999 A JP 494999A JP 3758397 B2 JP3758397 B2 JP 3758397B2
Authority
JP
Japan
Prior art keywords
transmission
connection terminal
base plate
reception circuit
circuit
Prior art date
Legal status (The legal status is an assumption and is not a legal conclusion. Google has not performed a legal analysis and makes no representation as to the accuracy of the status listed.)
Expired - Fee Related
Application number
JP00494999A
Other languages
English (en)
Other versions
JP2000209026A (ja
Inventor
健治 関根
博司 近藤
照美 仲沢
道夫 谷本
秀昭 佐々木
雄三 谷口
Current Assignee (The listed assignees may be inaccurate. Google has not performed a legal analysis and makes no representation or warranty as to the accuracy of the list.)
Hitachi Ltd
Original Assignee
Hitachi Ltd
Priority date (The priority date is an assumption and is not a legal conclusion. Google has not performed a legal analysis and makes no representation as to the accuracy of the date listed.)
Filing date
Publication date
Application filed by Hitachi Ltd filed Critical Hitachi Ltd
Priority to JP00494999A priority Critical patent/JP3758397B2/ja
Priority to EP99306230A priority patent/EP0978729A3/en
Priority to US09/369,400 priority patent/US6249242B1/en
Publication of JP2000209026A publication Critical patent/JP2000209026A/ja
Application granted granted Critical
Publication of JP3758397B2 publication Critical patent/JP3758397B2/ja
Anticipated expiration legal-status Critical
Expired - Fee Related legal-status Critical Current

Links

Images

Classifications

    • HELECTRICITY
    • H01ELECTRIC ELEMENTS
    • H01LSEMICONDUCTOR DEVICES NOT COVERED BY CLASS H10
    • H01L2224/00Indexing scheme for arrangements for connecting or disconnecting semiconductor or solid-state bodies and methods related thereto as covered by H01L24/00
    • H01L2224/01Means for bonding being attached to, or being formed on, the surface to be connected, e.g. chip-to-package, die-attach, "first-level" interconnects; Manufacturing methods related thereto
    • H01L2224/42Wire connectors; Manufacturing methods related thereto
    • H01L2224/47Structure, shape, material or disposition of the wire connectors after the connecting process
    • H01L2224/48Structure, shape, material or disposition of the wire connectors after the connecting process of an individual wire connector
    • H01L2224/4805Shape
    • H01L2224/4809Loop shape
    • H01L2224/48091Arched
    • HELECTRICITY
    • H01ELECTRIC ELEMENTS
    • H01LSEMICONDUCTOR DEVICES NOT COVERED BY CLASS H10
    • H01L2224/00Indexing scheme for arrangements for connecting or disconnecting semiconductor or solid-state bodies and methods related thereto as covered by H01L24/00
    • H01L2224/01Means for bonding being attached to, or being formed on, the surface to be connected, e.g. chip-to-package, die-attach, "first-level" interconnects; Manufacturing methods related thereto
    • H01L2224/42Wire connectors; Manufacturing methods related thereto
    • H01L2224/47Structure, shape, material or disposition of the wire connectors after the connecting process
    • H01L2224/48Structure, shape, material or disposition of the wire connectors after the connecting process of an individual wire connector
    • H01L2224/481Disposition
    • H01L2224/48151Connecting between a semiconductor or solid-state body and an item not being a semiconductor or solid-state body, e.g. chip-to-substrate, chip-to-passive
    • H01L2224/48221Connecting between a semiconductor or solid-state body and an item not being a semiconductor or solid-state body, e.g. chip-to-substrate, chip-to-passive the body and the item being stacked
    • H01L2224/48225Connecting between a semiconductor or solid-state body and an item not being a semiconductor or solid-state body, e.g. chip-to-substrate, chip-to-passive the body and the item being stacked the item being non-metallic, e.g. insulating substrate with or without metallisation
    • H01L2224/48227Connecting between a semiconductor or solid-state body and an item not being a semiconductor or solid-state body, e.g. chip-to-substrate, chip-to-passive the body and the item being stacked the item being non-metallic, e.g. insulating substrate with or without metallisation connecting the wire to a bond pad of the item

Landscapes

  • Variable-Direction Aerials And Aerial Arrays (AREA)
  • Waveguide Aerials (AREA)
  • Support Of Aerials (AREA)
  • Radar Systems Or Details Thereof (AREA)

Description

【0001】
【発明の属する技術分野】
本発明は、自動車用レーダや無線LAN等に用いられる高周波送受信装置及び車載レーダシステムに関する。
【0002】
【従来の技術】
自動車用レーダや無線LAN等に用いられる高周波送受信装置では搭載性や可搬性の観点から装置の小型、簡素化が重要な要素と成っている。
【0003】
従来の自動車用レーダに用いられる送受信装置の一例として、1997年電子情報通信学会総合大会C−2−121「60GHz帯ミリ波レーダユニット」(従来文献1)がある。この従来技術では、ミリ波(60GHz帯)送受信回路を匡体内に入れた送受信ユニットを単独に作っておき、これに別個に作ったアンテナユニットを接続する。送受信ユニットの裏面及びアンテナユニットにはRF信号の入出力端となる導波管端子を設けられており、両者は導波管により接続される。
【0004】
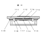
また、特開平8−250913号(従来文献2)には、MMIC(モノリシックマイクロ波集積回路)を密閉収容するパッケージの外面に平面アンテナを形成する例が開示されている。図11にその構造を示す。パッケージの底面111の外側にアンテナ112が、アンテナ112と対向してパッケージの内側にMMIC113が取り付けられている。MMIC113の底面にはアース導体層115の一部分が取り除かれたスロット116が設けられている。スロット116を介して、MMIC113の表面に設けた高周波回路を構成する導体114とアンテナ112とが電磁的に結合する。MMIC113の表面に設けられたボンディングパッド117とパッケージ外からの電源供給用の電源端子119とはボンディングワイヤ118により接続されている。
【0005】
【発明が解決しようとする課題】
従来文献1の例では、それぞれ単独に設計された送受信ユニットとアンテナユニットとを接続することにより高周波送受信装置を構成する。この構造は、送受信ユニットとアンテナユニットの特性を別々に評価出来る利点が有るものの、部品点数が増えると共に構造が複雑となり、装置の小型、簡素化を図るには不適である。特に、ミリ波帯のような超高周波帯で導波管により接続する場合には、機械加工面での複雑さを増し、コスト高となる等の課題があった。
【0006】
従来文献2の例では、高周波回路とアンテナとをスロットにより電磁的に結合させている。このような非接触構造による結合では、高周波信号に対する挿入損失が大きくなる傾向がある。挿入損失を小さくするためには、アンテナと高周波回路との間にある導体板111の厚さを出来るだけ薄くする必要がある。例えば、10GHz信号についての設計例で0.5〜0.7mm程度との報告例があり、ミリ波帯(約60GHz)信号では一層薄くする必要がある。そのため、アンテナと高周波回路を導体板の両面に設ける構成では、機械的強度を維持することが難しく、実現するためには何らかの補強のための機構が必要になると考えられる。さらに、ミリ波のような短波長の信号を電磁的に結合するためにはスロットの寸法精度やアンテナパタン112と高周波回路パタン114との位置関係の精度を極めて高くする必要があり、組立作業が難しくなる。MMICの信頼性を向上させるためにはパッケージ全体を気密構造とする必要があり、このことは組立作業を一層複雑にする。
【0007】
【課題を解決するための手段】
本発明は、ベースプレートと、ベースプレートの第一の面上に設けられたアンテナと、ベースプレートの第一の面と相対する第二の面上に設けられ、アンテナと電気的に接続された送受信回路と、ベースプレートの第二の面上に設けられ、送受信回路に電源電流を供給するもしくは信号を出力する外部端子とを備え、ベースプレートは、第一の面側にアンテナにより覆われた凹部と、凹部と第二の面を貫通する孔とを有しており、送受信回路に電源電流を供給するもしくは信号を出力する接続端子は、孔を通って凹部において外部端子と接続されており、接続端子は孔においてベースプレートと電気的に絶縁された芯線を持つ線路構造とすることを特徴とする。
【0008】
さらに、送受信回路とアンテナを接続する同軸線路を用いることで、電源やIF信号の入出力端子の同軸線路が同じ構造でかつ同じ方向となり、組立時の作業性が向上するとともに部品の共通化が図れ、半導体チップを含む送受信回路部を容易に気密構造とすることができるようになる。
【0009】
【発明の実施の形態】
現在、交通事故や渋滞等の道路交通システムの問題を解決することを目的として、新たな道路交通システムの研究開発が進められている。その一つとして、自動車にレーダを搭載し、前方車との距離を測ったり、道路上の障害物を検知して、運転制御を行う車載レーダシステムが検討されている。その構成を図12に示す。
【0010】
アンテナユニット121は、ミリ波を送信し、送信したミリ波が前方車または障害物から反射して戻ってくる反射波を受信し、送信周波数と反射波の周波数との差を検出する。ミリ波は、従来の赤外線レーザに比較して気象条件に影響されにくく、距離を精度よく検出することができるものである。
【0011】
検出されたミリ波の周波数と反射波の周波数との差から、前方車との相対速度が求められる。また、位相差等から車間距離、自車からみた前方車の位置する方向を検出することができる。信号処理ユニット122は、アンテナユニット121の出力から、このような演算処理を行い、周囲の状況を判断し、自動車に対して必要な制御を行う。例えば、スロットル制御、トランスミッション制御、ブレーキ制御である。一方、自動車を自動制御するばかりでなく、ドライバにも周囲の状況(障害物の存在、前方車の存在、その相対速度等)を知らせ、あるいは場合によっては警報を発する必要がある。信号処理ユニット122は、ドライバディスプレイ123に対して、これらの情報を送る。ドライバディスプレイ123は、信号処理ユニット122から送信された信号に応じて、表示処理、警報を報知する。
【0012】
なお、図12においては信号処理ユニットとアンテナユニットとを別々に設けているが、アンテナユニットを小型化することによって、一つのユニットとすることができる。このように信号処理ユニットとアンテナユニットを一体化すると、自動車への実装が簡易化できる。
【0013】
このように、アンテナユニットは自動車の前面(側面)に取り付けられるため、小型・軽量化することが必要である。その一方で、自動車の走行時の振動等の影響を受けることから、高い機械的強度を維持する必要がある。
【0014】
図1は本発明の実施の形態であるアンテナユニットに使用される高周波送受信装置の断面図である。金属性のベースプレート1の上面にアンテナを構成する誘電体から成るアンテナ基板2を、下面に送受信回路を構成する誘電体から成る回路基板3と半導体チップ(MMIC)4を接着する。回路基板3の表面に設けられた回路パタン導体10とアンテナ基板2の表面に設けられたアンテナパタン導体7とは誘電体6−1と金属性の芯線6−2からなるRF用同軸線路により接続されている。MMICはパッケージされていないため、送受信回路は金属で作られた送受信回路カバー5により気密封止されている。回路パタン導体10及び半導体チップ4とはボンディングワイヤにより接続されている。なお、半導体チップ4は回路基板3上に直接接続される、いわゆるフリップチップ実装された構造でもよい。また、ベースプレート1と送受信回路カバー5は、プラスチック等の非金属で形成し、その表面を金属のメッキや蒸着等により覆ったものでも良い。
【0015】
ベースプレート1は送受信回路が設けられている周縁部1−1と中央部1−2とを分割可能な構造となっている。中央部1−2には少なくとも送受信回路カバー5により気密封止される部分が含まれるように分割する。このようにベースプレート1を分割構造とすることにより、送受信回路の面積がアンテナの面積に比べ十分小さな場合に、全体の組立時の作業性を良くすることができる。
【0016】
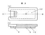
ベースプレートの中央部1−2に、電源供給用端子やIF信号用端子として端子用芯線8−1と端子用誘電体8−2から成る同軸構造の接続端子(同軸状端子)がアンテナ面と略垂直になるように設けられる。ベースプレートの中央部1−2は、図3に示すようにアンテナ基板が接着される側の一部がくり貫かれている。このように形成されたベースプレートの凹部において端子用芯線8−1は外部端子を形成するリード線9と接続され、リード線9により外部の電源回路や信号処理回路に接続される。なお、送受信回路とアンテナとを接続する同軸線路は、高周波送受信装置が送信用アンテナと受信用アンテナの2つを備えている場合にはそれぞれについて送受信回路と接続するために2つの同軸状端子が必要となる。また、電源供給用端子やIF信号用端子も図に示した筐体の片側のみならず、筐体の両側に設けてもよく、端子の数も特に限定されない。
【0017】
図2は高周波送受信装置の裏面から見た図である。点線は表面に接着されたアンテナ基板2を示す。
【0018】
図3に本発明のベースプレートの中央部1−2の構造を示す。図3(a)が、中央部1−2の上面図、図3(b)が、中央部1−2の図3(a)におけるA−Bとして示した位置での断面図である。6は送受信回路とアンテナとを接続する同軸線路用の孔であり、8は電源供給用もしくはIF信号用の同軸状端子の孔である。上述したように、アンテナ基板が接着される側の一部がくり貫かれ、同軸状端子からの信号線が通される。
【0019】
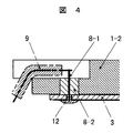
図4は同軸状端子の部分を拡大した断面図である。ベースプレート中央部1―2の下面に送受信回路を構成する誘電体基板3が貼り付けられる。誘電体基板3に孔を空け、同軸状端子の芯線8−1の一端をその孔に差し込み、半田12で送受信回路パタン導体に接続する。芯線8−1の他端は、絶縁物で被覆されたリード線(外部端子)9に接続されている。リード線9は外部の信号処理回路に接続されている。このリード線は端子の数が多い場合には市販されているフラットケーブル等が活用できる。同軸状端子の芯線8−1を支える誘電体8−2は電気的に絶縁されておればよい。誘電体8−2としてセラミックやガラスを使用することで、送受信回路を気密性を高め、送受信回路の信頼性を向上させることができる。
【0020】
芯線8−1と送受信回路パタン導体との接続において、誘電体基板3の孔の側面をメッキ等の導体層で覆う。これにより、金属導体とハンダとは接続性がよいため、誘電体基板と中心導体の間にハンダを隙間無く充填することができ、機械的強度が増す。
【0021】
図5は、同軸状端子の別の構成例である。芯線8−1の一端を長くしておき、その芯線8−1が外部の信号処理回路へ接続するためのリード線を兼ね、他端はボンディングワイヤにより送受信回路パタン導体と接続する。さらに、図5の例では、同軸状端子としてコバール、鉄等の金属スリーブ13を用いた同軸状端子を別途作成しておき溶接、半田付け等でベースプレート中央部1−2と接続するようにしている。
【0022】
図6は、高周波送受信装置の別の構成例であり、アンテナの面積があまり大きくない場合、あるいはアンテナ基板が厚い等の理由によりアンテナ基板だけで必要な強度を保持できる場合に有効な構成例である。ベースプレートを周縁部1−1と中央部1−2に分割せず、中央部1−2に相当するベースプレートの上に直接アンテナ基板2を取り付ける。
【0023】
図7は、送信用アンテナと受信用アンテナとを別々に設けた場合の構成例であり、その場合に電源供給用端子とIF用端子を左右両端に設けた場合であり、アンテナ導体と回路導体を接続する高周波(RF)同軸線路6−1、6−2が左右2個所に設けてある。
【0024】
図8は、本発明の高周波送受信装置において送受共用アンテナを用いた場合の実施例を示し、図8(a)は高周波(RF)回路構成例を、図8(b)は誘電体基板3上に設けられるRF回路パタンを示す。図8(a)において、発振器27からのRF信号はサーキュレータ22を経てアンテナ21から送信される。アンテナ21は送受共用となっており受信RF信号はサーキュレータ22を経てミクサ23に加えられる。一方発振器27からのRF信号の一部は結合器25を経て局発信号としてミクサ23に加えられ、受信RF信号はIF信号に変換される。変換されたIF信号はIF信号端子24から取り出される。
【0025】
図8(b)において、半導体チップで作られた発振器27からのRF信号はマイクロストリップ線路28を通りサーキュレータ22を経てRF回路とアンテナとを接続するRF同軸端子30に加えられる。各半導体チップには電源供給用端子31より誘電体基板3の上に設けられた電源供給用線路29(図では点線で示した)により直流電源が供給される。
【0026】
ここで、図8(b)に示すように、電源供給用端子31とIF信号端子24とは誘電体基板3の相対する辺の付近に設け、IF信号線と電源供給線とが並列しないようにすることが望ましい。IF信号線と電源供給線とが並列すると、電源に含まれる雑音によってIF信号に雑音を受ける可能性があるためである。回路配置上、IF信号線と電源供給線とが並列する場合には、両者の間にグランド線(アース)を設け、電源供給線からの雑音がIF信号線に流入することを防止することができる。
【0027】
図9は、送信アンテナと受信アンテナを別個に設けた場合の実施例を示し、図9(a)はRF回路構成例を、図9(b)はそのRF回路パタンを示す。図9(a)において、発信器27からのRF信号は分配器34を経て、RF増幅器33を通って送信アンテナ21−1から送信される。受信アンテナ21−2で受信された受信RF信号はミクサ23に加えられ、一方、発信器27からのRF信号の一部が分配器34を経て局発信号としてミクサ23に加えられる。図9(b)において、半導体チップで作られた発信器27からのRF信号はマイクロストリップ線路28を通りRF回路と送信アンテナとを接続するRF同軸端子30―1に加えられ、受信アンテナからの受信信号はRF同軸端子30―2より半導体チップで作られたミクサ23に加えられる。
【0028】
図10は、送信アンテナと受信アンテナを別個に設け、かつさらに前方の車両や障害物の方向を正確に捉えるため、受信アンテナを複数設けた場合の実施例を示し、図10(a)はRF回路構成例を、図10(b)はそのRF回路パタンを示す。図10(a)において、発信器27からのRF信号は分配器34―1を経て、RF増幅器33を通って送信アンテナ21−1から送信される。また、複数の受信アンテナ21−2、21−3で受信されたRF信号はミクサ23−1、23−2に加えられ、一方、発信器27からのRF信号の一部が分配器34−1、34−2を経て局発信号としてミクサ23−1、23−2に加えられる。図10(b)において、半導体チップで作られた発信器27からのRF信号はマイクロストリップ線路28を通りRF回路と送信アンテナとを接続するRF同軸端子30−1に加えられ、受信アンテナからの受信信号はRF同軸端子30−2、30−3より半導体チップで作られたミクサ23−1、23−2に加えられる。
【0029】
図9(b)、図10(b)に示す実施例でも、IF信号端子24と電源供給端子31とを誘電体基板3の相対する辺に設け、IF信号線と電源供給線とが平行に並ぶのを防止している。
【0030】
【発明の効果】
本発明によれば、外部端子と送受信回路とを接続する接続端子に同軸状端子を使用することにより、送受信回路の気密性を保持しつつ、高周波送受信回路組立時の作業性を向上させることができる。
【図面の簡単な説明】
【図1】本発明の高周波送受信装置の断面図である。
【図2】本発明の高周波送受信装置の裏面の上面図である。
【図3】本発明の高周波送受信装置のベースプレート中央部を示す図である。
【図4】本発明の高周波送受信装置のIF信号端子(同軸状端子)の一構成例を拡大した断面図である。
【図5】本発明の高周波送受信装置のIF信号端子(同軸状端子)の別の構成例を拡大した断面図である。
【図6】本発明の高周波送受信装置の断面図である。
【図7】本発明の高周波送受信装置の断面図である。
【図8】(a)は高周波回路の構成例を、(b)はその回路パタンを示す図である。
【図9】(a)は高周波回路の構成例を、(b)はその回路パタンを示す図である。
【図10】(a)は高周波回路の構成例を、(b)はそのRF回路パタンを示す図である。
【図11】従来の高周波送受信装置の断面図である。
【図12】車載レーダシステムを示す図である。
【符号の説明】
1…ベースプレート、2…アンテナ基板、3…回路基板、4…半導体チップ、5…送受信回路カバー、6…RF同軸線路、7…アンテナパタン導体、8…IF同軸線路、9…リード線、10…送受信回路パタン導体、11…ボンディングワイヤ、12…ハンダ、13…金属スリーブ、21…アンテナ、22…サーキュレータ、23…ミクサ、24…IF出力端子、25…結合器、26…抵抗、27…発振器、28…マイクロストリップ線路、29…電源線路、30…同軸線路端子、31…電源端子、32…誘電体基板、33…RF増幅器、34…分配器。

Claims (10)

  1. 一枚の導電性のベースプレートと、
    上記ベースプレートの第1の面上に設けられたアンテナと、
    上記ベースプレートの上記第1の面と相対する第2の面上に設けられ、上記アンテナと電気的に接続された送受信回路と、
    上記ベースプレートに設けられ、上記送受信回路に電源電流を供給するもしくは信号を入出力する外部端子と接続される接続端子とを備え、
    上記ベースプレートは上記アンテナと上記送受信回路とを接続する伝送線路を有し、
    上記ベースプレートは、上記第1の面に開口部を有する凹部を有すると共に、上記凹部の底面と上記第2の面とを貫通する孔を有し、
    上記接続端子は、上記孔にて上記ベースプレートと電気的に絶縁された芯線を持つ線路構造を有し、
    上記接続端子の上記芯線の一端は上記高周波送受信回路と接続され、
    上記接続端子の上記芯線の他端は、上記凹部内にて上記外部端子と接続され
    上記接続端子は、上記芯線を上記ベースプレートから絶縁するためのガラス又はセラミックを含む誘電体を用いた気密構造を有する
    ことを特徴とする高周波送受信装置。
  2. 請求項1において、
    上記アンテナと上記送受信回路とを接続する上記伝送線路は上記ベースプレートを貫通する同軸線路であることを特徴とする高周波送受信装置。
  3. 請求項において、
    上記接続端子又は上記同軸線路は、金属製の円筒状スリーブを外導体としてその内側に絶縁体と芯線とが設けられた線路構造を有すること特徴とする高周波送受信装置。
  4. 請求項1において、
    上記接続端子であって、上記送受信回路に電源電流を供給する第1の接続端子と、
    上記接続端子であって、上記送受信回路へ信号を入出力する第2の接続端子とを有し、
    上記第1の接続端子と上記第2の接続端子とは、それぞれ上記送受信回路の形成された送受信回路基板の相異なる辺側に設けられていることを特徴とする高周波送受信装置。
  5. 請求項1において、
    上記接続端子であって、上記送受信回路に電源電流を供給する第1の接続端子と、
    上記接続端子であって、上記送受信回路へ信号を入出力する第2の接続端子と、
    上記第1の接続端子と上記送受信回路とを接続する第1の線路と、
    上記第2の接続端子と上記送受信回路とを接続する第2の線路とを有し、
    上記第1の線路と上記第2の線路とは、上記送受信回路の形成される回路基板上で、並列に延伸しないことを特徴とする高周波送受信装置。
  6. 請求項1において、
    上記接続端子であって、上記送受信回路に電源電流を供給する第1の接続端子と、
    上記接続端子であって、上記送受信回路へ信号を入出力する第2の接続端子と、
    上記第1の接続端子と上記送受信回路とを接続する第1の線路と、
    上記第2の接続端子と上記送受信回路とを接続する第2の線路とを有し、
    上記第1の線路と上記第2の線路とは、上記送受信回路の形成される回路基板上で、並列に延伸し、
    上記第1の線路と上記第2の線路との間にグランド線が設けられていることを特徴とする高周波送受信装置。
  7. 発振器、増幅器、及びミクサ回路を含む高周波送受信回路と、高周波信号を送受信するためのアンテナとを有し、上記高周波送受信回路と上記アンテナとが、一枚の導電性のベースプレートの第1の面と上記第1の面に相対する第2の面とにそれぞれ設けられた、回路−アンテナ一体構造の高周波送受信装置であって、
    上記高周波送受信回路と上記アンテナとは、上記ベースプレートの上記第1の面と上記第2の面との間の部分を貫通するRF用同軸線路により接続され、
    上記ベースプレートは上記第1の面に相対する第3の面を更に有し、上記第1の面と上記第3の面との距離は上記第1の面と上記第2の面との距離より短く
    上記ベースプレート上記第1の面と上記第3の面との間の部分を貫通するように配置されると共にガラス又はセラミックを含む誘電体を介して上記ベースプレートから電気的に絶縁された芯線を持つ気密線路構造を具備する接続端子を有し、
    上記接続端子の上記芯線の一端は上記高周波送受信回路と接続され、
    上記接続端子の上記芯線の他端は上記ベースプレートの上記第3の面側に設けられると共に電源回路及び信号処理回路を含む外部回路と接続されている
    ことを特徴とする高周波送受信装置。
  8. 請求項において、
    コバール、鉄等の金属製の円筒状スリーブを外導体とし、上記円筒状スリーブ内部に絶縁物と芯線とが設けられた個別部品を、上記RF用同軸線路または上記接続端子として用い、
    上記個別部品は溶接を含む工程により上記ベースプレートに取り付けられている
    ことを特徴とする高周波送受信装置。
  9. 請求項において、
    上記接続端子の上記芯線の端が、上記外部回路に直接接続するリード線を兼ねるよう延伸していることを特徴とする高周波送受信装置。
  10. 請求項において、
    上記外部回路と上記接続端子の上記芯線の端とを接続するリード線は、絶縁被覆で覆われたフラットケーブルで構成されると共に、上記ベースプレートの上記第3の面に沿った方向に上記リード線が出るように溶接を含む工程により取り付けられていることを特徴とする高周波送受信装置。
JP00494999A 1998-08-07 1999-01-12 高周波送受信装置および車載レーダシステム Expired - Fee Related JP3758397B2 (ja)

Priority Applications (3)

Application Number Priority Date Filing Date Title
JP00494999A JP3758397B2 (ja) 1999-01-12 1999-01-12 高周波送受信装置および車載レーダシステム
EP99306230A EP0978729A3 (en) 1998-08-07 1999-08-05 High-frequency transmitter-receiving apparatus for such an application as vehicle-onboard radar system
US09/369,400 US6249242B1 (en) 1998-08-07 1999-08-06 High-frequency transmitter-receiver apparatus for such an application as vehicle-onboard radar system

Applications Claiming Priority (1)

Application Number Priority Date Filing Date Title
JP00494999A JP3758397B2 (ja) 1999-01-12 1999-01-12 高周波送受信装置および車載レーダシステム

Publications (2)

Publication Number Publication Date
JP2000209026A JP2000209026A (ja) 2000-07-28
JP3758397B2 true JP3758397B2 (ja) 2006-03-22

Family

ID=11597835

Family Applications (1)

Application Number Title Priority Date Filing Date
JP00494999A Expired - Fee Related JP3758397B2 (ja) 1998-08-07 1999-01-12 高周波送受信装置および車載レーダシステム

Country Status (1)

Country Link
JP (1) JP3758397B2 (ja)

Families Citing this family (12)

* Cited by examiner, † Cited by third party
Publication number Priority date Publication date Assignee Title
JP3801884B2 (ja) * 2001-07-23 2006-07-26 株式会社日立製作所 高周波送受信装置
JP4523223B2 (ja) 2002-04-26 2010-08-11 株式会社日立製作所 レーダセンサ
JP3786939B2 (ja) * 2003-09-10 2006-06-21 大阪瓦斯株式会社 探査装置
KR100737098B1 (ko) * 2006-03-16 2007-07-06 엘지이노텍 주식회사 전자파 차폐장치 및 그 제조 공정
JP2008283676A (ja) * 2007-04-10 2008-11-20 Toto Ltd 高周波センサ装置
JP2009058450A (ja) * 2007-08-31 2009-03-19 Fujitsu Ten Ltd レーダ装置のユニットシャーシ
KR101426584B1 (ko) 2011-12-09 2014-08-06 주식회사 만도 레이더 장치 및 그 조립 방법
JP6348396B2 (ja) * 2014-10-07 2018-06-27 株式会社Soken アンテナ装置
WO2018037655A1 (ja) * 2016-08-24 2018-03-01 株式会社村田製作所 アンテナモジュール
JP2022175694A (ja) * 2021-05-14 2022-11-25 国立大学法人東京工業大学 フェーズドアレイアンテナ
JP2023098311A (ja) 2021-12-28 2023-07-10 本田技研工業株式会社 物体検知装置の車体への取付構造
JP2023098310A (ja) * 2021-12-28 2023-07-10 本田技研工業株式会社 物体検知装置の車体への取付構造

Family Cites Families (10)

* Cited by examiner, † Cited by third party
Publication number Priority date Publication date Assignee Title
JPS5326934Y2 (ja) * 1973-12-29 1978-07-08
JPH03117926U (ja) * 1990-03-16 1991-12-05
JP2606521Y2 (ja) * 1992-02-27 2000-11-27 株式会社村田製作所 アンテナ装置
JPH0637401A (ja) * 1992-07-20 1994-02-10 Nec Corp 光半導体容器
JPH06112719A (ja) * 1992-09-28 1994-04-22 Nec Corp 電子走査アンテナ
JPH08204444A (ja) * 1995-01-31 1996-08-09 Mitsumi Electric Co Ltd コンバータ機能一体型gpsアンテナ
JPH0983202A (ja) * 1995-09-13 1997-03-28 Fukushima Nippon Denki Kk マイクロ波導波管装置
JPH09150691A (ja) * 1995-11-30 1997-06-10 Fujitsu Ten Ltd 警報装置及び車間制御装置
JP3266491B2 (ja) * 1996-02-29 2002-03-18 京セラ株式会社 高周波用パッケージ
JP3718939B2 (ja) * 1997-01-14 2005-11-24 松下電工株式会社 放電灯点灯装置

Also Published As

Publication number Publication date
JP2000209026A (ja) 2000-07-28

Similar Documents

Publication Publication Date Title
US6249242B1 (en) High-frequency transmitter-receiver apparatus for such an application as vehicle-onboard radar system
JP4523223B2 (ja) レーダセンサ
JP4861303B2 (ja) レーダセンサ
JP5209610B2 (ja) 高周波回路基板、高周波回路モジュールおよびレーダ装置
US7436679B2 (en) Radio-frequency module for communication
JP3758397B2 (ja) 高周波送受信装置および車載レーダシステム
JP3801884B2 (ja) 高周波送受信装置
JP2006507740A (ja) ミリメートル周波数でのアプリケーション用パッケージ電子部品
JP2012526434A (ja) 表面装着用の小型マイクロ波部品
JP2010256327A (ja) ミリ波撮像装置およびレーダーのためのデュアルバンドアンテナアレイおよびrfフロントエンド
WO2006049877A2 (en) Tapered slot feed for an automotive radar ant
JPH08250913A (ja) Mmicパッケージ組立
JP4588073B2 (ja) マイクロ波用途のための小型電子部品
US20080316126A1 (en) Antenna System for a Radar Transceiver
JP2000059140A (ja) 高周波送受信装置
JP5179570B2 (ja) 高周波モジュールおよびその製造方法ならびに該高周波モジュールを備えた送信器、受信器、送受信器およびレーダ装置
JPH10261917A (ja) ミリ波送受信装置
JP2002084208A (ja) 高周波モジュールおよび高周波無線装置
JP2981067B2 (ja) Fmレーダーモジュールのfm信号発生器及び高周波信号発生器
JP4745943B2 (ja) 電子回路、送信器、受信器、送受信器
JP2003008314A (ja) 高周波モジュール
JP2981068B2 (ja) Fmレーダーモジュールのfm信号発生器及び高周波信号発生器
JP2011003651A (ja) 回路装置、及び電子機器
JP2922741B2 (ja) レーダーモジュール
JPH0697735A (ja) 高周波信号発生器

Legal Events

Date Code Title Description
A977 Report on retrieval

Free format text: JAPANESE INTERMEDIATE CODE: A971007

Effective date: 20050325

A131 Notification of reasons for refusal

Free format text: JAPANESE INTERMEDIATE CODE: A131

Effective date: 20050329

A521 Request for written amendment filed

Free format text: JAPANESE INTERMEDIATE CODE: A523

Effective date: 20050530

A131 Notification of reasons for refusal

Free format text: JAPANESE INTERMEDIATE CODE: A131

Effective date: 20050920

A521 Request for written amendment filed

Free format text: JAPANESE INTERMEDIATE CODE: A523

Effective date: 20051118

TRDD Decision of grant or rejection written
A01 Written decision to grant a patent or to grant a registration (utility model)

Free format text: JAPANESE INTERMEDIATE CODE: A01

Effective date: 20051213

A61 First payment of annual fees (during grant procedure)

Free format text: JAPANESE INTERMEDIATE CODE: A61

Effective date: 20051226

FPAY Renewal fee payment (event date is renewal date of database)

Free format text: PAYMENT UNTIL: 20090113

Year of fee payment: 3

FPAY Renewal fee payment (event date is renewal date of database)

Free format text: PAYMENT UNTIL: 20100113

Year of fee payment: 4

FPAY Renewal fee payment (event date is renewal date of database)

Free format text: PAYMENT UNTIL: 20100113

Year of fee payment: 4

S111 Request for change of ownership or part of ownership

Free format text: JAPANESE INTERMEDIATE CODE: R313111

R350 Written notification of registration of transfer

Free format text: JAPANESE INTERMEDIATE CODE: R350

FPAY Renewal fee payment (event date is renewal date of database)

Free format text: PAYMENT UNTIL: 20110113

Year of fee payment: 5

FPAY Renewal fee payment (event date is renewal date of database)

Free format text: PAYMENT UNTIL: 20110113

Year of fee payment: 5

FPAY Renewal fee payment (event date is renewal date of database)

Free format text: PAYMENT UNTIL: 20120113

Year of fee payment: 6

FPAY Renewal fee payment (event date is renewal date of database)

Free format text: PAYMENT UNTIL: 20130113

Year of fee payment: 7

LAPS Cancellation because of no payment of annual fees