JP3598103B2 - ティッシュケースホルダー - Google Patents
ティッシュケースホルダー Download PDFInfo
- Publication number
- JP3598103B2 JP3598103B2 JP2002098559A JP2002098559A JP3598103B2 JP 3598103 B2 JP3598103 B2 JP 3598103B2 JP 2002098559 A JP2002098559 A JP 2002098559A JP 2002098559 A JP2002098559 A JP 2002098559A JP 3598103 B2 JP3598103 B2 JP 3598103B2
- Authority
- JP
- Japan
- Prior art keywords
- tissue case
- hook
- base
- tip
- tissue
- Prior art date
- Legal status (The legal status is an assumption and is not a legal conclusion. Google has not performed a legal analysis and makes no representation as to the accuracy of the status listed.)
- Expired - Fee Related
Links
Images
Classifications
-
- A—HUMAN NECESSITIES
- A47—FURNITURE; DOMESTIC ARTICLES OR APPLIANCES; COFFEE MILLS; SPICE MILLS; SUCTION CLEANERS IN GENERAL
- A47K—SANITARY EQUIPMENT NOT OTHERWISE PROVIDED FOR; TOILET ACCESSORIES
- A47K10/00—Body-drying implements; Toilet paper; Holders therefor
- A47K10/16—Paper towels; Toilet paper; Holders therefor
- A47K10/18—Holders; Receptacles
-
- B—PERFORMING OPERATIONS; TRANSPORTING
- B60—VEHICLES IN GENERAL
- B60R—VEHICLES, VEHICLE FITTINGS, OR VEHICLE PARTS, NOT OTHERWISE PROVIDED FOR
- B60R7/00—Stowing or holding appliances inside vehicle primarily intended for personal property smaller than suit-cases, e.g. travelling articles, or maps
- B60R7/08—Disposition of racks, clips, holders, containers or the like for supporting specific articles
- B60R7/084—Disposition of racks, clips, holders, containers or the like for supporting specific articles for supporting tissues or tissue boxes
-
- Y—GENERAL TAGGING OF NEW TECHNOLOGICAL DEVELOPMENTS; GENERAL TAGGING OF CROSS-SECTIONAL TECHNOLOGIES SPANNING OVER SEVERAL SECTIONS OF THE IPC; TECHNICAL SUBJECTS COVERED BY FORMER USPC CROSS-REFERENCE ART COLLECTIONS [XRACs] AND DIGESTS
- Y10—TECHNICAL SUBJECTS COVERED BY FORMER USPC
- Y10S—TECHNICAL SUBJECTS COVERED BY FORMER USPC CROSS-REFERENCE ART COLLECTIONS [XRACs] AND DIGESTS
- Y10S248/00—Supports
- Y10S248/905—Tissue dispenser mount
Landscapes
- Health & Medical Sciences (AREA)
- Engineering & Computer Science (AREA)
- Biomedical Technology (AREA)
- General Health & Medical Sciences (AREA)
- Mechanical Engineering (AREA)
- Public Health (AREA)
- Containers And Packaging Bodies Having A Special Means To Remove Contents (AREA)
- Details Of Rigid Or Semi-Rigid Containers (AREA)
- Treatment Of Fiber Materials (AREA)
Description
【発明の属する技術分野】
この発明は、ティッシュケースを壁面等に取り付けるティッシュケースホルダーに関するものである。
【0002】
【従来の技術】
例えば、この種のティッシュケースホルダーとして、実開昭61−183825号公報(第1従来例)には、図12に示すように、壁面等に取り付ける基材50に上向きにフック51を設け、ティッシュケース52に形成した穴にフック51の鉤先部を差し込み、ティッシュケース52を下方へスライドさせてセットするものが記載されている。
【0003】
また、実開昭60−48792号公報(第2従来例)には、図13に示すように、背板53の上下に抱込板54を連設し、その先端に表面が内側へ傾斜した鉤先部55を設け、抱込板54を撓ませつつ、ティッシュケースを押し込むようにしてセットするものが記載されている。
【0004】
また、実開昭60−145894号公報(第3従来例)及び実開平4−7482号公報(第4従来例)には、それぞれ図14及び図15に示すように、蝶番板56の回動又はレバー57の操作に伴い、尖頭58をティッシュケース59に上下から突き刺して、ティッシュケース59をセットするものが記載されている。
【0005】
【発明が解決しようとする課題】
しかしながら、第1従来例のティッシュケースホルダーでは、ティッシュケース52を差し込むため、フック51の鉤先部と基材50との間にある程度の隙間が必要であり、この隙間により、ティッシュケース52ががたつく恐れがある。
【0006】
また、第2従来例のティッシュケースホルダーでは、抱込板54を撓ませるのに大きな力を要し、ティッシュケースをセットしにくいという問題があるほか、壁面等に取り付ける向きが限定されるという問題もある。
【0007】
また、第3及び第4従来例のティッシュケースホルダーでは、尖頭58を上下させる機構が必要となり、構造が複雑化するという問題がある。
【0008】
そこで、この発明は、簡単な構造で、ティッシュケースを容易かつ堅固にセットできるティッシュケースホルダーを提供することを課題とする。
【0009】
【課題を解決するための手段】
上記課題を解決するため、この発明に係るティッシュケースホルダーは、壁面等に取り付けられる基材に、鉤先部の長さが異なる一対のフックを設け、長い鉤先部の裏面を先端へかけて基材側へ傾斜させると共に、短い鉤先部の裏面を基端へかけて基材側へ傾斜させ、ティッシュケースの両端の解体用穴に各フックの鉤先部を順次差し込み、ティッシュケースを短い鉤先部の基端側へスライドさせると、鉤先部の傾斜により、ティッシュケースが基材に密着して保持されるようにしたのである。
【0010】
また、長い鉤先部と基材の間に、ティッシュケースのスライドを阻止するアタッチメントを抜差自在に挿入し、壁面等に横向きに取り付けても、ティッシュケースが脱落しないようにしたのである。
【0011】
また、細長いプラスチック製の板材を折り曲げて、前記基材と一対のフックとを形成することにより、コンパクト化及び低コスト化を図ったのである。
【0012】
さらに、前記基材の裏面に、両端側へ尖端を向けた針をやや浮かせて設けることにより、基材を撓ませつつ、車の内装材等に針を刺し込んで、取り付けられるようにしたのである。
【0013】
【発明の実施の形態】
以下、この発明の実施の形態を添付図面に基づいて説明する。
【0014】
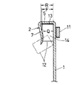
図1及び図2は,この発明の一実施形態を示す。このティッシュケースホルダーは、縦長の板状基材1に上下一対のフック2,3を設けたものであり、基材1には、壁面等への取付のため、ビス穴4が設けられている。基材1の形状は、特に限定されず、表面に広告等を印刷しておいてもよい。
【0015】
前記フック2,3は、基部5,6から鉤先部7,8が向き合うように屈曲したものであり、この基部5,6の間隔Aは、ティッシュケース9の長さLよりも大きく、鉤先部7は鉤先部8よりも長く、鉤先部7,8の先端の間隔Bは、ティッシュケース9の長さLよりも小さくなっている。
【0016】
また、鉤先部7の裏面は、先端(下方)へかけて∠αだけ基材1側に傾斜し、鉤先部8の裏面は、基端(下方)へかけて∠βだけ基材1側に傾斜している。
【0017】
そして、鉤先部7の先端部(下部)と基材1との間隔C及び鉤先部8の基端部(下部)と基材1との間隔Dは、ティッシュケース9の両端に形成される解体用穴10と底面との距離Mよりもやや小さくなっている。
【0018】
このようなティッシュケースホルダーを使用する際には、図3(a)に示すようにビス11を用いて、或いは、基材1の裏面に貼り付けた両面粘着テープを用いて、基材1を壁面等へ予め固定しておく。また、金属面へは、基材1の裏面に貼り付けた磁石で固定してもよい。
【0019】
一方、図1に示すように、ティッシュケース9の両端面には、解体用穴10を開口させておく。この解体用穴10は、現在流通している殆どのティッシュケースに、ほぼ同じ位置に設けられている。
【0020】
そして、図3(a)に示すように、ティッシュケース9を傾けつつ、上方の解体用穴10にフック2の鉤先部7を差し込み、次いで、ティッシュケース9を垂直に戻して、下方の解体用穴10にフック3の鉤先部8を差し込む。
【0021】
その後、図3(b)に示すように、ティッシュケース9を下方へスライドさせると、鉤先部7,8の裏面の傾斜により、ティッシュケース9は、基材1に引き寄せられて密着する。
【0022】
このように、上記ティッシュケースホルダーでは、ティッシュケース9の両端の解体用穴10を利用して、ティッシュケース9を容易にセットでき、その状態において、ティッシュケース9ががたつくこともない。
【0023】
また、このティッシュケースホルダーは、基材1にフック2,3を設けただけの簡単な構造であることから、製造にコストもかからない。
【0024】
なお、ティッシュケース9の高さや長さが多少異なっても、解体用穴10の底面からの距離Mさえほぼ一定であれば、ティッシュケース9は問題なくセットでき、使用上の障害とはならない。
【0025】
次に、この発明の他の実施形態を図4に示す。このティッシュケースホルダーは、細長いプラスチック製の板材を折り曲げて、基材1及びフック2,3を形成することにより、コンパクト化及び低コスト化を図ったものである。なお、この例では、基材1の裏面に、金属面へ固定するための磁石11を貼り付けている。
【0026】
ところで、このようなティッシュケースホルダーを壁面等に横向きに取り付けると、ティッシュケース9が長い鉤先部7の基端側へスライドし、短い鉤先部8が解体用穴10から抜け出して、ティッシュケース9が脱落することがある。
【0027】
このような現象を防止するには、図5に示すように、フック2の鉤先部7と基材1の間に、アタッチメント12を挿入する。
【0028】
このアタッチメント12は、弾性を有するプラスチック製の板材を材料とし、その板材の両側部を同一面側へ塑性変形させて折り曲げることにより、中間部13の両側に斜め外方へ向かう翼片14を連設したものである。
【0029】
ここで、図6及び図7に示すように、アタッチメント12の中間部13の長さEは、基材1の幅Pよりも小さくなっており、板材の幅Fは、鉤先部7の先端部と基材1との最小間隔Qよりも大きく、かつ、鉤先部7の基端部と基材1との間隔Rよりやや小さくなっている。
【0030】
このようなアタッチメント12を鉤先部7と基材1の間に挿入するには、図中鎖線で示すように、アタッチメント12を傾けつつ、鉤先部7の先端部と基材1の間を通過させ、中間部13を鉤先部7の基端側へ挿入した後、アタッチメント12の傾きを戻す。
【0031】
これにより、アタッチメント12は、鉤先部7と基材1の間から抜け止めされて、その姿勢も安定する。
【0032】
次いで、図8に示すように、ティッシュケース9をセットすると、ティッシュケース9の端面がアタッチメント12の翼片14により弾力的に押圧され、ティッシュケース9のスライドに伴う脱落が防止される。
【0033】
このように、アタッチメント12を使用することにより、この発明に係るティッシュケースホルダーでは、ティッシュケース9を縦横どちら向きにも取り付けることができる。
【0034】
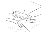
そのほか、このプラスチック製の板材から成るティッシュケースホルダーは、図9に示すように、自動車の車内などにおいて、ルーフ内面等、布の内装材が張られた部分や幌の部分に取り付けることもできる。
【0035】
この場合、図10に示すように、基材1の裏面に、両端側へ尖端を向けた針15をやや浮かせて設けておく。針15は、各端二本ずつ設けると、取付時の安定性が向上する。また、このティッシュケースホルダーを車内等に横向きに取り付ける場合には、フック2にアタッチメント12を嵌めておく。
【0036】
この取り付けに際しては、まず、図11(a)に示すように、一方の針15を内装材等に刺し込み、次に、図11(b)に示すように、基材1を撓ませつつ、他方の針15を内装材等に刺し込む。そして、基材1を弾力で復元させると、図11(c)に示すように、両方の針15が内装材等から抜け止めされる。
【0037】
このようにして、例えば、車内の天井前部にティッシュケースホルダーを取り付け、ティッシュケースをセットすると、運転席や助手席に座っていても、容易にティッシュペーパーを取り出すことができ、わき見運転による事故を防止することができる。
【0038】
また、針15は車の内装材の繊維の織目に刺し込まれるので、ティッシュケースホルダーを取り外したとき、目立つ傷や汚れが残ることがない。
【0039】
【発明の効果】
以上のように、この発明に係るティッシュケースホルダーは、基材に一対のフックを設けた簡単な構造であることから、安価に製造でき、各フックの鉤先部をティッシュケースの両端の解体用穴に順次差し込み、ティッシュケースをスライドさせるだけで、容易かつ堅固にティッシュケースをセットできる。
【0040】
また、フックの鉤先部と基材の間に、ティッシュケースのスライドを阻止するアタッチメントを挿入すると、壁面等に横向きに取り付けても、ティッシュケースが脱落しなくなる。
【0041】
また、細長いプラスチック製の板材を折り曲げて、基材と一対のフックとを形成すると、コンパクト化及び低コスト化を図ることができる。
【0042】
さらに、基材の裏面に、両端側へ尖端を向けた針をやや浮かせて設けると、基材を撓ませつつ、車の内装材等に針を刺し込んで、ティッシュペーパーを取り出しやすい位置に取り付けることができ、わき見運転による事故を防止できる。
【図面の簡単な説明】
【図1】この発明の一実施形態に係るティッシュケースホルダーの斜視図
【図2】同上の側面図
【図3】(a)同上のティッシュケース取付過程を示す一部縦断側面図
(b)同上の次の過程を示す側面図
【図4】この発明の他の実施形態に係るティッシュケースホルダーの斜視図
【図5】同上のアタッチメントの装着状態を示す横向きの斜視図
【図6】同上のアタッチメントの装着過程を示すフック部分の拡大正面図
【図7】同上の縦断側面図
【図8】同上のティッシュケースのセット状態を示す斜視図
【図9】同上のティッシュケースホルダーの車内への取付状態を示す斜視図
【図10】同上の取付用の針を設けた状態を示す斜視図
【図11】(a)同上の取付過程の第1状態を示す端部側面図
(b)同上の取付過程の第2状態を示す側面図
(c)同上の取付状態を示す側面図
【図12】第1従来例を示す斜視図
【図13】第2従来例を示す斜視図
【図14】第3従来例を示す斜視図
【図15】第4従来例を示す斜視図
【符号の説明】
1 基材
2,3 フック
5,6 基部
7,8 鉤先部
9 ティッシュケース
10 解体用穴
12 アタッチメント
13 中間部
14 翼片
15 針
Claims (4)
- 壁面等に取り付けられる基材(1)に、基部(5,6)から鉤先部(7,8)が向き合うように屈曲した一対のフック(2,3)を設け、その基部(5,6)の間隔(A)をティッシュケース(9)の長さ(L)よりも大きく、一方の鉤先部(7)の長さを他方の鉤先部(8)の長さよりも長く、鉤先部(7,8)の先端の間隔(B)をティッシュケース(9)の長さ(L)よりも小さく設定し、長い鉤先部(7)の裏面を先端へかけて基材(1)側へ傾斜させ、短い鉤先部(8)の裏面を基端へかけて基材(1)側へ傾斜させ、長い鉤先部(7)の先端部と基材(1)との間隔(C)及び短い鉤先部(8)の基端部と基材(1)との間隔(D)を、ティッシュケース(9)の両端の解体用穴(10)と底面との距離(M)よりもやや小さくなるように設定し、ティッシュケース(9)のセットに際しては、ティッシュケース(9)を傾けつつ、一方の解体用穴(10)に長い鉤先部(7)を差し込み、次いで、ティッシュケース(9)の傾きを戻し、他方の解体用穴(10)に短い鉤先部(8)を差し込み、その後、ティッシュケース(9)を短い鉤先部(8)の基端側へスライドさせるティッシュケースホルダー。
- 請求項1に記載のティッシュケースホルダーにおいて、長い鉤先部(7)と基材(1)の間に、ティッシュケース(9)のスライドを阻止するアタッチメント(12)を抜差自在に挿入したことを特徴とするティッシュケースホルダー。
- 細長いプラスチック製の板材を折り曲げて、前記基材(1)と一対のフック(2,3)とを形成したことを特徴とする請求項1又は2に記載のティッシュケースホルダー。
- 前記基材(1)の裏面に、両端側へ尖端を向けた針(15)をやや浮かせて設けたことを特徴とする請求項3に記載のティッシュケースホルダー。
Priority Applications (6)
| Application Number | Priority Date | Filing Date | Title |
|---|---|---|---|
| JP2002098559A JP3598103B2 (ja) | 2001-07-31 | 2002-04-01 | ティッシュケースホルダー |
| AT02017148T ATE304807T1 (de) | 2001-07-31 | 2002-07-30 | Halter für tücherspenderdose |
| US10/207,272 US6641100B2 (en) | 2001-07-31 | 2002-07-30 | Tissue case holder |
| DE60206224T DE60206224T2 (de) | 2001-07-31 | 2002-07-30 | Halter für Tücherspenderdose |
| EP02017148A EP1281342B1 (en) | 2001-07-31 | 2002-07-30 | Tissue case holder |
| CN02141599.4A CN1240588C (zh) | 2001-07-31 | 2002-07-31 | 薄纸盒固定器 |
Applications Claiming Priority (3)
| Application Number | Priority Date | Filing Date | Title |
|---|---|---|---|
| JP2001-230865 | 2001-07-31 | ||
| JP2001230865A JP2002128163A (ja) | 2001-07-31 | 2001-07-31 | ティッシュケースホルダー |
| JP2002098559A JP3598103B2 (ja) | 2001-07-31 | 2002-04-01 | ティッシュケースホルダー |
Publications (2)
| Publication Number | Publication Date |
|---|---|
| JP2003112787A JP2003112787A (ja) | 2003-04-18 |
| JP3598103B2 true JP3598103B2 (ja) | 2004-12-08 |
Family
ID=26619615
Family Applications (1)
| Application Number | Title | Priority Date | Filing Date |
|---|---|---|---|
| JP2002098559A Expired - Fee Related JP3598103B2 (ja) | 2001-07-31 | 2002-04-01 | ティッシュケースホルダー |
Country Status (6)
| Country | Link |
|---|---|
| US (1) | US6641100B2 (ja) |
| EP (1) | EP1281342B1 (ja) |
| JP (1) | JP3598103B2 (ja) |
| CN (1) | CN1240588C (ja) |
| AT (1) | ATE304807T1 (ja) |
| DE (1) | DE60206224T2 (ja) |
Families Citing this family (31)
| Publication number | Priority date | Publication date | Assignee | Title |
|---|---|---|---|---|
| US20040211871A1 (en) * | 2002-11-27 | 2004-10-28 | Turvey Robert R. | Method and device for suspending boxes |
| US20040124322A1 (en) * | 2002-11-27 | 2004-07-01 | Turvey Robert R. | Holding device |
| US6769658B2 (en) * | 2002-12-19 | 2004-08-03 | James R. Stokes | Remote control holder device |
| US20050199770A1 (en) * | 2003-05-01 | 2005-09-15 | Andrews Michael L. | Floor located vehicle container holder |
| US20040245421A1 (en) * | 2003-06-09 | 2004-12-09 | Turvey Robert R. | Method and device for holding boxes |
| US20050035126A1 (en) * | 2003-06-25 | 2005-02-17 | Ron Serio | Mountable container system |
| USD519368S1 (en) | 2005-01-31 | 2006-04-25 | S.C. Johnson Home Storage, Inc. | Swivel slider body with handle |
| CA2631674A1 (en) * | 2005-12-02 | 2007-06-07 | Pera Odishoo | Mountable box holder and method for mounting a box |
| US20100038329A1 (en) * | 2008-08-12 | 2010-02-18 | Chin-Chi Pan | Decorative wall mount |
| US20100051576A1 (en) * | 2008-09-04 | 2010-03-04 | Tran Quoc A | Container cap with aqua tissue |
| US20110070018A1 (en) * | 2009-09-23 | 2011-03-24 | Ford Global Technologies, Llc | System for attaching an accessory to vehicle interior |
| US8444008B2 (en) * | 2010-03-16 | 2013-05-21 | Khaled Abdullah M. Al-Mahnna | Tissue holder and dispenser |
| RU2549976C2 (ru) * | 2010-12-21 | 2015-05-10 | Ска Хайджин Продактс Аб | Устройство дозированной подачи, содержащее держатель и упаковку для дозированной подачи содержимого |
| US20120273513A1 (en) * | 2011-04-28 | 2012-11-01 | Jerry Ray Stephens | Dispensers for sanitary tissue products |
| US8602373B2 (en) * | 2011-07-25 | 2013-12-10 | Mark Beckey | Hangable cup holders |
| JP2015044596A (ja) * | 2013-08-27 | 2015-03-12 | 俊孝 栗原 | ティッシュボックスホルダー |
| JP6042318B2 (ja) * | 2013-12-06 | 2016-12-14 | ニチレイマグネット株式会社 | 物品収納ケースの取付け具 |
| DE102013021395A1 (de) * | 2013-12-13 | 2015-06-18 | Daimler Ag | Halteeinrichtung, insbesondere Tücherboxhalter, für eine Tücherbox |
| USD781742S1 (en) | 2014-12-12 | 2017-03-21 | Alex And Ani, Llc | Slider for article of jewelry |
| USD785483S1 (en) | 2015-03-26 | 2017-05-02 | Alex And Ani, Llc | Article of jewelry |
| USD785485S1 (en) | 2015-03-26 | 2017-05-02 | Alex And Ani, Llc | Article of jewelry |
| USD786118S1 (en) | 2015-03-26 | 2017-05-09 | Alex And Ani, Llc | Article of jewelry |
| USD809421S1 (en) | 2015-08-07 | 2018-02-06 | Alex And Ani, Llc | Slider for articles of jewelry |
| US10123594B2 (en) | 2015-08-07 | 2018-11-13 | Alex And Ani, Llc | Slider elements for articles of jewelry |
| USD853749S1 (en) | 2018-04-24 | 2019-07-16 | Edward L. Kostjal | Holder for tissue box |
| US11021860B1 (en) * | 2019-11-19 | 2021-06-01 | Marvin Thomas | Toilet tank support |
| JP7361392B2 (ja) * | 2020-03-31 | 2023-10-16 | 常雄 竹内 | 磁石にくっつく壁面等の平面上に着脱可能にとりつけられる磁石を用いた平面上を360度移動可能で固定もできる保持具 |
| USD957924S1 (en) | 2021-05-20 | 2022-07-19 | James Hofer | Wall bracket |
| GB202112135D0 (en) * | 2021-08-24 | 2021-10-06 | Balco Global Ltd | Dispenser |
| US12070126B2 (en) | 2022-03-02 | 2024-08-27 | Interdesign, Inc. | Brackets, bins, and shelves |
| USD1018115S1 (en) * | 2023-08-11 | 2024-03-19 | Zekai Yu | Grocery bag dispenser |
Family Cites Families (26)
| Publication number | Priority date | Publication date | Assignee | Title |
|---|---|---|---|---|
| US1306272A (en) * | 1919-06-10 | Wall-hanger for radiators | ||
| US1170414A (en) * | 1915-03-24 | 1916-02-01 | George H Christensen | Receptacle-holder. |
| US1227165A (en) * | 1915-09-24 | 1917-05-22 | William Marin | Bracket. |
| US2155760A (en) * | 1937-04-01 | 1939-04-25 | Hy Joseph | Box holder |
| US2104612A (en) * | 1937-07-14 | 1938-01-04 | Henry E Droll | Supporting pin for eyeglasses and the like |
| US2263956A (en) | 1939-12-05 | 1941-11-25 | Linus E Russell | Package holder |
| US2325712A (en) * | 1943-02-06 | 1943-08-03 | Leonard G Shurmur | Container holder |
| US2697572A (en) * | 1949-11-30 | 1954-12-21 | Pfankuch Joseph Edward | Adjustable hanger |
| US2986366A (en) * | 1959-06-18 | 1961-05-30 | George T Wesson | Support for television cabinets and the like |
| US2991036A (en) * | 1960-01-11 | 1961-07-04 | Morgan James Russell | Magnetic box holding bracket |
| US3176943A (en) * | 1963-02-25 | 1965-04-06 | Robert S Hughes | Holders for paintings |
| US3285559A (en) * | 1965-03-03 | 1966-11-15 | Edward J Simon | Dispenser holders |
| US3837608A (en) * | 1972-08-09 | 1974-09-24 | E Simon | Dispenser holder |
| CH657514A5 (en) * | 1981-11-21 | 1986-09-15 | Elsa Dorothea Achermann Gertsc | Device for suspending lid-like covering plates for cooking points |
| JPS60145894A (ja) | 1984-01-10 | 1985-08-01 | トツパン・ム−ア株式会社 | バ−コ−ドラベル片付帳票の作成方法 |
| JPS61183825A (ja) | 1985-02-08 | 1986-08-16 | キヤノン株式会社 | キ−ボ−ド装置 |
| JPH0245153Y2 (ja) * | 1985-05-08 | 1990-11-29 | ||
| US5207403A (en) * | 1989-11-07 | 1993-05-04 | Penniman David T | Device and method to support polyethylene or other sheeting |
| US5246251A (en) * | 1991-06-24 | 1993-09-21 | Ronnie Evans | Book holder |
| US5494250A (en) | 1994-07-29 | 1996-02-27 | Chen; Wen-Yen | Cleaning tissue holder |
| JPH10201659A (ja) * | 1997-01-20 | 1998-08-04 | Goyo Spring:Kk | ティッシュボックス用取り付け具 |
| US5996953A (en) * | 1998-02-20 | 1999-12-07 | Andrew Corporation | Mounting assembly for mobile electronic equipment |
| CA2258381A1 (en) * | 1999-01-07 | 2000-07-07 | Charles A. Annand | Tissue box holder |
| US6543737B2 (en) * | 2001-02-20 | 2003-04-08 | Clayton O. Decker | Tissue box holder |
| JP2002263031A (ja) * | 2001-03-07 | 2002-09-17 | Takeshi Imai | ティッシュペーパー保持具 |
| JP3949403B2 (ja) * | 2001-06-13 | 2007-07-25 | ニチレイマグネット株式会社 | ボックス用ホルダ及びその取り付け構造 |
-
2002
- 2002-04-01 JP JP2002098559A patent/JP3598103B2/ja not_active Expired - Fee Related
- 2002-07-30 DE DE60206224T patent/DE60206224T2/de not_active Expired - Fee Related
- 2002-07-30 US US10/207,272 patent/US6641100B2/en not_active Expired - Fee Related
- 2002-07-30 EP EP02017148A patent/EP1281342B1/en not_active Expired - Lifetime
- 2002-07-30 AT AT02017148T patent/ATE304807T1/de not_active IP Right Cessation
- 2002-07-31 CN CN02141599.4A patent/CN1240588C/zh not_active Expired - Fee Related
Also Published As
| Publication number | Publication date |
|---|---|
| CN1405067A (zh) | 2003-03-26 |
| JP2003112787A (ja) | 2003-04-18 |
| US20030025057A1 (en) | 2003-02-06 |
| DE60206224T2 (de) | 2006-06-22 |
| US6641100B2 (en) | 2003-11-04 |
| DE60206224D1 (de) | 2006-02-02 |
| EP1281342A1 (en) | 2003-02-05 |
| CN1240588C (zh) | 2006-02-08 |
| EP1281342B1 (en) | 2005-09-21 |
| ATE304807T1 (de) | 2005-10-15 |
Similar Documents
| Publication | Publication Date | Title |
|---|---|---|
| JP3598103B2 (ja) | ティッシュケースホルダー | |
| US4141525A (en) | Universal drawer slide mounting bracket | |
| JP3203238U (ja) | 壁掛け構造 | |
| JP2000174458A (ja) | 平板表示装置を有するコンピュ―タ | |
| US20070006533A1 (en) | Vehicle window lift plate | |
| JP2000159038A (ja) | バンパーとグリルの取付構造 | |
| KR200388711Y1 (ko) | 광고물 거치대 | |
| EP2166428B1 (en) | Stand attachment structure | |
| JP3980845B2 (ja) | 合成樹脂成形品における母材へのパネル取付構造 | |
| CN222310338U (zh) | 车用固定装置 | |
| CN223886646U (zh) | 一种挂钩装置 | |
| JP4422275B2 (ja) | 雪止め金具 | |
| CN211468168U (zh) | 一种可调式客车用仪表开关面板 | |
| JP2002128163A (ja) | ティッシュケースホルダー | |
| JP2001082767A (ja) | モータ台の取付構造 | |
| CN220518141U (zh) | 抬头显示器组件及车辆 | |
| JP2004057325A (ja) | 商品陳列装置 | |
| KR200317794Y1 (ko) | 차량용 다기능 룸미러 | |
| JP7140369B2 (ja) | 中古車の販売価格表示装置 | |
| JP2024015560A (ja) | 収納棚および棚受金具 | |
| JPH11299602A (ja) | 棚に対するプライスカード保持具の取付構造 | |
| JP2002358037A (ja) | 旗セット | |
| JP2008093311A (ja) | 掛止ユニット | |
| JPH10337229A (ja) | 棚受装置 | |
| KR100578060B1 (ko) | 자동차용 헤드 라이닝 결합구조 |
Legal Events
| Date | Code | Title | Description |
|---|---|---|---|
| A977 | Report on retrieval |
Free format text: JAPANESE INTERMEDIATE CODE: A971007 Effective date: 20040811 |
|
| TRDD | Decision of grant or rejection written | ||
| A01 | Written decision to grant a patent or to grant a registration (utility model) |
Free format text: JAPANESE INTERMEDIATE CODE: A01 Effective date: 20040817 |
|
| A61 | First payment of annual fees (during grant procedure) |
Free format text: JAPANESE INTERMEDIATE CODE: A61 Effective date: 20040910 |
|
| R150 | Certificate of patent or registration of utility model |
Free format text: JAPANESE INTERMEDIATE CODE: R150 |
|
| FPAY | Renewal fee payment (event date is renewal date of database) |
Free format text: PAYMENT UNTIL: 20080917 Year of fee payment: 4 |
|
| FPAY | Renewal fee payment (event date is renewal date of database) |
Free format text: PAYMENT UNTIL: 20080917 Year of fee payment: 4 |
|
| FPAY | Renewal fee payment (event date is renewal date of database) |
Free format text: PAYMENT UNTIL: 20090917 Year of fee payment: 5 |
|
| FPAY | Renewal fee payment (event date is renewal date of database) |
Free format text: PAYMENT UNTIL: 20100917 Year of fee payment: 6 |
|
| FPAY | Renewal fee payment (event date is renewal date of database) |
Free format text: PAYMENT UNTIL: 20100917 Year of fee payment: 6 |
|
| FPAY | Renewal fee payment (event date is renewal date of database) |
Free format text: PAYMENT UNTIL: 20110917 Year of fee payment: 7 |
|
| FPAY | Renewal fee payment (event date is renewal date of database) |
Free format text: PAYMENT UNTIL: 20120917 Year of fee payment: 8 |
|
| FPAY | Renewal fee payment (event date is renewal date of database) |
Free format text: PAYMENT UNTIL: 20130917 Year of fee payment: 9 |
|
| R250 | Receipt of annual fees |
Free format text: JAPANESE INTERMEDIATE CODE: R250 |
|
| R250 | Receipt of annual fees |
Free format text: JAPANESE INTERMEDIATE CODE: R250 |
|
| R250 | Receipt of annual fees |
Free format text: JAPANESE INTERMEDIATE CODE: R250 |
|
| LAPS | Cancellation because of no payment of annual fees |