JP2015102403A - パッケージ、電子部品搭載パッケージ、物理量センサー、電子機器および移動体 - Google Patents
パッケージ、電子部品搭載パッケージ、物理量センサー、電子機器および移動体 Download PDFInfo
- Publication number
- JP2015102403A JP2015102403A JP2013242556A JP2013242556A JP2015102403A JP 2015102403 A JP2015102403 A JP 2015102403A JP 2013242556 A JP2013242556 A JP 2013242556A JP 2013242556 A JP2013242556 A JP 2013242556A JP 2015102403 A JP2015102403 A JP 2015102403A
- Authority
- JP
- Japan
- Prior art keywords
- wiring
- base
- substrate
- terminal
- outer edge
- Prior art date
- Legal status (The legal status is an assumption and is not a legal conclusion. Google has not performed a legal analysis and makes no representation as to the accuracy of the status listed.)
- Granted
Links
- 238000001514 detection method Methods 0.000 claims abstract description 168
- 239000000758 substrate Substances 0.000 description 198
- 239000000853 adhesive Substances 0.000 description 30
- 230000001070 adhesive effect Effects 0.000 description 30
- 239000008186 active pharmaceutical agent Substances 0.000 description 27
- 102100036285 25-hydroxyvitamin D-1 alpha hydroxylase, mitochondrial Human genes 0.000 description 26
- 101000875403 Homo sapiens 25-hydroxyvitamin D-1 alpha hydroxylase, mitochondrial Proteins 0.000 description 26
- 230000006870 function Effects 0.000 description 15
- 230000000694 effects Effects 0.000 description 14
- 229910052751 metal Inorganic materials 0.000 description 13
- 239000002184 metal Substances 0.000 description 13
- 239000000463 material Substances 0.000 description 10
- 241000251131 Sphyrna Species 0.000 description 9
- 230000005484 gravity Effects 0.000 description 7
- 239000000470 constituent Substances 0.000 description 6
- 230000008878 coupling Effects 0.000 description 6
- 238000010168 coupling process Methods 0.000 description 6
- 238000005859 coupling reaction Methods 0.000 description 6
- 239000010453 quartz Substances 0.000 description 6
- VYPSYNLAJGMNEJ-UHFFFAOYSA-N silicon dioxide Inorganic materials O=[Si]=O VYPSYNLAJGMNEJ-UHFFFAOYSA-N 0.000 description 6
- 239000010931 gold Substances 0.000 description 5
- 238000003384 imaging method Methods 0.000 description 5
- 239000003566 sealing material Substances 0.000 description 5
- 229910045601 alloy Inorganic materials 0.000 description 4
- 239000000956 alloy Substances 0.000 description 4
- 229910052709 silver Inorganic materials 0.000 description 4
- 239000004332 silver Substances 0.000 description 4
- BQCADISMDOOEFD-UHFFFAOYSA-N Silver Chemical compound [Ag] BQCADISMDOOEFD-UHFFFAOYSA-N 0.000 description 3
- 239000000919 ceramic Substances 0.000 description 3
- 238000004891 communication Methods 0.000 description 3
- PCHJSUWPFVWCPO-UHFFFAOYSA-N gold Chemical compound [Au] PCHJSUWPFVWCPO-UHFFFAOYSA-N 0.000 description 3
- 229910052737 gold Inorganic materials 0.000 description 3
- PXHVJJICTQNCMI-UHFFFAOYSA-N nickel Substances [Ni] PXHVJJICTQNCMI-UHFFFAOYSA-N 0.000 description 3
- 230000003287 optical effect Effects 0.000 description 3
- 229910017401 Au—Ge Inorganic materials 0.000 description 2
- 239000004642 Polyimide Substances 0.000 description 2
- 238000005452 bending Methods 0.000 description 2
- 230000005540 biological transmission Effects 0.000 description 2
- 230000001413 cellular effect Effects 0.000 description 2
- 239000011651 chromium Substances 0.000 description 2
- 239000010949 copper Substances 0.000 description 2
- 238000010586 diagram Methods 0.000 description 2
- 230000005684 electric field Effects 0.000 description 2
- 230000001788 irregular Effects 0.000 description 2
- 229910000833 kovar Inorganic materials 0.000 description 2
- 229920001721 polyimide Polymers 0.000 description 2
- WFKWXMTUELFFGS-UHFFFAOYSA-N tungsten Chemical compound [W] WFKWXMTUELFFGS-UHFFFAOYSA-N 0.000 description 2
- 229910052721 tungsten Inorganic materials 0.000 description 2
- 239000010937 tungsten Substances 0.000 description 2
- XQUPVDVFXZDTLT-UHFFFAOYSA-N 1-[4-[[4-(2,5-dioxopyrrol-1-yl)phenyl]methyl]phenyl]pyrrole-2,5-dione Chemical compound O=C1C=CC(=O)N1C(C=C1)=CC=C1CC1=CC=C(N2C(C=CC2=O)=O)C=C1 XQUPVDVFXZDTLT-UHFFFAOYSA-N 0.000 description 1
- WSMQKESQZFQMFW-UHFFFAOYSA-N 5-methyl-pyrazole-3-carboxylic acid Chemical compound CC1=CC(C(O)=O)=NN1 WSMQKESQZFQMFW-UHFFFAOYSA-N 0.000 description 1
- 241000251468 Actinopterygii Species 0.000 description 1
- VYZAMTAEIAYCRO-UHFFFAOYSA-N Chromium Chemical compound [Cr] VYZAMTAEIAYCRO-UHFFFAOYSA-N 0.000 description 1
- RYGMFSIKBFXOCR-UHFFFAOYSA-N Copper Chemical compound [Cu] RYGMFSIKBFXOCR-UHFFFAOYSA-N 0.000 description 1
- 239000004593 Epoxy Substances 0.000 description 1
- WQZGKKKJIJFFOK-GASJEMHNSA-N Glucose Natural products OC[C@H]1OC(O)[C@H](O)[C@@H](O)[C@@H]1O WQZGKKKJIJFFOK-GASJEMHNSA-N 0.000 description 1
- PWHULOQIROXLJO-UHFFFAOYSA-N Manganese Chemical compound [Mn] PWHULOQIROXLJO-UHFFFAOYSA-N 0.000 description 1
- ZOKXTWBITQBERF-UHFFFAOYSA-N Molybdenum Chemical compound [Mo] ZOKXTWBITQBERF-UHFFFAOYSA-N 0.000 description 1
- 101000921780 Solanum tuberosum Cysteine synthase Proteins 0.000 description 1
- NIXOWILDQLNWCW-UHFFFAOYSA-N acrylic acid group Chemical group C(C=C)(=O)O NIXOWILDQLNWCW-UHFFFAOYSA-N 0.000 description 1
- 230000000903 blocking effect Effects 0.000 description 1
- 239000008280 blood Substances 0.000 description 1
- 210000004369 blood Anatomy 0.000 description 1
- 230000036772 blood pressure Effects 0.000 description 1
- 238000005219 brazing Methods 0.000 description 1
- 229910052804 chromium Inorganic materials 0.000 description 1
- 239000011248 coating agent Substances 0.000 description 1
- 238000000576 coating method Methods 0.000 description 1
- 239000011231 conductive filler Substances 0.000 description 1
- 229910052802 copper Inorganic materials 0.000 description 1
- PMHQVHHXPFUNSP-UHFFFAOYSA-M copper(1+);methylsulfanylmethane;bromide Chemical compound Br[Cu].CSC PMHQVHHXPFUNSP-UHFFFAOYSA-M 0.000 description 1
- 239000013078 crystal Substances 0.000 description 1
- KZHJGOXRZJKJNY-UHFFFAOYSA-N dioxosilane;oxo(oxoalumanyloxy)alumane Chemical compound O=[Si]=O.O=[Si]=O.O=[Al]O[Al]=O.O=[Al]O[Al]=O.O=[Al]O[Al]=O KZHJGOXRZJKJNY-UHFFFAOYSA-N 0.000 description 1
- 238000009713 electroplating Methods 0.000 description 1
- 239000011521 glass Substances 0.000 description 1
- 239000008103 glucose Substances 0.000 description 1
- 230000012447 hatching Effects 0.000 description 1
- 230000001678 irradiating effect Effects 0.000 description 1
- 238000010030 laminating Methods 0.000 description 1
- GQYHUHYESMUTHG-UHFFFAOYSA-N lithium niobate Chemical compound [Li+].[O-][Nb](=O)=O GQYHUHYESMUTHG-UHFFFAOYSA-N 0.000 description 1
- 229910052748 manganese Inorganic materials 0.000 description 1
- 239000011572 manganese Substances 0.000 description 1
- 238000002844 melting Methods 0.000 description 1
- 230000008018 melting Effects 0.000 description 1
- 238000000034 method Methods 0.000 description 1
- 238000002156 mixing Methods 0.000 description 1
- 229910052750 molybdenum Inorganic materials 0.000 description 1
- 239000011733 molybdenum Substances 0.000 description 1
- 238000000465 moulding Methods 0.000 description 1
- 229910052863 mullite Inorganic materials 0.000 description 1
- 229910052759 nickel Inorganic materials 0.000 description 1
- TWNQGVIAIRXVLR-UHFFFAOYSA-N oxo(oxoalumanyloxy)alumane Chemical compound O=[Al]O[Al]=O TWNQGVIAIRXVLR-UHFFFAOYSA-N 0.000 description 1
- 239000002245 particle Substances 0.000 description 1
- 229920003192 poly(bis maleimide) Polymers 0.000 description 1
- 229920001296 polysiloxane Polymers 0.000 description 1
- 230000002265 prevention Effects 0.000 description 1
- 229920005989 resin Polymers 0.000 description 1
- 239000011347 resin Substances 0.000 description 1
- 230000004044 response Effects 0.000 description 1
- HBMJWWWQQXIZIP-UHFFFAOYSA-N silicon carbide Chemical compound [Si+]#[C-] HBMJWWWQQXIZIP-UHFFFAOYSA-N 0.000 description 1
- 229910010271 silicon carbide Inorganic materials 0.000 description 1
- -1 silver halide Chemical class 0.000 description 1
- 238000004088 simulation Methods 0.000 description 1
- 238000005245 sintering Methods 0.000 description 1
- 229910000679 solder Inorganic materials 0.000 description 1
- 239000000725 suspension Substances 0.000 description 1
Images
Classifications
-
- G—PHYSICS
- G01—MEASURING; TESTING
- G01C—MEASURING DISTANCES, LEVELS OR BEARINGS; SURVEYING; NAVIGATION; GYROSCOPIC INSTRUMENTS; PHOTOGRAMMETRY OR VIDEOGRAMMETRY
- G01C19/00—Gyroscopes; Turn-sensitive devices using vibrating masses; Turn-sensitive devices without moving masses; Measuring angular rate using gyroscopic effects
- G01C19/56—Turn-sensitive devices using vibrating masses, e.g. vibratory angular rate sensors based on Coriolis forces
- G01C19/5607—Turn-sensitive devices using vibrating masses, e.g. vibratory angular rate sensors based on Coriolis forces using vibrating tuning forks
-
- G—PHYSICS
- G01—MEASURING; TESTING
- G01C—MEASURING DISTANCES, LEVELS OR BEARINGS; SURVEYING; NAVIGATION; GYROSCOPIC INSTRUMENTS; PHOTOGRAMMETRY OR VIDEOGRAMMETRY
- G01C19/00—Gyroscopes; Turn-sensitive devices using vibrating masses; Turn-sensitive devices without moving masses; Measuring angular rate using gyroscopic effects
- G01C19/56—Turn-sensitive devices using vibrating masses, e.g. vibratory angular rate sensors based on Coriolis forces
- G01C19/5607—Turn-sensitive devices using vibrating masses, e.g. vibratory angular rate sensors based on Coriolis forces using vibrating tuning forks
- G01C19/5628—Manufacturing; Trimming; Mounting; Housings
-
- G—PHYSICS
- G01—MEASURING; TESTING
- G01C—MEASURING DISTANCES, LEVELS OR BEARINGS; SURVEYING; NAVIGATION; GYROSCOPIC INSTRUMENTS; PHOTOGRAMMETRY OR VIDEOGRAMMETRY
- G01C19/00—Gyroscopes; Turn-sensitive devices using vibrating masses; Turn-sensitive devices without moving masses; Measuring angular rate using gyroscopic effects
- G01C19/56—Turn-sensitive devices using vibrating masses, e.g. vibratory angular rate sensors based on Coriolis forces
- G01C19/5607—Turn-sensitive devices using vibrating masses, e.g. vibratory angular rate sensors based on Coriolis forces using vibrating tuning forks
- G01C19/5621—Turn-sensitive devices using vibrating masses, e.g. vibratory angular rate sensors based on Coriolis forces using vibrating tuning forks the devices involving a micromechanical structure
-
- H—ELECTRICITY
- H01—ELECTRIC ELEMENTS
- H01L—SEMICONDUCTOR DEVICES NOT COVERED BY CLASS H10
- H01L2224/00—Indexing scheme for arrangements for connecting or disconnecting semiconductor or solid-state bodies and methods related thereto as covered by H01L24/00
- H01L2224/01—Means for bonding being attached to, or being formed on, the surface to be connected, e.g. chip-to-package, die-attach, "first-level" interconnects; Manufacturing methods related thereto
- H01L2224/02—Bonding areas; Manufacturing methods related thereto
- H01L2224/04—Structure, shape, material or disposition of the bonding areas prior to the connecting process
- H01L2224/05—Structure, shape, material or disposition of the bonding areas prior to the connecting process of an individual bonding area
- H01L2224/0554—External layer
- H01L2224/0555—Shape
- H01L2224/05552—Shape in top view
- H01L2224/05554—Shape in top view being square
-
- H—ELECTRICITY
- H01—ELECTRIC ELEMENTS
- H01L—SEMICONDUCTOR DEVICES NOT COVERED BY CLASS H10
- H01L2224/00—Indexing scheme for arrangements for connecting or disconnecting semiconductor or solid-state bodies and methods related thereto as covered by H01L24/00
- H01L2224/01—Means for bonding being attached to, or being formed on, the surface to be connected, e.g. chip-to-package, die-attach, "first-level" interconnects; Manufacturing methods related thereto
- H01L2224/42—Wire connectors; Manufacturing methods related thereto
- H01L2224/47—Structure, shape, material or disposition of the wire connectors after the connecting process
- H01L2224/49—Structure, shape, material or disposition of the wire connectors after the connecting process of a plurality of wire connectors
- H01L2224/491—Disposition
- H01L2224/4912—Layout
- H01L2224/49175—Parallel arrangements
Landscapes
- Engineering & Computer Science (AREA)
- Physics & Mathematics (AREA)
- General Physics & Mathematics (AREA)
- Radar, Positioning & Navigation (AREA)
- Remote Sensing (AREA)
- Manufacturing & Machinery (AREA)
- Gyroscopes (AREA)
Abstract
【解決手段】物理量センサーは、ジャイロ素子と電気的に接続されるIC10が配置されているベース6と、ベース6に配置されている配線群と、を有している。複数のデジタル信号配線を含む第1の配線の内部端子806a、807a、808a、809aを、ベース6の長軸方向に沿う第1の軸J1に沿って並んで配置し、検出信号を含む複数の第2の配線の内部端子801b、802bを、第1の軸J1に交差し、ベース6の短軸方向に沿う第2の軸J2に沿って、複数の第1の配線の内部端子における第1の軸J1方向の中央線Jcに対して、第2の軸J2と反対側に配置する。第2の配線とデジタル信号配線とを大きく離間させる。
【選択図】図10
Description
特許文献1に記載の角速度センサーは、パッケージと、パッケージに収容されている振ジャイロ素子およびICと、を有している。また、パッケージ(ベース)には複数の配線が形成されており、当該配線を介して、ICの所定の端子がジャイロ素子と電気的に接続されていたり、外部へ引き出されていたりする。より具体的には、複数の配線には、少なくとも、ジャイロ素子が有する第1の検出端子と電気的に接続されている第1検出配線と、第2の検出端子と電気的に接続されている第2検出配線と、ICへ信号を入力したり、ICから信号が出力されたりする入出力配線と、が含まれている。
本発明は、ノイズ干渉を低減することのできるパッケージ、電子部品搭載パッケージ、物理量センサー、電子機器および移動体を提供することを目的とする。
[適用例1]
本適用例のパッケージは、電子部品が配置されるベースと、
前記ベースに配置されている複数の配線と、
を有し、
前記配線は、
前記電子部品と接続される内部端子を有する複数の第1の配線と、
前記電子部品と接続される内部端子を有する複数の第2の配線と、
を有し、
前記複数の第1の配線の前記内部端子は、第1の軸に沿って並んで配置され、
前記複数の第2の配線の前記内部端子は、前記第1の軸に交差する第2の軸に沿って並んで配置され、
前記第2の配線は、前記物理量検出素子の検出電極に電気的に接続される検出信号配線を含み、
前記複数の第1の配線は、デジタル信号を伝送するデジタル信号配線を含み、
前記デジタル信号配線の内部端子は、前記複数の第1の配線の前記複数の内部端子における前記第1の軸方向の中央線に対して、前記第2の軸と反対側に配置されていることを特徴とする。
これにより、第1の配線と第2の配線とを離間させることができるため、第1の配線から第2の配線へのノイズ干渉を低減することができる。
本適用例のパッケージは、電子部品が配置されるベースと、
前記ベースに配置されている配線と、
を有し、
前記ベースは、前記ベースの平面視にて、
第1の外縁と、
前記第1の外縁の一端側に位置し、前記第1の外縁と交差する方向に延在する第2の外縁と、
を有し、
前記配線は、
前記電子部品に接続される内部端子、および前記ベースの前記第1の外縁に対応する側面に配置されている側面電極、を有する第1の配線と、
前記第2の外縁に平行な軸に沿って並んで配置され、前記電子部品と接続される内部端子を有する複数の第2の配線と、
を有し、
前記第1の配線は、デジタル信号を伝送するデジタル信号配線を含み、
前記第2の配線は、前記物理量検出素子の検出電極に電気的に接続される検出信号配線を含むことを特徴とする。
これにより、第1の配線と第2の配線とを離間させることができるため、第1の配線から第2の配線へのノイズ干渉を低減することができる。
本適用例のパッケージでは、前記第1の配線は、複数であり、
前記第1の配線の前記内部端子は、前記第1の外縁に平行な軸に沿って並んで配置されていることが好ましい。
これにより、第1の配線の内部端子と第2の配線の内部端子とを離間させることができ、第1の配線から第2の配線へのノイズ干渉が低減される。
本適用例のパッケージでは、前記デジタル信号配線の前記内部端子と前記検出信号配線の前記内部端子との間に、接地配線および電位が固定されている固定電位配線の少なくとも一方が配置されていることが好ましい。
これにより、接地配線または固定電位配線がシールド層として機能するため、第1の配線から第2の配線へのノイズ干渉がより低減される。
本適用例のパッケージは、電子部品が配置されるベースと、
前記ベースに配置されている複数の配線と、
を有し、
前記複数の配線は、
前記電子部品と接続される内部端子を有する複数の第1の配線と、
前記電子部品と接続される内部端子を有する第2の配線と、
を有し、
前記複数の第1の配線は、デジタル信号を伝送するデジタル信号配線を含み、
前記第2の配線は、前記物理量検出素子の検出電極に電気的に接続される検出信号配線を含み、
前記デジタル信号配線と前記検出信号配線との間に、接地配線または電位が固定されている固定電位配線が配置されていることを特徴とする。
これにより、接地配線または固定電位配線がシールド層として機能するため、第1の配線から第2の配線へのノイズ干渉が低減される。
本適用例のパッケージでは、前記ベースは、前記ベースの平面視にて、
第1の外縁と、
前記第1の外縁の一端側に位置し、前記第1の外縁と交差する方向に延在する第2の外縁と、
を有し、
前記複数の第1の配線の内部端子は、前記第1の外縁と平行な第1の軸に沿って配置され、
前記第2の配線は、複数であり、
前記複数の第2の配線の内部端子は、前記第2の外縁と平行な第2の軸に沿って配置されていることが好ましい。
これにより、第1の配線と第2の配線とを離間させることができ、第1の配線から第2の配線へのノイズ干渉がより低減される。
本適用例のパッケージでは、前記デジタル信号配線の内部端子は、前記第1の外縁の他端側に配置されていることが好ましい。
これにより、第1の配線と第2の配線とをより離間させることができ、第1の配線から第2の配線へのノイズ干渉がさらに低減される。
本適用例の電素子搭載パッケージは、本適用例のパッケージと、
前記電子部品と、
を有することを特徴とする電子部品搭載パッケージ。
これにより、信頼性の高い電子部品搭載パッケージが得られる。
本適用例の電子部品搭載パッケージは、ベースと、
前記ベースに配置された電子部品と、
前記電子部品と接続される第1の配線と、
前記電子部品と接続される第2の配線と、
前記電子部品と前記第1の配線とを接続する第1の導電性ワイヤーと、
前記電子部品と前記第2の配線とを接続する第2の導電性ワイヤーと、
を有し、
前記第1の配線は、デジタル信号を伝送するデジタル信号配線を含み、
前記第2の配線は、前記物理量検出素子の検出電極に電気的に接続される検出信号配線を含み、
前記ベースの平面視にて、前記デジタル信号配線に接続される前記第1の導電性ワイヤーの延在方向と、前記検出信号配線に接続される前記第2の導電性ワイヤーの延在方向とが交差していることを特徴とする。
これにより、第1の導電性ワイヤーと第2の導電性ワイヤーとを離間させることができ、第1の配線から第2の配線へのノイズ干渉が低減される。
[適用例10]
本適用例の電子部品搭載パッケージでは、前記ベースの平面視にて、前記デジタル信号配線に接続される前記第1の導電性ワイヤーの前記延在方向と、前記検出信号配線に接続される前記第2の導電性ワイヤーの前記延在方向とが直交していることが好ましい。
本適用例の物理量センサーは、本適用例の電子部品搭載パッケージと、
前記物理量検出素子と、
を有することを特徴とする。
これにより、信頼性の高い電子部品搭載パッケージが得られる。
本適用例の電子機器は、本適用例の物理量センサーを備えていることを特徴とする。
これにより、信頼性の高い電子機器が得られる。
[適用例12]
本適用例の移動体は、本適用例の物理量センサーを備えていることを特徴とする。
これにより、信頼性の高い移動体が得られる。
1.物理量センサー
<第1実施形態>
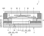
図1は、本発明の第1実施形態に係る物理量センサーの平面図(上面図)である。図2は、図1中のA−A線断面図である。図3は、図1に示す物理量センサーが有するジャイロ素子を示す平面図(上面図)である。図4は、図3に示すジャイロ素子の電極配置を示す平面図(上面図)である。図5は、図3に示すジャイロ素子の電極配置を示す平面図(上側から見た透過図)である。図6は、図3に示すジャイロ素子の動作を説明するための図である。図7は、(a)が第1基板の平面図(上側から見た透過図)、(b)が第2基板の平面図(上面図)である。図8は、(a)が第3基板の平面図(上面図)、(b)が第4基板の平面図(上面図)である。図9は、(a)が第5基板の平面図(上面図)、(b)が第6基板の平面図(上面図)である。図10は、ベースの平面図(上面図)である。図11は、図1に示す振動が有する支持基板の平面図(上面図)である。図12は、支持基板とベースの接合状態を示す平面図(上面図)である。図13は、支持基板とジャイロ素子の接合状態を示す平面図(下面図)である。なお、以下では、説明の便宜上、図1中の紙面手前側および図2中の上側を「上」とも言い、図1中の紙面奥側およびお図2中の下側を「下」とも言う。また、以下では、X軸に沿った方向を「X軸方向」とも言い、Y軸に沿った方向を「Y軸方向」とも言う。
≪ジャイロ素子≫
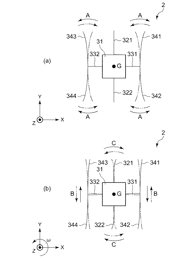
図3に示すように、ジャイロ素子2は、振動片3と、振動片3に形成された電極とを有している。
−振動片−
振動片3の構成材料としては、例えば、水晶、タンタル酸リチウム、ニオブ酸リチウムなどの圧電材料が挙げられる。これらの中でも、振動片3の構成材料としては、水晶を用いることが好ましい。水晶を用いることで、他の材料と比較して優れた周波数温度特性を有するジャイロ素子2が得られる。なお、以下では、振動片3を水晶で構成した場合について説明する。
第1駆動腕341は、第1連結腕331の先端部から+Y軸方向に延出し、その先端部には幅広のハンマーヘッド3411が設けられている。また、第2駆動腕342は、第1連結腕331の先端部から−Y軸方向に延出し、その先端部には幅広のハンマーヘッド3421が設けられている。また、第3駆動腕343は、第2連結腕332の先端部から+Y軸方向に延出し、その先端部には幅広のハンマーヘッド3431が設けられている。また、第4駆動腕344は、第2連結腕332の先端部から−Y軸方向に延出し、その先端部には幅広のハンマーヘッド3441が設けられている。これら4本の駆動腕341、342、343、344は、重心Gに関して点対称に配置されている。なお、ハンマーヘッド3411、3421、3431、3441は、必要に応じて設ければよく、省略してもよい。また、必要に応じて、駆動腕341、342、343、344の上面および下面に長さ方向に延在する有底の溝を形成してもよい。
図4および図5に示すように、電極は、第1検出信号電極411と、第1検出信号端子412と、第1検出接地電極421と、第1検出接地端子422と、第2検出信号電極431と、第2検出信号端子432と、第2検出接地電極441と、第2検出接地端子442と、駆動信号電極451と、駆動信号端子452と、駆動接地電極461と、駆動接地端子462と、を有している。なお、図3および図4では、説明の便宜上、第1、第2検出信号電極411、431および第1、第2検出信号端子412、432、第1、第2検出接地電極421、441および第1、第2検出接地端子422、442、駆動信号電極451および駆動信号端子452、駆動接地電極461および駆動接地端子462を、それぞれ異なるハッチングで図示している。また、振動片3の側面に形成されている電極を太線で図示している。
駆動信号端子452は、基部31の−X軸側の列の中央部(すなわち、第1検出接地端子422と第2検出接地端子442との間)に設けられており、図示しない配線を介して第1、第2、第3、第4駆動腕341、342、343、344に形成された駆動信号電極451と電気的に接続されている。
駆動接地端子462は、基部31の+X軸側の列の中央部(すなわち、第1検出信号端子412と第2検出信号端子432との間)に設けられており、図示しない配線を介して第1、第2、第3、第4駆動腕341、342、343、344に形成された駆動接地電極461と電気的に接続されている。
なお、ハンマーヘッド3211、3221上に形成されている金属膜は、検出振動モードの周波数を調整するための調整膜として機能し、例えば、レーザー照射等によって金属膜の一部を除去し、第1、第2検出腕321、322の質量を調整することで、検出モードの周波数を調整することができる。一方、ハンマーヘッド3411、3421、3431、3441上に形成されている金属膜は、駆動振動モードの周波数を調整するための調整膜として機能し、例えば、レーザー照射等によって金属膜の一部を除去し、駆動腕341、342、343、344の質量を調整することで、駆動モードの周波数を調整することができる。
以上、ジャイロ素子2の構成について簡単に説明した。次に、ジャイロ素子2の駆動について簡単に説明する。
図1および図2に示すように、パッケージ5は、上面に開口する凹部61を有する箱状のベース(基体)6と、凹部61の開口を塞いでベース6に接合された板状のリッド(蓋体)7と、を有している。そして、凹部61の開口がリッド7によって塞がれることにより形成された内部空間S内に上述したジャイロ素子2が収納されている。内部空間Sの雰囲気は、特に限定されないが、本実施形態では、真空状態(例えば、10Pa以下の減圧状態)となっている。
ベース6は、その平面視にて、略長方形(矩形)の外形を有しており、長軸方向に延在している一対の外縁631、632と、短軸方向(長軸方向に交差する方向)に延在している一対の外縁633、634と、を有している。ただし、ベース6の平面視形状は、長方形に限定されず、例えば、正方形であってもよいし、五角形以上の多角形であってもよいし、異形であってもよい。
第1凹部611、第2凹部612および第3凹部613は、それぞれ、その平面視にて、略長方形(矩形)の外形をなし、その長軸方向がベース6の長軸方向とほぼ一致している。
また、図9(a)に示すように、第2凹部612は、長軸方向に延びている一対の長辺612a、612bと、端軸方向に延びている一対の短辺612c、612dと、を有しており、さらに、各角部が丸みを帯びている。また、ベース6の平面視にて、4つの辺612a〜612dは、それぞれ、第1凹部611よりも内側に位置している。また、辺612cにはベース6の外縁633側へ延びている切り欠き651、652が形成されている。
このような凹部61の底面(第3凹部613の底面。第2基板6Bの上面)には、IC10が銀(Ag)ペースト等の導電性接着材Kによって固定されている。IC10は、導電性ワイヤー(ボンディングワイヤー)821〜835によって、ベース6に形成された後述する配線群8に電気的に接続されている。
これら各配線801〜814の構成としては、特に限定されないが、例えば、タングステン(W)、モリブテン(Mo)、マンガン(Mg)などの下地層に、金(Au)などのめっき金属層を積層した金属被膜で構成することができる。めっき金属層は、例えば、電解めっき法によって形成されている。
[S1配線]
図8(b)および図9(a)に示すように、S1配線801は、その一端部にS1内部端子801aを有し、その他端部にS1接続端子801bを有している。そして、S1配線801は、S1内部端子801aにおいてIC10と電気的に接続され、S1接続端子801bにおいて第1検出信号端子412と電気的に接続されている。図10に示すように、S1内部端子801aとIC10との電気接続は、導電性ワイヤー821により行われている。一方、S1接続端子801bと第1検出信号端子412との電気接続は、支持基板9を介して行われている。
このようなS1配線801は、第4基板6Dと第5基板6Eとに跨って形成されている。第4基板6Dから第5基板6Eへの配線の引き回しは、第5基板6Eに形成されているビア(貫通電極)801cによって行われている。なお、ビア801cは、配線に隠れて見えないが、説明の便宜上、その位置を白丸で示している。
図8(b)および図9(a)に示すように、S2配線802は、その一端部にS2内部端子802aを有し、その他端部にS2接続端子802bを有している。そして、S2配線802は、S2内部端子802aにおいてIC10と電気的に接続され、S2接続端子802bにおいて第2検出信号端子432と電気的に接続されている。図10に示すように、S2内部端子802aとIC10との電気接続は、導電性ワイヤー822により行われている。一方、S2接続端子802bと第1検出信号端子432との電気接続は、支持基板9を介して行われている。
以上説明したS1配線801およびS2配線802は、ベース6の平面視にて、ベース6の中心と交わりベース6の長軸に沿った直線L(図8(b)参照)に対して線対称に配置されている。
図8(b)および図9(a)に示すように、DG配線805は、その一端部にDG内部端子805aを有し、その他端部にDG接続端子805bを有している。そして、DG配線805は、DG内部端子805aにおいてIC10と電気的に接続され、DG接続端子805bにおいて駆動接地端子462と電気的に接続されている。図10に示すように、DG内部端子805aとIC10との電気接続は、導電性ワイヤー823により行われている。一方、DG接続端子805bと駆動接地端子462との電気接続は、支持基板9を介して行われている。
このようなDG配線805は、第4基板6Dと第5基板6Eとに跨って形成されている。第4基板6Dから第5基板6Eへの配線の引き回しは、第5基板6Eに形成されたビア805cにより行われている。なお、ビア805cは、配線に隠れて見えないが、説明の便宜上、その位置を白丸で示している。
図7および図8に示すように、CLK配線806は、その一端部にCLK内部端子806aを有し、その他端部にCLK外部端子806bを有している。そして、CLK配線806は、CLK内部端子806aにおいてIC10と電気的に接続されている。図10に示すように、CLK内部端子806aとIC10との電気接続は、導電性ワイヤー824により行われている。
このようなCLK配線806は、第4基板6Dから第1基板6Aに跨って形成されている。第4基板6Dから第1基板6Aへの配線の引き回しは、切り欠き640内に形成されたCLK側面電極806cにより行われており、第4基板6Dの上面に形成されている配線を介してCLK内部端子806aとCLK側面電極806cとが接続されている。
図7および図8に示すように、DO配線808は、その一端部にDO内部端子808aを有し、その他端部にDO外部端子808bを有している。そして、DO配線808は、DO内部端子808aにおいてIC10と電気的に接続されている。図10に示すように、DO内部端子808aとIC10との電気接続は、導電性ワイヤー825により行われている。
このようなDO配線808は、第4基板6Dから第1基板6Aに跨って形成されている。第4基板6Dから第1基板6Aへの配線の引き回しは、切り欠き641内に形成されたDO側面電極808cによって行われており、第4基板6Dの上面に形成されている配線を介してDO内部端子808aとDO側面電極808cとが接続されている。
図7および図8に示すように、VDD1配線810は、その一端部にVDD1内部端子810aを有し、その他端部にVDD1外部端子810bを有している。そして、VDD1配線810は、VDD1内部端子810aにおいてIC10と電気的に接続されている。図10に示すように、VDD1内部端子810aとIC10との電気接続は、導電性ワイヤー826により行われている。
図7および図8に示すように、VDD2配線814は、その一端部にVDD2内部端子814aを有し、その他端部にVDD2外部端子814bを有している。そして、VDD2配線814は、VDD2内部端子814aにおいてIC10と電気的に接続されている。図10に示すように、VDD2内部端子814aとIC10との電気接続は、導電性ワイヤー827により行われている。
図7および図8に示すように、DRY配線812は、その一端部にDRY内部端子812aを有し、その他端部にDRY外部端子812bを有している。そして、DRY配線812は、DRY内部端子812aにおいてIC10と電気的に接続されている。図10に示すように、DRY内部端子812aとIC10との電気接続は、導電性ワイヤー828により行われている。
このようなDRY配線812は、第4基板6Dから第1基板6Aに跨って形成されている。第4基板6Dから第1基板6Aへの配線の引き回しは、切り欠き644内に形成されたDRY側面電極812cにより行われており、第4基板6Dの上面に形成されている配線を介してDRY内部端子812aとDRY側面電極812cとが接続されている。
図7および図8に示すように、DS配線804は、その一端部にDS内部端子804aを有し、その他端部にDS接続端子804bを有している。そして、DS配線804は、DS内部端子804aにおいてIC10と電気的に接続され、DS接続端子804bにおいて駆動信号端子452と電気的に接続されている。図10に示すように、DS内部端子804aとIC10との電気接続は、導電性ワイヤー829によって行われている。一方、DS接続端子804bと駆動信号端子452との電気接続は、支持基板9を介して行われている。
このようなDS配線804は、第4基板6Dと第5基板6Eとに跨って形成されている。第4基板6Dから第5基板6Eへの配線の引き回しは、第5基板6Eに形成されたビア804cによって行われている。なお、ビア804cは、配線に隠れて見えないが、説明の便宜上、その位置を白丸で示している。
図7および図8に示すように、DI配線807は、その一端部にDI内部端子807aを有し、その他端部にDI外部端子807bを有している。そして、DI配線807は、DI内部端子807aにおいてIC10と電気的に接続されている。図10に示すように、DI内部端子807aとIC10との電気接続は、導電性ワイヤー830により行われている。
図7および図8に示すように、CS配線809は、その一端部にCS内部端子809aを有し、その他端部にCS外部端子809bを有している。そして、CS配線809は、CS内部端子809aにおいてIC10と電気的に接続されている。図10に示すように、CS内部端子809aとIC10との電気接続は、導電性ワイヤー831により行われている。
図7および図8に示すように、TEST1配線811は、その一端部にTEST1内部端子811aを有し、その他端部にTEST1外部端子811bを有している。そして、TEST1配線811は、TEST1内部端子811aにおいてIC10と電気的に接続されている。図10に示すように、TEST1内部端子811aとIC10との電気接続は、導電性ワイヤー832により行われている。
図7および図8に示すように、TEST2配線813は、その一端部にTEST2内部端子813aを有し、その他端部にTEST2外部端子813bを有している。そして、TEST2配線813は、TEST2内部端子813aにおいてIC10と電気的に接続されている。図10に示すように、TEST2内部端子813aとIC10との電気接続は、導電性ワイヤー833により行われている。
図7、図8および図9に示すように、GND配線803は、全ての基板6A〜6Fに跨って形成されている。そして、GND配線803は、各基板6A〜6Fにおいて、他の配線801、802、804〜814の引き回しを阻害しない範囲で、広く拡がって配置されている。具体的には、GND配線803は、第2基板6Bでは大半の領域に、第3、第4基板6C、6Dでは第3凹部613の周囲を囲むように、第5基板6Eでは、第2凹部612の周囲を囲むように「コ」の字状に、第6基板6Fでは第1凹部611の周囲を囲む環状に、それぞれ、設けられている。
なお、第6基板6Fに配置されているGND配線803は、リッド7との接合に用いられるメタライズ層803’としても機能する。
また、各基板6A〜6F上のGND配線803は、切り欠き649に形成されているGND側面電極803dや、第3基板6C〜第6基板6Fに形成されているビア803eを介して電気的に接続されている。具体的には、第6基板6Fから第5基板6Eへの配線の引き回しは、第6基板6Fに形成された複数のビア803eにより行われ、第5基板6Eから第4基板6Dへの配線の引き回しは、第5基板6Eに形成されたビア803eにより行われ、第4基板6Dから第3基板6Cへの配線の引き回しは、第4基板6Dに形成されたビア803eにより行われ、第3基板6Cから第2基板6Bへの配線引き回しおよび第2基板6Bから第1基板6Aへの配線の引き回しは、それぞれ、切り欠き659に形成されたGND側面電極803dにより行われている。なお、ビア803eは、配線に隠れて見えないが、説明の便宜上、その位置を白丸で示している。
図1および図2に示すように、リッド7は、板状であり、角部が丸み付けされた略長方形状をなしている。このようなリッド7は、例えば、その下面に配置されている図示しない金属ろう材を介してベース6の上面に設けられているメタライズ層803’(GND配線803)に接合されている。
支持基板9は、従来から知られるTAB(Tape Automated Bonding)実装用の基板である。
図1および図11に示すように、支持基板9は、枠状の基部91と、基部91に設けられた6本のボンディングリード(配線)92、93、94、95、96、97と、を有している。
基部91は、例えば、ポリイミド等の可撓性を有する樹脂で構成されている。また、基部91は、略長方形の外形形状を有しており、その長軸がパッケージ5の長軸と一致するように第1凹部611内に配置されている。
そして、ボンディングリード92、93、94の先端部とボンディングリード95、96、97の先端部とが、開口部911の中央で対向している。
以上、物理量センサー1の構成について詳細に説明した。このような構成の物理量センサー1では、主に、次のような効果を発揮することができる。
第1に、物理量センサー1では、複数の第1の配線(配線803、804、806、807、808、809、810、811、812、813、814)の内部端子(内部端子803a、804a、806a、807a、808a、809a、810a、811a、812a、813a、814a)は、ベース6の長軸方向に沿う第1の軸J1に沿って並んで配置されており、複数の第2の配線(配線801、802、805)の内部端子(内部端子801a、802a、805a)は、第1の軸J1に交差し、ベース6の短軸方向に沿う第2の軸J2に沿って並んで配置されている。また、複数の第1の配線には、デジタル信号配線(CLK配線806、DI配線807、DO配線808およびCS配線809)が含まれており、これらの内部端子806a、807a、808a、809aが、複数の第1の配線の内部端子における第1の軸J1方向の中央線Jcに対して、第2の軸J2と反対側に配置されている。ここで、デジタル信号配線で伝送されるデジタル信号は、特に前述のノイズ源になり易い。そのため、物理量センサー1では、上記配置とすることで、S1、S2配線801、802とデジタル信号配線とを大きく離間させ、これにより、デジタル信号配線からS1、S2配線801、802へのノイズ干渉が効果的に低減されている。したがって、物理量センサー1によれば、S1、S2配線801、802へのノイズ干渉が低減され、高精度に角速度ωを検出することができる。
第2に、前述したように、物理量センサー1では、ベース6の外縁(第1の外縁)631、632に対応する側面631’、632’に、第1の配線が有する側面電極(803d、806c、807c、807c、808c、809c、810c、811c、812c、813c、814c)が配置されている。これにより、S1、S2配線801、802と、各側面電極とを離間させることができる。したがって、第1の配線からS1、S2配線801、802へのノイズ干渉が低減され、高精度に角速度ωを検出することができる。特に、本実施形態では、デジタル信号配線の側面電極806c、807c、808c、809cを、S1、S2内部端子801a、802aと反対側に配置したことで、これら側面電極806c、807c、808c、809cと、S1、S2配線801、802とをより大きく離間させている。したがって、上記効果がより顕著となり、物理量センサー1は、より高精度に角速度ωを検出することができる。
第3に、前述したように、物理量センサー1では、ベースの底面には、外縁(第1の外縁)631、632に沿って、CLK外部端子806bと、DO外部端子808bと、VDD1外部端子810bと、VDD2外部端子814bと、DRY外部端子812bと、DI外部端子807bと、CS外部端子809bと、TEST1外部端子811bと、TEST2外部端子813bと、が配置されている。このような外部端子の配置とすることで、パッケージサイズを維持したまま、S1、S2配線801、802と、各外部端子806b〜814bとをなるべく大きく離間させることができる。したがって、他の配線(特に側面電極)からS1、S2配線801、802へのノイズ干渉が低減され、高精度に角速度ωを検出することができる。
第4に、前述したように、物理量センサー1では、S1配線801と、CLK配線806、DO配線808、VDD1配線810、VDD2配線814およびDRY配線812との間に、GND配線803(GND内部端子803a’)が配置されており、同様に、S2配線802と、DS配線804、DI配線807、CS配線809、TEST1配線811およびTEST2配線813との間にGND配線803(GND内部端子803a”)が配置されている。そのため、GND配線803がノイズを遮断するシールド層として機能し、CLK配線806、DO配線808、VDD1配線810、VDD2配線814およびDRY配線812からのノイズのS1、S2配線801、802への混入、および、DS配線804、DI配線807、CS配線809、TEST1配線811およびTEST2配線813からのノイズのS1、S2配線801、802への混入を、それぞれ、低減している。したがって、他の配線からS1、S2配線801、802へのノイズ干渉が低減され、高精度に角速度ωを検出することができる。
特に、本実施形態のように、CLK配線806、DI配線807、DO配線808、CS配線809と、S1、S2配線801、802との間に、GND配線803を配置することによって、上述した理由と同様の理由で、上記効果がより顕著となり、より高精度に角速度ωを検出することができる。
第5に、デジタル信号配線としてのCLK内部端子806a、DO内部端子808a、DI内部端子807a、CS内部端子809aに接続される導電性ワイヤー824、825、830、831の延在方向と、検出信号配線の内部端子としてのS1、S2内部端子801a、802aに接続される導電性ワイヤー821、822の延在方向とが直交している。詳述すれば、導電性ワイヤー824、825、830、831にデジタル信号が流れることにより、当該導電性ワイヤーの軸を中心として、同心円状に磁界が発生する。
なお、導電性ワイヤー824、825、830、831の延在方向と、導電性ワイヤー821、822の延在方向とが、直交している例で説明したが、交差している場合でも、導電性ワイヤー821、822へ電気的なノイズ信号が重畳されることを抑制できる。
第6に、前述したように、物理量センサー1では、各内部端子801a〜814aが形成されている第4基板6Dを挟み込むように第3基板6Cと第5基板6Eとが配置されており、これら第3、第5基板6C、6Eには、それぞれ、GND配線803が設けられている。これにより、第4基板6D上に配置されている各配線801、802、804〜814が、GND配線803によって挟み込まれた構成となっている。前述したように、GND配線803は、S1、S2配線801、802へのノイズの混入を低減するシールド層として機能する。そのため、このような構成とすることによって、他の配線からS1、S2配線801、802へのノイズ干渉が低減され、高精度に角速度ωを検出することができる。
第7に、物理量センサー1では、ボンディングリード93が、S1配線801(S1内部端子801a)と重なるように配置されている。このように、S1配線801と電気的に接続されているボンディングリード93をS1配線801に近接して配置することにより、相対的に、S1配線801と電気的に接続されていない他のボンディングリード92、94をS1配線801から離間させることができる。そのため、ボンディングリード92、94からS1配線801へのノイズ干渉を低減することができる。
以上、物理量センサー1が発揮することのできる効果について説明した。
図14は、本発明の第2実施形態に係る物理量センサーの平面図(上面図)である。
以下、第2実施形態の物理量センサーについて前述した実施形態との相違点を中心に説明し、同様の事項については、その説明を省略する。
第2実施形態の物理量センサーは、ジャイロ素子の構成が異なることと、それに伴って支持基板が省略されていること以外は、前述した第1実施形態の物理量センサーと同様である。なお、図14では、前述した実施形態と同様の構成には同一符号を付してある。
図14に示すように、本実施形態の物理量センサー1は、前述した第1実施形態と比べて支持基板9が省略された構成となっている。
本実施形態のジャイロ素子2は、前述した第1実施形態のジャイロ素子2と比べて、第1、第2支持部351、352と、第1、第2、第3、第4梁361、362、363、364と、を追加した構成となっている。
第1、第2支持部351、352は、基部31を介してY軸方向に対向配置されている。また、第1、第2支持部351、352は、それぞれ、X軸方向に延在して配置されている。そして、基部31は、第1、第3梁361、363によって第1支持部351に支持されており、第2、第4梁362、364によって第2支持部352に支持されている。
次いで、物理量センサー1を適用した電子機器について、図15〜図17に基づき、詳細に説明する。
図15は、本発明の物理量センサーを備える電子機器を適用したモバイル型(またはノート型)のパーソナルコンピューターの構成を示す斜視図である。この図において、パーソナルコンピューター1100は、キーボード1102を備えた本体部1104と、表示部1108を備えた表示ユニット1106とにより構成され、表示ユニット1106は、本体部1104に対しヒンジ構造部を介して回動可能に支持されている。このようなパーソナルコンピューター1100には、角速度検知手段として機能する物理量センサー1が内蔵されている。
また、ケース1302の正面側(図中裏面側)には、光学レンズ(撮像光学系)やCCDなどを含む受光ユニット1304が設けられている。
撮影者が表示部に表示された被写体像を確認し、シャッターボタン1306を押下すると、その時点におけるCCDの撮像信号が、メモリー1308に転送・格納される。
このようなディジタルスチルカメラ1300には、角速度検知手段として機能する物理量センサー1が内蔵されている。
次いで、図1に示す物理量センサーを適用した移動体について、図18に基づき、詳細に説明する。
図18は、本発明の物理量センサーを備える移動体を適用した自動車の構成を示す斜視図である。自動車1500には、角速度検知手段として機能する物理量センサー1が内蔵されており、物理量センサー1によって車体1501の姿勢を検出することができる。物理量センサー1からの信号は、車体姿勢制御装置1502に供給され、車体姿勢制御装置1502は、その信号に基づいて車体1501の姿勢を検出し、検出結果に応じてサスペンションの硬軟を制御したり、個々の車輪1503のブレーキを制御したりすることができる。その他、このような姿勢制御は、二足歩行ロボットやラジコンヘリコプターで利用することができる。以上のように、各種移動体の姿勢制御の実現にあたって、物理量センサー1が組み込まれる。
Claims (13)
- 電子部品が配置されるベースと、
前記ベースに配置されている複数の配線と、
を有し、
前記配線は、
前記電子部品と接続される内部端子を有する複数の第1の配線と、
前記電子部品と接続される内部端子を有する複数の第2の配線と、
を有し、
前記複数の第1の配線の前記内部端子は、第1の軸に沿って並んで配置され、
前記複数の第2の配線の前記内部端子は、前記第1の軸に交差する第2の軸に沿って並んで配置され、
前記第2の配線は、前記物理量検出素子の検出電極に電気的に接続される検出信号配線を含み、
前記複数の第1の配線は、デジタル信号を伝送するデジタル信号配線を含み、
前記デジタル信号配線の内部端子は、前記複数の第1の配線の前記複数の内部端子における前記第1の軸方向の中央線に対して、前記第2の軸と反対側に配置されていることを特徴とするパッケージ。 - 電子部品が配置されるベースと、
前記ベースに配置されている配線と、
を有し、
前記ベースは、前記ベースの平面視にて、
第1の外縁と、
前記第1の外縁の一端側に位置し、前記第1の外縁と交差する方向に延在する第2の外縁と、
を有し、
前記配線は、
前記電子部品に接続される内部端子、および前記ベースの前記第1の外縁に対応する側面に配置されている側面電極、を有する第1の配線と、
前記第2の外縁に平行な軸に沿って並んで配置され、前記電子部品と接続される内部端子を有する複数の第2の配線と、
を有し、
前記第1の配線は、デジタル信号を伝送するデジタル信号配線を含み、
前記第2の配線は、前記物理量検出素子の検出電極に電気的に接続される検出信号配線を含むことを特徴とするパッケージ。 - 前記第1の配線は、複数であり、
前記第1の配線の前記内部端子は、前記第1の外縁に平行な軸に沿って並んで配置されている請求項2に記載のパッケージ。 - 前記デジタル信号配線の前記内部端子と前記検出信号配線の前記内部端子との間に、接地配線および電位が固定されている固定電位配線の少なくとも一方が配置されている請求項1ないし3のいずれか1項に記載のパッケージ。
- 電子部品が配置されるベースと、
前記ベースに配置されている複数の配線と、
を有し、
前記複数の配線は、
前記電子部品と接続される内部端子を有する複数の第1の配線と、
前記電子部品と接続される内部端子を有する第2の配線と、
を有し、
前記複数の第1の配線は、デジタル信号を伝送するデジタル信号配線を含み、
前記第2の配線は、前記物理量検出素子の検出電極に電気的に接続される検出信号配線を含み、
前記デジタル信号配線と前記検出信号配線との間に、接地配線または電位が固定されている固定電位配線が配置されていることを特徴とするパッケージ。 - 前記ベースは、前記ベースの平面視にて、
第1の外縁と、
前記第1の外縁の一端側に位置し、前記第1の外縁と交差する方向に延在する第2の外縁と、
を有し、
前記複数の第1の配線の内部端子は、前記第1の外縁と平行な第1の軸に沿って配置され、
前記第2の配線は、複数であり、
前記複数の第2の配線の内部端子は、前記第2の外縁と平行な第2の軸に沿って配置されている請求項5に記載のパッケージ。 - 前記デジタル信号配線の内部端子は、前記第1の外縁の他端側に配置されている請求項3または6に記載のパッケージ。
- 請求項1ないし7のいずれか1項に記載のパッケージと、
前記電子部品と、
を有することを特徴とする電子部品搭載パッケージ。 - ベースと、
前記ベースに配置された電子部品と、
前記電子部品と接続される第1の配線と、
前記電子部品と接続される第2の配線と、
前記電子部品と前記第1の配線とを接続する第1の導電性ワイヤーと、
前記電子部品と前記第2の配線とを接続する第2の導電性ワイヤーと、
を有し、
前記第1の配線は、デジタル信号を伝送するデジタル信号配線を含み、
前記第2の配線は、前記物理量検出素子の検出電極に電気的に接続される検出信号配線を含み、
前記ベースの平面視にて、前記デジタル信号配線に接続される前記第1の導電性ワイヤーの延在方向と、前記検出信号配線に接続される前記第2の導電性ワイヤーの延在方向とが交差していることを特徴とする電子部品搭載パッケージ。 - 前記ベースの平面視にて、前記デジタル信号配線に接続される前記第1の導電性ワイヤーの前記延在方向と、前記検出信号配線に接続される前記第2の導電性ワイヤーの前記延在方向とが直交している請求項9に記載の電子部品搭載パッケージ。
- 請求項8ないし10のいずれか1項に記載の電子部品搭載パッケージと、
前記物理量検出素子と、
を有することを特徴とする物理量センサー。 - 請求項11に記載の物理量センサーを備えていることを特徴とする電子機器。
- 請求項11に記載の物理量センサーを備えていることを特徴とする移動体。
Priority Applications (3)
| Application Number | Priority Date | Filing Date | Title |
|---|---|---|---|
| JP2013242556A JP6357758B2 (ja) | 2013-11-25 | 2013-11-25 | 物理量センサー、電子機器および移動体 |
| CN201410676341.0A CN104655117B (zh) | 2013-11-25 | 2014-11-21 | 封装件、物理量传感器、电子设备及移动体 |
| US14/551,610 US9823071B2 (en) | 2013-11-25 | 2014-11-24 | Package, electronic component mounted package, physical quantity sensor, electronic device, and moving object |
Applications Claiming Priority (1)
| Application Number | Priority Date | Filing Date | Title |
|---|---|---|---|
| JP2013242556A JP6357758B2 (ja) | 2013-11-25 | 2013-11-25 | 物理量センサー、電子機器および移動体 |
Related Child Applications (1)
| Application Number | Title | Priority Date | Filing Date |
|---|---|---|---|
| JP2018117853A Division JP6753435B2 (ja) | 2018-06-21 | 2018-06-21 | 物理量センサー、電子機器および移動体 |
Publications (3)
| Publication Number | Publication Date |
|---|---|
| JP2015102403A true JP2015102403A (ja) | 2015-06-04 |
| JP2015102403A5 JP2015102403A5 (ja) | 2017-01-12 |
| JP6357758B2 JP6357758B2 (ja) | 2018-07-18 |
Family
ID=53181520
Family Applications (1)
| Application Number | Title | Priority Date | Filing Date |
|---|---|---|---|
| JP2013242556A Active JP6357758B2 (ja) | 2013-11-25 | 2013-11-25 | 物理量センサー、電子機器および移動体 |
Country Status (3)
| Country | Link |
|---|---|
| US (1) | US9823071B2 (ja) |
| JP (1) | JP6357758B2 (ja) |
| CN (1) | CN104655117B (ja) |
Cited By (2)
| Publication number | Priority date | Publication date | Assignee | Title |
|---|---|---|---|---|
| JP2017078630A (ja) * | 2015-10-20 | 2017-04-27 | セイコーエプソン株式会社 | 物理量検出装置、電子機器および移動体 |
| US11209272B2 (en) | 2018-03-23 | 2021-12-28 | Seiko Epson Corporation | Circuit device, physical quantity measurement device, electronic apparatus, and vehicle |
Families Citing this family (7)
| Publication number | Priority date | Publication date | Assignee | Title |
|---|---|---|---|---|
| JP6805697B2 (ja) * | 2016-10-03 | 2020-12-23 | セイコーエプソン株式会社 | 電子部品用パッケージ、発振器、電子機器、および移動体 |
| JP6819216B2 (ja) * | 2016-10-26 | 2021-01-27 | セイコーエプソン株式会社 | ジャイロセンサー、ジャイロセンサーの製造方法、電子機器および移動体 |
| JP6926568B2 (ja) * | 2017-03-24 | 2021-08-25 | セイコーエプソン株式会社 | 物理量センサー、電子機器および移動体 |
| JP2019174234A (ja) * | 2018-03-28 | 2019-10-10 | セイコーエプソン株式会社 | センサー素子、センサーデバイス、力検出装置、およびロボット |
| JP2020139879A (ja) | 2019-02-28 | 2020-09-03 | セイコーエプソン株式会社 | 慣性センサー、電子機器および移動体 |
| JP7251383B2 (ja) * | 2019-07-29 | 2023-04-04 | セイコーエプソン株式会社 | 振動デバイス、電子機器および移動体 |
| US11522120B1 (en) * | 2021-07-02 | 2022-12-06 | Yoketan Corp. | Micro crystal oscillator |
Citations (4)
| Publication number | Priority date | Publication date | Assignee | Title |
|---|---|---|---|---|
| JPH10284605A (ja) * | 1997-04-08 | 1998-10-23 | Mitsubishi Electric Corp | 半導体集積回路およびセルベース方式によりレイアウト設計された半導体集積回路 |
| JP2005182572A (ja) * | 2003-12-22 | 2005-07-07 | Toshiba Microelectronics Corp | 半導体集積回路のレイアウト設計方法及びレイアウト設計装置 |
| EP1808405A2 (en) * | 2006-01-13 | 2007-07-18 | Honeywell International Inc. | Integrated package for MEMS die and IC chip |
| JP2012098033A (ja) * | 2010-10-29 | 2012-05-24 | Panasonic Corp | 角速度センサ |
Family Cites Families (14)
| Publication number | Priority date | Publication date | Assignee | Title |
|---|---|---|---|---|
| CN100381804C (zh) * | 2003-08-26 | 2008-04-16 | 松下电工株式会社 | 传感器装置 |
| JP2005241380A (ja) | 2004-02-25 | 2005-09-08 | Seiko Epson Corp | 圧電デバイスならびに圧電デバイスを利用した携帯電話装置および圧電デバイスを利用した電子機器 |
| JP5092462B2 (ja) * | 2006-06-13 | 2012-12-05 | 株式会社デンソー | 力学量センサ |
| JP5186774B2 (ja) | 2007-02-15 | 2013-04-24 | セイコーエプソン株式会社 | 電荷検出型センサおよびそれに用いるパッケージ容器 |
| EP2011762B1 (en) * | 2007-07-02 | 2015-09-30 | Denso Corporation | Semiconductor device with a sensor connected to an external element |
| JPWO2010026817A1 (ja) * | 2008-09-02 | 2012-02-02 | 株式会社村田製作所 | 音叉型振動子とその製造方法および角速度センサ |
| JP5487672B2 (ja) * | 2009-03-27 | 2014-05-07 | パナソニック株式会社 | 物理量センサ |
| JP5368181B2 (ja) * | 2009-06-12 | 2013-12-18 | セイコーエプソン株式会社 | 物理量検出装置並びに物理量検出装置の制御方法、異常診断システム及び異常診断方法 |
| TW201103107A (en) * | 2009-07-07 | 2011-01-16 | Jung-Tang Huang | Method for packaging micromachined devices |
| JP5552976B2 (ja) * | 2010-09-07 | 2014-07-16 | セイコーエプソン株式会社 | 角速度検出装置及び電子機器 |
| US20120109574A1 (en) * | 2010-10-27 | 2012-05-03 | Mihai-Costin Manolescu | Multi-dimensional vector determining circuit in a sensor integrated circuit package |
| JP5678727B2 (ja) * | 2011-03-03 | 2015-03-04 | セイコーエプソン株式会社 | 振動デバイス、振動デバイスの製造方法、電子機器 |
| JP2013156127A (ja) * | 2012-01-30 | 2013-08-15 | Seiko Epson Corp | 振動片、振動デバイス、物理量検出装置、および電子機器 |
| JP2013178179A (ja) * | 2012-02-28 | 2013-09-09 | Seiko Epson Corp | センサー素子、センサーデバイスおよび電子機器 |
-
2013
- 2013-11-25 JP JP2013242556A patent/JP6357758B2/ja active Active
-
2014
- 2014-11-21 CN CN201410676341.0A patent/CN104655117B/zh active Active
- 2014-11-24 US US14/551,610 patent/US9823071B2/en active Active
Patent Citations (4)
| Publication number | Priority date | Publication date | Assignee | Title |
|---|---|---|---|---|
| JPH10284605A (ja) * | 1997-04-08 | 1998-10-23 | Mitsubishi Electric Corp | 半導体集積回路およびセルベース方式によりレイアウト設計された半導体集積回路 |
| JP2005182572A (ja) * | 2003-12-22 | 2005-07-07 | Toshiba Microelectronics Corp | 半導体集積回路のレイアウト設計方法及びレイアウト設計装置 |
| EP1808405A2 (en) * | 2006-01-13 | 2007-07-18 | Honeywell International Inc. | Integrated package for MEMS die and IC chip |
| JP2012098033A (ja) * | 2010-10-29 | 2012-05-24 | Panasonic Corp | 角速度センサ |
Cited By (2)
| Publication number | Priority date | Publication date | Assignee | Title |
|---|---|---|---|---|
| JP2017078630A (ja) * | 2015-10-20 | 2017-04-27 | セイコーエプソン株式会社 | 物理量検出装置、電子機器および移動体 |
| US11209272B2 (en) | 2018-03-23 | 2021-12-28 | Seiko Epson Corporation | Circuit device, physical quantity measurement device, electronic apparatus, and vehicle |
Also Published As
| Publication number | Publication date |
|---|---|
| CN104655117A (zh) | 2015-05-27 |
| US9823071B2 (en) | 2017-11-21 |
| US20150143903A1 (en) | 2015-05-28 |
| JP6357758B2 (ja) | 2018-07-18 |
| CN104655117B (zh) | 2019-09-06 |
Similar Documents
| Publication | Publication Date | Title |
|---|---|---|
| JP6357758B2 (ja) | 物理量センサー、電子機器および移動体 | |
| JP6957921B2 (ja) | 振動デバイス、角速度センサー、電子機器および移動体 | |
| JP6318590B2 (ja) | 振動素子、振動子、振動デバイス、電子機器および移動体 | |
| JP2016125938A (ja) | 物理量センサー、電子機器および移動体 | |
| US20220236058A1 (en) | Vibrator Device, Electronic Apparatus, And Vehicle | |
| JP6357759B2 (ja) | パッケージ、物理量センサー、電子機器および移動体 | |
| JP6318550B2 (ja) | 振動片、角速度センサー、電子機器および移動体 | |
| JP2017026336A (ja) | 電子デバイス、電子機器、および移動体 | |
| JP6167474B2 (ja) | センサーデバイスおよび電子機器 | |
| JP6753435B2 (ja) | 物理量センサー、電子機器および移動体 | |
| JP7552770B2 (ja) | 振動デバイス、電子機器および移動体 | |
| JP2017015584A (ja) | 電子デバイス、電子デバイスの製造方法、電子機器、および移動体 | |
| JP2021032841A (ja) | 振動デバイス、電子機器および移動体 | |
| JP6507565B2 (ja) | 電子デバイス、電子機器および移動体 | |
| JP6488640B2 (ja) | 電子デバイス、電子機器および移動体 | |
| JP6939007B2 (ja) | センサー、電子機器および移動体 | |
| JP6464662B2 (ja) | 物理量検出振動素子、物理量センサー、電子機器および移動体 | |
| JP2016085179A (ja) | 物理量検出振動素子、物理量センサー、電子機器および移動体 | |
| JP6488639B2 (ja) | 電子デバイス、電子機器および移動体 | |
| JP2015087188A (ja) | 振動素子、振動子、電子機器および移動体 | |
| JP6911446B2 (ja) | センサー素子、センサー、電子機器および移動体 | |
| JP2016085185A (ja) | センサー素子、物理量センサー、電子機器および移動体 | |
| JP6384038B2 (ja) | 振動素子、振動子、電子機器および移動体 | |
| JP2015102331A (ja) | 振動素子、振動子、電子機器および移動体 |
Legal Events
| Date | Code | Title | Description |
|---|---|---|---|
| A521 | Request for written amendment filed |
Free format text: JAPANESE INTERMEDIATE CODE: A523 Effective date: 20161124 |
|
| A621 | Written request for application examination |
Free format text: JAPANESE INTERMEDIATE CODE: A621 Effective date: 20161124 |
|
| A977 | Report on retrieval |
Free format text: JAPANESE INTERMEDIATE CODE: A971007 Effective date: 20170905 |
|
| A131 | Notification of reasons for refusal |
Free format text: JAPANESE INTERMEDIATE CODE: A131 Effective date: 20171010 |
|
| A521 | Request for written amendment filed |
Free format text: JAPANESE INTERMEDIATE CODE: A523 Effective date: 20171207 |
|
| TRDD | Decision of grant or rejection written | ||
| A01 | Written decision to grant a patent or to grant a registration (utility model) |
Free format text: JAPANESE INTERMEDIATE CODE: A01 Effective date: 20180522 |
|
| A61 | First payment of annual fees (during grant procedure) |
Free format text: JAPANESE INTERMEDIATE CODE: A61 Effective date: 20180604 |
|
| R150 | Certificate of patent or registration of utility model |
Ref document number: 6357758 Country of ref document: JP Free format text: JAPANESE INTERMEDIATE CODE: R150 |
