JP2011155152A - 固体撮像装置とその製造方法、並びに電子機器 - Google Patents

固体撮像装置とその製造方法、並びに電子機器 Download PDF

Info

Publication number
JP2011155152A
JP2011155152A JP2010016000A JP2010016000A JP2011155152A JP 2011155152 A JP2011155152 A JP 2011155152A JP 2010016000 A JP2010016000 A JP 2010016000A JP 2010016000 A JP2010016000 A JP 2010016000A JP 2011155152 A JP2011155152 A JP 2011155152A
Authority
JP
Japan
Prior art keywords
region
conductivity type
ion implantation
type ion
state imaging
Prior art date
Legal status (The legal status is an assumption and is not a legal conclusion. Google has not performed a legal analysis and makes no representation as to the accuracy of the status listed.)
Granted
Application number
JP2010016000A
Other languages
English (en)
Other versions
JP5621266B2 (ja
Inventor
Akita Yamada
明大 山田
Atsuhiko Yamamoto
敦彦 山本
Hideo Kido
英男 城戸
Current Assignee (The listed assignees may be inaccurate. Google has not performed a legal analysis and makes no representation or warranty as to the accuracy of the list.)
Sony Corp
Original Assignee
Sony Corp
Priority date (The priority date is an assumption and is not a legal conclusion. Google has not performed a legal analysis and makes no representation as to the accuracy of the date listed.)
Filing date
Publication date
Application filed by Sony Corp filed Critical Sony Corp
Priority to JP2010016000A priority Critical patent/JP5621266B2/ja
Priority to US12/926,998 priority patent/US8809921B2/en
Priority to CN201110022293XA priority patent/CN102169883A/zh
Publication of JP2011155152A publication Critical patent/JP2011155152A/ja
Application granted granted Critical
Publication of JP5621266B2 publication Critical patent/JP5621266B2/ja
Expired - Fee Related legal-status Critical Current
Anticipated expiration legal-status Critical

Links

Images

Classifications

    • HELECTRICITY
    • H10SEMICONDUCTOR DEVICES; ELECTRIC SOLID-STATE DEVICES NOT OTHERWISE PROVIDED FOR
    • H10FINORGANIC SEMICONDUCTOR DEVICES SENSITIVE TO INFRARED RADIATION, LIGHT, ELECTROMAGNETIC RADIATION OF SHORTER WAVELENGTH OR CORPUSCULAR RADIATION
    • H10F39/00Integrated devices, or assemblies of multiple devices, comprising at least one element covered by group H10F30/00, e.g. radiation detectors comprising photodiode arrays
    • H10F39/80Constructional details of image sensors
    • H10F39/803Pixels having integrated switching, control, storage or amplification elements
    • H10F39/8037Pixels having integrated switching, control, storage or amplification elements the integrated elements comprising a transistor
    • H10F39/80377Pixels having integrated switching, control, storage or amplification elements the integrated elements comprising a transistor characterised by the channel of the transistor, e.g. channel having a doping gradient
    • HELECTRICITY
    • H10SEMICONDUCTOR DEVICES; ELECTRIC SOLID-STATE DEVICES NOT OTHERWISE PROVIDED FOR
    • H10FINORGANIC SEMICONDUCTOR DEVICES SENSITIVE TO INFRARED RADIATION, LIGHT, ELECTROMAGNETIC RADIATION OF SHORTER WAVELENGTH OR CORPUSCULAR RADIATION
    • H10F39/00Integrated devices, or assemblies of multiple devices, comprising at least one element covered by group H10F30/00, e.g. radiation detectors comprising photodiode arrays
    • H10F39/011Manufacture or treatment of image sensors covered by group H10F39/12
    • H10F39/014Manufacture or treatment of image sensors covered by group H10F39/12 of CMOS image sensors
    • HELECTRICITY
    • H10SEMICONDUCTOR DEVICES; ELECTRIC SOLID-STATE DEVICES NOT OTHERWISE PROVIDED FOR
    • H10FINORGANIC SEMICONDUCTOR DEVICES SENSITIVE TO INFRARED RADIATION, LIGHT, ELECTROMAGNETIC RADIATION OF SHORTER WAVELENGTH OR CORPUSCULAR RADIATION
    • H10F39/00Integrated devices, or assemblies of multiple devices, comprising at least one element covered by group H10F30/00, e.g. radiation detectors comprising photodiode arrays
    • H10F39/80Constructional details of image sensors
    • H10F39/803Pixels having integrated switching, control, storage or amplification elements
    • H10F39/8033Photosensitive area
    • HELECTRICITY
    • H10SEMICONDUCTOR DEVICES; ELECTRIC SOLID-STATE DEVICES NOT OTHERWISE PROVIDED FOR
    • H10FINORGANIC SEMICONDUCTOR DEVICES SENSITIVE TO INFRARED RADIATION, LIGHT, ELECTROMAGNETIC RADIATION OF SHORTER WAVELENGTH OR CORPUSCULAR RADIATION
    • H10F39/00Integrated devices, or assemblies of multiple devices, comprising at least one element covered by group H10F30/00, e.g. radiation detectors comprising photodiode arrays
    • H10F39/80Constructional details of image sensors
    • H10F39/807Pixel isolation structures
    • HELECTRICITY
    • H10SEMICONDUCTOR DEVICES; ELECTRIC SOLID-STATE DEVICES NOT OTHERWISE PROVIDED FOR
    • H10FINORGANIC SEMICONDUCTOR DEVICES SENSITIVE TO INFRARED RADIATION, LIGHT, ELECTROMAGNETIC RADIATION OF SHORTER WAVELENGTH OR CORPUSCULAR RADIATION
    • H10F39/00Integrated devices, or assemblies of multiple devices, comprising at least one element covered by group H10F30/00, e.g. radiation detectors comprising photodiode arrays
    • H10F39/80Constructional details of image sensors
    • H10F39/813Electronic components shared by multiple pixels, e.g. one amplifier shared by two pixels

Landscapes

  • Solid State Image Pick-Up Elements (AREA)
  • Transforming Light Signals Into Electric Signals (AREA)

Abstract

【課題】横型オ−バーフロー構造を有するCMOS固体撮像装置において、オ−バーフローバリアのばらつきを抑制し、画素特性を向上させる。
【解決手段】半導体基板に形成された光電変換部PDと画素トランジスタからなる複数の画素と、画素内のフローティングディフージョン部FDを有する。また、画素における光電変換部PD側の表面と、画素トランジスタのうちの転送トランジスタの転送ゲート電極28下の半導体基板表面との全面にわたって形成された表面ピニング用の第1導電型半導体領域31を有する。さらに、第1導電型半導体領域31の全域下に形成され、フローティングディフージョン部へのオ−バーフローパスとなるオ−バーフローパス形成用の第2導電型半導体領域32を有する。転送ゲート電極下の第2導電型半導体領域によりオ−バーフローパスを形成するオ−バーフローバリアが形成され、光電変換部の第2導電型半導体領域とオ−バーフローパス形成用の第2導電型半導体領域との重なる領域により電荷蓄積領域が形成される。
【選択図】図3

Description

本発明は、固体撮像装置とその製造方法、並びにこの固体撮像装置を備えた例えばカメラ等に適用される電子機器に関する。
固体撮像装置として、CMOS固体撮像装置が知られている。CMOS固体撮像装置は、電源電圧が低く、低消費電力のため、デジタルスチルカメラ、デジタルビデオカメラ、さらにカメラ付き携帯電話などの各種携帯端末機器、プリンター等に使用されている。
CMOS固体撮像装置は、光電変換部であるフォトダイオードと複数の画素トランジスタからなる画素が複数、規則性をもって2次元配列された画素領域と、画素領域の周辺に配置された周辺回路部とを有して構成される。周辺回路部としては、列方向に信号を伝播する列回路(垂直駆動部)、列回路によって伝播された各列の信号を順次出力回路に伝送する水平回路(水平転送部)等を有している。複数の画素トランジスタとしては、例えば転送トランジスタ、リセットトランジスタ及び増幅トランジスタの3トランジスタによる構成、あるいは選択トランジスタを追加した4トランジスタによる構成等が知られている。
CMOS固体撮像装置では、フォトダイオードで光電変換される電荷が溢れるほどの光量がフォトダイオードに照射された際、溢れた電荷をオ−バーフロードレインに排出する必要がある。オ−バーフロー機構には、半導体基板の裏面に電源電位を設定して基板裏面をオ−バーフロードレインとして、溢れた電荷を基板裏面側に排出する縦型オ−バーフロー構造が知られている。また、オ−バーフロー機構には、フローティングディフージョン部や他の電源電位をオ−バーフロードレインとして、フォトダイオードからの溢れた電荷を横方向に排出するようにした横型オ−バーフロー構造が知られている。
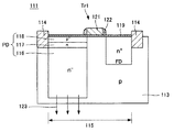
図12に、縦型オ−バーフロー構造を有するCMOS固体撮像装置の要部を模式的に示す。このCMOS固体撮像装置111は、n型半導体基板(図示せず)に形成したp型半導体ウェル領域113に、素子分離領域114で区画されたフォトダイオードPD及び転送トランジスタTr1を含む複数の画素トランジスタからなる画素115が形成される。フォトダイオードPDは、低濃度のn型半導体領域116と、その表面側の高濃度のn型電荷蓄積領域117と、n型電荷蓄積領域117の表面のp型半導体領域118を有して構成される。p型半導体領域118は、比較的高濃度を有し、暗電流の抑制を兼ねる。このフォトダイオードPDとn型のフローティングディフージョン部FDとの間に、ゲート絶縁膜119を介して転送ゲート電極121を形成して転送トランジスタTr1が構成される。122は転送ゲート電極121の側面に形成されたサイドウォールを示す。
このCMOS固体撮像装置111では、半導体基板の裏面に基板電位(電源電位)が与えられ、基盤裏面がオ−バーフロードレイン、フォトダイオードPD下に設けたp型半導体領域がオ−バーフローバリアとして作用する。溢れた電荷は、矢印123で示すように、縦方向に基板裏面側に排出される。
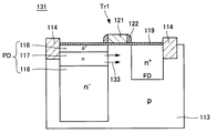
図13に、横型オ−バーフロー構造を有するCMOS固体撮像装置の要部を模式的に示す。このCMOS固体撮像装置131は、p型半導体ウェル領域113に、上述と同様に、素子分離領域114で区画されたフォトダイオードPD及び転送トランジスタTr1を含む複数の画素トランジスタからなる画素115が形成される。図14と対応する部分は同一符号を付して重複説明を省略する。
このCMOS固体撮像装置131では、フローティングディフージョン部FDがオ−バーフロードレインとなり、転送ゲート電極121下のチャネルポテンシャルがオ−バーフローバリアとして作用するように形成される。溢れた電荷は、矢印133で示すように、横方向に向かってフローティングディフージョン部側に排出される。
n型半導体基板を使用している表面照射型のCMOS固体撮像装置の場合は、縦型オ−バーフロー構造を採用することができる。縦型オ−バーフロー構造では、フォトダイオードPDの底部にあたる基板の深い位置に画素領域全域にわたってp型不純物をイオン注入して、オ−バーフローバリアを形成している。このオ−バーフローバリアは、注入するp型不純物のドーズ量で決まり、製造ばらつきの影響が少ない。
これに対して、裏面照射型のCMOS固体撮像装置、もしくはp型半導体基板を採用している表面照射型のCMOS固体撮像装置の場合は、基板裏面に電源電位を設定するためには工夫が必要となる。このため、通常横型オ−バーフロー構造を形成する。横型オ−バーフロー構造を形成する際、転送ゲート電極下のポテンシャルバリアを低くし、フォトダイオードPDから漏れた電荷が転送ゲート電極下を通ってフローティングディフージョン部FDへ流れ込むオ−バーフローパスを形成する。同時に、フローティングディフージョン部FDをオ−バーフロードレインとするのが一般的である。
特許文献1〜7に、CMOS固体撮像装置の先行技術が開示されている。
特許文献1には、フォトダイオードをフローティングディフージョン部の下まで延長する構成が開示されている。
特許文献2には、裏面照射型のCMOS固体撮像装置が開示されている。
特許文献3、4には、CMOS固体撮像装置の画素トランジスタにおいて、ゲート電極側面にサイドウォールを形成した構成が開示されている。
特許文献5には、CMOS固体撮像装置におけるフローティングディフージョン部の周りに素子分離領域が形成された構成が開示されている。
特許文献6には、CMOS固体撮像装置の画素トランジスタが拡散層またはSTI構造の素子分離領域で分離された構成が開示されている。
特許文献7には、CMOS固体撮像装置における転送トランジスタのゲート電極のフォトダイオード側にn型半導体領域が形成された構成が開示されている。
特開2006−49338号公報 特開2003−31785号公報 特開2007−158031号公報 特開2008−166607号公報 特開2008−205022号公報 特開2009−016810号公報 特開2000−286405号公報
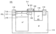
横型オ−バーフロー構造を形成する際、転送ゲート電極下のオ−バーフローバリアを低くするために、図14に示すようなCMOS固体撮像装置141が構成される。このCMOS固体撮像装置141では、転送ゲート電極121の周りをマスク(図示せず)で覆って、転送ゲート電極121下にn型不純物によるイオン注入領域(低濃度のn型半導体領域)142を形成する構成が採られている。図14において、その他の構成は図13と同様であるので、対応する部分に同一符号を付して重複説明を省略する。転送ゲート電極121下のオ−バーフローパスを形成するためには、フォトダイオードPDから溢れた電荷がフローティングディフージョン部FDへ流れ込むように、上述したように、転送ゲート電極121下のポテンシャルバリアを低くする必要がある。
そのためには、図14に示すイオン注入領域142のドーズ量をある程度大きくする必要があるが、マスクを介してn型不純物をイオン注入する際、転送ゲート電極121下のオ−バーフローバリアの形成にばらつきが生じる。この製造ばらつきの要因として考えられるのは、マスク合わせずれの影響である。転送ゲート電極下にイオン注入されるn型不純物は、ドーズ量が比較的大きく局所的な分布になるため、マスク合わせずれの影響が大きくなり、制御も困難になることが分かっている。
オ−バーフローバリアがばらつくことは、画素特性に大きな影響を与える。オ−バーフローバリアは、フォトダイオードPDに蓄積される電荷量を決めており、オ−バーフローバリアのばらつきが飽和電荷量のばらつきとなる。
本発明は、上述の点に鑑み、横型オ−バーフロー構造を有するCMOS固体撮像装置において、オ−バーフローバリアのばらつきを抑制し、画素特性を向上させた固体撮像装置とその製造方法を提供するものである。
本発明は、この固体撮像装置を備えた電子機器を提供するものである。
本発明に係る固体撮像装置は、半導体基板に形成された光電変換部と画素トランジスタからなる複数の画素と、画素内のフローティングディフージョン部を有する。本発明は、さらに画素における光電変換部の表面と、画素トランジスタのうちの転送トランジスタの転送ゲート電極下の半導体基板表面との全面にわたって形成された表面ピニング用の第1導電型イオン注入領域を有する。本発明は、さらに第1導電型イオン注入領域の全域下に形成されてフローティングディフージョン部へのオ−バーフローパスとなるオ−バーフローパス形成用の第2導電型イオン注入領域を有する。転送ゲート電極下の第2導電型イオン注入領域によりオ−バーフローパスを形成するオ−バーフローバリアが形成され、光電変換部における第2導電型半導体領域とオ−バーフローパス形成用の第2導電型イオン注入領域との重なる領域により電荷蓄積領域が形成される。
本発明の固体撮像装置では、光電変換部の表面と転送ゲート電極下の半導体基板表面の全面に形成した表面ピニング用の第1導電型イオン注入領域の全域下に、第2導電型イオン注入領域によるオ−バーフローパスが形成される。すなわち、第2導電型イオン注入領域の不純物が光電変換部と転送ゲート電極下の全面にわたり一様に分布される。これにより製造時のマスク合わせずれの影響が低減され、転送ゲート電極下に安定的して横型オ−バーフローパスが形成される。また、表面ピニング用の第1導電型イオン注入領域の不純物も光電変換部と転送ゲート電極下の全面にわたり一様に分布される。これにより製造時のマスク合わせずれの影響が低減される。さらに、光電変換部の第2導電型半導体領域とオ−バーフローパスとなる第2導電型イオン注入領域との重なる領域で電荷蓄積領域が形成されるので、光電変換部の第2導電型半導体領域形成時の第2導電型不純物のイオン注入ドーズ量が相対的に低減される。
本発明に係る固体撮像装置の製造方法は、半導体基板の各画素形成領域にイオン注入法で表面ピニング用の第1導電型半導体領域と、第1導電型半導体領域の全域下のオ−バーフローパス形成用の第2導電型イオン注入領域を形成する工程を有する。表面ピニング用の第1導電型イオン注入領域とオ−バーフローパス形成用の第2導電型イオン注入領域は、次の領域の全面にわたって形成する。すなわち、各画素において、光電変換部の第2導電型半導体領域の表面と、形成すべき転送トランジスタの転送ゲート電極下に対応する半導体基板表面と、フローティングディフージョン部に対応する半導体基板表面との全面にわたって形成する。
さらに、本発明は、半導体基板上にゲート絶縁膜を介して転送トランジスタを含む画素トランジスタのゲート電極を形成する工程と、半導体基板に第2導電型不純物をイオン注入してフローティングディフージョン部を形成する工程を有する。
そして、転送ゲート電極下の第2導電型イオン注入領域によりオ−バーフローパスを形成するオ−バーフローバリアを形成し、光電変換部に形成した第2導電型半導体領域と第2導電型イオン注入領域との重なる領域により電荷蓄積領域を形成する。
本発明の固体撮像装置の製造方法では、表面ピニング用の第1導電型イオン注入領域及びオ−バーフローパスとなる第2導電型イオン注入領域が、イオン注入により光電変換部からフローティングディフージョン部に至る全域に対応した領域に形成される。これにより転送ゲート電極下に対応する領域にマスクの合わせずれの影響を受けることなく、正確にオ−バーフローパスを形成することができる。また表面ピニング用の第1導電型イオン注入領域をマスクの合わせずれの影響を受けることなく、正確に形成することができる。光電変換部の第2導電型半導体領域とオ−バーフローパス形成用の第2導電型イオン注入領域との重なる領域で電荷蓄積領域を形成するので、光電変換部の第2導電型半導体領域のイオン注入ドーズ量を低減することができる。
本発明に係る電子機器は、固体撮像装置と、固体撮像装置のフォトダイオードに入射光を導く光学系と、固体撮像装置の出力信号を処理する信号処理回路を備える。
固体撮像装置は、半導体基板に形成された光電変換部と画素トランジスタからなる複数の画素と、画素内のフローティングディフージョン部を有する。本発明は、さらに画素における光電変換部の表面と、画素トランジスタのうちの転送トランジスタの転送ゲート電極下の半導体基板表面との全面にわたって形成された表面ピニング用の第1導電型イオン注入領域を有する。本発明は、さらに第1導電型イオン注入領域の全域下に形成されてフローティングディフージョン部へのオ−バーフローパスとなるオ−バーフローパス形成用の第2導電型イオン注入領域を有する。そして、転送ゲート電極下の前記第2導電型イオン注入領域によりオ−バーフローパスを形成するオ−バーフローバリアが形成され、光電変換部の第2導電型半導体領域と第2導電型イオン注入領域と重なる領域で電荷蓄積領域が形成される。
本発明に係る固体撮像装置によれば、横型オ−バーフロー構造におけるオ−バーフローバリアのばらつきを抑制し、画素特性を向上させることができる。
本発明に係る固体撮像装置の製造方法によれば、横型オ−バーフロー構造のオ−バーフローバリアが製造ばらつきの影響を受けずに形成することができ、画像特性を向上した固体撮像装置を製造することができる。
本発明に係る電子機器によれば、上記本発明の固体撮像装置を備えるので、高画質で信頼性の高い電子機器を提供できる。
本発明に適用されるCMOS固体撮像装置の例を示す概略構成図である。 単位画素の一例を示す等価回路図である。 本発明に係る固体撮像装置の第1実施の形態を示す概略構成図である。 第1実施の形態に係る固体撮像装置の製造方法を示す製造工程図(その1)である。 第1実施の形態に係る固体撮像装置の製造方法を示す製造工程図(その2)である。 第1実施の形態に係る固体撮像装置の製造方法を示す製造工程図(その3)である。 本発明に係る固体撮像装置の第2実施の形態を示す概略構成図である。 第2実施の形態に係る固体撮像装置の製造方法を示す製造工程図(その1)である。 第2実施の形態に係る固体撮像装置の製造方法を示す製造工程図(その2)である。 第2実施の形態に係る固体撮像装置の製造方法を示す製造工程図(その3)である。 本発明の第3実施の形態に係る電子機器の概略構成図である。 CMOS固体撮像装置の縦型オ−バーフロー構造を説明する説明図である。 CMOS固体撮像装置の横型オ−バーフロー構造を説明する説明図である。 横型従来オ−バーフロー構造を有する従来のCMOS固体撮像装置の例を示す概略構成図である。
以下、本発明を実施するための形態(以下実施の形態とする)について説明する。なお、説明は以下の順序で行う。
1.MOS固体撮像装置の概略構成例
2.第1実施の形態(固体撮像装置の構成例及び製造方法例)
3.第2実施の形態(固体撮像装置の構成例及び製造方法例)
4.第3実施の形態(電子機器の構成例)
<1.CMOS固体撮像装置の概略構成例>
図1に、本発明の各実施の形態に適用されるMOS固体撮像装置の一例の概略構成を示す。本例の固体撮像装置1は、図1に示すように、半導体基板11例えばシリコン基板に光電変換部を含む複数の画素2が規則的に2次元的に配列された画素領域(いわゆる撮像領域)3と、周辺回路部とを有して構成される。画素2としては、1つの光電変換部と複数の画素トランジスタからなる単位画素を適用することができる。また、画素2としては、複数の光電変換部が転送トランジスタを除く他の画素トランジスタを共有したいわゆる画素共有の構造を適用することができる。複数の画素トランジスタは、例えば、転送トランジスタ、リセットトランジスタ及び増幅トランジスタの3トランジスタ、あるいは選択トランジスタを追加した4トランジスタで構成することができる。
周辺回路部は、垂直駆動回路4と、カラム信号処理回路5と、水平駆動回路6と、出力回路7と、制御回路8などを有して構成される。
制御回路8は、入力クロックと、動作モードなどを指令するデータを受け取り、また固体撮像装置の内部情報などのデータを出力する。すなわち、制御回路8では、垂直同期信号、水平同期信号及びマスタクロックに基いて、垂直駆動回路4、カラム信号処理回路5及び水平駆動回路6などの動作の基準となるクロック信号や制御信号を生成する。そして、これらの信号を垂直駆動回路4、カラム信号処理回路5及び水平駆動回路6等に入力する。
垂直駆動回路4は、例えばシフトレジスタによって構成され、画素駆動配線を選択し、選択された画素駆動配線に画素を駆動するためのパルスを供給し、行単位で画素を駆動する。すなわち、垂直駆動回路4は、画素領域3の各画素2を行単位で順次垂直方向に選択走する。そして、垂直信号線9を通して各画素2の光電変換素子となる例えばフォトダイオードにおいて受光量に応じて生成した信号電荷に基く画素信号をカラム信号処理回路5に供給する。
カラム信号処理回路5は、画素2の例えば列ごとに配置されており、1行分の画素2から出力される信号を画素列ごとにノイズ除去などの信号処理を行う。すなわちカラム信号処理回路5は、画素2固有の固定パターンノイズを除去するためのCDSや、信号増幅、AD変換等の信号処理を行う。カラム信号処理回路5の出力段には水平選択スイッチ(図示せず)が水平信号線10との間に接続されて設けられる。
水平駆動回路6は、例えばシフトレジスタによって構成され、水平走査パルスを順次出力することによって、カラム信号処理回路5の各々を順番に選択し、カラム信号処理回路5の各々から画素信号を水平信号線10に出力させる。
出力回路7は、カラム信号処理回路5の各々から水平信号線10を通して順次に供給される信号に対し、信号処理を行って出力する。例えば、バファリングだけする場合もあるし、黒レベル調整、列ばらつき補正、各種デジタル信号処理などが行われる場合もある。入出力端子12は、外部と信号のやりとりをする。
図2は、単位画素21の等価回路図である。本例に係る単位画素21は、光電変換部となるフォトダイオードPDと、4つの画素トランジスタとから構成される。4つの画素トランジスタは、転送トランジスタTr1、リセットトランジスタTr2、増幅トランジスタTr3および選択トランジスタTr4から構成される。ここでは、これら画素トランジスタTr1〜Tr4として、例えばnチャネルのMOSトランジスタが用いてられる。
フォトダイオードPDは、転送トランジスタTr1に接続される。転送トランジスタTr1は、フローティングディフージョン部FDを介してリセットトランジスタTr2に接続される。フォトダイオードPDで光電変換され、ここに蓄積された信号電荷(ここでは、電子)は、転送トランジスタTr1のゲートに転送パルスφTRGが与えられることによってフローティングディフージョン部FDに転送される。
フローティングディフージョン部FDは、増幅トランジスタTr3のゲートに接続される。増幅トランジスタTr3のドレイン及びリセットトランジスタTr2のドレインは、電源VDDが接続される。ここでは、リセットトランジスタTr2のソース(転送トランジスタTr1のドレイン)がフローティングディフージョン部FDとして構成される。フォトダイオードPDからフローティングディフージョン部FDへの信号電荷の転送に先立って、リセットゲートにリセットパルスφRSTが与えられることによってフローティングディフージョン部FDの電位がリセットされる。
増幅トランジスタTr3のソースが、選択トランジスタTr4のドレインに接続され、選択トランジスタのソースが垂直信号線9に接続される。選択トランジスタTr4のゲートに選択パルスφSELが与えられることによってオン状態となり、画素2が選択される。増幅トランジスタTr3は、リセットトランジスタTr2によってリセットした後のフローティングディフージョン部FDの電位をリセットレベルとして選択トランジスタTr4を介して垂直信号線9に出力する。さらに増幅トランジスタTr3は、転送トランジスタTr1によって信号電荷を転送した後のフローティングディフージョン部FDの電位を信号レベルとして選択トランジスタTr4を介して垂直信号線9に出力する。なお、選択トランジスタ115については、電源VDDと増幅トランジスタTr3のドレインとの間に接続した構成を採ることも可能である。このときは、増幅トランジスタTr3のソースが垂直信号線9に接続される。
表面照射型のCMOS固体撮像装置は、図示しないが、半導体基板の画素領域に対応した第1導電型、例えばp型の半導体ウェル領域に、光電変換部となるフォトダイオードPDと、複数の画素トランジスタからなる複数の画素が形成される。各画素は、素子分離領域で区画される。半導体基板の表面側の上方には、フォトダイオードPD上を除き、層間絶縁膜を介して複数層の配線を有する多層配線層が形成され、多層配線層上に平坦化膜を介してカラーフィルタ及びオンチップレンズが積層形成される。光は、オンチップレンズを通して半導体基板の表面側よりフォトダイオードに照射される。
裏面照射型のCMOS固体撮像装置は、図示しないが、薄膜化された半導体基板、すなわち第1導電型であるp型半導体ウェル領域で形成された半導体基板に、光電変換部となるフォトダイオードPDと、複数の画素トランジスタからなる複数の画素が形成される。各画素は素子分離領域で区画される。半導体基板の表面側の上方には、層間絶縁膜を介して複数層の配線を有する多層配線層が形成され、その上に例えば半導体基板による支持基板が接合される。配線は、配置の制限がなく、フォトダイオードPD上にも形成される。半導体基板の裏面側にカラーフィルタ及びオンチップレンズが積層形成される。光は、オンチップレンズを通して半導体基板の裏面側よりフォトダイオードに照射される。
<2.第1実施の形態>
[固体撮像装置の構成例]
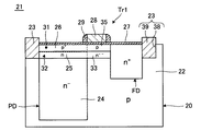
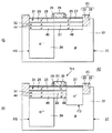
図3に、本発明に係る固体撮像装置、すなわちCMOS固体撮像装置の第1実施の形態を示す。図3は、表面照射型、裏面照射型を問わず適用できる横型オ−バーフロー構造を有するCMOS固体撮像装置であり、フォトダイオードPDと転送トランジスタを含む要部の概略構成を示す。
第1実施の形態に係る固体撮像装置21は、半導体基板を構成する第1導電型、例えばp型の半導体ウェル領域22を有し、このp型半導体ウェル領域22の素子分離領域23で区画され各画素形成領域内に、フォトダイオードPDが形成される。また、フォトダイオードPDに隣接するように、第2導電型、例えばn型の半導体領域によるフローティングディフージョン部FDが形成される。フォトダイオードPDは、n型半導体領域24と、この上に接して形成されたn型半導体領域による電荷蓄積領域25と、電荷蓄積領域25に接して半導体基板の最表面に形成されたp型半導体領域26とから構成される。n型半導体領域24は、比較的に低不純物濃度のn−領域で形成される。電荷蓄積領域25は、n型半導体領域24よりも高不純物濃度のn領域で形成される。p型半導体領域26は、表面ピニング用の領域となるもので、比較的に高不純物濃度のp+領域で形成される。フォトダイオードPDとフローティングディフージョン部FDとの間の基板上にゲート絶縁膜27を介して転送ゲート電極28が形成され、ここに転送トランジスタTr1が形成される。転送ゲート電極228の側面には、サイドウォール29が形成される。
そして、本実施の形態では、フォトダイオードPDの表面と、転送ゲート電極28下の半導体基板表面との全面にわたってp型不純物をイオン注入してp型イオン注入領域31を形成する。このp型イオン注入領域31は、表面ピニング用のp型半導体領域として形成される。また、このp型イオン注入領域31の全域下に、n型不純物をイオン注入してn型イオン注入領域32を形成する。このn型イオン注入領域32は、フォトダイオードPDの電荷蓄積領域25と、転送ゲート電極28下のオ−バーフローパスを形成するn型半導体領域として形成される。
これらのp型イオン注入及びn型イオン注入は、後述するように、低濃度のn型半導体領域24を形成した後であって、電荷蓄積領域25及びp型半導体領域26を形成する前に行われる。n型イオン注入領域は、フォトダイオードPDの低濃度のn型半導体領域24の表面側に重ねられて形成される。これによって、フォトダイオードPDの低濃度のn型半導体領域24の表面側にこれより高濃度のn型の電荷蓄積領域25が形成される。また、n型イオン注入領域32の転送ゲート電極28下に対応する部分には、オ−バーフローパスとなる低濃度、例えばフォトダイオードPDの低濃度のn型半導体領域24より低濃度のn型半導体領域(n−−領域)33が形成される。
一方、p型イオン注入領域31は、p型半導体ウェル領域22の表面にフォトダイオードPDから転送ゲート電極28下にわたって一様な濃度で形成され、転送ゲート電極28下に対応する領域に表面ピニング用のp型半導体領域(p領域)35が形成される。フォトダイオードPD側では、p型イオン注入領域31に再びp型不純物を選択的にイオン注入することで、転送ゲート電極28下の表面ピニング用のp型半導体領域35より高濃度の表面ピニング用のp型半導体領域26が形成される。
第1実施の形態の固体撮像装置21は、上述のように、フローティングディフージョン部FDをオ−バーフロードレインとし、転送ゲート電極28下のn型イオン注入領域32による領域33をオ−バーフローパスとする横型オ−バーフロー構造を有して構成される。
[動作説明]
第1実施の形態に係る固体撮像装置21では、転送ゲート電極28下にフォトダイオードPDからフローティングディフージョン部FDに連接するようにn型半導体領域33によるオ−バーフローパスが形成される。電荷蓄積時、照射した光がフォトダイオードPD内で光電変換され、発生した信号電荷が電荷蓄積領域25に蓄積される。フォトダイオードPDでは、蓄積できる最大電荷量が決まっており、それより強い光が照射すると、電荷がフォトダイオードPDから溢れる。フォトダイオードPDから溢れた電荷は、転送ゲート電極28下のオ−バーフローパスとなるn型半導体領域33を通ってフローティングディフージョン部FDへ流れ、排出される。
より詳しくは、電荷がフォトダイオードPDに蓄積されるにつれて、フォトダイオードPDのポテンシャルが変調を受ける。フォトダイオードPDに蓄積される電荷量に従って、フォトダイオードPD内のポテンシャル電位決まる。転送ゲート電極28下のオ−バーフローパスを形成するオ−バーフローバリアレベルに、フォトダイオードPD内のポテンシャル電位が近づくと、電荷が熱励起によりフォトダイオードPDからフローティングディフージョン部FDへ溢れる。これが、フォトダイオードPDの電荷がフローティングディフージョン部FDへオ−バーフローするときの動作である。
第1実施の形態に係る固体撮像装置21によれば、フォトダイオードPDから転送ゲート電極28下を通ってフローティングディフージョン部FDに至る全域に、一様なドーズ量のn型不純物をイオン注入してn型イオン注入領域32が形成される。このように、フォトダイオードPDの表面及び転送ゲート電極28下の全域にnイオン注入領域32が一様に分布されるので、マスク合わせずれの影響が低減する。これにより、転送ゲート電極28下に安定してn型半導体領域33による横型オ−バーフローパスを形成することができる。すなわち、オ−バーフローパスを製造ばらつきの影響を受けずに形成することができる。従って、マスク合わせずれによるオ−バーフローバリアのばらつきが無くなり、画素特性を向上することができる。
フォトダイオードPDのn型電荷蓄積領域25は、マスクで規制されて形成された低濃度のn型半導体領域24の表面側とn型イオン注入領域32の重なり部分で形成される。電荷蓄積領域25の不純物濃度は、n型半導体領域24の不純物濃度とn型イオン注入領域32の不純物濃度の合計となる。従って、マスクを介して低濃度のn型半導体領域24を形成する際の、n型不純物のドーズ量を相対的に減らすことができ、マスク合わせずれの影響を相対的に低減することができる。
第1実施の形態に係る横型オ−バーフロー構造を有する固体撮像装置21は、裏面照射型のCMOS固体撮像装置、あるいは半導体基板にp型半導体基板を用いた場合の表面照射型のCMOS固体撮像装置に適用できる。
[固体撮像装置の製造方法例]
次に、図4〜図6を用いて第1実施の形態に係る固体撮像装置21の製造方法例を説明する。まず、図4Aに示すように、シリコン半導体基板20の上面に熱酸化により絶縁膜37を形成する。次に、シリコン半導体基板20にp型半導体ウェル領域22を形成する。p型半導体ウェル領域22は、例えば、シリコン半導体基板20の形成すべきp型半導体ウェル領域以外の領域上に、レジストマスクなどのマスクを形成して、p型不純物をイオン注入して形成する。
次に、図4Bに示すように、絶縁膜37上にハードマスク層(図示せず)を形成し、リゾグラフィー技術とエッチング技術によって、ハードマスク層をパターニングしてハードマスクを形成する。さらに、このハードマスクをエッチングマスクとして用い、ドライエッチングにより、画素分離を含む素子分離すべき領域にトレンチ(溝)38を形成する。
次に、図4Cに示すように、化学気相成長(CVD)法により、トレンチ38内に絶縁膜39を埋め込み、STI(Shallow Trench Isolation)構造の素子分離領域23を形成する。
次に、図5Dに示すように、素子分離領域23で区画された各画素形成領域のp型半導体ウェル領域22内に、フォトダイオードを構成する低不純物濃度のn型半導体領域(n−領域)24を形成する。このn型半導体領域24は、p型半導体ウェル領域22上にフォトダイオード形成領域を除いて例えばレジスト膜などのマスクを形成し、n型不純物をイオン注入して形成する。n型半導体領域24は、p型半導体ウェル領域22の表面から所要深さを残して、例えば表面ピニング用のp型半導体領域の深さd=0.1μmだけ残して、p型半導体ウェル領域22内に形成する。
次に、図5Eに示すように、形成すべきフォトダイオード、転送ゲート電極及びフローティングディフージョン部に対応する全域にわたるp型半導体領域22の表面に、例えばレジストマスクなどのマスクを介して、p型,n型の不純物のイオン注入を行う。次に、同じマスクを用いて、n型不純物をイオン注入し、p型イオン注入領域31の全域下にn型イオン注入領域32を形成する。
p型イオン注入領域31を形成するp型不純物のイオン注入深さは、基盤表面を十分にピニングする深さを確保できる幅である基板の最表面から0.1μm付近であり、イオン注入のドーズ量は、1×1011〜5×1012cm−2が望ましい。1×1011cm−2より薄いと基盤表面を十分にピニングすることができず、5×1012cm−2より濃いと完全転送することが困難になる。n型イオン注入領域32を形成するn不純物のイオン注入深さは、0.1μm〜0.3μm付近であり、イオン注入のドーズ量は、1×1011〜5×1012cm−2が望ましい。p型イオン注入領域31より深い領域に形成する必要があるが、0.3μmより深いと完全転送することが困難になる。
p型イオン注入領域31により表面ピニング用のp型半導体領域が形成される。n型不純物のイオン注入は、低濃度のn型半導体領域24の表面部分に重なるように行われる。このn型イオン注入領域32の転送ゲート電極28下に対応する部分にオ−バーフローパスとなるn型半導体領域(n−−領域)33が形成される。同時に、n型イオン注入領域33と低濃度のn型半導体領域24とが重なる表面部分に高濃度のn型半導体領域による電荷蓄積領域25が形成される。
次いで、選択的形成したレジストマスクなどのマスクを介して、n型電荷蓄積領域25上のp型イオン注入領域31に再度p型不純物をイオン注入し、高濃度のp型半導体領域(p+領域)26を形成する。p型半導体領域26はフォトダイオード側の表面ピニング用のp型半導体領域となる。一方、p型イオン注入領域31の転送ゲート電極28下の部分が、転送ゲート電極28下の表面ピニング用のp型半導体領域となる。低濃度のn型半導体領域24、n型電荷蓄積領域25及び表面ピニング用のp型半導体領域26によりフォトダイオードPDが形成される。
ゲート絶縁膜27上に画素トランジスタのゲート電極を形成する。図5Fでは、転送ゲート電極28のみを示す。ゲート電極28は、ドープトポリシリコンもしくは銅、アルミニウムなどのメタルを用いて形成することができる。これらから選らばれた導電膜をリソグラフィー技術とエッチング技術によりドライエッチングすることにより、転送ゲート電極28が形成される。
次に、図6Gに示すように、各ゲート電極、図では転送ゲート電極28の側面にサイドウォール29を形成する。すなわち、前工程でのレジストマスクを除去した後、化学気相成長(CVD)法とドライエッチング法により、転送ゲート電極28の側面に、窒化シリコン膜をストッパ膜として酸化シリコンによるサイドウォール29を形成する。
次に、図6Hに示すように、フォトダイオードPD上に形成したレジストマスク、転送ゲート電極28、サイドウォール29をマスクとして、n型不純物をイオン注入し、n型半導体領域によるフローティングディフージョン部FDを形成する。STI構造の素子分離領域23もマスクとして利用される。同時に他の画素トランジスタのn型ソース領域及びn型ドレイン領域を形成する。ここに、転送トランジスタTr1を含む複数の画素トランジスタを形成する。
その後の工程は、表面照射型のCMOS固体撮像装置であれば、半導体基板表面の上方に層間絶縁膜を介して複数層の配線を形成してなる多層配線層を形成し、さらに平坦化膜を介してカラーフィルタ、オンチップレンズを順次形成する。
裏面照射型固体撮像装置であれば、半導体基板表面の上方に層間絶縁膜を介して複数層の配線を形成してなる多層配線層を形成し、多層配線層上に平坦化膜を介してシリコン基板などによる支持基板を接合する。次いで、半導体基板の裏面側から例えば化学機械研磨(CMP)法により薄膜化する。次いで、半導体基板の裏面上に、反射防止膜などを介してカラーフィルタ及びオンチップレンズを形成する。このようにして、目的の固体撮像装置21を得る。
第1実施の形態に係る固体撮像装置の製造方法によれば、フォトダイオードPDの低濃度のn型半導体領域24を形成した後、p型イオン注入領域31、n型イオン注入領域32が形成される。これらイオン注入領域31、32は、フォトダイオードPDのn型半導体領域24、形成すべき転送ゲート電極下及びフローティングディフージョン部の全面にわたって一様の不純物イオン注入で形成される。これにより表面ピニング用のp型半導体領域、オ−バーフローパスとなるn型半導体領域をマスク合わせずれの影響を受けず、正確に形成することができる。転送ゲート電極下のオ−バーフローパスを形成するオ−バーフローバリアのばらつきが低減する。
フォトダイオードPDの低濃度のn型半導体領域24の表面側とn型イオン注入領域32との重ねられた領域でn型電荷蓄積領域25が形成されるので、低濃度のn型半導体領域24の不純物ドーズ量を相対的に減らすことができる。これにより、マスク合わせずれの影響を相対的に低減できる。
この結果、オ−バーフローバリアのばらつきを抑制し、画素特性を向上させた横型オ−バーフロー構造のCMOS固体撮像装置を精度よく製造することができる。
<3.第2実施の形態>
[固体撮像装置の構成例]
図7に、本発明に係る固体撮像装置、すなわちCMOS固体撮像装置の第2実施の形態を示す。図7は、表面照射型、裏面照射型を問わず適用できる横型オ−バーフロー構造を有するCMOS固体撮像装置であり、フォトダイオードPDと転送トランジスタを含む要部の概略構成を示す。
第2実施の形態に係る固体撮像装置43は、第1実施の形態のオ−バーフローパスとなる第2導電型イオン注入領域32の下に、安定的にオ−バーフローパスを形成するための第1導電型イオン注入領域44を有して構成される。
第2実施の形態に係る固体撮像装置43は、第1実施の形態と同様に、半導体基板を構成する第1導電型、例えばp型の半導体ウェル領域22を有し、p型半導体ウェル領域22の素子分離領域23で区画され画素形成領域内に、フォトダイオードPDが形成される。フォトダイオードPDに隣接するように、第2導電型、例えばn型の半導体領域によるフローティングディフージョン部FDが形成される。フォトダイオードPDは、n型半導体領域24と、この上に接して形成されたn型半導体領域による電荷蓄積領域25と、電荷蓄積領域25に接して半導体基板の最表面に形成されたp型半導体領域26とから構成される。n型半導体領域24は、比較的に低不純物濃度のn−−領域で形成される。電荷蓄積領域25は、n型半導体領域24よりも高不純物濃度のn領域で形成される。p型半導体領域26は、表面ピニング用の領域となるもので、比較的に高不純物濃度のp+領域で形成される。フォトダイオードPDとフローティングディフージョン部FDとの間の基板上にゲート絶縁膜27を介して転送ゲート電極28が形成され、転送トランジスタTr1が形成される。転送ゲート電極228の側面には、サイドウォール29が形成される。
本実施の形態では、フォトダイオードPDの表面と、転送ゲート電極28下の半導体基板表面との全面にわたってp型不純物をイオン注入してp型イオン注入領域31を形成する。このp型イオン注入領域31は、表面ピニング用のp型半導体領域として形成される。また、p型イオン注入領域31の全域下に、n型不純物をイオン注入してn型イオン注入領域32を形成する。このn型イオン注入領域32は、フォトダイオードPDの電荷蓄積領域25と、転送ゲート電極28下のオ−バーフローパスを形成するn型半導体領域として形成される。
n型イオン注入領域は、フォトダイオードPDの低濃度のn型半導体領域24の表面側に重ねられて形成され、フォトダイオードPDの低濃度のn型半導体領域24の表面側にこれより高濃度のn型の電荷蓄積領域25が形成される。n型イオン注入領域32の転送ゲート電極28下に対応する部分には、オ−バーフローパスとなる低濃度、例えばフォトダイオードPDの低濃度のn型半導体領域24より低濃度のn型半導体領域(n−−領域)33が形成される。
一方、p型イオン注入領域31は、p型半導体ウェル領域22の表面にフォトダイオードPDから転送ゲート電極28下にわたって一様な濃度で形成され、転送ゲート電極28下に対応する領域に表面ピニング用のp型半導体領域(p領域)35が形成される。フォトダイオードPD側では、p型イオン注入領域31に再びp型不純物を選択的にイオン注入することで、転送ゲート電極28下の表面ピニング用のp型半導体領域35より高濃度の表面ピニング用のp型半導体領域26が形成される。
さらに、本実施の形態では、オ−バーフローパスとなるn型イオン注入領域32の全域下に、安定的にオ−バーフローパスを形成するための、第1導電型、すなわちp型のイオン注入領域44が形成される。横型オ−バーフローパスとなるn型イオン注入領域32では、基板深さ方向の不純物濃度分布を見ると、基板の深い側で不純物濃度が低くなる裾を引く部分が形成される。この裾を引く部分の不純物濃度は、ばらつきが生じ易く、このためフォトダイオードPDからフローティングディフージョン部FDへ溢れる電荷が画素毎にばらつく懸念がある。n型イオン注入領域32下のp型イオン注入領域44は、n型イオン注入領域32の不純物分布の裾引き部分を無くし、n型イオン注入領域32の不純物濃度を安定化させる。
p型イオン注入領域44により、フォトダイオードPDのn型電荷蓄積領域25下にn型電荷蓄積領域25より低濃度であって、低濃度のn型半導体領域24より高濃度のn型領域45が形成される。また、p型イオン注入領域44により、オ−バーフローパスとなるn型半導体領域33下にp型半導体領域46が形成される。
図7では、フォトダイオードPDの低濃度のn型半導体領域24、n型電荷蓄積領域25の不純物濃度は実質的に図3と同様であるが、p型イオン注入領域44によるn型半導体領域45の濃度の比較の関係で、n型半導体領域24をn−−と表記する。
第2実施の形態の固体撮像装置43は、上述のように、フローティングディフージョン部FDをオ−バーフロードレインとし、n型イオン注入領域32をオ−バーフローパス、その下のp型イオン注入領域44を有した横型オ−バーフロー構造を有して構成される。
[動作説明]
第2実施の形態に係る固体撮像装置43では、第1実施の形態と同様に、転送ゲート電極28下にフォトダイオードPDからフローティングディフージョン部FDに連接するようにn型半導体領域33によるオ−バーフローパスが形成される。電荷蓄積時、照射した光がフォトダイオードPD内で光電変換され、発生した信号電荷が電荷蓄積領域25に蓄積される。強い光が照射されて生じた最大電荷量を超える電荷は、転送ゲート電極28下のオ−バーフローパスとなるn型半導体領域33を通ってフローティングディフージョン部FDへ流れ、排出される。
n型イオン注入領域32の全域下にp型イオン注入領域44が形成されることにより、n型イオン注入領域32の不純物濃度が安定化する。これにより、転送ゲート電極28下のn型イオン注入領域32、従ってオ−バーフローパスとなるn型半導体領域33のオ−バーフローバリアが画素ごとにばらつくことなく安定化する。
第2実施の形態に係る固体撮像装置43によれば、第1実施の形態と同様に、オ−バーフローパスとなるn型半導体領域33が、フォトダイオードPDかフローティングディフージョン部FDに至る全域にわたるn型イオン注入領域32で形成される。フォトダイオードPDの表面及び転送ゲート電極28下の全域にn型イオン注入領域32が一様に分布されるので、マスク合わせずれの影響が低減し、転送ゲート電極28下に安定してn型半導体領域33による横型オ−バーフローパスを形成することができる。オ−バーフローパスを製造ばらつきの影響を受けずに形成することができ、マスク合わせずれによるオ−バーフローバリアのばらつきが無くなり、画素特性を向上することができる。フォトダイオードPDの最表面から転送ゲート電極28下の全域にわたって、一様に表面ピニング用のp型イオン注入領域31が形成されるので、マスク合わせずれの影響が低減され、画素の特性悪化を低減することができる。電荷蓄積領域25の不純物濃度は、n型半導体領域24の不純物濃度とn型イオン注入領域32の不純物濃度の合計となる。従って、マスクを介して低濃度のn型半導体領域24を形成する際の、n型不純物のドーズ量を相対的に減らすことができ、マスク合わせずれの影響を相対的に低減することができる。
さらに、第2実施の形態によれば、n型イオン注入領域32下にp型イオン注入領域44を有するので、オ−バーフローパスを形成するオ−バーフローバリアレベルが安定化する。これにより、フォトダイオードPDの飽和電荷量が画素毎にばらつくことがなく、より画素特性のばらつきを低減することができる。
第2実施の形態に係る横型オ−バーフロー構造を有する固体撮像装置43は、裏面照射型のCMOS固体撮像装置、あるいは半導体基板をp型半導体基板を用いた場合の表面照射型のCMOS固体撮像装置に適用できる。
[固体撮像装置の製造方法例]
次に、図8〜図10を用いて第2実施の形態に係る固体撮像装置43の製造方法例を説明する。まず、図8Aに示すように、シリコン半導体基板20の上面に熱酸化により絶縁膜37を形成する。次に、シリコン半導体基板20にp型半導体ウェル領域22を形成する。p型半導体ウェル領域22は、例えば、シリコン半導体基板20の形成すべきp型半導体ウェル領域以外の領域上に、レジストマスクなどのマスクを形成して、p型不純物をイオン注入して形成する。
次に、図8Bに示すように、絶縁膜37上にハードマスク層(図示せず)を形成し、リゾグラフィー技術とエッチング技術によって、ハードマスク層をパターニングしてハードマスクを形成する。さらに、このハードマスクをエッチングマスクとして用い、ドライエッチングにより、画素分離を含む素子分離すべき領域にトレンチ(溝)38を形成する。
次に、図8Cに示すように、化学気相成長(CVD)法により、トレンチ38内に絶縁膜39を埋め込み、STI構造の素子分離領域23を形成する。
次に、図9Dに示すように、素子分離領域23で区画された各画素形成領域のp型半導体ウェル領域22内に、フォトダイオードを構成する低不純物濃度のn型半導体領域(n−領域)24を形成する。このn型半導体領域24は、p型半導体ウェル領域22上にフォトダイオード形成領域を除いて例えばレジスト膜などのマスクを形成し、n型不純物をイオン注入して形成する。n型半導体領域24は、p型半導体ウェル領域22の表面から所要深さを残して、例えば表面ピニング用のp型半導体領域の深さd=0.1μmだけ残して、p型半導体ウェル領域22内に形成する。
次に、図9Eに示すように、形成すべきフォトダイオード、転送ゲート電極及びフローティングディフージョン部に対応する全域にわたるp型半導体領域22の表面に、例えばレジストマスクなどのマスクを介して、p型,n型、p型の不純物のイオン注入を行う。
p型イオン注入領域31を形成するp型不純物のイオン注入深さは、基板表面を十分にピニングする深さを確保できる幅である基板の最表面から0.1μm付近であり、イオン注入のドーズ量は、1×1011〜5×1012cm−2が望ましい。1×1011cm−2より薄いと基板表面を十分にピニングすることができず、5×1012cm−2より濃いと完全転送することが困難になる。n型イオン注入領域32を形成するn不純物のイオン注入深さは、0.1μm〜0.3μm付近であり、イオン注入のドーズ量は、1×1011〜5×1012cm−2が望ましい。p型イオン注入領域31より深い領域に形成する必要があるが、0.3μmより深いと完全転送することが困難になる。p型イオン注入領域44を形成するp型不純物のイオン注入深さは、n型イオン注入領域32の裾引き部分を無くすために、n型イオン注入領域32より深くかつそこから離れない位置である0.3μm〜0.5μm付近であり、イオン注入のドーズ量は、1×1011〜5×1012cm−2が望ましい。1×1011cm−2より薄いとn型イオン注入領域32の裾引き部分を打ち消すことはできず、5×1012cm−2より濃いとn型半導体領域45の濃度がpになる恐れがある。オーバーフローバリアを安定化させる半導体領域は、フォトダイオードPDに対応する部分をn型とし、転送ゲート電極28下に対応する部分をp型とすることができる。
p型イオン注入領域31により表面ピニング用のp型半導体領域が形成される。n型不純物のイオン注入は、低濃度のn型半導体領域24の表面部分に重なるように行われる。このn型イオン注入領域32の転送ゲート電極28下に対応する部分にオ−バーフローパスとなるn型半導体領域(n−−領域)33が形成される。同時に、n型イオン注入領域33と低濃度のn型半導体領域24とが重なる表面部分に高濃度のn型半導体領域による電荷蓄積領域25が形成される。
次いで、選択的形成したレジストマスクなどのマスクを介して、n型電荷蓄積領域25上のp型イオン注入領域31に再度p型不純物をイオン注入し、高濃度のp型半導体領域(p+領域)26を形成する。p型半導体領域26はフォトダイオード側の表面ピニング用のp型半導体領域となる。一方、p型イオン注入領域31の転送ゲート電極28下の部分が、転送ゲート電極28下の表面ピニング用のp型半導体領域35となる。低濃度のn型半導体領域24、n型電荷蓄積領域25及び表面ピニング用のp型半導体領域26によりフォトダイオードPDが形成される。
ゲート絶縁膜27上に画素トランジスタのゲート電極を形成する。図9Fでは、転送ゲート電極28のみを示す。ゲート電極28は、ドープトポリシリコンもしくは銅、アルミニウムなどのメタルを用いて形成することができる。これらから選らばれた導電膜をリソグラフィー技術とエッチング技術によりドライエッチングすることにより、転送ゲート電極28が形成される。
次に、図10Gに示すように、各ゲート電極、図では転送ゲート電極28の側面にサイドウォール29を形成する。すなわち、前工程でのレジストマスクを除去した後、化学気相成長(CVD)法とドライエッチング法により、転送ゲート電極28の側面に、窒化シリコン膜をストッパ膜として酸化シリコンによるサイドウォール29を形成する。
次に、図10Hに示すように、フォトダイオードPD上に形成したレジストマスク、転送ゲート電極28、サイドウォール29をマスクとして、n型不純物をイオン注入し、n型半導体領域によるフローティングディフージョン部FDを形成する。フローティングディフージョン部FDはセルフアラインで形成される。STI構造の素子分離領域23もマスクとして利用される。同時に他の画素トランジスタのn型ソース領域及びn型ドレイン領域を形成する。ここに、転送トランジスタTr1を含む複数の画素トランジスタを形成する。
その後の工程は、表面照射型のCMOS固体撮像装置であれば、半導体基板表面の上方に層間絶縁膜を介して複数層の配線を形成してなる多層配線層を形成し、さらに平坦化膜を介してカラーフィルタ、オンチップレンズを順次形成する。
裏面照射型固体撮像装置であれば、半導体基板表面の上方に層間絶縁膜を介して複数層の配線を形成してなる多層配線層を形成し、多層配線層上に平坦化膜を介してシリコン基板などによる支持基板を接合する。次いで、半導体基板の裏面側から例えば化学機械研磨(CMP)法により薄膜化する。次いで、半導体基板の裏面上に、反射防止膜などを介してカラーフィルタ及びオンチップレンズを形成する。このようにして、目的の固体撮像装置43を得る。
第2実施の形態の固体撮像装置の製造方法によれば、フォトダイオードPDの低濃度のn型半導体領域24を形成した後、p型イオン注入領域31、n型イオン注入領域32及びp型イオン注入領域44が形成される。これらイオン注入領域31、32及び44は、フォトダイオードPDのn型半導体領域24、形成すべき転送ゲート電極下及びフローティングディフージョン部の全面にわたって一様の不純物イオン注入で形成される。これにより表面ピニング用のp型半導体領域、オ−バーフローパスとなるn型半導体領域及び安定的にオ−バーフローパスを形成する領域をマスク合わせずれの影響を受けず、正確に形成することができる。p型イオン注入領域44によりオ−バーフローパスが安定して形成され、またn型イオン注入領域32により転送ゲート電極下のオ−バーフローバリアのばらつきが低減する。
フォトダイオードPDの低濃度のn型半導体領域24の表面側とn型イオン注入領域32との重ねられた領域にn型電荷蓄積領域25が形成されるので、低濃度のn型半導体領域24の不純物ドーズ量を相対的に減らすことができる。これにより、マスク合わせずれの影響を相対的に低減できる。
この結果、さらにオ−バーフローバリアのばらつきを抑制し、画素特性を向上させた横型オ−バーフロー構造のCMOS固体撮像装置を精度よく製造することができる。
上述の実施の形態に係るCMOS固体撮像装置の画素は、1つのフォトダイオードと複数の画素トランジスタからなる単位画素(非共有タイプ)、あるいは複数のフォトダイオードに1つの画素トランジスタ部を共有させた共有画素(共有タイプ)を適用できる。
なお、上述の実施の形態に係る固体撮像装置では、信号電荷を電子とし、第1導電型をn型、第2導電型をp型として構成したが、信号電荷を正孔とする固体撮像装置にも適用できる。この場合、各半導体基板、半導体ウェル領域あるいは半導体領域の導電型を逆にし、p型が第1導電型,n型が第2導電型となる。
<4.第3実施の形態>
[電子機器の構成例]
上述の本発明に係る固体撮像装置は、例えば、デジタルスチルカメラ、デジタルビデオカメラ、さらにカメラ付き携帯電話などの各種携帯端末機器、プリンター等の電子機器に適用することができる。
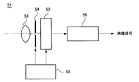
図11に、本発明に係る電子機器の一例としてカメラに適用した第3実施の形態を示す。本実施の形態に係るカメラは、静止画像又は動画撮影可能なビデオカメラを例としたものである。本実施も形態のカメラ51は、固体撮像装置52と、固体撮像装置52の受光センサ部に入射光を導く光学系53と、シャッタ装置54を有する。さらに、カメラ51は、固体撮像装置52を駆動する駆動回路55と、固体撮像装置52の出力信号を処理する信号処理回路56とを有する。
固体撮像装置52は、上述した各実施の形態の固体撮像装置のいずれかが適用される。光学系(光学レンズ)53は、被写体からの像光(入射光)を固体撮像装置52の撮像面上に結像させる。これにより、固体撮像装置52内に、一定期間信号電荷が蓄積される。光学系53は、複数の光学レンズから構成された光学レンズ系としてもよい。シャッタ装置54は、固体撮像装置52への光照射期間及び遮光期間を制御する。駆動回路55は、固体撮像装置52の転送動作及びシャッタ装置54のシャッタ動作を制御する駆動信号を供給する。駆動回路55から供給される駆動信号(タイミング信号)により、固体撮像装置52の信号転送を行う。信号処理回路56は、各種の信号処理を行う。信号処理が行われた映像信号は、メモリなどの記憶媒体に記憶され、或いは、モニタに出力される。
第3実施の形態に係るカメラなどの電子機器によれば、横型オ−バーフロー構造の固体撮像装置52において、画素間のオ−バーフローバリアのばらつきを抑制し、画素特性を向上し、その他、上記固体撮像装置の実施の形態で説明した効果を奏する。従って、高画質化が図られ、信頼性の高い電子機器を提供することができる。
21、41、43、48・・CMOS固体撮像装置、22・・p型半導体領域、23・・素子分離領域、PD・・フォトダイオード、FD・・フローティングディフージョン部、24・・低濃度のn型半導体領域、25・・n型電荷蓄積領域、27・・ゲート絶縁膜、28・・転送ゲート電極、29・・サイドウォール、31・・p型イオン注入領域、32・・n型イオン注入領域、44・・p型イオン注入領域、

Claims (12)

  1. 半導体基板に形成された光電変換部と画素トランジスタからなる複数の画素と、
    前記画素内のフローティングディフージョン部と、
    前記画素における光電変換部側の表面と、画素トランジスタのうちの転送トランジスタの転送ゲート電極下の半導体基板表面との全面にわたって形成された表面ピニング用の第1導電型イオン注入領域と、
    前記第1導電型イオン注入領域の全域下に形成され、前記フローティングディフージョン部へのオ−バーフローパスとなるオ−バーフローパス形成用の第2導電型イオン注入領域とを有し、
    前記転送ゲート電極下の前記第2導電型イオン注入領域によりオ−バーフローパスを形成するオ−バーフローバリアが形成され、
    前記光電変換部における第2導電型半導体領域と前記オ−バーフローパス形成用の第2導電型イオン注入領域との重なる領域により電荷蓄積領域が形成される
    固体撮像装置。
  2. 前記オ−バーフローパス形成用の第2導電型イオン注入領域の全域下に前記オ−バーフローバリアを安定させる第1導電型イオン注入領域を有する
    請求項1記載の固体撮像装置。
  3. 前記表面ピニング用の第1の第1導電型イオン注入領域の前記光電変換部に対応する部分の不純物濃度が、該第1の第1導電型イオン注入領域の前記転送ゲート電極下の部分より高濃度である
    請求項1または2記載の固体撮像装置。
  4. 前記表面ピニング用の第1導電型イオン注入領域の前記光電変換部に対応する部分の不純物濃度が、該表面ピニング用の第1導電型イオン注入領域の前記転送ゲート電極下の部分より高濃度であり、
    前記オ−バーフローバリアを安定させる第1導電型イオン注入領域は、前記光電変換部に対応する部分が第2導電型半導体領域であって、前記転送ゲート電極下に対応した部分が第1導電型半導体領域である
    請求項2記載の固体撮像装置。
  5. 半導体基板の各画素形成領域に形成すべき光電変換部の側の表面と、画素トランジスタのうちの転送トランジスタの転送ゲート電極下に対応する半導体基板表面と、フローティングディフージョン部に対応する半導体基板表面との全面にわたって、イオン注入法により表面ピニング用の第1導電型イオン注入領域と、該第1導電型イオン注入領域の全域下のオ−バーフローパス形成用の第2導電型イオン注入領域を形成する工程と、
    前記半導体基板上にゲート絶縁膜を介して転送トランジスタを含む前記画素トランジスタのゲート電極を形成する工程と、
    前記半導体基板に第2導電型不純物をイオン注入してフローティングディフージョン部を形成する工程と、
    を有し、
    前記転送ゲート電極下の前記第2導電型イオン注領域によりオ−バーフローパスを形成するオ−バーフローバリアを形成し、
    前記光電変換部に形成した第2導電型半導体領域と前記オ−バーフローパス形成用の第2導電型イオン注入領域とが重なる領域により電荷蓄積領域を形成する
    固体撮像装置の製造方法。
  6. 前記画素トランジスタのゲート電極を形成する前に、前記オ−バーフローパス形成用の第2導電型イオン注入領域の全域下に第1導電型不純物をイオン注入して前記オ−バーフローバリアを安定させる第1導電型イオン注入領域を形成する工程を有する
    請求項5記載の固体撮像装置の製造方法。
  7. 前記表面ピニング用の第1導電型不純物のイオン注入により、前記光電変換部に対応する部分に、前記転送ゲート電極下の表面ピニング用の第1導電型イオン注入領域より高不純物濃度の表面ピニング用の第1導電型イオン注入領域を形成する
    請求項5または請求項6記載の固体撮像装置の製造方法。
  8. 前記表面ピニング用の第1導電型不純物のイオン注入により、前記光電変換部に対応する部分に、前記転送ゲート電極下の表面ピニング用の第1導電型イオン注入領域より高不純物濃度の表面ピニング用の第1導電型イオン注入領域を形成し、
    前記オ−バーフローバリアを安定化させる半導体領域は、前記光電変換に対応する部分を第2導電型とし、前記転送ゲート電極下に対応する部分を第1導電型とする
    請求項6記載の固体撮像素子の製造方法。
  9. 固体撮像装置と、
    前記固体撮像装置のフォトダイオードに入射光を導く光学系と、
    前記固体撮像装置の出力信号を処理する信号処理回路を備え、
    前記固体撮像装置は、
    半導体基板に形成された光電変換部と画素トランジスタからなる複数の画素と、
    前記画素内のフローティングディフージョン部と、
    前記画素における光電変換部の第2導電型半導体領域の表面と、画素トランジスタのうちの転送トランジスタの転送ゲート電極下の半導体基板表面との全面にわたって形成された表面ピニング用の第1導電型イオン注入領域と、
    前記第1導電型イオン注入領域の全域下に形成され、前記フローティングディフージョン部へのオ−バーフローパスとなるオ−バーフローパス形成用の第2導電型イオン注入領域とを有し、
    前記転送ゲート電極下の前記第2導電型イオン注領域によりオ−バーフローパスを形成するオ−バーフローバリアが形成され、
    前記光電変換部の第2導電型半導体領域と前記オ−バーフローパス形成用の第2導電型イオン注入領域との重なる領域により電荷蓄積領域が形成される
    電子機器。
  10. 前記固体撮像装置において、
    前記オ−バーフローパス形成用の第2導電型イオン注入領域の全域下に前記オ−バーフローバリアを安定させる第1導電型イオン注入領域を有する
    請求項9記載の電子機器。
  11. 前記固体撮像装置において、
    前記表面ピニング用の第1導電型イオン注入領域の前記光電変換部に対応する部分の不純物濃度が、該第1導電型イオン注入領域の前記転送ゲート電極下の部分より高濃度である
    請求項9または10記載の電子機器。
  12. 前記固体撮像装置において、
    前記表面ピニング用の第1導電型イオン注入領域の前記光電変換部に対応する部分の不純物濃度が、該第1導電型イオン注入領域の前記転送ゲート電極下の部分より高濃度であり、
    前記オ−バーフローバリアを安定させる第1導電型イオン注入領域は、前記光電変換部に対応する部分が第2導電型半導体領域であって、前記転送ゲート電極下に対応した部分が第1導電型半導体領域である
    請求項10記載の電子機器。
JP2010016000A 2010-01-27 2010-01-27 固体撮像装置とその製造方法、並びに電子機器 Expired - Fee Related JP5621266B2 (ja)

Priority Applications (3)

Application Number Priority Date Filing Date Title
JP2010016000A JP5621266B2 (ja) 2010-01-27 2010-01-27 固体撮像装置とその製造方法、並びに電子機器
US12/926,998 US8809921B2 (en) 2010-01-27 2010-12-22 Solid-state imaging apparatus, method of manufacturing same, and electronic apparatus
CN201110022293XA CN102169883A (zh) 2010-01-27 2011-01-20 固态成像装置及其制造方法、电子设备

Applications Claiming Priority (1)

Application Number Priority Date Filing Date Title
JP2010016000A JP5621266B2 (ja) 2010-01-27 2010-01-27 固体撮像装置とその製造方法、並びに電子機器

Publications (2)

Publication Number Publication Date
JP2011155152A true JP2011155152A (ja) 2011-08-11
JP5621266B2 JP5621266B2 (ja) 2014-11-12

Family

ID=44308314

Family Applications (1)

Application Number Title Priority Date Filing Date
JP2010016000A Expired - Fee Related JP5621266B2 (ja) 2010-01-27 2010-01-27 固体撮像装置とその製造方法、並びに電子機器

Country Status (3)

Country Link
US (1) US8809921B2 (ja)
JP (1) JP5621266B2 (ja)
CN (1) CN102169883A (ja)

Cited By (4)

* Cited by examiner, † Cited by third party
Publication number Priority date Publication date Assignee Title
JP2014204043A (ja) * 2013-04-08 2014-10-27 キヤノン株式会社 光電変換装置および撮像システム
JP2015536569A (ja) * 2012-11-16 2015-12-21 エスアールアイ インターナショナルSRI International Cmosマルチピンド(mp)ピクセル
WO2016125601A1 (ja) * 2015-02-05 2016-08-11 ソニー株式会社 固体撮像装置および電子機器
JP2020080377A (ja) * 2018-11-13 2020-05-28 国立大学法人静岡大学 固体撮像装置

Families Citing this family (21)

* Cited by examiner, † Cited by third party
Publication number Priority date Publication date Assignee Title
TWI505453B (zh) * 2011-07-12 2015-10-21 Sony Corp 固態成像裝置,用於驅動其之方法,用於製造其之方法,及電子裝置
EP2822270A1 (en) * 2012-02-27 2015-01-07 Sony Corporation Imaging element and electronic equipment
CN102709304B (zh) * 2012-06-26 2013-06-19 天津大学 提高图像传感器满阱容量与量子效率光电二极管及方法
DE102013110695A1 (de) * 2012-10-02 2014-04-03 Samsung Electronics Co., Ltd. Bildsensor, Verfahren zum Betreiben desselben und Bildverarbeitungssystem mit demselben
US11322533B2 (en) * 2013-03-14 2022-05-03 Sony Semiconductor Solutions Corporation Solid state image sensor tolerant to misalignment and having a high photoelectric conversion efficiency
US20140347442A1 (en) * 2013-05-23 2014-11-27 Yibing M. WANG Rgbz pixel arrays, imaging devices, controllers & methods
CN103346161A (zh) * 2013-06-24 2013-10-09 上海华力微电子有限公司 改善重叠背照式cmos图像传感器图像信号质量的方法
CN103500750B (zh) * 2013-10-21 2016-06-15 上海华力微电子有限公司 一种cmos图像传感器有源像素的结构及其制造方法
KR20150109559A (ko) * 2014-03-20 2015-10-02 주식회사 동부하이텍 씨모스 이미지 센서 및 그 제조 방법
JP6623594B2 (ja) * 2015-07-22 2019-12-25 セイコーエプソン株式会社 固体撮像素子及びその製造方法
FR3046495B1 (fr) 2015-12-30 2018-02-16 Stmicroelectronics (Crolles 2) Sas Pixel de detection de temps de vol
JP6899070B2 (ja) 2016-10-28 2021-07-07 ソニーグループ株式会社 固体撮像素子、固体撮像素子の製造方法、及び電子機器
JP6840555B2 (ja) * 2017-01-30 2021-03-10 キヤノン株式会社 固体撮像装置及び撮像システム
JP6855287B2 (ja) * 2017-03-08 2021-04-07 ソニーセミコンダクタソリューションズ株式会社 固体撮像装置、および電子機器
KR102427832B1 (ko) * 2017-04-12 2022-08-02 삼성전자주식회사 이미지 센서
JP6650909B2 (ja) * 2017-06-20 2020-02-19 キヤノン株式会社 撮像装置、撮像システム、移動体、および、撮像装置の製造方法
CN108231813A (zh) * 2018-01-24 2018-06-29 德淮半导体有限公司 像素单元及其制造方法以及成像装置
CN109273470A (zh) * 2018-09-17 2019-01-25 德淮半导体有限公司 图像传感器及其形成方法
US20220359584A1 (en) * 2019-07-12 2022-11-10 Sony Semiconductor Solutions Corporation Photodetector
US20220271076A1 (en) * 2021-02-25 2022-08-25 Taiwan Semiconductor Manufacturing Company, Ltd. Photosensor having gate-all-around structure and method for forming the photosensor
KR20220125930A (ko) * 2021-03-08 2022-09-15 에스케이하이닉스 주식회사 이미지 센싱 장치

Citations (4)

* Cited by examiner, † Cited by third party
Publication number Priority date Publication date Assignee Title
JP2003115580A (ja) * 2001-10-04 2003-04-18 Sony Corp 固体撮像素子およびその製造方法
JP2006019487A (ja) * 2004-07-01 2006-01-19 Nikon Corp 増幅型固体撮像素子
JP2006024962A (ja) * 2002-06-27 2006-01-26 Canon Inc 固体撮像装置及び固体撮像装置を用いたカメラシステム
JP2006245499A (ja) * 2005-03-07 2006-09-14 Sony Corp 固体撮像装置

Family Cites Families (12)

* Cited by examiner, † Cited by third party
Publication number Priority date Publication date Assignee Title
US6489643B1 (en) * 1998-06-27 2002-12-03 Hynix Semiconductor Inc. Photodiode having a plurality of PN junctions and image sensor having the same
JP3576033B2 (ja) 1999-03-31 2004-10-13 株式会社東芝 固体撮像装置
JP3759435B2 (ja) * 2001-07-11 2006-03-22 ソニー株式会社 X−yアドレス型固体撮像素子
JP3840203B2 (ja) * 2002-06-27 2006-11-01 キヤノン株式会社 固体撮像装置及び固体撮像装置を用いたカメラシステム
US7420233B2 (en) * 2003-10-22 2008-09-02 Micron Technology, Inc. Photodiode for improved transfer gate leakage
JP4810806B2 (ja) 2004-07-30 2011-11-09 ソニー株式会社 固体撮像装置
KR100699849B1 (ko) * 2005-06-21 2007-03-27 삼성전자주식회사 국부적인 불순물 영역을 갖는 cmos 이미지 소자 및 그제조방법
JP5320659B2 (ja) * 2005-12-05 2013-10-23 ソニー株式会社 固体撮像装置
JP2008166607A (ja) 2006-12-28 2008-07-17 Sony Corp 固体撮像装置とその製造方法、並びに半導体装置とその製造方法
JP4420039B2 (ja) 2007-02-16 2010-02-24 ソニー株式会社 固体撮像装置
US8072015B2 (en) 2007-06-04 2011-12-06 Sony Corporation Solid-state imaging device and manufacturing method thereof
US8357984B2 (en) * 2008-02-08 2013-01-22 Omnivision Technologies, Inc. Image sensor with low electrical cross-talk

Patent Citations (4)

* Cited by examiner, † Cited by third party
Publication number Priority date Publication date Assignee Title
JP2003115580A (ja) * 2001-10-04 2003-04-18 Sony Corp 固体撮像素子およびその製造方法
JP2006024962A (ja) * 2002-06-27 2006-01-26 Canon Inc 固体撮像装置及び固体撮像装置を用いたカメラシステム
JP2006019487A (ja) * 2004-07-01 2006-01-19 Nikon Corp 増幅型固体撮像素子
JP2006245499A (ja) * 2005-03-07 2006-09-14 Sony Corp 固体撮像装置

Cited By (7)

* Cited by examiner, † Cited by third party
Publication number Priority date Publication date Assignee Title
JP2015536569A (ja) * 2012-11-16 2015-12-21 エスアールアイ インターナショナルSRI International Cmosマルチピンド(mp)ピクセル
JP2014204043A (ja) * 2013-04-08 2014-10-27 キヤノン株式会社 光電変換装置および撮像システム
WO2016125601A1 (ja) * 2015-02-05 2016-08-11 ソニー株式会社 固体撮像装置および電子機器
US11195873B2 (en) 2015-02-05 2021-12-07 Sony Corporation Solid-state imaging device and electronic device
US11791366B2 (en) 2015-02-05 2023-10-17 Sony Group Corporation Solid-state imaging device and electronic device
JP2020080377A (ja) * 2018-11-13 2020-05-28 国立大学法人静岡大学 固体撮像装置
JP7340218B2 (ja) 2018-11-13 2023-09-07 国立大学法人静岡大学 固体撮像装置

Also Published As

Publication number Publication date
US8809921B2 (en) 2014-08-19
CN102169883A (zh) 2011-08-31
JP5621266B2 (ja) 2014-11-12
US20110180860A1 (en) 2011-07-28

Similar Documents

Publication Publication Date Title
JP5621266B2 (ja) 固体撮像装置とその製造方法、並びに電子機器
JP5365144B2 (ja) 固体撮像装置とその製造方法、及び電子機器
US10306166B2 (en) Solid-state imaging device, manufacturing method thereof, camera, and electronic device
JP5564909B2 (ja) 固体撮像装置とその製造方法、及び電子機器
JP5493430B2 (ja) 固体撮像装置とその製造方法、及び電子機器
KR101683309B1 (ko) 고체 촬상 장치 및 전자 기기
JP5564874B2 (ja) 固体撮像装置、及び電子機器
JP2011159757A (ja) 固体撮像装置とその製造方法、固体撮像装置の駆動方法、及び電子機器
TWI455295B (zh) 固態成像裝置、電子設備及製造固態成像裝置之方法
JP2012038981A (ja) 固体撮像装置とその製造方法、並びに電子機器
JP2009272596A (ja) 固体撮像装置とその製造方法、及び電子機器
WO2014002361A1 (ja) 固体撮像装置及びその製造方法
TWI505454B (zh) 固態攝像裝置及其驅動方法、固態攝像裝置之製造方法、以及電子資訊機器
JP5407282B2 (ja) 固体撮像装置とその製造方法、及び電子機器
JP5458135B2 (ja) 固体撮像素子の製造方法
JP5600924B2 (ja) 固体撮像装置とその製造方法並びにカメラ
JP5842903B2 (ja) 固体撮像装置、及び電子機器
JP2005317639A (ja) 光電変換装置及びその製造方法
JP2011009466A (ja) 固体撮像装置及び電子機器

Legal Events

Date Code Title Description
A621 Written request for application examination

Free format text: JAPANESE INTERMEDIATE CODE: A621

Effective date: 20121205

A977 Report on retrieval

Free format text: JAPANESE INTERMEDIATE CODE: A971007

Effective date: 20131227

A131 Notification of reasons for refusal

Free format text: JAPANESE INTERMEDIATE CODE: A131

Effective date: 20140107

A521 Request for written amendment filed

Free format text: JAPANESE INTERMEDIATE CODE: A523

Effective date: 20140228

TRDD Decision of grant or rejection written
A01 Written decision to grant a patent or to grant a registration (utility model)

Free format text: JAPANESE INTERMEDIATE CODE: A01

Effective date: 20140826

A61 First payment of annual fees (during grant procedure)

Free format text: JAPANESE INTERMEDIATE CODE: A61

Effective date: 20140908

LAPS Cancellation because of no payment of annual fees