JP2010259172A - 非接触給電システム - Google Patents

非接触給電システム Download PDF

Info

Publication number
JP2010259172A
JP2010259172A JP2009104441A JP2009104441A JP2010259172A JP 2010259172 A JP2010259172 A JP 2010259172A JP 2009104441 A JP2009104441 A JP 2009104441A JP 2009104441 A JP2009104441 A JP 2009104441A JP 2010259172 A JP2010259172 A JP 2010259172A
Authority
JP
Japan
Prior art keywords
signal
power
unit
power supply
secondary coil
Prior art date
Legal status (The legal status is an assumption and is not a legal conclusion. Google has not performed a legal analysis and makes no representation as to the accuracy of the status listed.)
Granted
Application number
JP2009104441A
Other languages
English (en)
Other versions
JP5554937B2 (ja
Inventor
Hideaki Abe
秀明 安倍
Current Assignee (The listed assignees may be inaccurate. Google has not performed a legal analysis and makes no representation or warranty as to the accuracy of the list.)
Panasonic Electric Works Co Ltd
Original Assignee
Panasonic Electric Works Co Ltd
Priority date (The priority date is an assumption and is not a legal conclusion. Google has not performed a legal analysis and makes no representation as to the accuracy of the date listed.)
Filing date
Publication date
Priority to JP2009104441A priority Critical patent/JP5554937B2/ja
Application filed by Panasonic Electric Works Co Ltd filed Critical Panasonic Electric Works Co Ltd
Priority to EP10004254.8A priority patent/EP2244351B1/en
Priority to RU2010115891/07A priority patent/RU2440635C1/ru
Priority to CA2701255A priority patent/CA2701255A1/en
Priority to CN2010101701392A priority patent/CN101873014B/zh
Priority to TW099112679A priority patent/TWI414121B/zh
Priority to US12/662,548 priority patent/US8664801B2/en
Priority to KR1020100037441A priority patent/KR101169185B1/ko
Publication of JP2010259172A publication Critical patent/JP2010259172A/ja
Priority to HK11103261.3A priority patent/HK1149126B/xx
Application granted granted Critical
Publication of JP5554937B2 publication Critical patent/JP5554937B2/ja
Active legal-status Critical Current
Anticipated expiration legal-status Critical

Links

Images

Classifications

    • HELECTRICITY
    • H02GENERATION; CONVERSION OR DISTRIBUTION OF ELECTRIC POWER
    • H02JCIRCUIT ARRANGEMENTS OR SYSTEMS FOR SUPPLYING OR DISTRIBUTING ELECTRIC POWER; SYSTEMS FOR STORING ELECTRIC ENERGY
    • H02J7/00Circuit arrangements for charging or depolarising batteries or for supplying loads from batteries
    • H02J7/0029Circuit arrangements for charging or depolarising batteries or for supplying loads from batteries with safety or protection devices or circuits
    • H02J7/00308Overvoltage protection
    • HELECTRICITY
    • H02GENERATION; CONVERSION OR DISTRIBUTION OF ELECTRIC POWER
    • H02JCIRCUIT ARRANGEMENTS OR SYSTEMS FOR SUPPLYING OR DISTRIBUTING ELECTRIC POWER; SYSTEMS FOR STORING ELECTRIC ENERGY
    • H02J50/00Circuit arrangements or systems for wireless supply or distribution of electric power
    • H02J50/10Circuit arrangements or systems for wireless supply or distribution of electric power using inductive coupling
    • H02J50/12Circuit arrangements or systems for wireless supply or distribution of electric power using inductive coupling of the resonant type
    • HELECTRICITY
    • H02GENERATION; CONVERSION OR DISTRIBUTION OF ELECTRIC POWER
    • H02JCIRCUIT ARRANGEMENTS OR SYSTEMS FOR SUPPLYING OR DISTRIBUTING ELECTRIC POWER; SYSTEMS FOR STORING ELECTRIC ENERGY
    • H02J50/00Circuit arrangements or systems for wireless supply or distribution of electric power
    • H02J50/40Circuit arrangements or systems for wireless supply or distribution of electric power using two or more transmitting or receiving devices
    • H02J50/402Circuit arrangements or systems for wireless supply or distribution of electric power using two or more transmitting or receiving devices the two or more transmitting or the two or more receiving devices being integrated in the same unit, e.g. power mats with several coils or antennas with several sub-antennas
    • HELECTRICITY
    • H02GENERATION; CONVERSION OR DISTRIBUTION OF ELECTRIC POWER
    • H02JCIRCUIT ARRANGEMENTS OR SYSTEMS FOR SUPPLYING OR DISTRIBUTING ELECTRIC POWER; SYSTEMS FOR STORING ELECTRIC ENERGY
    • H02J50/00Circuit arrangements or systems for wireless supply or distribution of electric power
    • H02J50/60Circuit arrangements or systems for wireless supply or distribution of electric power responsive to the presence of foreign objects, e.g. detection of living beings
    • HELECTRICITY
    • H02GENERATION; CONVERSION OR DISTRIBUTION OF ELECTRIC POWER
    • H02JCIRCUIT ARRANGEMENTS OR SYSTEMS FOR SUPPLYING OR DISTRIBUTING ELECTRIC POWER; SYSTEMS FOR STORING ELECTRIC ENERGY
    • H02J50/00Circuit arrangements or systems for wireless supply or distribution of electric power
    • H02J50/80Circuit arrangements or systems for wireless supply or distribution of electric power involving the exchange of data, concerning supply or distribution of electric power, between transmitting devices and receiving devices
    • HELECTRICITY
    • H03ELECTRONIC CIRCUITRY
    • H03HIMPEDANCE NETWORKS, e.g. RESONANT CIRCUITS; RESONATORS
    • H03H7/00Multiple-port networks comprising only passive electrical elements as network components
    • H03H7/38Impedance-matching networks
    • HELECTRICITY
    • H04ELECTRIC COMMUNICATION TECHNIQUE
    • H04BTRANSMISSION
    • H04B5/00Near-field transmission systems, e.g. inductive or capacitive transmission systems
    • H04B5/20Near-field transmission systems, e.g. inductive or capacitive transmission systems characterised by the transmission technique; characterised by the transmission medium
    • H04B5/24Inductive coupling
    • H04B5/26Inductive coupling using coils
    • H04B5/266One coil at each side, e.g. with primary and secondary coils
    • HELECTRICITY
    • H04ELECTRIC COMMUNICATION TECHNIQUE
    • H04BTRANSMISSION
    • H04B5/00Near-field transmission systems, e.g. inductive or capacitive transmission systems
    • H04B5/70Near-field transmission systems, e.g. inductive or capacitive transmission systems specially adapted for specific purposes
    • H04B5/79Near-field transmission systems, e.g. inductive or capacitive transmission systems specially adapted for specific purposes for data transfer in combination with power transfer

Landscapes

  • Engineering & Computer Science (AREA)
  • Power Engineering (AREA)
  • Computer Networks & Wireless Communication (AREA)
  • Signal Processing (AREA)
  • Charge And Discharge Circuits For Batteries Or The Like (AREA)
  • Inverter Devices (AREA)
  • Electric Propulsion And Braking For Vehicles (AREA)

Abstract

【課題】従来例と比較して給電装置から給電される負荷機器に備えるべきコイルを削減しつつ待機時における給電装置の電力消費を低減する。
【解決手段】給電装置Aの制御部4は、信号検知部3が信号を検知していない場合に送電部1に送電を停止させ、信号検知部3が信号を検知すれば送電部1に送電を行わせる。故に、給電装置Aから負荷機器Bに給電しない場合は給電装置Aの送電部1を完全に停止させることができて待機時における給電装置Aの電力消費が低減できる。しかも、負荷機器Bの応答部120が、信号用一次コイル20と磁気結合される信号用二次コイル121に誘導される誘導起電力によって動作して信号用二次コイル121より信号を送信するので、信号用二次コイル121とは別に給電装置Aから応答部120の動作電源供給を受けるためのコイルを設ける必要が無い。
【選択図】 図1

Description

本発明は、電磁誘導を利用した非接触給電システムに関するものである。
従来より、二次電池を電源とする電気機器(電気カミソリや電動歯ブラシ、携帯電話機など)に対して、電磁誘導を利用して非接触で二次電池を充電するようにした非接触給電システムが種々提供されている。
この種の非接触給電システムでは、給電装置の一次側コイルと電気機器(負荷機器)の二次側コイルとが磁気結合されていない時(待機時)に給電装置のインバータ回路を間欠駆動することで待機時の電力消費を抑制し、一次側コイルと二次側コイルが磁気結合されている時(給電時)にインバータ回路を常時駆動することで電気機器に多くの電力を供給するようになっている。さらに、給電装置の一次側コイルの近傍に金属製の異物が置かれた場合に当該異物が誘導加熱によって発熱することを防止するため、給電装置と電気機器の双方に信号伝送用のコイルを設け、信号伝送用コイルを通じて電気機器から給電装置に信号が伝送された場合にのみ、給電装置のインバータ回路が間欠駆動から常時駆動に切り換わるようにして異物の発熱を防止している(例えば、特許文献1,2参照)。
特開平10−271713号公報 特開平8−80042号公報
しかしながら、上記従来例においては電気機器に送電しない待機時においても給電装置のインバータ回路を間欠駆動しているため、待機時にも比較的大きな電力が消費されていた。また、信号伝送用コイルを通じて電気機器から信号を伝送するため、特許文献1に記載されている従来例では、信号伝送用コイルを発振させる発振回路と、給電装置の一次側コイルと磁気結合して間欠駆動されているインバータ回路から給電されて当該発振回路に電源を供給する第2の二次側コイルとが電気機器に設けられており、電気機器に2種類の二次側コイルを設けるためのスペースとコストが必要になってしまうという問題があった。
本発明は上記事情に鑑みて為されたものであり、その目的は、従来例と比較して給電装置から給電される負荷機器に備えるべきコイルを削減しつつ待機時における給電装置の電力消費を低減することができる非接触給電システムを提供することにある。
請求項1の発明は、上記目的を達成するために、高周波電力を送電する給電装置と、給電装置から送電される高周波電力を電磁誘導により非接触で受電して負荷に供給する負荷機器とで構成され、給電装置は、送電用の一次コイル並びに当該送電用一次コイルに高周波電流を流すインバータ回路からなる送電部と、負荷機器との間で信号を送受信するための信号用一次コイル並びに当該信号用一次コイルが出力端間に接続された発振回路からなる質問部と、信号用一次コイルで受信する信号を検知する信号検知部と、信号検知部で検知する信号に応じて送電部を制御する制御部とを備え、負荷機器は、負荷と、送電用一次コイルと磁気結合される受電用の二次コイル並びに当該受電用二次コイルに誘導される高周波電力を負荷に応じた電力に変換する電力変換部を有する受電部と、信号用一次コイルと磁気結合される信号用二次コイル並びに当該信号用二次コイルに誘導される誘導起電力によって動作して信号用二次コイルより信号を送信する応答部とを備え、給電装置の制御部は、信号検知部が信号を検知していない場合は送電部に送電を停止させ、信号検知部が信号を検知している場合は送電部に送電を行わせることを特徴とする。
請求項1の発明によれば、給電装置の制御部が、信号検知部が信号を検知していない場合は送電部に送電を停止させ、信号検知部が信号を検知している場合は送電部に送電を行わせるので、給電装置から負荷機器に給電しない場合は給電装置の送電部を完全に停止させることができて待機時における給電装置の電力消費が低減できる。しかも、負荷機器の応答部が、信号用一次コイルと磁気結合される信号用二次コイルに誘導される誘導起電力によって動作して信号用二次コイルより信号を送信するので、信号用二次コイルとは別に給電装置から応答部の動作電源供給を受けるためのコイルを設ける必要が無い。その結果、従来例と比較して給電装置から給電される負荷機器に備えるべきコイルを削減しつつ待機時における給電装置の電力消費を低減することができる。
請求項2の発明は、請求項1の発明において、給電装置は、送電用一次コイルと信号用一次コイルとが互いの軸を重ねるように配置されてなり、負荷機器は、受電用二次コイルと信号用二次コイルとが互いの軸を重ねるように配置されてなることを特徴とする。
請求項2の発明によれば、コイルの配置スペースを縮小して給電装置並びに負荷機器の小型化が図れる。また、信号用一次コイルの周りに生じる磁束が鎖交する範囲内に信号用二次コイル以外の導電性を有する異物が存在する場合、当該異物に起電力が誘導されることによって当該異物の存在を知ることができるが、送電用一次コイルと信号用一次コイルとが互いの軸を重ねるように配置され、且つ受電用二次コイルと信号用二次コイルとが互いの軸を重ねるように配置されているため、送電用一次コイルと受電用二次コイルとの間に介在している異物の存在も知ることができて、異物の発熱防止が可能となる。
請求項3の発明は、請求項2の発明において、給電装置の制御部は、送電部に送電を行わせる場合にインバータ回路を間欠駆動するとともにインバータ回路の休止期間に信号検知部が信号を検知しない場合は送電部の送電を中止させることを特徴とする。
請求項3の発明によれば、請求項2の発明においてはインバータ回路が動作している間は送電用一次コイルの周りに生じる磁束が信号用一次コイルと鎖交することで信号用一次コイルで受信する信号にノイズ成分が重畳してしまうが、給電装置の制御部が、送電部に送電を行わせる場合にインバータ回路を間欠駆動するとともにインバータ回路の休止期間に信号検知部が信号を検知しない場合は送電部の送電を中止させることにより、信号検知部による信号の検知精度が向上して送電部の誤動作が防止できる。
請求項4の発明は、請求項3の発明において、負荷機器の応答部は、信号用二次コイルより振幅変調された信号を送信し、給電装置の信号検知部は、信号用一次コイルの誘起電圧を包絡線検波するとともに検波した電圧レベルが所定のしきい値を超えている場合に前記信号を検知したと判断することを特徴とする。
請求項4の発明によれば、請求項3の発明と同様の作用を奏する。
請求項5の発明は、請求項1〜4の何れか1項の発明において、負荷機器は、給電装置の制御部に対して送電部からの送電を停止あるいは送電電力の減少を指示する制御コマンドを応答部より送信させる負荷機器側制御部を備えたことを特徴とする。
請求項5の発明によれば、例えば、負荷が二次電池である場合においては二次電池が満充電になった後も送電部から送電が継続されると無駄な電力が消費されることになるので、負荷機器側制御部が応答部より制御コマンドを送信させて給電装置の送電部からの送電を停止させることで無駄な電力消費を抑えることができる。
請求項6の発明は、請求項2〜5の何れか1項の発明において、給電装置の制御部は、信号検知部で検知される信号のレベルが所定の判定値を下回る場合に送電部に送電を行わせないことを特徴とする。
請求項6の発明によれば、信号用一次コイルの周りに生じる磁束が鎖交する範囲内に負荷機器以外の導電性を有する異物が存在する場合、当該異物に起電力が誘導されることによって信号検知部で検知される信号のレベルが低下することになるから、当該信号レベルが所定の判定値を下回る場合、給電装置の制御部が送電部に送電を行わせないことによって異物が誘導加熱によって発熱することを防ぐことができる。
請求項7の発明は、請求項1〜6の何れか1項の発明において、負荷機器の応答部は、信号用二次コイルに誘起される電圧から動作電源を作成する電源回路と、電源回路で作成される動作電源で動作し信号用二次コイルに変調信号を出力する変調回路とを有することを特徴とする。
請求項7の発明によれば、請求項1〜6の何れか1項の発明と同様の作用を奏する。
請求項8の発明は、請求項7の発明において、変調回路は、信号用二次コイルの両端間に接続されるインピーダンス素子のインピーダンスを変化させることで信号に変調をかけることを特徴とする。
請求項8の発明によれば、変調回路を簡単な構成で実現できる。
請求項9の発明は、請求項7の発明において、負荷機器の受電部は、受電用二次コイルに誘導される高周波電力から応答部の動作電源を作成する第2の電源回路を有することを特徴とする。
請求項9の発明によれば、第2の電源回路が受電部で受電する高周波電力を流用して応答部の動作電源を作成するので、応答部による送信電力を増大して信号検知部の検知精度が向上できる。
請求項10の発明は、請求項1の発明において、給電装置の信号検知部は、複数の信号用一次コイルを有することを特徴とする。
請求項10の発明によれば、送電用一次コイルよりも小さい異物に対する発熱防止が図れる。
請求項11の発明は、請求項1〜10の何れか1項の発明において、負荷の種類が異なる複数種類の負荷機器を含み、これら複数種類の負荷機器の応答部は、各々負荷の種類に応じて互いに異なる周波数の信号を送受信し、給電装置の質問部は、負荷機器の種類に応じた周波数に切り換えて発振回路を発振させることを特徴とする。
請求項11の発明によれば、一つの給電装置で複数種類の負荷機器に対応することができる。
請求項12の発明は、請求項1〜11の何れか1項の発明において、負荷機器は、受電用二次コイルに誘導される高周波電力から応答部の動作電源を作成する電源回路と、当該電源回路で作成された電源で動作し伝送信号を伝送する負荷機器側信号伝送部を備え、給電装置は、負荷機器側信号伝送部との間で伝送信号を伝送する給電装置側信号伝送部を備えたことを特徴とする。
請求項12の発明によれば、負荷機器側信号伝送部と給電装置側信号伝送部との間で種々の情報を授受することができる。
請求項13の発明は、請求項1〜12の何れか1項の発明は、給電装置は、送電部から送電する高周波電力を情報信号で変調する変調回路を備え、負荷機器は、受電用二次コイルに誘導される高周波電力から前記情報信号を復調する復調回路を備えることを特徴とする。
請求項13の発明によれば、給電装置から負荷機器へ種々の情報が伝送できる。
請求項14の発明は、請求項1〜13の何れか1項の発明において、給電装置の質問部は、発振回路を間欠発振するとともに信号検知部が信号を検知したら発振回路を連続発振することを特徴とする。
請求項14の発明によれば、質問部の発振回路を間欠発振することで待機時の電力消費がさらに低減できる。
請求項15の発明は、請求項2の発明において、信号用一次コイルと信号用二次コイルとは内径及び外径が略同寸法であり且つ少なくとも信号用二次コイルの内径は受電用二次コイルの外径よりも大きいことを特徴とする。
請求項15の発明によれば、受電用二次コイルの外側に信号用二次コイルが配置されるため、信号用二次コイルから信号を送信する際の受電用二次コイルの影響を低減することができる。
請求項16の発明は、請求項2の発明において、送電用一次コイルと受電用二次コイルが磁気結合している状態において信号用一次コイル並びに信号用二次コイルが送電用一次コイルと受電用二次コイルの間に挟まれるようにそれぞれ給電装置と負荷装置に配置されていることを特徴とする。
請求項16の発明によれば、信号用一次コイルと信号用二次コイルの距離を近付けて信号検知部の検知精度が向上する。
請求項17の発明は、請求項1〜16の何れか1項の発明において、質問部の発振回路は、インバータ回路の周波数よりも高い周波数で発振し、応答部は、信号用二次コイルに誘起される電圧から動作電源を作成する電源回路と、電源回路で作成される動作電源で動作しインバータ回路の周波数よりも低い周波数の変調信号を信号用二次コイルに出力する変調回路とを有することを特徴とする。
請求項17の発明によれば、信号検知部で信号を検知する際に発振回路の発振周波数並びにインバータ回路の周波数との弁別が容易になり、また、発振回路の発振周波数を相対的に高くすることで発振回路の電力消費が抑えられる。
請求項18の発明は、請求項2の発明において、負荷機器は、受電用二次コイルに高周波電力が誘導されている間、当該高周波電力により動作して受電用二次コイルを介して応答信号を送信する応答信号送信部を備え、給電装置は、受電用二次コイルと磁気結合された送電用一次コイルを介して前記応答信号を受信する応答信号受信部を備え、給電装置の制御部は、信号検知部が信号を検知して送電部に送電を行わせている場合、応答信号受信部で応答信号を受信しない期間が所定時間を超えたときは送電部に送電を停止させ、応答信号受信部で応答信号を受信しない期間が前記所定時間以下のときは送電部に送電を継続させることを特徴とする。
請求項18の発明によれば、請求項2の発明においてはインバータ回路が動作している間は送電用一次コイルの周りに生じる磁束が信号用一次コイルと鎖交することで信号用一次コイルで受信する信号にノイズ成分が重畳して信号検知部による信号の検知精度が低下し、送電部の送電が誤って停止されてしまう虞、および負荷機器がはずされた場合での送電の継続による電力損失の増大や異物の加熱の虞があるが、信号検知部により信号が検知されて制御部が送電部からの送電を開始したら、負荷機器の応答信号送信部から送信される応答信号を応答信号受信部で受信している間は送電部の送電を継続し、応答信号を受信しなくなれば送電部の送電を停止することにより、信号検知部による信号の検知精度が低下しても送電部の誤動作が防止できる。しかも、送電部のインバータ回路を連続駆動させることができるので、請求項3の発明のようにインバータ回路を間欠駆動する場合と比較して給電効率が向上する。
請求項19の発明は、請求項18の発明において、負荷機器は、給電装置の制御部に対して送電部からの送電を停止あるいは送電電力の減少を指示する制御コマンドを応答部並びに応答信号送信部より送信させる負荷機器側制御部を備えたことを特徴とする。
請求項19の発明によれば、例えば、負荷が二次電池である場合においては二次電池が満充電になった後も送電部から送電が継続されると無駄な電力が消費されることになるので、負荷機器側制御部が応答部並びに応答信号送信部より制御コマンドを送信させて給電装置の送電部からの送電を停止させることで無駄な電力消費を抑えることができる。しかも、制御コマンドを応答部だけでなく応答信号送信部からも送信するので、信号伝送の信頼性を上げて確実に送電部を制御することができる。
本発明によれば、従来例と比較して給電装置から給電される負荷機器に備えるべきコイルを削減しつつ待機時における給電装置の電力消費を低減することができる。
本発明の実施形態1における給電装置並びに負荷機器のブロック図である。 同上における応答部の具体回路図である。 (a)は同上における送電用一次コイル、受電用二次コイル、信号用一次コイル、信号用二次コイルの断面図、(b)は送電用一次コイル並びに信号用一次コイルの平面図である。 同上の動作説明用の波形図である。 同上における送電用一次コイル、受電用二次コイル、信号用一次コイル、信号用二次コイルの他の構成の断面図である。 (a)は同上における送電用一次コイル並びに信号用一次コイルの他の構成の平面図、(b)は送電用一次コイル並びに信号用一次コイルの他の構成の断面図である。 同上における送電用一次コイル、受電用二次コイル、信号用一次コイル、信号用二次コイルの他の構成の断面図である。 同上における送電用一次コイル、受電用二次コイル、信号用一次コイル、信号用二次コイルの他の構成の断面図である。 同上の動作説明用の波形図である。 同上における給電装置の制御部の動作を説明するためのフローチャートである。 同上における送電用一次コイル並びに信号用一次コイルの他の構成の平面図である。 本発明の実施形態2における給電装置並びに負荷機器のブロック図である。 本発明の実施形態3における給電装置並びに負荷機器のブロック図である。 本発明の実施形態4における給電装置並びに負荷機器のブロック図である。 本発明の実施形態5における給電装置並びに負荷機器のブロック図である。 本発明の実施形態6における給電装置並びに負荷機器のブロック図である。 本発明の実施形態7における給電装置並びに負荷機器のブロック図である。
以下、図面を参照して本発明の実施形態を詳細に説明する。
(実施形態1)
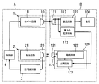
本実施形態の非接触給電システムは、図1に示すように高周波電力を送電する給電装置Aと、給電装置Aから送電される高周波電力を電磁誘導により非接触で受電して負荷に供給する負荷機器Bとで構成される。
給電装置Aは、送電用一次コイル10並びに送電用一次コイル10に高周波電流を流すインバータ回路11からなる送電部1と、負荷機器Bとの間で信号を送受信するための信号用一次コイル20並びに信号用一次コイル20が出力端間に接続された発振回路21からなる質問部2と、信号用一次コイル20で受信する信号を検知する信号検知部3と、信号検知部3で検知する信号に応じて送電部1を制御する制御部4とを備えている。
インバータ回路11は、図示しない商用交流電源から供給される低周波(50ヘルツ又は60ヘルツ)の交流電流を高周波(約100キロヘルツ)の電流(高周波電流)に変換して送電用一次コイル10に流すものである。但し、このようなインバータ回路11は従来周知であるから詳細な構成並びに動作についての図示並びに説明は省略する。
発振回路21は、インバータ回路11の周波数よりも十分に高い周波数(例えば、4メガヘルツ)で発振し、その発振信号(例えば、正弦波信号)を信号用一次コイル20に供給する。但し、このような発振回路21は従来周知であるから詳細な構成並びに動作についての図示並びに説明は省略する。
制御部4はマイクロコンピュータを主構成要素とし、図示しないメモリに格納されているプログラムをマイクロコンピュータで実行することによって、インバータ回路11の動作制御を含む種々の処理を行っている。
負荷機器Bは、負荷(例えば、二次電池)100と、送電用一次コイル10と磁気結合される受電用二次コイル111並びに受電用二次コイル111に誘導される高周波電力を負荷100に応じた電力に変換する電力変換部(本実施形態では整流回路112)を有する受電部110と、信号用一次コイル20と磁気結合される信号用二次コイル121並びに信号用二次コイル121に誘導される誘導起電力によって動作して信号用二次コイル121より信号を送信する応答部120とを備えている。
受電部110は、受電用二次コイル111に誘導される高周波電力を整流回路112で整流することにより、負荷100である二次電池を充電している。
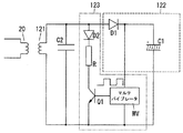
応答部120は、信号用二次コイル121に誘起される誘導起電力から動作電源(直流電圧)を作成する電源回路122と、電源回路122で作成される動作電源で動作し信号用二次コイル121に変調信号を出力する変調回路123とを有している。尚、本実施形態では信号用二次コイル121の両端間に共振用のコンデンサC2を接続しており、信号用二次コイル121とコンデンサC2とで共振回路を形成することにより、電源回路122や変調回路123に印加される高周波電圧を増大させている。
電源回路122は、図2に示すように信号用二次コイル121に流れる高周波電流をダイオードD1で整流して電解コンデンサC1を充電し、電解コンデンサC1の充電電荷を放電することで変調回路123に直流電圧を供給している。
変調回路123は、図2に示すように整流用のダイオードD2と抵抗素子Rとバイポーラトランジスタからなるスイッチング素子Q1の直列回路と、低周波(約1キロヘルツ)の方形波信号(変調信号)を生成するマルチバイブレータMVとを具備し、マルチバイブレータMVから出力される方形波信号でスイッチング素子Q1をスイッチングすることによって、信号用二次コイル121に誘起される高周波電圧(搬送波)を方形波信号で振幅変調するものである。但し、抵抗Rの代わりにコンデンサ若しくは複数のコンデンサの並列回路を使用し、スイッチング素子Q1のオン・オフに応じて信号用二次コイル121に接続されるインピーダンス(静電容量)を増減する構成としても構わない。
一方、変調回路123により搬送波(信号用二次コイル121に誘起される高周波電圧)を振幅変調すると、信号用二次コイル121と磁気結合されている信号用一次コイル20の高周波電圧波形にも同様の変化が生じる。したがって、信号検知部3では信号用一次コイル20の高周波電圧波形を包絡線検波することで変調信号(方形波信号)を復調(検知)することができる。
ここで、給電装置A並びに負荷機器Bにおいては、図3に示すように電力伝送用のコイル10,111と信号伝送用のコイル20,121とがそれぞれ軸方向(図3(a)における上下方向)と直交する平面内で並ぶように配置されている。
次に、図4の波形図を参照しながら本実施形態の動作を説明する。尚、図4の(a)は信号用一次コイル20に生じる高周波電圧波形、(b)は変調回路123から出力される変調信号(方形波信号)、(c)は信号検知部3が信号用一次コイル20の高周波電圧波形を包絡線検波した検波波形、(d)は、検波波形をピークホールドした波形、(e)は信号検知部3による信号の検知結果(負荷機器Bからの信号を検知したときにHレベル、検知しないときにLレベルとなる2値信号)、(f)は制御部4が送電部1を制御するための制御信号(Hレベルのときにインバータ回路11を駆動させ、Lレベルのときはインバータ回路11を停止させる信号)、(g)は送電用一次コイル10に流れる高周波電流波形である。
図示しない商用交流電源から給電装置Aに給電が開始されると(電源ON)、制御部4がLレベルの制御信号を出力して送電部1のインバータ回路11を停止状態とし、質問部2の発振回路21が直ちに発振を開始する。信号用一次コイル20の近傍に負荷機器Bの信号用二次コイル121が存在しない状態(無負荷状態)では信号用一次コイル20に生じる高周波電圧波形の振幅が一定となる。信号検知部3では高周波電圧波形の振幅が一定で変化しなければ包絡線検波を行わず、制御部4に対して信号無しの検知結果(Lレベルの信号)を出力する。故に、制御部4は信号検知部3が信号を検知していないことから無負荷状態であると判断し、Lレベルの制御信号の出力を継続することで送電部1のインバータ回路11を停止状態のままとする。
また、信号用一次コイル20の近傍に導電性を有する異物(例えば、金属)が置かれた場合、信号用一次コイル20の周囲に生じる磁束が金属異物に鎖交することで高周波電圧波形の振幅が小さくはなるが一定のまま変化しない。故に、信号検知部3は高周波電圧波形の振幅が一定で変化しないので包絡線検波を行わず、制御部4に対して信号無しの検知結果を出力する。そして、制御部4は信号検知部3が信号を検知していないため、Lレベルの制御信号の出力を継続することで送電部1のインバータ回路11を停止状態のままとする。
一方、給電装置Aに対して負荷機器Bが規定の位置に配置されると、送電用一次コイル10と受電用二次コイル111、信号用一次コイル20と信号用二次コイル121がそれぞれ磁気結合可能な位置に配置される。信号用二次コイル121が信号用一次コイル20と磁気結合すれば、信号用二次コイル121に誘導起電力が生じて電源回路122が動作電源を作成し、電源回路122で作成される動作電源によって変調回路123が動作を開始して信号用二次コイル121に変調信号を出力する(図4(b)参照)。その結果、変調回路123により搬送波が振幅変調され(図4(a)参照)、信号用二次コイル121と磁気結合されている信号用一次コイル20の高周波電圧波形にも同様の変化が生じ、信号検知部3において信号用一次コイル20の高周波電圧波形を包絡線検波することで変調信号(方形波信号)を復調(検知)することができる(図4(c)参照)。信号検知部3では復調した方形波信号をピークホールドし(図4(d)参照)、そのピーク値が所定のしきい値を超えていれば、負荷機器Bが存在していると判断して信号有りの検知結果(Hレベルの信号)を出力する(図4(e)参照)。制御部4は信号検知部3からHレベルの信号を受け取ると、制御信号をLレベルからHレベルに切り換えて送電部1のインバータ回路11を駆動させる(図4(f)参照)。インバータ回路11が駆動されると、送電部10から受電部110へ非接触で高周波電力が伝送されて負荷100である二次電池が充電される。
そして、給電装置Aに対して負荷機器Bが規定の位置から移動させられて送電用一次コイル10と受電用二次コイル111、信号用一次コイル20と信号用二次コイル121がそれぞれ磁気結合不能な位置に配置されると、上述した無負荷状態となり、信号検知部3から制御部4に対して信号無しの検知結果(Lレベルの信号)が出力され、制御部4が制御信号をHレベルからLレベルに切り換えてインバータ回路11を停止させる。
上述のように本実施形態では、給電装置Aの制御部4が、信号検知部3が信号を検知していない場合は送電部1に送電を停止させ、信号検知部3が信号を検知している場合は送電部1に送電を行わせるので、給電装置Aから負荷機器Bに給電しない場合は給電装置Aの送電部1(インバータ回路11)を完全に停止させることができて待機時における給電装置Aの電力消費が低減できる。しかも、負荷機器Bの応答部120が、信号用一次コイル20と磁気結合される信号用二次コイル121に誘導される誘導起電力によって動作して信号用二次コイル121より信号を送信するので、信号用二次コイル121とは別に給電装置Aから応答部120の動作電源供給を受けるためのコイルを設ける必要が無い。その結果、従来例と比較して給電装置Aから給電される負荷機器Bに備えるべきコイルを削減しつつ待機時における給電装置Aの電力消費を低減することができる。
ところで、図3に示すように信号用一次コイル20と信号用二次コイル121を軸方向と直交する平面内で送電用一次コイル10並びに受電用二次コイル111とそれぞれ離して配置していると、給電装置Aに対して負荷機器Bが規定の位置に配置されている状況で送電用一次コイル10と受電用二次コイル111との間に異物(例えば、金属片)が挟まっている場合に制御部4がインバータ回路11を駆動させてしまい、当該異物が発熱してしまう虞がある。故に、送電用一次コイル10と受電用二次コイル111との間に異物(例えば、金属片)が挟まっていることを検出し、制御部4がインバータ回路11を停止させることで異物の発熱を防止することが望ましい。
そのために給電装置Aにおいて、送電用一次コイル10と信号用一次コイル20とを互いの軸を重ねるように配置し、負荷機器Bにおいて、受電用二次コイル111と信号用二次コイル121とを互いの軸を重ねるように配置する(図5参照)。尚、送電用一次コイル10と受電用二次コイル121並びに信号用一次コイル20と信号用二次コイル121は各々同じ大きさ、つまり、内径及び外径が等しい円形に形成されている。尚、図5に示すように送電用一次コイル10と受電用二次コイル111が互いの軸を一致させるように対向配置されて磁気結合している状態において、信号用一次コイル20並びに信号用二次コイル121が送電用一次コイル10と受電用二次コイル111の間に挟まれるようにそれぞれ給電装置Aと負荷装置Bに配置されている。このような配置にすれば、信号用一次コイル20と信号用二次コイル121の距離を近付けて信号検知部3の検知精度が向上するという利点がある。また、信号用二次コイル121については搬送波に対する変調の度合を大きくするために、可能な限り他のコイル(特に受電用二次コイル111)の影響を低減することが望ましい。そこで、図6〜図8に示すように受電用二次コイル111の外側に信号用二次コイル121を配置すれば、信号用二次コイル121から信号を送信する(搬送波に変調をかける)際の受電用二次コイル111の影響を低減することができる。尚、本実施形態では円弧状の巻線を平面上に配置したコイルを使用しているが、これに限定する趣旨ではなく、円筒状や矩形状あるいは楕円形状のコイルを使用しても構わない。
次に、図9の波形図を参照しながら動作を説明する。尚、図9の(a)は信号用一次コイル20に生じる高周波電圧波形、(b)は変調回路123から出力される変調信号(方形波信号)、(c)は信号検知部3が信号用一次コイル20の高周波電圧波形を包絡線検波した検波波形、(d)は、検波波形をピークホールドした波形、(e)は信号検知部3による信号の検知結果(負荷機器Bからの信号を検知したときにHレベル、検知しないときにLレベルとなる2値信号)、(f)は制御部4が送電部1を制御するための制御信号(Hレベルのときにインバータ回路11を駆動させ、Lレベルのときはインバータ回路11を停止させる信号)、(g)は送電用一次コイル10に流れる高周波電流波形である。
ここで、無負荷状態並びに信号用一次コイル20の近傍に金属異物のみが存在する場合の動作は上述した場合と共通であるから説明を省略する。
給電装置Aに対して負荷機器Bが規定の位置に配置されると、送電用一次コイル10と受電用二次コイル111、信号用一次コイル20と信号用二次コイル121がそれぞれ磁気結合可能な位置に配置される。信号用二次コイル121が信号用一次コイル20と磁気結合すれば、信号用二次コイル121に誘導起電力が生じて電源回路122が動作電源を作成し、電源回路122で作成される動作電源によって変調回路123が動作を開始して信号用二次コイル121に変調信号を出力する(図9(b)参照)。その結果、変調回路123により搬送波が振幅変調され(図9(a)の期間t1参照)、信号用二次コイル121と磁気結合されている信号用一次コイル20の高周波電圧波形にも同様の変化が生じ、信号検知部3において信号用一次コイル20の高周波電圧波形を包絡線検波することで変調信号(方形波信号)を復調(検知)することができる(図9(c)参照)。信号検知部3では復調した方形波信号をピークホールドし(図9(d)参照)、そのピーク値が所定のしきい値を超えていれば、負荷機器Bが存在していると判断して信号有りの検知結果を出力する(図9(e)参照)。制御部4は信号検知部3からHレベルの信号を受け取ると、制御信号をLレベルからHレベルに切り換えて送電部1のインバータ回路11を駆動させる(図9(f)参照)。インバータ回路11が駆動されると、送電部10から受電部110へ非接触で高周波電力が伝送されて負荷100である二次電池が充電される。
ここで、インバータ回路11が駆動されている間、送電用一次コイル10の周りに生じる磁束が送電用一次コイル10と同軸上に配置されている信号用一次コイル20に鎖交するため、図9(a)に示すように信号用一次コイル20に生じる高周波電圧波形に大きなノイズ成分が重畳するため、信号検知部3における信号の検知が困難になる。
そのために本実施形態では、制御部4がインバータ回路11を間欠駆動し、インバータ回路11が休止している期間(休止期間)Txにおける信号検知部3の検知結果のみを有効なものとみなし、休止期間Txに信号検知部3が信号を検知している間はインバータ回路11の間欠駆動を継続するが、休止期間Txに信号検知部3が信号を検知しなくなればインバータ回路11を停止させている。つまり、インバータ回路11の休止期間Txにおいては送電用一次コイル10の周りに磁束が生じていないので、信号用一次コイル20に生じる高周波電圧波形に大きなノイズ成分が重畳することもなく、信号検知部3において精度よく信号を検知可能である。故に、休止期間Txにおける信号検知部3の検知結果に基づいて制御部4が応答部1を制御すれば、応答部1の給電中においても負荷機器Bの存在を確実に検知して誤動作を防ぐことができる。
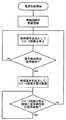
一方、送電用一次コイル10及び信号用一次コイル20と受電用二次コイル111及び信号用二次コイル121との間に金属片などの金属異物が挟み込まれていると、金属異物の影響で信号用二次コイル121に誘起される高周波電圧が低下し、電源回路122において変調回路123を動作させるのに十分な動作電源が得られなくなる等の理由で信号用一次コイルに生じる高周波電圧波形の電圧レベルが低下する(図9(a)の期間t2参照)。したがって、信号検知部3では、復調した方形波信号のピーク値もしきい値を超えないため、信号無しの検知結果(Lレベルの信号)を制御部4に出力することになる。その結果、制御部4が制御信号をHレベルからLレベルに切り換えてインバータ回路11を停止させるので、金属異物が挟まれたままで送電部1が送電することによる金属異物の発熱が防止できるものである。ここで、上述した動作のうちで給電装置Aの制御部4が行う処理内容を図10のフローチャートに示す。
ところで、本実施形態においては発振回路21の発振周波数(約4メガヘルツ)並びにインバータ回路11の周波数(約100キロヘルツ)に対して変調回路123の変調信号の周波数を相対的に低く(約1キロヘルツ)しているので、信号検知部3が変調信号を包絡線検波する際のフィルタリングが簡単になる。また、信号用一次コイル20並びに信号用二次コイル121は何れも線径の細い巻線を使用し、巻き数も小さくして且つ低消費電力で動作させるため、発振回路21の発振周波数を相対的に最も高くすることでコイル20,121の交流インピーダンスを大きくして流れる電流を小さくしている。
尚、給電装置Aでは質問部2の発振回路21を連続発振しているが、信号検知部3が信号を検知していない間は発振回路21を間欠発振させ、信号検知部3が信号を検知したら発振回路21を連続発振させれば、発振回路21を常時発振させる場合と比較して待機時の電力消費がさらに低減できる。さらに、信号検知部3が信号を検知している場合においても、間欠駆動されているインバータ回路11の休止期間Txのみに発振回路21を発振させ、インバータ回路11が駆動されている期間には発振回路21の発振を休止するようにしても構わない。
ここで、図11に示すように給電装置Aの信号検知部3に送電用一次コイル10よりも大きい信号用一次コイル20に加えて、送電用一次コイル10よりも小さい複数(図示例では6つ)の信号用一次コイル20’を設けておけば、送電用一次コイル10よりも小さい異物が存在する場合でも、何れかの信号用一次コイル20’に生じる高周波電圧波形に基づいて当該異物の存在を検出し、インバータ回路11を停止して異物の発熱防止が図れる。
ところで、一つの給電装置Aによって異なる種類の負荷100を有する複数種類の負荷機器Bに給電する場合、それぞれの負荷100の種類に応じて送電部1から送電する電力を調整しなければならないことがある。そのため、待機時において制御部4が質問部2の発振回路21を予め設定された複数通りの周波数で時分割に発振させ、それぞれの発振周波数に対する信号検知部3の信号の検知結果から相手の負荷機器Bの種類を判断し、その種類の負荷機器Bに応じてインバータ回路11の周波数を増減することで送電部1から送電する電力を調整すればよい。
(実施形態2)
本実施形態の非接触給電システムは、図12に示すように給電装置Aの制御部4に対して送電部1からの送電を停止あるいは送電電力の減少を指示する制御コマンドを応答部120より送信させる負荷機器側制御部130を負荷機器Bに備えた点に特徴がある。尚、その他の構成は実施形態1と共通であるから、実施形態1と共通の構成要素には同一の符号を付して説明を省略する。
例えば、負荷100が二次電池である場合、二次電池が満充電になった後も給電装置Aから給電し続けると電力を無駄に消費することになる。また、受電部110と負荷100との間の給電路にスイッチ要素(半導体スイッチ素子あるいはリレー)を挿入し、二次電池が満充電になったら前記スイッチ要素を開成して受電部110から負荷100への電力供給を遮断することが考えられる。しかしながら、送電部1からの送電が継続されているために受電用二次コイル111の端子電圧が上昇するので、電力変換部(整流回路112)の耐圧に余裕を持たせる必要が生じるためにコストやサイズがアップしてしまう虞がある。
それに対して本実施形態では、負荷100である二次電池が満充電となった場合、負荷機器側制御部130が応答部120の変調回路123を停止させ、給電装置Aの信号検知部3に信号が検知されないようにしている。その結果、給電装置Aの制御部4が信号検知部3で信号が検知されないためにインバータ回路11を停止させるので、送電部1からの送電を止めることができる。
(実施形態3)
本実施形態の非接触給電システムは、図13に示すように受電用二次コイル111に誘導される高周波電力から応答部120の動作電源を作成する第2の電源回路113を負荷機器Bの受電部110に設けた点に特徴がある。尚、その他の構成は実施形態1と共通であるから、実施形態1と共通の構成要素には同一の符号を付して説明を省略する。
第2の電源回路113は、送電部1から受電部110へ送電されている場合に受電用二次コイル111に誘導される高周波電力を整流・平滑して作成した直流電源を応答部120の変調回路123に供給する。
すなわち、給電装置Aの質問部2から伝送される電力はごく僅かであり、応答部120の電源回路122で作成される動作電源の容量も非常に小さいが、第2の電源回路113が受電部110で受電する高周波電力を流用して応答部120の動作電源を作成すれば、応答部120による送信電力を増大して信号検知部3の検知精度が向上できるという利点がある。
(実施形態4)
本実施形態の非接触給電システムは、図14に示すように受電用二次コイル111に誘導される高周波電力から応答部120の動作電源を作成する第2の電源回路113と、第2の電源回路113で作成された電源で動作し伝送信号を伝送する負荷機器側信号伝送部124を負荷機器Bの応答部120に設けるとともに、負荷機器側信号伝送部124との間で伝送信号を伝送する給電装置側信号伝送部5と、当該伝送信号で伝送される情報を記憶するメモリ6とを給電装置Aに設けた点に特徴がある。尚、その他の構成は実施形態1と共通であるから、実施形態1と共通の構成要素には同一の符号を付して説明を省略する。
負荷機器側信号伝送部124は、送信用コイル124aを有し、例えば、周波数変調された伝送信号を送信用コイル124aを介して伝送するものである。一方、給電装置側信号伝送部5は、送信用コイル124aと磁気結合する受信用コイル50を有し、受信用コイル50に誘起される高周波電圧(周波数変調された伝送信号)から元の情報を復調するものであり、復調された情報がメモリ6に記憶される。尚、負荷機器Bから給電装置Aへ伝送信号によって伝送される情報は特に限定されない。
このように本実施形態によれば、負荷機器側信号伝送部124と給電装置側信号伝送部5との間で種々の情報を授受することができる。
(実施形態5)
本実施形態の非接触給電システムは、図15に示すように給電装置Aから負荷機器Bへ伝送する情報信号を発生する給電側情報信号発生回路7と、送電部1から送電する高周波電力を前記情報信号で変調する変調回路8とを給電装置Aに備え、受電用二次コイル111に誘導される高周波電力から前記情報信号を復調する復調回路140と、復調回路140で復調された情報(情報信号)を記憶するメモリ150と、当該情報に基づいて負荷100を制御する制御部160とを負荷機器Bに備えている点に特徴がある。尚、その他の構成は実施形態1と共通であるから、実施形態1と共通の構成要素には同一の符号を付して説明を省略する。
変調回路8は、給電側情報信号発生回路7が発生する情報信号(ベースバンド信号)によりインバータ回路11が出力する高周波電圧(搬送波)を変調(振幅変調、周波数変調、あるいは位相変調)する。復調回路140では受電用二次コイル111に誘導される高周波電圧(変調された搬送波)から情報信号を復調する。尚、給電装置Aから負荷機器Bへ情報信号によって伝送される情報は特に限定されない。
このように本実施形態によれば、給電装置Aから負荷機器Bへ種々の情報を伝送することができる。
(実施形態6)
本実施形態の非接触給電システムは、図16に示すように受電用二次コイルに高周波電力が誘導されている間、当該高周波電力により動作して受電用二次コイルを介して応答信号を送信する応答信号送信部170を負荷機器Bに備え、受電用二次コイル111と磁気結合された送電用一次コイル10を介して応答信号を受信する応答信号受信部9を給電装置Aに備えている点に特徴がある。尚、その他の構成は実施形態1と共通であるから、実施形態1と共通の構成要素には同一の符号を付して説明を省略する。
応答信号送信部170は、受電用二次コイル111に誘導される高周波電力から動作電源を作成する電源回路171と、電源回路171で作成される動作電源で動作し、受電用二次コイル111の誘起電圧(搬送波)を変調(例えば、振幅変調)する変調回路172とを有している。つまり、応答信号送信部170は給電装置Aの送電部1から負荷機器Bの受電部110に給電されているときにだけ応答信号を送信することが可能であり、送電部1から受電部110に給電されていないときには応答信号を送信することはできない。但し、応答信号送信部170は応答信号を連続送信してもよいし、あるいは間欠送信しても構わない。
応答信号受信部9は、送電用一次コイル10の高周波電圧波形を包絡線検波することで応答信号を復調して制御部4に出力するものである。
ここで、送電部1から送電されている間は信号用一次コイル20に生じる高周波電圧波形に大きなノイズ成分が重畳するために信号検知部3における信号の検知が困難になるので、実施形態1では送電部1のインバータ回路11を間欠駆動することでインバータ回路11の停止期間に信号検知部3で信号を検知できるようにしている。これに対して本実施形態では、給電装置Aの制御部4が、信号検知部3が信号を検知して送電部1に送電を行わせている場合、応答信号受信部9で応答信号を受信しない期間が所定時間(応答信号が間欠送信される場合は応答信号の送信周期よりも十分に長い時間)を超えたときに送電部1に送電を停止させ、応答信号受信部9で応答信号を受信しない期間が前記所定時間以下のときは送電部1に送電を継続させる。
而して、本実施形態では負荷機器Bの応答信号送信部170から送信される応答信号が応答信号受信部9で受信できるか否かに基づいて、制御部4が送電部1の送電の継続と停止を判断するので、送電部1からの送電中に信号検知部3の検知精度が低下したとしても、送電部1のインバータ回路11を連続駆動させながら送電部1の誤動作が防止でき、実施形態1のようにインバータ回路11を間欠駆動する場合と比較して給電効率が向上するという利点がある。
(実施形態7)
本実施形態の非接触給電システムは、図17に示すように給電装置Aの制御部4に対して送電部1からの送電を停止あるいは送電電力の減少を指示する制御コマンドを応答部120並びに応答信号送信部170より送信させる負荷機器側制御部130を負荷機器Bに備えている点に特徴がある。尚、その他の構成は実施形態2及び実施形態6と共通であるから、実施形態2又は実施形態6と共通の構成要素には同一の符号を付して説明を省略する。
実施形態2では、負荷100である二次電池が満充電となった場合、負荷機器側制御部130が応答部120の変調回路123を停止させ、給電装置Aの信号検知部3に信号が検知されないようにしている。しかしながら、実施形態6で説明したようにインバータ回路11を連続駆動している場合には応答部120の変調回路123を停止させても信号検知部3がノイズ成分を信号として誤検知してしまう可能性が有る。
そこで本実施形態では、負荷100である二次電池が満充電となった場合、負荷機器側制御部130が応答部120の変調回路123と応答信号送信部170の変調回路172を両方とも停止させ、給電装置Aの信号検知部3に信号が誤検知されても応答信号受信部9が応答信号を受信しなくなることで制御部4に送電部1の送電を停止させることができる。
このように本実施形態では、インバータ回路11を連続駆動する場合においても信号伝送の信頼性を上げて確実に送電部1を制御することができる。
A 給電装置
B 負荷機器
1 送電部
2 質問部
3 信号検知部
4 制御部
10 送電用一次コイル
11 インバータ回路
100 負荷
110 受電部
111 受電用二次コイル
120 応答部
121 信号用二次コイル

Claims (19)

  1. 高周波電力を送電する給電装置と、給電装置から送電される高周波電力を電磁誘導により非接触で受電して負荷に供給する負荷機器とで構成され、
    給電装置は、送電用の一次コイル並びに当該送電用一次コイルに高周波電流を流すインバータ回路からなる送電部と、負荷機器との間で信号を送受信するための信号用一次コイル並びに当該信号用一次コイルが出力端間に接続された発振回路からなる質問部と、信号用一次コイルで受信する信号を検知する信号検知部と、信号検知部で検知する信号に応じて送電部を制御する制御部とを備え、
    負荷機器は、負荷と、送電用一次コイルと磁気結合される受電用の二次コイル並びに当該受電用二次コイルに誘導される高周波電力を負荷に応じた電力に変換する電力変換部を有する受電部と、信号用一次コイルと磁気結合される信号用二次コイル並びに当該信号用二次コイルに誘導される誘導起電力によって動作して信号用二次コイルより信号を送信する応答部とを備え、
    給電装置の制御部は、信号検知部が信号を検知していない場合は送電部に送電を停止させ、信号検知部が信号を検知している場合は送電部に送電を行わせることを特徴とする非接触給電システム。
  2. 給電装置は、送電用一次コイルと信号用一次コイルとが互いの軸を重ねるように配置されてなり、負荷機器は、受電用二次コイルと信号用二次コイルとが互いの軸を重ねるように配置されてなることを特徴とする請求項1記載の非接触給電システム。
  3. 給電装置の制御部は、送電部に送電を行わせる場合にインバータ回路を間欠駆動するとともにインバータ回路の休止期間に信号検知部が信号を検知しない場合は送電部の送電を中止させることを特徴とする請求項2記載の非接触給電システム。
  4. 負荷機器の応答部は、信号用二次コイルより振幅変調された信号を送信し、給電装置の信号検知部は、信号用一次コイルの誘起電圧を包絡線検波するとともに検波した電圧レベルが所定のしきい値を超えている場合に前記信号を検知したと判断することを特徴とする請求項3記載の非接触給電システム。
  5. 負荷機器は、給電装置の制御部に対して送電部からの送電を停止あるいは送電電力の減少を指示する制御コマンドを応答部より送信させる負荷機器側制御部を備えたことを特徴とする請求項1〜4の何れか1項に記載の非接触給電システム。
  6. 給電装置の制御部は、信号検知部で検知される信号のレベルが所定の判定値を下回る場合に送電部に送電を行わせないことを特徴とする請求項2〜5の何れか1項に記載の非接触給電システム。
  7. 負荷機器の応答部は、信号用二次コイルに誘起される電圧から動作電源を作成する電源回路と、電源回路で作成される動作電源で動作し信号用二次コイルに変調信号を出力する変調回路とを有することを特徴とする請求項1〜6の何れか1項に記載の非接触給電システム。
  8. 変調回路は、信号用二次コイルの両端間に接続されるインピーダンス素子のインピーダンスを変化させることで信号に変調をかけることを特徴とする請求項7記載の非接触給電システム。
  9. 負荷機器の受電部は、受電用二次コイルに誘導される高周波電力から応答部の動作電源を作成する第2の電源回路を有することを特徴とする請求項7記載の非接触給電システム。
  10. 給電装置の信号検知部は、複数の信号用一次コイルを有することを特徴とする請求項1記載の非接触給電システム。
  11. 負荷の種類が異なる複数種類の負荷機器を含み、これら複数種類の負荷機器の応答部は、各々負荷の種類に応じて互いに異なる周波数の信号を送受信し、
    給電装置の質問部は、負荷機器の種類に応じた周波数に切り換えて発振回路を発振させることを特徴とする請求項1〜10の何れか1項に記載の非接触給電システム。
  12. 負荷機器は、受電用二次コイルに誘導される高周波電力から応答部の動作電源を作成する電源回路と、当該電源回路で作成された電源で動作し伝送信号を伝送する負荷機器側信号伝送部を備え、
    給電装置は、負荷機器側信号伝送部との間で伝送信号を伝送する給電装置側信号伝送部を備えたことを特徴とする請求項1〜11の何れか1項に記載の非接触給電システム。
  13. 給電装置は、送電部から送電する高周波電力を情報信号で変調する変調回路を備え、
    負荷機器は、受電用二次コイルに誘導される高周波電力から前記情報信号を復調する復調回路を備えることを特徴とする請求項1〜12の何れか1項に記載の非接触給電システム。
  14. 給電装置の質問部は、発振回路を間欠発振するとともに信号検知部が信号を検知したら発振回路を連続発振することを特徴とする請求項1〜13の何れか1項に記載の非接触給電システム。
  15. 信号用一次コイルと信号用二次コイルとは内径及び外径が略同寸法であり且つ少なくとも信号用二次コイルの内径は受電用二次コイルの外径よりも大きいことを特徴とする請求項2記載の非接触給電システム。
  16. 送電用一次コイルと受電用二次コイルが磁気結合している状態において信号用一次コイル並びに信号用二次コイルが送電用一次コイルと受電用二次コイルの間に挟まれるようにそれぞれ給電装置と負荷装置に配置されていることを特徴とする請求項2記載の非接触給電システム。
  17. 質問部の発振回路は、インバータ回路の周波数よりも高い周波数で発振し、応答部は、信号用二次コイルに誘起される電圧から動作電源を作成する電源回路と、電源回路で作成される動作電源で動作しインバータ回路の周波数よりも低い周波数の変調信号を信号用二次コイルに出力する変調回路とを有することを特徴とする請求項1〜16の何れか1項に記載の非接触給電システム。
  18. 負荷機器は、受電用二次コイルに高周波電力が誘導されている間、当該高周波電力により動作して受電用二次コイルを介して応答信号を送信する応答信号送信部を備え、
    給電装置は、受電用二次コイルと磁気結合された送電用一次コイルを介して前記応答信号を受信する応答信号受信部を備え、
    給電装置の制御部は、信号検知部が信号を検知して送電部に送電を行わせている場合、応答信号受信部で応答信号を受信しない期間が所定時間を超えたときは送電部に送電を停止させ、応答信号受信部で応答信号を受信しない期間が前記所定時間以下のときは送電部に送電を継続させることを特徴とする請求項2記載の非接触給電システム。
  19. 負荷機器は、給電装置の制御部に対して送電部からの送電を停止あるいは送電電力の減少を指示する制御コマンドを応答部並びに応答信号送信部より送信させる負荷機器側制御部を備えたことを特徴とする請求項18記載の非接触給電システム。
JP2009104441A 2009-04-22 2009-04-22 非接触給電システム Active JP5554937B2 (ja)

Priority Applications (9)

Application Number Priority Date Filing Date Title
JP2009104441A JP5554937B2 (ja) 2009-04-22 2009-04-22 非接触給電システム
RU2010115891/07A RU2440635C1 (ru) 2009-04-22 2010-04-21 Бесконтактная система электропитания
CA2701255A CA2701255A1 (en) 2009-04-22 2010-04-21 Contactless power supply system
CN2010101701392A CN101873014B (zh) 2009-04-22 2010-04-21 非接触电力供应系统
EP10004254.8A EP2244351B1 (en) 2009-04-22 2010-04-21 Non-contact power supply system
TW099112679A TWI414121B (zh) 2009-04-22 2010-04-22 非接觸電力供應系統
US12/662,548 US8664801B2 (en) 2009-04-22 2010-04-22 Non-contact power supply system
KR1020100037441A KR101169185B1 (ko) 2009-04-22 2010-04-22 비접촉 급전 시스템
HK11103261.3A HK1149126B (en) 2009-04-22 2011-03-30 Non-contact power supply system

Applications Claiming Priority (1)

Application Number Priority Date Filing Date Title
JP2009104441A JP5554937B2 (ja) 2009-04-22 2009-04-22 非接触給電システム

Publications (2)

Publication Number Publication Date
JP2010259172A true JP2010259172A (ja) 2010-11-11
JP5554937B2 JP5554937B2 (ja) 2014-07-23

Family

ID=42244848

Family Applications (1)

Application Number Title Priority Date Filing Date
JP2009104441A Active JP5554937B2 (ja) 2009-04-22 2009-04-22 非接触給電システム

Country Status (8)

Country Link
US (1) US8664801B2 (ja)
EP (1) EP2244351B1 (ja)
JP (1) JP5554937B2 (ja)
KR (1) KR101169185B1 (ja)
CN (1) CN101873014B (ja)
CA (1) CA2701255A1 (ja)
RU (1) RU2440635C1 (ja)
TW (1) TWI414121B (ja)

Cited By (29)

* Cited by examiner, † Cited by third party
Publication number Priority date Publication date Assignee Title
JP2012244778A (ja) * 2011-05-19 2012-12-10 Panasonic Corp 非接触給電装置の金属異物検出方法、非接触給電装置、電気機器に設けられた受電装置及び非接触給電システム
JP2012249401A (ja) * 2011-05-27 2012-12-13 Nissan Motor Co Ltd 非接触給電装置
JP2013034292A (ja) * 2011-08-01 2013-02-14 Panasonic Corp 非接触給電装置
JP2013046526A (ja) * 2011-08-25 2013-03-04 Panasonic Corp 非接触給電システムの金属異物検出方法、非接触給電装置、電気機器に設けられた受電装置及び非接触給電システム
JP2013120932A (ja) * 2011-12-07 2013-06-17 Panasonic Corp 非接触充電モジュール及びそれを備えた携帯端末
JP2013192390A (ja) * 2012-03-14 2013-09-26 Sony Corp 検知装置、受電装置、送電装置及び非接触給電システム
JP2013240235A (ja) * 2012-05-17 2013-11-28 Sony Corp 受電装置、および、給電システム
WO2014104813A1 (ko) * 2012-12-31 2014-07-03 주식회사 한림포스텍 공진형 무선 전력 전송 시스템에서의 무선 전력 전송 제어 방법, 이를 이용하는 무선 전력 전송 장치, 및 이를 이용하는 무선 전력 수신 장치
JP2014207863A (ja) * 2009-09-10 2014-10-30 クアルコム,インコーポレイテッド 可変ワイヤレス電力伝送
JP2015502583A (ja) * 2011-09-22 2015-01-22 ノースロップ グルマン ガイダンス アンド エレクトロニクス カンパニー,インク. 位相生成搬送波の感知データ搬送能力
WO2015025478A1 (ja) * 2013-08-21 2015-02-26 パナソニックIpマネジメント株式会社 携帯端末充電装置と、それを搭載した自動車
KR20150085132A (ko) * 2012-12-12 2015-07-22 퀄컴 인코포레이티드 무선 충전 교차 접속의 회피를 가능하게 하는 시스템 및 방법
JP2015521019A (ja) * 2012-05-02 2015-07-23 パワーバイプロキシ リミテッド 誘導電力伝送システムにおいて受信機を検出及び特定する方法
US9124110B2 (en) 2012-03-21 2015-09-01 Kabushiki Kaisha Tokai Rika Denki Seisakusho In-vehicle wireless charging system
JP2016502385A (ja) * 2012-10-19 2016-01-21 ワイトリシティ コーポレーションWitricity Corporation 無線エネルギー伝送システムにおける異物検出
JP2016536962A (ja) * 2013-11-11 2016-11-24 パワーバイプロキシ リミテッド 磁気シグネチャを有する受電器及び当該受電器を動作させる方法
US9607757B2 (en) 2011-11-02 2017-03-28 Panasonic Corporation Non-contact wireless communication coil, transmission coil, and portable wireless terminal
US9667086B2 (en) 2012-06-28 2017-05-30 Panasonic Intellectual Property Management Co., Ltd. Mobile terminal
WO2017094386A1 (ja) * 2015-11-30 2017-06-08 オムロン株式会社 非接触給電システム
KR20170073525A (ko) * 2015-12-18 2017-06-28 제네럴 일렉트릭 컴퍼니 비접촉 전력 전송 시스템 및 그 제어 방법
US9735606B2 (en) 2012-06-28 2017-08-15 Panasonic Intellectual Property Management Co., Ltd. Mobile terminal including charging coil and wireless communication coil, wireless charging module including charging coil and wireless communication coil
US9935481B2 (en) 2012-02-17 2018-04-03 Panasonic Intellectual Property Management Co., Ltd. Mobile terminal including wireless charging module and battery pack
US9954396B2 (en) 2011-06-14 2018-04-24 Panasonic Corporation Electronic device including non-contact charging module
CN108695988A (zh) * 2017-03-31 2018-10-23 Tdk株式会社 磁耦合装置以及使用其的无线电力传输系统
US10204734B2 (en) 2011-11-02 2019-02-12 Panasonic Corporation Electronic device including non-contact charging module and near field communication antenna
US10218222B2 (en) 2011-01-26 2019-02-26 Panasonic Intellectual Property Management Co., Ltd. Non-contact charging module having a wireless charging coil and a magnetic sheet
KR20210059927A (ko) * 2019-11-18 2021-05-26 (주)원컴 무선 충전 장치에 적용되는 위치 검출 유닛
US11108435B2 (en) 2015-06-03 2021-08-31 Apple Inc. Inductive power receiver
JP2022536592A (ja) * 2019-06-14 2022-08-18 コーニンクレッカ フィリップス エヌ ヴェ 電力伝送装置及び方法

Families Citing this family (93)

* Cited by examiner, † Cited by third party
Publication number Priority date Publication date Assignee Title
EP2083407B1 (de) * 2008-01-25 2012-05-16 Pepperl + Fuchs GmbH Vorrichtung und Verfahren zur kontaktlosen Energie- und Datenübertragung
DE102009033237A1 (de) 2009-07-14 2011-01-20 Conductix-Wampfler Ag Vorrichtung zur induktiven Übertragung elektrischer Energie
EP2545652B1 (en) * 2010-03-12 2018-02-28 Sunrise Micro Devices Inc. Power efficient communications
IT1400748B1 (it) * 2010-06-30 2013-07-02 St Microelectronics Srl Apparato per il trasferimento wireless di energia fra due dispositivi e contemporaneo trasferimento di dati.
JP5718619B2 (ja) * 2010-11-18 2015-05-13 トヨタ自動車株式会社 コイルユニット、非接触電力送電装置、車両および非接触電力給電システム
JP5083480B2 (ja) * 2010-12-01 2012-11-28 トヨタ自動車株式会社 非接触給電設備、車両および非接触給電システムの制御方法
CN102611170B (zh) * 2011-01-21 2015-05-13 上海泰莱钢结构工程有限公司 一种风光互补发电系统对外非接触充电装置
TWI570427B (zh) 2015-10-28 2017-02-11 富達通科技股份有限公司 感應式電源供應器及其金屬異物檢測方法
TWI568125B (zh) * 2015-01-14 2017-01-21 富達通科技股份有限公司 感應式電源供應器之供電模組及其電壓測量方法
US10630113B2 (en) 2011-02-01 2020-04-21 Fu Da Tong Technology Co., Ltd Power supply device of induction type power supply system and RF magnetic card identification method of the same
US9831687B2 (en) 2011-02-01 2017-11-28 Fu Da Tong Technology Co., Ltd. Supplying-end module for induction-type power supply system and signal analysis circuit therein
US11128180B2 (en) * 2011-02-01 2021-09-21 Fu Da Tong Technology Co., Ltd. Method and supplying-end module for detecting receiving-end module
US10312748B2 (en) 2011-02-01 2019-06-04 Fu Da Tong Techology Co., Ltd. Signal analysis method and circuit
US10574095B2 (en) 2011-02-01 2020-02-25 Fu Da Tong Technology Co., Ltd. Decoding method for signal processing circuit and signal processing circuit using the same
US9671444B2 (en) 2011-02-01 2017-06-06 Fu Da Tong Technology Co., Ltd. Current signal sensing method for supplying-end module of induction type power supply system
US9628147B2 (en) 2011-02-01 2017-04-18 Fu Da Tong Technology Co., Ltd. Method of automatically adjusting determination voltage and voltage adjusting device thereof
US10056944B2 (en) 2011-02-01 2018-08-21 Fu Da Tong Technology Co., Ltd. Data determination method for supplying-end module of induction type power supply system and related supplying-end module
US10038338B2 (en) 2011-02-01 2018-07-31 Fu Da Tong Technology Co., Ltd. Signal modulation method and signal rectification and modulation device
US10289142B2 (en) 2011-02-01 2019-05-14 Fu Da Tong Technology Co., Ltd. Induction type power supply system and intruding metal detection method thereof
TWI642253B (zh) * 2017-09-14 2018-11-21 富達通科技股份有限公司 偵測受電模組之方法及供電模組
US10615645B2 (en) 2011-02-01 2020-04-07 Fu Da Tong Technology Co., Ltd Power supply device of induction type power supply system and NFC device identification method of the same
US9600021B2 (en) 2011-02-01 2017-03-21 Fu Da Tong Technology Co., Ltd. Operating clock synchronization adjusting method for induction type power supply system
US20120223593A1 (en) * 2011-03-03 2012-09-06 Semiconductor Energy Laboratory Co., Ltd. Power receiving device and wireless power supply system
JP5677875B2 (ja) * 2011-03-16 2015-02-25 日立マクセル株式会社 非接触電力伝送システム
US10003221B2 (en) 2011-03-31 2018-06-19 Sony Corporation Detector, power transmitter, power receiver, power feed system, and detection method
KR102022350B1 (ko) * 2011-05-31 2019-11-04 삼성전자주식회사 무선 전력을 이용한 통신 장치 및 방법
CN102347640B (zh) * 2011-06-09 2013-09-18 东南大学 一种无线能量传输装置
JP5071574B1 (ja) * 2011-07-05 2012-11-14 ソニー株式会社 検知装置、受電装置、非接触電力伝送システム及び検知方法
JP5857251B2 (ja) 2011-08-01 2016-02-10 パナソニックIpマネジメント株式会社 非接触給電装置の制御方法及び非接触給電装置
DE102012020565B4 (de) * 2012-10-19 2022-03-03 Panasonic Intellectual Property Management Co., Ltd. Kontaktlose Leistungsversorgungsvorrichtung
KR20130024757A (ko) * 2011-08-29 2013-03-08 주식회사 케이더파워 이종 충전 방식을 가진 무선 충전 시스템
FR2980055B1 (fr) * 2011-09-12 2013-12-27 Valeo Systemes Thermiques Dispositif de transmission de puissance inductif
JP5794056B2 (ja) 2011-09-12 2015-10-14 ソニー株式会社 給電装置および給電システム
KR20200010601A (ko) * 2011-09-12 2020-01-30 소니 주식회사 송전 장치 및 시스템
JP2013070520A (ja) * 2011-09-22 2013-04-18 Panasonic Corp 非接触給電装置の駆動方法、非接触給電装置及び非接触給電システム
KR101273762B1 (ko) * 2011-09-30 2013-06-12 삼성전기주식회사 무선 충전 시스템
US9722429B2 (en) * 2011-09-30 2017-08-01 Analogic Corporation Power delivery to a moving unit
CN102355032A (zh) * 2011-11-01 2012-02-15 东南大学 无线充电装置
US9502920B2 (en) 2011-11-16 2016-11-22 Semiconductor Energy Laboratory Co., Ltd. Power receiving device, power transmission device, and power feeding system
KR101950688B1 (ko) 2012-07-09 2019-02-21 삼성전자주식회사 무선 전력 송신기 및 그 제어 방법
JP6632126B2 (ja) * 2012-07-30 2020-01-15 コーニンクレッカ フィリップス エヌ ヴェKoninklijke Philips N.V. ワイヤレス誘導電力伝送
JP6116832B2 (ja) * 2012-09-03 2017-04-19 日立マクセル株式会社 非接触充電システム
US8824597B2 (en) * 2012-09-07 2014-09-02 Texas Instruments Incorporated Circuits and methods for field-based communication
DE102012019584A1 (de) * 2012-10-04 2014-04-10 Panasonic Corporation Verfahren zum Detektieren metallischer Fremdkörper auf kontaktloser Leistungsversorgungsvorrichtung, kontaktlose Leistungsversorgungsvorrichtung, und kontaktlose Leistungsempfangsvorrichtung und kontaktloses Leistungsversorgungssystem
KR101372970B1 (ko) * 2012-10-11 2014-03-11 파나소닉 주식회사 비접촉 급전 장치의 금속 이물질 검출 방법, 비접촉 급전 장치, 수전 장치 및 비접촉 급전 시스템
US9293251B2 (en) * 2012-10-11 2016-03-22 Panasonic Intellectual Property Management Co., Ltd. Method of exciting primary coils in contactless power supplying device and contactless power supplying device
EP2922175A4 (en) * 2012-11-15 2016-07-13 Chugoku Electric Power NON-CONTACT CURRENT POWER SYSTEM AND CONTROL METHOD FOR CONTACTLESS POWER SUPPLY SYSTEM
WO2014083015A1 (en) * 2012-11-29 2014-06-05 Koninklijke Philips N.V. Wireless inductive power transfer
CN104969438B (zh) * 2012-12-18 2018-02-16 核科学股份有限公司 用于在无线功率传输系统中检测物体的非线性系统辨识
JP2014212662A (ja) * 2013-04-19 2014-11-13 キヤノン株式会社 送電装置およびその制御方法、電力伝送システム
US20140347007A1 (en) * 2013-05-23 2014-11-27 Broadcom Corporation Wireless Power Transfer (WPT) for a Mobile Communication Device
US10263469B2 (en) * 2013-06-04 2019-04-16 Koninklijke Philips N.V. Wireless inductive power transfer
RU2660479C2 (ru) * 2013-07-17 2018-07-06 Конинклейке Филипс Н.В. Беспроводная индуктивная передача мощности
US10170933B2 (en) * 2013-11-20 2019-01-01 Samsung Electro-Mechanics Co., Ltd. Non-contact type power supplying apparatus and non-contact type power supplying method
EP2884622A1 (en) * 2013-11-20 2015-06-17 Samsung Electro-Mechanics Co., Ltd. Non-contact power supply device and non-contact power supply method
CN104716748B (zh) * 2013-12-12 2017-05-24 深圳大学 中距离无线供电系统及其高频变频电源
JP6315382B2 (ja) * 2013-12-19 2018-04-25 パナソニックIpマネジメント株式会社 無線電力伝送のための送電装置および受電装置ならびに無線電力伝送システム
GB2525239A (en) 2014-04-17 2015-10-21 Bombardier Transp Gmbh Object detection system and method for detecting foreign objects in an inductive power transfer system
CN103904786B (zh) * 2014-04-17 2016-07-06 长沙海川自动化设备有限公司 施工升降机供电装置
DE102014207885A1 (de) * 2014-04-28 2015-10-29 Continental Automotive Gmbh Fremdkörpererfassungsvorrichtung und Leistungs-Induktivladevorrichtung
GB2526307A (en) * 2014-05-20 2015-11-25 Bombardier Transp Gmbh A housing for at least one object detection device, a primary unit and a pavement slab assembly
KR20250016471A (ko) 2014-05-26 2025-02-03 지이 하이브리드 테크놀로지스, 엘엘씨 무접점 전력 수신 장치 및 수신 방법
KR102710592B1 (ko) 2014-05-26 2024-09-25 지이 하이브리드 테크놀로지스, 엘엘씨 무선전력 수신 장치 및 무선 통신 방법
KR101530491B1 (ko) * 2014-08-18 2015-06-22 숭실대학교산학협력단 칩 간 무선 전송을 위한 무선 칩
US10523052B2 (en) * 2014-09-16 2019-12-31 Koninklijke Philips N.V. Wireless inductive power transfer
CN104282238A (zh) * 2014-10-29 2015-01-14 安徽省科普产品工程研究中心有限责任公司 一种三维立体led广告牌
CN104390662A (zh) * 2014-11-21 2015-03-04 国家电网公司 基于感应取能技术的变电设备综合状态监测系统
US10153665B2 (en) 2015-01-14 2018-12-11 Fu Da Tong Technology Co., Ltd. Method for adjusting output power for induction type power supply system and related supplying-end module
US20180090997A1 (en) * 2015-04-06 2018-03-29 Panasonic Intellectual Property Management Co., Ltd. Noncontact power supply device and control device therefor
US20160301238A1 (en) * 2015-04-10 2016-10-13 Intel Corporation Managing presence and long beacon extension pulses
US9602955B2 (en) 2015-05-20 2017-03-21 Empire Technology Development Llc Concurrent wireless power transfer and data communication
JP6350399B2 (ja) * 2015-06-10 2018-07-04 トヨタ自動車株式会社 非接触送電装置及び電力伝送システム
KR20170014879A (ko) * 2015-07-31 2017-02-08 삼성전기주식회사 무선 전력 송신 장치 및 방법
DE102016215273A1 (de) * 2015-08-21 2017-02-23 Yazaki Corporation Leistungsübertragungs-kommunikationseinheit
JP6342369B2 (ja) * 2015-08-21 2018-06-13 矢崎総業株式会社 電力伝送通信ユニット
JP6555010B2 (ja) * 2015-08-25 2019-08-07 船井電機株式会社 給電装置
US10530196B2 (en) * 2016-02-05 2020-01-07 Texas Instruments Incorporated Methods and apparatus for power loss calibration in a wireless power system
CN106560970B (zh) * 2016-03-21 2023-09-01 中兴新能源汽车有限责任公司 无线充电接收装置、电动汽车和无线充电系统
KR102426164B1 (ko) 2016-07-29 2022-07-28 소니 세미컨덕터 솔루션즈 가부시키가이샤 급전 시스템
DE102016120254A1 (de) * 2016-10-24 2018-04-26 Endress+Hauser Conducta Gmbh+Co. Kg Schaltung zur Energieversorgung eines Verbrauchers und zum Empfang von vom Verbraucher gesendeten Nutzsignalen
JP6754669B2 (ja) * 2016-10-31 2020-09-16 株式会社ダイヘン 給電側装置および給電システム
EP3327897B1 (en) * 2016-11-25 2021-06-16 Nxp B.V. Apparatus and associated method
JP6945188B2 (ja) * 2016-11-30 2021-10-06 パナソニックIpマネジメント株式会社 無線給電ユニット、送電モジュール、受電モジュールおよび無線電力伝送システム
US11223240B2 (en) * 2016-12-15 2022-01-11 General Electric Company Charging pad and a method for charging one or more receiver devices
CN117748763A (zh) * 2017-06-06 2024-03-22 通用电气公司 无线充电装置和接收器装置
EP3429060A1 (en) * 2017-07-13 2019-01-16 Koninklijke Philips N.V. Wireless power transfer
JP7109983B2 (ja) * 2018-04-27 2022-08-01 矢崎総業株式会社 車両情報表示システム
JP7118532B2 (ja) * 2018-04-27 2022-08-16 矢崎総業株式会社 コネクタ、及び、電力供給システム
CN210041438U (zh) * 2018-12-03 2020-02-07 邢益涛 一种具有降噪设计的无线能量传输装置
CN112421787B (zh) * 2019-08-21 2023-12-19 北京小米移动软件有限公司 无线充电装置、系统、控制方法、充电设备及存储介质
DE102020133178A1 (de) * 2019-12-16 2021-06-17 Avago Technologies International Sales Pte. Limited Kommunikationssystem in drahtloser Leistungsübertragung
CN113726028B (zh) * 2020-06-05 2023-02-03 华为技术有限公司 一种电子设备及其控制方法
JP7778526B2 (ja) * 2021-10-25 2025-12-02 キヤノン株式会社 制御システムおよび制御システムの制御方法

Citations (10)

* Cited by examiner, † Cited by third party
Publication number Priority date Publication date Assignee Title
JPH0696300A (ja) * 1992-09-14 1994-04-08 Masuo Ikeuchi 電磁誘導結合による非接触型icカードおよびリーダライタ
JPH0981708A (ja) * 1995-09-14 1997-03-28 Tokico Ltd Icカード及びicカード読み取り装置及びicカード書き込み装置
JPH09147070A (ja) * 1995-11-20 1997-06-06 Sony Corp 非接触型情報カード
JPH10215530A (ja) * 1997-01-28 1998-08-11 Matsushita Electric Works Ltd 非接触電力伝送装置
JPH1119229A (ja) * 1997-07-09 1999-01-26 Nec Corp 無線による電力と制御信号の伝送方法
JPH11126240A (ja) * 1997-10-24 1999-05-11 Kokusai Electric Co Ltd リーダライタコントローラとその送信制御方法
JP2002209344A (ja) * 2001-01-12 2002-07-26 Matsushita Electric Works Ltd 非接触電力伝送装置
JP2005110409A (ja) * 2003-09-30 2005-04-21 Sharp Corp 電力供給システム
JP2006230129A (ja) * 2005-02-18 2006-08-31 Nanao Corp 非接触電力供給装置
JP2008109762A (ja) * 2006-10-24 2008-05-08 Olympus Imaging Corp 電力伝送装置

Family Cites Families (32)

* Cited by examiner, † Cited by third party
Publication number Priority date Publication date Assignee Title
SU1464235A1 (ru) * 1987-04-06 1989-03-07 Предприятие П/Я А-1586 Устройство дл бесконтактной передачи электроэнергии от неподвижного объекта к подвижному
GB9310545D0 (en) * 1993-05-21 1993-07-07 Era Patents Ltd Power coupling
US5706183A (en) 1994-06-27 1998-01-06 Matsushita Electric Works, Ltd. Inverter power supply with single discharge path
JP3416863B2 (ja) 1994-06-27 2003-06-16 松下電工株式会社 電源装置
US7176589B2 (en) * 1995-09-22 2007-02-13 Input/Output, Inc. Electrical power distribution and communication system for an underwater cable
DE19701357C2 (de) * 1997-01-16 2003-02-27 Schleifring Und Appbau Gmbh Vorrichtung zur kontaktlosen Energieübertragung zwischen gegeneinander beweglichen Teilen
WO1998029919A1 (de) 1997-01-03 1998-07-09 Schleifring Und Apparatebau Gmbh Vorrichtung zur kontaktlosen übertragung elektrischer signale und/oder energie
JP3363341B2 (ja) * 1997-03-26 2003-01-08 松下電工株式会社 非接触電力伝達装置
WO1998058347A1 (en) 1997-06-18 1998-12-23 Mitsubishi Denki Kabushiki Kaisha Non-contact ic card system and non-contact ic card
NZ329195A (en) * 1997-11-17 2000-07-28 Auckland Uniservices Ltd Loosely coupled inductive power transfer using resonant pickup circuit, inductor core chosen to saturate under overload conditions
JP3247328B2 (ja) * 1997-12-09 2002-01-15 浩 坂本 非接触電力伝達装置
JP3465075B2 (ja) * 1998-12-02 2003-11-10 株式会社椿本チエイン 非接触給電装置
JP3743193B2 (ja) * 1999-02-23 2006-02-08 松下電工株式会社 非接触電力伝達装置
ATE279047T1 (de) * 2000-04-18 2004-10-15 Schleifring Und Appbau Gmbh Anordnung zur kontaktlosen übertragung elektrischer signale bzw. energie
FI20002493A7 (fi) * 2000-11-14 2002-05-15 Salcomp Oy Teholähdejärjestely ja induktiivisesti kytketty akkulaturi, jossa on langattomasti kytketty ohjaus, ja menetelmä teholähdejärjestelyn ja induktiivisesti kytketyn akkulaturin ohjaamiseksi langattomasti
US7116722B2 (en) * 2001-02-09 2006-10-03 Lucent Technologies Inc. Wireless communication system using multi-element antenna having a space-time architecture
JP2002252937A (ja) * 2001-02-26 2002-09-06 Yazaki Corp 給電装置
JP2003037950A (ja) 2001-07-26 2003-02-07 Matsushita Electric Works Ltd 非接触電力伝達装置
JP2004229406A (ja) * 2003-01-23 2004-08-12 Sony Corp 分離トランス装置
KR100488524B1 (ko) * 2003-04-09 2005-05-11 삼성전자주식회사 로봇충전장치
US7233137B2 (en) * 2003-09-30 2007-06-19 Sharp Kabushiki Kaisha Power supply system
KR100564256B1 (ko) 2004-06-25 2006-03-29 주식회사 한림포스텍 무선주파수 식별기술이 적용된 무선 충전용 패드 및배터리팩
JP4408250B2 (ja) * 2004-09-07 2010-02-03 株式会社リコー 充電システム
JP5024740B2 (ja) * 2004-09-30 2012-09-12 学校法人慶應義塾 Lsiチップ試験装置
CN100403241C (zh) * 2004-12-09 2008-07-16 张定港 非接触式电源感应电路及其应用
CN2850099Y (zh) * 2005-09-26 2006-12-20 珠海市共创有限公司 一种高转换效率非接触式充电装置
CN100367624C (zh) 2005-11-07 2008-02-06 珠海市共创有限公司 一种高转换效率非接触式充电装置
JP4775176B2 (ja) * 2006-08-25 2011-09-21 パナソニック電工株式会社 電源回路及び電源システム
FR2914512A1 (fr) 2007-03-27 2008-10-03 Delachaux Sa Sa Systeme d'alimentation electrique et de transmission de donnees sans contact electrique.
KR100819753B1 (ko) 2007-07-13 2008-04-08 주식회사 한림포스텍 배터리팩 솔루션을 위한 무접점충전시스템 및 그 제어방법
JP2009027781A (ja) 2007-07-17 2009-02-05 Seiko Epson Corp 受電制御装置、受電装置、無接点電力伝送システム、充電制御装置、バッテリ装置および電子機器
US7960867B2 (en) * 2007-11-27 2011-06-14 Extremely Ingenious Engineering Methods and systems for wireless energy and data transmission

Patent Citations (10)

* Cited by examiner, † Cited by third party
Publication number Priority date Publication date Assignee Title
JPH0696300A (ja) * 1992-09-14 1994-04-08 Masuo Ikeuchi 電磁誘導結合による非接触型icカードおよびリーダライタ
JPH0981708A (ja) * 1995-09-14 1997-03-28 Tokico Ltd Icカード及びicカード読み取り装置及びicカード書き込み装置
JPH09147070A (ja) * 1995-11-20 1997-06-06 Sony Corp 非接触型情報カード
JPH10215530A (ja) * 1997-01-28 1998-08-11 Matsushita Electric Works Ltd 非接触電力伝送装置
JPH1119229A (ja) * 1997-07-09 1999-01-26 Nec Corp 無線による電力と制御信号の伝送方法
JPH11126240A (ja) * 1997-10-24 1999-05-11 Kokusai Electric Co Ltd リーダライタコントローラとその送信制御方法
JP2002209344A (ja) * 2001-01-12 2002-07-26 Matsushita Electric Works Ltd 非接触電力伝送装置
JP2005110409A (ja) * 2003-09-30 2005-04-21 Sharp Corp 電力供給システム
JP2006230129A (ja) * 2005-02-18 2006-08-31 Nanao Corp 非接触電力供給装置
JP2008109762A (ja) * 2006-10-24 2008-05-08 Olympus Imaging Corp 電力伝送装置

Cited By (64)

* Cited by examiner, † Cited by third party
Publication number Priority date Publication date Assignee Title
JP2014207863A (ja) * 2009-09-10 2014-10-30 クアルコム,インコーポレイテッド 可変ワイヤレス電力伝送
US10218222B2 (en) 2011-01-26 2019-02-26 Panasonic Intellectual Property Management Co., Ltd. Non-contact charging module having a wireless charging coil and a magnetic sheet
JP2012244778A (ja) * 2011-05-19 2012-12-10 Panasonic Corp 非接触給電装置の金属異物検出方法、非接触給電装置、電気機器に設けられた受電装置及び非接触給電システム
US9553636B2 (en) * 2011-05-27 2017-01-24 Nissan Motor Co., Ltd. Contactless electricity supply device with foreign object detector
US20130169062A1 (en) * 2011-05-27 2013-07-04 Nissan Motor Co., Ltd. Contactless electricity supply device
JP2012249401A (ja) * 2011-05-27 2012-12-13 Nissan Motor Co Ltd 非接触給電装置
US9954396B2 (en) 2011-06-14 2018-04-24 Panasonic Corporation Electronic device including non-contact charging module
US10044225B2 (en) 2011-06-14 2018-08-07 Panasonic Corporation Electronic device including non-contact charging module
US10003219B1 (en) 2011-06-14 2018-06-19 Panasonic Corporation Electronic device including non-contact charging module
US10468913B2 (en) 2011-06-14 2019-11-05 Sovereign Peak Ventures, Llc Electronic device including non-contact charging module
JP2013034292A (ja) * 2011-08-01 2013-02-14 Panasonic Corp 非接触給電装置
JP2013046526A (ja) * 2011-08-25 2013-03-04 Panasonic Corp 非接触給電システムの金属異物検出方法、非接触給電装置、電気機器に設けられた受電装置及び非接触給電システム
JP2015502583A (ja) * 2011-09-22 2015-01-22 ノースロップ グルマン ガイダンス アンド エレクトロニクス カンパニー,インク. 位相生成搬送波の感知データ搬送能力
US9941048B2 (en) 2011-11-02 2018-04-10 Panasonic Corporation Non-contact wireless communication coil, transmission coil, and portable wireless terminal
US9634515B2 (en) 2011-11-02 2017-04-25 Panasonic Corporation Non-contact wireless communication coil, transmission coil, and portable wireless terminal
US9607757B2 (en) 2011-11-02 2017-03-28 Panasonic Corporation Non-contact wireless communication coil, transmission coil, and portable wireless terminal
US10204734B2 (en) 2011-11-02 2019-02-12 Panasonic Corporation Electronic device including non-contact charging module and near field communication antenna
JP2013120932A (ja) * 2011-12-07 2013-06-17 Panasonic Corp 非接触充電モジュール及びそれを備えた携帯端末
US9935481B2 (en) 2012-02-17 2018-04-03 Panasonic Intellectual Property Management Co., Ltd. Mobile terminal including wireless charging module and battery pack
US10020673B2 (en) 2012-02-17 2018-07-10 Panasonic Intellectual Property Management Co., Ltd. Electronic device including non-contact charging module and battery
US9997952B2 (en) 2012-02-17 2018-06-12 Panasonic Intellectual Property Management Co., Ltd. Wireless charging module and mobile terminal including the same
US12040562B2 (en) 2012-02-17 2024-07-16 Sovereign Peak Ventures, Llc Electronic device including non-contact charging module and battery
US9991735B1 (en) 2012-02-17 2018-06-05 Panasonic Intellectual Property Management Co., Ltd. Electronic device including non-contact charging module and battery
US10574082B2 (en) 2012-02-17 2020-02-25 Sovereign Peak Ventures, Llc Electronic device including non-contact charging module and battery
US11070075B2 (en) 2012-02-17 2021-07-20 Sovereign Peak Ventures, Llc Electronic device including non-contact charging module and battery
JP2013192390A (ja) * 2012-03-14 2013-09-26 Sony Corp 検知装置、受電装置、送電装置及び非接触給電システム
US9124110B2 (en) 2012-03-21 2015-09-01 Kabushiki Kaisha Tokai Rika Denki Seisakusho In-vehicle wireless charging system
JP2015521019A (ja) * 2012-05-02 2015-07-23 パワーバイプロキシ リミテッド 誘導電力伝送システムにおいて受信機を検出及び特定する方法
US11043331B2 (en) 2012-05-17 2021-06-22 Sony Corporation Power receiving device and power feeding system
JP2013240235A (ja) * 2012-05-17 2013-11-28 Sony Corp 受電装置、および、給電システム
US9735606B2 (en) 2012-06-28 2017-08-15 Panasonic Intellectual Property Management Co., Ltd. Mobile terminal including charging coil and wireless communication coil, wireless charging module including charging coil and wireless communication coil
US10574090B2 (en) 2012-06-28 2020-02-25 Sovereign Peak Ventures, Llc Mobile terminal including wireless charging coil and magnetic sheet having inwardly receding portion
US11616395B2 (en) 2012-06-28 2023-03-28 Sovereign Peak Ventures, Llc Mobile terminal and chargeable communication module
US9667086B2 (en) 2012-06-28 2017-05-30 Panasonic Intellectual Property Management Co., Ltd. Mobile terminal
US10291069B2 (en) 2012-06-28 2019-05-14 Panasonic Intellectual Property Management Co., Ltd. Mobile terminal and chargeable communication module
US10230272B2 (en) 2012-06-28 2019-03-12 Panasonic Intellectual Property Management Co., Ltd. Mobile terminal including wireless charging coil and magnetic sheet having inwardly receding portion
US10686337B2 (en) 2012-10-19 2020-06-16 Witricity Corporation Foreign object detection in wireless energy transfer systems
JP2016502385A (ja) * 2012-10-19 2016-01-21 ワイトリシティ コーポレーションWitricity Corporation 無線エネルギー伝送システムにおける異物検出
US10211681B2 (en) 2012-10-19 2019-02-19 Witricity Corporation Foreign object detection in wireless energy transfer systems
JP2016504007A (ja) * 2012-12-12 2016-02-08 クアルコム,インコーポレイテッド ワイヤレス充電交差接続の回避を容易にするためのシステムおよび方法
KR102265250B1 (ko) * 2012-12-12 2021-06-14 퀄컴 인코포레이티드 무선 충전 교차 접속의 회피를 가능하게 하는 시스템 및 방법
KR20150085132A (ko) * 2012-12-12 2015-07-22 퀄컴 인코포레이티드 무선 충전 교차 접속의 회피를 가능하게 하는 시스템 및 방법
US10734841B2 (en) 2012-12-12 2020-08-04 Qualcomm Incorporated System and method for facilitating avoidance of wireless charging cross connection
WO2014104813A1 (ko) * 2012-12-31 2014-07-03 주식회사 한림포스텍 공진형 무선 전력 전송 시스템에서의 무선 전력 전송 제어 방법, 이를 이용하는 무선 전력 전송 장치, 및 이를 이용하는 무선 전력 수신 장치
US10069337B2 (en) 2013-08-21 2018-09-04 Panasonic Intellectual Property Management Co., Ltd. Portable terminal charging device and automobile equipped with same
WO2015025478A1 (ja) * 2013-08-21 2015-02-26 パナソニックIpマネジメント株式会社 携帯端末充電装置と、それを搭載した自動車
JPWO2015025478A1 (ja) * 2013-08-21 2017-03-02 パナソニックIpマネジメント株式会社 携帯端末充電装置と、それを搭載した自動車
US10270280B2 (en) 2013-11-11 2019-04-23 Apple Inc. Power receiver having magnetic signature and method for operating same
JP2016536962A (ja) * 2013-11-11 2016-11-24 パワーバイプロキシ リミテッド 磁気シグネチャを有する受電器及び当該受電器を動作させる方法
US11108435B2 (en) 2015-06-03 2021-08-31 Apple Inc. Inductive power receiver
US10637297B2 (en) 2015-11-30 2020-04-28 Omron Corporation Non-contact power feeding system
WO2017094386A1 (ja) * 2015-11-30 2017-06-08 オムロン株式会社 非接触給電システム
JP2017103858A (ja) * 2015-11-30 2017-06-08 オムロン株式会社 非接触給電システム
KR20230137863A (ko) * 2015-12-18 2023-10-05 제네럴 일렉트릭 컴퍼니 비접촉 전력 전송 시스템 및 그 제어 방법
KR102373064B1 (ko) * 2015-12-18 2022-03-11 제네럴 일렉트릭 컴퍼니 비접촉 전력 전송 시스템 및 그 제어 방법
KR20220034755A (ko) * 2015-12-18 2022-03-18 제네럴 일렉트릭 컴퍼니 비접촉 전력 전송 시스템 및 그 제어 방법
KR102583165B1 (ko) 2015-12-18 2023-09-25 제네럴 일렉트릭 컴퍼니 비접촉 전력 전송 시스템 및 그 제어 방법
KR20170073525A (ko) * 2015-12-18 2017-06-28 제네럴 일렉트릭 컴퍼니 비접촉 전력 전송 시스템 및 그 제어 방법
KR102713200B1 (ko) 2015-12-18 2024-10-02 제네럴 일렉트릭 컴퍼니 비접촉 전력 전송 시스템 및 그 제어 방법
CN108695988A (zh) * 2017-03-31 2018-10-23 Tdk株式会社 磁耦合装置以及使用其的无线电力传输系统
JP2022536592A (ja) * 2019-06-14 2022-08-18 コーニンクレッカ フィリップス エヌ ヴェ 電力伝送装置及び方法
JP7605133B2 (ja) 2019-06-14 2024-12-24 コーニンクレッカ フィリップス エヌ ヴェ 電力伝送装置及び方法
KR102274007B1 (ko) * 2019-11-18 2021-07-08 (주)원컴 무선 충전 장치에 적용되는 위치 검출 유닛
KR20210059927A (ko) * 2019-11-18 2021-05-26 (주)원컴 무선 충전 장치에 적용되는 위치 검출 유닛

Also Published As

Publication number Publication date
EP2244351A2 (en) 2010-10-27
KR20100116556A (ko) 2010-11-01
JP5554937B2 (ja) 2014-07-23
CN101873014B (zh) 2013-03-27
EP2244351B1 (en) 2015-09-16
KR101169185B1 (ko) 2012-07-30
US20100270867A1 (en) 2010-10-28
TWI414121B (zh) 2013-11-01
CA2701255A1 (en) 2010-10-22
EP2244351A3 (en) 2014-06-04
US8664801B2 (en) 2014-03-04
TW201044740A (en) 2010-12-16
HK1149126A1 (en) 2011-09-23
RU2010115891A (ru) 2011-10-27
CN101873014A (zh) 2010-10-27
RU2440635C1 (ru) 2012-01-20

Similar Documents

Publication Publication Date Title
JP5554937B2 (ja) 非接触給電システム
US9843196B2 (en) Wireless power transmitter, wireless power receiver and wireless charging system in home appliances
KR101667725B1 (ko) 무선 전력 전송 장치 및 그 제어 방법
JP5838333B2 (ja) 非接触給電装置
KR101743071B1 (ko) 무선 전력 전송장치, 무선 전력 수신장치 및 무선 충전 시스템
JP5756925B2 (ja) 電気機器に設けられた受電装置
JP6079878B2 (ja) 給電装置、および非接触給電システム
JP2011229264A (ja) 非接触送電装置、非接触受電装置及び非接触充電システム
CN103545938A (zh) 无线电力传输方法、装置及系统
KR101750870B1 (ko) 무선 전력 전송방법, 무선 전력 전송장치 및 무선 충전 시스템
JP2002209344A (ja) 非接触電力伝送装置
KR20160096826A (ko) 무선 전력 전송방법, 무선 전력 전송장치 및 무선 충전 시스템
JP7649392B2 (ja) ワイヤレス電力伝送
JP2011205867A (ja) 非接触送電装置及び非接触充電システム
KR101372970B1 (ko) 비접촉 급전 장치의 금속 이물질 검출 방법, 비접촉 급전 장치, 수전 장치 및 비접촉 급전 시스템
JP6634987B2 (ja) ワイヤレス給電システム
CN109428621B (zh) 用于烹饪器具的无线通信系统和烹饪器具
KR20140144656A (ko) 무선 전력 전송 장치, 무선 전력 수신 장치 및 무선 충전 시스템
JP7144192B2 (ja) ワイヤレス送電装置、その制御回路
HK1149126B (en) Non-contact power supply system
KR102086859B1 (ko) 하이브리드형 무선 전력 수신 장치, 하이브리드형 무선 전력 수신 장치에서의 무선 전력 신호 제어 방법, 및 이와 관련된 자기 공명식 무선 전력 수신 장치
RU2792026C2 (ru) Беспроводная передача энергии
CN109510320B (zh) 用于烹饪器具的无线供电系统和烹饪器具
JP2019022263A (ja) 送電装置
JP2011211788A (ja) 非接触送電装置、非接触受電装置、及び非接触充電システム

Legal Events

Date Code Title Description
A621 Written request for application examination

Free format text: JAPANESE INTERMEDIATE CODE: A621

Effective date: 20111118

A711 Notification of change in applicant

Free format text: JAPANESE INTERMEDIATE CODE: A712

Effective date: 20120113

A977 Report on retrieval

Free format text: JAPANESE INTERMEDIATE CODE: A971007

Effective date: 20130520

A131 Notification of reasons for refusal

Free format text: JAPANESE INTERMEDIATE CODE: A131

Effective date: 20130611

A977 Report on retrieval

Free format text: JAPANESE INTERMEDIATE CODE: A971007

Effective date: 20130729

A521 Request for written amendment filed

Free format text: JAPANESE INTERMEDIATE CODE: A523

Effective date: 20130809

A131 Notification of reasons for refusal

Free format text: JAPANESE INTERMEDIATE CODE: A131

Effective date: 20140204

A521 Request for written amendment filed

Free format text: JAPANESE INTERMEDIATE CODE: A523

Effective date: 20140303

TRDD Decision of grant or rejection written
A01 Written decision to grant a patent or to grant a registration (utility model)

Free format text: JAPANESE INTERMEDIATE CODE: A01

Effective date: 20140507

A61 First payment of annual fees (during grant procedure)

Free format text: JAPANESE INTERMEDIATE CODE: A61

Effective date: 20140530

R151 Written notification of patent or utility model registration

Ref document number: 5554937

Country of ref document: JP

Free format text: JAPANESE INTERMEDIATE CODE: R151

S111 Request for change of ownership or part of ownership

Free format text: JAPANESE INTERMEDIATE CODE: R313113

R350 Written notification of registration of transfer

Free format text: JAPANESE INTERMEDIATE CODE: R350

R250 Receipt of annual fees

Free format text: JAPANESE INTERMEDIATE CODE: R250

R250 Receipt of annual fees

Free format text: JAPANESE INTERMEDIATE CODE: R250

R250 Receipt of annual fees

Free format text: JAPANESE INTERMEDIATE CODE: R250

R250 Receipt of annual fees

Free format text: JAPANESE INTERMEDIATE CODE: R250

R250 Receipt of annual fees

Free format text: JAPANESE INTERMEDIATE CODE: R250

R250 Receipt of annual fees

Free format text: JAPANESE INTERMEDIATE CODE: R250

R250 Receipt of annual fees

Free format text: JAPANESE INTERMEDIATE CODE: R250

R250 Receipt of annual fees

Free format text: JAPANESE INTERMEDIATE CODE: R250