JP2010063268A - 電気接続箱 - Google Patents

電気接続箱 Download PDF

Info

Publication number
JP2010063268A
JP2010063268A JP2008226337A JP2008226337A JP2010063268A JP 2010063268 A JP2010063268 A JP 2010063268A JP 2008226337 A JP2008226337 A JP 2008226337A JP 2008226337 A JP2008226337 A JP 2008226337A JP 2010063268 A JP2010063268 A JP 2010063268A
Authority
JP
Japan
Prior art keywords
bolt
bus bar
case
fixed
spring piece
Prior art date
Legal status (The legal status is an assumption and is not a legal conclusion. Google has not performed a legal analysis and makes no representation as to the accuracy of the status listed.)
Granted
Application number
JP2008226337A
Other languages
English (en)
Other versions
JP5157765B2 (ja
Inventor
Toru Nakagawa
徹 中川
Current Assignee (The listed assignees may be inaccurate. Google has not performed a legal analysis and makes no representation or warranty as to the accuracy of the list.)
Sumitomo Wiring Systems Ltd
Original Assignee
Sumitomo Wiring Systems Ltd
Priority date (The priority date is an assumption and is not a legal conclusion. Google has not performed a legal analysis and makes no representation as to the accuracy of the date listed.)
Filing date
Publication date
Application filed by Sumitomo Wiring Systems Ltd filed Critical Sumitomo Wiring Systems Ltd
Priority to JP2008226337A priority Critical patent/JP5157765B2/ja
Priority to US12/402,757 priority patent/US7850462B2/en
Priority to DE102009016679A priority patent/DE102009016679A1/de
Publication of JP2010063268A publication Critical patent/JP2010063268A/ja
Application granted granted Critical
Publication of JP5157765B2 publication Critical patent/JP5157765B2/ja
Expired - Fee Related legal-status Critical Current
Anticipated expiration legal-status Critical

Links

Images

Classifications

    • HELECTRICITY
    • H01ELECTRIC ELEMENTS
    • H01RELECTRICALLY-CONDUCTIVE CONNECTIONS; STRUCTURAL ASSOCIATIONS OF A PLURALITY OF MUTUALLY-INSULATED ELECTRICAL CONNECTING ELEMENTS; COUPLING DEVICES; CURRENT COLLECTORS
    • H01R11/00Individual connecting elements providing two or more spaced connecting locations for conductive members which are, or may be, thereby interconnected, e.g. end pieces for wires or cables supported by the wire or cable and having means for facilitating electrical connection to some other wire, terminal, or conductive member, blocks of binding posts
    • H01R11/11End pieces or tapping pieces for wires, supported by the wire and for facilitating electrical connection to some other wire, terminal or conductive member
    • H01R11/28End pieces consisting of a ferrule or sleeve
    • H01R11/281End pieces consisting of a ferrule or sleeve for connections to batteries
    • H01R11/287Intermediate parts between battery post and cable end piece
    • HELECTRICITY
    • H01ELECTRIC ELEMENTS
    • H01RELECTRICALLY-CONDUCTIVE CONNECTIONS; STRUCTURAL ASSOCIATIONS OF A PLURALITY OF MUTUALLY-INSULATED ELECTRICAL CONNECTING ELEMENTS; COUPLING DEVICES; CURRENT COLLECTORS
    • H01R13/00Details of coupling devices of the kinds covered by groups H01R12/70 or H01R24/00 - H01R33/00
    • H01R13/66Structural association with built-in electrical component
    • H01R13/68Structural association with built-in electrical component with built-in fuse
    • YGENERAL TAGGING OF NEW TECHNOLOGICAL DEVELOPMENTS; GENERAL TAGGING OF CROSS-SECTIONAL TECHNOLOGIES SPANNING OVER SEVERAL SECTIONS OF THE IPC; TECHNICAL SUBJECTS COVERED BY FORMER USPC CROSS-REFERENCE ART COLLECTIONS [XRACs] AND DIGESTS
    • Y10TECHNICAL SUBJECTS COVERED BY FORMER USPC
    • Y10STECHNICAL SUBJECTS COVERED BY FORMER USPC CROSS-REFERENCE ART COLLECTIONS [XRACs] AND DIGESTS
    • Y10S439/00Electrical connectors
    • Y10S439/949Junction box with busbar for plug-socket type interconnection with receptacle

Landscapes

  • Connection Or Junction Boxes (AREA)
  • Connections By Means Of Piercing Elements, Nuts, Or Screws (AREA)

Abstract

【課題】ケースに固定したバスバーを電源側端子とボルトとナットとで締結固定する電気接続箱において、前記電源側端子を締結固定する前にバスバーの導通検査を安定して行えるようにする。
【解決手段】バスバー32の電源接続部34A(34B)のボルト穴39A(39B)の周縁より斜めに屈曲させてバネ片40A(40B)を突設し、バスバー32がケース11内に収容固定された状態で、バネ片40A(40B)をボルト20と安定した状態で面接触させている。前記ボルト20に導通検査装置を接続して導通検査を行えるようにしている。
【選択図】図4

Description

本発明は電気接続箱に関し、詳しくは、車両に搭載される電気接続箱の導通検査をバッテリと接続前に行えるようにするものである。
従来より、電気接続箱内に収容したバスバーと電源線とを接続する場合、電源線にボルト穴付きの端子を接続すると共に、バスバーにボルト穴を設け、電源側端子のボルト穴とバスバーのボルト穴にボルトを挿入してナットで締結接続する構造が用いられている。
例えば、特開2001−303010号公報には、図6(A)(B)に示すケース1の内部に収容したバスバー2と電源線4との接続構造が開示されている。
具体的には、バスバー2の上側端部にコ字状に屈曲させた接続部2aを突設し、該接続部2aにボルト3の頭部3aをはめ込んで接続部2aのスリット2bからボルト部3bを上向きに突出させている。ケース1の隅部に内部と連通する貫通穴を設けた固着部1aを設け、上記ボルト部3bを前記貫通穴からケース1の外部へと突出している。この突出したボルト部3bに、電源線4と接続したLA端子5のボルト穴5aを嵌入してナット6で締結してバスバー2と電源線4とを接続している。
一方、車両用の電気接続箱においては、近年、ヒュージブルリンクユニットが用いられている。ヒュージブルリンクユニットは、専用ハウジングの内部にヒュージブルリンク一体型バスバーを収容したものであり、電気接続箱の小型化に貢献する一方、発熱量が多いという特徴を有する。そのため、放熱性を高め、かつ、ボルト締めやヒューズ交換等の作業性を向上させるために、このヒュージブルリンクユニットは、ケースの外面側に向けて開口部を有する収容凹部に挿入されることが多い。
例えば、図7に示すように、ケース101に上面開口の収容凹部102を設けると共に、該収容凹部102に近接するケース上面側にボルト103の頭部104を埋設してボルト部105を上向きに突設している。かつ、収容凹部102に挿入収容されるヒュージブルリンクユニット106の上部からは、図7および図8に示すように、ヒュージブルリンク一体型バスバーから延設したバッテリ系入力端子部107を水平に突出している。前記ボルト103のボルト部105に、前記バッテリ系入力端子部107のボルト穴108を嵌入し、その上から、電源線109の端末に接続したLA端子110のボルト穴111を嵌入して、ナット112で締結することにより、ヒュージブルリンク一体型バスバーと電源線109とを導通させている。
カーメーカーのラインにおいて、図9に示すように、ボルト103にLA端子110とナット112が取り付けられる前の途中工程で導通検査が行われる場合がある。その場合、ナット112で締結されていない状態では、バッテリ系入力端子部107とボルト103との接触も不安定となるため、バスバーへの通電状態が不安定となり、正確な導通検査ができない問題がある。
特開2001−203010号公報
本発明は前記問題に鑑みてなされたもので、電気接続箱のケース内に挿入収容したバスバーに設けたボルト穴にボルトを通し、該ボルトに電源線端末に接続した端子をナットで締結して電気接続する電気接続箱において、電源側端子を前記ボルトにナットで締結固定する前の工程で、前記バスバーへの導通検査を正確に行えるようにすることを課題としている。
前記課題を解決するために、本発明は、ケースに固定されたボルトに、該ケース内に収容するバスバーの電源接続部に設けたボルト穴を嵌入し、前記バスバーとボルトとを導通させる電気接続箱であって、
前記バスバーのボルト穴の周縁より斜めに屈曲させたバネ片を突設し、前記バスバーがケース内に収容固定された状態で、該バネ片がボルトと面接触する構成としていることを特徴とする電気接続箱を提供している。
前記ボルトの頭部が前記ケースに固定され、該ボルトの頭部に前記バネ片が面接触され、該ボルトに後工程で電源側端子がナットで締結されるものである。
前記のように、バスバーのボルト穴の周縁より予め屈曲したバネ片を突設することにより、ボルトにナットを螺合して締結固定する前であっても、バスバーがケース内に固定された時点で、前記バネ片をボルトに接圧をもって面接触させることができる。よって、前記ボルトに導通検査装置を接続してボルトに通電すると、ボルトを介してバスバーに安定して通電でき、バスバーの導通検査を精度良く安定して行うことができる。
従って、本発明の電気接続箱を車載用とし、カーメーカーのラインにおいて、前記ボルトに電源側端子をナットで締結固定する前の途中工程であっても、前記ボルトに導通検査装置を接続して給電すると、該ボルトをバスバーと安定して面接触させているため、正確な導通検査を行うことができる。
前記バスバーのボルト穴の周縁から突設する前記バネ片は、1個、ボルト穴の対向位置の周縁から突設する2個、あるいは、ボルト穴の約90度間隔をあけた位置に2個〜4個設けてもよい。
前記バネ片はボルト穴の周縁よりボルト穴の中心に向けて、ボルト頭部側に向けて下向きに傾斜させて屈曲させている。該バネ片は、バスバーをケース内の所定位置に固定する過程で、ボルト頭部の軸部周縁に向けて押圧され、平面状に変形して面接触する形状としている。
前記バスバーが、ヒューズを一体的に設けた所謂ヒュージブルリンク一体型バスバーであり、該バスバーをバッテリとオルタネータとに接続する場合、バッテリ側接続部のボルト穴とオルタネータ側接続部のボルト穴にそれぞれ前記バネ片を設けていることが好ましい。
前記ヒュージブルリンク一体型のバスバーは、専用ハウジングに収容して電気接続箱のケースに設けた収容部に収容固定し、該専用ハウジングから前記ボルト穴を設けた接続部が突出し、該専用ハウジングをケースに収容固定した状態で、前記バネ片が前記ボルト頭部に押し付けられて変形し、面接触する構成としていることが好ましい。
上述したように、本発明によれば、ケースに収容されるバスバーに設けたボルト穴の周縁より斜めに屈曲したバネ片を突設しているため、ケースに固定したボルトに前記バスバーのボルト穴を嵌入してバスバーをケース本体に収容固定した時点で、バネ片がボルトの頭部に接圧をもって面接触させることができ、ボルトとバスバーとを安定的に接触させることができる。よって、電源と接続した電源側端子を前記バスバーにボルト・ナットで締結固定する前の途中工程において、前記ボルトに導通検査装置を接続して給電すると、ボルトからバネ片を介してバスバーへ安定した給電を行うことができ、導通検査を正確に行うことができる。
以下、本発明の実施形態を図面を参照して説明する。
図1乃至図4に、本発明の第一実施形態に係る電気接続箱10を示す。
電気接続箱10は、自動車に配索するワイヤハーネスに接続するリレーボックスからなる。該電気接続箱10のケース11は、図1に示すように、上面に挿入口13を開口したヒュージブルリンクユニット収容凹部12を備えている。該ヒュージブルリンクユニット収容凹部12内にヒュージブルリンクユニット30を上方から垂直に挿入し、該ヒュージブルリンクユニット30をケース11に嵌合固定している。
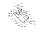
前記ケース11には、前記ヒュージブルリンクユニット収容凹部12に隣接する位置の上面側に、図2に示すように、2つのボルト20(20A、20B)を固定している。
前記ボルト20は、図1に示すように(図示はボルト20Aの例)、上下の軸部21、22の中間部に固定部となる大径の頭部23を有する両ネジボルトである。該ボルト20は、下側の軸部22と頭部23とをケース11に埋設し、上側の軸部21をケース11の上面より垂直上向きに突出させている。また、頭部23の上側表面24は、ケース11の上面と面一に露出させている。
前記ボルト20Aは、図1に示すように、ケース11内に埋設した軸部22をケース11の下面側に突出させ、該軸部22にケース11内に収容したバスバー15のボルト穴を嵌入してナット25で螺合して、バスバー15とボルト20Aを締結接続している。
同様に、ボルト20Bも、ケース内に収容しているバスバーとナットで締結接続している。
前記ヒュージブルリンクユニット30は、図3(A)に示すように、バスバー32と、該バスバー32を収容する樹脂製の専用ハウジング31とからなる。バスバー32は、1枚の導電性金属板を打抜加工して形成され、細幅のS字状とした複数の溶断部35を一体的に設けたヒュージブルリンク一体型のバスバーである。
詳細には、バスバー32の上側部を横長の共通回路部33とし、該共通回路部33の上端の左右両側より、2つの電源接続部34A、34Bを直角に屈曲させて水平に突設している。一方の電源接続部34Aはバッテリ側接続部であり、他方の電源接続部34Bはオルタネータ側接続部である。前記共通回路部33の下端からは、間隔をあけて複数の溶断部35を突設し、該溶断部35の先端に出力端子部36を形成している。
前記バスバー32は、共通回路部33から溶断部35にかけて専用ハウジング31に収容している。前記バッテリ側接続部34A、オルタネータ側接続部34B、および出力端子部36を専用ハウジング31から突出させている。また、専用ハウジング31には複数の窓開口37を設け、該窓開口37から溶断部35の溶断状態を視認できるようにしている。
前記専用ハウジング31の側面には一対のロック爪38を突設し、該ロック爪38を、前記ヒュージブルリンクユニット収容凹部12の内壁に凹設した係止穴14に挿入係止して、ヒュージブルリンクユニット30をケース11にロック固定する構成としている。
前記バッテリ側接続部34Aとオルタネータ側接続部34Bには、図3(B)にも示すように、ボルト穴39A、39Bを1つずつ穿設している。各ボルト穴39A、39Bは、その周縁形状を横長の略D字形状とし、該D字の直線部より、斜め下方に屈曲してボルト穴39A、39Bの内側に向かって突出する舌片状のバネ片40A、40Bを突設している。各バネ片40A、40Bの突出長さは、前記屈曲形状から伸直形状に弾性変形した状態においても、各ボルト穴39A、39B内に前記ボルト20のボルト部21の挿入スペースを確保できる長さとしている。
前記ヒュージブルリンクユニット30は、図1および図2に示すように、ケース11の前記ヒュージブルリンクユニット収容凹部12内に挿入されると同時に、前記バッテリ側接続部34Aのボルト穴39Aがボルト20Aに、オルタネータ側接続部34Bのボルト穴39Bがボルト20Bに、それぞれ嵌入される。
前記ボルト20Aには、図2に示すように、カーメーカーの組立ラインにおいて、バッテリと接続される電源線50の端末に接続したLA端子51のボルト穴52を嵌入する。LA端子51をバスバー32のバッテリ側接続部34Aの上に重ね、さらに上からナット26を螺合して、バッテリ系電線50とバスバー32とを介して締結接続する。
同様に、前記ボルト20Bには、オルタネータと接続される電線55の端末に接続したLA端子56のボルト穴57を嵌入し、該LA端子56をバスバー32のオルタネータ側接続部34Bの上に重ね、さらに上からナット27を螺合して、オルタネータ系電線55とバスバー32とを締結接続している。
前記構成の電気接続箱10は、図4(A)(B)に示すように、ヒュージブルリンクユニット30をケース11の前記ヒュージブルリンクユニット収容凹部12内にロック固定した時点で、該ヒュージブルリンクユニット30のバスバー32のバッテリ側接続部34Aに屈曲させて設けたバネ片40Aを、ボルト20Aの頭部23の上表面24に接圧をもって面接触させることができる。従って、該ボルト20Aにバッテリ系電線50に接続したLA端子51を取り付けてナット26で締結固定する前の途中工程であっても、バッテリ側接続部34Aとボルト20Aとを安定的に接触させることができる。
同様に、ヒュージブルリンクユニット30のバスバー32のオルタネータ側接続部34Bに設けたバネ片40Bは、ボルト20Bにオルタネータ系電線55に接続したLA端子56およびナット27を締結固定する前の途中工程であっても、ボルト20Bの頭部23の上表面24に接圧をもって面接触することができる。
これにより、カーメーカーのライン途中過程で、前記電源と接続したLA端子51をボルト20Aの軸部21にナットで締結固定していない状態であっても、ボルト20A、20Bの外方に突出した軸部21に導通検査装置(図示せず)と接続した導線端末を接続するとボルト20A、20Bの軸部21を介してバスバー32と導通検査装置との間に安定した通電回路を形成できる。よって、導通検査装置でバスバー32および該バスバー32と接続した他の内部回路の正確な導通検査ができる。
前記バネ片40A、40Bは、図5(A)に示すように、ボルト穴39A、39Bの周縁の対向位置から一対突設してもよい。あるいは、図5(B)に示すように、ボルト穴39A、39Bの周縁の略90度離隔した位置から一対突設してもよい。
第一実施形態に係る電気接続箱の要部分解断面図である。 ケースにヒュージブルリンクユニットを嵌合した状態を示す要部斜視図である。 ヒュージブルリンクユニットを示し、(A)は斜視図、(B)は平面図である。 ケースにヒュージブルリンクユニットを嵌合する際のバッテリ側接続部のバネ片の状態を示す要部断面説明図、(A)は嵌合途中の状態を示す図、(B)は嵌合完了時の状態を示す図である。 (A)(B)は、第一実施形態の変形例1、2に係るヒュージブルリンクユニットの平面図である。 (A)(B)は従来例を示す図である。 他の従来例を示す図である。 図7に示すヒュージブルリンクユニットの平面図である。 従来例の問題点を示す図である。
符号の説明
10 電気接続箱
11 ケース
20(20A、20B) ボルト
21、22 軸部
23 頭部
26、27 ナット
30 ヒュージブルリンクユニット
32 バスバー
34A 電源接続部(バッテリ側接続部)
34B 電源接続部(オルタネータ側接続部)
39A、39B ボルト穴
40A、40B バネ片
50 バッテリ系電線
51、56 LA端子
55 オルタネータ系電線

Claims (3)

  1. ケースに固定されたボルトに、該ケース内に収容するバスバーの電源接続部に設けたボルト穴を嵌入し、前記バスバーとボルトとを導通させる電気接続箱であって、
    前記バスバーのボルト穴の周縁より斜めに屈曲させたバネ片を突設し、前記バスバーがケース内に収容固定された状態で、該バネ片がボルトと面接触する構成としていることを特徴とする電気接続箱。
  2. 前記バスバーはヒューズを一体的に設けたバスバーであり、該バスバーは2つの前記電源接続部を有し、一方はバッテリ側接続部、他方はオルタネータ側接続部であり、該バッテリ側接続部とオルタネータ側接続部のそれぞれに前記ボルト穴を設け、各ボルト穴の周縁より前記バネ片を突設している請求項1に記載の電気接続箱。
  3. 前記ボルトの頭部が前記ケースに固定され、該頭部に前記バネ片が面接触され、該ボルトに後工程で電源側端子がナットで締結される請求項1または請求項2に記載の電気接続箱。
JP2008226337A 2008-09-03 2008-09-03 電気接続箱 Expired - Fee Related JP5157765B2 (ja)

Priority Applications (3)

Application Number Priority Date Filing Date Title
JP2008226337A JP5157765B2 (ja) 2008-09-03 2008-09-03 電気接続箱
US12/402,757 US7850462B2 (en) 2008-09-03 2009-03-12 Spring tab of an electric junction box
DE102009016679A DE102009016679A1 (de) 2008-09-03 2009-04-07 Elektrisches Verteilergehäuse

Applications Claiming Priority (1)

Application Number Priority Date Filing Date Title
JP2008226337A JP5157765B2 (ja) 2008-09-03 2008-09-03 電気接続箱

Publications (2)

Publication Number Publication Date
JP2010063268A true JP2010063268A (ja) 2010-03-18
JP5157765B2 JP5157765B2 (ja) 2013-03-06

Family

ID=41606274

Family Applications (1)

Application Number Title Priority Date Filing Date
JP2008226337A Expired - Fee Related JP5157765B2 (ja) 2008-09-03 2008-09-03 電気接続箱

Country Status (3)

Country Link
US (1) US7850462B2 (ja)
JP (1) JP5157765B2 (ja)
DE (1) DE102009016679A1 (ja)

Cited By (2)

* Cited by examiner, † Cited by third party
Publication number Priority date Publication date Assignee Title
JP2011234588A (ja) * 2010-04-30 2011-11-17 Yazaki Corp 電気接続箱の組立構造
JP2016096653A (ja) * 2014-11-14 2016-05-26 住友電装株式会社 電気接続箱

Families Citing this family (15)

* Cited by examiner, † Cited by third party
Publication number Priority date Publication date Assignee Title
JP5347545B2 (ja) * 2009-02-12 2013-11-20 住友電装株式会社 電気接続箱
JP2013219951A (ja) * 2012-04-10 2013-10-24 Yaskawa Electric Corp 回転電機用端子台、回転電機、及び車両
US8961198B2 (en) * 2012-06-08 2015-02-24 Lear Corporation Electrical junction box connections
JP5352723B1 (ja) * 2012-09-05 2013-11-27 日本航空電子工業株式会社 電気コネクタ
JP6252872B2 (ja) * 2015-02-24 2017-12-27 株式会社オートネットワーク技術研究所 電気接続箱及び接続端子部品
JP6287891B2 (ja) * 2015-02-24 2018-03-07 株式会社オートネットワーク技術研究所 電気接続箱及び接続端子部品
JP6569121B2 (ja) * 2016-10-13 2019-09-04 住友電装株式会社 電気接続箱
US10302598B2 (en) 2016-10-24 2019-05-28 General Electric Company Corrosion and crack detection for fastener nuts
EP3613068B1 (en) * 2017-04-18 2021-11-03 Delphi Technologies, Inc. Fuse assembly
CN110832712B (zh) * 2017-08-02 2021-02-12 住友电装株式会社 充电用插座
CN111095469B (zh) * 2017-09-22 2022-05-06 力特保险丝公司 集成熔断器模块
US20190123522A1 (en) * 2017-10-23 2019-04-25 Lear Corporation Electrical unit
US10283917B1 (en) * 2017-10-23 2019-05-07 Lear Corporation Electrical unit
JP7013496B2 (ja) * 2020-01-07 2022-01-31 矢崎総業株式会社 電気接続箱及びワイヤハーネス
CN217159335U (zh) * 2022-03-28 2022-08-09 宁德时代新能源科技股份有限公司 一种散热结构、高压盒、电池和用电装置

Citations (3)

* Cited by examiner, † Cited by third party
Publication number Priority date Publication date Assignee Title
JP2004186005A (ja) * 2002-12-04 2004-07-02 Yazaki Corp ヒュージブルリンクユニット
JP2005248981A (ja) * 2004-03-01 2005-09-15 Yazaki Corp 固定構造、プロテクタおよび電気接続箱
JP2007060758A (ja) * 2005-08-23 2007-03-08 Sumitomo Wiring Syst Ltd 電気接続箱

Family Cites Families (15)

* Cited by examiner, † Cited by third party
Publication number Priority date Publication date Assignee Title
US1874593A (en) * 1929-12-13 1932-08-30 Shakeproof Lock Washer Co Electrical connecter
US2631633A (en) * 1947-12-18 1953-03-17 Robin Products Co Nut and lock washer assembly
US3190333A (en) * 1963-01-23 1965-06-22 Illinois Tool Works Dual washer locking device
JP3042579B2 (ja) * 1994-07-22 2000-05-15 矢崎総業株式会社 配電函のねじ止め構造
DE60008347T2 (de) * 1999-12-03 2004-12-02 Sumitomo Wiring Systems, Ltd., Yokkaichi Sicherungsdose
JP2001203010A (ja) 2000-01-18 2001-07-27 Yazaki Corp 電気接続用ボルトと端子とバスバーとの接続構造
JP4359741B2 (ja) 2000-12-19 2009-11-04 ソニー株式会社 電気部品の実装装置
DE102004052476B4 (de) * 2003-10-31 2007-08-09 Yazaki Corp. Sicherungsanordnung
JP2005190735A (ja) * 2003-12-24 2005-07-14 Yazaki Corp ヒュージブルリンクユニット
US7070461B1 (en) * 2005-05-17 2006-07-04 Lear Corporation Electrical terminal having a terminal body with one or more integral projections
JP4527042B2 (ja) * 2005-10-21 2010-08-18 矢崎総業株式会社 電気接続箱
US7568921B2 (en) * 2006-08-22 2009-08-04 Lear Corporation Fuse cassette
JP4420014B2 (ja) * 2006-12-22 2010-02-24 住友電装株式会社 自動車搭載用の電気接続箱
JP5074782B2 (ja) * 2007-02-15 2012-11-14 矢崎総業株式会社 電気接続箱
JP2008226337A (ja) 2007-03-12 2008-09-25 Tanashin Denki Co ディスク再生装置

Patent Citations (3)

* Cited by examiner, † Cited by third party
Publication number Priority date Publication date Assignee Title
JP2004186005A (ja) * 2002-12-04 2004-07-02 Yazaki Corp ヒュージブルリンクユニット
JP2005248981A (ja) * 2004-03-01 2005-09-15 Yazaki Corp 固定構造、プロテクタおよび電気接続箱
JP2007060758A (ja) * 2005-08-23 2007-03-08 Sumitomo Wiring Syst Ltd 電気接続箱

Cited By (3)

* Cited by examiner, † Cited by third party
Publication number Priority date Publication date Assignee Title
JP2011234588A (ja) * 2010-04-30 2011-11-17 Yazaki Corp 電気接続箱の組立構造
US9502793B2 (en) 2010-04-30 2016-11-22 Yazaki Corporation Assembly structure of electrical junction box
JP2016096653A (ja) * 2014-11-14 2016-05-26 住友電装株式会社 電気接続箱

Also Published As

Publication number Publication date
US7850462B2 (en) 2010-12-14
DE102009016679A1 (de) 2010-03-04
US20100051311A1 (en) 2010-03-04
JP5157765B2 (ja) 2013-03-06

Similar Documents

Publication Publication Date Title
JP5157765B2 (ja) 電気接続箱
JP5294084B2 (ja) スタッドボルト組立体及びスタッドボルト組立体を備えた電気接続箱
JP6490729B2 (ja) 電気接続箱
JP2007288934A (ja) 車載用電気接続箱に収容されるバスバー
JP5030226B2 (ja) 電気接続箱
JP5299698B2 (ja) 電気接続箱
JP2016018613A (ja) 端子接続構造
JP4556651B2 (ja) 電子制御装置、電子制御装置付電動機
JP4238783B2 (ja) 電気接続箱のヒューズ装着構造
JP2002184299A (ja) 斜め締め防止端子の締め忘れ防止構造
JP6327596B2 (ja) 電気接続箱
JP4861291B2 (ja) ヒュージブルリンクユニットの支持構造
JP2017220471A (ja) 基板ユニット
CN114188904A (zh) 电气接线盒
JP5928933B2 (ja) 板状端子と接続相手との接続構造、及び電気接続箱
JP4619980B2 (ja) 電気接続箱
JP2020089057A (ja) カバー及び電気接続箱
JP4456519B2 (ja) 電気接続箱
CN114175867B (zh) 电子模块
JP2007258105A (ja) 電気接続構造
JP5219680B2 (ja) ヒュージブルリンク
JP2006050825A (ja) 自動車用電気接続箱
JP5835672B2 (ja) バスバーを備えた電気接続箱
JP2020173174A (ja) バッテリー状態検知装置
JP5851721B2 (ja) ボルト締め端子の端子斜め防止構造、及び電気接続箱

Legal Events

Date Code Title Description
A621 Written request for application examination

Free format text: JAPANESE INTERMEDIATE CODE: A621

Effective date: 20101117

A977 Report on retrieval

Free format text: JAPANESE INTERMEDIATE CODE: A971007

Effective date: 20120125

A131 Notification of reasons for refusal

Free format text: JAPANESE INTERMEDIATE CODE: A131

Effective date: 20120710

A521 Written amendment

Free format text: JAPANESE INTERMEDIATE CODE: A523

Effective date: 20120907

TRDD Decision of grant or rejection written
A01 Written decision to grant a patent or to grant a registration (utility model)

Free format text: JAPANESE INTERMEDIATE CODE: A01

Effective date: 20121113

A61 First payment of annual fees (during grant procedure)

Free format text: JAPANESE INTERMEDIATE CODE: A61

Effective date: 20121126

R150 Certificate of patent or registration of utility model

Free format text: JAPANESE INTERMEDIATE CODE: R150

FPAY Renewal fee payment (event date is renewal date of database)

Free format text: PAYMENT UNTIL: 20151221

Year of fee payment: 3

LAPS Cancellation because of no payment of annual fees