JP2010010291A - 基板収納容器 - Google Patents

基板収納容器 Download PDF

Info

Publication number
JP2010010291A
JP2010010291A JP2008166125A JP2008166125A JP2010010291A JP 2010010291 A JP2010010291 A JP 2010010291A JP 2008166125 A JP2008166125 A JP 2008166125A JP 2008166125 A JP2008166125 A JP 2008166125A JP 2010010291 A JP2010010291 A JP 2010010291A
Authority
JP
Japan
Prior art keywords
substrate
interlocking
storage container
support
rotator
Prior art date
Legal status (The legal status is an assumption and is not a legal conclusion. Google has not performed a legal analysis and makes no representation as to the accuracy of the status listed.)
Granted
Application number
JP2008166125A
Other languages
English (en)
Other versions
JP5090269B2 (ja
Inventor
Meng-En Yang
孟恩 楊
Kiyohide Ichino
清秀 市野
Current Assignee (The listed assignees may be inaccurate. Google has not performed a legal analysis and makes no representation or warranty as to the accuracy of the list.)
Daifuku Co Ltd
Taiwan Daifuku Co Ltd
Original Assignee
Daifuku Co Ltd
Taiwan Daifuku Co Ltd
Priority date (The priority date is an assumption and is not a legal conclusion. Google has not performed a legal analysis and makes no representation as to the accuracy of the date listed.)
Filing date
Publication date
Application filed by Daifuku Co Ltd, Taiwan Daifuku Co Ltd filed Critical Daifuku Co Ltd
Priority to JP2008166125A priority Critical patent/JP5090269B2/ja
Priority to TW098114806A priority patent/TWI406800B/zh
Priority to KR1020090051941A priority patent/KR101206191B1/ko
Priority to CN2009101508602A priority patent/CN101624117B/zh
Publication of JP2010010291A publication Critical patent/JP2010010291A/ja
Application granted granted Critical
Publication of JP5090269B2 publication Critical patent/JP5090269B2/ja
Active legal-status Critical Current
Anticipated expiration legal-status Critical

Links

Images

Classifications

    • BPERFORMING OPERATIONS; TRANSPORTING
    • B65CONVEYING; PACKING; STORING; HANDLING THIN OR FILAMENTARY MATERIAL
    • B65DCONTAINERS FOR STORAGE OR TRANSPORT OF ARTICLES OR MATERIALS, e.g. BAGS, BARRELS, BOTTLES, BOXES, CANS, CARTONS, CRATES, DRUMS, JARS, TANKS, HOPPERS, FORWARDING CONTAINERS; ACCESSORIES, CLOSURES, OR FITTINGS THEREFOR; PACKAGING ELEMENTS; PACKAGES
    • B65D85/00Containers, packaging elements or packages, specially adapted for particular articles or materials
    • B65D85/30Containers, packaging elements or packages, specially adapted for particular articles or materials for articles particularly sensitive to damage by shock or pressure
    • B65D85/48Containers, packaging elements or packages, specially adapted for particular articles or materials for articles particularly sensitive to damage by shock or pressure for glass sheets
    • HELECTRICITY
    • H01ELECTRIC ELEMENTS
    • H01LSEMICONDUCTOR DEVICES NOT COVERED BY CLASS H10
    • H01L21/00Processes or apparatus adapted for the manufacture or treatment of semiconductor or solid state devices or of parts thereof
    • H01L21/67Apparatus specially adapted for handling semiconductor or electric solid state devices during manufacture or treatment thereof; Apparatus specially adapted for handling wafers during manufacture or treatment of semiconductor or electric solid state devices or components ; Apparatus not specifically provided for elsewhere
    • H01L21/673Apparatus specially adapted for handling semiconductor or electric solid state devices during manufacture or treatment thereof; Apparatus specially adapted for handling wafers during manufacture or treatment of semiconductor or electric solid state devices or components ; Apparatus not specifically provided for elsewhere using specially adapted carriers or holders; Fixing the workpieces on such carriers or holders
    • H01L21/6734Apparatus specially adapted for handling semiconductor or electric solid state devices during manufacture or treatment thereof; Apparatus specially adapted for handling wafers during manufacture or treatment of semiconductor or electric solid state devices or components ; Apparatus not specifically provided for elsewhere using specially adapted carriers or holders; Fixing the workpieces on such carriers or holders specially adapted for supporting large square shaped substrates

Landscapes

  • Engineering & Computer Science (AREA)
  • Mechanical Engineering (AREA)
  • Physics & Mathematics (AREA)
  • Condensed Matter Physics & Semiconductors (AREA)
  • General Physics & Mathematics (AREA)
  • Manufacturing & Machinery (AREA)
  • Computer Hardware Design (AREA)
  • Microelectronics & Electronic Packaging (AREA)
  • Power Engineering (AREA)
  • Warehouses Or Storage Devices (AREA)
  • Container, Conveyance, Adherence, Positioning, Of Wafer (AREA)
  • Packaging Frangible Articles (AREA)

Abstract

【課題】軽量化を図ることができながら塵埃の発生を抑制することができる基板収納容器を提供する。
【解決手段】基板収納用の収納体51に、基板を出し入れ自在に載置支持する複数の基板支持部52を上下方向に並設し、基板支持部52を、基板出し入れ方向と直交又は略直交する収納体横幅方向に沿う軸芯周りに回転可能な複数の支持用回転軸53を、基板出し入れ方向に並設して構成し、基板出し入れ方向に沿って伸びる状態で配置された連動用回転軸54を、その長手方向に沿う軸芯周りの回転によって基板支持部52における複数の支持用回転軸53の夫々を回転させるように、それら複数の支持用回転軸53の夫々と連動連結し、連動用回転軸54における基板出し入れ方向の端部に、磁気式の従動回転体65を設ける。
【選択図】図9

Description

本発明は、基板収納用の収納体に、基板を出し入れ自在に載置支持する複数の基板支持部が上下方向に並設され、前記基板支持部が、基板出し入れ方向と直交又は略直交する収納体横幅方向に沿う軸芯周りに回転可能な複数の軸状の支持用回転体を、基板出し入れ方向に並設して構成され、基板出し入れ方向に沿って伸びる状態で配置された軸状の連動用回転体が、その長手方向に沿う軸芯周りの回転によって前記基板支持部における複数の前記支持用回転体の夫々を回転させるように、それら複数の支持用回転体の夫々と連動連結されている基板収納容器に関する。
かかる基板収納容器は、液晶ディスプレイやプラズマディスプレイに使用されるガラス基板等の基板を収納する際に用いられるものであり、上下方向に並設された複数の基板支持部の夫々に基板を載置支持させることにより、複数の基板を積層状態で収納することができるように構成されているものである。
また、かかる基板収納容器は、連動用回転体が複数の基板支持部に対応して複数設けられており、複数の基板支持部のいずれかに対して基板を出し入れする場合は、その基板支持部に対応する連動用回転体を回転させて、その連動用回転体に連動連結された複数の支持用回転体を回転させることによって、出し入れ対象の基板支持部に対して基板を出し入れするように構成されており、複数の基板支持部に対して順不同で基板の出し入れが可能に構成されているものである。
そして、このような基板収納容器において、従来では、複数の基板支持部に対応して複数設けられた連動用回転体の夫々を各別に駆動回転させるための駆動手段が、連動用回転体における基板出し入れ方向の端部に連動連結される状態で、基板収納用の収納体そのものに装備されており、複数の基板支持部のいずれかに対して基板を出し入れする場合は、その基板支持部に対応する連動用回転体を駆動手段にて回転駆動させることにより、出し入れ対象の基板支持部に対して基板を出し入れするように構成されていた(例えば、特許文献1参照。)。
特開2005−015211号公報
しかしながら、上記した従来の基板収納容器では、複数の連動用回転体を各別に駆動する複数の駆動手段を基板収納用の収納体に備えるものであるから、その基板収納容器の重量化を招くものであった。
そこで、基板収納容器の軽量化を図るために、連動用回転体における基板出し入れ方向の端部に従動ギヤを設け、基板支持部に対して基板の出し入れ作業を行う作業エリアに駆動ギヤとこの駆動ギヤを回転駆動させる駆動手段とを設けておき、複数の基板支持部のいずれかに対して基板を出し入れする場合に、その基板支持部に対応して設けられた連動用回転体の端部に設けられた従動ギヤに駆動ギヤを噛合させ、駆動手段にて駆動ギヤを回転させることにより、その駆動ギヤと噛合した従動ギヤを回転させ、軸状の連動用回転体を回転させ、複数の支持用回転体を回転させて、取り出し対象の基板支持部に対して基板を出し入れするように構成することが考えられるが、駆動ギヤと従動ギヤとの噛合により、塵埃が発生し易いものとなる不利があった。
本発明は、上記実状に鑑みて為されたものであって、その目的は、軽量化を図ることができながら塵埃の発生を抑制することができる基板収納容器を提供する点にある。
本発明にかかる基板収納容器は、基板収納用の収納体に、基板を出し入れ自在に載置支持する複数の基板支持部が上下方向に並設され、
前記基板支持部が、基板出し入れ方向と直交又は略直交する収納体横幅方向に沿う軸芯周りに回転可能な複数の軸状の支持用回転体を、基板出し入れ方向に並設して構成され、
基板出し入れ方向に沿って伸びる状態で配置された軸状の連動用回転体が、その長手方向に沿う軸芯周りの回転によって前記基板支持部における複数の前記支持用回転体の夫々を回転させるように、それら複数の支持用回転体の夫々と連動連結されている基板収納容器であって、
その第1特徴構成は、前記連動用回転体における基板出し入れ方向の端部に、磁気式の従動回転体が設けられている点にある。
すなわち、連動用回転体における基板出し入れ方向の端部に、磁気式の従動回転体が設けられているから、この磁気式の従動回転体を磁気式の駆動回転を用いて回転させることによって、連動用回転体を回転させ、それによって複数の支持用回転体を回転させることにより、基板支持部に対して基板を出し入れすることができる。
説明を加えると、基板支持部に対して基板の出し入れ作業を行う作業エリアに回転駆動される磁気式の駆動回転体を設けておき、複数の基板支持部のいずれかに対して基板を出し入れする場合は、磁気式の駆動回転体を、出し入れ対象の基板支持部に対応する連動用回転体の端部に設けられた磁気式の従動回転体に近接させて、磁気式の駆動回転体を回転駆動させることにより、磁気式の駆動回転体の磁気により非接触で磁気式の従動回転体を回転させることができ、そして、その回転により連動用回転体を回転させ、複数の支持用回転体を回転させるようにして、取り出し対象の基板支持部に対して基板を出し入れすることができる。
そして、このように磁気式の従動回転を磁気式の駆動回転体を用いて非接触にて回転駆動させることできるため、塵埃の発生させることなく、基板支持部の複数の支持用回転体を回転させて、基板を出し入れすることができる。
また、基板収納容器には、連動用回転体の駆動のために、連動用回転体における基板出し入れ方向の端部に磁気式の従動回転体を設けるものであり、磁気式の従動回転体は軽量に構成できるものであるから、基板収納容器の軽量化を図ることができる。
従って、軽量化を図ることができながら塵埃の発生を抑制することができる基板収納容器を提供することができるに至った。
本発明にかかる基板収納容器の第2特徴構成は、第1特徴構成において、前記支持用回転体が、その両端部を前記収納体に回転自在に支持される状態で設けられている点にある。
すなわち、支持用回転体が、その両端部を収納体に回転自在に支持される状態で設けられているから、支持用回転体を両端を支持した状態で安定性よく且つ大きな荷重にも耐えられるように支持することができるため、近年大型化している基板をも基板支持部にて的確に載置支持することができる。
従って、基板支持部にて大型の基板をも的確に載置支持することができる基板収納容器を提供することができるに至った。
本発明にかかる基板収納容器の第3特徴構成は、第2特徴構成において、前記従動回転体が、前記連動用回転体よりも大径の円盤状で且つ異なる極性の2種の磁極形成部分を異なる極性のものが交互に位置する状態で周方向に沿って並べる状態に構成され、前記複数の基板支持部に対する複数の連動用回転体が、上下方向に隣接するものが前記収納体横幅方向において前記支持用回転体の異なる側の端部に連動連結される状態で前記収容体横幅方向の両側に振り分け配置されている点にある。
すなわち、従動回転体が、連動用回転体よりも大径の円盤状で且つ異なる極性の2種の磁極形成部分を異なる極性のものが交互に位置する状態で周方向に沿って並べる状態に構成されており、このように構成される従動回転体は連動用回転体よりも大径の円盤状であるため、大きな面積で磁力を受けることができ、しかも、大径であるため小さなトルクにより駆動し易いものとなるのであり、結果的に、連動用回転体を磁力にて駆動させるものの的確に回転駆動させることができるものである。
そして、複数の基板支持部に対する複数の連動用回転体を、上下方向に隣接するものが収納体横幅方向において支持用回転体の異なる側の端部に連動連結される状態で収容体横幅方向の両側に振り分け配置されているから、上下方向に隣接する基板支持部を上下方向に近接させたとしても、連動用回転体に設けられた従動用回転体同士が干渉することを回避できるため、上下方向に隣接する基板支持部を上下方向に近接させた状態で並設して、同じ高さの収納体でも上下方向に並設する基板支持部の数を増やすことができるので、基板を効率よく収納することができる。また、複数の連動回転体が収納体横幅方向の両側に振り分け配置されているため、基板収納容器の収納体横幅方向の重量バランスを良好なものにすることができる。
従って、連動用回転体を的確に駆動させることができるものでありながらも、基板を効率良く収納することができるのであり、加えて、収納体横幅方向の重量バランスを良好なものにすることができる基板収納容器を提供することができるに至った。
本発明にかかる基板収納容器の第4特徴構成は、第2特徴構成において、前記従動回転体が、前記連動用回転体よりも大径の円盤状で且つ異なる極性の2種の磁極形成部分を異なる極性のものが交互に位置する状態で周方向に沿って並べる状態に構成され、前記複数の基板支持部に対する複数の連動用回転体が、前記収納体横幅方向において前記支持用回転体の同じ側の端部に連動連結される状態で且つ上下方向に隣接するものが前記収納体横幅方向に異なる位置となるように千鳥足状に配置した状態で前記収容体横幅方向の一方側に集中配置されている点にある。
すなわち、従動回転体が、連動用回転体よりも大径の円盤状で且つ異なる極性の2種の磁極形成部分を異なる極性のものが交互に位置する状態で周方向に沿って並べる状態に構成されており、このように構成される従動回転体は連動用回転体よりも大径の円盤状であるため、大きな面積で磁力を受けることができ、しかも、大径であるため小さなトルクにより駆動し易いものとなるのであり、結果的に、連動用回転体を磁力にて駆動させるものの的確に回転駆動させることができるものである。
そして、複数の基板支持部に対する複数の連動用回転体が、収納体横幅方向において支持用回転体の同じ側の端部に連動連結される状態で且つ上下方向に隣接するものが収納体横幅方向に異なる位置となるように千鳥足状に配置した状態で収容体横幅方向の一方側に集中配置されているから、上下方向に隣接する基板支持部を上下方向に近接させたとしても、連動用回転体に設けられた従動用回転体同士が干渉することを回避できるため、上下方向に隣接する基板支持部を上下方向に近接させた状態で並設して、同じ高さの収納体でも上下方向に並設する基板支持部の数を増やすことができるので、基板を効率よく収納することができる。
従って、連動用回転体を的確に駆動させることができるものでありながらも、基板を効率良く収納することができる基板収納容器を提供することができるに至った。
本発明にかかる基板収納容器の第5特徴構成は、第1〜第4特徴構成のいずれか1つにおいて、前記複数の基板支持部を構成する前記複数の支持用回転体の複数組が、上下方向に隣接する基板支持部の複数の支持用回転体における前記基板出し入れ方向において並び順が同じものを前記基板出し入れ方向において異なる位置となるようにする形態で千鳥足状に配置されている点にある。
すなわち、複数の基板支持部を構成する複数の支持用回転体の複数組が、上下方向に隣接する基板支持部の複数の支持用回転体における基板出し入れ方向において並び順が同じものを基板出し入れ方向において異なる位置となるようにする形態で千鳥足状に配置されているから、上下方向に隣接する基板支持部を互いに上下方向に近接させたとしても上下方向に隣接する基板支持部における複数の支持用回転体に対して連動用回転軸を連動連結する連係手段同士が干渉することを回避できるため、上下方向に隣接する基板支持部を上下方向に近接させた状態で並設して、同じ高さの収納体でも上下方向に並設する基板支持部の数を増やすことができるので、基板を効率よく収納することができる。
従って、基板を効率良く収納できる基板収納容器を提供することができるに至った。
本発明にかかる基板収納容器の第6特徴構成は、第1〜第5特徴構成のいずれか1つにおいて、前記連動用回転体が、前記支持用回転体に対して磁気式の連係手段にて連動連結されている点にある。
すなわち、連動用回転体が、支持用回転体に対して磁気式の連係手段にて連動連結されているから、連動用回転体と支持用回転体とを連動連結することによる塵埃の発生を抑制することができ、もって、さらに塵埃の発生を抑制することができる基板収納容器を提供することができるに至った。
以下、本発明の実施の形態を図面に基づいて説明する。
〔第1実施の形態〕
図1に示すように、基板処理設備は、基板収納容器2を収納する複数の収納部4を備えた収納棚5と、収納部4と基板入出部6との間で基板収納容器2を搬送するスタッカークレーン8と、基板1に対して処理を行う基板処理装置(図示せず)に基板1を載置搬送する搬送コンベア3と、基板入出部6に位置する基板収納容器2と搬送コンベア3との間で基板1を搬送する基板搬送装置としての基板搬送台車7とが備えられている。
ちなみに、基板収納容器2は、矩形状のガラス基板である基板1を上下方向に間隔を隔てて並べる状態で複数枚保持するように構成されている。
そして、基板搬送台車7及びスタッカークレーン8は、図外の制御装置にて作動が制御されており、スタッカークレーン8にて、基板1を取り出す又は収納する基板収納容器2を収納部4から基板入出部6に搬送し且つ基板1の取り出し又は収納が終了した基板収納容器2を基板入出部6から収納部4に搬送するように、スタッカークレーン8の作動が制御され、また、基板入出部6に位置する基板収納容器2から取り出された基板1を一枚ずつ搬送コンベア3に搬送し且つ基板処理装置3から受け取った基板1を一枚ずつ基板入出部6に位置する基板収納容器2に収納するように、基板搬送台車7の作動が制御される。
図2示すように、物品処理設備には、クリーン空間13において浄化空気を天井部より床部に通風させるダウンフロー式の浄化空気通風手段23が設けられており、そのダウンフローのクリーン空間13内に、搬送コンベア3、収納棚5、基板搬送台車7、及び、スタッカークレーン8が装備されている。
浄化空気通風手段23について説明を加えると、図4に示すように、浄化空気通風手段23は、クリーン空間13の床部が多孔状のグレーティング床14にて形成され、クリーン空間13の天井部がHEPAフィルタなどからなるエアーフィルタ15にて形成されるとともに、グレーティング床14の下方側に形成された吸気室16とエアーフィルタ15の上方側に形成されたチャンバー室17とが通風ファン18及びプレフィルタ21を備えた循環路19にて連通されており、通風ファン18にて、クリーン空間13の空気をグレーティング床14及び吸気室16を通して循環路19に吸気されるとともに、その吸気された空気をプレフィルタ21、チャンバー室17及びエアーフィルタ15を通して浄化空気としてクリーン空間13内に下向きに噴き出すようにして、クリーン空間13内の空気を、プレフィルタ21とエアーフィルタ15とで清浄化させながら循環させて、浄化空気を天井部より床部に通風させるように構成されている。そして、循環路19には、通風ファン18よりも上流側に外気取入流路20が接続され、通風ファン18よりも下流側に排気流路22が接続されており、浄化空気通風手段23にて循環されるクリーン空間13内の空気の一部を外気と交換するように構成されている。
図2及び図3に示すように、収納棚5は、グレーティング床14上に設けられており、収納棚5には、収納部4が縦横に複数並べて設けられており、収納棚5が備える複数の収納部4のうちの一部が、基板入出部6とされている。
説明を加えると、図2及び図4に示すように、最下段の収納部4のうちの基板処理装置3に対応する収納部4が基板入出部6とされており、基板搬送台車7にて基板入出部6に位置する基板収納容器2に対して収納棚5の背面側を通して基板1の取り出し及び収納が可能に構成されている。
ちなみに、基板入出部6には、基板収納容器2を載置支持するための固定支持台24が設けられている。
図1〜図3に示すように、スタッカークレーン8は、収納棚5の前方に棚横幅方向に沿って設けられた2本の走行レール25に沿って走行する走行台車26と、走行台車26に立設された一対の昇降マスト27に昇降自在に案内支持される昇降台28と、昇降台28に支持されて収納部4と自己との間で基板収納容器2を移載可能なフォーク式の物品移載装置29とが備えられており、走行台車26の走行、昇降台28の昇降移動及び物品移載装置29の作動により、基板入出部6としての収納部4と他の収納部4との間で基板収納容器2を搬送するように構成されている。
図1及び図2に示すように、基板搬送台車7は、収納棚5の後方に棚横幅方向に沿って設けられた2本の案内レール31に沿って走行する台車本体32と、台車本体32に立設されたガイドレール30に昇降自在に案内支持される基板搬送コンベア33とを備えられており、台車本体32の走行、基板搬送コンベア33の昇降移動及び作動により、基板入出部6に位置する基板収納容器2と搬送コンベア3との間で基板1を搬送するように構成されている。
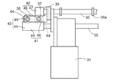
次に、基板搬送コンベア33について説明を加える。図5に示すように、基板搬送コンベア33は、台車前後幅方向に沿う軸芯周りに回転可能で且つ電動モータ34にて回転駆動される駆動用回転軸35と、台車横幅方向に並設されて台車前後幅方向に沿う軸芯周りに回転可能な複数の搬送用回転軸36と、駆動用回転軸35の回転に伴って台車横幅方向に沿う軸芯周りに回転し且つその回転によって複数の搬送用回転軸36の夫々を回転させるように、駆動用回転軸35及び複数の搬送用回転軸36の夫々に連動連結されている連動出力用回転軸37と、駆動用回転軸35の回転に伴って台車横幅方向に沿う軸芯周りに回転するように、駆動用回転軸35に連動連結されている出力用回転軸38とを設けて構成されている。尚、連動出力用回転軸37と出力用回転軸38とは同じ高さに配設されている。
ちなみに、台車前後幅方向とは、基板搬送台車7の走行方向に沿う方向であり、台車横幅方向とは、台車前後幅方向と直交又は略直交する台車横幅方向に沿う方向であり且つ基板搬送コンベア33にて基板1が載置搬送される方向である。また、基板搬送台車7が基板入出部6との間で基板1を受け渡す及び受け取るべく基板入出部6に対応する箇所で停止している状態では、台車横幅方向は基板出し入れ方向と同じ方向であり、台車前後幅方向は収納体横幅方向と同じ方向である。
駆動用回転軸35及び複数の搬送用回転軸36の夫々は、台車前後幅方向に沿って伸びる状態で配置されており、その両端部が台車横幅方向に沿って伸びる状態で配置された一対のコンベアフレーム39にて回転自在に支持されている。また、連動出力用回転軸37は、台車横幅方向に沿って伸びる状態で配置されて一対のコンベアフレーム39の一方にてその外方側に回転自在に支持されており、出力用回転軸38は、台車横幅方向に沿って伸びる状態で配置されて一対のコンベアフレーム39の他方にてその外方側に回転自在に支持されている。
図6及び図7に示すように、連動出力用回転軸37は、駆動用回転軸35に対して磁気式の連動出力側連係手段41にて非接触状態で連動連結され、複数の搬送用回転軸36は、連動出力用回転軸37に対して磁気式の搬送側連係手段42にて非接触状態で連動連結され、出力用回転軸38は、駆動用回転軸35に対して磁気式の出力側連係手段43にて非接触状態で連動連結されている。
説明を加えると、図6〜図8に示すように、複数の搬送用回転軸36の夫々における台車前後幅方向の一方側端部に磁気式の搬送側従動回転体47が設けられ、連動出力用回転軸37における複数の搬送側従動回転体47に対応する箇所の夫々に、搬送側従動回転体47に対してその下方に離間させた状態で且つ上下方向に重なる状態で磁気式の搬送側駆動回転体46が設けられており、これら複数の搬送側駆動回転体46と複数の搬送側従動回転体47とで搬送側連係手段42が構成されている。
また、駆動用回転軸35における台車前後幅方向の一方側端部に磁気式の連動出力側駆動回転体44が設けられ、連動出力用回転軸37における連動出力側駆動回転体44に対応する箇所に、連動出力側駆動回転体44に対してその上方に離間させた状態で且つ上下方向に重なる状態で磁気式の搬送側駆動回転体46の一つが設けられており、これら連動出力側駆動回転体44と搬送側駆動回転体46とで連動出力側連係手段41が構成されている。尚、連動出力用回転軸37に設けられた複数の搬送側駆動回転体46の一つが、連動出力側駆動回転体44にて回転される連動出力側従動回転体に兼用されている。
また、駆動用回転軸35における台車前後幅方向の他方側端部に磁気式の出力側駆動回転体48が設けられ、出力用回転軸38における出力側駆動回転体48に対応する箇所に、出力側駆動回転体48に対してその上方に離間させた状態で且つ上下方向に重なる状態で磁気式の出力側従動回転体49が設けられており、これら出力側駆動回転体48と出力側従動回転体49とで出力側連係手段43が構成されている。
そして、図12に示すように、連動出力側駆動回転体44、搬送側駆動回転体46、搬送側従動回転体47、出力側駆動回転体48、及び、出力側従動回転体49の夫々は、それが設けられた回転軸よりも大径の円筒状で且つ異なる極性の2種の磁極形成部分(S極の磁極形成部分とN極の磁極形成部分)を異なる極性のものが外周面に交互に位置する状態で且つ螺旋状に周方向に沿って並べる状態に構成されている。
つまり、基板搬送コンベア33は、電動モータ34にて駆動用回転軸35を回転駆動させることによって、この駆動用回転軸35と連動出力側連係手段41にて非接触で連動連結されている連動出力用回転軸37、及び、出力側連係手段43にて非接触で連動連結されている出力用回転軸38が回転され、連動出力用回転軸37と搬送側連係手段42にて非接触で連動連結されている複数の搬送用回転軸36が回転するように構成されている。
そして、基板搬送コンベア33は、複数の搬送用回転軸36の夫々に複数設けられた搬送用リング状体36aにて支持する状態で基板1を載置支持するように構成されており、複数の搬送用回転軸36が回転することにより、基板1を載置搬送するように構成されている。
連動出力用回転軸37及び出力用回転軸38における台車横幅方向の基板収納容器2が存在する側の端部に、磁気式の駆動回転体64が設けられている。
この磁気式の駆動回転体64は、それが設けられた回転軸よりも大径の円盤状で且つ異なる極性の2種の磁極形成部分(S極の磁極形成部分とN極の磁極形成部分)を異なる磁極のものが外周面に交互に位置する状態で平坦な円形の外面に周方向に沿って並べる状態に構成されている。
次に、基板収納容器2について説明を加える。
図9〜図11に示すように、基板収納用の収納体51に、基板1を出し入れ自在に載置支持する複数の基板支持部52が上下方向に並設され、前記基板支持部52が、基板出し入れ方向と直交又は略直交する収納体横幅方向に沿う軸芯周りに回転可能な複数の軸状の支持用回転体としての支持用回転軸53を、基板出し入れ方向に並設して構成され、基板出し入れ方向に沿って伸びる状態で配置された軸状の連動用回転体としての連動用回転軸54が、その長手方向に沿う軸芯周りの回転によって前記基板支持部52における複数の前記支持用回転軸53の夫々を回転させるように、それら複数の支持用回転軸53の夫々と連動連結されている。
前記支持用回転軸53は、収納体横幅方向に沿って伸びる状態で配置されており、その両端部を前記収納体51に回転自在に支持される状態で設けられている。
基板収納用の収納体51は、上下一対の矩形フレーム56と、それら上下一対の矩形フレーム56の間に設けられた基板支持部設置用の複数の支持フレーム57とを備えて構成されている。複数の支持フレーム57の夫々は、上端部が上側の矩形フレーム56に連結され且つ下端部が下側の矩形フレーム56に連結されて上下方向に沿って伸びる状態で配設されており、収納体51における収納体横幅方向の両端部夫々において、1つの基板支持部52に設けられた複数の支持用回転軸53と同じ数だけの支持フレーム57が、基板出し入れ方向に並設されている。
支持用回転軸53は、その両端部を支持フレーム57に回転自在に支持される状態で基板出し入れ方向に複数並設されており、基板出し入れ方向に並設された複数の支持用回転軸53の組が、上下方向に複数組並設されている。
このように基板出し入れ方向に並設された複数の支持用回転軸53の組にて一つの基板支持部52が構成されており、複数組の支持用回転軸53を上下方向に並設することにより、複数の基板支持部52が上下方向に並設されている。
ちなみに、各組における複数の支持用回転軸53は夫々異なる支持フレーム57に回転自在に支持されており、複数の基板支持部52における基板出し入れ方向において並び順が同じものは夫々同じ支持フレーム57に支持されている。
複数の基板支持部52のうちの下から奇数段目の基板支持部52を、下から偶数段目の基板支持部52に対して、基板出し入れ方向にずらした状態で設けることにより、前記複数の基板支持部52を構成する前記複数の支持用回転軸53の複数組が、上下方向に隣接する基板支持部52の複数の支持用回転軸53における前記基板出し入れ方向において並び順が同じものを前記基板出し入れ方向において異なる位置となるようにする形態で千鳥足状に配置されている。
連動用回転軸54は、複数の基板支持部52に対応して複数設けられており、これら前記複数の基板支持部52に対する複数の連動用回転軸54は、上下方向に隣接するものが前記収納体横幅方向において前記支持用回転軸53の異なる側の端部に連動連結される状態で前記収容体横幅方向の両側に振り分け配置されている。
説明を加えると、複数の基板支持部52のうちの下から奇数段目の基板支持部52に対して設けられた奇数段目用の連動用回転軸54は、収納体横幅方向の一方側に設けられた複数の支持フレーム57にてその外方側に回転自在に支持されて、複数の支持用回転軸53の夫々における収納体横幅方向の一方側端部に連動連結され、また、下から偶数段目の基板支持部52に対して設けられた偶数段目用の連動用回転軸54は、収納体横幅方向の他方側に設けられた複数の支持フレーム57にてその外方側に回転自在に支持されて、複数の支持用回転軸53の夫々における収納体横幅方向の他方側端部に連動連結されている。
前記連動用回転軸54が、前記支持用回転軸53に対して磁気式の連係手段としての収納側連係手段58にて連動連結されている。
説明を加えると、複数の支持用回転軸53の夫々における収納体横幅方向の一方側端部又は他方側端部に磁気式の収納側従動回転体59が設けられ、連動用回転軸54における収納側従動回転体59に対応する箇所に、収納側従動回転体59に対してその下方に離間させた状態で且つ上下方向に重なる状態で磁気式の収納側駆動回転体60が設けられており、これら収納側従動回転体59と収納側駆動回転体60とで収納側連係手段58が構成されている。
そして、図12に示すように、収納側従動回転体59及び収納側駆動回転体60の夫々は、連動出力側駆動回転体44等と同様に、それが設けられた回転軸よりも大径の円筒状で且つ異なる極性の2種の磁極形成部分(S極の磁極形成部分とN極の磁極形成部分)を異なる極性のものが外周面に交互に位置する状態で且つ螺旋状に周方向に沿って並べる状態に構成されている。
基板収納容器2における奇数段目用の連動用回転軸54が、基板搬送コンベア33における連動出力用回転軸37に対して磁気式の一方側連係手段62にて連動連結可能に構成されており、偶数段目用の連動用回転軸54が、基板搬送コンベア33における出力用回転軸38に対して磁気式の他方側連係手段63にて連係連結可能に構成されている。
説明を加えると、前記連動用回転軸54における基板出し入れ方向の基板搬送台車存在側の端部に、磁気式の従動回転体65が設けられており、連動出力用回転軸37に設けられた駆動回転体64と奇数段目用の連動用回転軸54に設けられた従動回転体65とで一方側連係手段62が構成され、出力用回転軸38に設けられた駆動回転体64と偶数段目用の連動用回転軸54に設けられた従動回転体65とで他方側連係手段63が構成されている。
磁気式の従動回転体65は、駆動回転体64と同様に、前記連動用回転軸54よりも大径の円盤状で且つ異なる極性の2種の磁極形成部分(S極の磁極形成部分とN極の磁極形成部分)を異なる磁極のものが交互に位置する状態で平坦な円形の外面に周方向に沿って並べる状態に構成されている。
ちなみに、複数の従動回転体65の夫々は、上下方向に隣接するものと収納体横幅方向に一部が重複した状態で設けられている。
そして、基板収納容器2を収納棚5の基板入出部6に移載し、基板搬送台車7を基板入出部6に対応する箇所に停止させている状態において、基板搬送コンベア33を昇降移動させることにより、連動出力用回転軸37に設けられた2つの駆動回転体64のどちらかと基板収納容器2に設けられた複数の従動回転体65のいずれかとが近接することによって、連動出力用回転軸37が複数の奇数段目用の連動用回転軸54のいずれかと連動連結する、又は、出力用回転軸38が複数の偶数段目用の連動用回転軸54のいずれかと連動連結するように構成されている。
つまり、連動出力用回転軸37に設けられた駆動回転体64と出力用回転軸38に設けられた駆動回転体64とは同じ高さに設けられており、複数の連動用回転軸54に設けられた複数の従動回転体65は、収納体における収納体横幅方向の一方側と他方側とに交互に且つ夫々が異なる高さとなるように設けられているため、連動出力用回転軸37が複数の奇数段目用の連動用回転軸54のいずれかと連動連結している状態では、出力用回転軸38は複数の偶数段目用の連動用回転軸54のいずれにも連動連結していない状態となり、出力用回転軸38が複数の偶数段目用の連動用回転軸54のいずれかと連動連結している状態では、連動出力用回転軸37は複数の奇数段目用の連動用回転軸54のいずれにも連動連結しない状態となるものであり、一方側連係手段62と他方側連係手段63とのうちのいずれか一方で連動連結され、両方で同時に連動連結されないように構成されている。
そして、基板収納容器2は、連動用回転軸54のいずれかが基板搬送コンベア33の連動出力用回転軸37又は出力用回転軸38と連動連結されている状態において、電動モータ34にて連動出力用回転軸37及び出力用回転軸38が回転されると、連動出力用回転軸37と一方側連係手段62にて非接触にて連動連結されている又は出力用回転軸38と他方側連係手段63にて非接触にて連動連結されている1本の連動用回転軸54が回転し、この連動用回転軸54と収納側連係手段58にて非接触で連動連結されている複数の支持用回転軸53が回転するように構成されている。
そして、基板支持部52は、複数の支持用回転軸53の夫々に複数設けられた支持用リング状体53aにて支持する状態で基板1を載置支持するように構成されており、複数の搬送用回転軸36が回転することにより、基板1を載置搬送するように構成されている。
つまり、図13に示すように、基板収納容器2を収納棚5の基板入出部6に移載し、基板搬送台車7を基板入出部6に対応する箇所に停止させている状態において、基板搬送コンベア33を昇降移動させることにより、基板搬送コンベア33と基板収納容器2における基板出し入れ対象となる一つの基板支持部52とが非接触で連動連結し、基板搬送コンベア33に設けた電動モータ34を正逆に駆動させることによって、基板搬送コンベア33における複数の搬送用回転軸36並びに基板出し入れ対象の基板支持部52における複数の支持用回転軸53が正逆に回転することによって、基板収納容器2から基板搬送コンベア33に基板1を1枚取り出すことができ、また、基板搬送コンベア33から基板収納容器2に基板1を1枚収納することができるように構成されている。
〔第2実施の形態〕
以下、本発明に係る第2実施形態を図面に基づいて説明するが、この第2実施形態は、基板搬送コンベア33及び基板収納容器2の構成が異なる以外は上記の第1実施形態と同様であるので、第1実施形態と同じ構成要素や同じ作用を有する構成要素については、同じ符号を付すことにより説明を省略し、主として、第1実施形態と異なる構成を説明する。
基板搬送コンベア33について説明すると、図14及び図15に示すように、出力用回転軸38は、台車前後幅方向に沿って伸びる状態で配置されて一対のコンベアフレーム39の一方にて連動出力用回転軸37よりも外方側に回転自在に支持されている。
そして、出力用回転軸38における連動出力側駆動回転体44に対応する箇所に、連動出力側駆動回転体44に対してその上方に離間させた状態で且つ上下方向に重なる状態で磁気式の出力側従動回転体49が設けられており、これら駆動出力側駆動回転体44と出力側従動回転体49とで出力側連係手段43が構成されている。
基板収納容器2について説明すると、図16及び図17に示すように、前記複数の基板支持部52に対する複数の連動用回転軸54が、前記収納体横幅方向において前記支持用回転軸53の同じ側の端部に連動連結される状態で且つ上下方向に隣接するものが前記収納体横幅方向に異なる位置となるように千鳥足状に配置した状態で前記収容体横幅方向の一方側に集中配置されている。
説明を加えると、複数の基板支持部52のうちの下から奇数段目の基板支持部52に対して設けられた奇数段目用の連動用回転軸54は、収納体横幅方向の一方側に設けられた複数の支持フレーム57にてその外方側に回転自在に支持されて、複数の支持用回転軸53の夫々における収納体横幅方向の一方側端部に連動連結され、また、下から偶数段目の基板支持部52に対して設けられた偶数段目用の連動用回転軸54は、収納体横幅方向の一方側に設けられた複数の支持フレーム57にて奇数段目用の連動用回転軸54よりもさらに外方側に回転自在に支持されて、複数の支持用回転軸53の夫々における収納体横幅方向の一方側端部に連動連結されている。
〔別実施の形態〕
(1) 上記第1実施の形態では、複数の基板支持部52に対する複数の連動用回転軸54を、複数の基板支持部52に対する上下方向に隣接するものが収納体横幅方向において支持用回転軸53の異なる側の端部に連動連結される状態で収容体横幅方向の両側に振り分け配置し、上記第2実施の形態では、複数の基板支持部52に対する複数の連動用回転軸54を、収納体横幅方向において支持用回転軸53の同じ側の端部に連動連結される状態で且つ上下方向に隣接するものが収納体横幅方向に異なる位置となるように千鳥足状に配置した状態で収容体横幅方向の一方側に集中配置したが、複数の基板支持部52に対する複数の連動用回転軸54を、収納体横幅方向において支持用回転軸53の同じ側の端部に連動連結される状態で且つ上下方向に隣接するものが収納体横幅方向に同じ位置となるように一列に配置した状態で収容体横幅方向の一方側に集中配置してもよい。
尚、上記実施の形態では、複数の基板支持部52に対する複数の連動用回転軸54を、収容体横幅方向の両側に振り分け配置する又は千鳥足状配置して2列に並べたが、3列以上に並べてもよい。
(2) 上記第1及び第2実施の形態では、複数の基板支持部52を構成する複数の支持用回転軸53の複数組を、上下方向に隣接する基板支持部52の複数の支持用回転軸53における基板出し入れ方向において並び順が同じものを基板出し入れ方向において異なる位置となるようにする形態で千鳥足状に配置したが、複数の基板支持部52を構成する複数の支持用回転軸53の複数組を、上下方向に隣接する基板支持部52の複数の支持用回転軸53における基板出し入れ方向において並び順が同じものを基板出し入れ方向において同じ位置となるようにする形態で上下方向に一列に並べて配置してもよい。また、3列以上に並べてもよい。
(3) 上記第1及び第2実施の形態では、連動用回転軸54を支持用回転軸53に連動連結する連係手段を磁気式の連係手段58としたが、連動用回転軸54を支持用回転軸53に連動連結する連係手段をギヤを咬合させるギヤ式の連係手段としてもよい。
(4) 上記第1及び第2実施の形態では、支持用回転体53を、その両端部を収納体51に回転自在に支持される状態で設けたが、支持用回転体53を、その一端部を収納体51に回転自在に支持される状態で設けてもよい。
(5) 上記第1及び第2実施の形態では、基板搬送装置を、台車本体32と基板搬送コンベア33とを備えた基板搬送台車7としたが、基板搬送装置を、床部に固定した固定フレームとこの固定フレームに対して昇降自在に設けられた基板搬送コンベアとを備えて構成してもよい。
基板処理設備の平面図 基板処理設備の正面図 基板処理設備の側面図 基板搬送コンベアと基板収納容器との斜視図 基板搬送コンベアの斜視図 基板搬送コンベアの横断正面図 基板搬送コンベアと基板収納容器とを一方側で連動連結した状態を示す図 基板搬送コンベアと基板収納容器とを他方側で連動連結した状態を示す図 基板収納容器の斜視図 基板収納容器の正面図 基板収納容器の側面図 回転軸を連動連結する概略図 基板を搬送している状態を示す作用図 第2実施形態における基板搬送コンベアの横断正面図 第2実施の形態における基板搬送コンベアと基板収納容器とを連動連結した状態を示す図 第2実施の形態における基板収納容器の正面図 第2実施の形態における基板収納容器の側面図
符号の説明
1 基板
51 収納体
52 基板支持部
53 支持用回転軸
54 連動用回転軸
58 磁気式の連係手段
65 磁気式の従動回転体

Claims (6)

  1. 基板収納用の収納体に、基板を出し入れ自在に載置支持する複数の基板支持部が上下方向に並設され、
    前記基板支持部が、基板出し入れ方向と直交又は略直交する収納体横幅方向に沿う軸芯周りに回転可能な複数の軸状の支持用回転体を、基板出し入れ方向に並設して構成され、
    基板出し入れ方向に沿って伸びる状態で配置された軸状の連動用回転体が、その長手方向に沿う軸芯周りの回転によって前記基板支持部における複数の前記支持用回転体の夫々を回転させるように、それら複数の支持用回転体の夫々と連動連結されている基板収納容器であって、
    前記連動用回転体における基板出し入れ方向の端部に、磁気式の従動回転体が設けられている基板収納容器。
  2. 前記支持用回転体が、その両端部を前記収納体に回転自在に支持される状態で設けられている請求項1記載の基板収納容器。
  3. 前記従動回転体が、前記連動用回転体よりも大径の円盤状で且つ異なる極性の2種の磁極形成部分を異なる極性のものが交互に位置する状態で周方向に沿って並べる状態に構成され、
    前記複数の基板支持部に対する複数の連動用回転体が、上下方向に隣接するものが前記収納体横幅方向において前記支持用回転体の異なる側の端部に連動連結される状態で前記収容体横幅方向の両側に振り分け配置されている請求項2記載の基板収納容器。
  4. 前記従動回転体が、前記連動用回転体よりも大径の円盤状で且つ異なる極性の2種の磁極形成部分を異なる極性のものが交互に位置する状態で周方向に沿って並べる状態に構成され、
    前記複数の基板支持部に対する複数の連動用回転体が、前記収納体横幅方向において前記支持用回転体の同じ側の端部に連動連結される状態で且つ上下方向に隣接するものが前記収納体横幅方向に異なる位置となるように千鳥足状に配置した状態で前記収容体横幅方向の一方側に集中配置されている請求項2記載の基板収納容器。
  5. 前記複数の基板支持部を構成する前記複数の支持用回転体の複数組が、上下方向に隣接する基板支持部の複数の支持用回転体における前記基板出し入れ方向において並び順が同じものを前記基板出し入れ方向において異なる位置となるようにする形態で千鳥足状に配置されている請求項1〜4のいずれか1項に記載の基板収納容器。
  6. 前記連動用回転体が、前記支持用回転体に対して磁気式の連係手段にて連動連結されている請求項1〜5のいずれか1項に記載の基板収納容器。
JP2008166125A 2008-06-25 2008-06-25 基板収納容器 Active JP5090269B2 (ja)

Priority Applications (4)

Application Number Priority Date Filing Date Title
JP2008166125A JP5090269B2 (ja) 2008-06-25 2008-06-25 基板収納容器
TW098114806A TWI406800B (zh) 2008-06-25 2009-05-05 Substrate storage container
KR1020090051941A KR101206191B1 (ko) 2008-06-25 2009-06-11 기판 수납 용기
CN2009101508602A CN101624117B (zh) 2008-06-25 2009-06-25 基板收纳容器

Applications Claiming Priority (1)

Application Number Priority Date Filing Date Title
JP2008166125A JP5090269B2 (ja) 2008-06-25 2008-06-25 基板収納容器

Publications (2)

Publication Number Publication Date
JP2010010291A true JP2010010291A (ja) 2010-01-14
JP5090269B2 JP5090269B2 (ja) 2012-12-05

Family

ID=41520143

Family Applications (1)

Application Number Title Priority Date Filing Date
JP2008166125A Active JP5090269B2 (ja) 2008-06-25 2008-06-25 基板収納容器

Country Status (4)

Country Link
JP (1) JP5090269B2 (ja)
KR (1) KR101206191B1 (ja)
CN (1) CN101624117B (ja)
TW (1) TWI406800B (ja)

Cited By (3)

* Cited by examiner, † Cited by third party
Publication number Priority date Publication date Assignee Title
JP2012038832A (ja) * 2010-08-05 2012-02-23 Muratec Automation Co Ltd 供給搬出システム
CN102832156A (zh) * 2011-06-15 2012-12-19 株式会社安川电机 基板传送手和包括基板传送手的基板传送装置
JP2019106517A (ja) * 2017-12-15 2019-06-27 株式会社ダイフク 移載設備、移載方法

Families Citing this family (5)

* Cited by examiner, † Cited by third party
Publication number Priority date Publication date Assignee Title
JP5681412B2 (ja) * 2010-08-27 2015-03-11 川崎重工業株式会社 板状部材収納用ラック、板状部材移載設備、及び板状部材収納方法
CN102452546A (zh) * 2010-10-21 2012-05-16 株式会社Siti 任意抽取式基板匣盒
CN103434837B (zh) * 2013-08-29 2016-02-10 东莞市新泽谷机械制造股份有限公司 过板机构用pcb周转箱
CN103662454B (zh) * 2013-11-27 2015-09-30 深圳市华星光电技术有限公司 基板盒
CN108217042B (zh) * 2018-03-23 2024-03-29 泰安飞驰自动化设备有限公司 基于侧面储存区间的玻璃仓储装置和搬运方法

Citations (6)

* Cited by examiner, † Cited by third party
Publication number Priority date Publication date Assignee Title
JPH0374980U (ja) * 1989-11-24 1991-07-26
JP2003341835A (ja) * 2002-05-27 2003-12-03 Shimada Phys & Chem Ind Co Ltd 基板のガス処理装置
JP2004131233A (ja) * 2002-10-09 2004-04-30 Nakamura Tome Precision Ind Co Ltd ローラコンベア
JP2005335852A (ja) * 2004-05-25 2005-12-08 Sanki Eng Co Ltd ホイールコンベヤ
JP2007036227A (ja) * 2005-07-22 2007-02-08 Au Optronics Corp 基板の保存用カセット、搬送コンベア及びそれらを用いた搬送システム
JP2007061947A (ja) * 2005-08-30 2007-03-15 M & C:Kk 搬送物のストック装置

Family Cites Families (1)

* Cited by examiner, † Cited by third party
Publication number Priority date Publication date Assignee Title
KR100821964B1 (ko) 2007-02-16 2008-04-15 세메스 주식회사 기판 이송 장치

Patent Citations (6)

* Cited by examiner, † Cited by third party
Publication number Priority date Publication date Assignee Title
JPH0374980U (ja) * 1989-11-24 1991-07-26
JP2003341835A (ja) * 2002-05-27 2003-12-03 Shimada Phys & Chem Ind Co Ltd 基板のガス処理装置
JP2004131233A (ja) * 2002-10-09 2004-04-30 Nakamura Tome Precision Ind Co Ltd ローラコンベア
JP2005335852A (ja) * 2004-05-25 2005-12-08 Sanki Eng Co Ltd ホイールコンベヤ
JP2007036227A (ja) * 2005-07-22 2007-02-08 Au Optronics Corp 基板の保存用カセット、搬送コンベア及びそれらを用いた搬送システム
JP2007061947A (ja) * 2005-08-30 2007-03-15 M & C:Kk 搬送物のストック装置

Cited By (5)

* Cited by examiner, † Cited by third party
Publication number Priority date Publication date Assignee Title
JP2012038832A (ja) * 2010-08-05 2012-02-23 Muratec Automation Co Ltd 供給搬出システム
CN102398776A (zh) * 2010-08-05 2012-04-04 村田自动化机械有限公司 供给搬出系统
CN102832156A (zh) * 2011-06-15 2012-12-19 株式会社安川电机 基板传送手和包括基板传送手的基板传送装置
JP2013004678A (ja) * 2011-06-15 2013-01-07 Yaskawa Electric Corp 基板搬送用ハンドおよび基板搬送用ハンドを備えた基板搬送装置
JP2019106517A (ja) * 2017-12-15 2019-06-27 株式会社ダイフク 移載設備、移載方法

Also Published As

Publication number Publication date
TWI406800B (zh) 2013-09-01
CN101624117B (zh) 2013-10-02
CN101624117A (zh) 2010-01-13
KR101206191B1 (ko) 2012-11-28
KR20100002117A (ko) 2010-01-06
JP5090269B2 (ja) 2012-12-05
TW201000374A (en) 2010-01-01

Similar Documents

Publication Publication Date Title
JP5090269B2 (ja) 基板収納容器
JP5818956B2 (ja) 保管物品を保管する保管棚システム
JP5513930B2 (ja) 立体自動倉庫
CN107635891B (zh) 机器人库存处理
ES2644913T3 (es) Lanzadera de almacén automatizada
US10766699B2 (en) Order fulfillment robot capable of horizontal and vertical motion
JP4905806B2 (ja) ガラス板積載台車
JP2008068964A (ja) 基板収納設備及び基板処理設備
JP2013010630A (ja) 物品搬送仕分装置
JP5401842B2 (ja) 搬送システム
JP2010052850A (ja) 搬送物昇降装置
JP2008007223A (ja) 物品収納設備
JP5427099B2 (ja) 板状物の搬送システム
JP2010235212A (ja) 走行車システム
JP5402156B2 (ja) 走行車システム
JP6972662B2 (ja) スライドフォーク装置
JP6711297B2 (ja) 物品搬送設備
JP2016223235A (ja) 物体搬送装置及びこれを用いた格納設備
JP6333582B2 (ja) 自動倉庫
JP6909193B2 (ja) 自動倉庫システム
JP4623381B2 (ja) 物品収納設備
JP3991626B2 (ja) 組立て設備
JP2613492B2 (ja) 入出庫装置及び搬送装置付きラック設備
KR20110102598A (ko) 풉 적재 장치 및 그를 구비하는 열처리 장치
JP5063121B2 (ja) 建物内収納庫

Legal Events

Date Code Title Description
A621 Written request for application examination

Free format text: JAPANESE INTERMEDIATE CODE: A621

Effective date: 20101015

A977 Report on retrieval

Free format text: JAPANESE INTERMEDIATE CODE: A971007

Effective date: 20120419

A131 Notification of reasons for refusal

Free format text: JAPANESE INTERMEDIATE CODE: A131

Effective date: 20120510

A521 Request for written amendment filed

Free format text: JAPANESE INTERMEDIATE CODE: A523

Effective date: 20120803

TRDD Decision of grant or rejection written
A01 Written decision to grant a patent or to grant a registration (utility model)

Free format text: JAPANESE INTERMEDIATE CODE: A01

Effective date: 20120906

A01 Written decision to grant a patent or to grant a registration (utility model)

Free format text: JAPANESE INTERMEDIATE CODE: A01

A61 First payment of annual fees (during grant procedure)

Free format text: JAPANESE INTERMEDIATE CODE: A61

Effective date: 20120912

FPAY Renewal fee payment (event date is renewal date of database)

Free format text: PAYMENT UNTIL: 20150921

Year of fee payment: 3

R150 Certificate of patent or registration of utility model

Ref document number: 5090269

Country of ref document: JP

Free format text: JAPANESE INTERMEDIATE CODE: R150

Free format text: JAPANESE INTERMEDIATE CODE: R150

S531 Written request for registration of change of domicile

Free format text: JAPANESE INTERMEDIATE CODE: R313531

R350 Written notification of registration of transfer

Free format text: JAPANESE INTERMEDIATE CODE: R350

R250 Receipt of annual fees

Free format text: JAPANESE INTERMEDIATE CODE: R250

R250 Receipt of annual fees

Free format text: JAPANESE INTERMEDIATE CODE: R250

R250 Receipt of annual fees

Free format text: JAPANESE INTERMEDIATE CODE: R250

R250 Receipt of annual fees

Free format text: JAPANESE INTERMEDIATE CODE: R250

R250 Receipt of annual fees

Free format text: JAPANESE INTERMEDIATE CODE: R250

R250 Receipt of annual fees

Free format text: JAPANESE INTERMEDIATE CODE: R250

R250 Receipt of annual fees

Free format text: JAPANESE INTERMEDIATE CODE: R250

R250 Receipt of annual fees

Free format text: JAPANESE INTERMEDIATE CODE: R250

R250 Receipt of annual fees

Free format text: JAPANESE INTERMEDIATE CODE: R250

R250 Receipt of annual fees

Free format text: JAPANESE INTERMEDIATE CODE: R250

R250 Receipt of annual fees

Free format text: JAPANESE INTERMEDIATE CODE: R250