JP2010001928A - クリップ及びバックライトアッセンブリ - Google Patents

クリップ及びバックライトアッセンブリ Download PDF

Info

Publication number
JP2010001928A
JP2010001928A JP2008159640A JP2008159640A JP2010001928A JP 2010001928 A JP2010001928 A JP 2010001928A JP 2008159640 A JP2008159640 A JP 2008159640A JP 2008159640 A JP2008159640 A JP 2008159640A JP 2010001928 A JP2010001928 A JP 2010001928A
Authority
JP
Japan
Prior art keywords
chassis
clip
light emitting
insertion hole
light
Prior art date
Legal status (The legal status is an assumption and is not a legal conclusion. Google has not performed a legal analysis and makes no representation as to the accuracy of the status listed.)
Granted
Application number
JP2008159640A
Other languages
English (en)
Other versions
JP4631938B2 (ja
Inventor
Shuji Moro
修司 茂呂
Yuichi Suzuki
雄一 鈴木
Hiroshi Takatsuka
央 高塚
Eiji Ide
英二 井出
Hiroichi Shibata
博一 柴田
Current Assignee (The listed assignees may be inaccurate. Google has not performed a legal analysis and makes no representation or warranty as to the accuracy of the list.)
Sony Corp
Original Assignee
Sony Corp
Priority date (The priority date is an assumption and is not a legal conclusion. Google has not performed a legal analysis and makes no representation as to the accuracy of the date listed.)
Filing date
Publication date
Application filed by Sony Corp filed Critical Sony Corp
Priority to JP2008159640A priority Critical patent/JP4631938B2/ja
Priority to US12/456,193 priority patent/US8215819B2/en
Priority to CN2009101461911A priority patent/CN101608651B/zh
Publication of JP2010001928A publication Critical patent/JP2010001928A/ja
Application granted granted Critical
Publication of JP4631938B2 publication Critical patent/JP4631938B2/ja
Expired - Fee Related legal-status Critical Current
Anticipated expiration legal-status Critical

Links

Images

Classifications

    • GPHYSICS
    • G02OPTICS
    • G02FOPTICAL DEVICES OR ARRANGEMENTS FOR THE CONTROL OF LIGHT BY MODIFICATION OF THE OPTICAL PROPERTIES OF THE MEDIA OF THE ELEMENTS INVOLVED THEREIN; NON-LINEAR OPTICS; FREQUENCY-CHANGING OF LIGHT; OPTICAL LOGIC ELEMENTS; OPTICAL ANALOGUE/DIGITAL CONVERTERS
    • G02F1/00Devices or arrangements for the control of the intensity, colour, phase, polarisation or direction of light arriving from an independent light source, e.g. switching, gating or modulating; Non-linear optics
    • G02F1/01Devices or arrangements for the control of the intensity, colour, phase, polarisation or direction of light arriving from an independent light source, e.g. switching, gating or modulating; Non-linear optics for the control of the intensity, phase, polarisation or colour 
    • G02F1/13Devices or arrangements for the control of the intensity, colour, phase, polarisation or direction of light arriving from an independent light source, e.g. switching, gating or modulating; Non-linear optics for the control of the intensity, phase, polarisation or colour  based on liquid crystals, e.g. single liquid crystal display cells
    • G02F1/133Constructional arrangements; Operation of liquid crystal cells; Circuit arrangements
    • G02F1/1333Constructional arrangements; Manufacturing methods
    • G02F1/1335Structural association of cells with optical devices, e.g. polarisers or reflectors
    • G02F1/1336Illuminating devices
    • G02F1/133602Direct backlight
    • G02F1/133608Direct backlight including particular frames or supporting means
    • FMECHANICAL ENGINEERING; LIGHTING; HEATING; WEAPONS; BLASTING
    • F16ENGINEERING ELEMENTS AND UNITS; GENERAL MEASURES FOR PRODUCING AND MAINTAINING EFFECTIVE FUNCTIONING OF MACHINES OR INSTALLATIONS; THERMAL INSULATION IN GENERAL
    • F16BDEVICES FOR FASTENING OR SECURING CONSTRUCTIONAL ELEMENTS OR MACHINE PARTS TOGETHER, e.g. NAILS, BOLTS, CIRCLIPS, CLAMPS, CLIPS OR WEDGES; JOINTS OR JOINTING
    • F16B5/00Joining sheets or plates, e.g. panels, to one another or to strips or bars parallel to them
    • F16B5/06Joining sheets or plates, e.g. panels, to one another or to strips or bars parallel to them by means of clamps or clips
    • F16B5/0607Joining sheets or plates, e.g. panels, to one another or to strips or bars parallel to them by means of clamps or clips joining sheets or plates to each other
    • F16B5/0621Joining sheets or plates, e.g. panels, to one another or to strips or bars parallel to them by means of clamps or clips joining sheets or plates to each other in parallel relationship
    • F16B5/065Joining sheets or plates, e.g. panels, to one another or to strips or bars parallel to them by means of clamps or clips joining sheets or plates to each other in parallel relationship the plates being one on top of the other and distanced from each other, e.g. by using protrusions to keep contact and distance
    • YGENERAL TAGGING OF NEW TECHNOLOGICAL DEVELOPMENTS; GENERAL TAGGING OF CROSS-SECTIONAL TECHNOLOGIES SPANNING OVER SEVERAL SECTIONS OF THE IPC; TECHNICAL SUBJECTS COVERED BY FORMER USPC CROSS-REFERENCE ART COLLECTIONS [XRACs] AND DIGESTS
    • Y10TECHNICAL SUBJECTS COVERED BY FORMER USPC
    • Y10TTECHNICAL SUBJECTS COVERED BY FORMER US CLASSIFICATION
    • Y10T24/00Buckles, buttons, clasps, etc.
    • Y10T24/44Clasp, clip, support-clamp, or required component thereof
    • Y10T24/44017Clasp, clip, support-clamp, or required component thereof with specific mounting means for attaching to rigid or semirigid supporting structure or structure-to-be-secured

Landscapes

  • Physics & Mathematics (AREA)
  • Nonlinear Science (AREA)
  • Optics & Photonics (AREA)
  • Crystallography & Structural Chemistry (AREA)
  • Chemical & Material Sciences (AREA)
  • General Physics & Mathematics (AREA)
  • Mathematical Physics (AREA)
  • Planar Illumination Modules (AREA)
  • Connection Of Plates (AREA)
  • Insertion Pins And Rivets (AREA)
  • Fastening Of Light Sources Or Lamp Holders (AREA)
  • Devices For Indicating Variable Information By Combining Individual Elements (AREA)
  • Clamps And Clips (AREA)

Abstract

【課題】作業性を向上させつつ、全体構造を薄型化させることができるクリップ及びバックライトアッセンブリを提供すること。
【解決手段】本発明により提供されるクリップ100は、板状のシャーシ10に形成された挿入孔15に挿入され、上記シャーシ10と係合する挿入部110と、上記挿入部110の周囲に平板状に形成された鍔部120と、を有し、上記鍔部120と上記シャーシ10とは、上記挿入部110が上記挿入孔15に挿入された場合、上記シャーシ10に当接配置される1又は2以上の発光基板20を挟持し、上記鍔部120の厚みは、上記発光基板20から突出形成された発光部21の突出量以下に設定される。
【選択図】図1A

Description

本発明は、クリップ及びバックライトアッセンブリに関する。
近年、平板状の画像表示装置が開発され、その表示装置の薄型化が進んでいる。一方、このうち、例えば液晶表示装置などのような表示装置は、画像を形成する液晶パネルの他に、バックライトアッセンブリを備える。バックライトアッセンブリは、例えば、LEDやFL管などの発光部が配置された発光基板を有して、液晶表示装置の場合液晶パネルに向けて所定の光を発する。そして、その光が液晶パネルを透過することにより、画像が形成される。
バックライトアッセンブリの厚みは、表示装置の厚みの多くを占めるため、表示装置の薄型化にはバックライトアッセンブリの薄型化が非常に重要である。
特開2003−278723号公報 特開2006−183772号公報 特開2008−71586号公報
バックライトアッセンブリは、発光基板などの多くの構成要素を有し、各構成要素を固定するための固定部材が必要である。このような固定部材は、バックライトアッセンブリの薄型化を実現する上で障害となることが多い。そこで、薄型化を実現するために、例えば固定部材に代えて粘着部材などにより各構成要素を固定することも考えられる。しかしながら、粘着部材などでは、各構成要素を取り外すことが難しく、作業効率が低下したり、作業が困難になるなどのように、作業性が低下することもある。そこで作業性を低下させずに、バックライトアッセンブリのみならず画像表示装置全体構造を薄型化することが可能な固定部材が希求されている。一方、上記特許文献1〜3に開示されているような固定部材としてのクリップも存在するが、上記の要請を十分に満たすには至っていない。
そこで、本発明は、上記問題に鑑みてなされたものであり、本発明の目的とするところは、作業性を向上させつつ、全体構造を薄型化させることが可能な、新規かつ改良されたクリップ及びバックライトアッセンブリを提供することにある。
上記課題を解決するために、本発明のある観点によれば、平板状のシャーシに形成された挿入孔に挿入され、上記シャーシと係合する挿入部と、上記挿入部の周囲に平板状に形成された鍔部と、を有し、上記鍔部と上記シャーシとは、上記挿入部が上記挿入孔に挿入された場合、上記シャーシに当接配置される1又は2以上の発光基板を挟持し、上記鍔部の厚みは、上記発光基板から突出形成された発光部の突出量以下に設定される、クリップが提供される。
この構成によれば、クリップの挿入部がシャーシの挿入孔に挿入された場合、挿入部は、シャーシに係合する。そして、クリップの鍔部とシャーシとの間には、1又は2以上の発光基板が挟まれ、この発光基板は、鍔部とシャーシとに挟持される。従って、クリップにより、発光基板を適切な力により支持できる。この際、クリップは、挿入部が挿入孔に挿入されるだけで、発光基板を固定することができる。また、鍔部の厚みが発光基板から突出形成された発光部の突出量以下に設定されるので、組立時に、発光部の方が、クリップの鍔部と同じ高さになるか、又は、鍔部よりも突出する。よって、発光部から発せられる光は、鍔部により遮られることもない。
また、上記挿入部は、上記挿入孔に対する挿入方向先端の周囲に張り出して形成される張出部を有してもよい。
また、上記張出部は、上記挿入孔の径よりも大きく形成され、上記挿入部が上記挿入孔に挿入される際に、当該張出部に対応して上記挿入孔の外縁に形成された溝部を通過してもよい。
また、上記クリップの上記挿入方向を中心とした回転を止めるように、上記発光基板を挟持する上記鍔部の面上に突出して形成されて上記発光基板又は上記シャーシに接触する1又は2以上の回転防止突起を更に有してもよい。
また、上記クリップの上記挿入方向を中心とした回転を止めるように、上記鍔部に穿設され、上記シャーシから突出形成された係止突起に係合する1又は2以上の係止孔を有してもよい。
また、上記鍔部の平板状の面積は、当該鍔部と平行な面内における上記挿入部の断面積よりも大きくてもよい。
また、上記鍔部の厚みは、上記発光部が挿入される発光孔を有する反射パネルが配置された場合、上記発光孔に挿入された上記発光部を上記反射パネルから突出させる厚みであってもよい。
また、上記鍔部を挟んで上記挿入部と反対の方向に突出形成された突起部を更に有し、上記突起部は、上記挿入部が上記挿入孔に挿入され上記鍔部と上記シャーシとが上記発光基板を挟持した場合に上記発光部が発する光を遮らない形状を有してもよい。
また、上記課題を解決するために、本発明の別の観点によれば、平板状に形成されたシャーシと、一方の面に突出形成された発光部を有し、他方の面で上記シャーシに当接して配置される1又は2以上の発光基板と、上記シャーシに形成された挿入孔に挿入されて当該シャーシと係合する挿入部、及び上記挿入部の周囲に平板状に形成された鍔部を有するクリップと、を有し、上記クリップの鍔部と上記シャーシとは、上記挿入部が上記挿入孔に挿入された場合、上記1又は2以上の発光基板を挟持し、上記鍔部の厚みは、上記発光部の上記発光基板からの突出量以下に設定される、バックライトアッセンブリが提供される。
以上説明したように本発明によれば、作業性を向上させつつ、全体構造を薄型化させることができる。
以下に添付図面を参照しながら、本発明の好適な実施の形態について詳細に説明する。なお、本明細書及び図面において、実質的に同一の機能構成を有する構成要素については、同一の符号を付することにより重複説明を省略する。
以下で説明する本発明の各実施形態は、クリップ及びそのクリップを使用したバックライトアッセンブリに関するものである。このクリップは、特別な構造を有することにより、作業性を向上させることができるだけでなく、バックライトアセンブリに使用された場合、そのバックライトアセンブリの薄型化に大きく寄与することができる。このクリップは、このような効果以外にも様々な効果を奏することができるが、これらの効果については以下に詳述する。本発明の各実施形態を理解しやすいように、クリップの説明をする前に、本発明の各実施形態に係るバックライトアッセンブリについて説明し、その後、バックライトアッセンブリとの関係を中心にクリップについて説明する。つまり、以下では次のような順で説明する。なお、各実施形態の効果の例が理解しやすいように、以下の説明中で関連技術に係るバックライトアッセンブリや本発明の各実施形態に係るクリップの変形例について適宜説明する。
1.バックライトアッセンブリ
2.クリップ(2.2.鍔部、2.3.張出部)
3.効果の例
<1.バックライトアセンブリ>
図1A及び図1Bは、本発明の第1実施形態に係るバックライトアッセンブリの構成を説明する説明図である。なお、図1A及び図1Bは、バックライトアッセンブリ1の一部の断面図であり、図1Aは、バックライトアッセンブリ1の端部を例示し、図1Bは、バックライトアッセンブリ1の他の部位を例示している。
図1A及び図1B中、x軸正の方向が、前面(前方、正面)になり、この前面に例えば液晶パネルなどが配置される。そして、バックライトアッセンブリ1は、前方に光を発することにより、液晶パネルに光を供給する。図1A及び図1Bに示すバックライトアッセンブリ1は、x軸とは垂直な面において、平板状に形成され、x軸方向の厚みが、バックライトアッセンブリ1の厚みに相当する。図1A及び図1Bでは、バックライトアッセンブリの主要構成のみを示し、配線等の細かい構成は省略している。また、図1A及び図1Bでは、同一断面上に主要な構成(例えばクリップ100,200と、発光部21)が配置されているように図示しているが、これはあくまで説明の便宜上であり、各構成の配置位置を同一断面上に限定するものではない。
図1に示すように、本実施形態に係るバックライトアッセンブリ1は、大きく分けて、シャーシ10と、発光基板20と、反射パネル30と、拡散パネル40と、クリップ100,200を有する。
シャーシ10は、各構成部材を支持する支持部材の一例である。シャーシ10は、前面が開口した箱状に形成され、例えばアルミなどのように、剛性が高く熱伝導し易い金属材料で形成されることが望ましい。シャーシ10の背面(x軸負の方向の面)には、シャーシ10の剛性を高めるために、補強部材の一例としてサポートビーム(例えば背骨)11が取り付けられてもよい。サポートビーム11は、例えば、シャーシ10の背面で一方向に延長形成(例えばz軸方向)され、シャーシ10の背面に例えば螺子やリベットなどにより締結される。
シャーシ10は、更に、発光基板20にワイヤー13などで接続されて発光基板20の発光を制御する電気基板12をも支持する。また、シャーシ10の裏面には、外部の制御装置(図示せず)に接続可能なコネクタ(図示せず)が配置され、電気基板12は、このコネクタを介して電源や駆動信号を供給される。なお、このワイヤー13は、ワイヤークランパ14により束ねられてシャーシ10に固定される。このようにワイヤークランパー14を使用することにより、ワイヤー13を整理して配置することができ、他の構成部材を配置する際にワイヤー13が邪魔になることを防止でき、作業性を向上させることができる。
一方、シャーシ10が金属材料で形成される場合、シャーシ10は、例えば、板状の金属材料を切り抜き、折曲げることにより形成することができる。この場合、シャーシ10の四隅の角部には、隙間が生じないように遮光テープ又はコーナーカバー(カバー部材、図示せず)が配置されることが望ましい。遮光テープ又はコーナーカバーを使用することにより、角部において光が漏れ出たり、入り込む恐れを低減することができ、画質を向上させることができる。なお、図1では、シャーシ10は、断面形状が略コの字で、後方面(x軸負の方向の面)と側面(例えばy軸負の方向の面)との交点である角部が略90°で成形される例を示している。しかし、シャーシ10の形状は、角部に丸みを付けたり、傾斜させることにより、バックライトアッセンブリ1の見掛けを薄くすることができる。
発光基板20は、前面に突出して形成された1又は2以上の発光部21を有する電気基板である。この発光基板20は、上述のように、電気基板12から供給される駆動信号により発光部21を発光させる。発光基板20の裏面は、シャーシ10に当接して配置される。一方、シャーシ10の発光基板20が配置される面には、発光基板20の裏面に形成された位置決め突起が係合する位置決め孔や、発光基板20に形成された位置決め孔に係合する位置決め突起(タボともいう。)が形成される(図示せず)。従って、発光基板20は、適切な位置に配置される。なお、発光基板20は、一枚である必要はなく、設計の都合などにより、複数枚の発光基板20が、シャーシ10に並べられて当接配置されてもよい。
この際、発光基板20をシャーシ10に固定するのが、後述するクリップ100,200である。発光基板20は、関連技術に係るバックライトアッセンブリが有する発光基板に比べて非常に薄く構成される。一般的に関連技術に係るバックライトアッセンブリでは、例えば螺子止めなどを行っており、固定部材の構成上、発光基板20を薄く構成することが難しかった。しかし、本実施形態に係るバックライトアッセンブリ1では、後述するクリップ100,200を使用することにより、例えば約0.3mmと、発光基板20を非常に薄くすることを可能にしている。
また、本実施形態に係るバックライトアッセンブリ1は、発光基板20とシャーシ10との間に一般的に配置される熱伝導シートを取り除くことを可能にし、更なる薄型化を可能にしている。発光基板20が有する発光部21などの電子部品は、熱を発する。従って、バックライトアッセンブリ1では、この熱を如何に外部に放出するかが重要である。そのために、一般的に関連技術に係るバックライトアッセンブリでは、発光基板20とシャーシ10との間に熱伝導シートを配置して発光基板20で発した熱をシャーシ10に伝達して外部に放出させている。しかし、本実施形態に係るバックライトアッセンブリ1では、後述するクリップ100,200を使用することにより、このような熱伝送シートを使用しなくともシャーシ10に対する熱伝導を高めることを可能にしている。
一方、発光部21は、例えば、LED(Light Emitting Diode)・FL(Fluorescent Lamp)管などを有し、このLEDやFL管により前方(x軸正の方向)に光を発生させる。発光部21の前方端部には、光を拡散させるレンズが配置され、設計上所望の位置に光が到達するように、光の拡散量が調整されてもよい。
反射パネル30は、発光基板20から発せられる光を前方に反射する。反射パネル30は、例えば白色などのように、光を多く反射しうる色彩を有していることが望ましい。また、反射パネル30は、例えば金属材料などのように反射率が高い材料で形成されてもよい。この反射パネル30は、発光基板20から発せられる光を前方に反射しやすい形状を有することが望ましい。そして、この反射パネル30は、発光基板20の前方に配置される。この際、反射パネル30には、発光基板20から突出した発光部21が挿入される発光孔31が形成されており、この発光孔31に挿入された発光部21から、光が前方に発せられることになる。
この反射パネル30も、本実施形態に係るクリップ100,200によりシャーシ10に固定される。この際、本実施形態に係るクリップ100,200は、発光基板20と反射パネル30との間に間隙Aを形成することを可能にしている。このような間隙Aは、発光基板20から発せられる熱が前方に伝達されるのを防止する。仮に前方に熱が伝達される場合、前方に配置される液晶パネル(図示せず)に影響を与え、画質を劣化させる恐れがある。しかしながら、間隙Aは、熱が前方に伝達されるのを防止するため、このような不具合を低減することができる。この間隙Aを形成するクリップ100,200の構成等については後述する。なお、反射パネル30は、図1Aに示すように端部などにおいて、シャーシ10に直接固定されてもよい。
拡散パネル40は、発光基板20から発せられた光を拡散させる。つまり、発光基板20の発光部21から発せられた光は、レンズなどにより拡散され、反射パネル30と拡散パネル40との間の空間Bを拡散しながら通過する。そして、この光は、更にこの拡散パネル40により拡散される。よって、発光部21の像などが反映した光のムラが低減される。この拡散パネル40は、端部でシャーシ10に固定される。
一方、本実施形態に係るクリップは、図1Aに示すクリップ100だけではなく、複数種類あってもよい。このクリップの他の例を図1Bに示している(クリップ200)。このクリップ200は、クリップ100とは異なり、前方に拡散パネル40に到達する程突出した支持部210(突起部の一例で、クリップ100の突起部130に相当)を有する。拡散パネル40は、このクリップ200の支持部210により、後方(x軸負の方向)への撓みや歪みが防止される。このクリップ200は、スタッドとも呼ばれる。なお、本実施形態に係るバックライトアッセンブリ1は、このように複数種類のクリップ100,200を有するため、その取付位置を取り違えることを防止可能な構造を有するが、この構造についても後述する。なお、以下では、クリップ100を中心に説明し、クリップ200については、適宜、クリップ100との相違点を説明する。
<2.クリップ>
クリップ100は、図1Aに示すように、シャーシ10に形成された挿入孔15に挿入されてシャーシ10と係合し、かつ、発光基板20及び反射パネル30を挟持する。その結果、クリップ100は、発光基板20と反射パネル30との荷重をシャーシ10に伝達させる。従って、発光基板20と反射パネル30とは、反りが発生したり、撓んだり、シャーシ10から離脱すること無く支持される。なお、図1A及び図1Bでは、クリップ100,200が1つ配置されている例を示しているが、クリップ100,200は、適宜所定の個所に複数配置されることが望ましい。このクリップ100,200の配置位置は、設計や各構成部材の強度、バックライトアッセンブリ1の仕様などにより決定されてもよい。
以下、このクリップ100の構成を詳しく説明する。図2及び図3は、本実施形態に係るクリップの構成を説明する説明図である。図2には、このクリップ100をz軸方向の中央でx−y平面で切断し、斜め前方(x軸方向)から見た構成を示している。
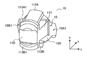
図2及び図3に示すように、クリップ100は、大きく分けて、本体部と、キャップ140とを有する。本体部とキャップ140とは係合可能に形成される。また、本体部は、更に、挿入部110と、鍔部120と、突起部130とを有する。なお、この挿入部110、鍔部120及び突起部130は、結合されており、一体に形成されてもよい。これらを一体に形成する場合、本体部を容易に製造することができる。
挿入部110は、スナップのような形状を有し、支柱部111と、係止爪112A,112Bとを有する。
支柱部111は、図2及び図3に示すように、x軸負の方向、つまり、クリップ100のシャーシ10に対する挿入方向に、延長形成されたポール状に形成される。この支柱部111は、挿入方向を柱方向とする円柱状に形成されることが望ましい。
係止爪112A,112Bは、支柱部111の挿入方向先端部に連結され、挿入方向とは逆方向に向かうにつれて支柱部111から離隔する形状を有する。つまり、係止爪112A,112Bにより、挿入部110は矢尻のような形状を有する。この係止爪112A,112Bは、弾性力を有し、例えば、図2及び図3に示すように対をなして形成されることが望ましい。なお、この係止爪112A,112Bの個数は、2つに限定されず、例えば1つや3つ以上であってもよい。このような係止爪112A,112Bを有することにより、挿入部110は、挿入方向に向かうにしたがい幅(y軸方向の幅)が縮小する形状を有する。そして、挿入部110は、係止爪112A,112Bの挿入方向の後方では、シャーシ110に形成された挿入孔15の径よりも大きな幅を有する。
上述の通り、シャーシ10には、挿入部110が挿入される挿入孔15が形成される。そして、クリップ100の挿入部110が、シャーシ10の挿入孔15に挿入されることにより、挿入部110の係止爪112A,112Bは、挿入孔15の外縁を形成するシャーシ10の裏面と係合する。この挿入部110により、クリップ100は、シャーシ10に固定される。より詳しく、この係合の様子について説明する。まず、挿入孔15よりも幅が小さい挿入部110の挿入方向端部から、クリップ100が挿入孔15に挿入されると、係止爪112A,112Bは、支柱部111方向に撓み、挿入孔15を通過する。係止爪112A,112Bが挿入孔15を通過しきると、係止爪112A,112Bの弾性力により元の形状が回復し、図3に示すように、係止爪112A,112Bの後部が、シャーシ100の裏面と係合する。この際、係止爪112A、112Bは、元の形状を回復する弾性力により外側に拡大し、この拡大する力により、クリップ100は、シャーシ10に強固に固定される。
一方、この挿入部110の挿入方向先端部には、更に張出部113A,113Bが形成される。クリップ100は、この張出部113A,113Bを有することにより、正確な位置に配置されうる。この張出部113A,113Bについては、詳しく後述する。
鍔部120は、挿入部110の周囲に平板状に形成される。より具体的には、鍔部120は、挿入部110の挿入方向の後方において、その挿入方向とは垂直な面方向に平板状に形成される。上記挿入部110が挿入孔15に挿入されてシャーシ10と係合した場合、鍔部120は、シャーシ10との間に発光基板20を挟む。この際、鍔部120と係止爪112A,112Bとの間の距離は、鍔部120が発光基板20をシャーシ10の方向に付勢するように設定される。従って、発光基板20は、鍔部120とシャーシ10とにより挟持されることになる。この鍔部120についても、詳しく後述する。
突起部130は、鍔部120を挟んで挿入部110の挿入方向とは逆方向に突出形成される。突起部130は、挿入部の中心線上に形成されることが望ましい。換言すれば、突起部130と支柱部110とが1つの柱状に形成され、両者の間の周囲に鍔部120が形成されているとも言える。この突起部130は、キャップ140と係合する爪(図示せず)を有し、キャップ140を本体部に固定する役割を担うと共に、クリップ100が取り付け又は取り外される際に、把持されるグリップの役割も担う。従って、このような突起部130は、クリップ100の取扱を容易にする。また、図1Bに示すスタッドとしてのクリップ200の場合、この突起部130の代わりに、突起部130が拡散パネル40の裏面まで延長された形状の支持部210が形成される。従って、クリップ200の場合、突起部130の代わりの支持部210は、上記の各役割を担うと共に、拡散パネル40を支持する役割も担う。
キャップ140は、図2に示すように、突起部130が挿入されて突起部130が係合する孔141を有する。そのために、突起部130には、図2及び後述の図4,図5に示すように、外周方向に突出したキャップ押え部131が形成されており、キャップ140の孔141の縁が、キャップ押え部131に係合して、キャップ140が突起部130に固定される。また、キャップ140は、鍔部120方向に突出した突出部142を有する。一方、反射パネル30は、突起部130が貫通する貫通孔32を有し、鍔部120上に配置される。よって、キャップ140が突起部130と係合した場合、キャップ140の突出部142と鍔部120との間には、反射パネル30が挟まれる。従って、クリップ100は、キャップ140と本体部との間で、反射パネル30を挟持して支持することができる。なお、このキャップ140は、突起部130の後方端部(x軸正の方向端部)が把持されてつぼめられることにより、突起部130との間の係合が解かれ、本体部から離脱することができる。
以上説明したように、クリップ100は、発光基板20を鍔部120により支持し、反射パネル30を鍔部120とキャップ140との間に支持しつつ、シャーシ10に固定される。従って、クリップ100は、発光基板20と反射パネル30との荷重をシャーシ10に伝達することができる。この際、クリップ100は、鍔部120が強固にかつ容易に発光基板20をシャーシ10に押圧し、発光基板20と反射パネル30との間に適切な間隙Aを確保する。従って、クリップ100は、作業性を向上させつつ、バックライトアッセンブリ1の全体の構成の薄型化に大きく寄与することができる。また、クリップ100は、挿入部110の先端部に張出部113A,113Bを有することにより、誤作業を防止し、作業性を更に向上させることができる。そこで、以下では、この鍔部120と、張出部113A,113Bについて詳しく説明する。
(2.1.鍔部120)
鍔部120は、上述の通り、挿入部110の周囲に平板状に形成され、シャーシ100との間に発光基板20を挟持する。この際、鍔部120は、図4に示すように、略円形に形成されることが望ましい。略円形状に形成された鍔部120は、複数枚の発光基板20をシャーシ100に均一な圧力で付勢することができる。
鍔部120の平板状の面積S1(シャーシ10と平行な面積)は、図3や図4に示すように、鍔部120と平行な面内における挿入部110の断面積S2よりも大きい。更に、挿入部110も含めれば鍔部120の平板の直径(面積S1の直径)は、挿入部110の上記断面積S2の直径の3倍以上に設定されることが望ましい。このように鍔部120の面積S1を大きくすることにより、発光基板20をより均一な圧力でシャーシ10に押圧することができ、かつ、複数枚の発光基板20を安定的に支持することが可能となる。なお、ここで言う挿入部110の断面積S2とは、上述の通り、鍔部120と平行な面内における挿入部110の断面積S2であり、この断面積S2は、例えば、挿入部110を鍔部120と平行な面で切断した際に最も大きくなるような位置における断面の面積であってもよい。換言すれば、この断面積S1は、挿入部110を、挿入部110の挿入方向(x軸方向)に鍔部120に投影した場合の挿入部110の面積とも言える。つまり、鍔部120の面積S1は、挿入部110の最大の断面積S2(又は投影面積)よりも大きくなるように設定される。
一方、鍔部120の厚みは、図3に示すように、発光基板20から突出形成された発光部21の発光面(x軸正の方向端面)と同じ高さになるか、又は、それよりも低くなるように設定される。換言すれば、鍔部120の厚みは、発光部21の突出量以下に設定され、より望ましくは、鍔部120の厚みは、発光部21の突出量よりも薄く設定される。更に言えば、鍔部120の前面(x軸正の方向の面)には反射パネル30が載置され、発光部21は反射パネル30の発光孔31に挿入される。従って、鍔部120の厚みは、発光部21が反射パネル30の前面と同じ高さになるか、又は、発光部21が反射パネル30よりも前方に突出するように設定される。このような厚みで鍔部120を形成することにより、発光部21の発光点は、反射パネル30の前面と同じ高さになるか、又は、鍔部120及び反射パネル30よりも前方(x軸正の方向)に突出することができる。従って、例えば、発光部21が発した光が、鍔部120や反射パネル30で反射されて所望の方向の到達しないような、いわゆる「けられ」が生じることを防止できる。このような「けられ」は、バックライトアッセンブリ1が発する光量にムラを生じることになるが、本実施形態に係るバックライトアッセンブリ1は、このようなムラを防止でき、ひいては表示装置の画質をも向上させることが可能である。
また、突起部130についてではあるが、図1Aに示すクリップ100では、突起部130は、挿入部110が挿入孔15に挿入され鍔部120とシャーシ10とが発光基板20を挟持した場合、発光部21が発する光を遮らない形状を有する。換言すれば、突起部130は、図3に示すように、発光部21が光を拡散させる角度θの範囲内に入り込まないような形状に形成される。このような突起部130も、上記の鍔部120の厚みと同様に、いわゆる「けられ」を防止することができる。
更に、この鍔部120は、上述の通り、キャップ140と共に反射パネル30をも支持し、この際、発光基板20と反射パネル30との間に、鍔部120の厚みに応じた間隔の間隙Aを形成することができる。一般的に、発光基板20は、発光部21や他の構成に通電させるため、ジュール熱などの熱を生じる。この熱が前方に伝達されれば、前面に配置される液晶パネル(図示せず)などに影響を与え、画質が劣化してしまう恐れがある。しかしならが、本実施形態に係るクリップ100のように間隙Aを形成することにより、発光基板20から発せられた熱を、図1Aに示すような端部からシャーシ10等に逃がすことができる。更に鍔部120は、発光基板20をシャーシに押圧して密着させることができるため、この熱を、発光基板20の裏面からシャーシ10に効果的に伝達することができる。他方、例えば、このような鍔部120を有さないような螺子や他のクリップなどの固定部材では、本実施形態に係るクリップ100のように効率的に熱を逃がすことが難しい。そこで、通常は、前方に伝達する熱を低減させるために、強制的に熱をシャーシ10に伝達する熱伝達シートが、発光基板20とシャーシ10との間に配置される必要があった。しかしながら、本実施形態に係るクリップ100の場合、上述の通り、前方に伝達される熱を低減させつつ、効率的に熱をシャーシ10などに伝達して外部に逃がすことができる。また、上記の熱伝達シートは、製造コストを増加させるだけでなく、更にバックライトアッセンブリ1の厚みを増加させる一要因でもあった。しかしながら、本実施形態に係るバックライトアッセンブリ1によれば、このような熱伝達シートを除去することができ、薄型化に大きく貢献することができる。
また、発光基板20を挟持する鍔部120の面上には、図2及び図3に示すように、回転防止突起121A,121Bが突出形成される。この回転防止突起121A,121Bは、クリップ100がシャーシ10に係止した場合、発光基板20又はシャーシ10に接触する。そして、回転防止突起121A,121Bは、発光基板20又はシャーシ10に食い込むか、強く押圧されて、挿入部110の挿入方向を軸としてクリップ100が回転することを防止することができる。この回転防止突起121A,121Bの個数は、図2及び図3では、2つである場合を例示しているが、これに限定されるものでなく、1つ又は3つ以上であってもよい。また、回転防止突起121A,121Bが挿入されて更に回転防止力を強めるために、発光基板20又はシャーシ10には窪みが形成されてもよい。
このように本実施形態では、図2及び図3に示すように、クリップ100の回転の防止を、回転防止突起121A,121Bにより行う場合を例示しているが、例えば、図5に示すような変更例も可能である。図5に記載した変更例では、シャーシ10の前面(鍔部10と対向する面)には係止突起16A,16Bが突出形成され、鍔部120には係止突起16A,16Bに対応して穿設された係止孔122A,122Bが形成されてもよい。この変更例によれば、クリップ100がシャーシ10に係止された場合、係止孔122A,122Bは、係止突起16A,16Bと係合する。従って、この係止孔122A,122Bは、上記回転防止突起121A,121Bと同じく、挿入部110の挿入方向を軸としてクリップ100が回転することを防止することができる。
尚、このような係止突起16A,16Bと、係止孔122A,122Bとの組み合わせは、特に、図5に示すように、複数の発光基板20の間の間隙に配置されるクリップ100に使用されることが効果的である。この際、係止突起16A,16Bは、発光基板20が誤った位置に載置されることを防止することもできる。ただし、この組み合わせを、1つの発光基板20に形成された孔にクリップ100に使用することももちろん可能である。そして、上記回転防止突起121A,121Bを、複数の発光基板20の間の間隙に配置されるクリップ100に使用することももちろん可能である。
また、係止突起16A,16B及び係止孔122A,122Bの組み合わせと、回転防止突起121A,121Bとを、異なる種類のクリップに設けることにより、正しい種類のクリップを正しい位置に配置することを容易にすることも可能である。つまり例えば、図1Aに示すクリップ100には、回転防止突起121A,121Bを使用する。他方、図1Bに示すスタッド(クリップ200)には、係止突起16A,16B及び係止孔122A,122Bの組み合わせを使用する。すると、スタッドを挿入すべき挿入孔15にクリップ100を挿入したり、クリップ100を挿入すべき挿入孔15にスタッドを挿入するなどの誤作業を防止することができる。従って、作業者の負担を軽減して作業性を向上させることもできる。
(2.2.張出部113A,113B)
以上、鍔部120について説明した。
次に、図6及び図7を参照しつつ、挿入部110の張出部113A,113Bについて説明する。図6及び図7は、本実施形態に係るクリップの張出部の一例及び他の例を説明する説明図である。なお、図6及び図7では、一例及び他の例の張出部が形成されたクリップ100がシャーシ10の挿入孔110に挿入された様子を、シャーシ10の裏面から見た図である。
張出部113A,113Bは、図3に示し上記で説明した通り、挿入部110の挿入方向端部において、挿入部110の周囲から張り出すように形成される。また、張出部113A,113Bは、挿入部110の挿入方向とは垂直な面内で延長形成される。
張出部113A,113Bの一例を図6に示し(張出部113A1,113B1)、他の例を図7に示す(張出部113A2,113B2)。一例である張出部113A1,113B1と、他の例である張出部113A2,113B2とは、異なる形状・大きさで形成される。本実施形態では、図6に示す一例のように、張出部113A1,113B1は、例えば円形の挿入孔15の径と同じか、それよりも小さい幅(y軸方向の長さ)形成されており、図7に示す他の例のように、張出部113A2,113B2は、例えば円形の挿入孔15の径よりも大きな幅で形成されるとして、説明する。
まず、図6に示す張出部113A1,113B1について説明する。
張出部113A1,113B1は、例えば、図6に示すように、対を成して支柱部111の幅と同じ幅(z軸方向の幅)で形成される。そして、張出部113A1,113B1は、例えば、その幅と垂直な挿入部110の先端の幅(y軸方向の幅)が挿入孔15の径よりも大きくなるように形成されてもよい。張出部113A1,113B1に対応して、シャーシ10の挿入孔15の外縁には溝部15A1,15B1が形成される。溝部15A1,15B1は、張出部113A1,113B1を挿入方向(x軸方向)に投影した形状と同じ形状を有するか、その形状が内部に含まれる形状を有する。
まず、図6に示す張出部113A1,113B1について説明する。
張出部113A1,113B1は、例えば、図6に示すように、対を成して支柱部111の幅と同じ幅(z軸方向の幅)で形成され、かつ、その幅と垂直な挿入部110の先端側の幅(y軸方向の幅)が挿入孔15の径と同じか、それよりも小さく形成される。他方、クリップ100の係止爪112A,112Bに対応して、シャーシ10の挿入孔15の外縁には溝部15A1,15B1が形成される。溝部15A1,15B1は、シャーシ10に係合したクリップ100をシャーシ10から取り外す際に、係止爪112A,112Bに、容易に挿入孔15を通過させる。そのために、溝部15A1,15B1は、係止爪112A,112Bを挿入方向(x軸方向)に投影した形状と同じ形状を有するか、その形状が内部に含まれる形状を有する。
従って、例えば、この図6に示す張出部113A1,113B1を有するクリップ100は、シャーシ10に以下のように挿入される。つまり、まず、クリップ100は、図6に示すように、係止爪112A,112Bが溝部15A1,15B1と一致しないように、例えば、90°程度ずらして位置される。そして、クリップ100が挿入方向(x軸負の方向)に向けてシャーシ10の挿入孔15に押し込まれることにより、張出部113A1,113B1は、挿入孔15を通過する。その後、クリップ100は更にシャーシ10に押し込まれ、係止爪112A,112Bは、挿入孔15によりつぼめられ、挿入孔15を通過しきると弾性力により広がる。その結果、係止爪112A,112Bは、シャーシ10と強固に係合して、クリップ100は、シャーシ10に強固に固定される(図6参照。)。なお、ここでは、クリップ100が挿入前に90°程度ずらされて係止爪112A,112Bが溝部15A1,15B1と一致していない場合について説明した。しかしながら、両者が一致している場合、挿入後に係止爪112A,112Bが溝部15A1,15B1と一致しないように、クリップ100を90°程度ずらして、上記同様にクリップ100をシャーシ10に固定することも可能である。
なお、この図6に示すクリップ100をシャーシ10から離脱させる場合には、まず、係止爪112A,112Bが溝部15A1,15B1と一致するように、クリップ100は、挿入方向を軸にして回転される。すると、係止爪112A,112Bは、溝部15A1,15B1により、シャーシ10との係合が解かれる。そして、クリップ100が引抜かれると、係止爪112A,112B、張出部113A1,113B1は、順次に溝部15A1,15B1を通過して、クリップ100は、容易にシャーシ10から離脱される。
クリップ100は、このような張出部113A1,113B1を有することにより、例えば、挿入孔15ではなく、張出部113A1,113B1よりも小さな貫通孔などに誤って挿入されようとしたとしても、張出部113A1,113B1が引っかかる。従って、クリップ100は、誤った貫通孔には完全に挿入されることはない。従って、クリップ100は、張出部113A1,113B1を有することにより、誤った位置に挿入されることを防止できる。
次に、図6に示す張出部113A2,113B2について説明する。
張出部113A2,113B2は、例えば、図7に示すように、対を成して支柱部111の幅よりも狭い幅(z軸方向の幅)で形成され、かつ、その幅と垂直な挿入部110の先端側の幅(y軸方向の幅)が挿入孔15の径よりも大きく形成される。この際、y軸方向の幅は、更に、係止爪112A,112Bの後方の幅よりも広くなるように形成されることが望ましい。つまり、張出部113A2,113B2は、上記図6に示す張出部113A1,113B1とは異なる形状で形成される。他方、この張出部113A2,113B2に対応して、シャーシ10の挿入孔15の外縁には溝部15A2,15B2が形成される。溝部15A2,15B2は、張出部113A2,113B2を挿入方向(x軸方向)に投影した形状と同じ形状を有するか、その形状が内部に含まれる形状を有する。また、クリップ100の着脱が容易になるように、シャーシ10の挿入孔15の外縁には更に溝部15A3,15B3(上記溝部15A1,15B1に対応)が形成されてもよい。この溝部15A3,15B3は、係止爪112A,112Bを挿入方向(x軸方向)に投影した形状と同じ形状を有するか、その形状が内部に含まれる形状を有することが望ましい。
この図7に示す張出部113A2,113B2を有するクリップ100は、例えば、シャーシ10に以下のように挿入される。つまり、まず、クリップ100は、張出部113A2,113B2が溝部15A2,15B2と一致するように位置される。そして、クリップ100が挿入方向(x軸負の方向)に向けてシャーシ10の挿入孔15に押し込まれることにより、張出部113A2,113B2が溝部15A2,15B2を通過する。その後、クリップ100は更にシャーシ10に押し込まれ、係止爪112A,112Bは、挿入孔15によりつぼめられ、挿入孔15を通過しきると弾性力により広がる。その結果、係止爪112A,112Bは、シャーシ10と強固に係合して、クリップ100は、シャーシ10に強固に固定される(図7参照。)。
なお、この図7に示すクリップ100をシャーシ10から離脱させる場合には、クリップ100は挿入方向を軸にして一旦90°程度回転される。すると、係止爪112A,112Bは、溝部15A3,15B3により、シャーシ10との係合が解かれる。そして、クリップ100が引抜かれると、係止爪112A,112Bは、溝部15A3,15B3を通過する。その後、クリップ100は、張出部113A2,113B2が溝部15A2,15B2と一致するように更に90°程度回転される。そして、更にクリップ100が引き抜かれると、張出部113A2,113B2は、溝部15A2,15B2を通過して、クリップ100は、容易にシャーシ10から離脱される。
クリップ100は、このような張出部113A2,113B2を有することにより、例えば、挿入孔15ではなく、張出部113A2,113B2よりも小さな貫通孔などに誤って挿入されようとしたとしても、張出部113A2,113B2が引っかかる。従って、クリップ100は、誤った貫通孔には完全に挿入されることはない。従って、図7に示すクリップ100は、図6に示すクリップ100と同様に、張出部113A2,113B2を有することにより、誤った位置に挿入されることを防止できる。また、装着時には、クリップ100は、上記回転防止突起121A,121B又は係止孔122A,122B等により回転が防止される。従って、例えば図6や図7のように、係止爪112A,112Bが溝部15A1,15B1又は溝部15A3,15B3と異なる位置にあれば、両者が一致する可能性を低減することができる。従って、回転防止突起121A,121B又は係止孔122A,122B等が、クリップ100が離脱すること防止することができる。
なお、ここでは、張出部113A,113Bの形状について2つの例を挙げたが、この張出部113A,113Bの形状は、他にも様々な変更例が考えうる。x軸方向から見た場合、図6の張出部113A1,113B1は、板状のリブであり、図7の張出部113A2,113B2は、棒状のリブである。しかし、例えば、この板状又は棒状のリブの寸法を変更することにより、異なる形状の張出部113A,113Bを形成することも可能である。また、x軸方向から見た場合の張出部113A,113Bの形状を、例えば、対ではない一方又は三方以上に延設されたリブ、楕円、三角・四角・五角などの多角形など様々な形状にすることができる。更に、この場合、x軸方向から見た場合の張出部113A,113Bの形状を、板状や棒状のリブに更に突起部を設け、その突起部の形状や位置、個数を変更することにより、様々な形状を形成することもできる。挿入孔15には、その張出部113A,113Bの形状に対応した形状の溝部が形成される。ただしこの際、張出部113A,113Bは、x軸方向から見た場合、支柱部111の中心から、張出部113A,113Bをも含めた挿入部110の先端部の外縁までの距離を不均一にすることが望ましい。換言すれば、張出部113A,113Bは、x軸方向から見た挿入部110の先端部の形状を、略円形とは異なる形状に変形させている。つまり、図6及び図7の例では、挿入部110の先端部のy軸方向の幅は、z軸方向の幅よりも長くなるように設定される。このように先端部の形状が異なれば、対応する溝部15A1,15B1,15A2,15B2を有さない貫通孔に誤ってクリップ100が挿入されることを防止できる。更に、張出部113A,113Bは、図7に示すように、挿入方向に投影した形状が、係止爪112A,112Bを同方向に投影した形状からはみだすような形状(つまり少なくとも一部が大きい形状)を有することが望ましい。この場合、張出部113A,113Bは、対応した挿入孔15以外に挿入されることを確実に防止でき、更に誤った位置に挿入される恐れを低減できる。
以上、張出部113A,113Bの形状について2つの例を挙げた。ここで例えば、図1A及び図1Bに示すように複数種類のクリップ100,200がバックライトアッセンブリ1に使用される場合、上記2つの例の張出部113A,113Bを組み合わせると更に効果的に誤挿入を防止することができる。
つまり、例えば、図1Aに示すクリップ100には、図6に示す張出部113A1,113B1を設け、図1Bに示すスタッド(クリップ200)には、図7に示す張出部113A2,113B2を設ける。すると、同じバックライトアッセンブリ1中に配置されるべき複数種類のクリップ100,200は、正しい位置に正確に挿入される。従って、クリップ100,200を取り違えて配置してしまうような誤作業を、更に効果的に防止することが可能である。また、このような誤作業防止効果は、上述の回転防止突起121A,121Bと、係止突起16A,16B及び係止孔122A,122Bとを更に組み合わせることにより、より一層向上させることができる。この際、図7に示す張出部113A2,113B2を有するクリップ200の挿入部110及びそれが挿入される挿入孔15の径を、他方のクリップ100の張出部113A1,113B1よりも小さくすることにより、この誤作業を更に効果的に防止できる。つまりこの場合、図7に示す張出部113A2,113B2を有するクリップ200が、誤った挿入孔15に挿入されようとすると、張出部113A2,113B2が挿入孔15を通過できず、誤挿入が防止される。一方、図6に示す張出部113A1,113B1を有するクリップ100が、誤った挿入孔15に挿入されようとすると、張出部113A1,113B1は、誤った挿入孔15よりは大きいので、やはり、挿入孔15を通過できず、誤挿入が防止される。
<3.効果の例>
以上、本発明の第1実施形態に係るクリップ100,200と、そのクリップ100,200を有するバックライトアッセンブリ1について説明した。上記説明においても、本実施形態による効果の例等については随所で説明したが、更に本実施形態の効果を容易に理解できるように、ここで関連技術に係るバックライトアッセンブリとその取付部材と対比しつつ、本実施形態による効果の例を説明する。
図8及び図9は、関連技術に係るバックライトアッセンブリの取付部材の一例を説明する説明図である。なお、この図8及び図9に示す関連技術では、クリップ100,200が使用されない以上、各構成の構造等も異なるが、ここでは説明の便宜上、上記本実施形態と対応する構成については同様の符合を付する。
図8には、関連技術の一例として、バックライトアッセンブリにおいて、発光基板20がシャーシ10に、固定部材としての螺子901により固定される場合を示している。この関連技術のように、螺子901で固定する場合には、螺子901を回転させて発光基板20をシャーシ10に固定する必要があるため、1つ1つの螺子901を固定する作業に長時間を要する場合がある。また、螺子901の締付けトルクを所定のトルクに調整して、所定の圧力で発光基板20をシャーシ10に固定するには、微妙な力加減が重要である。よって、作業に熟練する必要があり、やはり作業性が低下する。このような作業労力を低減するには、例えば、電動などのドライバで螺子901を締付けることも考えられるが、このようなドライバを用意する費用が嵩んでしまう。
更に、この関連技術によれば、螺子901のヘッド部分で、発光基板20を固定するため、発光基板20にある程度の強度が必要であり、発光基板20を厚くする必要がある。しかし、発光基板20が厚くなれば、バックライトアッセンブリの厚みも増し、薄型化の妨げとなる。また、厚くなった発光基板20は、熱伝導効率が低下するため、シャーシ10に熱を伝達する熱伝達シートが、発光基板20とシャーシ10との間に配置される必要がある。この熱伝達シートは、バックライトアッセンブリの製造コストを増加させるだけでなく、更にその厚みを増加させてしまう。
そして、この関連技術によれば、螺子901のヘッド部分が、発光部21よりも突出する恐れがあり、このヘッド部分の厚みと、その上に配置される反射パネルとなどにより、光が反射され、バックライトアッセンブリの発する光にムラが生じる恐れがある。この際、例えば、皿状のヘッドを有するサラ螺子を使用したとしても、今度は、発光基板20のサラ螺子のヘッド部分の傾斜に対応した斜面を形成する必要があり、更にこの斜面でシャーシ10の方向に圧力が加えられるため、発光基板20は更に厚くなる。
一方、図9には、関連技術の他の例として、バックライトアッセンブリにおいて、発光基板20がシャーシ10に、固定部材としてのジグ903により固定される場合を示している。この関連技術のように、ジグ903で固定する場合には、突出部902がシャーシ10から突出して形成され、そのジグ902にジグ903が配置される。そして、ジグ903には、複数の爪904が形成されており、発光基板20は、この爪904によりジグ902に固定される。このような構成では、爪904を折曲げてしまうと、発光基板20を支持することができなくなる。従って、発光基板20を一旦配置した後に取り除くことは、困難である。また、爪904を損傷しないように作業する必要がある。また、爪904に発光基板20を挿入するには、大きな押し込み力を慎重に加える必要がある。従って、作業者の負担は大きく、作業性も悪い。また、上記関連技術と同様に、発光基板20からシャーシ10への熱伝導効率が悪く、やはり熱伝導シートが必要になる。更に、突出部902やジグ904の分だけ、バックライトアッセンブリの厚みは増加してしまい、やはり、薄型化の妨げとなる。
また、図示していないが、関連技術の更に他の例として、シャーシ10に発光基板20を強力な両面テープなどのような粘着部材で固定することもバックライトアッセンブリもある。しかし、このような粘着部材を使用する場合には、発光基板20の熱により、粘着部材が劣化する可能性がある。そして、一旦シャーシ10と発光基板20とを接合したあとは、両者を分離させることが困難であり、作業性に劣る。
更に、本実施形態に係るクリップ100とは異なるクリップを使用する場合には、クリップにある程度の高さがあり、光学的に反射やけられが発生しない個所に仕様個所が限定されていた。また、複数種類のクリップを使用する場合には、誤った個所にクリップを挿入してしまうなどの誤作業の恐れがあった。誤った個所に挿入されたクリップは構成部材を適切に固定することができず、構成部材が脱落するなどの不具合が発生する恐れがあった。このような誤作業を発生させないためには、作業者による目視による認識が必要で、作業者の負担は大きい。また、誤った個所に挿入されたクリップは、破壊しないと外せないこともあり、生産性の低下を招いていた。
これらのような関連技術が有する改善点に対して、本発明の第1実施形態に係るクリップ100は、上述のように、これらの改善点を解消しつつ、更に、全体構成の薄型化に大きく寄与することが可能である。つまり、クリップ100は、鍔部120で発光基板20をシャーシ10に押圧するため、非常に簡単に着脱が可能である。鍔部120は、適切な圧力で容易に発光基板20を支持でき、かつ、発光基板20と反射パネル30との間に間隙Aを作ることができる。よって、発光基板20を薄くでき、かつ、熱伝導シートを配置せずに済む。しかも、張出部113A,113Bを有することにより、誤作業の発生も防止できる。また、回転防止突起121A,121Bや係止突起16A,16B及び係止孔122A,122Bにより、クリップ100が回転してシャーシ10から離脱する恐れも低減でき、かつ、誤った個所にクリップ100が配置される誤作業も更に効果的に防止される。更に、クリップ100は、非常に単純な構成を有し簡単かつ安価に製造できるため、熱伝達シート分のコスト削減と共に、製造コストを減少させることができる。
以上、添付図面を参照しながら本発明の好適な実施形態について詳細に説明したが、本発明はかかる例に限定されないことは言うまでもない。本発明の属する技術の分野における通常の知識を有する者であれば、特許請求の範囲に記載された技術的思想の範疇内において、各種の変更例または修正例に想到し得ることは明らかであり、これらについても当然に本発明の技術的範囲に属するものと了解される。
本発明の第1実施形態に係るバックライトアッセンブリの構成を説明する説明図である。 同実施形態に係るバックライトアッセンブリの構成を説明する説明図である。 同実施形態に係るクリップの構成を説明する説明図である。 同実施形態に係るクリップの構成を説明する説明図である。 同実施形態に係るクリップの鍔部を説明する説明図である。 同実施形態に係るクリップの鍔部の変更例を説明する説明図である。 同実施形態に係るクリップの張出部の一例を説明する説明図である。 同実施形態に係るクリップの張出部の他の例を説明する説明図である。 関連技術に係るバックライトアッセンブリの取付部材の一例を説明する説明図である。 関連技術に係るバックライトアッセンブリの取付部材の他の例を説明する説明図である。
符号の説明
1 バックライトアッセンブリ
10 シャーシ
11 サポートビーム
12 電気基板
13 ワイヤー
14 ワイヤークランプ
15 挿入孔
15A1,15B1 溝部
15A2,15B2 溝部
15A3,15B3 溝部
16A,16B 係止突起
20 発光基板
21 発光部
30 反射パネル
31 発光孔
32 貫通孔
40 拡散パネル
100,200 クリップ
110 挿入部
111 支柱部
112A,112B 係止爪
113A,113B 張出部
113A1,113B1,113A2,113B2 張出部
120 鍔部
121A,121B 回転防止突起
122A,122B 係止孔
130 突起部
131 キャップ押え部
140 キャップ
210 支持部
A 間隙
B 空間

Claims (9)

  1. 平板状のシャーシに形成された挿入孔に挿入され、前記シャーシと係合する挿入部と、
    前記挿入部の周囲に平板状に形成された鍔部と、
    を有し、
    前記鍔部と前記シャーシとは、前記挿入部が前記挿入孔に挿入された場合、前記シャーシに当接配置される1又は2以上の発光基板を挟持し、
    前記鍔部の厚みは、前記発光基板から突出形成された発光部の突出量以下に設定される、クリップ。
  2. 前記挿入部は、前記挿入孔に対する挿入方向先端の周囲に張り出して形成される張出部を有する、請求項1に記載のクリップ。
  3. 前記張出部は、前記挿入孔の径よりも大きく形成され、前記挿入部が前記挿入孔に挿入される際に、当該張出部に対応して前記挿入孔の外縁に形成された溝部を通過する、請求項2に記載のクリップ。
  4. 前記クリップの前記挿入方向を中心とした回転を止めるように、前記発光基板を挟持する前記鍔部の面上に突出して形成されて前記発光基板又は前記シャーシに接触する1又は2以上の回転防止突起を更に有する、請求項2に記載のクリップ。
  5. 前記クリップの前記挿入方向を中心とした回転を止めるように、前記鍔部に穿設され、前記シャーシから突出形成された係止突起に係合する1又は2以上の係止孔を有する、請求項2に記載のクリップ。
  6. 前記鍔部の平板状の面積は、当該鍔部と平行な面内における前記挿入部の断面積よりも大きい、請求項1に記載のクリップ。
  7. 前記鍔部の厚みは、前記発光部が挿入される発光孔を有し光を反射する反射パネルが配置された場合、前記発光孔に挿入された前記発光部を前記反射パネルから突出させる厚みである、請求項1に記載のクリップ。
  8. 前記鍔部を挟んで前記挿入部と反対の方向に突出形成された突起部を更に有し、
    前記突起部は、前記挿入部が前記挿入孔に挿入され前記鍔部と前記シャーシとが前記発光基板を挟持した場合に前記発光部が発する光を遮らない形状を有する、請求項1に記載のクリップ。
  9. 平板状に形成されたシャーシと、
    一方の面に突出形成された発光部を有し、他方の面で前記シャーシに当接して配置される1又は2以上の発光基板と、
    前記シャーシに形成された挿入孔に挿入されて当該シャーシと係合する挿入部、及び前記挿入部の周囲に平板状に形成された鍔部を有するクリップと、
    を有し、
    前記クリップの鍔部と前記シャーシとは、前記挿入部が前記挿入孔に挿入された場合、前記1又は2以上の発光基板を挟持し、
    前記鍔部の厚みは、前記発光部の前記発光基板からの突出量以下に設定される、バックライトアッセンブリ。
JP2008159640A 2008-06-18 2008-06-18 クリップ及びバックライトアッセンブリ Expired - Fee Related JP4631938B2 (ja)

Priority Applications (3)

Application Number Priority Date Filing Date Title
JP2008159640A JP4631938B2 (ja) 2008-06-18 2008-06-18 クリップ及びバックライトアッセンブリ
US12/456,193 US8215819B2 (en) 2008-06-18 2009-06-12 Clip and backlight assembly
CN2009101461911A CN101608651B (zh) 2008-06-18 2009-06-18 卡接件和背光组件

Applications Claiming Priority (1)

Application Number Priority Date Filing Date Title
JP2008159640A JP4631938B2 (ja) 2008-06-18 2008-06-18 クリップ及びバックライトアッセンブリ

Publications (2)

Publication Number Publication Date
JP2010001928A true JP2010001928A (ja) 2010-01-07
JP4631938B2 JP4631938B2 (ja) 2011-02-16

Family

ID=41482522

Family Applications (1)

Application Number Title Priority Date Filing Date
JP2008159640A Expired - Fee Related JP4631938B2 (ja) 2008-06-18 2008-06-18 クリップ及びバックライトアッセンブリ

Country Status (3)

Country Link
US (1) US8215819B2 (ja)
JP (1) JP4631938B2 (ja)
CN (1) CN101608651B (ja)

Cited By (7)

* Cited by examiner, † Cited by third party
Publication number Priority date Publication date Assignee Title
WO2011152133A1 (ja) * 2010-06-02 2011-12-08 シャープ株式会社 照明装置、表示装置及びテレビ受信装置
JP2012033487A (ja) * 2010-07-30 2012-02-16 Young Lighting Technology Inc 光源アセンブリ
KR101138514B1 (ko) 2010-08-20 2012-04-25 희성전자 주식회사 발광다이오드 조명등
JP2015055302A (ja) * 2013-09-12 2015-03-23 大和化成工業株式会社 クリップ
JP2017037856A (ja) * 2010-11-12 2017-02-16 エルジー イノテック カンパニー リミテッド 照明装置
CN111312089A (zh) * 2019-06-06 2020-06-19 深圳市奥拓立翔光电科技有限公司 一种便于前维护的快速锁紧结构及led显示屏
KR200496421Y1 (ko) * 2021-08-18 2023-01-27 (주)제이앤시스 체결이 용이한 조명 장치

Families Citing this family (26)

* Cited by examiner, † Cited by third party
Publication number Priority date Publication date Assignee Title
KR101494941B1 (ko) * 2008-07-15 2015-02-23 톰슨 라이센싱 전자 장치 및 관련된 분해 해제 도구
JP4621799B1 (ja) 2009-05-22 2011-01-26 シャープ株式会社 光反射シート、光源装置及び表示装置
JP5351723B2 (ja) 2009-05-22 2013-11-27 シャープ株式会社 光源装置及び表示装置
JP4519943B1 (ja) * 2009-05-22 2010-08-04 シャープ株式会社 表示装置
CN102803824A (zh) * 2009-06-15 2012-11-28 夏普株式会社 照明装置、显示装置以及电视接收装置
BRPI1011664A2 (pt) * 2009-06-15 2016-03-22 Sharp Kk dispositivo de iluminação, dispositivo de exibição e receptor de televisão
WO2011027609A1 (ja) * 2009-09-07 2011-03-10 シャープ株式会社 照明装置、表示装置、及びテレビ受信装置
KR101628228B1 (ko) * 2009-09-10 2016-06-09 삼성디스플레이 주식회사 백라이트 어셈블리 및 이를 포함하는 표시 장치
US8485685B2 (en) * 2010-06-17 2013-07-16 Shenzhen China Star Optoelectronics Technology Co., Ltd. Backlight module and lamp fastener thereof
DE102010041471B4 (de) 2010-09-27 2021-02-11 Zumtobel Lighting Gmbh Leuchtmodulanordnung mit einer LED auf einer Platine
CN102155689B (zh) * 2011-03-29 2012-08-08 深圳市华星光电技术有限公司 一种背光模组
US8678603B2 (en) 2011-03-29 2014-03-25 Shenzhen China Star Optoelectronics Technology Co., Ltd. Backlight module having elastic holder and liquid crystal display employing same
CN202253129U (zh) 2011-07-14 2012-05-30 深圳市华星光电技术有限公司 一种背光模组及液晶显示装置
CN103403959B (zh) 2011-09-02 2015-12-02 华为技术有限公司 一种有源天线
US20130128186A1 (en) * 2011-11-18 2013-05-23 Yicheng Kuo Locking Piece, Backlight Module, and LCD Device
US20130128444A1 (en) * 2011-11-18 2013-05-23 Yicheng Kuo Backplane, Backlight Module and LCD Device
US9012775B2 (en) 2011-12-05 2015-04-21 Shenzhen China Star Optoelectronics Technology Co., Ltd. Wire fixing structure and liquid crystal display device using the same
CN102495485A (zh) * 2011-12-05 2012-06-13 深圳市华星光电技术有限公司 液晶显示装置及其线缆固定机构
KR101544608B1 (ko) * 2012-05-25 2015-08-17 삼성디스플레이 주식회사 표시장치
JP6594204B2 (ja) * 2012-08-31 2019-10-23 サノフィ−アベンティス・ドイチュラント・ゲゼルシャフト・ミット・ベシュレンクテル・ハフツング 衝撃力が閾値を上回ったときに連結の終了を可能にする内部構成要素のための締結要素を含む医療デバイス
DE202013101823U1 (de) 2013-04-26 2014-07-29 Zumtobel Lighting Gmbh Plattenförmiges Reflektorelement für LED-Platine
JP6601146B2 (ja) * 2015-10-26 2019-11-06 船井電機株式会社 表示装置
JP2017146333A (ja) * 2016-02-15 2017-08-24 船井電機株式会社 表示装置
JP7108896B2 (ja) 2017-02-09 2022-07-29 パナソニックIpマネジメント株式会社 画像表示装置及びサポートピン
US10914984B2 (en) * 2017-02-09 2021-02-09 Panasonic Intellectual Property Management Co., Ltd. Image display apparatus and support pin
US11719416B2 (en) * 2020-09-16 2023-08-08 Innolux Corporation Display device

Citations (3)

* Cited by examiner, † Cited by third party
Publication number Priority date Publication date Assignee Title
JPH0515455U (ja) * 1991-03-15 1993-02-26 株式会社 東芝 Ledの取付構造
JP2006049098A (ja) * 2004-08-04 2006-02-16 Sony Corp バックライト装置及びこのバックライト装置を備えた液晶表示装置
JP2007322697A (ja) * 2006-05-31 2007-12-13 Sony Corp バックライト装置及び液晶表示装置

Family Cites Families (9)

* Cited by examiner, † Cited by third party
Publication number Priority date Publication date Assignee Title
JPH0515455A (ja) 1991-07-09 1993-01-26 Matsushita Electric Ind Co Ltd 給湯装置
JP4010487B2 (ja) 2002-03-22 2007-11-21 竹内工業株式会社 スナップ構造
KR100959685B1 (ko) * 2003-10-07 2010-05-26 엘지디스플레이 주식회사 백라이트 고정 어셈블리
JP4408687B2 (ja) * 2003-11-26 2010-02-03 株式会社ライオン事務器 ファイル用綴じ具の取付構造
JP4421471B2 (ja) 2004-12-27 2010-02-24 北川工業株式会社 スナップ
US7431475B2 (en) * 2005-07-22 2008-10-07 Sony Corporation Radiator for light emitting unit, and backlight device
JP2007180006A (ja) * 2005-09-06 2007-07-12 Sharp Corp バックライト装置、及び液晶表示装置
JP2008071586A (ja) 2006-09-13 2008-03-27 Sharp Corp 光源装置
CN100514137C (zh) * 2007-03-21 2009-07-15 友达光电股份有限公司 显示器及其背光模块

Patent Citations (3)

* Cited by examiner, † Cited by third party
Publication number Priority date Publication date Assignee Title
JPH0515455U (ja) * 1991-03-15 1993-02-26 株式会社 東芝 Ledの取付構造
JP2006049098A (ja) * 2004-08-04 2006-02-16 Sony Corp バックライト装置及びこのバックライト装置を備えた液晶表示装置
JP2007322697A (ja) * 2006-05-31 2007-12-13 Sony Corp バックライト装置及び液晶表示装置

Cited By (9)

* Cited by examiner, † Cited by third party
Publication number Priority date Publication date Assignee Title
WO2011152133A1 (ja) * 2010-06-02 2011-12-08 シャープ株式会社 照明装置、表示装置及びテレビ受信装置
JPWO2011152133A1 (ja) * 2010-06-02 2013-07-25 シャープ株式会社 照明装置、表示装置及びテレビ受信装置
JP2012033487A (ja) * 2010-07-30 2012-02-16 Young Lighting Technology Inc 光源アセンブリ
KR101138514B1 (ko) 2010-08-20 2012-04-25 희성전자 주식회사 발광다이오드 조명등
JP2017037856A (ja) * 2010-11-12 2017-02-16 エルジー イノテック カンパニー リミテッド 照明装置
US10088115B2 (en) 2010-11-12 2018-10-02 Lg Innotek Co., Ltd. Lighting device
JP2015055302A (ja) * 2013-09-12 2015-03-23 大和化成工業株式会社 クリップ
CN111312089A (zh) * 2019-06-06 2020-06-19 深圳市奥拓立翔光电科技有限公司 一种便于前维护的快速锁紧结构及led显示屏
KR200496421Y1 (ko) * 2021-08-18 2023-01-27 (주)제이앤시스 체결이 용이한 조명 장치

Also Published As

Publication number Publication date
CN101608651B (zh) 2012-05-30
CN101608651A (zh) 2009-12-23
US8215819B2 (en) 2012-07-10
JP4631938B2 (ja) 2011-02-16
US20100008066A1 (en) 2010-01-14

Similar Documents

Publication Publication Date Title
JP4631938B2 (ja) クリップ及びバックライトアッセンブリ
JP4621799B1 (ja) 光反射シート、光源装置及び表示装置
JP4519943B1 (ja) 表示装置
CN102439355B (zh) 光源装置及显示装置
US20120105763A1 (en) Light source device, illuminating device, backlight device, liquid crystal display device and display device
JP2008209818A (ja) 液晶表示装置
CN101008746A (zh) 光源装置及液晶显示装置
JP2008300277A (ja) バックライトユニット
JP2011034947A (ja) 光源装置及び表示装置
JP4469773B2 (ja) 照明ユニット及びそれを用いた液晶表示装置
JP2002040423A (ja) 液晶表示素子の照明装置
JP2007304434A (ja) 液晶表示装置
WO2015194648A1 (ja) シャーシ、バックライトシャーシ、表示装置、テレビジョン受像機、及び、電子機器の製造方法
KR20180138234A (ko) 백라이트 장치
JP4397881B2 (ja) 蛍光管保持具、蛍光管保持機構、液晶表示装置
JP2000090712A (ja) 車両用標識灯
JP5144470B2 (ja) 液晶表示装置
JP2008083424A (ja) 液晶表示装置
JPH1115391A (ja) 照明装置および照明装置使用の液晶表示装置
HK1167703A (en) Light reflecting sheet, light source device, and display device
JP2008066637A (ja) 発光体保持部材
HK1167884A (en) Light source device, illuminating device, backlight device, liquid crystal display device, and display device
HK1167704A (en) Light source device and display device

Legal Events

Date Code Title Description
A131 Notification of reasons for refusal

Free format text: JAPANESE INTERMEDIATE CODE: A131

Effective date: 20100420

A977 Report on retrieval

Free format text: JAPANESE INTERMEDIATE CODE: A971007

Effective date: 20100422

A521 Request for written amendment filed

Free format text: JAPANESE INTERMEDIATE CODE: A523

Effective date: 20100614

TRDD Decision of grant or rejection written
A01 Written decision to grant a patent or to grant a registration (utility model)

Free format text: JAPANESE INTERMEDIATE CODE: A01

Effective date: 20101019

A01 Written decision to grant a patent or to grant a registration (utility model)

Free format text: JAPANESE INTERMEDIATE CODE: A01

A61 First payment of annual fees (during grant procedure)

Free format text: JAPANESE INTERMEDIATE CODE: A61

Effective date: 20101101

FPAY Renewal fee payment (event date is renewal date of database)

Free format text: PAYMENT UNTIL: 20131126

Year of fee payment: 3

LAPS Cancellation because of no payment of annual fees