JP2006066922A - トレンチベースのソースおよびゲート電極を有するパワーデバイス - Google Patents
トレンチベースのソースおよびゲート電極を有するパワーデバイス Download PDFInfo
- Publication number
- JP2006066922A JP2006066922A JP2005248465A JP2005248465A JP2006066922A JP 2006066922 A JP2006066922 A JP 2006066922A JP 2005248465 A JP2005248465 A JP 2005248465A JP 2005248465 A JP2005248465 A JP 2005248465A JP 2006066922 A JP2006066922 A JP 2006066922A
- Authority
- JP
- Japan
- Prior art keywords
- source
- gate
- trench
- trenches
- region
- Prior art date
- Legal status (The legal status is an assumption and is not a legal conclusion. Google has not performed a legal analysis and makes no representation as to the accuracy of the status listed.)
- Pending
Links
- 239000004065 semiconductor Substances 0.000 claims abstract description 302
- 238000009413 insulation Methods 0.000 claims description 45
- 229910052751 metal Inorganic materials 0.000 claims description 10
- 239000002184 metal Substances 0.000 claims description 10
- 230000007423 decrease Effects 0.000 claims description 9
- 230000001413 cellular effect Effects 0.000 claims description 8
- 229910021332 silicide Inorganic materials 0.000 claims description 5
- FVBUAEGBCNSCDD-UHFFFAOYSA-N silicide(4-) Chemical compound [Si-4] FVBUAEGBCNSCDD-UHFFFAOYSA-N 0.000 claims description 5
- 230000003247 decreasing effect Effects 0.000 claims description 3
- 238000002513 implantation Methods 0.000 claims description 3
- 230000015556 catabolic process Effects 0.000 abstract description 22
- 239000007943 implant Substances 0.000 description 14
- 230000008878 coupling Effects 0.000 description 13
- 238000010168 coupling process Methods 0.000 description 13
- 238000005859 coupling reaction Methods 0.000 description 13
- 238000000034 method Methods 0.000 description 11
- 239000012535 impurity Substances 0.000 description 10
- 230000004048 modification Effects 0.000 description 10
- 238000012986 modification Methods 0.000 description 10
- 229910021420 polycrystalline silicon Inorganic materials 0.000 description 10
- 229920005591 polysilicon Polymers 0.000 description 10
- 230000008569 process Effects 0.000 description 10
- 230000008859 change Effects 0.000 description 6
- 241001354791 Baliga Species 0.000 description 4
- VYPSYNLAJGMNEJ-UHFFFAOYSA-N Silicium dioxide Chemical compound O=[Si]=O VYPSYNLAJGMNEJ-UHFFFAOYSA-N 0.000 description 4
- 238000003486 chemical etching Methods 0.000 description 2
- 230000000694 effects Effects 0.000 description 2
- 230000005684 electric field Effects 0.000 description 2
- 230000010354 integration Effects 0.000 description 2
- 235000012239 silicon dioxide Nutrition 0.000 description 2
- 239000000377 silicon dioxide Substances 0.000 description 2
- 229910052782 aluminium Inorganic materials 0.000 description 1
- XAGFODPZIPBFFR-UHFFFAOYSA-N aluminium Chemical compound [Al] XAGFODPZIPBFFR-UHFFFAOYSA-N 0.000 description 1
- 230000015572 biosynthetic process Effects 0.000 description 1
- 230000000903 blocking effect Effects 0.000 description 1
- 210000000746 body region Anatomy 0.000 description 1
- 238000009792 diffusion process Methods 0.000 description 1
- 238000000407 epitaxy Methods 0.000 description 1
- 238000005530 etching Methods 0.000 description 1
- 238000002347 injection Methods 0.000 description 1
- 239000007924 injection Substances 0.000 description 1
- 230000000873 masking effect Effects 0.000 description 1
- 230000009467 reduction Effects 0.000 description 1
- 238000004904 shortening Methods 0.000 description 1
- 239000011800 void material Substances 0.000 description 1
Images
Classifications
-
- H—ELECTRICITY
- H10—SEMICONDUCTOR DEVICES; ELECTRIC SOLID-STATE DEVICES NOT OTHERWISE PROVIDED FOR
- H10D—INORGANIC ELECTRIC SEMICONDUCTOR DEVICES
- H10D30/00—Field-effect transistors [FET]
- H10D30/60—Insulated-gate field-effect transistors [IGFET]
- H10D30/64—Double-diffused metal-oxide semiconductor [DMOS] FETs
- H10D30/66—Vertical DMOS [VDMOS] FETs
- H10D30/668—Vertical DMOS [VDMOS] FETs having trench gate electrodes, e.g. UMOS transistors
-
- H—ELECTRICITY
- H10—SEMICONDUCTOR DEVICES; ELECTRIC SOLID-STATE DEVICES NOT OTHERWISE PROVIDED FOR
- H10D—INORGANIC ELECTRIC SEMICONDUCTOR DEVICES
- H10D64/00—Electrodes of devices having potential barriers
- H10D64/111—Field plates
- H10D64/117—Recessed field plates, e.g. trench field plates or buried field plates
-
- H—ELECTRICITY
- H10—SEMICONDUCTOR DEVICES; ELECTRIC SOLID-STATE DEVICES NOT OTHERWISE PROVIDED FOR
- H10D—INORGANIC ELECTRIC SEMICONDUCTOR DEVICES
- H10D8/00—Diodes
-
- H—ELECTRICITY
- H10—SEMICONDUCTOR DEVICES; ELECTRIC SOLID-STATE DEVICES NOT OTHERWISE PROVIDED FOR
- H10D—INORGANIC ELECTRIC SEMICONDUCTOR DEVICES
- H10D84/00—Integrated devices formed in or on semiconductor substrates that comprise only semiconducting layers, e.g. on Si wafers or on GaAs-on-Si wafers
- H10D84/101—Integrated devices comprising main components and built-in components, e.g. IGBT having built-in freewheel diode
- H10D84/141—VDMOS having built-in components
- H10D84/143—VDMOS having built-in components the built-in components being PN junction diodes
- H10D84/144—VDMOS having built-in components the built-in components being PN junction diodes in antiparallel diode configurations
-
- H—ELECTRICITY
- H10—SEMICONDUCTOR DEVICES; ELECTRIC SOLID-STATE DEVICES NOT OTHERWISE PROVIDED FOR
- H10D—INORGANIC ELECTRIC SEMICONDUCTOR DEVICES
- H10D84/00—Integrated devices formed in or on semiconductor substrates that comprise only semiconducting layers, e.g. on Si wafers or on GaAs-on-Si wafers
- H10D84/101—Integrated devices comprising main components and built-in components, e.g. IGBT having built-in freewheel diode
- H10D84/141—VDMOS having built-in components
- H10D84/146—VDMOS having built-in components the built-in components being Schottky barrier diodes
-
- H—ELECTRICITY
- H10—SEMICONDUCTOR DEVICES; ELECTRIC SOLID-STATE DEVICES NOT OTHERWISE PROVIDED FOR
- H10D—INORGANIC ELECTRIC SEMICONDUCTOR DEVICES
- H10D62/00—Semiconductor bodies, or regions thereof, of devices having potential barriers
- H10D62/10—Shapes, relative sizes or dispositions of the regions of the semiconductor bodies; Shapes of the semiconductor bodies
- H10D62/13—Semiconductor regions connected to electrodes carrying current to be rectified, amplified or switched, e.g. source or drain regions
- H10D62/149—Source or drain regions of field-effect devices
- H10D62/151—Source or drain regions of field-effect devices of IGFETs
- H10D62/156—Drain regions of DMOS transistors
- H10D62/157—Impurity concentrations or distributions
-
- H—ELECTRICITY
- H10—SEMICONDUCTOR DEVICES; ELECTRIC SOLID-STATE DEVICES NOT OTHERWISE PROVIDED FOR
- H10D—INORGANIC ELECTRIC SEMICONDUCTOR DEVICES
- H10D62/00—Semiconductor bodies, or regions thereof, of devices having potential barriers
- H10D62/10—Shapes, relative sizes or dispositions of the regions of the semiconductor bodies; Shapes of the semiconductor bodies
- H10D62/17—Semiconductor regions connected to electrodes not carrying current to be rectified, amplified or switched, e.g. channel regions
- H10D62/393—Body regions of DMOS transistors or IGBTs
-
- H—ELECTRICITY
- H10—SEMICONDUCTOR DEVICES; ELECTRIC SOLID-STATE DEVICES NOT OTHERWISE PROVIDED FOR
- H10D—INORGANIC ELECTRIC SEMICONDUCTOR DEVICES
- H10D64/00—Electrodes of devices having potential barriers
- H10D64/20—Electrodes characterised by their shapes, relative sizes or dispositions
- H10D64/23—Electrodes carrying the current to be rectified, amplified, oscillated or switched, e.g. sources, drains, anodes or cathodes
- H10D64/251—Source or drain electrodes for field-effect devices
- H10D64/256—Source or drain electrodes for field-effect devices for lateral devices wherein the source or drain electrodes are recessed in semiconductor bodies
-
- H—ELECTRICITY
- H10—SEMICONDUCTOR DEVICES; ELECTRIC SOLID-STATE DEVICES NOT OTHERWISE PROVIDED FOR
- H10D—INORGANIC ELECTRIC SEMICONDUCTOR DEVICES
- H10D64/00—Electrodes of devices having potential barriers
- H10D64/20—Electrodes characterised by their shapes, relative sizes or dispositions
- H10D64/27—Electrodes not carrying the current to be rectified, amplified, oscillated or switched, e.g. gates
- H10D64/311—Gate electrodes for field-effect devices
- H10D64/411—Gate electrodes for field-effect devices for FETs
- H10D64/511—Gate electrodes for field-effect devices for FETs for IGFETs
- H10D64/512—Disposition of the gate electrodes, e.g. buried gates
- H10D64/513—Disposition of the gate electrodes, e.g. buried gates within recesses in the substrate, e.g. trench gates, groove gates or buried gates
-
- H—ELECTRICITY
- H10—SEMICONDUCTOR DEVICES; ELECTRIC SOLID-STATE DEVICES NOT OTHERWISE PROVIDED FOR
- H10D—INORGANIC ELECTRIC SEMICONDUCTOR DEVICES
- H10D64/00—Electrodes of devices having potential barriers
- H10D64/20—Electrodes characterised by their shapes, relative sizes or dispositions
- H10D64/27—Electrodes not carrying the current to be rectified, amplified, oscillated or switched, e.g. gates
- H10D64/311—Gate electrodes for field-effect devices
- H10D64/411—Gate electrodes for field-effect devices for FETs
- H10D64/511—Gate electrodes for field-effect devices for FETs for IGFETs
- H10D64/514—Gate electrodes for field-effect devices for FETs for IGFETs characterised by the insulating layers
- H10D64/516—Gate electrodes for field-effect devices for FETs for IGFETs characterised by the insulating layers the thicknesses being non-uniform
Landscapes
- Electrodes Of Semiconductors (AREA)
- Metal-Oxide And Bipolar Metal-Oxide Semiconductor Integrated Circuits (AREA)
Applications Claiming Priority (2)
| Application Number | Priority Date | Filing Date | Title |
|---|---|---|---|
| US60534004P | 2004-08-27 | 2004-08-27 | |
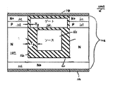
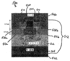
| US11/211,268 US7465986B2 (en) | 2004-08-27 | 2005-08-25 | Power semiconductor device including insulated source electrodes inside trenches |
Publications (2)
| Publication Number | Publication Date |
|---|---|
| JP2006066922A true JP2006066922A (ja) | 2006-03-09 |
| JP2006066922A5 JP2006066922A5 (enExample) | 2006-04-20 |
Family
ID=36073038
Family Applications (1)
| Application Number | Title | Priority Date | Filing Date |
|---|---|---|---|
| JP2005248465A Pending JP2006066922A (ja) | 2004-08-27 | 2005-08-29 | トレンチベースのソースおよびゲート電極を有するパワーデバイス |
Country Status (4)
| Country | Link |
|---|---|
| US (1) | US7465986B2 (enExample) |
| JP (1) | JP2006066922A (enExample) |
| DE (1) | DE102005040512B4 (enExample) |
| TW (1) | TWI299568B (enExample) |
Cited By (5)
| Publication number | Priority date | Publication date | Assignee | Title |
|---|---|---|---|---|
| JP2009135360A (ja) * | 2007-12-03 | 2009-06-18 | Renesas Technology Corp | 半導体装置およびその製造方法 |
| JP2010505270A (ja) * | 2006-09-27 | 2010-02-18 | マックスパワー・セミコンダクター・インコーポレイテッド | 窪んだフィールドプレートを備えたパワーmosfet |
| JP2014067753A (ja) * | 2012-09-24 | 2014-04-17 | Toshiba Corp | 電力用半導体素子 |
| JP2015177112A (ja) * | 2014-03-17 | 2015-10-05 | 株式会社東芝 | 半導体装置 |
| JP2017147393A (ja) * | 2016-02-19 | 2017-08-24 | 富士電機株式会社 | Rb‐igbt |
Families Citing this family (74)
| Publication number | Priority date | Publication date | Assignee | Title |
|---|---|---|---|---|
| US7400014B2 (en) * | 2004-04-20 | 2008-07-15 | International Rectifier Corporation | ACCUFET with schottky source contact |
| WO2006087775A1 (ja) * | 2005-02-16 | 2006-08-24 | Shindengen Electric Manufacturing Co., Ltd. | 半導体装置 |
| US7579650B2 (en) * | 2006-08-09 | 2009-08-25 | International Rectifier Corporation | Termination design for deep source electrode MOSFET |
| US7732842B2 (en) | 2006-12-06 | 2010-06-08 | Fairchild Semiconductor Corporation | Structure and method for forming a planar schottky contact |
| US8564057B1 (en) | 2007-01-09 | 2013-10-22 | Maxpower Semiconductor, Inc. | Power devices, structures, components, and methods using lateral drift, fixed net charge, and shield |
| KR20090116702A (ko) * | 2007-01-09 | 2009-11-11 | 맥스파워 세미컨덕터 인크. | 반도체 디바이스 |
| US20080191273A1 (en) * | 2007-02-08 | 2008-08-14 | Timothy Henson | Mosfet device having improved avalanche capability |
| US20080246082A1 (en) * | 2007-04-04 | 2008-10-09 | Force-Mos Technology Corporation | Trenched mosfets with embedded schottky in the same cell |
| US7986005B2 (en) | 2007-07-27 | 2011-07-26 | Infineon Technologies Austria Ag | Short circuit limiting in power semiconductor devices |
| US8129779B2 (en) * | 2007-09-03 | 2012-03-06 | Rohm Co., Ltd. | Trench gate type VDMOSFET device with thicker gate insulation layer portion for reducing gate to source capacitance |
| US20100013009A1 (en) * | 2007-12-14 | 2010-01-21 | James Pan | Structure and Method for Forming Trench Gate Transistors with Low Gate Resistance |
| US8704295B1 (en) | 2008-02-14 | 2014-04-22 | Maxpower Semiconductor, Inc. | Schottky and MOSFET+Schottky structures, devices, and methods |
| WO2009102684A2 (en) | 2008-02-14 | 2009-08-20 | Maxpower Semiconductor Inc. | Semiconductor device structures and related processes |
| US7923804B2 (en) * | 2008-02-14 | 2011-04-12 | Maxpower Semiconductor Inc. | Edge termination with improved breakdown voltage |
| WO2009148695A2 (en) * | 2008-06-02 | 2009-12-10 | Maxpower Semiconductor Inc. | Edge termination for semiconductor devices |
| WO2009151657A1 (en) * | 2008-06-11 | 2009-12-17 | Maxpower Semiconductor Inc. | Super self-aligned trench mosfet devices, methods and systems |
| US20100308400A1 (en) * | 2008-06-20 | 2010-12-09 | Maxpower Semiconductor Inc. | Semiconductor Power Switches Having Trench Gates |
| US8310001B2 (en) | 2008-07-15 | 2012-11-13 | Maxpower Semiconductor Inc. | MOSFET switch with embedded electrostatic charge |
| WO2010014281A1 (en) * | 2008-07-30 | 2010-02-04 | Maxpower Semiconductor Inc. | Semiconductor on insulator devices containing permanent charge |
| WO2010014283A1 (en) * | 2008-07-30 | 2010-02-04 | Max Power Semiconductor Inc. | Lateral devices containing permanent charge |
| US7960783B2 (en) * | 2008-08-25 | 2011-06-14 | Maxpower Semiconductor Inc. | Devices containing permanent charge |
| US8304329B2 (en) * | 2008-12-01 | 2012-11-06 | Maxpower Semiconductor, Inc. | Power device structures and methods |
| US7851312B2 (en) * | 2009-01-23 | 2010-12-14 | Semiconductor Components Industries, Llc | Semiconductor component and method of manufacture |
| US7989293B2 (en) * | 2009-02-24 | 2011-08-02 | Maxpower Semiconductor, Inc. | Trench device structure and fabrication |
| US8319278B1 (en) | 2009-03-31 | 2012-11-27 | Maxpower Semiconductor, Inc. | Power device structures and methods using empty space zones |
| WO2010120704A2 (en) * | 2009-04-13 | 2010-10-21 | Maxpower Semiconductor Inc. | Power semiconductor devices, methods, and structures with embedded dielectric layers containing permanent charges |
| US8847307B2 (en) | 2010-04-13 | 2014-09-30 | Maxpower Semiconductor, Inc. | Power semiconductor devices, methods, and structures with embedded dielectric layers containing permanent charges |
| US8735906B2 (en) * | 2009-04-13 | 2014-05-27 | Rohm Co., Ltd. | Semiconductor device and method of manufacturing semiconductor device |
| WO2011133481A2 (en) * | 2010-04-20 | 2011-10-27 | Maxpower Semiconductor Inc. | Power mosfet with embedded recessed field plate and methods of fabrication |
| US8252648B2 (en) * | 2010-06-29 | 2012-08-28 | Alpha & Omega Semiconductor, Inc. | Power MOSFET device with self-aligned integrated Schottky and its manufacturing method |
| JP2012099793A (ja) * | 2010-10-07 | 2012-05-24 | Elpida Memory Inc | 半導体装置及びその製造方法 |
| US8933506B2 (en) * | 2011-01-31 | 2015-01-13 | Alpha And Omega Semiconductor Incorporated | Diode structures with controlled injection efficiency for fast switching |
| WO2012105611A1 (ja) | 2011-02-02 | 2012-08-09 | ローム株式会社 | 半導体パワーデバイスおよびその製造方法 |
| WO2012144147A1 (ja) | 2011-04-20 | 2012-10-26 | パナソニック株式会社 | 縦型ゲート半導体装置およびその製造方法 |
| US8680607B2 (en) * | 2011-06-20 | 2014-03-25 | Maxpower Semiconductor, Inc. | Trench gated power device with multiple trench width and its fabrication process |
| CN102569406A (zh) * | 2012-02-10 | 2012-07-11 | 上海宏力半导体制造有限公司 | 沟槽型mos晶体管及其制造方法 |
| US9245985B2 (en) * | 2012-03-28 | 2016-01-26 | Infineon Technologies Americas Corp. | IGBT with buried emitter electrode |
| US8669611B2 (en) * | 2012-07-11 | 2014-03-11 | Taiwan Semiconductor Manufacturing Company, Ltd. | Apparatus and method for power MOS transistor |
| US9130060B2 (en) | 2012-07-11 | 2015-09-08 | Taiwan Semiconductor Manufacturing Company, Ltd. | Integrated circuit having a vertical power MOS transistor |
| US8637922B1 (en) | 2012-07-19 | 2014-01-28 | Infineon Technologies Ag | Semiconductor device |
| US9391191B2 (en) | 2012-12-13 | 2016-07-12 | Infineon Technologies Americas Corp. | Trench FET having merged gate dielectric |
| US8963258B2 (en) * | 2013-03-13 | 2015-02-24 | Taiwan Semiconductor Manufacturing Company | FinFET with bottom SiGe layer in source/drain |
| US10249721B2 (en) | 2013-04-04 | 2019-04-02 | Infineon Technologies Austria Ag | Semiconductor device including a gate trench and a source trench |
| US9818743B2 (en) * | 2013-06-21 | 2017-11-14 | Infineon Technologies Americas Corp. | Power semiconductor device with contiguous gate trenches and offset source trenches |
| US9666663B2 (en) | 2013-08-09 | 2017-05-30 | Infineon Technologies Ag | Semiconductor device with cell trench structures and contacts and method of manufacturing a semiconductor device |
| US9076838B2 (en) | 2013-09-13 | 2015-07-07 | Infineon Technologies Ag | Insulated gate bipolar transistor with mesa sections between cell trench structures and method of manufacturing |
| US20150118810A1 (en) * | 2013-10-24 | 2015-04-30 | Madhur Bobde | Buried field ring field effect transistor (buf-fet) integrated with cells implanted with hole supply path |
| US9385228B2 (en) | 2013-11-27 | 2016-07-05 | Infineon Technologies Ag | Semiconductor device with cell trench structures and contacts and method of manufacturing a semiconductor device |
| US9105679B2 (en) | 2013-11-27 | 2015-08-11 | Infineon Technologies Ag | Semiconductor device and insulated gate bipolar transistor with barrier regions |
| US9553179B2 (en) | 2014-01-31 | 2017-01-24 | Infineon Technologies Ag | Semiconductor device and insulated gate bipolar transistor with barrier structure |
| CN105097953B (zh) * | 2014-05-13 | 2018-08-03 | 中芯国际集成电路制造(上海)有限公司 | 半浮栅晶体管结构 |
| JP6152861B2 (ja) * | 2015-02-09 | 2017-06-28 | トヨタ自動車株式会社 | ダイオードの製造方法 |
| JP2016164906A (ja) * | 2015-03-06 | 2016-09-08 | 豊田合成株式会社 | 半導体装置およびその製造方法ならびに電力変換装置 |
| DE102015105016A1 (de) | 2015-03-31 | 2016-10-06 | Infineon Technologies Ag | Halbleiterbauteil mit Kanalstopper und Verfahren zur Herstellung desselben |
| KR101786668B1 (ko) * | 2015-12-14 | 2017-10-18 | 현대자동차 주식회사 | 반도체 소자 및 그 제조 방법 |
| US10141415B2 (en) * | 2016-01-12 | 2018-11-27 | Infineon Technologies Americas Corp. | Combined gate and source trench formation and related structure |
| TWI593117B (zh) * | 2016-08-16 | 2017-07-21 | 台灣半導體股份有限公司 | 具有多重寬度電極結構之場效電晶體之 製造方法 |
| US11569371B2 (en) | 2017-05-25 | 2023-01-31 | Dynex Semiconductor Limited | Semiconductor device |
| IT201700057056A1 (it) | 2017-05-25 | 2018-11-25 | St Microelectronics Srl | Metodo di fabbricazione autoallineata di un transistore vdmos, e transistore vdmos autoallineato |
| DE102017118352A1 (de) * | 2017-08-11 | 2019-02-14 | Infineon Technologies Ag | Halbleiterbauelement mit grabenstrukturen und herstellungsverfahren hierfür |
| FR3086798B1 (fr) * | 2018-09-28 | 2022-12-09 | St Microelectronics Tours Sas | Structure de diode |
| US10692988B2 (en) | 2018-11-26 | 2020-06-23 | Infineon Technologies Austria Ag | Semiconductor device having integrated MOS-gated or Schottky diodes |
| US11257916B2 (en) * | 2019-03-14 | 2022-02-22 | Semiconductor Components Industries, Llc | Electronic device having multi-thickness gate insulator |
| US11316045B2 (en) * | 2019-11-22 | 2022-04-26 | Globalfoundries U.S. Inc. | Vertical field effect transistor (FET) with source and drain structures |
| US11316042B2 (en) * | 2020-01-31 | 2022-04-26 | Power Integrations, Inc. | Process and structure for a superjunction device |
| CN114078853B (zh) * | 2020-08-18 | 2023-02-24 | 长鑫存储技术有限公司 | 存储器及其制作方法 |
| CN119050153A (zh) | 2020-09-17 | 2024-11-29 | 罗姆股份有限公司 | 半导体装置 |
| CN114512532A (zh) * | 2020-11-16 | 2022-05-17 | 苏州东微半导体股份有限公司 | 半导体器件 |
| CN114512531A (zh) * | 2020-11-16 | 2022-05-17 | 苏州东微半导体股份有限公司 | 碳化硅器件 |
| CN114512403B (zh) * | 2020-11-16 | 2023-06-23 | 苏州东微半导体股份有限公司 | 半导体器件的制造方法 |
| CN113113473B (zh) * | 2021-04-16 | 2022-08-12 | 深圳真茂佳半导体有限公司 | 场效晶体管结构及其制造方法、芯片装置 |
| CN114188395A (zh) * | 2021-10-09 | 2022-03-15 | 无锡先瞳半导体科技有限公司 | 电荷补偿型屏蔽栅沟槽功率器件及其制备方法 |
| DE102022122633A1 (de) * | 2022-09-06 | 2024-03-07 | Krones Aktiengesellschaft | Detektieren verlorener Kunststoffvorformlinge im Heizmodul durch multiple Heizlampenausfallerkennung |
| CN117855276B (zh) * | 2023-12-06 | 2025-07-08 | 湖北九峰山实验室 | 一种具有结控二极管的沟槽mosfet器件及其制备方法 |
Citations (8)
| Publication number | Priority date | Publication date | Assignee | Title |
|---|---|---|---|---|
| US5637898A (en) * | 1995-12-22 | 1997-06-10 | North Carolina State University | Vertical field effect transistors having improved breakdown voltage capability and low on-state resistance |
| JP2001085688A (ja) * | 1999-09-14 | 2001-03-30 | Toshiba Corp | 半導体装置及びその製造方法 |
| JP2001168333A (ja) * | 1999-09-30 | 2001-06-22 | Toshiba Corp | トレンチゲート付き半導体装置 |
| JP2003017696A (ja) * | 2001-06-29 | 2003-01-17 | Toshiba Corp | 半導体装置 |
| JP2004502306A (ja) * | 2000-06-23 | 2004-01-22 | シリコン・ワイヤレス・コーポレイション | 速度飽和モードでの動作時に線形伝達特性を持つmosfetデバイスとその製造方法及び動作方法 |
| US6710403B2 (en) * | 2002-07-30 | 2004-03-23 | Fairchild Semiconductor Corporation | Dual trench power MOSFET |
| US6781194B2 (en) * | 2001-04-11 | 2004-08-24 | Silicon Semiconductor Corporation | Vertical power devices having retrograded-doped transition regions and insulated trench-based electrodes therein |
| JP2004537162A (ja) * | 2001-04-11 | 2004-12-09 | シリコン・セミコンダクター・コーポレイション | パワーデバイスとその製造方法 |
Family Cites Families (29)
| Publication number | Priority date | Publication date | Assignee | Title |
|---|---|---|---|---|
| US5282018A (en) | 1991-01-09 | 1994-01-25 | Kabushiki Kaisha Toshiba | Power semiconductor device having gate structure in trench |
| JPH08116056A (ja) | 1994-10-19 | 1996-05-07 | Hitachi Ltd | 電圧駆動型半導体装置及びそれを用いた電力変換装置 |
| JP3307785B2 (ja) | 1994-12-13 | 2002-07-24 | 三菱電機株式会社 | 絶縁ゲート型半導体装置 |
| US5637989A (en) * | 1995-01-31 | 1997-06-10 | Wood; Sylvester | Energy savings apparatus |
| JP3325736B2 (ja) * | 1995-02-09 | 2002-09-17 | 三菱電機株式会社 | 絶縁ゲート型半導体装置 |
| DE19638439C2 (de) | 1996-09-19 | 2000-06-15 | Siemens Ag | Durch Feldeffekt steuerbares, vertikales Halbleiterbauelement und Herstellungsverfahren |
| JPH10256550A (ja) | 1997-01-09 | 1998-09-25 | Toshiba Corp | 半導体装置 |
| JP3191747B2 (ja) * | 1997-11-13 | 2001-07-23 | 富士電機株式会社 | Mos型半導体素子 |
| US6069372A (en) * | 1998-01-22 | 2000-05-30 | Mitsubishi Denki Kabushiki Kaisha | Insulated gate type semiconductor device with potential detection gate for overvoltage protection |
| KR100295063B1 (ko) | 1998-06-30 | 2001-08-07 | 김덕중 | 트렌치게이트구조의전력반도체장치및그제조방법 |
| GB9815021D0 (en) * | 1998-07-11 | 1998-09-09 | Koninkl Philips Electronics Nv | Semiconductor power device manufacture |
| US5998833A (en) | 1998-10-26 | 1999-12-07 | North Carolina State University | Power semiconductor devices having improved high frequency switching and breakdown characteristics |
| JP2000285768A (ja) | 1999-03-30 | 2000-10-13 | Toshiba Corp | 三位置開閉装置の操作機構 |
| US20010001494A1 (en) | 1999-04-01 | 2001-05-24 | Christopher B. Kocon | Power trench mos-gated device and process for forming same |
| US6191447B1 (en) * | 1999-05-28 | 2001-02-20 | Micro-Ohm Corporation | Power semiconductor devices that utilize tapered trench-based insulating regions to improve electric field profiles in highly doped drift region mesas and methods of forming same |
| JP4363736B2 (ja) | 2000-03-01 | 2009-11-11 | 新電元工業株式会社 | トランジスタ及びその製造方法 |
| US6541820B1 (en) * | 2000-03-28 | 2003-04-01 | International Rectifier Corporation | Low voltage planar power MOSFET with serpentine gate pattern |
| US6580123B2 (en) | 2000-04-04 | 2003-06-17 | International Rectifier Corporation | Low voltage power MOSFET device and process for its manufacture |
| JP2003533889A (ja) | 2000-05-13 | 2003-11-11 | コーニンクレッカ フィリップス エレクトロニクス エヌ ヴィ | トレンチゲート半導体装置 |
| US6784486B2 (en) * | 2000-06-23 | 2004-08-31 | Silicon Semiconductor Corporation | Vertical power devices having retrograded-doped transition regions therein |
| US6653691B2 (en) | 2000-11-16 | 2003-11-25 | Silicon Semiconductor Corporation | Radio frequency (RF) power devices having faraday shield layers therein |
| US20020179968A1 (en) * | 2001-05-30 | 2002-12-05 | Frank Pfirsch | Power semiconductor component, compensation component, power transistor, and method for producing power semiconductor components |
| US6555873B2 (en) * | 2001-09-07 | 2003-04-29 | Power Integrations, Inc. | High-voltage lateral transistor with a multi-layered extended drain structure |
| TW512438B (en) | 2001-11-01 | 2002-12-01 | Advanced Power Electronics Cor | High power transistor with discontinuous polysilicon gate and its manufacturing process |
| TW521331B (en) | 2002-02-21 | 2003-02-21 | Delta Electronics Inc | Gate pad protection structure for power semiconductor device and the manufacturing method thereof |
| US6686244B2 (en) * | 2002-03-21 | 2004-02-03 | General Semiconductor, Inc. | Power semiconductor device having a voltage sustaining region that includes doped columns formed with a single ion implantation step |
| JP4062045B2 (ja) | 2002-10-11 | 2008-03-19 | 富士電機デバイステクノロジー株式会社 | 半導体集積回路装置の製造方法 |
| JP2004235438A (ja) | 2003-01-30 | 2004-08-19 | Seiko Epson Corp | Soi構造mos型半導体装置及びその製造方法 |
| TW583747B (en) | 2003-03-06 | 2004-04-11 | Advanced Power Electronics Cor | High density trench power MOSFET structure and method thereof |
-
2005
- 2005-08-25 US US11/211,268 patent/US7465986B2/en active Active
- 2005-08-26 TW TW094129325A patent/TWI299568B/zh not_active IP Right Cessation
- 2005-08-26 DE DE102005040512A patent/DE102005040512B4/de not_active Expired - Fee Related
- 2005-08-29 JP JP2005248465A patent/JP2006066922A/ja active Pending
Patent Citations (8)
| Publication number | Priority date | Publication date | Assignee | Title |
|---|---|---|---|---|
| US5637898A (en) * | 1995-12-22 | 1997-06-10 | North Carolina State University | Vertical field effect transistors having improved breakdown voltage capability and low on-state resistance |
| JP2001085688A (ja) * | 1999-09-14 | 2001-03-30 | Toshiba Corp | 半導体装置及びその製造方法 |
| JP2001168333A (ja) * | 1999-09-30 | 2001-06-22 | Toshiba Corp | トレンチゲート付き半導体装置 |
| JP2004502306A (ja) * | 2000-06-23 | 2004-01-22 | シリコン・ワイヤレス・コーポレイション | 速度飽和モードでの動作時に線形伝達特性を持つmosfetデバイスとその製造方法及び動作方法 |
| US6781194B2 (en) * | 2001-04-11 | 2004-08-24 | Silicon Semiconductor Corporation | Vertical power devices having retrograded-doped transition regions and insulated trench-based electrodes therein |
| JP2004537162A (ja) * | 2001-04-11 | 2004-12-09 | シリコン・セミコンダクター・コーポレイション | パワーデバイスとその製造方法 |
| JP2003017696A (ja) * | 2001-06-29 | 2003-01-17 | Toshiba Corp | 半導体装置 |
| US6710403B2 (en) * | 2002-07-30 | 2004-03-23 | Fairchild Semiconductor Corporation | Dual trench power MOSFET |
Cited By (5)
| Publication number | Priority date | Publication date | Assignee | Title |
|---|---|---|---|---|
| JP2010505270A (ja) * | 2006-09-27 | 2010-02-18 | マックスパワー・セミコンダクター・インコーポレイテッド | 窪んだフィールドプレートを備えたパワーmosfet |
| JP2009135360A (ja) * | 2007-12-03 | 2009-06-18 | Renesas Technology Corp | 半導体装置およびその製造方法 |
| JP2014067753A (ja) * | 2012-09-24 | 2014-04-17 | Toshiba Corp | 電力用半導体素子 |
| JP2015177112A (ja) * | 2014-03-17 | 2015-10-05 | 株式会社東芝 | 半導体装置 |
| JP2017147393A (ja) * | 2016-02-19 | 2017-08-24 | 富士電機株式会社 | Rb‐igbt |
Also Published As
| Publication number | Publication date |
|---|---|
| US7465986B2 (en) | 2008-12-16 |
| DE102005040512B4 (de) | 2012-09-06 |
| DE102005040512A1 (de) | 2006-05-04 |
| US20060060916A1 (en) | 2006-03-23 |
| TW200625624A (en) | 2006-07-16 |
| TWI299568B (en) | 2008-08-01 |
Similar Documents
| Publication | Publication Date | Title |
|---|---|---|
| JP2006066922A (ja) | トレンチベースのソースおよびゲート電極を有するパワーデバイス | |
| US9761702B2 (en) | Power MOSFET having planar channel, vertical current path, and top drain electrode | |
| JP4721653B2 (ja) | 絶縁ゲート型半導体装置 | |
| KR101375035B1 (ko) | Mosfet 및 그 제조 방법 | |
| KR101404906B1 (ko) | 자기-바이어스 전극을 포함하는 수평형 전력 디바이스 | |
| US8866220B2 (en) | Semiconductor device | |
| US20080150021A1 (en) | Trench-Gate Transistors and Their Manufacture | |
| US10297594B2 (en) | High density MOSFET array with self-aligned contacts delimited by nitride-capped trench gate stacks and method | |
| US20110316075A1 (en) | Trench mosfet with trenched floating gates having thick trench bottom oxide as termination | |
| US20110012174A1 (en) | Structure and Method for Forming Field Effect Transistor with Low Resistance Channel Region | |
| US9196701B2 (en) | High density MOSFET array with self-aligned contacts enhancement plug and method | |
| US8884367B2 (en) | MOSgated power semiconductor device with source field electrode | |
| JP2008124346A (ja) | 電力用半導体素子 | |
| US7989884B2 (en) | Structure for making a top-side contact to a substrate | |
| US8164139B2 (en) | MOSFET structure with guard ring | |
| US11362207B2 (en) | Semiconductor device | |
| CN114361247B (zh) | 沟槽栅金属氧化物半导体场效应管及其制备方法 | |
| KR20200028855A (ko) | 반도체 장치 및 방법 | |
| USRE48259E1 (en) | Semiconductor device | |
| KR20080095768A (ko) | 반도체 장치 | |
| US7482654B2 (en) | MOSgated power semiconductor device with source field electrode | |
| JP2018166169A (ja) | 半導体装置 | |
| JP2006093457A (ja) | 絶縁ゲート型半導体装置 | |
| JP2006351652A (ja) | 半導体デバイス | |
| CN107768240B (zh) | 一种沟槽式晶体管的源区结构及其制备方法 |
Legal Events
| Date | Code | Title | Description |
|---|---|---|---|
| A521 | Request for written amendment filed |
Free format text: JAPANESE INTERMEDIATE CODE: A523 Effective date: 20060116 |
|
| A131 | Notification of reasons for refusal |
Free format text: JAPANESE INTERMEDIATE CODE: A131 Effective date: 20090825 |
|
| RD03 | Notification of appointment of power of attorney |
Free format text: JAPANESE INTERMEDIATE CODE: A7423 Effective date: 20091021 |
|
| A601 | Written request for extension of time |
Free format text: JAPANESE INTERMEDIATE CODE: A601 Effective date: 20091022 |
|
| RD04 | Notification of resignation of power of attorney |
Free format text: JAPANESE INTERMEDIATE CODE: A7424 Effective date: 20091102 |
|
| A602 | Written permission of extension of time |
Free format text: JAPANESE INTERMEDIATE CODE: A602 Effective date: 20091105 |
|
| A521 | Request for written amendment filed |
Free format text: JAPANESE INTERMEDIATE CODE: A523 Effective date: 20100225 |
|
| A131 | Notification of reasons for refusal |
Free format text: JAPANESE INTERMEDIATE CODE: A131 Effective date: 20101221 |
|
| A601 | Written request for extension of time |
Free format text: JAPANESE INTERMEDIATE CODE: A601 Effective date: 20110315 |
|
| A602 | Written permission of extension of time |
Free format text: JAPANESE INTERMEDIATE CODE: A602 Effective date: 20110318 |
|
| A521 | Request for written amendment filed |
Free format text: JAPANESE INTERMEDIATE CODE: A523 Effective date: 20110420 |
|
| A02 | Decision of refusal |
Free format text: JAPANESE INTERMEDIATE CODE: A02 Effective date: 20120207 |