JP2006015007A - 遊技機 - Google Patents

遊技機 Download PDF

Info

Publication number
JP2006015007A
JP2006015007A JP2004197154A JP2004197154A JP2006015007A JP 2006015007 A JP2006015007 A JP 2006015007A JP 2004197154 A JP2004197154 A JP 2004197154A JP 2004197154 A JP2004197154 A JP 2004197154A JP 2006015007 A JP2006015007 A JP 2006015007A
Authority
JP
Japan
Prior art keywords
display
effect
game
determination
display mode
Prior art date
Legal status (The legal status is an assumption and is not a legal conclusion. Google has not performed a legal analysis and makes no representation as to the accuracy of the status listed.)
Granted
Application number
JP2004197154A
Other languages
English (en)
Other versions
JP4691329B2 (ja
Inventor
Yoshiharu Yamada
佳治 山田
Shingo Anpo
慎吾 安保
Current Assignee (The listed assignees may be inaccurate. Google has not performed a legal analysis and makes no representation or warranty as to the accuracy of the list.)
Newgin Co Ltd
Original Assignee
Newgin Co Ltd
Priority date (The priority date is an assumption and is not a legal conclusion. Google has not performed a legal analysis and makes no representation as to the accuracy of the date listed.)
Filing date
Publication date
Application filed by Newgin Co Ltd filed Critical Newgin Co Ltd
Priority to JP2004197154A priority Critical patent/JP4691329B2/ja
Publication of JP2006015007A publication Critical patent/JP2006015007A/ja
Application granted granted Critical
Publication of JP4691329B2 publication Critical patent/JP4691329B2/ja
Anticipated expiration legal-status Critical
Expired - Fee Related legal-status Critical Current

Links

Images

Landscapes

  • Display Devices Of Pinball Game Machines (AREA)
  • Pinball Game Machines (AREA)

Abstract

【課題】保留球数表示手段の表示態様を変化させる演出を行う場合に、その表示態様の変化を遊技者に分かり易く表現し、表示態様の変化を容易に認識させることができる遊技機を提供する。
【解決手段】個数表示部H1〜H4の表示態様を変化させる場合、その表示態様が変化する前に前知演出を実行する(図12(b)、(c))。前知演出は、個数表示部H1〜H4の表示態様が変化することを遊技者に事前に知らせる演出である。そして、前知演出の実行後、個数表示部H1〜H4の表示態様を「通常表示態様」から「特別表示態様」に変化させる。
【選択図】 図12

Description

本発明は、始動保留球の個数を表示する保留球数表示手段の表示態様を変化させて演出を行う遊技機に関するものである。
従来、遊技機の一種であるパチンコ機では、複数種類の図柄を変動させて表示する図柄組み合わせゲーム(図柄変動ゲーム)が行われている。そして、近時のパチンコ機では、図柄組み合わせゲームに対する遊技者の興趣を向上させるために、大当りとなる可能性があることを事前に示唆する大当り予告の演出を行うパチンコ機が知られている(例えば、特許文献1参照)。特許文献1に記載されたパチンコ機では、始動記憶表示器(始動保留球表示器)の点灯表示態様を制御することによって大当り予告の演出を行っている。具体的には、始動記憶表示器の点灯した部分の色を変化させたり、点灯した部分の形状又は大きさを変化させたりして大当り予告の演出を行っている。
特開平9−700号公報(段落番号[0087]〜[0093]、図13)
ところで、通常、パチンコ機では、始動記憶表示器の点灯表示の大きさは、図柄組み合わせゲームを表示するための表示画面の大きさに比して小さく形成されている。即ち、パチンコ機では、始動記憶の数よりも図柄組み合わせゲームの表示結果の方が遊技者にとってはより重要な情報となり得ることから、図柄組み合わせゲームの表示画面を大きく形成している。従って、始動記憶表示器の点灯表示態様を変化させて大当り予告の演出を行っても、点灯表示態様が変化する様を遊技者が余程注意して眺めていない限り気づき難いという問題がある。
この発明は、このような従来の技術に存在する問題点に着目してなされたものであり、その目的は、保留球数表示手段の表示態様を変化させる演出を行う場合に、その表示態様の変化を遊技者に分かり易く表現し、表示態様の変化を容易に認識させることができる遊技機を提供する。
上記問題点を解決するために、請求項1に記載の発明は、始動検知手段によって検知された遊技球を始動保留球として記憶すると共に該遊技球の検知時に取得した乱数値を前記始動保留球と対応させて記憶する記憶手段と、前記記憶手段に記憶されている前記始動保留球の個数を表示する保留球数表示手段と、前記始動保留球に基づき図柄変動ゲームを行うゲーム表示手段と、前記図柄変動ゲームの開始に際して、前記始動保留球と対応させて記憶された前記乱数値が大当り判定値と一致するか否かを判定する大当り判定手段とを備え、前記大当り判定手段の判定結果が肯定の場合には、前記図柄変動ゲームの表示結果が大当り表示結果となって大当り遊技状態が付与される遊技機において、前記乱数値が少なくとも前記大当り判定値と同値を含む仮当り判定値と一致するか否かを判定する仮当り判定手段と、前記大当り遊技状態中に前記仮当り判定手段の判定結果が肯定となる始動保留球が前記記憶手段に記憶されている場合、前記大当り遊技状態中に前記保留球数表示手段における前記始動保留球の個数表示の表示態様を変化させる保留球数表示制御手段と、前記個数表示の表示態様を変化させる場合に、前記表示態様が変化することを遊技者に事前に知らせる前知演出を演出手段に実行させる前知演出制御手段とを備えたことを要旨とする。
請求項2に記載の発明は、請求項1に記載の遊技機において、前記大当り遊技状態は、複数回のラウンド遊技からなり、前記仮当り判定手段による判定結果を記録する判定結果記録手段と、予め定めた回のラウンド遊技の開始を契機に、前記判定結果記録手段の記録内容を確認する判定結果確認手段とを備え、前記判定結果確認手段により前記仮当り判定手段の肯定判定の記録が確認された場合、前記予め定めた回のラウンド遊技中に、前記前知演出制御手段が前記前知演出を実行させ、前記保留球数表示制御手段が前記個数表示の表示態様を変化させることを要旨とする。
請求項3に記載の発明は、請求項1に記載の遊技機において、前記大当り遊技状態は、複数回のラウンド遊技からなり、前記保留球数表示手段は、前記記憶手段に記憶可能な前記始動保留球の最大個数と同数の個数表示部を有し、前記記憶手段に記憶されている前記始動保留球の個数と同数の個数表示部を用いて前記個数を表示し、前記仮当り判定手段の判定結果が肯定の場合、その判定時点において前記記憶手段に記憶されている前記始動保留球の個数を計数する保留球数計数手段と、前記保留球数計数手段の計数結果を記録する計数結果記録手段と、予め定めた回のラウンド遊技の開始を契機に、前記計数結果記録手段の記録内容を確認する計数結果確認手段とを備え、前記計数結果確認手段により前記計数結果の記録が確認された場合、前記予め定めた回のラウンド遊技中に、前記前知演出制御手段が前記計数結果に基づき、何れの個数表示部の表示態様が変化するかを知らせる前記前知演出を実行させ、前記保留球数表示制御手段が前記前知演出で知らされる個数表示部の表示態様を変化させることを要旨とする。
本発明によれば、保留球数表示手段の表示態様を変化させる演出を行う場合に、その表示態様の変化を遊技者に分かり易く表現し、表示態様の変化を容易に認識させることができる。
以下、本発明をその一種であるパチンコ遊技機(以下、「パチンコ機」と示す)に具体化した一実施形態を図1〜図12に基づき説明する。
図1には、パチンコ機10の機表側が略示されており、機体の外郭をなす外枠11の開口前面側には、各種の遊技用構成部材をセットする縦長方形の中枠12が開閉及び着脱自在に組み付けられている。中枠12の前面側には、機内部に配置された遊技盤13を透視保護するためのガラス枠を備えた前枠14と上球皿15がそれぞれ横開き状態で開閉可能に組み付けられている。前枠14の前面側及び遊技盤13の遊技領域13aには、各種遊技の状態(図柄変動、大当り遊技状態など)に応じて点灯(点滅)又は消灯し、発光装飾に基づく遊技演出(発光演出)を行う装飾ランプ16が設けられている。外枠11の下部(パチンコ機10の下部)には、前記遊技の状態に応じて各種音声を出力し、音声出力に基づく遊技演出(音声演出)を行うスピーカ17が配置されている。中枠12の下部には、下球皿18及び発射装置19が装着されている。
遊技盤13の遊技領域13aの略中央には、液晶ディスプレイ型の可変表示器20を備えた表示装置21が配設されている。可変表示器20では、変動画像(又は画像表示)に基づく遊技演出(表示演出)が行われるようになっている。そして、可変表示器20では、表示演出に関連して、複数種類の図柄を複数列で変動させて図柄組み合わせを導出する図柄組み合わせゲーム(図柄変動ゲーム)が行われるようになっている。本実施形態では、図柄組み合わせゲームで3列の図柄による組み合わせを導出し、該組み合わせを構成する各列の図柄の種類を1〜8の8種類としている。
そして、遊技者は、図柄組み合わせゲームにおいて、最終的に表示された図柄組み合わせ(表示結果)から大当り又ははずれを認識できる。可変表示器20に表示された全列の図柄が同一種類の場合には、その図柄組み合わせ([111][777]など)から大当りを認識できる。この大当りを認識できる図柄組み合わせが大当りの図柄組み合わせとなる。大当りの図柄組み合わせが表示された場合、遊技者には、大当り遊技状態(特別遊技状態)が付与される。また、可変表示器20に表示された全列の図柄が異なる種類の場合、又は1列の図柄がリーチを形成する図柄とは異なる種類の場合には、その図柄組み合わせ([234][122][767]など)からはずれを認識できる。このはずれを認識できる図柄組み合わせがはずれの図柄組み合わせとなる。
また、表示装置21の下方には、図示しないアクチュエータ(ソレノイド、モータなど)の作動によって開閉動作を行う開閉羽根22を備えた始動入賞口23が配設されている。始動入賞口23の奥方には、入賞した遊技球を検知する始動口センサSE1(図3に示す)が設けられている。始動入賞口23は、遊技球の入賞検知を契機に、図柄組み合わせゲームの始動条件を付与し得る。本実施形態では、始動入賞口23と始動口センサSE1とによって始動検知手段が構成されている。また、始動入賞口23の下方には、図示しないアクチュエータ(ソレノイド、モータなど)の作動によって開閉動作を行う大入賞口扉24を備えた大入賞口25が配設されている。大入賞口25は、図柄組み合わせゲームによって導出され、最終的に表示された図柄組み合わせが大当りの図柄組み合わせになったことに関連して大入賞口扉24が開閉動作し、開放又は閉鎖されるようになっている。そして、大当り遊技状態が付与されると、大入賞口扉24の開動作によって大入賞口25が開放されて遊技球が入賞可能となるため、遊技者は、多数の賞球が獲得できるチャンスを得ることができる。
大当り遊技状態中において、大入賞口25の開放及び閉鎖は、予め定められた規定ラウンド数(本実施形態では15ラウンド)だけ繰り返し行われるようになっている。なお、「1ラウンド」は、大入賞口25が開放されてから再び閉鎖される迄である。そして、大当り遊技状態が付与されると、最初にオープニング演出が行われ、該オープニング演出の終了後、1〜15ラウンドの各ラウンドの遊技が行われる。その後、最終ラウンド(15ラウンド)の遊技が終了すると、エンディング演出が行われ、該エンディング演出の終了と共に大当り遊技状態が終了する。
また、可変表示器20には、図2に示すように、ゲーム表示部(ゲーム表示領域)26と保留球数表示部(保留球数表示領域)27とが形成されている。ゲーム表示部26には、図柄組み合わせゲームが画像表示される。保留球数表示部27には、機内部(記憶手段としてのRAM28c)で記憶された始動保留球の記憶数(以下、「保留記憶数」と示す)に基づく保留中の図柄組み合わせゲームの回数(始動保留球の個数)が画像表示される。保留記憶数は、始動入賞口23へ遊技球が入賞すると1加算(+1)され、図柄組み合わせゲームの開始によって1減算(−1)され、図柄組み合わせゲーム中に始動入賞口23へ遊技球が入賞すると保留記憶数は更に加算されて所定の上限数(本実施形態では4(最大個数))まで累積される。本実施形態では、可変表示器20が、ゲーム表示手段と保留球数表示手段となり、兼用構成されている。
保留球数表示部27は、複数(本実施形態では4)の個数表示部H1,H2,H3,H4から構成されている。即ち、保留球数表示部27には、保留記憶数の上限数と同数の4つの個数表示部H1〜H4が設けられている。そして、保留球数表示部27では、保留記憶数と同数の個数表示部H1〜H4が点灯表示(ランプが発光したかのような画像表示)されることで、保留中の図柄組み合わせゲームの回数が報知される。図2及び図9〜図14では、点灯表示した個数表示部H1〜H4を「●(黒丸)」で図示し、点灯表示していない個数表示部H1〜H4を「○(白丸)」で図示している。例えば、図2は、保留記憶数が「2」のときの保留球数表示部27を図示しており、個数表示部H1と個数表示部H2が点灯表示されることにより、2回の図柄組み合わせゲームが保留中であることを報知している。なお、保留記憶数が「1」のときには1つの個数表示部H1のみが点灯表示され、保留記憶数が「3」のときには3つの個数表示部H1〜H3が点灯表示され、保留記憶数が「4」の場合には4つの個数表示部H1〜H4が点灯表示される。以下の説明では、点灯表示の際に「●(黒丸)」にて図示された個数表示部の表示態様を「通常表示態様」ともいう。
また、本実施形態のパチンコ機10は、大当り予告(予告演出)が実行可能に構成されている。大当り予告は、図柄組み合わせゲームが大当りとなる可能性を示唆する演出である。そして、本実施形態では、大当り予告の演出として、保留球数表示部27における始動保留球の個数表示の表示態様(個数表示部H1〜H4の表示態様)を「通常表示態様」とは異なる「特別表示態様」に変化させる演出を実行するようになっている。本実施形態では、個数表示部の表示態様が「特別表示態様」に変化した場合、その個数表示部に対応する図柄組み合わせゲームが大当り予告の対象となる。なお、本実施形態において個数表示部を「特別表示態様」で点灯表示させる場合には、「キャラクタの顔」を画像表示させている(例えば、図10、図12参照)。
さらに、本実施形態のパチンコ機10は、大当り予告の演出(表示態様の変化)に先立ち、個数表示部の表示態様が「通常表示態様」から「特別表示態様」に変化することを遊技者に事前に知らせる前知演出を実行可能に構成されている。「前知」とは、前もって知らせることである。前知演出は、図柄組み合わせゲームの開始直後(全列の図柄が変動中)に実行され、前知演出の実行後に大当り予告の演出として個数表示部の表示態様が変化する。そして、本実施形態では、可変表示器20に演出キャラクタY(例えば、図9参照)を画像表示して前知演出を実行させ、その演出キャラクタYの動作に関連付けて所定の個数表示部の表示態様を変化させるようになっている。即ち、前知演出と大当り予告の演出とは、関連付けられて実行される。さらに、前知演出では、何れの個数表示部の表示態様が「特別表示態様」に変化するのかを示唆するようになっている。本実施形態では、前知演出が画像表示される可変表示器20が、演出手段となる。
次に、パチンコ機10の制御構成を図3に従って説明する。
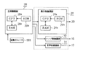
パチンコ機10の機裏側には、遊技機全体を制御する主制御基板28が装着されている。主制御基板28は、遊技機全体を制御するための各種処理を実行し、該処理結果に応じて各種の制御コマンドを演算処理する。そして、主制御基板28は、制御コマンドを所定の制御信号として出力する。また、機裏側には、可変表示器20(ゲーム表示部26と保留球数表示部27)を制御する表示制御基板29、装飾ランプ16を制御するランプ制御基板30、及びスピーカ17を制御する音声制御基板31が装着されている。前記各制御基板29〜31は、主制御基板28が出力した各種の制御信号(制御コマンド)を入力し、その制御コマンドに基づき遊技演出(表示演出、発光演出、音声演出)の制御を実行する。本実施形態において、表示制御基板29、ランプ制御基板30及び音声制御基板31は、前述のように制御対象が各別に定められており、該制御対象を専門的に制御することから、主制御装置である主制御基板28に対し、副制御装置(図3において破線で囲む)として機能する。
以下、主制御基板28及び表示制御基板29の具体的な構成を説明する。
主制御基板28には、メインCPU28aと、ROM28bと、RAM28cとが設けられている。メインCPU28aには、ROM28bと、RAM28cと、始動口センサSE1とが接続されている。メインCPU28aは、大当り判定用乱数、変動パターン振分乱数などの各種乱数の値を所定の周期毎に順次更新し、更新後の値をRAM28cの設定領域に設定して更新前の値を書き換えている。RAM28cには、パチンコ機10の動作中に適宜書き換えられる各種情報(保留記憶数、乱数の値など)が記憶(設定)されるようになっている。
また、ROM28bには、パチンコ機10を制御するためのメイン制御プログラム(図4と図5のフローチャートで示す各種処理の内容を含む)や、複数種類の変動パターン(演出パターン)が記憶されている。変動パターンは、図柄組み合わせゲームが開始してから該ゲームが終了する迄の遊技演出(表示演出、発光演出、音声演出)のベースとなるパターンを示すものである。変動パターンには、該変動パターン毎に、遊技演出の演出時間(変動時間)が定められている。そして、変動パターンは、大当り演出用の変動パターンとはずれ演出用の変動パターンとに分類されている。大当り演出は、図柄組み合わせゲームが、最終的に大当りの図柄組み合わせを表示するように展開される演出である。はずれ演出は、図柄組み合わせゲームが、最終的にはずれの図柄組み合わせを表示するように展開される演出である(はずれリーチ演出を含む)。
また、ROM28bには、大当り判定値(本実施形態では「7,13,29」)が記憶されている。大当り判定値は、大当りか否かを判定する大当り判定時に用いる判定値であり、大当り判定用乱数の取り得る値(本実施形態では「0〜946(全947通りの整数)」の中から定められている。なお、大当り判定用乱数の値を全947通りの整数とし、大当り判定値を3個の値とした場合、大当り判定における大当りの当選確率(抽選確率)は、947分の3(=315.6分の1)に設定される。
また、ROM28bには、予告判定値(仮当り判定値)が記憶されている。予告判定値は、大当り予告を実行するか否かを判定する予告判定時に用いる判定値であり、大当り判定用乱数の取り得る値の中から定められている。本実施形態では、2種類の予告判定値(大当り予告判定値とはずれ予告判定値)が定められている。具体的に言えば、大当り予告判定値は、大当り判定値「7,13,29」と同値となるように「7,13」の2個の値に定めていると共に、はずれ予告判定値は、大当り判定値「7,13,29」と異値となるように「67,117」の2個の値に定めている。大当り判定値と同値であるとは、大当り判定値(本実施形態では「7,13,29」)に含まれる値であることを示す。逆に、大当り判定値と異値であるとは、大当り判定値(本実施形態では「7,13,29」)に含まれない値であることを示す。予告判定では、大当り予告判定値を用いる大当り予告判定と、はずれ予告判定値を用いるはずれ予告判定が行われる。
次に、表示制御基板29について説明する。表示制御基板29には、サブCPU29aと、ROM29bと、RAM29cとが設けられている。サブCPU29aには、ROM29bと、RAM29cとが接続されている。ROM29bには、表示演出(図柄組み合わせゲームと始動保留球の報知を含む)を制御するための表示演出制御プログラムが記憶されている。また、ROM29bには、各種の画像データ(図柄の画像データ、背景の画像データ、登場キャラクタの画像データ、個数表示部H1〜H4の画像データ)が記憶されている。また、RAM29cには、パチンコ機10の動作中に適宜書き換えられる各種の情報(制御コマンド、制御フラグなど)が記憶(設定)されるようになっている。
以下、主制御基板28と表示制御基板29の制御内容を説明する。
主制御基板28のメインCPU28aは、所定の周期毎(本実施形態では4ms毎)にタイマ割込み処理(図示しない)を実行する。タイマ割込み処理において、メインCPU28aは、入力処理(図4)、図柄組み合わせゲーム開始処理(図5)、大当り遊技処理(図示しない)などの各種処理を実行する。入力処理は、始動入賞口23に入賞した遊技球の入賞検知に係る処理である。図柄組み合わせゲーム開始処理は、図柄組み合わせゲームを開始させるための処理であり、図柄組み合わせゲームが行われていない時に実行される。大当り遊技処理は、大当り遊技状態中に実行される処理であり、大入賞口扉24を開放及び閉鎖する処理や大当り遊技状態時の各種演出(オープニング演出、ラウンド演出、エンディング演出)を指示する処理を含む。
最初に、入力処理を図4に従って説明する。
メインCPU28aは、遊技球の入賞検知がなされたか否かを判定する(ステップS11)。ステップS11においてメインCPU28aは、遊技球の入賞検知時に始動口センサSE1が出力する検知信号を入力したか否かを判定する。ステップS11の判定結果が否定の場合、メインCPU28aは、入力処理を終了する。ステップS11の判定結果が肯定の場合、メインCPU28aは、RAM28cに記憶されている保留記憶数が上限数未満であるか否かを判定する(ステップS12)。ステップS12の判定結果が否定(保留記憶数=4)の場合、メインCPU28aは、入力処理を終了する。ステップS12の判定結果が肯定(保留記憶数<4)の場合、メインCPU28aは、保留記憶数を+1(1加算)し、保留記憶数を書き換える(ステップS13)。保留記憶数を書き換えたメインCPU28aは、書き換え後の保留記憶数の報知を指示する保留指定コマンドを表示制御基板29のサブCPU29aに出力する。
本実施形態では、保留記憶数を1加算して書き換えた場合、保留1指定コマンド、保留2指定コマンド、保留3指定コマンド又は保留4指定コマンドの何れかが出力される。具体的に言えば、保留記憶数を「0→1」に書き換えたときには保留1指定コマンドが、保留記憶数を「1→2」に書き換えたときには保留2指定コマンドが、保留記憶数を「2→3」に書き換えたときには保留3指定コマンドが、保留記憶数を「3→4」に書き換えたときには保留4指定コマンドが出力される。
続いて、メインCPU28aは、大当り判定用乱数の値をRAM28cから読み出して取得し(ステップS14)、該値を保留記憶数に対応付けられたRAM28cの所定の記憶領域に設定する(ステップS15)。RAM28cには、ステップS14で取得した大当り判定用乱数の値を設定する4つの記憶領域が定められている。そして、4つの記憶領域には、遊技球の入賞順に前記乱数の値が各別(始動保留球毎)に順次設定され、始動保留球が消化される毎に前記乱数の値がシフトされて設定される。そして、メインCPU28aは、ステップS14にて取得した大当り判定用乱数の値と大当り予告判定値とを比較し、大当り予告を実行するか否かを判定する(ステップS16)。ステップS16の判定が大当り予告判定となり、当該大当り予告判定は入賞検知を契機に(入賞検知された遊技球が始動保留球として記憶される毎に)行われる。ステップS16の判定結果が肯定(大当り判定用乱数の値=大当り予告判定値)の場合、メインCPU28aは、大当り予告の実行を指示する予告コマンドとして大当り予告コマンドをRAM28cに設定し(ステップS17)、ステップS20に移行する。
一方、ステップS16の判定結果が否定(大当り判定用乱数の値≠大当り予告判定値)の場合、メインCPU28aは、ステップS14にて取得した大当り判定用乱数の値とはずれ予告判定値とを比較し、大当り予告を実行するか否かを判定する(ステップS18)。ステップS18の判定がはずれ予告判定となり、当該はずれ予告判定は、大当り予告判定と同様に入賞検知を契機に行われる。ステップS18の判定結果が肯定(大当り判定用乱数の値=はずれ予告判定値)の場合、メインCPU28aは、大当り予告の実行を指示する予告コマンドとしてはずれ予告コマンドをRAM28cに設定し(ステップS19)、ステップS20に移行する。ステップS18の判定結果が否定(大当り判定用乱数の値≠はずれ予告判定値)の場合、メインCPU28aは、入力処理を終了する。
ステップS16の大当り予告判定が肯定判定された場合には、その始動保留球に基づく図柄組み合わせゲームは大当りとなる。一方、ステップS18のはずれ予告判定が肯定判定された場合には、その始動保留球に基づく図柄組み合わせゲームははずれとなる。なお、ステップS14にてメインCPU28aが大当り判定用乱数の値として大当り予告判定値(「7,13」)とは異値である大当り判定値と一致する値を取得した場合には、ステップS16とステップS18がそれぞれ否定判定される。この場合には、大当り予告判定値とは一致しないが、大当り判定値と一致する大当り判定用乱数の値が取得されているので、大当り予告が実行されず大当りとなる。例えば、大当り判定用乱数の値として大当り判定値に含まれる値「29」が取得された場合には、大当り予告が実行されず大当りとなる。
続いて、ステップS20に移行したメインCPU28aは、ステップS16又はステップS18を肯定判定した時点における保留記憶数を確認する。ステップS20の処理により、予告判定(大当り予告判定又ははずれ予告判定)が肯定判定された始動保留球が特定される。ステップS20にてメインCPU28aは、予告判定時点における始動保留球の個数を計数していることとなる。
続いて、メインCPU28aは、ステップS17又はステップS19で設定した予告コマンド(大当り予告コマンド又ははずれ予告コマンド)を出力する(ステップS21)。また、メインCPU28aは、ステップS20の確認結果に基づき、予告判定が肯定判定された時点の保留記憶数(始動保留球の個数(保留個数))を通知する保留通知コマンドを出力し(ステップS22)、入力処理を終了する。予告コマンドと保留通知コマンドは、表示制御基板29のサブCPU29aに出力される。本実施形態では、メイン制御プログラムに基づき入力処理(ステップS16,S18,S20)を実行するメインCPU28aが、仮当り判定手段及び保留球数計数手段として機能する。
次に、図柄組み合わせゲーム開始処理を図5に従って説明する。
メインCPU28aは、保留記憶数が「0(零)」であるか否かを判定する(ステップS30)。ステップS30の判定結果が肯定(保留記憶数=0)の場合、メインCPU28aは、保留中の図柄組み合わせゲームが存在しないことから、図柄組み合わせゲーム開始処理を終了する。一方、ステップS31の判定結果が否定(保留記憶数≠0)の場合、メインCPU28aは、保留記憶数を−1し、保留記憶数を書き換える(ステップS31)。保留記憶数を書き換えたメインCPU28aは、書き換え後の保留記憶数の報知を指示する保留指定コマンドを表示制御基板29のサブCPU29aに出力する。本実施形態では、保留記憶数を1減算して書き換えた場合、保留0指定コマンド、保留1指定コマンド、保留2指定コマンド又は保留3指定コマンドの何れかが出力される。具体的に言えば、保留記憶数を「1→0」に書き換えたときには保留0指定コマンドが、保留記憶数を「2→1」に書き換えたときには保留1指定コマンドが、保留記憶数を「3→2」に書き換えたときには保留2指定コマンドが、保留記憶数を「4→3」に書き換えたときには保留3指定コマンドが出力される。
続いて、メインCPU28aは、RAM28cの記憶領域に記憶(設定)されている大当り判定用乱数のうち、最初に記憶領域に記憶(設定)された大当り判定用乱数の値を読み出し(ステップS32)、その値と大当り判定値とを比較して大当りか否かを判定する(ステップS33)。ステップS33の判定が大当り判定となり、当該大当り判定は図柄組み合わせゲームの開始時(開始直前)に行われる。本実施形態では、メイン制御プログラムに基づき図柄組み合わせゲーム開始処理(ステップS33)を実行するメインCPU28aが、大当り判定手段として機能する。
ステップS33の判定結果が肯定(大当り判定用乱数の値=大当り判定値)の場合、メインCPU28aは、大当りを決定し、ステップS34の大当り設定処理を実行した後、図柄組み合わせゲーム開始処理を終了する。一方、ステップS33の判定結果が否定(大当り判定用乱数の値≠大当り判定値)の場合、メインCPU28aは、はずれを決定し、ステップS35のはずれ設定処理を実行した後、図柄組み合わせゲーム開始処理を終了する。
ステップS34の大当り設定処理にてメインCPU28aは、変動パターン振分乱数の値をRAM28cから読み出して取得し、該値に基づき大当り演出用の変動パターンを選択決定する。また、大当り設定処理にてメインCPU28aは、大当りの図柄組み合わせを形成する図柄(大当り図柄)を生成する。大当り図柄の生成に際してメインCPU28aは、全列の図柄(停止図柄左、停止図柄中、停止図柄右)が同一種類の図柄となるように生成する。一方、ステップS35のはずれ設定処理にてメインCPU28aは、変動パターン振分乱数の値をRAM28cから読み出して取得し、該値に基づきはずれ演出用の変動パターンを選択決定する。また、はずれ設定処理にてメインCPU28aは、はずれの図柄組み合わせを形成する図柄(はずれ図柄)を生成する。はずれ図柄の生成に際してメインCPU28aは、全列の図柄(停止図柄左、停止図柄中、停止図柄右)が同一種類の図柄とならないように生成する。大当り設定処理又ははずれ設定処理にて生成した停止図柄左、停止図柄中、停止図柄右は、図柄組み合わせゲームにおいて左図柄、中図柄、右図柄として最終的に表示される。
そして、メインCPU28aは、大当り設定処理又ははずれ設定処理にて選択決定した変動パターンを指示する変動パターン指定コマンドを表示制御基板29のサブCPU29aと、ランプ制御基板30及び音声制御基板31の各サブCPUに出力する。なお、変動パターン指定コマンドは、図柄組み合わせゲームの開始を指示するコマンドでもある。また、メインCPU28aは、大当り設定処理又ははずれ設定処理にて生成した図柄(大当り図柄又ははずれ図柄)を指示する図柄指定コマンドを表示制御基板29のサブCPU29aに出力する。さらに、メインCPU28aは、変動パターン指定コマンドで指示した変動パターンに定められている演出時間の経過時に、各列の図柄の停止(確定表示)を指示する全図柄停止コマンドを出力する。
次に、表示制御基板29(サブCPU29a)の制御内容を図6〜図8に従って説明する。表示制御基板29のサブCPU29aは、所定の割込み周期毎(本実施形態では2ms毎)に、コマンド入力処理(図6)を実行する。コマンド入力処理は、主制御基板28のメインCPU28aが出力する各種制御コマンドの入力に係る処理である。
サブCPU29aは、メインCPU28aが出力した制御コマンドを入力したか否かを判定する(ステップS41)。ステップS41の判定結果が否定の場合、サブCPU29aは、コマンド入力処理を終了する。一方、ステップS41の判定結果が肯定の場合、サブCPU29aは、保留指定コマンドを入力したか否かを判定する(ステップS42)。ステップS42の判定結果が肯定の場合、サブCPU29aは、保留処理を実行し(ステップS43)、その後にコマンド入力処理を終了する。
ステップS43の保留処理にてサブCPU29aは、保留指定コマンドで指示された保留記憶数と同数の個数表示部H1〜H4を点灯表示させ、始動保留球の個数を表示させる。具体的に言えば、保留記憶数が「1」の場合は個数表示部H1を点灯表示させ、保留記憶数が「2」の場合は個数表示部H1,H2を点灯表示させ、保留記憶数が「3」の場合は個数表示部H1,H2,H3を点灯表示させ、保留記憶数が「4」の場合は個数表示部H1,H2,H3,H4を点灯表示させる。なお、サブCPU29aは、保留0指定コマンドを入力し、保留記憶数が「0」の場合、何れの個数表示部H1〜H4も点灯表示させない(即ち、全ての個数表示部H1〜H4を消灯表示させる)。保留処理にてサブCPU29aは、個数表示部H1〜H4を「通常表示態様」で点灯表示させる。
一方、ステップS42の判定結果が否定の場合、サブCPU29aは、変動パターン指定コマンドを入力したか否かを判定する(ステップS44)。ステップS44の判定結果が肯定の場合、サブCPU29aは、ステップS45の変動処理(図7)を実行し、その後にコマンド入力処理を終了する。変動処理は、図柄組み合わせゲームを開始させるための処理である。一方、ステップS44の判定結果が否定の場合、サブCPU29aは、予告コマンド(大当り予告コマンド又ははずれ予告コマンドの何れか)を入力したか否かを判定する(ステップS46)。ステップS46の判定結果が肯定の場合、サブCPU29aは、入力した予告コマンドをRAM29cに設定する(ステップS47)。また、サブCPU29aは、予告コマンドと共に入力した保留通知コマンドに基づき、当該コマンドで指示された保留記憶数から始動保留球の個数(保留個数)を把握し、その保留個数をRAM29cに設定する(ステップS48)。その後、サブCPU29aは、コマンド入力処理を終了する。本実施形態では、コマンド入力処理にて予告コマンドと保留個数が設定(記憶)されるRAM29cが、判定結果記録手段と計数結果記録手段として機能する。
ステップS46の判定結果が否定の場合、サブCPU29aは、ラウンドコマンドを入力したか否かを判定する(ステップS49)。ラウンドコマンドは、ラウンド遊技の開始を指示するコマンドであり、ラウンドコマンドにはラウンド数も指示されている。ステップS49の判定結果が肯定の場合、サブCPU29aは、ステップS50のラウンド処理(図8)を実行し、その後にコマンド入力処理を終了する。ラウンド処理は、ラウンド演出を開始させるための処理である。一方、ステップS49の判定結果が否定の場合、サブCPU29aは、入力した制御コマンドに応じた処理を実行し(ステップS51)、その後にコマンド入力処理を終了する。例えば、図柄指定コマンドを入力した場合には、当該コマンドで指示された図柄をRAM29cに設定し、全図柄停止コマンドを入力した場合には、図柄組み合わせゲームを終了させるための処理を実行する。また、オープニングコマンドを入力した場合には、オープニング演出を開始させるための処理を実行し、エンディングコマンドを入力した場合には、エンディング演出を開始させるための処理を実行する。
次に、コマンド入力処理(図6)のステップS45で実行される変動処理を図7に従って説明する。
変動パターン指定コマンドを入力したサブCPU29aは、RAM29cに設定されている保留個数が「0(零)」であるか否かを判定する(ステップS60)。保留個数が「0」ではない場合、RAM29cには、コマンド入力処理(図6)のステップS47にて予告コマンドが設定されている。このため、ステップS60の判定は、予告コマンドが設定されているか否かに置き換えることもできる。ステップS60の判定結果が否定(保留個数>0)の場合、サブCPU29aは、RAM29cに設定されている保留個数を−1(1減算)し、保留個数を書き換える(ステップS61)。ステップS61にてサブCPU29aは、図柄組み合わせゲームの開始に伴って始動保留球が1つ消化されることから、保留個数を−1し、書き換える。そして、サブCPU29aは、書き換え後の保留個数が「0」であるか否かを判定する(ステップS62)。ステップS62の判定結果が否定(保留個数>0)の場合、サブCPU29aは、予告判定が肯定判定された始動保留球に基づく図柄組み合わせゲームの開始ではないことを把握する。
続いて、サブCPU29aは、前知演出が実行済みであるか否か(前知演出が既に実行されているか否か)を判定する(ステップS63)。例えば、サブCPU29aは、前知演出の実行時に前知演出実行済みフラグをRAM29cに設定し、ステップS63において前知演出実行フラグの有無によって判定を行う。ステップS63の判定結果が否定の場合、サブCPU29aは、今回の図柄組み合わせゲームにおいて大当り予告の演出(個数表示の表示態様を変化させる演出)を実行させると共に前知演出を実行させることから、前知演出を実行することをRAM29cに設定する(ステップS64)。例えば、前知演出用の実行フラグを設定する。その後、サブCPU29aは、ステップS65に移行する。一方、ステップS63の判定結果が肯定の場合、保留個数及び予告コマンドの設定後、既に大当り予告の演出と前知演出を実行させていることから、ステップS65に移行する。
ステップS65に移行したサブCPU29aは、RAM29cに設定されている保留個数に基づき、表示態様を変化させる個数表示部を特定し、その特定した個数表示部をRAM29cに設定する。例えば、保留個数が「3」の場合、サブCPU29aは、表示態様を変化させる個数表示部として個数表示部H3を特定する。なお、ステップS65では、前知演出によって示唆される個数表示部も特定されたこととなる。そして、サブCPU29aは、ステップS66に移行し、表示演出制御プログラムに基づき、図柄の変動に係る制御(図柄組み合わせゲームに係る制御)を開始させ、変動処理を終了する。
ステップS62の判定結果が肯定(保留個数=0)の場合、サブCPU29aは、予告判定が肯定判定された始動保留球に基づく図柄組み合わせゲームを開始させることから、RAM29cに設定されている予告コマンドと保留個数をクリアする(ステップS67)。また、ステップS63の判定に用いるフラグ(例えば、前知演出実行済みフラグ)が設定されている場合には、該フラグもクリアする。なお、ステップS62は、コマンド入力処理のステップS48で保留個数として「1」が設定された場合、ステップS61で保留個数が−1されることにより肯定判定される。即ち、予告判定が肯定判定された時の保留記憶数が「1」の場合には、前知演出と共に表示態様を変化させる演出も実行されない。その後、サブCPU29aは、ステップS66に移行する。
また、ステップS60の判定結果が肯定(保留個数=0)の場合、サブCPU29aは、前知演出に擬似した擬似演出を実行させるか否かを判定する(ステップS68)。擬似演出は、前知演出を似せた態様で実行される演出であり、遊技者に恰も前知演出が実行されているかのような印象を抱かせる演出である。擬似演出は、遊技者の期待感を煽る目的で実行されるものであり、擬似演出が出現した場合には大当り予告の演出は実行されない(即ち、個数表示の表示態様は変化しない)。ステップS68の判定は、乱数抽選によって行われ、例えば、当選確率を100分の1に設定して行われる。ステップS68の判定結果が肯定の場合、サブCPU29aは、擬似演出を実行することをRAM29cに設定する(ステップS69)。例えば、擬似演出用の実行フラグを設定する。その後、サブCPU29aは、ステップS66に移行する、また、サブCPU29aは、ステップS68の判定結果が否定の場合、ステップS66に移行する。なお、サブCPU29aは、図柄組み合わせゲームの開始時に保留0指定コマンドを入力している場合、擬似演出を実行させない。
変動処理を経て図柄組み合わせゲームを開始させる際、サブCPU29aは、変動パターン指定コマンドで指示された変動パターンから図柄組み合わせゲームの具体的な演出内容(図柄の変動動作、登場キャラクタの種類や動作など)を特定する。そして、サブCPU29aは、特定した演出内容に基づき、画像データを用いて画像を順次生成し、その生成した画像を順次、可変表示器20に表示させる。その後、図柄組み合わせゲームを開始させたサブCPU29aは、全図柄停止コマンドを入力すると、図柄指定コマンドで指示された図柄による図柄組み合わせを可変表示器20に表示させ、図柄組み合わせゲームを終了させる。
そして、サブCPU29aは、変動処理のステップS64で前知演出の実行を設定し、かつ、ステップS65で表示態様を変化させる個数表示部を設定している場合、図柄組み合わせゲームの開始直後に前知演出を画像表示させ、その前知演出に関連付けて個数表示部の表示態様を「特別表示態様」に変化させる。その一方で、サブCPU29aは、変動処理のステップS64で前知演出の実行を設定せずに、ステップS65で表示態様を変化させる個数表示部を設定している場合、その個数表示部の表示態様を図柄組み合わせゲームの開始と同時に「特別表示態様」に変化させる。即ち、ステップS62が否定判定される一方で、ステップS63が肯定判定される場合は、前知演出が実行された図柄組み合わせゲーム以降の図柄組み合わせゲームが開始されるときである。そして、始動保留球は、図柄組み合わせゲームが開始される毎に順次消化される。このため、サブCPU29aは、変動処理により、始動保留球の消化に併せて「特別表示態様」とする個数表示部を変更する。
また、サブCPU29aは、変動処理のステップS68で擬似演出の実行を設定している場合、図柄組み合わせゲームの開始直後に擬似演出を画像表示させる。なお、図柄組み合わせゲームにおいて前知演出が出現するタイミングと擬似演出が出現するタイミングは、同一とされている。
次に、コマンド入力処理(図6)のステップS50で実行されるラウンド処理を図8に従って説明する。
ラウンドコマンドを入力したサブCPU29aは、10ラウンド目のラウンド遊技を開始させる10ラウンドコマンドを入力したか否かを判定する(ステップS70)。ステップS70の判定結果が肯定の場合、サブCPU29aは、RAM29cに設定されている保留個数が「0(零)」であるか否かを判定する(ステップS71)。ステップS71の判定結果が否定の場合、サブCPU29aは、RAM29cに大当り予告コマンドが設定されているか否かを判定する(ステップS72)。保留個数が「0」でない場合、RAM29cには、コマンド入力処理(図6)のステップS47にて予告コマンドが設定されている。このため、サブCPU29aは、設定されている予告コマンドが大当り予告コマンドであるか、又ははずれ予告コマンドであるかをステップS72で判定している。そして、サブCPU29aは、大当り予告コマンドが設定されている場合はステップS72を肯定判定し、はずれ予告コマンドが設定されている場合はステップS72を否定判定する。
ステップS72の判定結果が肯定の場合、サブCPU29aは、10ラウンド目のラウンド遊技中に大当り予告の演出(個数表示の表示態様を変化させる演出)を実行させると共に前知演出を実行させることから、前知演出を実行することをRAM29cに設定する(ステップS73)。例えば、前知演出用の実行フラグを設定する。本実施形態では、ステップS72が肯定判定された場合(大当り予告フラグが設定されている場合)に前知演出と大当り予告の演出が実行されるので、大当り遊技状態中に実行される前知演出と大当り予告の演出は大当り確定演出となる。即ち、大当り遊技状態中に前知演出と大当り予告の演出が実行された場合には、該大当り遊技状態中の始動保留球に基づいて大当り遊技状態終了後に開始される図柄組み合わせゲームの何れかは大当りとなる。
続いて、サブCPU29aは、RAM29cに設定されている保留個数を確認し、その保留個数に基づき、表示態様を変化させる個数表示部を特定し、その特定した個数表示部をRAM29cに設定する(ステップS74)。そして、サブCPU29aは、ステップS75に移行し、表示演出制御プログラムに基づき、ラウンド演出に係る制御を開始させ、ラウンド処理を終了する。一方、ステップS70又はステップS72の判定結果が否定の場合、及びステップS71の判定結果が肯定の場合、サブCPU29aは、ステップS75に移行する。
ラウンド処理を経てラウンド演出を開始させる際、サブCPU29aは、各ラウンドコマンド(1〜15ラウンドコマンド)からラウンド遊技の具体的な演出内容(ラウンド表示、登場キャラクタの種類や動作など)を特定する。そして、サブCPU29aは、特定した演出内容に基づき、画像データを用いて画像を順次生成し、その生成した画像を順次、可変表示器20に表示させる。10ラウンド目のラウンド演出開始時にサブCPU29aは、ラウンド処理のステップS73で前知演出の実行を設定し、かつ、ステップS74で表示態様を変化させる個数表示部を設定している場合、10ラウンド目のラウンド演出の開始直後に前知演出を画像表示させる。そして、サブCPU29aは、前知演出に関連付けて個数表示部の表示態様を「特別表示態様」に変化させる。
本実施形態では、表示演出制御プログラムに基づき前知演出を実行させ、かつ、個数表示部の表示態様を変化させるサブCPU29aが、前知演出制御手段及び保留球数表示制御手段として機能する。また、本実施形態では、表示演出制御プログラムに基づき変動処理(ステップS60)を実行するサブCPU29aが、判定結果確認手段及び計数結果確認手段として機能する。また、本実施形態では、表示演出制御プログラムに基づきラウンド処理(ステップS71,72)を実行するサブCPU29aが、判定結果確認手段及び計数結果確認手段として機能する。また、本実施形態では、表示演出制御プログラムに基づき変動処理(ステップS68)を実行するサブCPU29aが、擬似演出判定手段として機能する。
以下、本実施形態のパチンコ機10において演出(大当り予告の演出、前知演出、擬似演出)が実行される態様を図9〜図12に従って説明する。
図9及び図10は、図柄組み合わせゲーム中に前知演出と大当り予告の演出が実行される態様を示している。図11は、図柄組み合わせゲーム中に擬似演出が実行される態様を示している。図12は、大当り遊技状態中(10ラウンド目のラウンド遊技中)に前知演出と大当り予告の演出が実行される態様を示している。また、図9〜図11において、変動中の図柄列を「下向き矢印」で示す。なお、前知演出、大当り予告の演出、及び擬似演出の各演出内容は、表示演出制御プログラム中に示されている。
最初に、図9及び図10に従って図柄組み合わせゲーム中に前知演出と大当り予告の演出が実行される態様を説明する。
図9(a)には、図柄組み合わせゲームが行われている時に4つ目の始動保留球(個数表示部H4の点灯表示に対応する始動保留球)となる遊技球の入賞があり、全ての個数表示部H1〜H4が点灯表示された状態が示されている。前記入賞時、メインCPU28aは、保留4指定コマンドを出力し、該コマンドを入力したサブCPU29aは個数表示部H1〜H4を「通常表示態様」で点灯表示させる。また、前記入賞時、メインCPU28aは、予告判定(入力処理(図4))を行う。以下の説明では、前記予告判定が肯定判定され、メインCPU28aが、予告コマンド(大当り予告コマンド又ははずれ予告コマンドの何れか)と保留記憶数「4」を通知する保留通知コマンドを出力したものする。そして、サブCPU29aは、予告コマンドをRAM29cに設定すると共に、保留個数として「4」をRAM29cに設定する。なお、1〜3つ目の始動保留球(個数表示部H1〜H3の点灯表示に対応する始動保留球)となる遊技球の入賞時にも予告判定が行われるが、何れの予告判定も否定判定され、かつ、前記入賞時には大当り判定値と一致しない大当り判定用乱数の値が取得されているものとする。
以上のような前提の下、図9(a)に示した図柄組み合わせゲームが終了すると、サブCPU29aは、変動パターン指定コマンドを入力し、変動処理(図7)を実行する。変動処理にてサブCPU29aは、RAM29cに保留個数が設定され、かつ、前知演出が実行されていないことから、前知演出の実行をRAM29cに設定する。また、サブCPU29aは、保留個数を−1して「3」とし、保留個数「3」に基づき表示態様を変化させる個数表示部として個数表示部H3を設定する。そして、サブCPU29aは、可変表示器20の制御内容を制御し、図柄組み合わせゲームを開始させる。図柄組み合わせゲームの開始と同時に保留球数表示部27では、サブCPU29aが保留3指定コマンドを入力していることから、個数表示部H1〜H3が「通常表示態様」で点灯表示される(図9(b))。
一方、ゲーム表示部26では、図柄組み合わせゲームの開始に伴って各列の図柄の変動が開始される(図9(b))。そして、図柄組み合わせゲームの開始直後、可変表示器20には、前知演出が画像表示される。前知演出が開始されると、可変表示器20には、該可変表示器20の上方からパラシュートを背負った演出キャラクタYがゆっくりと降下してくる(図9(c))。演出キャラクタYは、表示態様が「特別表示態様」に変化する個数表示部を目掛けて降下してくる(図9(d))。この例では、表示態様を「特別表示態様」に変化させる個数表示部として個数表示部H3を設定していることから、演出キャラクタYは個数表示部H3を目掛けて降下してくる。表示態様が「特別表示態様」に変化する個数表示部を目掛けて演出キャラクタYを降下させることにより、何れの個数表示部の表示態様が「特別表示態様」に変化するのかを遊技者に知らせることが可能である。そして、降下してきた演出キャラクタYは、やがて個数表示部H3と重なる。その結果、個数表示部H3の表示態様は、「通常表示態様(「●(黒丸)」)」から「特別表示態様(「キャラクタの顔」)」に変化する(図10(a))。この表示態様の変化により、大当り予告が実行されたこととなる。図10(a)に示す状態において、遊技者は、「特別表示態様」となった個数表示部H3に対応する図柄組み合わせゲームが大当りとなるかもしれないという期待感を強く抱く。
その後、図9(b)〜(d)と図10(a)に示した図柄組み合わせゲームが終了すると、サブCPU29aは、再び変動パターン指定コマンドを入力し、変動処理(図7)を実行する。変動処理にてサブCPU29aは、RAM29cに保留個数が設定されているが、既に前知演出が実行されていることから、表示態様を変化させる個数表示部のみをRAM29cに設定する。このとき、サブCPU29aは、保留個数を−1して「2」とし、その保留個数「2」に基づき表示態様を変化させる個数表示部として個数表示部H2を設定する。そして、サブCPU29aは、可変表示器20の制御内容を制御し、図柄組み合わせゲームを開始させる。保留球数表示部27では、図柄組み合わせゲームの開始によって始動保留球が1つ消化されたため、「特別表示態様」で点灯表示される個数表示部が個数表示部H3から個数表示部H2に変更される(図10(b))。
その後、図10(b)に示した図柄組み合わせゲームが終了すると、サブCPU29aは、再び変動パターン指定コマンドを入力し、変動処理(図7)を実行する。変動処理にてサブCPU29aは、保留個数を−1して「1」とし、その保留個数「1」に基づき表示態様を変化させる個数表示部として個数表示部H1を設定する。そして、サブCPU29aは、可変表示器20の制御内容を制御し、図柄組み合わせゲームを開始させる。保留球数表示部27では、図柄組み合わせゲームの開始によって始動保留球がさらに1つ消化されたため、「特別表示態様」で点灯表示される個数表示部が個数表示部H2から個数表示部H1に変更される(図10(c))。
その後、図10(c)に示した図柄組み合わせゲームが終了すると、サブCPU29aは、再び変動パターン指定コマンドを入力し、変動処理(図7)を実行する。変動処理にてサブCPU29aは、保留個数を−1し、保留個数が「0」となることから、表示態様を変化させる個数表示部を設定しない。そして、サブCPU29aは、可変表示器20の制御内容を制御し、図柄組み合わせゲームを開始させる。保留球数表示部27では、図柄組み合わせゲームの開始によって始動保留球がさらに1つ消化されたため、「特別表示態様」で点灯表示される個数表示部がなくなる(図10(d))。図10(d)に示した図柄組み合わせゲームは、予告判定が肯定判定された始動保留球に基づく図柄組み合わせゲームである。このため、大当り予告判定が肯定判定されて大当り予告の演出が実行されている場合には、大当りの図柄組み合わせが表示され、大当りとなる。一方で、はずれ予告判定が肯定判定されて大当り予告の演出が実行されている場合には、はずれの図柄組み合わせが表示され、はずれとなる。
次に、図11に従って擬似演出が実行される態様を説明する。
擬似演出は、変動処理(図7)のステップS60,S68が肯定判定された場合に、実行される。そして、サブCPU29aが変動処理にて擬似演出の実行を設定した場合、可変表示器20には、図柄組み合わせゲームの開始直後に擬似演出が画像表示される。この擬似演出は、前知演出と同様に実行されるため、まず、パラシュートを背負った演出キャラクタYがゆっくりと降下してくる(図11(a))。しかし、擬似演出では、保留球数表示部27へ向かう途中で演出キャラクタの経路が可変表示器20の左方側に変更される(図11(b),(c))。そして、演出キャラクタYは、何れの個数表示部H1〜H4とも重なることなく、可変表示器20から消える。
次に、図12に従って大当り遊技状態中(10ラウンド目のラウンド遊技中)に前知演出と大当り予告の演出が実行される態様を説明する。
図12(a)には、始動保留球が「4」の状態で10ラウンド目のラウンド遊技が開始したときの可変表示器20が示されている。10ラウンド目のラウンド遊技開始時、全ての個数表示部H1〜H4は「通常表示態様」で点灯表示されている。以下の説明では、3つ目の始動保留球(個数表示部H3の点灯表示に対応する始動保留球)の入賞時に行われた予告判定(大当り予告判定)が肯定判定され、メインCPU28aが、大当り予告コマンドと保留記憶数「3」を通知する保留通知コマンドを出力したものする。そして、サブCPU29aは、大当り予告コマンドをRAM29cに設定すると共に保留個数として「3」をRAM29cに設定する。なお、1つ目、2つ目及び4つ目の始動保留球(個数表示部H1,H2,H4の点灯表示に対応する始動保留球)となる遊技球の入賞時にも予告判定が行われるが、何れの予告判定も否定判定され、かつ、前記入賞時には大当り判定値と一致しない大当り判定用乱数の値が取得されているものとする。
以上のような前提の下、サブCPU29aは、10ラウンド目のラウンド遊技の開始を指示する10ラウンドコマンドを入力すると、ラウンド処理(図8)のステップS70〜S72を経てステップS73で前知演出の実行をRAM29cに設定する。また、サブCPU29aは、RAM29cに設定されている保留個数を確認し、保留個数が「3」であることから、表示態様を変化させる個数表示部として個数表示部H3を設定する。そして、サブCPU29aは、可変表示器20の制御内容を制御し、10ラウンド目のラウンド遊技に対応するラウンド演出を開始させる(図12(a))。10ラウンド目のラウンド遊技が開始すると、可変表示器20(ゲーム表示部26)には、10ラウンド目であることを示す「10R」の文字画像などが表示され、ラウンド演出が画像表示される。
そして、10ラウンド目のラウンド遊技の開始直後、可変表示器20には、前知演出が画像表示される。この前知演出は、図9及び図10に示す態様と同様に実行される。即ち、可変表示器20には、該可変表示器20の上方からパラシュートを背負った演出キャラクタYがゆっくりと降下してくる(図12(c))。演出キャラクタYは、個数表示の表示態様が「特別表示態様」に変化する個数表示部H3を目掛けて降下してくる(図12(c))。そして、降下してきた演出キャラクタYは、やがて個数表示部H3と重なる。その後、個数表示部H3の表示態様は、「通常表示態様(「●(黒丸)」)」から「特別表示態様(「キャラクタの顔」)」に変化する(図12(d))。前知演出が画像表示されることにより、遊技者は、前知演出の段階で、大当り遊技状態中の始動保留球にて大当りとなることを認識できる。そして、遊技者は、個数表示部の表示態様が「特別表示態様」に変化することにより、何れの始動保留球で大当りとなるかを認識できる。従って、大当り遊技状態中に、該大当り遊技状態終了後に再び大当り遊技状態が生起されることを認識し、その喜びを一層増大させる。
その後、大当り遊技状態が終了すると、サブCPU29aは、変動パターン指定コマンドを入力する毎に、変動処理(図7)を実行する。変動処理にてサブCPU29aは、既に前知演出が実行されていることから(大当り遊技状態中に実行済み)、始動保留球の消化に併せて「特別表示態様」で点灯表示させる個数表示部を設定する。その結果、大当り遊技状態終了後、可変表示器20では、図10(b)〜(d)と同様に「特別表示態様」で点灯表示される個数表示部が図柄組み合わせゲーム開始毎に変更される。そして、「特別表示態様」で点灯表示された個数表示部に対応する図柄組み合わせゲームが開始すると、該ゲームでは、大当りの図柄組み合わせが表示され、大当りとなる。
従って、本実施形態によれば、以下に示す効果を得ることができる。
(1)保留球数表示部27における始動保留球の個数表示の表示態様を変化させる前に、表示態様が変化することを前知演出(演出キャラクタYの画像表示)にて事前に知らせるようにした。このため、個数表示の表示態様の変化を遊技者に確実に認識させることができ、表示態様を変化させる演出を遊技者に分かり易く表現することができる。従って、表示態様の変化を認識した遊技者に、「今後のゲーム展開において何かが起きるかもしれない」という期待感を抱かせることができる。
(2)また、図柄組み合わせゲーム中と大当り遊技状態中に、個数表示の表示態様を変化させ、かつ、前知演出を実行させるので、通常遊技状態中(大当り遊技状態が付与されていない状態)と大当り遊技状態中の何れの状態においても、遊技者に個数表示の表示態様を注目させることができる。特に、大当り遊技状態終了後、遊技者は、早い段階で次の大当りが生起されることを期待しているため、大当り遊技状態中に前知演出を実行させると共に個数表示の表示態様を変化させることで、その期待をより一層強く抱かせることができる。
(3)また、大当り遊技状態中は、大当りとなる始動保留球が存在する場合に前知演出を実行させると共に個数表示の表示態様を変化させるので、大当り確定演出となる。このように通常遊技状態中と大当り遊技状態中とで演出の意味合いを異ならせることで、その演出の出現によって遊技者が抱く期待感に変化を持たせることができ、演出の興趣を向上させることができる。
(4)通常遊技状態中(図柄組み合わせゲーム中)は、前知演出に擬似した擬似演出を実行させることにより、個数表示の表示態様を変化させる演出自体にさらなる面白みを付与することができる。即ち、前知演出のみを実行させると、その前知演出の出現によって表示態様が変化することを把握できてしまい、時間の経過と共に演出自体に新鮮味がなくなってしまうが、擬似演出を加えることにより、表示態様が実際に変化する迄の間、表示態様が変化することへの期待感を抱かせることができる。
(5)図柄組み合わせゲームの開始直後に前知演出を実行し、かつ、個数表示の表示態様を変化させることにより、遊技者にインパクトを与えることができる。即ち、図柄組み合わせゲームの開始時は、該ゲームの展開に遊技者が注目することから、このときに前知演出を実行し、かつ、表示態様を変化させることにより、今後の展開への期待感をより一層抱かせることができる。また、図柄組み合わせゲームの開始直後は、全列が図柄変動をしており、前知演出が実行されていることが分かり易い。
(6)また、大当り遊技状態中は、10ラウンド目のラウンド遊技中に前知演出を実行し、かつ、個数表示の表示態様を変化させるようにした。即ち、これらの演出を最終の回(本実施形態では15ラウンド目)のラウンド遊技に近いラウンド遊技(後半のラウンド遊技)で実行させる。このため、後半のラウンド遊技が実行されるまでの間に予告判定の判定結果を多く記憶することができ、より多くの始動保留球を対象として演出(個数表示の表示態様の変化と前知演出)を実行させることができる。また、大当り遊技状態中に前記演出(個数表示の表示態様の変化と前知演出)が出現する機会を増やすことができる。なお、大当り遊技状態中は、図柄組み合わせゲームが行われず、始動保留球が消化されないので、後半のラウンド遊技が行われる頃には保留記憶数がほぼ上限数に達している。
(7)予告判定の判定結果を記録し、その記録内容に応じて前知演出を実行させることにより、予告判定のタイミングと前知演出の実行タイミングとを異ならせることができる。前記実施形態では、入賞検知時に予告判定を行い、図柄組み合わせゲームの開始直後、又は10ラウンド目のラウンド遊技中に前知演出を実行させている。
(8)予告判定が肯定判定された時に計数した保留記憶数の計数結果を記憶し、その記憶内容に応じて前知演出を実行させる。このため、前述した効果(7)と同様に、予告判定のタイミングと前知演出の実行タイミングとを異ならせることができる。また、計数結果を記録しておくことにより、予告判定が肯定判定された始動保留球を把握でき、その始動保留球を対象として前知演出を実行し、かつ、前記始動保留球に対応する個数表示部の表示態様を確実に変化させることができる。また、始動保留球の消化に伴って前記始動保留球に対応する個数表示部の表示態様を「特別表示態様」に確実に変更できる。
(9)大当り遊技状態中は、10ラウンド目のラウンド遊技において前知演出を実行させ、かつ、個数表示部の表示態様を変化させるようにした。即ち、予め定めた回のラウンド遊技中に個数表示の表示態様の変化と共に前知演出を実行させる。このため、前記ラウンド遊技の到来を楽しみにさせることができると共に、そのラウンド遊技中の演出に遊技者を注目させることができる。また、前記演出を実行させるラウンド遊技を定めておくことで、遊技者の見落としを抑制できる。
(10)可変表示器20にて前知演出を実行させる。通常遊技状態中、可変表示器20では、図柄組み合わせゲームが行われており、遊技中の遊技者が注目している。同様に、大当り遊技状態中、可変表示器20では、ラウンド演出などの大当り遊技に係る演出が行われており、遊技者が注目している。従って、遊技者が注目する可変表示器20にて前知演出を実行させるので、前知演出が実行されていることを遊技者に確実に認識させることができる。また、可変表示器20には、ゲーム表示部26と保留球数表示部27とが形成されている。このようなゲーム表示部26と保留球数表示部27とが一体化された可変表示器20にて前知演出を実行させることにより、前知演出と表示態様が変化する演出とを関連付けて行わせることができ、より面白みがある演出を実現できる。
(11)前知演出にて何れの個数表示部の表示態様が変化するのかを知らせるようにした。このため、個数表示の表示態様が変化することに加えて何れの個数表示部の表示態様が変化するのかを遊技者に容易に認識させることができる。前記実施形態では、演出キャラクタYの降下経路を視認することにより、該演出キャラクタYが何れの個数表示部に達するのかを予想できる。そして、前知演出にて表示態様が変化する個数表示部を特定することにより、何れの始動保留球に基づく図柄組み合わせゲームに特に注目すべきかを遊技者に認識させることができる。
なお、上記実施形態は以下のように変更してもよい。
・実施形態において、図13(a)に示すように、演出キャラクタYと共に「保留3つ目に注意してね!」というようなメッセージ(図に示す吹き出し)を画像表示させ、何れの個数表示部の表示態様が変化するのかを知らせるようにしても良い。前知演出の場合には、保留個数に基づき表示態様を変化させる個数表示部を特定しているので、その特定した結果から前記メッセージの画像を生成できる。そして、前知演出の場合には、図13(a)にて出現した演出キャラクタYが個数表示部と重なり、該個数表示部(この例では個数表示部H3)の表示態様が「特別表示態様」に変化する(図13(b))。一方、疑似演出の場合には、例えば、入力している最新の保留指定コマンドから保留記憶数を把握し、その保留記憶数に基づき個数表示部を任意に決定し、前記メッセージの画像を生成すれば良い。疑似演出の場合には、図13(a)にて出現した演出キャラクタYが何れの個数表示部とも重なることなく、可変表示器20から消えるため、図13(c)に示すように何れの個数表示部も表示態様が「特別表示態様」に変化しない(「通常表示態様」のまま)。図13(a)に示すようなメッセージを画像表示し、個数表示部を直接的に文字で知らせることにより、より分かり易い演出を実現できる。
・実施形態において、前知演出を実行させる場合(予告コマンドを入力している場合)には、例えば、図14に示すように「保留3つ目が変化するよ!」など、表示態様が変化することを確定的に報知するメッセージを画像表示しても良い。
・実施形態において、予告判定が肯定判定された時に、個数表示部の表示態様を変化させるか否かをさらに判定し、この判定結果が肯定の場合に表示態様を変化させるようにしても良い。この構成によれば、予告判定が肯定判定されても必ず個数表示の表示態様が変化するとは限らず、遊技演出のバランスを保つことができる。また、大当り遊技状態中では、個数表示の表示態様の変化と共に前知演出が実行されていなくても、大当り遊技状態中の始動保留球にて大当りとなる状態を作り出すことができる。
・実施形態において、通常表示態様と特別表示態様を、個数表示部H1〜H4を点灯表示させる際の色、大きさ又は形状によって差別化しても良い。
・実施形態において、前知演出又は擬似演出の演出内容を変更しても良い。例えば、演出キャラクタYを登場させずに、文字画像のみを表示しても良い。
・実施形態において、ゲーム表示部26と保留球数表示部27を別構成としても良い。例えば、ゲーム表示部26を液晶式の可変表示器20にて構成する一方で、保留球数表示部27を可変表示器20(ゲーム表示部26)とは別に複数(保留記憶数の上限数が「4」であれば4つ)の発光部材(ランプ、LEDなど)により構成しても良い。
・また、実施形態において、ゲーム表示部26と保留球数表示部27を別構成とする場合、保留球数表示部27を7セグメントLEDにて構成しても良い。7セグメントLEDを用いる場合は、保留記憶数は、1桁の数字にて表示される。この場合、例えば、7セグメントLEDに表示される数字の表示色を異ならせることにより、「通常表示態様」と「特別表示態様」とを差別化しても良い。
・実施形態において、前知演出を可変表示器20以外の装置で実行しても良い。例えば、装飾ランプ16などの発光装置による発光演出やスピーカ17による音声演出にて前知演出を実行しても良い。
・実施形態において、前知演出を実行させるタイミングを変更しても良い。例えば、図柄組み合わせゲームの開始後、左列の図柄が表示された時、右列の図柄が表示された時、又はゲーム終了直前などに前知演出を実行しても良い。また、大当り遊技状態中においては、前知演出を実行させるラウンド遊技を最終回のラウンド遊技や3ラウンド目のラウンド遊技などに変更しても良い。なお、大当り遊技状態中は、最終回のラウンド遊技に近いラウンド遊技で実行させることがより好ましい。
・実施形態において、予告判定値として定められる値や予告判定値の個数を変更しても良い。例えば、大当り判定値と同値のみを予告判定値として設定しても良い。
・実施形態において、大当り遊技状態中、はずれ予告コマンドを入力している場合にも前知演出を実行させるようにしても良い。
・実施形態において、入力処理ではステップS20で確認した保留記憶数分の図柄組み合わせゲームが終了する迄の間、予告判定を行わないようにしても良い。また、コマンド入力処理のステップS48で設定した保留個数が「0」となる迄の間、サブCPU29aが予告コマンドを入力しない、又は入力しても設定を行わないようにしても良い。
・実施形態において、予告コマンドを1種類としても良い。この場合、大当り予告判定(ステップS16)が肯定判定されていれば、予告コマンドに加えて、遊技球の入賞検知時に大当り判定用乱数と共に取得される大当り図柄用乱数の乱数値(又は該乱数値から特定される図柄)を指定するコマンドを出力する。この構成により、大当り予告判定(ステップS16)又ははずれ予告判定(ステップS18)の何れが肯定判定されたかを区別できる。
・実施形態において、予告判定は、大当り判定用乱数と同期して更新され、遊技球の入賞時に取得される演出用乱数を用いて行っても良い。
・実施形態において、大当り遊技状態中のみを対象として前知演出と個数表示部の表示態様を変化させる演出を実行しても良い。この場合、メインCPU28aの制御内容は、次のように変更しても良い。即ち、メインCPU28aは、通常遊技状態時に入力処理(図4)を実行する場合、ステップS15までの処理を行う一方で、大当り遊技状態時に入力処理を実行する場合、ステップS15以降の処理も実行する。但し、実施形態と同様に大当り確定演出とする場合には、ステップS16,S17,S20,S21,S22の処理を行い、ステップS16が否定判定のときには入力処理を終了する。そして、サブCPU29aは、ラウンドコマンドを入力すると、ラウンド処理(図8)を行う。また、サブCPU29aは、変動パターン指定コマンドを入力すると、変動処理(図7)のステップS60,S61,S62,S65,S66,S67の処理を行う。
・また、実施形態において、前述同様に大当り遊技状態中のみを対象として前知演出と個数表示部の表示態様を変化させる演出を実行させる場合には、メインCPU28aの制御内容を次のように変更しても良い。即ち、メインCPU28aは、通常遊技状態時と大当り遊技状態時において遊技球の入賞を検知した場合、入力処理(図4)のステップS11〜S15までの処理を行う。そして、メインCPU28aは、大当り遊技状態中の所定時期に、その時点でRAM28cに記憶されている全ての大当り判定用乱数の値を対象として予告判定(大当り確定演出とする場合には大当り予告判定のみ)を行い、判定結果が肯定の場合には予告コマンドと保留通知コマンドを出力する。予告判定を行う時期としては、例えば、10ラウンド目のラウンド演出を指示するラウンドコマンドの出力直前(即ち、ラウンド遊技の開始直前)となる。なお、サブCPU29aは、前述した別例と同じ処理を行う。
次に、前記実施形態及び別例から把握できる技術的思想を以下に追記する。
(イ)前記仮当り判定手段は、前記乱数値が前記仮当り判定値と一致するか否かの判定と共に前記個数表示部の表示態様を変化させるか否かの判定を行い、両判定の判定結果が肯定の場合に仮当り判定手段としての判定結果を肯定判定する請求項1〜請求項3のうちいずれか一項に記載の遊技機。
(ロ)前記保留球数表示制御手段は、前記仮当り判定手段の判定結果が肯定の場合、前記図柄変動ゲームの実行中に前記始動保留球の個数表示の表示態様をさらに変化させるものとされ、前記大当り遊技状態中に前記表示態様を変化させる場合には、前記乱数値が大当り判定値と同値の仮当り判定値と一致し、前記仮当り判定手段の判定結果が肯定となる始動保留球が存在するときに前記表示態様を変化させる請求項1〜請求項3のうちいずれか一項に記載の遊技機。
(ハ)前記予め定めた回のラウンド遊技は、最初の回のラウンド遊技よりも最終の回のラウンド遊技に近いラウンド遊技である請求項2又は請求項3に記載の遊技機。
(ニ)前記大当り遊技状態は、複数回のラウンド遊技からなり、そのラウンド遊技中は前記ゲーム表示手段にてラウンド演出が実行され、前記前知演出制御手段は、前記ラウンド演出が実行される前記ゲーム表示手段にて前記前知演出を実行させる請求項1〜請求項3のうちいずれか一項に記載の遊技機。
パチンコ遊技機の機表側を示す正面図。 可変表示器を示す拡大正面図。 パチンコ遊技機の制御構成を示すブロック図。 入力処理を示すフローチャート。 図柄組み合わせゲーム開始処理を示すフローチャート。 コマンド入力処理を示すフローチャート。 変動処理を示すフローチャート。 ラウンド処理を示すフローチャート。 (a)〜(d)は、図柄組み合わせゲーム中に前知演出が実行され、始動保留球の個数表示の表示態様が変化する態様を示す模式図。 (a)〜(d)は、図柄組み合わせゲーム中に前知演出が実行され、始動保留球の個数表示の表示態様が変化する態様を示す模式図。 (a)〜(c)は、図柄組み合わせゲーム中に疑似演出が実行される態様を示す模式図。 (a)〜(d)は、大当り遊技状態中に前知演出が実行され、始動保留球の個数表示の表示態様が変化する態様を示す模式図。 (a)〜(c)は、前知演出の別例を示す模式図。 前知演出の別例を示す模式図。
符号の説明
H1,H2,H3,H4…個数表示部、SE1…始動口センサ、20…可変表示器、23…始動入賞口、28a…メインCPU、28c…RAM、29a…サブCPU。

Claims (3)

  1. 始動検知手段によって検知された遊技球を始動保留球として記憶すると共に該遊技球の検知時に取得した乱数値を前記始動保留球と対応させて記憶する記憶手段と、前記記憶手段に記憶されている前記始動保留球の個数を表示する保留球数表示手段と、前記始動保留球に基づき図柄変動ゲームを行うゲーム表示手段と、前記図柄変動ゲームの開始に際して、前記始動保留球と対応させて記憶された前記乱数値が大当り判定値と一致するか否かを判定する大当り判定手段とを備え、前記大当り判定手段の判定結果が肯定の場合には、前記図柄変動ゲームの表示結果が大当り表示結果となって大当り遊技状態が付与される遊技機において、
    前記乱数値が少なくとも前記大当り判定値と同値を含む仮当り判定値と一致するか否かを判定する仮当り判定手段と、
    前記大当り遊技状態中に前記仮当り判定手段の判定結果が肯定となる始動保留球が前記記憶手段に記憶されている場合、前記大当り遊技状態中に前記保留球数表示手段における前記始動保留球の個数表示の表示態様を変化させる保留球数表示制御手段と、
    前記個数表示の表示態様を変化させる場合に、前記表示態様が変化することを遊技者に事前に知らせる前知演出を演出手段に実行させる前知演出制御手段とを備えた遊技機。
  2. 前記大当り遊技状態は、複数回のラウンド遊技からなり、
    前記仮当り判定手段による判定結果を記録する判定結果記録手段と、
    予め定めた回のラウンド遊技の開始を契機に、前記判定結果記録手段の記録内容を確認する判定結果確認手段とを備え、
    前記判定結果確認手段により前記仮当り判定手段の肯定判定の記録が確認された場合、前記予め定めた回のラウンド遊技中に、前記前知演出制御手段が前記前知演出を実行させ、前記保留球数表示制御手段が前記個数表示の表示態様を変化させる請求項1に記載の遊技機。
  3. 前記大当り遊技状態は、複数回のラウンド遊技からなり、
    前記保留球数表示手段は、前記記憶手段に記憶可能な前記始動保留球の最大個数と同数の個数表示部を有し、前記記憶手段に記憶されている前記始動保留球の個数と同数の個数表示部を用いて前記個数を表示し、
    前記仮当り判定手段の判定結果が肯定の場合、その判定時点において前記記憶手段に記憶されている前記始動保留球の個数を計数する保留球数計数手段と、
    前記保留球数計数手段の計数結果を記録する計数結果記録手段と、
    予め定めた回のラウンド遊技の開始を契機に、前記計数結果記録手段の記録内容を確認する計数結果確認手段とを備え、
    前記計数結果確認手段により前記計数結果の記録が確認された場合、前記予め定めた回のラウンド遊技中に、前記前知演出制御手段が前記計数結果に基づき、何れの個数表示部の表示態様が変化するかを知らせる前記前知演出を実行させ、前記保留球数表示制御手段が前記前知演出で知らされる個数表示部の表示態様を変化させる請求項1に記載の遊技機。
JP2004197154A 2004-07-02 2004-07-02 遊技機 Expired - Fee Related JP4691329B2 (ja)

Priority Applications (1)

Application Number Priority Date Filing Date Title
JP2004197154A JP4691329B2 (ja) 2004-07-02 2004-07-02 遊技機

Applications Claiming Priority (1)

Application Number Priority Date Filing Date Title
JP2004197154A JP4691329B2 (ja) 2004-07-02 2004-07-02 遊技機

Publications (2)

Publication Number Publication Date
JP2006015007A true JP2006015007A (ja) 2006-01-19
JP4691329B2 JP4691329B2 (ja) 2011-06-01

Family

ID=35789756

Family Applications (1)

Application Number Title Priority Date Filing Date
JP2004197154A Expired - Fee Related JP4691329B2 (ja) 2004-07-02 2004-07-02 遊技機

Country Status (1)

Country Link
JP (1) JP4691329B2 (ja)

Cited By (87)

* Cited by examiner, † Cited by third party
Publication number Priority date Publication date Assignee Title
JP2010035942A (ja) * 2008-08-07 2010-02-18 Sanyo Product Co Ltd 遊技機
JP2010075231A (ja) * 2008-09-24 2010-04-08 Universal Entertainment Corp 遊技機
JP2010115361A (ja) * 2008-11-13 2010-05-27 Sammy Corp パチンコ遊技機
JP2010119835A (ja) * 2008-10-23 2010-06-03 Sanyo Product Co Ltd 遊技機
JP2010167164A (ja) * 2009-01-25 2010-08-05 Taiyo Elec Co Ltd 弾球遊技機
JP2010246982A (ja) * 2010-07-08 2010-11-04 Sammy Corp パチンコ遊技機
JP2010273919A (ja) * 2009-05-29 2010-12-09 Maruhon Ind Co Ltd パチンコ機
JP2011024767A (ja) * 2009-07-24 2011-02-10 Kyoraku Sangyo Kk 遊技機
JP2011030631A (ja) * 2009-07-30 2011-02-17 Kyoraku Sangyo Kk 遊技機
JP2011045607A (ja) * 2009-08-28 2011-03-10 Kyoraku Sangyo Kk 遊技機
JP2011050605A (ja) * 2009-09-02 2011-03-17 Daiichi Shokai Co Ltd 遊技機
JP2011050607A (ja) * 2009-09-02 2011-03-17 Kyoraku Sangyo Kk 遊技機
JP2011072569A (ja) * 2009-09-30 2011-04-14 Sanyo Product Co Ltd 遊技機
JP2011072407A (ja) * 2009-09-29 2011-04-14 Kyoraku Sangyo Kk 遊技機
JP2011072406A (ja) * 2009-09-29 2011-04-14 Kyoraku Sangyo Kk 遊技機
JP2011092679A (ja) * 2009-09-30 2011-05-12 Sanyo Product Co Ltd 遊技機
JP2011092680A (ja) * 2009-09-30 2011-05-12 Sanyo Product Co Ltd 遊技機
JP2011139860A (ja) * 2010-01-08 2011-07-21 Sankyo Co Ltd 遊技機
JP2011139861A (ja) * 2010-01-08 2011-07-21 Sankyo Co Ltd 遊技機
JP2011160954A (ja) * 2010-02-09 2011-08-25 Sankyo Co Ltd 遊技機
JP2011160842A (ja) * 2010-02-04 2011-08-25 Sankyo Co Ltd 遊技機
JP2011172749A (ja) * 2010-02-24 2011-09-08 Sophia Co Ltd 遊技機
JP2011235170A (ja) * 2011-07-28 2011-11-24 Sophia Co Ltd 遊技機
JP2012055424A (ja) * 2010-09-07 2012-03-22 Daito Giken:Kk 遊技台
JP2012105999A (ja) * 2012-01-11 2012-06-07 Sammy Corp パチンコ遊技機
JP2012130751A (ja) * 2012-02-29 2012-07-12 Kyoraku Sangyo Kk 遊技機
JP2012147855A (ja) * 2011-01-17 2012-08-09 Sophia Co Ltd 遊技機
JP2013116315A (ja) * 2011-10-31 2013-06-13 Takao Co Ltd 弾球遊技機
JP2013116365A (ja) * 2013-03-15 2013-06-13 Sankyo Co Ltd 遊技機
JP2013146612A (ja) * 2013-05-07 2013-08-01 Sankyo Co Ltd 遊技機
JP2013198767A (ja) * 2013-07-03 2013-10-03 Sanyo Product Co Ltd 遊技機
JP2013220115A (ja) * 2012-04-12 2013-10-28 Sankyo Co Ltd 遊技機
JP2013226403A (ja) * 2012-03-30 2013-11-07 Takao Co Ltd 弾球遊技機
JP2014033891A (ja) * 2012-08-10 2014-02-24 Sammy Corp 弾球遊技機
JP2014131699A (ja) * 2013-12-10 2014-07-17 Takao Co Ltd 弾球遊技機
JP2014131700A (ja) * 2013-12-10 2014-07-17 Takao Co Ltd 弾球遊技機
JP2014147592A (ja) * 2013-02-01 2014-08-21 Sankyo Co Ltd 遊技機
JP2014158858A (ja) * 2014-03-06 2014-09-04 Sankyo Co Ltd 遊技機
JP2014180533A (ja) * 2014-01-14 2014-09-29 Daiichi Shokai Co Ltd 遊技機
JP2014193340A (ja) * 2014-03-12 2014-10-09 Sankyo Co Ltd 遊技機
JP2014200630A (ja) * 2013-04-10 2014-10-27 株式会社サンセイアールアンドディ 遊技機
JP2014223197A (ja) * 2013-05-16 2014-12-04 株式会社三共 遊技機
JP2014230999A (ja) * 2014-08-22 2014-12-11 株式会社三共 遊技機
JP2014231000A (ja) * 2014-08-22 2014-12-11 株式会社三共 遊技機
JP2015006508A (ja) * 2014-10-02 2015-01-15 株式会社三共 遊技機
JP2015006507A (ja) * 2014-10-02 2015-01-15 株式会社三共 遊技機
JP2015006509A (ja) * 2014-10-02 2015-01-15 株式会社三共 遊技機
JP2015027496A (ja) * 2014-09-05 2015-02-12 株式会社三洋物産 遊技機
JP2015044066A (ja) * 2014-12-05 2015-03-12 株式会社ソフイア 遊技機
JP2015104511A (ja) * 2013-11-29 2015-06-08 株式会社三共 遊技機
JP2015110093A (ja) * 2015-03-17 2015-06-18 株式会社三共 遊技機
JP2015116417A (ja) * 2013-12-19 2015-06-25 株式会社三共 遊技機
JP2015131141A (ja) * 2015-03-17 2015-07-23 株式会社三共 遊技機
JP2015144910A (ja) * 2015-05-18 2015-08-13 株式会社ソフイア 遊技機
JP2015147143A (ja) * 2015-05-29 2015-08-20 株式会社三洋物産 遊技機
JP2015154976A (ja) * 2015-04-22 2015-08-27 株式会社三共 遊技機
JP2015180300A (ja) * 2015-06-08 2015-10-15 株式会社三共 遊技機
JP2015181816A (ja) * 2014-03-25 2015-10-22 株式会社三共 遊技機
JP2015181819A (ja) * 2014-03-25 2015-10-22 株式会社三共 遊技機
JP2015195967A (ja) * 2014-04-01 2015-11-09 株式会社三共 遊技機
JP2015213653A (ja) * 2014-05-12 2015-12-03 株式会社三共 遊技機
JP2015213654A (ja) * 2014-05-12 2015-12-03 株式会社三共 遊技機
JP2016002425A (ja) * 2014-06-19 2016-01-12 株式会社三共 遊技機
JP2016002426A (ja) * 2014-06-19 2016-01-12 株式会社三共 遊技機
JP2016002424A (ja) * 2014-06-19 2016-01-12 株式会社三共 遊技機
JP2016010643A (ja) * 2014-06-30 2016-01-21 株式会社サンセイアールアンドディ 遊技機
JP2016022049A (ja) * 2014-07-17 2016-02-08 株式会社三共 遊技機
JP2016022032A (ja) * 2014-07-17 2016-02-08 株式会社三共 遊技機
JP2016022033A (ja) * 2014-07-17 2016-02-08 株式会社三共 遊技機
JP2016026034A (ja) * 2015-10-30 2016-02-12 株式会社大一商会 遊技機
JP2016026589A (ja) * 2015-08-28 2016-02-18 株式会社三共 遊技機
JP2016032678A (ja) * 2015-11-13 2016-03-10 株式会社大都技研 遊技台
JP2016036372A (ja) * 2014-08-05 2016-03-22 株式会社三共 遊技機
JP2016036369A (ja) * 2014-08-05 2016-03-22 株式会社三共 遊技機
JP2016137290A (ja) * 2016-03-28 2016-08-04 株式会社三共 遊技機
JP2016137291A (ja) * 2016-03-28 2016-08-04 株式会社三共 遊技機
JP2016165592A (ja) * 2016-06-21 2016-09-15 株式会社三共 遊技機
JP2016172040A (ja) * 2016-05-30 2016-09-29 株式会社三共 遊技機
JP2016172039A (ja) * 2016-05-30 2016-09-29 株式会社三共 遊技機
JP2016174953A (ja) * 2016-06-07 2016-10-06 株式会社三洋物産 遊技機
JP2017018611A (ja) * 2016-08-24 2017-01-26 株式会社ソフイア 遊技機
JP2017064530A (ja) * 2017-01-20 2017-04-06 株式会社大一商会 遊技機
JP2017104614A (ja) * 2017-03-01 2017-06-15 株式会社ソフイア 遊技機
JP2017104508A (ja) * 2015-12-07 2017-06-15 株式会社高尾 遊技機
JP2017192793A (ja) * 2009-12-25 2017-10-26 株式会社三洋物産 遊技機
JP2018047385A (ja) * 2018-01-09 2018-03-29 株式会社三洋物産 遊技機
JP2018057974A (ja) * 2018-01-23 2018-04-12 株式会社三洋物産 遊技機

Families Citing this family (1)

* Cited by examiner, † Cited by third party
Publication number Priority date Publication date Assignee Title
JP6711990B2 (ja) * 2017-05-30 2020-06-17 株式会社サンセイアールアンドディ 遊技機

Citations (7)

* Cited by examiner, † Cited by third party
Publication number Priority date Publication date Assignee Title
JPH09700A (ja) * 1995-06-19 1997-01-07 Sankyo Kk 遊技機
JP2003230713A (ja) * 2002-02-12 2003-08-19 Sophia Co Ltd 遊技機
JP2003275420A (ja) * 2002-03-25 2003-09-30 Sankyo Kk 遊技機
JP2003310954A (ja) * 2002-04-19 2003-11-05 Sankyo Kk 遊技機
JP2003325862A (ja) * 2002-05-09 2003-11-18 Fuji Shoji:Kk 弾球遊技機
JP2003340038A (ja) * 2002-05-29 2003-12-02 Sophia Co Ltd 遊技機
JP2004049893A (ja) * 2002-05-28 2004-02-19 Heiwa Corp パチンコ機

Patent Citations (7)

* Cited by examiner, † Cited by third party
Publication number Priority date Publication date Assignee Title
JPH09700A (ja) * 1995-06-19 1997-01-07 Sankyo Kk 遊技機
JP2003230713A (ja) * 2002-02-12 2003-08-19 Sophia Co Ltd 遊技機
JP2003275420A (ja) * 2002-03-25 2003-09-30 Sankyo Kk 遊技機
JP2003310954A (ja) * 2002-04-19 2003-11-05 Sankyo Kk 遊技機
JP2003325862A (ja) * 2002-05-09 2003-11-18 Fuji Shoji:Kk 弾球遊技機
JP2004049893A (ja) * 2002-05-28 2004-02-19 Heiwa Corp パチンコ機
JP2003340038A (ja) * 2002-05-29 2003-12-02 Sophia Co Ltd 遊技機

Cited By (89)

* Cited by examiner, † Cited by third party
Publication number Priority date Publication date Assignee Title
JP2010035942A (ja) * 2008-08-07 2010-02-18 Sanyo Product Co Ltd 遊技機
JP2010075231A (ja) * 2008-09-24 2010-04-08 Universal Entertainment Corp 遊技機
JP2010119835A (ja) * 2008-10-23 2010-06-03 Sanyo Product Co Ltd 遊技機
JP2010115361A (ja) * 2008-11-13 2010-05-27 Sammy Corp パチンコ遊技機
JP2010167164A (ja) * 2009-01-25 2010-08-05 Taiyo Elec Co Ltd 弾球遊技機
JP2010273919A (ja) * 2009-05-29 2010-12-09 Maruhon Ind Co Ltd パチンコ機
JP2011024767A (ja) * 2009-07-24 2011-02-10 Kyoraku Sangyo Kk 遊技機
JP2011030631A (ja) * 2009-07-30 2011-02-17 Kyoraku Sangyo Kk 遊技機
JP2011045607A (ja) * 2009-08-28 2011-03-10 Kyoraku Sangyo Kk 遊技機
JP2011050605A (ja) * 2009-09-02 2011-03-17 Daiichi Shokai Co Ltd 遊技機
JP2011050607A (ja) * 2009-09-02 2011-03-17 Kyoraku Sangyo Kk 遊技機
JP2011072407A (ja) * 2009-09-29 2011-04-14 Kyoraku Sangyo Kk 遊技機
JP2011072406A (ja) * 2009-09-29 2011-04-14 Kyoraku Sangyo Kk 遊技機
JP2011072569A (ja) * 2009-09-30 2011-04-14 Sanyo Product Co Ltd 遊技機
JP2011092679A (ja) * 2009-09-30 2011-05-12 Sanyo Product Co Ltd 遊技機
JP2011092680A (ja) * 2009-09-30 2011-05-12 Sanyo Product Co Ltd 遊技機
JP2017192793A (ja) * 2009-12-25 2017-10-26 株式会社三洋物産 遊技機
JP2011139860A (ja) * 2010-01-08 2011-07-21 Sankyo Co Ltd 遊技機
JP2011139861A (ja) * 2010-01-08 2011-07-21 Sankyo Co Ltd 遊技機
JP2011160842A (ja) * 2010-02-04 2011-08-25 Sankyo Co Ltd 遊技機
JP2011160954A (ja) * 2010-02-09 2011-08-25 Sankyo Co Ltd 遊技機
JP2011172749A (ja) * 2010-02-24 2011-09-08 Sophia Co Ltd 遊技機
JP2010246982A (ja) * 2010-07-08 2010-11-04 Sammy Corp パチンコ遊技機
JP2012055424A (ja) * 2010-09-07 2012-03-22 Daito Giken:Kk 遊技台
JP2012147855A (ja) * 2011-01-17 2012-08-09 Sophia Co Ltd 遊技機
JP2011235170A (ja) * 2011-07-28 2011-11-24 Sophia Co Ltd 遊技機
JP2013116315A (ja) * 2011-10-31 2013-06-13 Takao Co Ltd 弾球遊技機
JP2013116317A (ja) * 2011-10-31 2013-06-13 Takao Co Ltd 弾球遊技機
JP2013116314A (ja) * 2011-10-31 2013-06-13 Takao Co Ltd 弾球遊技機
JP2012105999A (ja) * 2012-01-11 2012-06-07 Sammy Corp パチンコ遊技機
JP2012130751A (ja) * 2012-02-29 2012-07-12 Kyoraku Sangyo Kk 遊技機
JP2013226403A (ja) * 2012-03-30 2013-11-07 Takao Co Ltd 弾球遊技機
JP2013220115A (ja) * 2012-04-12 2013-10-28 Sankyo Co Ltd 遊技機
JP2014033891A (ja) * 2012-08-10 2014-02-24 Sammy Corp 弾球遊技機
JP2014147592A (ja) * 2013-02-01 2014-08-21 Sankyo Co Ltd 遊技機
JP2013116365A (ja) * 2013-03-15 2013-06-13 Sankyo Co Ltd 遊技機
JP2014200630A (ja) * 2013-04-10 2014-10-27 株式会社サンセイアールアンドディ 遊技機
JP2013146612A (ja) * 2013-05-07 2013-08-01 Sankyo Co Ltd 遊技機
JP2014223197A (ja) * 2013-05-16 2014-12-04 株式会社三共 遊技機
JP2013198767A (ja) * 2013-07-03 2013-10-03 Sanyo Product Co Ltd 遊技機
JP2015104511A (ja) * 2013-11-29 2015-06-08 株式会社三共 遊技機
JP2014131700A (ja) * 2013-12-10 2014-07-17 Takao Co Ltd 弾球遊技機
JP2014131699A (ja) * 2013-12-10 2014-07-17 Takao Co Ltd 弾球遊技機
JP2015116417A (ja) * 2013-12-19 2015-06-25 株式会社三共 遊技機
JP2014180533A (ja) * 2014-01-14 2014-09-29 Daiichi Shokai Co Ltd 遊技機
JP2014158858A (ja) * 2014-03-06 2014-09-04 Sankyo Co Ltd 遊技機
JP2014193340A (ja) * 2014-03-12 2014-10-09 Sankyo Co Ltd 遊技機
JP2015181819A (ja) * 2014-03-25 2015-10-22 株式会社三共 遊技機
JP2015181816A (ja) * 2014-03-25 2015-10-22 株式会社三共 遊技機
JP2015195967A (ja) * 2014-04-01 2015-11-09 株式会社三共 遊技機
JP2015213654A (ja) * 2014-05-12 2015-12-03 株式会社三共 遊技機
JP2015213653A (ja) * 2014-05-12 2015-12-03 株式会社三共 遊技機
JP2016002424A (ja) * 2014-06-19 2016-01-12 株式会社三共 遊技機
JP2016002425A (ja) * 2014-06-19 2016-01-12 株式会社三共 遊技機
JP2016002426A (ja) * 2014-06-19 2016-01-12 株式会社三共 遊技機
JP2016010643A (ja) * 2014-06-30 2016-01-21 株式会社サンセイアールアンドディ 遊技機
JP2016022033A (ja) * 2014-07-17 2016-02-08 株式会社三共 遊技機
JP2016022032A (ja) * 2014-07-17 2016-02-08 株式会社三共 遊技機
JP2016022049A (ja) * 2014-07-17 2016-02-08 株式会社三共 遊技機
JP2016036372A (ja) * 2014-08-05 2016-03-22 株式会社三共 遊技機
JP2016036369A (ja) * 2014-08-05 2016-03-22 株式会社三共 遊技機
JP2014230999A (ja) * 2014-08-22 2014-12-11 株式会社三共 遊技機
JP2014231000A (ja) * 2014-08-22 2014-12-11 株式会社三共 遊技機
JP2015027496A (ja) * 2014-09-05 2015-02-12 株式会社三洋物産 遊技機
JP2015006508A (ja) * 2014-10-02 2015-01-15 株式会社三共 遊技機
JP2015006507A (ja) * 2014-10-02 2015-01-15 株式会社三共 遊技機
JP2015006509A (ja) * 2014-10-02 2015-01-15 株式会社三共 遊技機
JP2015044066A (ja) * 2014-12-05 2015-03-12 株式会社ソフイア 遊技機
JP2015110093A (ja) * 2015-03-17 2015-06-18 株式会社三共 遊技機
JP2015131141A (ja) * 2015-03-17 2015-07-23 株式会社三共 遊技機
JP2015154976A (ja) * 2015-04-22 2015-08-27 株式会社三共 遊技機
JP2015144910A (ja) * 2015-05-18 2015-08-13 株式会社ソフイア 遊技機
JP2015147143A (ja) * 2015-05-29 2015-08-20 株式会社三洋物産 遊技機
JP2015180300A (ja) * 2015-06-08 2015-10-15 株式会社三共 遊技機
JP2016026589A (ja) * 2015-08-28 2016-02-18 株式会社三共 遊技機
JP2016026034A (ja) * 2015-10-30 2016-02-12 株式会社大一商会 遊技機
JP2016032678A (ja) * 2015-11-13 2016-03-10 株式会社大都技研 遊技台
JP2017104508A (ja) * 2015-12-07 2017-06-15 株式会社高尾 遊技機
JP2016137291A (ja) * 2016-03-28 2016-08-04 株式会社三共 遊技機
JP2016137290A (ja) * 2016-03-28 2016-08-04 株式会社三共 遊技機
JP2016172040A (ja) * 2016-05-30 2016-09-29 株式会社三共 遊技機
JP2016172039A (ja) * 2016-05-30 2016-09-29 株式会社三共 遊技機
JP2016174953A (ja) * 2016-06-07 2016-10-06 株式会社三洋物産 遊技機
JP2016165592A (ja) * 2016-06-21 2016-09-15 株式会社三共 遊技機
JP2017018611A (ja) * 2016-08-24 2017-01-26 株式会社ソフイア 遊技機
JP2017064530A (ja) * 2017-01-20 2017-04-06 株式会社大一商会 遊技機
JP2017104614A (ja) * 2017-03-01 2017-06-15 株式会社ソフイア 遊技機
JP2018047385A (ja) * 2018-01-09 2018-03-29 株式会社三洋物産 遊技機
JP2018057974A (ja) * 2018-01-23 2018-04-12 株式会社三洋物産 遊技機

Also Published As

Publication number Publication date
JP4691329B2 (ja) 2011-06-01

Similar Documents

Publication Publication Date Title
JP4691329B2 (ja) 遊技機
JP4606794B2 (ja) 遊技機
JP5290893B2 (ja) 遊技機
JP5290892B2 (ja) 遊技機
JP5230871B2 (ja) 遊技機
JP5266142B2 (ja) 遊技機
JP6973804B2 (ja) 遊技機
JP4580668B2 (ja) 遊技機
JP4313339B2 (ja) 遊技機
JP2009291601A (ja) 遊技機
JP2008272317A (ja) 遊技機
JP5295626B2 (ja) 遊技機
JP5041746B2 (ja) 遊技機
JP2021192871A (ja) 遊技機
JP7186201B2 (ja) 遊技機
JP6987394B2 (ja) 遊技機
JP6987395B2 (ja) 遊技機
JP2005224379A (ja) 遊技機
JP4758295B2 (ja) 遊技機
JP4309197B2 (ja) 遊技機
JP2009066314A (ja) 遊技機
JP2007054203A (ja) 遊技機
JP4814723B2 (ja) 遊技機
JP5162325B2 (ja) 遊技機
JP5636458B2 (ja) 遊技機

Legal Events

Date Code Title Description
A621 Written request for application examination

Free format text: JAPANESE INTERMEDIATE CODE: A621

Effective date: 20061227

A977 Report on retrieval

Free format text: JAPANESE INTERMEDIATE CODE: A971007

Effective date: 20090928

A131 Notification of reasons for refusal

Free format text: JAPANESE INTERMEDIATE CODE: A131

Effective date: 20090929

A521 Request for written amendment filed

Free format text: JAPANESE INTERMEDIATE CODE: A523

Effective date: 20091130

A131 Notification of reasons for refusal

Free format text: JAPANESE INTERMEDIATE CODE: A131

Effective date: 20100525

A521 Request for written amendment filed

Free format text: JAPANESE INTERMEDIATE CODE: A523

Effective date: 20100723

TRDD Decision of grant or rejection written
A01 Written decision to grant a patent or to grant a registration (utility model)

Free format text: JAPANESE INTERMEDIATE CODE: A01

Effective date: 20110201

A01 Written decision to grant a patent or to grant a registration (utility model)

Free format text: JAPANESE INTERMEDIATE CODE: A01

A61 First payment of annual fees (during grant procedure)

Free format text: JAPANESE INTERMEDIATE CODE: A61

Effective date: 20110221

R150 Certificate of patent or registration of utility model

Ref document number: 4691329

Country of ref document: JP

Free format text: JAPANESE INTERMEDIATE CODE: R150

Free format text: JAPANESE INTERMEDIATE CODE: R150

FPAY Renewal fee payment (event date is renewal date of database)

Free format text: PAYMENT UNTIL: 20140225

Year of fee payment: 3

R250 Receipt of annual fees

Free format text: JAPANESE INTERMEDIATE CODE: R250

R250 Receipt of annual fees

Free format text: JAPANESE INTERMEDIATE CODE: R250

R250 Receipt of annual fees

Free format text: JAPANESE INTERMEDIATE CODE: R250

LAPS Cancellation because of no payment of annual fees