JP2005294582A - 半導体装置の製造方法 - Google Patents

半導体装置の製造方法 Download PDF

Info

Publication number
JP2005294582A
JP2005294582A JP2004108442A JP2004108442A JP2005294582A JP 2005294582 A JP2005294582 A JP 2005294582A JP 2004108442 A JP2004108442 A JP 2004108442A JP 2004108442 A JP2004108442 A JP 2004108442A JP 2005294582 A JP2005294582 A JP 2005294582A
Authority
JP
Japan
Prior art keywords
plug
semiconductor device
forming
film
hole
Prior art date
Legal status (The legal status is an assumption and is not a legal conclusion. Google has not performed a legal analysis and makes no representation as to the accuracy of the status listed.)
Granted
Application number
JP2004108442A
Other languages
English (en)
Other versions
JP4327644B2 (ja
Inventor
Koji Soejima
康志 副島
Masaya Kawano
連也 川野
Current Assignee (The listed assignees may be inaccurate. Google has not performed a legal analysis and makes no representation or warranty as to the accuracy of the list.)
NEC Electronics Corp
Original Assignee
NEC Electronics Corp
Priority date (The priority date is an assumption and is not a legal conclusion. Google has not performed a legal analysis and makes no representation as to the accuracy of the date listed.)
Filing date
Publication date
Application filed by NEC Electronics Corp filed Critical NEC Electronics Corp
Priority to JP2004108442A priority Critical patent/JP4327644B2/ja
Priority to US11/085,135 priority patent/US7528068B2/en
Priority to TW094110022A priority patent/TWI293473B/zh
Publication of JP2005294582A publication Critical patent/JP2005294582A/ja
Application granted granted Critical
Publication of JP4327644B2 publication Critical patent/JP4327644B2/ja
Anticipated expiration legal-status Critical
Expired - Fee Related legal-status Critical Current

Links

Images

Classifications

    • HELECTRICITY
    • H10SEMICONDUCTOR DEVICES; ELECTRIC SOLID-STATE DEVICES NOT OTHERWISE PROVIDED FOR
    • H10WGENERIC PACKAGES, INTERCONNECTIONS, CONNECTORS OR OTHER CONSTRUCTIONAL DETAILS OF DEVICES COVERED BY CLASS H10
    • H10W20/00Interconnections in chips, wafers or substrates
    • H10W20/01Manufacture or treatment
    • H10W20/021Manufacture or treatment of interconnections within wafers or substrates
    • H10W20/023Manufacture or treatment of interconnections within wafers or substrates the interconnections being through-semiconductor vias
    • HELECTRICITY
    • H10SEMICONDUCTOR DEVICES; ELECTRIC SOLID-STATE DEVICES NOT OTHERWISE PROVIDED FOR
    • H10WGENERIC PACKAGES, INTERCONNECTIONS, CONNECTORS OR OTHER CONSTRUCTIONAL DETAILS OF DEVICES COVERED BY CLASS H10
    • H10W20/00Interconnections in chips, wafers or substrates
    • H10W20/01Manufacture or treatment
    • H10W20/021Manufacture or treatment of interconnections within wafers or substrates
    • H10W20/023Manufacture or treatment of interconnections within wafers or substrates the interconnections being through-semiconductor vias
    • H10W20/0234Manufacture or treatment of interconnections within wafers or substrates the interconnections being through-semiconductor vias comprising etching via holes that stop on pads or on electrodes
    • HELECTRICITY
    • H10SEMICONDUCTOR DEVICES; ELECTRIC SOLID-STATE DEVICES NOT OTHERWISE PROVIDED FOR
    • H10WGENERIC PACKAGES, INTERCONNECTIONS, CONNECTORS OR OTHER CONSTRUCTIONAL DETAILS OF DEVICES COVERED BY CLASS H10
    • H10W20/00Interconnections in chips, wafers or substrates
    • H10W20/01Manufacture or treatment
    • H10W20/021Manufacture or treatment of interconnections within wafers or substrates
    • H10W20/023Manufacture or treatment of interconnections within wafers or substrates the interconnections being through-semiconductor vias
    • H10W20/0242Manufacture or treatment of interconnections within wafers or substrates the interconnections being through-semiconductor vias comprising etching via holes from the back sides of the chips, wafers or substrates
    • HELECTRICITY
    • H10SEMICONDUCTOR DEVICES; ELECTRIC SOLID-STATE DEVICES NOT OTHERWISE PROVIDED FOR
    • H10WGENERIC PACKAGES, INTERCONNECTIONS, CONNECTORS OR OTHER CONSTRUCTIONAL DETAILS OF DEVICES COVERED BY CLASS H10
    • H10W20/00Interconnections in chips, wafers or substrates
    • H10W20/01Manufacture or treatment
    • H10W20/021Manufacture or treatment of interconnections within wafers or substrates
    • H10W20/023Manufacture or treatment of interconnections within wafers or substrates the interconnections being through-semiconductor vias
    • H10W20/0245Manufacture or treatment of interconnections within wafers or substrates the interconnections being through-semiconductor vias comprising use of blind vias during the manufacture
    • HELECTRICITY
    • H10SEMICONDUCTOR DEVICES; ELECTRIC SOLID-STATE DEVICES NOT OTHERWISE PROVIDED FOR
    • H10WGENERIC PACKAGES, INTERCONNECTIONS, CONNECTORS OR OTHER CONSTRUCTIONAL DETAILS OF DEVICES COVERED BY CLASS H10
    • H10W20/00Interconnections in chips, wafers or substrates
    • H10W20/20Interconnections within wafers or substrates, e.g. through-silicon vias [TSV]
    • HELECTRICITY
    • H10SEMICONDUCTOR DEVICES; ELECTRIC SOLID-STATE DEVICES NOT OTHERWISE PROVIDED FOR
    • H10WGENERIC PACKAGES, INTERCONNECTIONS, CONNECTORS OR OTHER CONSTRUCTIONAL DETAILS OF DEVICES COVERED BY CLASS H10
    • H10W20/00Interconnections in chips, wafers or substrates
    • H10W20/20Interconnections within wafers or substrates, e.g. through-silicon vias [TSV]
    • H10W20/211Through-semiconductor vias, e.g. TSVs
    • H10W20/212Top-view shapes or dispositions, e.g. top-view layouts of the vias
    • H10W20/2125Top-view shapes
    • HELECTRICITY
    • H10SEMICONDUCTOR DEVICES; ELECTRIC SOLID-STATE DEVICES NOT OTHERWISE PROVIDED FOR
    • H10WGENERIC PACKAGES, INTERCONNECTIONS, CONNECTORS OR OTHER CONSTRUCTIONAL DETAILS OF DEVICES COVERED BY CLASS H10
    • H10W20/00Interconnections in chips, wafers or substrates
    • H10W20/20Interconnections within wafers or substrates, e.g. through-silicon vias [TSV]
    • H10W20/211Through-semiconductor vias, e.g. TSVs
    • H10W20/213Cross-sectional shapes or dispositions
    • H10W20/2134TSVs extending from the semiconductor wafer into back-end-of-line layers
    • HELECTRICITY
    • H10SEMICONDUCTOR DEVICES; ELECTRIC SOLID-STATE DEVICES NOT OTHERWISE PROVIDED FOR
    • H10WGENERIC PACKAGES, INTERCONNECTIONS, CONNECTORS OR OTHER CONSTRUCTIONAL DETAILS OF DEVICES COVERED BY CLASS H10
    • H10W72/00Interconnections or connectors in packages
    • H10W72/01Manufacture or treatment
    • H10W72/012Manufacture or treatment of bump connectors, dummy bumps or thermal bumps
    • HELECTRICITY
    • H10SEMICONDUCTOR DEVICES; ELECTRIC SOLID-STATE DEVICES NOT OTHERWISE PROVIDED FOR
    • H10WGENERIC PACKAGES, INTERCONNECTIONS, CONNECTORS OR OTHER CONSTRUCTIONAL DETAILS OF DEVICES COVERED BY CLASS H10
    • H10W72/00Interconnections or connectors in packages
    • H10W72/071Connecting or disconnecting
    • H10W72/072Connecting or disconnecting of bump connectors
    • H10W72/07251Connecting or disconnecting of bump connectors characterised by changes in properties of the bump connectors during connecting
    • HELECTRICITY
    • H10SEMICONDUCTOR DEVICES; ELECTRIC SOLID-STATE DEVICES NOT OTHERWISE PROVIDED FOR
    • H10WGENERIC PACKAGES, INTERCONNECTIONS, CONNECTORS OR OTHER CONSTRUCTIONAL DETAILS OF DEVICES COVERED BY CLASS H10
    • H10W72/00Interconnections or connectors in packages
    • H10W72/20Bump connectors, e.g. solder bumps or copper pillars; Dummy bumps; Thermal bumps
    • HELECTRICITY
    • H10SEMICONDUCTOR DEVICES; ELECTRIC SOLID-STATE DEVICES NOT OTHERWISE PROVIDED FOR
    • H10WGENERIC PACKAGES, INTERCONNECTIONS, CONNECTORS OR OTHER CONSTRUCTIONAL DETAILS OF DEVICES COVERED BY CLASS H10
    • H10W72/00Interconnections or connectors in packages
    • H10W72/20Bump connectors, e.g. solder bumps or copper pillars; Dummy bumps; Thermal bumps
    • H10W72/221Structures or relative sizes
    • HELECTRICITY
    • H10SEMICONDUCTOR DEVICES; ELECTRIC SOLID-STATE DEVICES NOT OTHERWISE PROVIDED FOR
    • H10WGENERIC PACKAGES, INTERCONNECTIONS, CONNECTORS OR OTHER CONSTRUCTIONAL DETAILS OF DEVICES COVERED BY CLASS H10
    • H10W72/00Interconnections or connectors in packages
    • H10W72/20Bump connectors, e.g. solder bumps or copper pillars; Dummy bumps; Thermal bumps
    • H10W72/241Dispositions, e.g. layouts
    • H10W72/244Dispositions, e.g. layouts relative to underlying supporting features, e.g. bond pads, RDLs or vias
    • HELECTRICITY
    • H10SEMICONDUCTOR DEVICES; ELECTRIC SOLID-STATE DEVICES NOT OTHERWISE PROVIDED FOR
    • H10WGENERIC PACKAGES, INTERCONNECTIONS, CONNECTORS OR OTHER CONSTRUCTIONAL DETAILS OF DEVICES COVERED BY CLASS H10
    • H10W72/00Interconnections or connectors in packages
    • H10W72/20Bump connectors, e.g. solder bumps or copper pillars; Dummy bumps; Thermal bumps
    • H10W72/241Dispositions, e.g. layouts
    • H10W72/247Dispositions of multiple bumps
    • H10W72/248Top-view layouts, e.g. mirror arrays
    • HELECTRICITY
    • H10SEMICONDUCTOR DEVICES; ELECTRIC SOLID-STATE DEVICES NOT OTHERWISE PROVIDED FOR
    • H10WGENERIC PACKAGES, INTERCONNECTIONS, CONNECTORS OR OTHER CONSTRUCTIONAL DETAILS OF DEVICES COVERED BY CLASS H10
    • H10W72/00Interconnections or connectors in packages
    • H10W72/20Bump connectors, e.g. solder bumps or copper pillars; Dummy bumps; Thermal bumps
    • H10W72/251Materials
    • HELECTRICITY
    • H10SEMICONDUCTOR DEVICES; ELECTRIC SOLID-STATE DEVICES NOT OTHERWISE PROVIDED FOR
    • H10WGENERIC PACKAGES, INTERCONNECTIONS, CONNECTORS OR OTHER CONSTRUCTIONAL DETAILS OF DEVICES COVERED BY CLASS H10
    • H10W72/00Interconnections or connectors in packages
    • H10W72/20Bump connectors, e.g. solder bumps or copper pillars; Dummy bumps; Thermal bumps
    • H10W72/251Materials
    • H10W72/252Materials comprising solid metals or solid metalloids, e.g. PbSn, Ag or Cu
    • HELECTRICITY
    • H10SEMICONDUCTOR DEVICES; ELECTRIC SOLID-STATE DEVICES NOT OTHERWISE PROVIDED FOR
    • H10WGENERIC PACKAGES, INTERCONNECTIONS, CONNECTORS OR OTHER CONSTRUCTIONAL DETAILS OF DEVICES COVERED BY CLASS H10
    • H10W72/00Interconnections or connectors in packages
    • H10W72/20Bump connectors, e.g. solder bumps or copper pillars; Dummy bumps; Thermal bumps
    • H10W72/29Bond pads specially adapted therefor
    • HELECTRICITY
    • H10SEMICONDUCTOR DEVICES; ELECTRIC SOLID-STATE DEVICES NOT OTHERWISE PROVIDED FOR
    • H10WGENERIC PACKAGES, INTERCONNECTIONS, CONNECTORS OR OTHER CONSTRUCTIONAL DETAILS OF DEVICES COVERED BY CLASS H10
    • H10W72/00Interconnections or connectors in packages
    • H10W72/90Bond pads, in general
    • H10W72/921Structures or relative sizes of bond pads
    • H10W72/923Bond pads having multiple stacked layers
    • HELECTRICITY
    • H10SEMICONDUCTOR DEVICES; ELECTRIC SOLID-STATE DEVICES NOT OTHERWISE PROVIDED FOR
    • H10WGENERIC PACKAGES, INTERCONNECTIONS, CONNECTORS OR OTHER CONSTRUCTIONAL DETAILS OF DEVICES COVERED BY CLASS H10
    • H10W72/00Interconnections or connectors in packages
    • H10W72/90Bond pads, in general
    • H10W72/921Structures or relative sizes of bond pads
    • H10W72/923Bond pads having multiple stacked layers
    • H10W72/9232Bond pads having multiple stacked layers with additional elements interposed between layers
    • HELECTRICITY
    • H10SEMICONDUCTOR DEVICES; ELECTRIC SOLID-STATE DEVICES NOT OTHERWISE PROVIDED FOR
    • H10WGENERIC PACKAGES, INTERCONNECTIONS, CONNECTORS OR OTHER CONSTRUCTIONAL DETAILS OF DEVICES COVERED BY CLASS H10
    • H10W72/00Interconnections or connectors in packages
    • H10W72/90Bond pads, in general
    • H10W72/931Shapes of bond pads
    • H10W72/934Cross-sectional shape, i.e. in side view
    • HELECTRICITY
    • H10SEMICONDUCTOR DEVICES; ELECTRIC SOLID-STATE DEVICES NOT OTHERWISE PROVIDED FOR
    • H10WGENERIC PACKAGES, INTERCONNECTIONS, CONNECTORS OR OTHER CONSTRUCTIONAL DETAILS OF DEVICES COVERED BY CLASS H10
    • H10W72/00Interconnections or connectors in packages
    • H10W72/90Bond pads, in general
    • H10W72/941Dispositions of bond pads
    • H10W72/9415Dispositions of bond pads relative to the surface, e.g. recessed, protruding
    • HELECTRICITY
    • H10SEMICONDUCTOR DEVICES; ELECTRIC SOLID-STATE DEVICES NOT OTHERWISE PROVIDED FOR
    • H10WGENERIC PACKAGES, INTERCONNECTIONS, CONNECTORS OR OTHER CONSTRUCTIONAL DETAILS OF DEVICES COVERED BY CLASS H10
    • H10W72/00Interconnections or connectors in packages
    • H10W72/90Bond pads, in general
    • H10W72/941Dispositions of bond pads
    • H10W72/942Dispositions of bond pads relative to underlying supporting features, e.g. bond pads, RDLs or vias
    • HELECTRICITY
    • H10SEMICONDUCTOR DEVICES; ELECTRIC SOLID-STATE DEVICES NOT OTHERWISE PROVIDED FOR
    • H10WGENERIC PACKAGES, INTERCONNECTIONS, CONNECTORS OR OTHER CONSTRUCTIONAL DETAILS OF DEVICES COVERED BY CLASS H10
    • H10W72/00Interconnections or connectors in packages
    • H10W72/90Bond pads, in general
    • H10W72/951Materials of bond pads
    • H10W72/952Materials of bond pads comprising metals or metalloids, e.g. PbSn, Ag or Cu

Landscapes

  • Internal Circuitry In Semiconductor Integrated Circuit Devices (AREA)

Abstract

【課題】 電極としての性能および製造安定性に優れた貫通電極を有する半導体装置を提供する。
【解決手段】 半導体装置100に導電性の小径プラグ119と導電性の大径プラグ131とからなる貫通電極135を設ける。小径プラグ119の断面積を、それぞれ接続プラグ123の断面積および径よりも大きく大径プラグ131の断面積および径よりも小さくする。また、シリコン基板101から小径プラグ119が突出した突出部141を大径プラグ131の上面に貫入させる。また、小径プラグ119の上面を第一配線121と接続させる。
【選択図】 図1


Description

本発明は、半導体装置の製造方法に関する。
近年、半導体装置の軽薄短小化と高性能化が要求されており、マルチチップパッケージなどの半導体装置において、配線の高密度化、論理素子の微細化およびメモリの大容量化が進められている。
こうした要請に対応する一つの手段として、半導体基板に貫通電極を設け、配線の高密度化等を図ることが試みられている。従来の貫通電極としては、たとえば特許文献1に記載されたものがある。同文献には、半導体素子基板を貫通する貫通孔内に中間絶縁層が周設され、その内側に導電層が充填された構成の貫通電極を有する半導体装置が開示されている。この構成を用いると、複数の半導体素子基板を高密度で三次元的に積層することができるとされている。
特開2000−311982号公報
ところが、上記特許文献1に記載の貫通電極は、半導体素子基板を太い貫通電極が貫通しているため、貫通電極を形成した領域には、配線等を設けることができない構成となっていた。このため、配線等の集積度が低下してしまい、配線の高密度化の点でさらに改善の余地があった。また、貫通電極が素子形成後に作製されるため、貫通電極の形成時に素子の信頼性を低下させる懸念があった。
本発明は、上記事情に鑑みなされたものであり、その目的は、電極としての性能および製造安定性に優れた貫通電極を有する半導体装置を提供することにある。
本発明によれば、半導体基板の素子形成面の側に第一の孔を形成する工程と、前記第一の孔の内壁に、絶縁材料からなるバリア膜を形成する工程と、前記第一の孔の内部を埋め込むように第一の金属膜を埋設する工程と、前記第一の孔の外部に形成された前記第一の金属膜を除去し、前記第一の孔の内部に第一のプラグを形成する工程と、裏面の側から前記半導体基板を選択的に除去して第二の孔を形成し、前記第二の孔の内部に前記第一のプラグの一部を露出させる工程と、前記第二の孔の内面の前記第一のプラグを除く領域に選択的に絶縁材料を付着させる工程と、絶縁材料を付着させる前記工程の後、露出した前記バリア膜の少なくとも一部を除去し、前記第一の金属膜を露出させる工程と、前記第二の孔の内部を埋めるように選択的に第二の金属膜を成長させて、前記第一のプラグの一部を内包する第二のプラグを形成する工程と、を含むことを特徴とする半導体装置の製造方法が提供される。
本明細書において、素子形成面は、半導体素子が形成される半導体基板の面のことである。
この方法によれば、第一のプラグと第二のプラグとの密着性にすぐれた貫通電極を有する半導体装置を簡便なプロセスで安定的に製造することができる。また、簡便なプロセスで第二のプラグの表面の絶縁性にすぐれた半導体装置を製造することができる。
なお、本発明において、第一のプラグは、第一の金属膜とバリア膜を含む。また、本発明において、第一の金属膜がバリアメタル膜を含んでもよい。
本発明の半導体装置の製造方法において、第二のプラグを形成する前記工程は、露出した前記第一の金属膜を起点として前記第二の孔の内部を埋めるように前記第二の金属膜を成長させる工程を含んでもよい。こうすることにより、第二の孔中にさらに確実に金属膜を成長させることができる。
本発明の半導体装置の製造方法において、前記絶縁材料は電着材料であってもよい。こうすることにより、絶縁材料をさらに高い選択性で前記第二の孔の内面の前記第一のプラグを除く領域に付着させることができる。
本発明の半導体装置の製造方法において、前記電着材料は電着ポリイミドであってもよい。こうすることにより、以降のプロセスにおける処理に対する絶縁材料の耐性を向上させることができる。よって、半導体装置のさらに高い歩留まりで安定的に製造することができる。
本発明の半導体装置の製造方法において、前記第二の孔は前記第一の孔よりも断面積が大きい孔とすることができる。こうすることにより、第一のプラグの断面積を第二のプラグの断面積よりも小さくすることができる。よって、第二のプラグ中に第一のプラグの一部を確実に内包させることができる。また、配線の集積度の高い半導体装置を安定的に製造することができる。
本発明の半導体装置の製造方法において、第二のプラグを形成する前記工程の前に、前記第二の孔の前記内面に金属のシード層を形成する工程を含み、第二のプラグを形成する前記工程は、前記シード層を起点として前記第二の金属膜を成長させる工程を含んでもよい。シード層を起点として第二の金属膜を成長させることにより、第二の孔中にさらに確実に金属膜を埋設することができる。
本発明の半導体装置の製造方法において、第二の孔を形成する前記工程の後、絶縁材料を付着させる前記工程の前に、前記第二の孔の前記内面の前記第一のプラグを除く前記領域に選択的に金属のシード層を形成する工程を含み、絶縁材料を付着させる前記工程は、前記シード層に前記絶縁材料を付着させる工程を含んでもよい。こうすることにより、第二の孔の内面の第一のプラグを除く領域にさらに安定的に絶縁材料を付着させることができる。
本発明の半導体装置の製造方法において、第一の孔を形成する前記工程は、前記半導体基板の前記素子形成面の側に絶縁膜を形成した後、前記第一の孔を形成する領域の前記絶縁膜を選択的に除去する工程を含むことができる。こうすることにより、第一のプラグが絶縁膜の上部の配線に接続する構成の半導体装置を安定的に得ることができる。
本発明の半導体装置の製造方法において、第一のプラグを形成する前記工程の後に、前記半導体基板の前記絶縁膜上に配線層を形成する工程を含み、配線層を形成する前記工程は、前記第一のプラグに接する配線を形成する工程を含んでもよい。こうすることにより、第一のプラグに接続する配線と同層の配線の集積度を高めることができる。このため、配線の集積度の高い半導体装置を安定的に製造することができる。また、本発明の半導体装置の製造方法において、前記配線層の上部に、前記配線に接続する上部配線を形成する工程を含んでもよい。こうすることにより、配線層よりも上層に存在する上部配線の集積度の高い多層の半導体装置を安定的に製造することができる。
なお、これらの各構成の任意の組み合わせや、本発明の表現を方法、装置などの間で変換したものもまた本発明の態様として有効である。
たとえば、本発明によれば、半導体基板と、前記半導体基板の素子形成面に設けられた絶縁層と、前記半導体基板を貫通し、前記絶縁層の内部に設けられた導電部材と接続する貫通電極と、を有し、前記貫通電極は、前記導電部材と接続する第一の導電プラグと、前記半導体基板中に設けられ、前記第一の導電プラグの断面積よりも大きい断面積を有し、前記第一の導電プラグの一部を内包する第二の導電プラグと、を有することを特徴とする半導体装置が提供される。
本発明の半導体装置では、第一の導電プラグの一部が第二の導電プラグに内包されている。このため、アンカー効果が好適に得られ、これらのプラグの密着性にすぐれている。また、これらのプラグ間のコンタクト抵抗が低減される構成となっている。また、素子形成面側に断面積の小さい第一のプラグが配設されているため、貫通電極近傍の配線の集積度を向上させることができる。このため、小型化に適した構成となっている。
また、本発明によれば、半導体基板と前記半導体基板の素子形成面に設けられたトランジスタ形成層と、前記トランジスタ形成層の上部に設けられた配線層と、前記配線層の上部に設けられた上部配線層と、前記トランジスタ形成層および前記半導体基板を貫通する貫通電極と、を有し、前記貫通電極は、前記トランジスタ形成層に設けられ、前記配線層中に形成された配線に接続する第一のプラグと、前記半導体基板中に形成され、前記第一の導電プラグの断面積よりも大きい断面積を有し、前記第一のプラグと接続する第二のプラグと、を有することを特徴とする半導体装置が提供される。
本発明の半導体装置では、上部配線層に被覆された配線層に第一の導電プラグが接続されている。また、第一の導電プラグの断面積が第二の導電プラグの断面積よりも小さい構成となっている。このため、配線層またはその上層における配線や素子の集積度を向上させることができる。このため、本発明の半導体装置は、小型化に適した構成となっている。
本発明の半導体装置において、前記第二の導電プラグと前記半導体基板とが絶縁膜を介して接している構成とすることができる。こうすることにより、製造安定性にすぐれた構成とすることができる。また、寄生容量を低下させることができる。たとえば、本発明において、前記絶縁膜を電着絶縁膜とすることができる。
また、本発明において、第一の金属膜を埋設する前記工程は、前記第一の孔の内壁に、バリアメタル膜を形成する工程を含んでもよい。また、本発明において、第一の金属膜は、バリアメタル膜を含む積層膜とすることができる。こうすることにより、第一のプラグを構成する導電材料の半導体基板への拡散をより一層確実に抑制することができる。
以上説明したように本発明によれば、電極としての性能および製造安定性に優れた貫通電極を有する半導体装置が提供される。また、半導体装置の配線を高密度化することが可能となる。
以下、本発明の実施形態について図面を参照して説明する。なお、すべての図面において、同様の構成要素には同一の符号を付し、以下の説明において詳細な説明を適宜省略する。また、以下の実施形態において、半導体基板の素子形成面側を半導体装置の上(表)側とし、半導体基板の裏面側を半導体装置の下(裏)側とする。
(第一の実施形態)
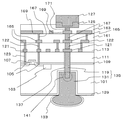
図1は、本実施形態に係る半導体装置の構成を模式的に示す断面図である。図1の半導体装置100は、シリコン基板101、エッチングストッパ膜109、最下層絶縁膜111、第一配線層絶縁膜113の積層構造を有し、シリコン基板101、エッチングストッパ膜109、および最下層絶縁膜111を貫通する貫通電極135が設けられている。
シリコン基板101の素子形成面に、拡散層105、ゲート電極107等からなるMOSトランジスタおよび素子分離膜103が形成されている。MOSトランジスタおよび素子分離膜103を埋め込むように最下層絶縁膜111が形成されている。最下層絶縁膜111中には、シリコン基板101およびゲート電極107の上面に接してエッチングストッパ膜109が設けられている。また、最下層絶縁膜111には、拡散層105に接続する接続プラグ123も設けられている。
第一配線層絶縁膜113には第一配線121および第一配線121に電気的に接続する接続プラグ122が設けられている。また、接続プラグ122の上部には、これと電気的に接続するパッド125およびパッド125と電気的に接続するバンプ127がこの順に形成されている。
貫通電極135は、導電性の小径プラグ119と導電性の大径プラグ131とを有する。小径プラグ119の断面積および径は、それぞれ接続プラグ123の断面積および径よりも大きく大径プラグ131の断面積および径よりも小さい。また、シリコン基板101から小径プラグ119が突出した突出部141が大径プラグ131の上面に貫入している。
小径プラグ119の径は、たとえば、1〜5μm程度とすることができる。また、小径プラグ119はシリコン基板101中に20〜50μm程度貫入している構成とすることができる。さらに、大径プラグ131中に貫入している突出部141の長さを、たとえば1〜50μm程度とする。また、大径プラグ131の径は、たとえば10〜1000μm程度とする。
小径プラグ119は、最下層絶縁膜111の上面からエッチングストッパ膜109、シリコン基板101をこの順に貫通し、その先端がシリコン基板101の外部に露出した突出部141となっている。小径プラグ119の上面は、第一配線層絶縁膜113の底面と同一平面内に底面を有する第一配線121と接触し、電気的な接続が確保されている。小径プラグ119の側面は、突出部141を除きSiN膜137に被覆されている。
また、大径プラグ131は、シリコン基板101の裏面から素子形成面に向かって形成されている。大径プラグ131の上面は、シリコン基板101の上面よりも下方に位置する。大径プラグ131の底面および側面、ならびにシリコン基板101の裏面に電着絶縁膜129が設けられている。また、大径プラグ131の表面はめっき膜133に被覆されている。
小径プラグ119の材料に特に制限はないが、たとえば、Wを用いることができる。こうすることにより、シリコン基板101への拡散が好適に抑制される。また、大径プラグ131およびめっき膜133の材料に特に制限はないが、それぞれ、たとえばNiおよびAuとすることができる。
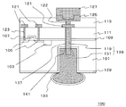
次に、半導体装置100の製造方法を説明する。図2(a)〜図2(d)は、図1に示した半導体装置100の製造工程を模式的に示す断面図である。
まず、シリコン基板101上にゲート電極107、拡散層105、素子分離膜103を形成する。素子分離膜103は、たとえばSTI(シャロートレンチアイソレーション)とする。その後、シリコン基板101の上面全面にエッチングストッパ膜109および最下層絶縁膜111をこの順に積層する。
このとき、エッチングストッパ膜109として、たとえばSiN膜をプラズマCVD法により50nm成膜する。また、最下層絶縁膜111として、たとえばSiO2膜をプラズマCVD法により400nm成膜する。または、最下層絶縁膜111として、低誘電率層間絶縁膜であるL−Ox(商標)膜を塗布法により300nm成膜し、L−Ox(商標)膜の上面にSiO2膜を100nm成膜して、積層膜を形成してもよい。
次に、最下層絶縁膜111上に反射防止膜とフォトレジストをこの順に塗布し、フォトリソグラフィー技術を用いて小径プラグ119の形状に対応する開口部を有するレジストパターン(不図示)を形成する。フォトレジスト膜をマスクとして最下層絶縁膜111をドライエッチングして、小径プラグ119を設ける位置を開口させる。そして、ドライエッチングによりエッチングストッパ膜109のエッチバックを行う。
その後、さらにエッチングガスを変えて、シリコン基板101を途中までエッチングする。たとえば、シリコン基板101の上面から10μm以上50μm以下の深さまでエッチングする。深さを10μm以上とすることにより、突出部141の周囲を大径プラグ131に確実に接続することができる。50μm以下とすることにより、シリコン基板101の素子形成面からの小径プラグ119のシリコン基板101内部への突出量を減少させることができる。このため、開口部を安定的に形成することができる。開口部の径は、小径プラグ119の径がたとえば1〜5μm程度となるように選択される。そして、フォトレジスト膜および反射防止膜あるいはエッチングによるそれらの残渣を除去する。
次に、小径プラグ119の形状に対応した開口部が設けられたシリコン基板101の上面全面にSiN膜137を20nm成膜する。
そして、最下層絶縁膜111上に、新たに反射防止膜とフォトレジストをこの順に塗布し、フォトリソグラフィー技術を用いて接続プラグ123の形状に対応して開口するレジストパターン(不図示)を形成する。このフォトレジスト膜をマスクとして、最下層絶縁膜111をドライエッチングし、拡散層105の上部の接続プラグ123を設ける位置を開口させる。そして、ドライエッチングによりエッチングストッパ膜109のエッチバックを行い、拡散層105の上面を露出させる。こうして、小径プラグ119および接続プラグ123を形成するための孔を得る。
次に、シリコン基板101の上面全面に、金属膜としてW膜をCVD法により成膜する。W膜の膜厚は、接続プラグ123および小径プラグ119の径に合わせて、その両方が埋め込められるような膜厚に設定される。たとえば、Wの膜厚を1μm程度とする。そして、最下層絶縁膜111上のW膜およびSiN膜137をCMP(Chemical Mechanical polishing)により除去する。こうして、小径プラグ119および接続プラグ123が同時に形成される(図2(a))。
次に、シリコン基板101の上面全面に第一配線層絶縁膜113を設ける。第一配線層絶縁膜113は、図2(b)に示したように、配線用絶縁膜112およびプラグ用絶縁膜114が積層された構成である。
まず、シリコン基板101の上面全面を被覆し、第一配線層絶縁膜113の下層をなす配線用絶縁膜112を300nm成膜する。配線用絶縁膜112は、たとえば、L−Ox(商標)膜等の低誘電率膜とすることができる。このとき、最下層絶縁膜111上にCu拡散防止膜のSiCN膜を設けてもよい。また、低誘電率膜上にSiO2膜を100nm成膜してもよい。次に、シリコン基板101の上面全面に反射防止膜およびフォトレジストを塗布し、フォトリソグラフィー技術を用いて、フォトレジストに溝配線用レジストパターンを形成する。そして、フォトレジストをマスクにして、配線用絶縁膜112をエッチングし、第一配線121作製用の開口部を形成する。次に、アッシングによりフォトレジストと反射防止膜を除去する。
その後、スパッタリング法により、バリアメタル膜としてTaN膜を30nm成膜し、TaN膜の上にシード用のCu膜を100nm成膜する。次に、電解メッキ法によりCu膜を700nm成膜し、次いでCMP法により、第一配線121となる金属膜を形成する。その後、小径プラグ119および接続プラグ123の形成時と同様にして、配線用絶縁膜112上のCu膜およびバリアメタル膜を除去し、第一配線121が形成される。
その後、通常の配線作製工程により、配線用絶縁膜112上に、第一配線層絶縁膜113の上層をなすプラグ用絶縁膜114を形成する。プラグ用絶縁膜114中に、第一配線121と接続する接続プラグ122を形成する。そして、接続プラグ122に接続するパッド125、およびバンプ127をこの順に形成する。パッドの材料は、たとえばAl、Cu、Ni、TiN等とすることができる。また、バンプ127の材料は、たとえばAu、ハンダ等とすることができる。
なお、第一配線層絶縁膜113の上部にさらに所定の数の配線層等の上層を形成してもよい。
次に、シリコン基板101の上面に粘着剤層115を形成し、支持体117を貼付する(図2(b))。粘着剤層115として、たとえば粘着テープを用いる。粘着テープは基材とその両面に形成された粘着層から構成されている。粘着テープを構成する基材としては、たとえば、ポリオレフィン系樹脂、ポリエステル系樹脂などが用いられる。また、粘着テープを構成する粘着剤としては、たとえば、アクリル系エマルジョン型粘着剤、アクリル系溶剤型粘着剤、ウレタン系粘着剤などが用いられる。
また、支持体117の材料は、後述する裏面研削によるシリコン基板101の薄化加工等のプロセスにおける、熱、薬剤、外力などに対する耐性を備えている材料であればよく、たとえば、石英やパイレックス(登録商標)等のガラスとすることができる。また、ガラス以外の材料としてもよい。たとえば、アクリル樹脂などのプラスチックス等の材料を用いてもよい。
次に、シリコン基板101の裏面研削を行う。裏面研削は、機械的研磨により行う。研削後のシリコン基板101の厚さは、小径プラグ119の底部が露出しない範囲で適宜選択することができるが、たとえば、50〜200μm程度とすることができる。そして、シリコン基板101の裏面に反射防止膜およびフォトレジストをこの順に成膜し、フォトリソグラフィー技術を用いて大径プラグ131を形成する領域が開口するレジストパターン(不図示)を形成する。フォトレジスト膜をマスクとしてシリコン基板101をドライエッチングして、後に大径プラグ131を設ける位置に、開口部139を設ける。
開口部139は、シリコン基板101の裏面から素子形成面に向かい、上面がシリコン基板101の素子形成面の近傍よりも下方に位置する形状とする。また、開口部139は突出部141の底部に設けられ、その上面が小径プラグ119の底面よりも上方に位置する。小径プラグ119の表面にSiN膜137が設けられており、前述のシリコン基板101をドライエッチングする際のエッチング条件は、シリコン膜とSiN膜137との選択比が高い条件に設定されているため、開口部139の形成時に小径プラグ119は除去されず、小径プラグ119の側面外周のシリコン基板101が選択的に除去される。これにより、小径プラグ119の底面を含む姿態で開口部139が形成される。また、小径プラグ119の一部がシリコン基板101の外部に露出し、突出部141が形成される。
次に、シリコン基板101の裏面に電着絶縁膜129を設ける(図2(c))。このとき、電着絶縁膜129は、シリコン基板101の裏面ならびに開口部139の底面および側面に選択的に成膜される。突出部141の表面は絶縁性のSiN膜137に被覆されているため、小径プラグ119の外側には電着絶縁膜129が形成されない。電着絶縁膜129の膜厚は、たとえば0.5〜5μm程度とする。
電着絶縁膜129は、たとえば電着ポリイミド膜とする。電着ポリイミド膜の材料として、カチオン型ポリイミド電着塗料またはアニオン型ポリイミド電着塗料を用いることができる。具体的には、たとえば、シミズ社製エレコートPI等を用いることができる。なお、電着絶縁膜129の材料はポリイミドには限定されず、エポキシ系の電着塗料、アクリル系の電着塗料、フッ素系の電着塗料等、他の電着高分子塗料を用いてもよい。電着絶縁膜129の材料としてポリイミドを用いることにより、電着絶縁膜129の耐熱性を向上させることができる。このため、その後の製造プロセスにおける劣化が好適に抑制され、高い歩留まりで安定的に製造可能な構成とすることができる。
電着絶縁膜129の形成は、たとえば以下のようにして行う。シリコン基板101を一方の電極とし、他方の対極とともに電着塗料の液体中に浸漬させる。そして、シリコン基板101および対極に高分子の電荷に応じて所定の電位を印加する。こうすると、シリコン基板101の表面に高分子が付着する。所定の膜厚が得られたら塗料からシリコン基板101を取り出し、水洗する。その後、シリコン基板101を焼成することにより、その裏面に電着絶縁膜129が形成される。
次に、SiN膜137のエッチバックを行う。これにより、突出部141の先端部においてSiN膜137が除去されて小径プラグ119の表面を露出させる。このとき、シリコン基板101の裏面には電着絶縁膜129が形成されているため、シリコン基板101は除去されず、SiN膜137が選択的に除去される。なお、図1および図2(d)においては、突出部141におけるSiN膜137がすべて除去されている構成を例示したが、小径プラグ119のプラグ底部を含む少なくとも一部が露出していればよい。
次いで、無電解めっきにより小径プラグ119の露出部を起点としてNi膜を成長させて、開口部139を埋め込むとともに、開口部139の外部にバンプを一体に形成する。そして、バンプの表面にAuのめっき膜133を設けることにより、大径プラグ131が形成される(図2(d))。
このとき、大径プラグ131の形成を、裏面の開口部139の埋め込み工程と、裏面のバンプ形成工程に分けて行ってもよい。
その後、粘着剤層115をシリコン基板101の素子形成面から剥離することにより、支持体117が除去され、図1に示した半導体装置100が得られる。
次に、図1に示した半導体装置100の効果を説明する。
まず、半導体装置100においては、貫通電極135が小径プラグ119および大径プラグ131の二つのプラグからなる。小径プラグ119の端部の突出部141は、大径プラグ131に内包されている。
図3(a)および図3(b)は、太さの異なる2本のプラグからなる貫通電極の構成を模式的に示す図である。各分図において、上の図が断面図であり、下の図が平面図である。図3(a)は、本実施形態に係る貫通電極135の構成を示す図である。また、図3(b)は、小径プラグ219と大径プラグ231とが平坦面において接続した形状の貫通電極235を示す図である。
図3(a)の構成では、アンカー効果による両プラグの密着性の向上が図られる。このため、図3(b)の構成のように、これらの端部同士が単に接触している場合に比べて密着した構成とすることができる。また、シリコン基板101の裏面側から選択成長で大径プラグ131を形成可能な構成とすることができる。このため、製造プロセスの簡素化が可能な構成となっている。また、この構成により、両プラグ間のコンタクト抵抗の低減が図られる。また、配線近傍ではプラグの径を低くして配線密度を充分に確保しつつ、配線近傍以外ではプラグの径を太くして電気抵抗を低減することができる。このため、半導体装置100の電気的特性を向上させることができる。
また、図3(c)に示したように、本実施形態に係る貫通電極135が大径プラグ131に内包される二つの小径プラグ119および大径プラグ131の三つのプラグからなる構造では、アンカー効果によるプラグの密着性はさらに向上し、コンタクト抵抗のさらなる低減が図られる。
なお、小径プラグ119は、大径プラグ131の裏面側まで貫通する必要はない。突出部141の深さを浅くすることができるため、埋め込みによる小径プラグ119の製造が安定的に行える構成である。
また、貫通電極135においては、小径プラグ119の径が大径プラグ131の径よりも小さい構成となっている。このため、小径プラグ119に電気的に接続する第一配線121の大きさを小さくすることができる。また、最下層絶縁膜111中の素子の集積度を向上させることが可能な構成となっている。よって、装置全体の小型化に好適な構成となっている。
また、小径プラグ119が接続プラグ123と同時に成形可能であるため、製造プロセスの簡素化およびそれに伴う製造コストの低減が可能な構成となっている。また、小径プラグ119の成形がトランジスタの成形工程に与える影響が小さく、貫通電極135の形成によるトランジスタへのダメージが少ない構成となっている。
また、貫通電極135の上部において、小径プラグ119が最下層配線である第一配線層絶縁膜113内の第一配線121に接続しており、貫通電極135が第一配線層絶縁膜113に突出しない構成となっている。このため、第一配線層絶縁膜113内の配線密度を向上させることが可能な構成となっている。よって、貫通電極135の設置が回路の構成に与える影響が小さく、半導体装置100は素子や配線の配置の選択の自由度が高く、また、第一配線層絶縁膜113のデッドスペースの減少および第一配線121の集積度を高くすることが可能な構成とすることができる。
また、半導体装置100においては、開口部139の内面の突出部141の表面を除く領域に電着絶縁膜129が選択的に設けられている。このため、大径プラグ131を形成する以降の工程において、電着絶縁膜129を保護膜として用いることができるため、大径プラグ131形成用のレジストパターンをシリコン基板101の裏面に形成する必要がない。このため、簡便なプロセスで大径プラグ131を安定的に製造可能な構成となっている。
次に、小径プラグ119と大径プラグ131からなる貫通電極135の構成を従来の貫通電極の構成と対比してさらに説明する。図4(a)および図4(b)は、貫通電極の構成を模式的に示す断面図である。図4(a)は本実施形態に係る貫通電極135の構成を模式的に示した図である。また、図4(b)は、従来の貫通電極235の構成を模式的に示した図である。
図4(b)に示したように、従来の貫通電極235は、太い一本のプラグからなり、その上面で配線253に接触している。このため、貫通電極235の上部の配線253の面積が比較的大きくなる傾向にあった。また、貫通電極235に接触する配線253の層においては、貫通電極235の近傍に、貫通電極235に接触する配線253以外の配線254を設けることができなかった。このため、図中に矢印で示したように、貫通電極235の上面およびその近傍から離れた領域にのみ、貫通電極235に接触する配線253以外の配線254を形成することが可能であった。よって、貫通電極235に接触する配線253以外の配線254の集積度の向上の点で改善の余地があった。
これに対し、図4(a)に示したように、本実施形態に係る貫通電極135では、小径プラグ119の上面で配線153に接触している。このため、小径プラグ119の上部の配線153の断面積を小さくすることができる。また、配線153に接続するプラグが小径プラグ119である。このため、図中に矢印で示したように、小径プラグ119に接触する配線153以外の配線154を形成可能な領域が広い。このため、小径プラグ119に接触する配線153以外の配線154の集積度を向上させることができる。また、配線層近傍ではプラグの径を低くして配線密度を充分に確保しつつ、配線層の近傍以外ではプラグの径を太くして電気抵抗を低減することができる。
また、図4(a)の貫通電極135は、図3(a)および図3(b)を用いて前述したように、小径プラグ119の一部が大径プラグ131に貫入した構成である。このため、図4(b)の構成とは異なり2本のプラグを用いた場合にも、図3(b)の構成と比較した場合に、これらのプラグの間の接触抵抗が充分に小さく、貫通電極としての特性に優れた構成となっている。
なお、図1には示していないが、半導体装置100において、第一配線層絶縁膜113の上層の構成は、装置設計に応じて適宜選択することができる。第一配線層絶縁膜113の上部にさらに配線層等が積層されていてもよい。
たとえば、図5は、配線層が積層された半導体装置の構成を模式的に示す断面図である。図5の半導体装置の構成は基本的には図1に示した半導体装置100と同様であるが、シリコン基板101上に、最下層絶縁膜111、第一配線層絶縁膜113に加え、さらに絶縁層161および絶縁層163が積層されている。絶縁層161には、配線165および接続プラグ167が形成されている。絶縁層163には、配線169および接続プラグ171が形成されている。
図5に示したように、本実施形態に係る貫通電極135は、素子形成面側に断面積の小さい小径プラグ119が設けられ、これが積層体中の下層に設けられた第一配線121と接続している。このため、上層の配線の集積度を向上させることができる。
また、図6は、配線層が積層された半導体装置の別の構成を模式的に示す断面図である。図6に示したように、小径プラグ119が第一配線121と接続しているため、第一配線121よりも上層の設計の自由度にすぐれている。たとえば、貫通電極135がバンプ127に接続していない構成や、貫通電極135の直上にバンプ127を形成せずに、不図示の配線を介して貫通電極135とバンプ127とを接続した構造等とすることができる。
また、本実施形態および以下の実施形態に係る半導体装置において、貫通電極135を構成する小径プラグ119の一部が大径プラグ131に内包する態様として、たとえば、小径プラグ119の断面の一部が内包される態様および断面すべてが内包される態様が挙げられる。図7(a)および図7(b)は、こうした貫通電極135の構成を模式的に示す断面図である。図7(a)は、小径プラグ119の断面のすべてが大径プラグ131に内包されている構成を示す図である。また、図7(b)は、小径プラグ119の断面の一部が大径プラグ131に内包されている構成を示す図である。小径プラグ119の内包のされ方により、大径プラグ131に形成される凹部の形状が異なっている。
図7(a)および図7(b)のように、小径プラグ119の断面の少なくとも一部が大径プラグ131に内包される構成とすることにより、小径プラグ119が大径プラグ131に複数の面で接触する構成とすることができる。このため、図3(b)を用いて前述した構成に比べ、小径プラグ119と大径プラグ131との密着性を向上させることができる。また、図7(a)に示したように、小径プラグ119の断面すべてが大径プラグ131に貫入し、内包される構成とすることにより、これらの密着性をさらに向上させることができる。
(第二の実施形態)
第一の実施形態に記載の半導体装置100を以下のようにして作製することもできる。以下、図2(a)〜図2(d)を参照しつつ、第一の実施形態と異なる点を中心に説明する。
まず、第一の実施形態と同様にして、シリコン基板101の裏面に電着絶縁膜129を設ける手順までを行う(図2(c))。次に、第一の実施形態と同様にして、突出部141におけるSiN膜137のエッチバックを行う。
そして、電着絶縁膜129が設けられたシリコン基板101の裏面全面に、金属のシード層を形成する。シード層を構成する金属は、たとえばNi、Ni/Cu、またはTiN/Ti/Cu等とすることができる。なお、シード層に複数の金属を用いる場合には、シリコン基板101から近い層から順に「下層/上層」または「下層/中層/上層」のように表示している。また、シード層は、たとえばスパッタリング法により形成することができる。
次に、シリコン基板101の裏面に、開口部139を被覆し、開口部139以外の領域が開口したレジストパターンを形成する。そして、エッチングを行うことにより、シード層を除去する。そして、シリコン基板101の裏面に設けられているレジストパターンを除去する。これにより、開口部139の内面を被覆するシード層が形成される。
そして、Niの電解めっきを行い、表面にAuのめっき膜133を設け、大径プラグ131を得る。こうして、本実施形態に係る半導体装置が得られる。
本実施形態に係る半導体装置においては、開口部139の内壁全面にシード層が形成されている。このため、大径プラグ131を開口部139内に隙間なく安定的に作製可能な構成となっている。また、シード層が設けられているため、小径プラグ119と大径プラグ131との間の接触抵抗を好適に低減させることができる。貫通電極135の導電性により一層すぐれた構成となっている。このため、より一層貫通電極135の信頼性にすぐれた構成となっている。また、製造安定性にすぐれた構成となっている。
(第三の実施形態)
第一の実施形態に記載の半導体装置100を以下のようにして作製することもできる。以下、以下、図2(a)〜図2(d)を参照しつつ、第一または第二の実施形態と異なる点を中心に説明する。
まず、第一および第二の実施形態と同様にして、図2(a)および図2(b)を用いて前述した手順を行う。シリコン基板101の上面に粘着剤層115を形成し、支持体117に貼付した後(図2(b))、シリコン基板101の裏面研削、開口部139の形成までの手順までを行う。
次に、シリコン基板101の裏面に電着絶縁膜129を設ける手順(図2(c))の前に、シリコン基板101の裏面にシード層を設ける。シード層の材料は、Siよりも低抵抗の材料とする。たとえば、Ni等の金属とする。シード層の膜厚は、たとえば、0.1〜2μm程度とすることができる。
シード層は、たとえば無電解めっきにより形成することができる。無電解めっきを用いることにより、シリコン基板101の裏面にSiN膜137に対して選択的にシード層を形成することができる。
シード層を形成した後、このシード層をシードとして、第一の実施形態と同様にしてシリコン基板101の裏面に電着絶縁膜129を設ける(図2(c)、ただしシード層は不図示。)。以降の工程は、第一または第二の実施形態と同様にして行うことができる。こうして、本実施形態に係る半導体装置が得られる。
本実施形態に係る半導体装置においては、開口部139の内壁を含むシリコン基板101の裏面全面にシード層が形成されている。下地にSiよりも低抵抗の金属のシード層を設けることにより、電着絶縁膜129を一様に安定的に形成することができる。よって、大径プラグ131形成用のレジストパターンをシリコン基板101の裏面に形成することなく、大径プラグ131をより一層安定的に製造可能な構成となっている。また、大径プラグ131とシリコン基板101との間を確実に絶縁することができる。
以上、発明の好適な実施形態を説明した。しかし、本発明は上述の実施形態に限定されず、当業者が本発明の範囲内で上述の実施形態を変形可能なことはもちろんである。
たとえば、以上の実施形態においては、半導体基板としてシリコン基板を用いたが、GaAs基板等の化合物半導体基板としてもよい。
また、以上の実施形態においては、小径プラグ119の材料としてWを用いたが、導電率の高い他の金属を用いてもよい。たとえば、Cu、Al、Niなどの金属を用いてもよい。
また、以上の実施形態においては、貫通電極135を構成する小径プラグ119が第一配線層絶縁膜113に接続される構成について説明したが、第二配線層以上の第一配線層絶縁膜113より上部の下層配線層に接続される構成としてもよい。
また、以上の実施形態においては、一つの大径プラグ131の上面に一つの小径プラグ119が貫入した構成を例に説明したが、図3(c)に示したように、一つの大径プラグ131に二つ以上の小径プラグ119が貫入した構成とすることもできる。こうすることにより、小径プラグ119と大径プラグ131との電気的接触をさらに確実なものとすることができる。
また、貫通電極135を構成する小径プラグ119および大径プラグ131がともに円柱である場合を例に説明したが、小径プラグ119が大径プラグ131に貫入した柱状体であれば、これらの形状は円柱形には限定されない。たとえば、小径プラグ119または大径プラグ131の形状は、楕円柱、または角柱等の上面および底面の面積が略等しい形状であってもよい。また、上面に先端部を有しない円錐台、楕円錐台、または角錐台の形状であってもよい。また、柱状体は、一方向に延在するトレンチ形状であってもよい。
また、以上の実施形態においては、大径プラグ131の上面がシリコン基板101の素子形成面の下方に位置している構成を例に説明したが、大径プラグ131がシリコン基板101の裏面から素子形成面近傍にわたって設けられている構成とすることができる。また、大径プラグ131の上面が多少シリコン基板101の素子形成面から突出していても、大径プラグ131が上面で絶縁された構成であればよい。
また、以上の実施形態においては、粘着剤層115および支持体117をシリコン基板101の素子形成面から剥離したが、必要に応じて剥離させずにそのまま半導体装置の一部としてもよい。
本実施形態に係る半導体装置の構成を模式的に示す断面図である。 図1の半導体装置の製造工程を説明する断面図である。 貫通電極の構成を模式的に示す図である。 貫通電極の構成を模式的に示す断面図である。 本実施形態に係る半導体装置の構成を模式的に示す断面図である。 本実施形態に係る半導体装置の構成を模式的に示す断面図である。 本実施形態に係る貫通電極の構成を模式的に示す断面図である。
符号の説明
100 半導体装置
101 シリコン基板
102 半導体装置
103 素子分離膜
104 半導体装置
105 拡散層
107 ゲート電極
109 エッチングストッパ膜
112 配線用絶縁膜
113 第一配線層絶縁膜
114 プラグ用絶縁膜
115 粘着剤層
117 支持体
119 小径プラグ
121 第一配線
122 接続プラグ
123 接続プラグ
125 パッド
127 バンプ
129 電着絶縁膜
131 大径プラグ
133 めっき膜
135 貫通電極
137 SiN膜
139 開口部
141 突出部
153 配線
154 配線
161 絶縁層
163 絶縁層
165 配線
167 接続プラグ
169 配線
171 接続プラグ

Claims (9)

  1. 半導体基板の素子形成面の側に第一の孔を形成する工程と、
    前記第一の孔の内壁に、絶縁材料からなるバリア膜を形成する工程と、
    前記第一の孔の内部を埋め込むように第一の金属膜を埋設する工程と、
    前記第一の孔の外部に形成された前記第一の金属膜を除去し、前記第一の孔の内部に第一のプラグを形成する工程と、
    裏面の側から前記半導体基板を選択的に除去して第二の孔を形成し、前記第二の孔の内部に前記第一のプラグの一部を露出させる工程と、
    前記第二の孔の内面の前記第一のプラグを除く領域に選択的に絶縁材料を付着させる工程と、
    絶縁材料を付着させる前記工程の後、露出した前記バリア膜の少なくとも一部を除去し、前記第一の金属膜を露出させる工程と、
    前記第二の孔の内部を埋めるように選択的に第二の金属膜を成長させて、前記第一のプラグの一部を内包する第二のプラグを形成する工程と、
    を含むことを特徴とする半導体装置の製造方法。
  2. 請求項1に記載の半導体装置の製造方法において、第二のプラグを形成する前記工程は、露出した前記第一の金属膜を起点として前記第二の孔の内部を埋めるように前記第二の金属膜を成長させる工程を含むことを特徴とする半導体装置の製造方法。
  3. 請求項1または2に記載の半導体装置の製造方法において、前記絶縁材料は電着材料であることを特徴とする半導体装置の製造方法。
  4. 請求項3に記載の半導体装置の製造方法において、前記電着材料は電着ポリイミドであることを特徴とする半導体装置の製造方法。
  5. 請求項1乃至4いずれかに記載の半導体装置の製造方法において、前記第二の孔は前記第一の孔よりも断面積が大きいことを特徴とする半導体装置の製造方法。
  6. 請求項1乃至5いずれかに記載の半導体装置の製造方法において、第二のプラグを形成する前記工程の前に、前記第二の孔の前記内面に金属のシード層を形成する工程を含み、
    第二のプラグを形成する前記工程は、前記シード層を起点として前記第二の金属膜を成長させる工程を含むことを特徴とする半導体装置の製造方法。
  7. 請求項1乃至6いずれかに記載の半導体装置の製造方法において、第二の孔を形成する前記工程の後、絶縁材料を付着させる前記工程の前に、前記第二の孔の前記内面の前記第一のプラグを除く前記領域に選択的に金属のシード層を形成する工程を含み、
    絶縁材料を付着させる前記工程は、前記シード層に前記絶縁材料を付着させる工程を含むことを特徴とする半導体装置の製造方法。
  8. 請求項1乃至7いずれかに記載の半導体装置の製造方法において、第一の孔を形成する前記工程は、前記半導体基板の前記素子形成面の側に絶縁膜を形成した後、前記第一の孔を形成する領域の前記絶縁膜を選択的に除去する工程を含むことを特徴とする半導体装置の製造方法。
  9. 請求項8に記載の半導体装置の製造方法において、
    第一のプラグを形成する前記工程の後に、前記半導体基板の前記絶縁膜上に配線層を形成する工程を含み、
    配線層を形成する前記工程は、前記第一のプラグに接続する配線を形成する工程を含むことを特徴とする半導体装置の製造方法。


JP2004108442A 2004-03-31 2004-03-31 半導体装置の製造方法 Expired - Fee Related JP4327644B2 (ja)

Priority Applications (3)

Application Number Priority Date Filing Date Title
JP2004108442A JP4327644B2 (ja) 2004-03-31 2004-03-31 半導体装置の製造方法
US11/085,135 US7528068B2 (en) 2004-03-31 2005-03-22 Method for manufacturing semiconductor device
TW094110022A TWI293473B (en) 2004-03-31 2005-03-30 Method for manufacturing semiconductor device

Applications Claiming Priority (1)

Application Number Priority Date Filing Date Title
JP2004108442A JP4327644B2 (ja) 2004-03-31 2004-03-31 半導体装置の製造方法

Publications (2)

Publication Number Publication Date
JP2005294582A true JP2005294582A (ja) 2005-10-20
JP4327644B2 JP4327644B2 (ja) 2009-09-09

Family

ID=35096828

Family Applications (1)

Application Number Title Priority Date Filing Date
JP2004108442A Expired - Fee Related JP4327644B2 (ja) 2004-03-31 2004-03-31 半導体装置の製造方法

Country Status (3)

Country Link
US (1) US7528068B2 (ja)
JP (1) JP4327644B2 (ja)
TW (1) TWI293473B (ja)

Cited By (16)

* Cited by examiner, † Cited by third party
Publication number Priority date Publication date Assignee Title
JP2010192481A (ja) * 2009-02-16 2010-09-02 Panasonic Corp 半導体基板と半導体パッケージおよび半導体基板の製造方法
JP2010232400A (ja) * 2009-03-27 2010-10-14 Panasonic Corp 半導体基板と半導体基板の製造方法および半導体パッケージ
JP2010245263A (ja) * 2009-04-06 2010-10-28 Shinko Electric Ind Co Ltd 半導体装置及びその製造方法
US7843068B2 (en) 2005-06-30 2010-11-30 Shinko Electric Industries Co., Ltd. Semiconductor chip and method of manufacturing the same
JP2010278181A (ja) * 2009-05-28 2010-12-09 Shinko Electric Ind Co Ltd 半導体装置及びその製造方法
US7875552B2 (en) 2008-06-10 2011-01-25 Samsung Electronics Co., Ltd. Methods of forming integrated circuit chips having vertically extended through-substrate vias therein and chips formed thereby
US8034704B2 (en) 2006-12-06 2011-10-11 Sony Corporation Method for manufacturing semiconductor device and semiconductor device
US8102049B2 (en) 2006-08-25 2012-01-24 Renesas Electronics Corporation Semiconductor device including through electrode and method of manufacturing the same
US8217516B2 (en) 2008-06-06 2012-07-10 Renesas Electronics Corporation Semiconductor device and method of manufacturing the same
US8252628B2 (en) 2007-03-15 2012-08-28 Sony Corporation Semiconductor device and method of manufacturing the same
JP2012164792A (ja) * 2011-02-07 2012-08-30 Nippon Telegr & Teleph Corp <Ntt> ヴィア構造およびその作製方法
JP2014049500A (ja) * 2012-08-29 2014-03-17 Renesas Electronics Corp 半導体装置及びその製造方法
WO2014061643A1 (ja) * 2012-10-16 2014-04-24 東京エレクトロン株式会社 半導体装置の製造方法及び半導体装置
JP2014517534A (ja) * 2011-06-06 2014-07-17 マイクロン テクノロジー, インク. 基板貫通相互接続を有する半導体構成と、基板貫通相互接続を形成する方法
JP2016181716A (ja) * 2016-06-15 2016-10-13 ルネサスエレクトロニクス株式会社 半導体装置及びその製造方法
CN110718504A (zh) * 2019-09-02 2020-01-21 长江存储科技有限责任公司 插塞结构、三维存储器的形成方法和三维存储器

Families Citing this family (26)

* Cited by examiner, † Cited by third party
Publication number Priority date Publication date Assignee Title
JP4265668B2 (ja) * 2007-03-08 2009-05-20 ソニー株式会社 回路基板の製造方法および回路基板
JP2009147218A (ja) * 2007-12-17 2009-07-02 Toshiba Corp 半導体装置とその製造方法
US7803714B2 (en) * 2008-03-31 2010-09-28 Freescale Semiconductor, Inc. Semiconductor through silicon vias of variable size and method of formation
WO2010035379A1 (ja) * 2008-09-26 2010-04-01 パナソニック株式会社 半導体装置及びその製造方法
US8063469B2 (en) * 2008-09-30 2011-11-22 Infineon Technologies Ag On-chip radio frequency shield with interconnect metallization
US7948064B2 (en) * 2008-09-30 2011-05-24 Infineon Technologies Ag System on a chip with on-chip RF shield
US8178953B2 (en) * 2008-09-30 2012-05-15 Infineon Technologies Ag On-chip RF shields with front side redistribution lines
US8169059B2 (en) * 2008-09-30 2012-05-01 Infineon Technologies Ag On-chip RF shields with through substrate conductors
US8889548B2 (en) 2008-09-30 2014-11-18 Infineon Technologies Ag On-chip RF shields with backside redistribution lines
JP5537016B2 (ja) * 2008-10-27 2014-07-02 株式会社東芝 半導体装置および半導体装置の製造方法
US8227889B2 (en) * 2008-12-08 2012-07-24 United Microelectronics Corp. Semiconductor device
US8513119B2 (en) 2008-12-10 2013-08-20 Taiwan Semiconductor Manufacturing Company, Ltd. Method of forming bump structure having tapered sidewalls for stacked dies
US7786008B2 (en) * 2008-12-12 2010-08-31 Stats Chippac Ltd. Integrated circuit packaging system having through silicon vias with partial depth metal fill regions and method of manufacture thereof
US20100171197A1 (en) 2009-01-05 2010-07-08 Hung-Pin Chang Isolation Structure for Stacked Dies
US8791549B2 (en) 2009-09-22 2014-07-29 Taiwan Semiconductor Manufacturing Company, Ltd. Wafer backside interconnect structure connected to TSVs
US8466059B2 (en) 2010-03-30 2013-06-18 Taiwan Semiconductor Manufacturing Company, Ltd. Multi-layer interconnect structure for stacked dies
TWI441292B (zh) * 2011-03-02 2014-06-11 矽品精密工業股份有限公司 半導體結構及其製法
US8853857B2 (en) * 2011-05-05 2014-10-07 International Business Machines Corporation 3-D integration using multi stage vias
JP2012256679A (ja) 2011-06-08 2012-12-27 Elpida Memory Inc 半導体装置及びその製造方法
US8900994B2 (en) 2011-06-09 2014-12-02 Taiwan Semiconductor Manufacturing Company, Ltd. Method for producing a protective structure
US20130015504A1 (en) * 2011-07-11 2013-01-17 Chien-Li Kuo Tsv structure and method for forming the same
DE102011081100A1 (de) * 2011-08-17 2013-02-21 Siemens Aktiengesellschaft Anordnung mit Photozellen
US9159699B2 (en) * 2012-11-13 2015-10-13 Delta Electronics, Inc. Interconnection structure having a via structure
JP6502751B2 (ja) * 2015-05-29 2019-04-17 東芝メモリ株式会社 半導体装置および半導体装置の製造方法
KR102542614B1 (ko) 2017-10-30 2023-06-15 삼성전자주식회사 이미지 센서
US11843020B2 (en) 2017-10-30 2023-12-12 Samsung Electronics Co., Ltd. Image sensor

Family Cites Families (11)

* Cited by examiner, † Cited by third party
Publication number Priority date Publication date Assignee Title
US3911475A (en) * 1972-04-19 1975-10-07 Westinghouse Electric Corp Encapsulated solid state electronic devices having a sealed lead-encapsulant interface
US6690044B1 (en) * 1993-03-19 2004-02-10 Micron Technology, Inc. Approach to avoid buckling BPSG by using an intermediate barrier layer
JPH10214896A (ja) * 1996-11-29 1998-08-11 Toshiba Corp 半導体装置の製造方法及び製造装置
US5990562A (en) * 1997-02-25 1999-11-23 International Business Machines Corporation Semiconductor devices having backside probing capability
US6066539A (en) * 1997-04-11 2000-05-23 Micron Technology, Inc. Honeycomb capacitor and method of fabrication
TW408443B (en) * 1998-06-08 2000-10-11 United Microelectronics Corp The manufacture method of dual damascene
TW442873B (en) * 1999-01-14 2001-06-23 United Microelectronics Corp Three-dimension stack-type chip structure and its manufacturing method
JP2000311982A (ja) 1999-04-26 2000-11-07 Toshiba Corp 半導体装置と半導体モジュールおよびそれらの製造方法
JP2001127151A (ja) * 1999-10-26 2001-05-11 Fujitsu Ltd 半導体装置およびその製造方法
US7030010B2 (en) * 2002-08-29 2006-04-18 Micron Technology, Inc. Methods for creating electrophoretically insulated vias in semiconductive substrates and resulting structures
JP2004363573A (ja) * 2003-05-15 2004-12-24 Kumamoto Technology & Industry Foundation 半導体チップ実装体およびその製造方法

Cited By (29)

* Cited by examiner, † Cited by third party
Publication number Priority date Publication date Assignee Title
US8338289B2 (en) 2005-06-30 2012-12-25 Shinko Electric Industries Co., Ltd. Method of manufacturing a semiconductor chip including a semiconductor substrate and a through via provided in a through hole
US7843068B2 (en) 2005-06-30 2010-11-30 Shinko Electric Industries Co., Ltd. Semiconductor chip and method of manufacturing the same
US8102049B2 (en) 2006-08-25 2012-01-24 Renesas Electronics Corporation Semiconductor device including through electrode and method of manufacturing the same
US8034704B2 (en) 2006-12-06 2011-10-11 Sony Corporation Method for manufacturing semiconductor device and semiconductor device
KR101455386B1 (ko) * 2006-12-06 2014-10-27 소니 주식회사 반도체 장치의 제조 방법 및 반도체 장치
US9379155B2 (en) 2007-03-15 2016-06-28 Sony Corporation Semiconductor device and method of manufacturing the same
US11676977B2 (en) 2007-03-15 2023-06-13 Sony Group Corporation Semiconductor device
US8252628B2 (en) 2007-03-15 2012-08-28 Sony Corporation Semiconductor device and method of manufacturing the same
US9041179B2 (en) 2007-03-15 2015-05-26 Sony Corporation Semiconductor device and method of manufacturing the same
US8791567B2 (en) 2008-06-06 2014-07-29 Renesas Electronics Corporation Semiconductor device
US8217516B2 (en) 2008-06-06 2012-07-10 Renesas Electronics Corporation Semiconductor device and method of manufacturing the same
US7875552B2 (en) 2008-06-10 2011-01-25 Samsung Electronics Co., Ltd. Methods of forming integrated circuit chips having vertically extended through-substrate vias therein and chips formed thereby
US9219035B2 (en) 2008-06-10 2015-12-22 Samsung Electronics Co., Ltd. Integrated circuit chips having vertically extended through-substrate vias therein
US8629059B2 (en) 2008-06-10 2014-01-14 Samsung Electronics Co., Ltd. Methods of forming integrated circuit chips having vertically extended through-substrate vias therein
JP2010192481A (ja) * 2009-02-16 2010-09-02 Panasonic Corp 半導体基板と半導体パッケージおよび半導体基板の製造方法
JP2010232400A (ja) * 2009-03-27 2010-10-14 Panasonic Corp 半導体基板と半導体基板の製造方法および半導体パッケージ
JP2010245263A (ja) * 2009-04-06 2010-10-28 Shinko Electric Ind Co Ltd 半導体装置及びその製造方法
JP2010278181A (ja) * 2009-05-28 2010-12-09 Shinko Electric Ind Co Ltd 半導体装置及びその製造方法
JP2012164792A (ja) * 2011-02-07 2012-08-30 Nippon Telegr & Teleph Corp <Ntt> ヴィア構造およびその作製方法
US9583419B2 (en) 2011-06-06 2017-02-28 Micron Technology, Inc. Semiconductor constructions having through-substrate interconnects
JP2014517534A (ja) * 2011-06-06 2014-07-17 マイクロン テクノロジー, インク. 基板貫通相互接続を有する半導体構成と、基板貫通相互接続を形成する方法
US10121738B2 (en) 2011-06-06 2018-11-06 Micron Technology, Inc. Semiconductor constructions
JP2014049500A (ja) * 2012-08-29 2014-03-17 Renesas Electronics Corp 半導体装置及びその製造方法
US9779992B2 (en) 2012-08-29 2017-10-03 Renesas Electronics Corporation Semiconductor device and method of manufacturing the same
US9275935B2 (en) 2012-08-29 2016-03-01 Renesas Electronics Corporation Semiconductor device and method of manufacturing the same
WO2014061643A1 (ja) * 2012-10-16 2014-04-24 東京エレクトロン株式会社 半導体装置の製造方法及び半導体装置
JP2016181716A (ja) * 2016-06-15 2016-10-13 ルネサスエレクトロニクス株式会社 半導体装置及びその製造方法
CN110718504A (zh) * 2019-09-02 2020-01-21 长江存储科技有限责任公司 插塞结构、三维存储器的形成方法和三维存储器
CN110718504B (zh) * 2019-09-02 2022-07-29 长江存储科技有限责任公司 插塞结构、三维存储器的形成方法和三维存储器

Also Published As

Publication number Publication date
US20050233581A1 (en) 2005-10-20
JP4327644B2 (ja) 2009-09-09
TW200535978A (en) 2005-11-01
US7528068B2 (en) 2009-05-05
TWI293473B (en) 2008-02-11

Similar Documents

Publication Publication Date Title
JP4327644B2 (ja) 半導体装置の製造方法
JP4439976B2 (ja) 半導体装置およびその製造方法
JP4800585B2 (ja) 貫通電極の製造方法、シリコンスペーサーの製造方法
US8183685B2 (en) Semiconductor device
JP5021992B2 (ja) 半導体装置およびその製造方法
JP2006019455A (ja) 半導体装置およびその製造方法
JP2011258687A (ja) 半導体装置およびその製造方法
CN114078954B (zh) 存储器结构及其形成方法
JP2010080750A (ja) 半導体装置及びその製造方法
CN108630647B (zh) 半导体装置及其制造方法
CN108666284A (zh) 半导体装置的制造方法及半导体装置
TWI344685B (en) An integrated circuit device and a process for forming the same
CN102760710B (zh) 硅穿孔结构及其形成方法
KR20010062445A (ko) 반도체 장치 및 본드 패드 형성 프로세스
KR101139650B1 (ko) 배선 기판, 그 제조 방법, 및 반도체 장치
TWI437689B (zh) 半導體裝置
JP5834563B2 (ja) 半導体装置の製造方法
US20060267190A1 (en) Semiconductor device, laminated semiconductor device, and method for producing semiconductor device
CN112997304A (zh) 半导体装置
JP2009049336A (ja) 半導体装置およびその製造方法

Legal Events

Date Code Title Description
A621 Written request for application examination

Free format text: JAPANESE INTERMEDIATE CODE: A621

Effective date: 20070208

A977 Report on retrieval

Free format text: JAPANESE INTERMEDIATE CODE: A971007

Effective date: 20090430

TRDD Decision of grant or rejection written
A01 Written decision to grant a patent or to grant a registration (utility model)

Free format text: JAPANESE INTERMEDIATE CODE: A01

Effective date: 20090512

A01 Written decision to grant a patent or to grant a registration (utility model)

Free format text: JAPANESE INTERMEDIATE CODE: A01

A61 First payment of annual fees (during grant procedure)

Free format text: JAPANESE INTERMEDIATE CODE: A61

Effective date: 20090611

FPAY Renewal fee payment (event date is renewal date of database)

Free format text: PAYMENT UNTIL: 20120619

Year of fee payment: 3

R150 Certificate of patent or registration of utility model

Ref document number: 4327644

Country of ref document: JP

Free format text: JAPANESE INTERMEDIATE CODE: R150

Free format text: JAPANESE INTERMEDIATE CODE: R150

FPAY Renewal fee payment (event date is renewal date of database)

Free format text: PAYMENT UNTIL: 20120619

Year of fee payment: 3

S533 Written request for registration of change of name

Free format text: JAPANESE INTERMEDIATE CODE: R313533

FPAY Renewal fee payment (event date is renewal date of database)

Free format text: PAYMENT UNTIL: 20120619

Year of fee payment: 3

R350 Written notification of registration of transfer

Free format text: JAPANESE INTERMEDIATE CODE: R350

FPAY Renewal fee payment (event date is renewal date of database)

Free format text: PAYMENT UNTIL: 20120619

Year of fee payment: 3

FPAY Renewal fee payment (event date is renewal date of database)

Free format text: PAYMENT UNTIL: 20130619

Year of fee payment: 4

FPAY Renewal fee payment (event date is renewal date of database)

Free format text: PAYMENT UNTIL: 20130619

Year of fee payment: 4

FPAY Renewal fee payment (event date is renewal date of database)

Free format text: PAYMENT UNTIL: 20140619

Year of fee payment: 5

S531 Written request for registration of change of domicile

Free format text: JAPANESE INTERMEDIATE CODE: R313531

R350 Written notification of registration of transfer

Free format text: JAPANESE INTERMEDIATE CODE: R350

LAPS Cancellation because of no payment of annual fees