JP2012164792A - ヴィア構造およびその作製方法 - Google Patents

ヴィア構造およびその作製方法 Download PDF

Info

Publication number
JP2012164792A
JP2012164792A JP2011023684A JP2011023684A JP2012164792A JP 2012164792 A JP2012164792 A JP 2012164792A JP 2011023684 A JP2011023684 A JP 2011023684A JP 2011023684 A JP2011023684 A JP 2011023684A JP 2012164792 A JP2012164792 A JP 2012164792A
Authority
JP
Japan
Prior art keywords
hole
substrate
wiring
via structure
forming
Prior art date
Legal status (The legal status is an assumption and is not a legal conclusion. Google has not performed a legal analysis and makes no representation as to the accuracy of the status listed.)
Pending
Application number
JP2011023684A
Other languages
English (en)
Inventor
Takuya Tsutsumi
卓也 堤
Tomoyuki Akeyoshi
智幸 明吉
Suehiro Sugitani
末広 杉谷
Kazumi Nishimura
一巳 西村
Current Assignee (The listed assignees may be inaccurate. Google has not performed a legal analysis and makes no representation or warranty as to the accuracy of the list.)
NTT Inc
Original Assignee
Nippon Telegraph and Telephone Corp
Priority date (The priority date is an assumption and is not a legal conclusion. Google has not performed a legal analysis and makes no representation as to the accuracy of the date listed.)
Filing date
Publication date
Application filed by Nippon Telegraph and Telephone Corp filed Critical Nippon Telegraph and Telephone Corp
Priority to JP2011023684A priority Critical patent/JP2012164792A/ja
Publication of JP2012164792A publication Critical patent/JP2012164792A/ja
Pending legal-status Critical Current

Links

Images

Classifications

    • HELECTRICITY
    • H10SEMICONDUCTOR DEVICES; ELECTRIC SOLID-STATE DEVICES NOT OTHERWISE PROVIDED FOR
    • H10WGENERIC PACKAGES, INTERCONNECTIONS, CONNECTORS OR OTHER CONSTRUCTIONAL DETAILS OF DEVICES COVERED BY CLASS H10
    • H10W20/00Interconnections in chips, wafers or substrates
    • H10W20/01Manufacture or treatment
    • H10W20/021Manufacture or treatment of interconnections within wafers or substrates
    • H10W20/023Manufacture or treatment of interconnections within wafers or substrates the interconnections being through-semiconductor vias
    • H10W20/0242Manufacture or treatment of interconnections within wafers or substrates the interconnections being through-semiconductor vias comprising etching via holes from the back sides of the chips, wafers or substrates
    • HELECTRICITY
    • H10SEMICONDUCTOR DEVICES; ELECTRIC SOLID-STATE DEVICES NOT OTHERWISE PROVIDED FOR
    • H10WGENERIC PACKAGES, INTERCONNECTIONS, CONNECTORS OR OTHER CONSTRUCTIONAL DETAILS OF DEVICES COVERED BY CLASS H10
    • H10W20/00Interconnections in chips, wafers or substrates
    • H10W20/01Manufacture or treatment
    • H10W20/021Manufacture or treatment of interconnections within wafers or substrates
    • H10W20/023Manufacture or treatment of interconnections within wafers or substrates the interconnections being through-semiconductor vias
    • H10W20/0234Manufacture or treatment of interconnections within wafers or substrates the interconnections being through-semiconductor vias comprising etching via holes that stop on pads or on electrodes
    • HELECTRICITY
    • H10SEMICONDUCTOR DEVICES; ELECTRIC SOLID-STATE DEVICES NOT OTHERWISE PROVIDED FOR
    • H10WGENERIC PACKAGES, INTERCONNECTIONS, CONNECTORS OR OTHER CONSTRUCTIONAL DETAILS OF DEVICES COVERED BY CLASS H10
    • H10W20/00Interconnections in chips, wafers or substrates
    • H10W20/01Manufacture or treatment
    • H10W20/021Manufacture or treatment of interconnections within wafers or substrates
    • H10W20/023Manufacture or treatment of interconnections within wafers or substrates the interconnections being through-semiconductor vias
    • H10W20/0245Manufacture or treatment of interconnections within wafers or substrates the interconnections being through-semiconductor vias comprising use of blind vias during the manufacture

Landscapes

  • Internal Circuitry In Semiconductor Integrated Circuit Devices (AREA)

Abstract

【課題】より小さな径の基板貫通ヴィアが形成できるようにする。
【解決手段】基板101の回路が形成されている主表面101a側から所望の孔径の範囲で形成可能な深さに形成された第1孔部102と、基板101の裏面側から形成されて第1孔部102に接続する第2孔部103と、第1孔部102の内部に形成された第1孔部配線104と、第1孔部配線104に接続して基板101の主表面101a側に形成された表面配線層105と、第2孔部103の内部に第1孔部配線104に接続して形成された第2孔部配線106と、第2孔部配線106に接続して基板101の裏面側に形成された裏面配線層107とを備える。
【選択図】 図1

Description

本発明は、集積回路などが形成される基板を貫通するヴィア構造およびその作製方法
化合物半導体を用いた集積回路(IC)の高周波化が進展するに従い、高周波信号のチップ内共振周波数が低下するため、チップ内共振は、高周波設計上大きな問題となっている。チップ内共振を抑制するため、近年では、基板を貫通するヴィアを形成して基板裏面のグランドとチップ表面とを接続し、チップのグランドを強化することが極めて重要になってきている。
基板を貫通するヴィア(基板貫通ヴィア)の形成においては、回路形成面(基板表面)のプロセスが完了した後、裏面よりヴィアの形成プロセスを行う「ヴィアラスト方式」が主流である。この方式によれば、回路形成面の凹凸を最小限に抑え、高い歩留まりを維持しながら基板貫通ヴィアを形成することができる。
ヴィアラスト方式では、図8に示すように、まず、基板801表面の回路形成面801aに、表面配線層802を含む所望とする回路を形成した後、ヴィア形成箇所にランドメタル層803を形成する。この後、基板801の裏面側より基板貫通ヴィア804をエッチング形成する。この形成時に、既に形成してあるランドメタル層803が、エッチング停止層として機能する。この後、基板貫通ヴィア804内に、表面配線層802に接続する貫通配線層805を形成し、また、貫通配線層805に接続する裏面配線層806を形成する。
このような基板貫通ヴィアの形成技術として、例えば、シリコン基板を用いた集積回路では、ボッシュプロセスと呼ばれるエッチングとエッチング側壁保護とを繰り返すヴィア形成方法がある。この技術によれば、微細な径の基板貫通ヴィアが形成可能とされている。
一方、化合物半導体などのシリコン以外の材料による基板の場合、上述したボッシュプロセスを用いることができず、例えば、InP基板の場合、ヨウ化水素ガスを用いたドライエッチングで基板貫通ヴィアを形成している(非特許文献1参照)。また、窒化物化合物半導体,SiC,およびサファイアなどの基板の場合、金属マスクを用いたドライエッチングに出基板貫通ヴィアを形成している(特許文献1参照)。
特許第4516538号公報
小谷 謙司 他、「ヨウ化水素ガスを用いたInP基板へのビアホール形成」、信学技報、ED2004−41、37-42頁、2004年。
しかしながら、上述した基板貫通ヴィアの形成技術では、次に示すような問題がある。
シリコン以外の基板における基板貫通ヴィアの形成では、いわゆるボッシュプロセスが適用できないため、長時間のドライエッチングで基板貫通ヴィアを形成することになる。このため、第1に、ドライエッチングが長くなることによってヴィアのサイドエッチングや残渣の発生が顕著となり、ヴィアの径を拡大する必要が生じ、微細な径のヴィアを形成することが困難であった。例えば、図9の斜視図に示すように、基板貫通ヴィア804の深さDが50〜200μmの場合、孔径aは、80μm程度となる。このように基板貫通ヴィアの孔径が大きくなると、ランドメタル層を大面積に形成することになり、回路形成面における回路形成領域の減少を招き、チップの大型化、集積度の低下などの問題を招くことになる。
第2に、長いドライエッチング処理が必要となるため、基板貫通ヴィア形成用のエッチングマスク耐性の要求条件が厳しくなるといった問題がある。このため、エッチングマスク材料の制限、およびドライエッチング条件自体に制限が生じるようになる。
第3に、基板貫通ヴィアの大型化に伴ってランドメタル層の基板側に大きな空間が存在するようになる。このため、自身の応力でランドメタル層に反りが発生し、集積回路チップの信頼性を大幅に低下させてしまうという問題が生じていた。ランドメタル層の反りを回避するには、ランドメタル層をより厚く形成することになる。しかしながら、このために、ランドメタル層用のプロセスが別途必要になり、また、表面多層配線を重畳するなど、プロセスの増加が生じ、結果としてスループットの低下、および配線レイアウトの制限などが生じてしまっていた。
本発明は、以上のような問題点を解消するためになされたものであり、より小さな径の基板貫通ヴィアが形成できるようにすることを目的とする。
本発明に係るヴィア構造は、基板の回路が形成されている主表面側から所望の孔径の範囲で形成可能な深さに形成された第1孔部と、基板の裏面側から形成されて第1孔部に接続する第2孔部と、第1孔部の内部に形成された第1孔部配線と、第1孔部配線に接続して基板の主表面側に形成された表面配線層と、第2孔部の内部に第1孔部配線に接続して形成された第2孔部配線と、第2孔部配線に接続して基板の裏面側に形成された裏面配線層とを少なくとも備える。
上記のヴィア構造において、第1孔部に接触する表面配線層で構成されたランドメタル層を備えるようにしてもよい。なお、第1孔部の孔径は、2〜20μmであればよい。
本発明に係るヴィア構造の作製方法は、基板の回路が形成される主表面側から所望の孔径の範囲で形成可能な深さに第1孔部を形成する第1工程と、第1孔部の内部に第1孔部配線を形成する第2工程と、基板の主表面側に第1孔部配線に接続する表面配線層を形成する第3工程と、基板の裏面側から第1孔部に接続する第2孔部を形成する第4工程と、第2孔部の内部に第1孔部配線に接続する第2孔部配線を形成する第5工程と、基板の裏面側に第2孔部配線に接続する裏面配線層を形成する第6工程とを少なくとも備える。
上記ヴィア構造の作製方法において、第1工程では、第1孔部とともに素子間分離のための溝部を形成してもよい。また、第1工程では、第1孔部とともにキャパシタを構成する溝部を形成してもよい。
以上説明したように、本発明によれば、基板の裏面側から形成されて第1孔部に接続する第2孔部を設けるようにしたので、より小さな径の基板貫通ヴィアが形成できるようになるという優れた効果が得られる。
図1は、本発明の実施の形態におけるヴィア構造の構成を示す構成図である。 図2は、本発明の実施の形態におけるヴィア構造の一部構成を示す斜視図である。 図3は、本発明の実施の形態におけるヴィア構造の一部構成を示す斜視図である。 図4Aは、本発明の実施の形態におけるヴィア構造の作製途中の状態を示す断面図である。 図4Bは、本発明の実施の形態におけるヴィア構造の作製途中の状態を示す断面図である。 図4Cは、本発明の実施の形態におけるヴィア構造の作製途中の状態を示す断面図である。 図4Dは、本発明の実施の形態におけるヴィア構造の作製途中の状態を示す断面図である。 図4Eは、本発明の実施の形態におけるヴィア構造の作製途中の状態を示す断面図である。 図4Fは、本発明の実施の形態におけるヴィア構造の作製途中の状態を示す断面図である。 図4Gは、本発明の実施の形態におけるヴィア構造の作製途中の状態を示す断面図である。 図4Hは、本発明の実施の形態におけるヴィア構造の作製途中の状態を示す断面図である。 図5は、本発明の実施の形態におけるヴィア構造の構成を示す斜視図である。 図6は、本発明の実施の形態におけるヴィア構造の一部構成を示す斜視図である。 図7は、本発明の実施の形態における他のヴィア構造の構成を示す構成図である。 図8は、ヴィア構造の構成を示す断面図である。 図9は、ヴィア構造の一部構成を示す斜視図である。
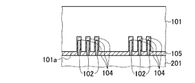
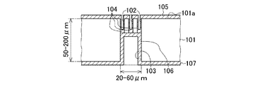
以下、本発明の実施の形態について図を参照して説明する。図1は、本発明の実施の形態におけるヴィア構造の構成を示す構成図である。図1では、ヴィア構造の断面を概略的に示している。
このヴィア構造は、まず、基板101の回路が形成される主表面101a側から所望の孔径の範囲で形成可能な深さに形成された第1孔部102と、基板101の裏面側から形成されて第1孔部102に接続する第2孔部103とを備える。
また、このヴィア構造は、第1孔部102の内部に形成された第1孔部配線104と、第1孔部配線104に接続して基板101の主表面101a側に形成された表面配線層105と、第2孔部103の内部に第1孔部配線104に接続して形成された第2孔部配線106と、第2孔部配線106に接続して基板101の裏面側に形成された裏面配線層107とを備える。
ここで、基板101は、例えば、InP、GaAs、GaNなど化合物半導体から構成されたものであればよい。これらの基板の場合、典型的な基板厚は、50〜200μmである。この程度の厚さの基板であれば、孔部(ヴィア)形成などの各プロセスにおける基板のハンドリング性を良好な状態とすることができる。なお、第1孔部102と第2孔部103よりなるヴィアにおける接地強化効果、および電気伝導や信号伝播特性を良好に維持することができる構造であれば、いかなる基板厚さでも構わない。
上述した本実施の形態におけるヴィア構造によれば、所望の孔径の範囲で形成可能な深さに第1孔部102を形成してあるので、裏面から形成する第2孔部103は、基板101を貫通して形成することなく、基板101の途中までエッチングすることで形成すればよい。このため、第2孔部103の形成では、エッチング量が減少し、また、エッチング残渣を減少させることができるので、孔径を拡大する必要がなく、微細な孔径に形成することができる。
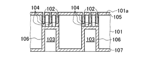
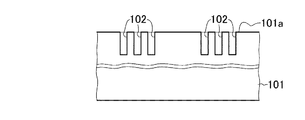
例えば、第1孔部102は、孔径2〜20μm程度とし、深さは5〜20μmとすることができる。この場合、例えば、基板101の板厚が50〜200μmであれば、第2孔部103の深さは、45〜180μm程度とし、孔径は20〜60μm程度とすることができる。ここで、図2の斜視図に示すように、円柱形状とした第1孔部202の直径cとし、第2孔部203の直径をbとし、図9に示した従来の基板貫通ヴィア804の直径をaとすると、a>b>cとすることができる。なお、図2では、各孔部を円筒形状としているが、これに限るものではなく、図3の斜視図に示すように、第1孔部302および第2孔部303の形状を、角柱およびその他の形状としてもよい。
なお、第1孔部配線104および第2孔部配線106は、例えば、Au,Cu,Al,Wなどの金属から構成すればよい。例えば、第1孔部配線104は、厚さ0.5〜3μmとし、第1孔部102の孔内の表面を被覆するように形成すればよい。一方、第2孔部配線106は、厚さ3〜20μmとし、第2孔部103の孔内の表面を被覆するように形成すればよい。また、孔内を金属で充填して貫通配線としてもよい。
また、本実施の形態によれば、エッチング量を減らすことができるので、エッチングに用いる利用可能なマスク材料の選択肢が増え、また、エッチング種やエッチング温度などのエッチング条件の設計自由度も飛躍的に向上する。
また、第1孔部102の側にランドメタル層を形成する場合、ランドメタル層の基板側に大きな空間が形成されることがなくなるので、ランドメタル層における反りの問題が解消できるようになり、ランドメタル層をより薄く形成することが可能となる。
次に、本実施の形態におけるヴィア構造の作製方法について、図4A〜図4Hを用いて説明する。図4A〜図4Hは、本発明の実施の形態におけるヴィア構造の作製途中の状態を示す断面図である。
まず、図4Aに示すように、基板101を用意する。基板101は、例えばInP基板、GaAs基板、GaN基板などである。
次に、図4Bに示すように、回路が形成されている主表面101aの側から、所望の孔径の範囲で形成可能な深さに第1孔部102を形成する。例えば、直径2〜20μmで深さ5〜20μmの円筒形状の第1孔部102を形成する。例えば、Cl2,HBr,HIなどのハロゲン系ガスを用いたドライエッチングにより、第1孔部102を形成すればよい。形成した孔部の側壁が滑らかで微細な孔径に形成可能であれば、いかなるガス種を用いても構わない。また、ウェットエッチングが可能なエッチャントによって第1孔部102を形成してもよい。
次に、図4Cに示すように、第1孔部102の内部に第1孔部配線104を形成し、また、基板101の主表面101a側に第1孔部配線104に接続する表面配線層105を形成する。例えば、Au,Cu,Al,Wなどの金属を、例えば、真空蒸着法,スパッタリング法,およびメッキ法などにより堆積することで、第1孔部配線104および表面配線層105を形成すればよい。図4Cでは、第1孔部102の壁面を覆うように第1孔部配線104を形成した状態を示しているが、第1孔部配線104は、第1孔部102の内部を金属で充填して形成してもよい。
次に、図4Dに示すように、基板101の主表面101a側に、サポート基板201を貼り付ける。サポート基板201は、例えばガラスから構成すればよい。また、サポート基板201は、例えば、UVで接着剤硬化する接着剤および熱で接着剤硬化する接着剤などにより接着すればよい。サポート基板201を貼り付けることで、基板101の主表面101aの側を保護した状態で、基板101の裏面側の様々な処理が行えるようになる。
次に、図4Eに示すように、基板101を薄層化する。例えば、基板101の裏面側を、砥石による研磨装置とCMP(Chemical Mechanical Polishing)により研削研磨することで、基板101を薄層化することができる。例えば、基板厚が、50〜200μmとなるように薄層化する。なお、基板101が薄いほど裏面から孔部を形成するときのエッチング時間が短くなるため有利であるが、50μmより薄いと、基板のハンドリング性は下がる。このため、基板厚は、50〜200μmとした方がよい。ただし、基板の良好なハンドリング性が確保されれば、基板厚を50μm以下としても構わない。また、良好なドライエッチング条件による深堀エッチングが実現できるのであれば、基板厚は200μm以上としてもよい。
次に、図4Fに示すように、基板101の裏面側から第1孔部102に接続する第2孔部103を形成する。例えば、ドライエッチングにより、深さ20〜60μmに第2孔部103を形成すればよい。基板表面までドライエッチングする従来の方法よりも、短いドライエッチング時間で、第2孔部103が形成できるので、サイドエッチングや残渣が少なく、側壁が滑らかで微細な孔径にすることが可能となる。ここで、形成した孔部の側壁が滑らかで微細な孔径に形成可能であれば、いかなるガス種を用いても構わない。また、ウェットエッチングが可能なエッチャントによって第1孔部102を形成してもよい。
次に、図4Gに示すように、第2孔部103の内部に第1孔部配線104に接続する第2孔部配線106を形成し、基板101の裏面側に第2孔部配線106に接続する裏面配線層107を形成する。例えば、Au,Cu,Al,Wなどの金属を、例えば、真空蒸着法,スパッタリング法,およびメッキ法などにより堆積することで、第2孔部配線106および裏面配線層107を形成すればよい。第2孔部配線106を形成することで、第1孔部配線104および第2孔部配線106により、基板101の表面から裏面にかけての導電形路が形成され、基板貫通ヴィアが形成された状態となる。なお、図4Gでは、第2孔部103の壁面を覆うように第2孔部配線106を形成した状態を示しているが、第2孔部配線106は、第2孔部103の内部を充填して形成してもよい。
次に、図4Hに示すように、基板101の主表面101aよりサポート基板201を取り除く。例えば、赤外線レーザの照射および有機溶媒への浸漬によりサポート基板201を取り除くことができる。ここで、サポート基板201を貼り付けた状態で、基板101よりチップの切り出しを行うようにしてもよい。例えば、サポート基板201を貼り付けた状態でダイシング用フィルムにマウントし、ダイシング工程を行えばよい。このようにチップに加工した後、サポート基板201を取り除くようにしてもよい。このようにすることで、ハンドリング性をより向上させることができる。
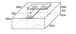
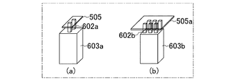
ところで、各第2孔部に対し、異なる数の第1孔部が接続するようにしてもよい。例えば、図5の斜視図に示すように、基板501の裏面側より形成する第2孔部503aには、4つの第1孔部502aが接続し、第2孔部503bには、6個の第1孔部502bが接続する構成としてもよい。第2孔部503aは、表面配線層505の形状に対応して配置し、第2孔部503bは、表面配線層505aの形状に対応して配置している。このようにすることで、例えば、第1孔部502aに接続する表面配線層505aに対し、第1孔部502bに接続する表面配線層505aの面積を大きくすることができ、表面配線層の形状自由度を向上させることができる。
例えば、表面配線層の一部をランドメタル層とすることができるが、ランドメタル層は、パターンルールなどの制約が大きい。これに対し、上述したように、第2孔部に対して接続する第1孔部の数を調整し、また、第1孔部の寸法や配置を制御することで、より大きな自由度のある状態で、ランドメタル層が形成できるようにようになる。
なお、図5では、第1孔部および第2孔部103を円筒形状としたが、これに限るものではなく、図6の斜視図に示すように、第1孔部602a,第2孔部603a,第1孔部602b,および第2孔部603bの形状を、角柱としてもよい。なお、図6では、基板を省略して示している。
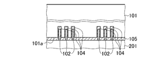
また、第1孔部の形成では、第1孔部とともに素子間分離のための溝部やキャパシタを構成する溝部を形成してもよい。例えば、図7に示すように、基板701の回路が形成されている主表面701aの側から、第1孔部702を形成するとともに、キャパシタを構成するためのトレンチ(溝部)722を形成する。次に、第1孔部配線704および表面配線層705を形成するとともに、キャパシタを構成するための一方の電極層724を形成する。この後、第1孔部702に接続する第2孔部703を形成する。この後、第1孔部配線704に接続する第2孔部配線706および裏面配線層707を形成する。このようにすることで、基板貫通ヴィアの微細化を図りながら、回路に使用されるキャパシタの高密度化をも図ることができる。また、プロセスを短縮化することができる。
なお、本発明は以上に説明した実施の形態に限定されるものではなく、本発明の技術的思想内で、当分野において通常の知識を有する者により、多くの組み合わせおよび変形が実施可能であることは明白である。例えば、表面保護やエッチングストッパとして、基板の主表面,裏面、または各孔内に、SiO2,SiNおよび、有機材料からなる保護膜が形成されていてもよい。
101…基板、101a…主表面、102…第1孔部、103…第2孔部、104…第1孔部配線、105…表面配線層、106…第2孔部配線、107…裏面配線層。

Claims (6)

  1. 基板の回路が形成される主表面側から所望の孔径の範囲で形成可能な深さに形成された第1孔部と、
    前記基板の裏面側から形成されて前記第1孔部に接続する第2孔部と、
    前記第1孔部の内部に形成された第1孔部配線と、
    前記第1孔部配線に接続して前記基板の主表面側に形成された表面配線層と、
    前記第2孔部の内部に前記第1孔部配線に接続して形成された第2孔部配線と、
    前記第2孔部配線に接続して前記基板の裏面側に形成された裏面配線層と
    を少なくとも備えることを特徴とするヴィア構造。
  2. 請求項1記載のヴィア構造において、
    前記第1孔部に接触する前記表面配線層で構成されたランドメタル層を備えることを特徴とするヴィア構造。
  3. 請求項1または2記載のヴィア構造において、
    前記第1孔部の孔径は、2〜20μmであることを特徴とするヴィア構造。
  4. 基板の回路が形成される主表面側から所望の孔径の範囲で形成可能な深さに第1孔部を形成する第1工程と、
    前記第1孔部の内部に第1孔部配線を形成する第2工程と、
    前記基板の主表面側に前記第1孔部配線に接続する表面配線層を形成する第3工程と、
    前記基板の裏面側から前記第1孔部に接続する第2孔部を形成する第4工程と、
    前記第2孔部の内部に前記第1孔部配線に接続する第2孔部配線を形成する第5工程と、
    前記基板の裏面側に前記第2孔部配線に接続する裏面配線層を形成する第6工程と
    を少なくとも備えることを特徴とするヴィア構造の作製方法。
  5. 請求項4記載のヴィア構造の作製方法において、
    前記第1工程では、前記第1孔部とともに素子間分離のための溝部を形成することを特徴とするヴィア構造の作製方法。
  6. 請求項4記載のヴィア構造の作製方法において、
    前記第1工程では、前記第1孔部とともにキャパシタを構成する溝部を形成することを特徴とするヴィア構造の作製方法。
JP2011023684A 2011-02-07 2011-02-07 ヴィア構造およびその作製方法 Pending JP2012164792A (ja)

Priority Applications (1)

Application Number Priority Date Filing Date Title
JP2011023684A JP2012164792A (ja) 2011-02-07 2011-02-07 ヴィア構造およびその作製方法

Applications Claiming Priority (1)

Application Number Priority Date Filing Date Title
JP2011023684A JP2012164792A (ja) 2011-02-07 2011-02-07 ヴィア構造およびその作製方法

Publications (1)

Publication Number Publication Date
JP2012164792A true JP2012164792A (ja) 2012-08-30

Family

ID=46843901

Family Applications (1)

Application Number Title Priority Date Filing Date
JP2011023684A Pending JP2012164792A (ja) 2011-02-07 2011-02-07 ヴィア構造およびその作製方法

Country Status (1)

Country Link
JP (1) JP2012164792A (ja)

Cited By (3)

* Cited by examiner, † Cited by third party
Publication number Priority date Publication date Assignee Title
EP2893553A4 (en) * 2012-09-05 2016-05-11 Res Triangle Inst ELECTRONIC DEVICES USING CONTACT SURFACES WITH PROCEDURES AND METHOD OF MANUFACTURE
JP2021052025A (ja) * 2019-09-20 2021-04-01 富士通株式会社 半導体装置、半導体装置の製造方法及び電子装置
FI20245823A1 (en) * 2024-06-27 2025-12-28 Teknologian Tutkimuskeskus Vtt Oy Superconducting longitudinal connection and method for producing the same

Citations (8)

* Cited by examiner, † Cited by third party
Publication number Priority date Publication date Assignee Title
JPH05102200A (ja) * 1991-10-03 1993-04-23 Mitsubishi Electric Corp 半導体装置
JP2004349550A (ja) * 2003-05-23 2004-12-09 Sharp Corp 半導体デバイス及びその製造方法
JP2005294582A (ja) * 2004-03-31 2005-10-20 Nec Electronics Corp 半導体装置の製造方法
JP2007081304A (ja) * 2005-09-16 2007-03-29 Nippon Telegr & Teleph Corp <Ntt> 半導体装置およびその製造方法
JP2007123681A (ja) * 2005-10-31 2007-05-17 Sanyo Electric Co Ltd 半導体装置、半導体装置の製造方法および実装基板
JP2007317954A (ja) * 2006-05-26 2007-12-06 Nec Electronics Corp 半導体装置及びその製造方法
JP2009064820A (ja) * 2007-09-04 2009-03-26 Toshiba Corp 半導体装置および半導体装置の製造方法
JP2010531435A (ja) * 2007-06-06 2010-09-24 ローベルト ボツシユ ゲゼルシヤフト ミツト ベシユレンクテル ハフツング マイクロメカニカル素子およびマイクロメカニカル素子の製造方法

Patent Citations (8)

* Cited by examiner, † Cited by third party
Publication number Priority date Publication date Assignee Title
JPH05102200A (ja) * 1991-10-03 1993-04-23 Mitsubishi Electric Corp 半導体装置
JP2004349550A (ja) * 2003-05-23 2004-12-09 Sharp Corp 半導体デバイス及びその製造方法
JP2005294582A (ja) * 2004-03-31 2005-10-20 Nec Electronics Corp 半導体装置の製造方法
JP2007081304A (ja) * 2005-09-16 2007-03-29 Nippon Telegr & Teleph Corp <Ntt> 半導体装置およびその製造方法
JP2007123681A (ja) * 2005-10-31 2007-05-17 Sanyo Electric Co Ltd 半導体装置、半導体装置の製造方法および実装基板
JP2007317954A (ja) * 2006-05-26 2007-12-06 Nec Electronics Corp 半導体装置及びその製造方法
JP2010531435A (ja) * 2007-06-06 2010-09-24 ローベルト ボツシユ ゲゼルシヤフト ミツト ベシユレンクテル ハフツング マイクロメカニカル素子およびマイクロメカニカル素子の製造方法
JP2009064820A (ja) * 2007-09-04 2009-03-26 Toshiba Corp 半導体装置および半導体装置の製造方法

Cited By (3)

* Cited by examiner, † Cited by third party
Publication number Priority date Publication date Assignee Title
EP2893553A4 (en) * 2012-09-05 2016-05-11 Res Triangle Inst ELECTRONIC DEVICES USING CONTACT SURFACES WITH PROCEDURES AND METHOD OF MANUFACTURE
JP2021052025A (ja) * 2019-09-20 2021-04-01 富士通株式会社 半導体装置、半導体装置の製造方法及び電子装置
FI20245823A1 (en) * 2024-06-27 2025-12-28 Teknologian Tutkimuskeskus Vtt Oy Superconducting longitudinal connection and method for producing the same

Similar Documents

Publication Publication Date Title
KR102931690B1 (ko) 반도체 디바이스 어셈블리
US9287172B2 (en) Interposer-on-glass package method
CN115053331B (zh) 高带宽模块
US7790608B2 (en) Buried via technology for three dimensional integrated circuits
US6693358B2 (en) Semiconductor chip, wiring board and manufacturing process thereof as well as semiconductor device
US20070269931A1 (en) Wafer level package and method of fabricating the same
CN102148203B (zh) 半导体芯片以及形成导体柱的方法
US20230092242A1 (en) Dielectric layer separating a metal pad of a through glass via from a surface of the glass
US20170330836A1 (en) Cte compensation for wafer-level and chip-scale packages and assemblies
JP6341554B2 (ja) 半導体装置の製造方法
US6960490B2 (en) Method and resulting structure for manufacturing semiconductor substrates
JP4844391B2 (ja) 半導体装置並びに配線基板及びその製造方法
KR20230160811A (ko) 반도체 장치의 제조 방법, 반도체 장치, 집적 회로 요소, 및, 집적 회로 요소의 제조 방법
JP2012164792A (ja) ヴィア構造およびその作製方法
CN100452382C (zh) 配线板,半导体器件以及制造半导体器件的方法
JP4678720B2 (ja) 回路基板およびその製造方法、半導体装置およびその製造方法
CN104143544A (zh) 一种晶圆硅通孔结构及其制备方法
JP5025922B2 (ja) 回路基板、回路基板の製造方法および半導体装置
JP2018010993A (ja) 電子部品およびその製造方法
CN110010475A (zh) 一种射频芯片系统级封装的散热模块制作工艺
CN110010496B (zh) 一种带高密度侧壁焊盘的系统级封装互联结构的制作方法
TW202240714A (zh) 半導體裝置及其製造方法
US12598974B2 (en) Chip package and manufacturing method thereof
CN105990285A (zh) 半导体结构与其制备方法
CN102339810B (zh) 硅基基板及其制作方法

Legal Events

Date Code Title Description
A621 Written request for application examination

Free format text: JAPANESE INTERMEDIATE CODE: A621

Effective date: 20121225

A977 Report on retrieval

Free format text: JAPANESE INTERMEDIATE CODE: A971007

Effective date: 20140131

A131 Notification of reasons for refusal

Free format text: JAPANESE INTERMEDIATE CODE: A131

Effective date: 20140225

A521 Request for written amendment filed

Free format text: JAPANESE INTERMEDIATE CODE: A523

Effective date: 20140423

A02 Decision of refusal

Free format text: JAPANESE INTERMEDIATE CODE: A02

Effective date: 20141202