JP2005294478A - 熱電変換材料 - Google Patents

熱電変換材料 Download PDF

Info

Publication number
JP2005294478A
JP2005294478A JP2004106425A JP2004106425A JP2005294478A JP 2005294478 A JP2005294478 A JP 2005294478A JP 2004106425 A JP2004106425 A JP 2004106425A JP 2004106425 A JP2004106425 A JP 2004106425A JP 2005294478 A JP2005294478 A JP 2005294478A
Authority
JP
Japan
Prior art keywords
core
shell
fine particles
thermoelectric conversion
dispersant
Prior art date
Legal status (The legal status is an assumption and is not a legal conclusion. Google has not performed a legal analysis and makes no representation as to the accuracy of the status listed.)
Pending
Application number
JP2004106425A
Other languages
English (en)
Inventor
Seiji Take
誠司 武
Current Assignee (The listed assignees may be inaccurate. Google has not performed a legal analysis and makes no representation or warranty as to the accuracy of the list.)
Dai Nippon Printing Co Ltd
Original Assignee
Dai Nippon Printing Co Ltd
Priority date (The priority date is an assumption and is not a legal conclusion. Google has not performed a legal analysis and makes no representation as to the accuracy of the date listed.)
Filing date
Publication date
Application filed by Dai Nippon Printing Co Ltd filed Critical Dai Nippon Printing Co Ltd
Priority to JP2004106425A priority Critical patent/JP2005294478A/ja
Priority to US11/086,053 priority patent/US7259320B2/en
Publication of JP2005294478A publication Critical patent/JP2005294478A/ja
Pending legal-status Critical Current

Links

Images

Classifications

    • BPERFORMING OPERATIONS; TRANSPORTING
    • B22CASTING; POWDER METALLURGY
    • B22FWORKING METALLIC POWDER; MANUFACTURE OF ARTICLES FROM METALLIC POWDER; MAKING METALLIC POWDER; APPARATUS OR DEVICES SPECIALLY ADAPTED FOR METALLIC POWDER
    • B22F1/00Metallic powder; Treatment of metallic powder, e.g. to facilitate working or to improve properties
    • B22F1/17Metallic particles coated with metal
    • BPERFORMING OPERATIONS; TRANSPORTING
    • B22CASTING; POWDER METALLURGY
    • B22FWORKING METALLIC POWDER; MANUFACTURE OF ARTICLES FROM METALLIC POWDER; MAKING METALLIC POWDER; APPARATUS OR DEVICES SPECIALLY ADAPTED FOR METALLIC POWDER
    • B22F1/00Metallic powder; Treatment of metallic powder, e.g. to facilitate working or to improve properties
    • B22F1/18Non-metallic particles coated with metal
    • HELECTRICITY
    • H10SEMICONDUCTOR DEVICES; ELECTRIC SOLID-STATE DEVICES NOT OTHERWISE PROVIDED FOR
    • H10NELECTRIC SOLID-STATE DEVICES NOT OTHERWISE PROVIDED FOR
    • H10N10/00Thermoelectric devices comprising a junction of dissimilar materials, i.e. devices exhibiting Seebeck or Peltier effects
    • H10N10/10Thermoelectric devices comprising a junction of dissimilar materials, i.e. devices exhibiting Seebeck or Peltier effects operating with only the Peltier or Seebeck effects
    • H10N10/13Thermoelectric devices comprising a junction of dissimilar materials, i.e. devices exhibiting Seebeck or Peltier effects operating with only the Peltier or Seebeck effects characterised by the heat-exchanging means at the junction
    • HELECTRICITY
    • H10SEMICONDUCTOR DEVICES; ELECTRIC SOLID-STATE DEVICES NOT OTHERWISE PROVIDED FOR
    • H10NELECTRIC SOLID-STATE DEVICES NOT OTHERWISE PROVIDED FOR
    • H10N10/00Thermoelectric devices comprising a junction of dissimilar materials, i.e. devices exhibiting Seebeck or Peltier effects
    • H10N10/80Constructional details
    • H10N10/85Thermoelectric active materials
    • H10N10/851Thermoelectric active materials comprising inorganic compositions
    • BPERFORMING OPERATIONS; TRANSPORTING
    • B22CASTING; POWDER METALLURGY
    • B22FWORKING METALLIC POWDER; MANUFACTURE OF ARTICLES FROM METALLIC POWDER; MAKING METALLIC POWDER; APPARATUS OR DEVICES SPECIALLY ADAPTED FOR METALLIC POWDER
    • B22F2998/00Supplementary information concerning processes or compositions relating to powder metallurgy
    • BPERFORMING OPERATIONS; TRANSPORTING
    • B22CASTING; POWDER METALLURGY
    • B22FWORKING METALLIC POWDER; MANUFACTURE OF ARTICLES FROM METALLIC POWDER; MAKING METALLIC POWDER; APPARATUS OR DEVICES SPECIALLY ADAPTED FOR METALLIC POWDER
    • B22F2999/00Aspects linked to processes or compositions used in powder metallurgy
    • YGENERAL TAGGING OF NEW TECHNOLOGICAL DEVELOPMENTS; GENERAL TAGGING OF CROSS-SECTIONAL TECHNOLOGIES SPANNING OVER SEVERAL SECTIONS OF THE IPC; TECHNICAL SUBJECTS COVERED BY FORMER USPC CROSS-REFERENCE ART COLLECTIONS [XRACs] AND DIGESTS
    • Y10TECHNICAL SUBJECTS COVERED BY FORMER USPC
    • Y10TTECHNICAL SUBJECTS COVERED BY FORMER US CLASSIFICATION
    • Y10T428/00Stock material or miscellaneous articles
    • Y10T428/29Coated or structually defined flake, particle, cell, strand, strand portion, rod, filament, macroscopic fiber or mass thereof
    • Y10T428/2982Particulate matter [e.g., sphere, flake, etc.]
    • YGENERAL TAGGING OF NEW TECHNOLOGICAL DEVELOPMENTS; GENERAL TAGGING OF CROSS-SECTIONAL TECHNOLOGIES SPANNING OVER SEVERAL SECTIONS OF THE IPC; TECHNICAL SUBJECTS COVERED BY FORMER USPC CROSS-REFERENCE ART COLLECTIONS [XRACs] AND DIGESTS
    • Y10TECHNICAL SUBJECTS COVERED BY FORMER USPC
    • Y10TTECHNICAL SUBJECTS COVERED BY FORMER US CLASSIFICATION
    • Y10T428/00Stock material or miscellaneous articles
    • Y10T428/29Coated or structually defined flake, particle, cell, strand, strand portion, rod, filament, macroscopic fiber or mass thereof
    • Y10T428/2982Particulate matter [e.g., sphere, flake, etc.]
    • Y10T428/2991Coated

Landscapes

  • Chemical & Material Sciences (AREA)
  • Inorganic Chemistry (AREA)
  • Powder Metallurgy (AREA)

Abstract

【課題】 本発明は、高い熱電変換の性能を示し、量産性に優れた熱電変換材料を提供することを主目的とする。
【解決手段】 本発明は、複数のコア部と上記コア部を被覆するシェル部とを有するコアシェル構造体で構成される熱電変換材料であって、上記複数のコア部は互いに独立し、上記シェル部は連続していることを特徴とする熱電変換材料を提供することにより、上記目的を達成するものである。
【選択図】 図1

Description

本発明は、熱電変換素子等に用いられる熱電変換材料に関するものである。
熱電変換素子に用いられる熱電変換材料には、熱エネルギーの電気エネルギーへの変換効率が高いことが要求され、次のような性能が要求される。(1)温度差を与えたときに発生する電圧は大きい方がよく、温度差1K当りの熱起電力が大きいことが要求される。(2)電流が流れたとき電気抵抗が大きいとジュール熱によってエネルギーが失われるので、電気抵抗は小さい方がよい。(3)熱伝導が起きると電気エネルギーに変換されるべき熱エネルギーが熱のまま逃げてしまうので、熱伝導率は小さい方がよい。以上のことから、熱電変換材料の特性は、性能指数Zと呼ばれる下記式(i)で示される値で支配される。
Z=S・σ/k (i)
ここで、Sは熱起電力、σは導電率、kは熱伝導率である。この性能指数Zの値の大きい材料ほど優れた熱電変換材料となる。
近年、熱電変換材料の性能を向上させる試みの一つとして、熱電変換材料中に微粒子を分散させる研究が行われている。熱電変換材料としてスクッテルダイト化合物やSiGe等の移動度の高い材料を用いると、これらの材料は導電率σが大きいので性能向上に寄与する一方、熱伝導率kも大きいことから性能指数Zを大きくすることができなかったが、このような熱電変換材料中に微粒子を分散させることで、微粒子によりフォノンが散乱されるので、熱伝導率kを小さくすることができ、性能を向上させることができるのである。
例えば非特許文献1には、スクッテルダイト化合物のマトリックス中にFeSb微粒子を、メカニカルアロイング処理により、モル比で40%まで導入した熱電変換材料が提案されている。FeSb微粒子のサイズはサブミクロンオーダーであり、600K〜800Kの範囲内における性能指数は、FeSb微粒子を導入した系の方が、FeSb微粒子を導入しない系より大きいことが示されている。しかしながら、500K以下ではFeSb微粒子の導入による性能向上は示されなかった。
また、非特許文献2には、SiGe合金(Ge:20atm%)に粒径0.7nmのフレライト(C60:90%とC70:10%との混合物)を、1wt%までメカニカルアロイング処理により導入した。しかしながら、フレライトの分散性については述べられていなく、性能向上は示されなかった。性能が向上しない主な原因は、微粒子導入により熱伝導率kは減少するが、導電率σも減少してしまうことにあると考えられる。
さらに、非特許文献3には、PbTe/PbSeTe系の量子ドット超格子により性能を向上させる方法が提案されている。この量子ドット超格子は、分子線エピタキシー(molecular beam epitaxy)法によりPbTeとPbSeTe(配合モル比 Pb:Se:Te=1.00:0.98:0.02、以降、省略する。)とを交互に積層させることで作製されるものであり、PbTe上に成膜されたPbSeTeが、成膜直後の薄膜から、経時でPbTeとの格子不整合により粒子状に変化することを利用したものである。PbTe膜上で粒子状に変化したPbSeTe粒子を覆うようにPbTeをさらに成膜し、再びPbSeTeを成膜することにより、PbSeTe微粒子(量子ドット)がPbTe中に規則的に分散した構造を有する量子ドット超格子が得られる。PbSeTe微粒子のサイズは30nm以下であり、300K〜500Kの範囲内において、PbTe中にPbSeTe微粒子を導入した系の方が、導入しない系より7倍から13倍も大きい性能指数を示した。これは、上述したフォノンの散乱による効果だけでなく、量子効果が性能向上に寄与するためであると考えられている。この理論については、非特許文献4に詳述されている。一般的に量子効果の発現するサイズは、100nm以下である。
しかしながら、量子ドット超格子は、上述したように分子線エピタキシー法により真空系においてPbTeとPbSeTeとを交互に積層させることで作製されるため、大変手間がかかるという問題がある。また、各層の厚みは10nm程度であり、熱電変換材料として使用するには10μm以上必要であることから、各層を少なくとも500層ずつ積層しなければならず、量産には適していない。
一方、熱電変換材料中に微粒子を分散させた系ではないが、非特許文献5には、SiO微粒子をスクッテルダイト化合物で被覆する方法が提案されている。これは、粒径が300nmのSiO微粒子に、金をスパッタリングにより10〜60nmの厚みでコーティングし、さらにその上にスクッテルダイト化合物の1種であるCoSbをコーティングするという方法である。このCoSbは、その前駆体を金の上にコーティングした後に還元焼成することにより形成される。しかしながらこの方法では、SiO微粒子を単なる支持体として用いており、SiO微粒子によるフォノンの散乱効果については述べられていない。また、CoSbの前駆体を還元する際に還元ガスを用いるために前駆体の内部まで十分に還元されない場合があるという問題がある。
J. Applied Physics, 88, p.3484-3489(2000) Materials Science and Engineering, B41, p.280-288 (1996) 18th International Conference on Thermoelectrics, p.280-284(1999) Phys. Rev. B, 47, p.16631(1993) Nanostructured Films and Coatings, p.149-156(2000)
本発明は、高い熱電変換の性能を示し、量産性に優れた熱電変換材料を提供することを主目的とするものである。
上記目的を達成するために、本発明は、複数のコア部と上記コア部を被覆するシェル部とを有するコアシェル構造体で構成される熱電変換材料であって、上記複数のコア部は互いに独立し、上記シェル部は連続していることを特徴とする熱電変換材料を提供する。
本発明においては、コアシェル構造体中で複数のコア部が互いに独立しており、細かく分散しているものであることから、電気および熱がコアシェル構造体を伝導する際に、このコア部によりフォノンが散乱されるので熱伝導率を小さくすることができ、熱電変換の性能を向上させることができる。また、本発明におけるコアシェル構造体は、コアシェル構造を有するコアシェル微粒子を圧縮成型して作製することができるので、上述した量子ドット超格子の作製と比較して量産に適しているという利点を有する。
上記発明おいては、上記コア部の構成材料は、上記シェル部の構成材料より融点が高いことが好ましい。本発明におけるコアシェル構造体は、上述したように、コアシェル構造を有するコアシェル微粒子を圧縮成型して作製されるものであり、この圧縮成型時にシェル部の構成材料が溶融し、隣り合うコアシェル微粒子のシェル部同士が結合してコアシェル構造体が形成されるので、圧縮成型の際にシェル部の構成材料は溶融し、コア部の構成材料は溶融しないことが好ましいからである。
本発明においては、電気および熱がコアシェル構造体を伝導する際に、独立分散して存在するコア部によりフォノンが散乱されるので熱伝導率を小さくすることができ、熱電変換の性能を向上させることが可能である。また、本発明におけるコアシェル構造体は、コアシェル構造を有するコアシェル微粒子を圧縮成型して作製することができるので、量産に適しているという効果を奏する。
以下、本発明の熱電変換材料について詳細に説明する。
本発明の熱電変換材料は、複数のコア部と上記コア部を被覆するシェル部とを有するコアシェル構造体で構成されるものであって、上記複数のコア部は互いに独立し、上記シェル部は連続していることを特徴とする。
本発明の熱電変換材料について図面を参照しながら説明する。図1は、本発明の熱電変換材料を構成するコアシェル構造体の一例を示す概略断面図である。図1において、コアシェル構造体11は、複数のコア部1と、このコア部1を被覆するシェル部2とを有している。また、複数のコア部1は互いに独立しており、コアシェル構造体11中に分散して存在している。一方、シェル部2は独立しているものではなく連続しているものである。
なお、本発明においてシェル部が連続しているとは、例えば図2(a)に示すようなシェル部の内部に界面が存在しない場合のほか、内部にある程度の界面が存在する場合もシェル部を移動する電子の導電率が向上することから含むものであり、一部、不連続または独立している部分があっても本発明でいう「連続している」に含まれるものである。ここで、界面が存在するとは、例えば図2(b)に示すように隣接するコア部1を被覆するシェル部2同士が結合していなく、その間に界面aが存在する状態である。
本発明においては、コア部1はコアシェル構造体11中に細かく分散して存在しているものであることから、電気および熱がコアシェル構造体11を伝導する際に、このコア部1によりフォノンが散乱され、矢印Pのように移動するので、熱が伝導しにくくなり熱伝導率を小さくすることができる。一方、電子は、シェル部2が連続していることによりほとんど散乱されることなく、矢印Eのようにシェル部2内を移動することができるので、導電率が大幅に減少することはない。また、電子やフォノンの通り道であるシェル部2の厚みが量子効果の発現する100nm以下の場合には、量子効果により性能指数Zが向上する場合がある。したがって本発明においては、熱電変換の性能を向上させることができる。
また、本発明におけるコアシェル構造体は、後述するように、コアシェル構造を有するコアシェル微粒子を圧縮成型して作製することができるので、量子ドット超格子の作製と比較して量産に適しているという利点を有する。
本発明の熱電変換材料は、コアシェル構造体で構成されるものであれば特に限定されるものではない。以下、このようなコアシェル構造体について説明する。
1.コアシェル構造体
本発明に用いられるコアシェル構造体は、複数のコア部と、このコア部を被覆するシェル部とを有するものである。また、複数のコア部は互いに独立し、シェル部は連続しているものである。
以下、コアシェル構造体の各構成について説明する。
(1)シェル部
本発明におけるシェル部は、後述するコア部を被覆しているものである。また、本発明におけるシェル部は、コアシェル構造体中で連続しているものであり、上述したようにシェル部の内部の界面は少ないことが好ましく、内部に界面が存在しないことが特に好ましい。
本発明に用いられるシェル部の構成材料としては、導電性を有し、熱起電力を生じさせることができる材料であり、かつ、ホットソープ法を用いてコア部を被覆することが可能な材料であれば特に限定されるものではない。なお、ホットソープ法については後述する「2.熱電変換材料の製造方法」の項に詳述するので、ここでの説明は省略する。
上記シェル部の構成材料の導電性としては、導電率が100S/m以上であることが好ましく、より好ましくは1000S/m以上、特に10000S/m以上であることが好ましい。上記導電率が小さすぎると、熱電変換の性能が低下する可能性があるからである。一方、上記導電率の上限値は特に限定されるものではないが、通常1E+9S/m以下とする。
また、上記シェル部の構成材料の導電性としては、300Kにおける移動度が0.001m/V s以上であることが好ましく、より好ましくは0.005m/V s以上、特に0.01m/V s以上であることが好ましい。上記移動度が小さすぎると、熱電変換の性能が低下する可能性があるからである。一方、上記移動度の上限値は特に限定されるものではないが、通常100m/V s以下とする。
さらに、上記シェル部の構成材料は、温度差1K当りの熱起電力が10μV/K以上であることが好ましく、より好ましくは30μV/K以上であり、特に100μV/K以上であることが好ましい。上記熱起電力が小さすぎると、熱電変換の性能が低下する可能性があるからである。一方、上記熱起電力の上限値は特に限定されるものではないが、通常5000μV/K以下とする。
上記シェル部の構成材料は、後述するコア部の構成材料より融点が低いことが好ましい。なお、微粒子のサイズが1μm以下の場合、微粒子の融点がその材料の本来有する融点よりも低くなる場合があるが、本発明で示す融点は、材料が本来有する融点を示すものとする。
本発明におけるコアシェル構造体は、後述するように、コアシェル構造を有するコアシェル微粒子を圧縮成型して作製されるものであり、この圧縮成型時にシェル部の構成材料が溶融し、隣り合うコアシェル微粒子のシェル部同士が結合してコアシェル構造体が形成される。したがって、圧縮成型の際に、シェル部の構成材料は溶融し、コア部の構成材料は溶融しないことが好ましいのである。上記シェル部の構成材料の融点としては、コア部の構成材料の融点より低ければ特に限定されるものではないが、具体的に5000℃以下であることが好ましく、より好ましくは500℃〜3000℃の範囲内、特に700℃〜2500℃の範囲内であることが好ましい。
このようなシェル部の構成材料としては、単一の成分から構成されていてもよく、二成分から構成されていてもよく、三成分以上の多成分から構成されていてもよいが、中でも単一の成分または二成分から構成されていることが好ましい。多成分から構成されるシェル部を作製するのは困難な場合があるからである。
本発明に用いられるシェル部の構成材料としては、具体的にMX(M:Co、Rh、Ir、X:P、As、Sb)で示されるスクッテルダイト化合物、SiGe合金(Ge含有量:20〜80atm%)、Si、Ge、Co、Sb、Te、Bi等、単一元素からなる金属または半導体、PbTe、SnTe等、4B族元素と6B族元素の組合せからなる化合物、InAs、InSb、InBi、GaAs、GaSb等、3B族元素と5B族元素の組合せからなる化合物、ZnSe、ZnTe、CdSe、CdTe等、4B族元素と6B族元素の組合せからなる化合物、LaTeに代表されるレアアースカルコゲン化合物、MgSi、CoSi、CrSi、MnSi(2−x)、FeSi等、遷移元素とMgの中から選ばれる元素とSiの化合物、NaCoに代表される層状酸化物、ZnAlO等が挙げられる。
本発明においては、上記の中でも、スクッテルダイト化合物、SiGe合金、4B族元素と6B族元素の組合せからなる化合物、3B族元素と5B族元素の組合せからなる化合物、4B族元素と6B族元素の組合せからなる化合物は、特に移動度が高いために好適に用いられる。
これらシェル部の構成材料は、必要に応じて導電率を向上させる目的でドーピングを行っても良い。たとえばInAsに、PまたはGaをドーピングし、InAs0.90.1、In0.9Ga0.1Asといった化合物とする。ドーピングの方法はコアシェル構造体を形成した後に半導体の分野で一般的に行っている方法が適用できる。たとえば熱拡散が適用される。または、後述する方法によりコアシェル構造体を作製する際に、出発原料にドーピング元素またはドーピング元素を含む前駆体を添加することでドーピングを行っても良い。
本発明において、シェル部のコア部を覆っている部分の厚みとしては、電子およびフォノンを伝導させることができ、かつ、量子効果を発現することができる厚みであれば特に限定されるものではないが、具体的には1nm〜100nmの範囲内であることが好ましく、より好ましくは1nm〜70nmの範囲内であり、特に2nm〜50nmの範囲内であることが好ましい。上記厚みが薄すぎると電子が十分に伝導されなくなり、導電性が減少して性能が低下する可能性があるからである。逆に、上記厚みが厚すぎるとコア部によるフォノンの散乱効果が得られにくくなる場合があるからである。ここで、上記シェル部のコア部を覆っている部分の厚みとは、例えば図1のnで示される厚みをいう。
なお、上記シェル部のコア部を覆っている部分の厚みは、シェル部まで形成した微粒子の粒径から、コア部のみを形成した微粒子の粒径を差し引き、2で除することにより得られる。各微粒子の粒径は、本発明の熱電変換材料の走査型電子顕微鏡(SEM)または透過型電子顕微鏡(TEM)を用いて得られた画像から、微粒子が20個以上存在していることが確認される領域を選択し、この領域中の全ての微粒子について、粒径を測定し、平均値を求めることにより得られる値とする。ただし、焦点がぼやけている部分については測定対象から除外するものとする。
(2)コア部
次に、本発明におけるコア部について説明する。本発明におけるコア部は、上記シェル部に被覆されるものであり、かつ、コアシェル構造体中で互いに独立しているものである。
本発明におけるコア部は、コアシェル構造体中で互いに独立しているものであればよいが、中でも均一に分散していることが好ましい。コア部がコアシェル構造体中に均一に分散していることにより、フォノンを効率よく散乱させることができ、効果的に熱伝導率を減少させることができるからである。
本発明に用いられるコア部の構成材料としては、上記シェル部の構成材料に対して界面を形成することが可能であり、かつ、コアシェル構造体を形成する際の圧縮成型時にコアシェル構造を維持することができる微粒子であれば特に限定されるものではない。
また、上記コア部を構成するコア部微粒子は、上記シェル部の構成材料より融点が高いことが好ましい。本発明におけるコアシェル構造体は、コアシェル構造を有するコアシェル微粒子を圧縮成型して形成されるので、圧縮成型の際に、シェル部の構成材料は溶融し、コア部の構成材料は溶融しないことが好ましいからである。上記コア部微粒子の融点としては、シェル部の構成材料の融点より高い温度であれば特に限定されるものではないが、具体的には上述したシェル部の構成材料の融点よりも50℃以上高いことが好ましい。コア部微粒子とシェル部の構成材料との融点の差が小さすぎると、圧縮成型時にコア部微粒子も溶融してしまう可能性があるからである。
具体的なコア部の構成材料の融点としては、550℃〜5000℃の範囲内、特に1050℃〜4000℃の範囲内であることが好ましい。
このようなコア部微粒子としては、例えばSiO、Al、ZnO等の無機酸化物、BN、Si等の無機窒化物、Au、Cu、U、Mn、Sm、Be、Gd、Tb、Si、Ni、Co、Dy、Y、Er、Fe、Sc、Pd、Ti、Th、Pt、Zr、Cr、V、Rh、Hf、B、Ru、Ir、Nb、Mo、Os、Ta、Re、W等の単一元素からなる材料、上記元素を少なくとも一つ以上含む合金、NiSi、FeSi、TiSi等の無機ケイ化物、SiC、MoC等の無機炭化物、カーボン、CB等が挙げられる。
上記コア部微粒子の平均粒径は、フォノンを効果的に散乱することができる大きさであれば特に限定されるものではないが、具体的には0.3nm〜100nmの範囲内であることが好ましく、より好ましくは1nm〜70nmの範囲内、特に2nm〜50nmの範囲内であることが好ましい。上記平均粒径が大きすぎると、コアシェル構造体の形成時に例えば図3(a)に示すようにコアシェル微粒子12を隙間なく配列してもコアシェル微粒子12間に生じる空間bが大きくなり、圧縮成型する際にこの空間bにシェル部2の構成材料が流動し、例えば図3(b)に示すようにコア部1がシェル部2に覆われていない部分cが生じ、コアシェル構造を維持できなくなり、シェルの厚みが極端に薄い部分や極端に熱い部分を生じる可能性があるからである。また、平均粒径が上記範囲内より小さい微粒子は、製造が困難であるからである。
なお、上記平均粒径は、本発明の熱電変換材料の走査型電子顕微鏡(SEM)または透過型電子顕微鏡(TEM)を用いて得られた画像から、コア部が20個以上存在していることが確認される領域を選択し、この領域中の全てのコア部について粒径を測定し、平均値を求めることにより得られる値とする。ただし、焦点がぼやけているコア部については測定対象から除外するものとする。
また、上記コア部微粒子の平均粒径の標準偏差は、20%以下であることが好ましく、より好ましくは10%以下である。上記標準偏差が大きすぎると、コアシェル微粒子の圧縮成型前の段階で、上述したようにコアシェル微粒子間に大きな空間が生じる可能性があるからである。
(3)その他
本発明に用いられるコアシェル構造体中のコア部の粒径とシェル部の厚みとの比率としては、電子および熱を伝導することができ、コア部によりフォノンを散乱させることができるようなものであれば特に限定されるものではないが、具体的には1:10〜10:1の範囲内であることが好ましく、より好ましくは1:7〜7:1の範囲内、特に1:5〜5:1の範囲内であることが好ましい。コア部とシェル部との比率が上記範囲内であることにより、効果的に熱伝導率を減少させることができるからである。
2.熱電変換材料の製造方法
次に、本発明の熱電変換材料の製造方法について説明する。本発明においては、コア部をシェル部で被覆する際のシェル部の形成方法として、液相法を用いることが好ましい。液相法は、構成成分が2種類以上の化合物を形成する場合に化学的に組成を均一にできるという利点があるからである。この液相法としては、共沈法、逆ミセル法、ホットソープ法を挙げることができるが、本発明においてはこれらの中でもホットソープ法を用いることが好ましい。
ここで、ホットソープ法とは、目的とする化合物の前駆体の少なくとも1種を高温に加熱された分散剤中で熱分解させた結果、開始する反応により結晶の核生成と結晶成長とを進行させる方法である。この結晶の核生成および結晶成長の過程の反応速度を制御する目的で、目的とする化合物の構成元素に適切な配位力のある分散剤が、液相媒体を構成する必須成分として使用される。この分散剤が結晶に配位して安定化する状況が、石鹸分子が油滴を水中で安定化する状況に似ているため、この反応はホットソープ(Hot soap)法と呼ばれる。
本発明においては、このようなホットソープ法を用いることにより、コア部を核として、コア部の周囲にシェル部を成長させることができるので、コア部をシェル部で均一に被覆することができるという利点を有する。
以下、ホットソープ法を用いた熱電変換材料の製造方法について説明する。
本発明において、ホットソープ法を用いた熱電変換材料の製造方法は、コア部微粒子を調製するコア部調製工程と、分散剤を加熱し、この加熱した分散剤に上記コア部微粒子およびシェル部の構成元素を含むシェル部前駆体を注入して、コア部をシェル部で被覆して、コアシェル構造を有するコアシェル微粒子を形成するシェル部調製工程と、残存する有機物を除去する除去工程と、有機物を除去したコアシェル微粒子を圧縮成型する圧縮成型工程とを有するものである。以下、このような熱電変換材料の製造方法における各工程について説明する。
(1)コア部調製工程
本発明におけるコア部調製工程は、コア部微粒子を調製する工程である。
本発明に用いられるコア部微粒子の形成方法としては、上述した「1.コアシェル構造体」のコア部の項に記載したようなコア部微粒子を形成することができる方法であれば特に限定されるものではないが、シェル部の形成方法と同様に、液相法を用いることが好ましく、中でもホットソープ法を用いることが好ましい。ホットソープ法を用いることにより、粒径分布の狭いコア部微粒子を得ることができるからである。また、ホットソープ法を用いて得られたコア部微粒子は、後述するシェル部調製工程において、シェル部の構成元素を含むシェル部前駆体および分散剤中での分散性が良好であるからである。
このようなホットソープ法を用いてコア部微粒子を形成するには、分散剤を加熱し、この加熱した分散剤に上記コア部の構成元素を含むコア部前駆体を注入する方法を用いることができる。
以下、このようなホットソープ法を用いたコア部微粒子の形成方法について説明する。
本発明に用いられるコア部前駆体としては、上述したコア部の構成元素を含むものであり、上記コア部微粒子を形成することが可能なものであれば特に限定されるものではない。例えばZnO微粒子を形成するには、コア部前駆体としてはZnを含む化合物とOを含む化合物とを用いればよく、具体的にはJ. Am. Chem. Soc., 123, p.11651-11654(2001) に記載のものを使用することができる。たとえば、Zn(Cや、Oが用いられる。また、このようにコア部前駆体が2種以上用いられる場合、その混合比としては、例えば目的とする化合物の化学量論比に基づいて設定すればよい。
また、上記コア部前駆体は、製造操作上の簡便性の理由で液状であることが好ましい。このコア部前駆体自身が常温で液体であればそのまま使用することができるが、必要に応じて適当な有機溶媒に溶解または分散しても用いてもよい。このような有機溶媒としては、n−ヘキサン、n−ヘプタン、n−オクタン、イソオクタン、ノナン、デカン等のアルカン類、ベンゼン、トルエン、キシレン、ナフタレン等の芳香族炭化水素、ジフェニルエーテル、ジ(n−オクチル)エーテル等のエーテル、クロロホルム、ジクロロメタン、ジクロロエタン、モノクロロベンゼン、ジクロロベンゼン等のハロゲン系炭化水素、n−ヘキシルアミン、n−オクチルアミン、トリ(n−ヘキシル)アミン、トリ(n−オクチル)アミン等のアミン類、あるいは後述する分散剤に用いられる化合物等が挙げられる。これらの中でも、n−ヘキサン、n−ヘプタン、n−オクタン、イソオクタン等のアルカン類、あるいはトリブチルホスフィン、トリヘキシルホスフィン、トリオクチルホスフィン等のトリアルキルホスフィン類、エーテル類が好ましく用いられる。
さらに、上記コア部前駆体の少なくとも1種が気体である場合、前記有機溶媒もしくは分散剤にバブリング等で溶解させて導入するか、その他のコア部前駆体を注入した反応液相中に、この気体を直接導入することもできる。
本発明に用いられる分散剤としては、高温液相において微結晶に配位して安定化する物質であれば特に限定されるものではないが、例えばトリブチルホスフィン、トリヘキシルホスフィン、トリオクチルホスフィン等のトリアルキルホスフィン類、トリブチルホスフィンオキシド、トリヘキシルホスフィンオキシド、トリオクチルホスフィンオキシド、トリデシルホスフィンオキシド等の有機リン化合物、オクチルアミン、デシルアミン、ドデシルアミン、テトラデシルアミン、ヘキサデシルアミン、オクタデシルアミン等のω−アミノアルカン類、トリ(n−ヘキシル)アミン、トリ(n−オクチル)アミン等の第3級アミン類、ピリジン、ルチジン、コリジン、キノリン類の含窒素芳香族化合物等の有機窒素化合物、ジブチルスルフィド等のジアルキルスルフィド類、ジメチルスルホキシドやジブチルスルホキシド等のジアルキルスルホキシド類、チオフェン等の含硫黄芳香族化合物等の有機硫黄化合物、パルミチン酸、ステアリン酸、オレイン酸等の高級脂肪酸、1-adamantanecarboxylic acid等が挙げられる。これらの中でも、トリブチルホスフィン、トリオクチルホスフィン等のトリアルキルホスフィン類、トリブチルホスフィンオキシドやトリオクチルホスフィンオキシド等のトリアルキルホスフィンオキシド類、ドデシルアミン、ヘキサデシルアミン、オクタデシルアミン等の炭素数12以上のω−アミノアルカン類等の分子構造中に窒素原子またはリン原子を含む化合物が好ましく用いられる。より好ましいものとしては、トリブチルホスフィン、トリオクチルホスフィン等のトリアルキルホスフィン類、トリブチルホスフィンオキシドやトリオクチルホスフィンオキシド等のトリアルキルホスフィンオキシド類等の炭素−リン単結合を有する化合物が挙げられる。特に、トリオクチルホスフィンオキシド等のトリアルキルホスフィンオキシド類は好適に用いられる。これらの分散剤は、単独で用いても、必要に応じ複数種を混合して使用してもよい。
さらに、上記分散剤は、適当な有機溶剤(例えばトルエン、キシレン、ナフタレン等の芳香族炭化水素、オクタン、デカン、ドデカン、オクタデカン等の長鎖アルカン類、ジフェニルエーテル、ジ(n−オクチル)エーテル、テトラヒドロフラン等のエーテル類、ハロゲン系炭化水素等)で希釈して使用してもよい。
上記分散剤の加熱温度としては、上記分散剤およびコア部前駆体が溶融する温度であれば特に限定されるものではなく、圧力条件等によっても異なるものであるが、通常は150℃以上とする。また、この加熱温度は比較的高い方が好ましい。高温に設定することにより分散剤に注入されたコア部前駆体が一斉に分解することで、多数の核が一気に生成するために、比較的粒径の小さいコア部微粒子が得られやすくなるからである。
また、この加熱した分散剤への上記コア部前駆体の注入方法としては、コア部微粒子を形成することができるものであれば特に限定されるものではない。また、コア部前駆体の注入は、比較的粒径の小さいコア部微粒子を得るには1回をさらに可能なら短時間で行うことが望ましい。粒径を大きくしたい場合には、注入を複数回行っても良く連続して行っても良い。
上記コア部前駆体を加熱した分散剤に注入した後の、コア部微粒子を形成する際の反応温度としては、上記分散剤およびコア部前駆体が溶融または有機溶媒に溶解する温度であり、かつ、結晶成長が起こる温度であれば特に限定されるものではなく、圧力条件等によっても異なるものであるが、通常は150℃以上とする。
上述したようにコア部前駆体を分散剤に注入することによりコア部微粒子を形成した後は、通常、このコア部微粒子を上記分散剤と分離する。この分離方法としては、例えば遠心分離、浮上分離、泡沫分離等の沈降分離法、ケークろ過、清澄ろ過等のろ過法、圧搾法が挙げられる。本発明においては、上記の中でも遠心分離が好ましく用いられる。ただし、分離操作後に得られたコア部微粒子は、少量の分散剤との混合物として得られる場合が多い。
上述した分離の際に、上記コア部微粒子の大きさが極めて小さいためにコア部微粒子の沈降が困難である場合は、沈降性を向上させるために、アセトニトリル、メタノール、エタノール、n−プロピルアルコール、イソプロピルアルコール、n−ブチルアルコール、イソブチルアルコール、第2ブチルアルコール、第3ブチルアルコール等の炭素数1〜4のアルコール類、ホルムアルデヒド、アセトアルデヒド、アクロレイン、クロトンアルデヒド等の炭素数1〜4のアルデヒド類、アセトン、メチルエチルケトン、ジエチルケトン等の炭素数3〜5のケトン類、ジメチルエーテル、メチルエチルエーテル、ジエチルエーテル、テトラヒドロフラン等の炭素数2〜4のエーテル類、メチルアミン、ジメチルアミン、トリメチルアミン、ジメチルホルムアミド等の炭素数1〜4の有機含窒素化合物などの添加剤を使用することができる。これらの中でも、水、またはメタノール、エタノール等のアルコール類が好ましく用いられる。上述した添加剤は、単独で使用してもよく、2種類以上を混合して使用してもよい。
上記コア部微粒子の形成は、通常、アルゴンガス、窒素ガス等の不活性ガスの雰囲気下で行われる。
(2)シェル部調製工程
次に、本発明におけるシェル部調製工程について説明する。本発明におけるシェル部調製工程は、分散剤を加熱し、この加熱した分散剤に上記コア部微粒子およびシェル部の構成元素を含むシェル部前駆体を注入して、コア部をシェル部で被覆して、コアシェル構造を有するコアシェル微粒子を形成する工程である。
本発明に用いられるシェル部前駆体としては、上述したシェル部の構成元素を含むものであり、上記コア部微粒子を被覆することが可能なものであれば特に限定されるものではない。例えばCoSbでコア部微粒子を被覆するには、シェル部前駆体としてはCoを含む化合物とSbを含む化合物とを用いればよい。このCoを含む化合物としては、Coを含む有機金属化合物を用いることができ、例えばコバルトカルボニル等が挙げられる。また、Sbを含む化合物としては、Sbを含む有機金属化合物を用いることができ、例えばSbアルコキシド等が挙げられる。また、このようにシェル部前駆体が2種以上用いられる場合、その混合比としては、例えば目的とする化合物の化学量論比に基づいて設定すればよい。
また、上記シェル部前駆体は、製造操作上の簡便性の理由で液状であることが好ましい。このシェル部前駆体自身が常温で液体であればそのまま使用することができるが、必要に応じて適当な有機溶媒に溶解または分散しても用いてもよい。このような有機溶媒としては、n−ヘキサン、n−ヘプタン、n−オクタン、イソオクタン、ノナン、デカン等のアルカン類、ベンゼン、トルエン、キシレン、ナフタレン等の芳香族炭化水素、あるいは上述した分散剤に用いられる化合物等が挙げられる。これらの中でも、n−ヘキサン、n−ヘプタン、n−オクタン、イソオクタン等のアルカン類、あるいはトリブチルホスフィン、トリヘキシルホスフィン、トリオクチルホスフィン等のトリアルキルホスフィン類、エーテル類が好ましく用いられる。
さらに、上記シェル部前駆体の少なくとも1種が気体である場合、前記有機溶媒もしくは分散剤にバブリング等で溶解させて導入するか、その他のシェル部前駆体を注入した反応液相中に、この気体を直接導入することもできる。
なお、分散剤については、上記コア部調製工程の項に記載したものと同様であるので、ここでの説明は省略する。
上記分散剤の加熱温度としては、上記分散剤およびシェル部前駆体が溶融または有機溶媒に溶解する温度であれば特に限定されるものではなく、圧力条件等によっても異なるものであるが、通常は60℃以上とする。
また、この加熱した分散剤への上記コア部微粒子およびシェル部前駆体の注入方法としては、コア部をシェル部で被覆することができる方法であれば特に限定されるものではない。例えばコア部微粒子およびシェル部前駆体を同時に注入してもよく、コア部微粒子を先に注入するものでもよいが、本発明においては、コア部微粒子を注入した後に、シェル部前駆体を徐々に注入することが好ましい。シェル部前駆体を先に注入したり、一度に大量に注入したりすると、シェル部前駆体による核生成が起こり、シェル部のみから構成される微粒子が形成される可能性があるからである。
上記コア部微粒子およびシェル部前駆体を加熱した分散剤に注入した後の、コア部をシェル部で被覆する際の反応温度としては、上記分散剤およびシェル部前駆体が溶融または有機溶媒に溶解する温度であり、かつ、シェル部の構成材料の結晶成長が起こる温度であれば特に限定されるものではなく、圧力条件等によっても異なるものであるが、通常は100℃以上とする。
上述したようにコア部をシェル部で被覆することによりコアシェル構造を有するコアシェル微粒子が形成された後は、通常、このコアシェル微粒子を上記分散剤と分離する。この分離方法としては、例えば遠心分離、浮上分離、泡沫分離等の沈降分離法、ケークろ過、清澄ろ過等のろ過法、圧搾法が挙げられる。本発明においては、上記の中でも遠心分離が好ましく用いられる。
上述した分離の際に、上記コアシェル微粒子の大きさが極めて小さいためにコアシェル微粒子の沈降が困難である場合は、沈降性を向上させるために添加剤を使用することができる。なお、添加剤については、上記コア部調製工程の項に記載したものと同様であるので、ここでの説明は省略する。
また本工程は、通常、アルゴンガス、窒素ガス等の不活性ガスの雰囲気下で行われる。
(3)除去工程
次に、本発明における除去工程について説明する。本発明における除去工程は、上述したシェル部調製工程後に残存する有機物を除去する工程である。
上記シェル部調製工程にて形成されたコアシェル微粒子は、上述したように分散剤と分離した後も、分散剤、有機溶剤、コア部前駆体およびシェル部前駆体に用いる有機金属化合物に由来する有機物質、有機溶媒、添加剤などが付着している場合がある。本工程は、このような残存する有機物質や分散剤などの有機物を除去するために行われるのである。
本工程においては、このような有機物を熱分解して除去することができる。加熱温度、加熱時間、圧力などの反応条件としては、上記有機物が分解除去される条件であれば特に限定されるものではない。この反応条件は、例えば示差熱分析(DTA)などを用いて決定することができる。通常は窒素、アルゴン等の不活性ガス雰囲気中、もしくは減圧雰囲気にして行う。
(4)圧縮成型工程
次に、本発明における圧縮成型工程について説明する。本発明における圧縮成型工程は、有機物を除去したコアシェル微粒子を圧縮成型する工程である。
上記コアシェル微粒子を圧縮成型する方法としては、隣接するコアシェル微粒子のシェル部のみを結合させることができる方法であれば特に限定されるものではなく、例えばホットプレス法や放電プラズマ焼結法等が挙げられる。
また、コアシェル微粒子を圧縮成型する際の温度としては、シェル部の構成材料を溶融させて、隣接するコアシェル微粒子のシェル部を界面が形成されないように結合することができる温度であれば特に限定されるものではなく、圧力条件やシェル部の構成材料によって異なるものである。例えば、シェル部の構成材料の融点より高く、コア部微粒子の融点より低い温度に設定することができる。また、上記の温度は上述したように圧力条件によって異なるため、圧力が所定の値より大きい場合には、シェル部の構成材料の融点より低い温度に設定することもできる。
さらに、コアシェル微粒子を圧縮成型する際の圧力としては、シェル部の構成材料を溶融させて、隣接するコアシェル微粒子のシェル部を界面が形成されないように結合することができる圧力であれば特に限定されるものではなく、上記の温度と同様に適宜調整して設定すればよい。
なお、本発明は、上記実施形態に限定されるものではない。上記実施形態は、例示であり、本発明の特許請求の範囲に記載された技術的思想と実質的に同一な構成を有し、同様な作用効果を奏するものは、いかなるものであっても本発明の技術的範囲に包含される。
以下、本発明について実施例を用いて具体的に説明する。
[実施例1]
(コア部微粒子の形成)
J. Am. Chem. Soc., 123, 11651-11654(2001) に記載の方法により、粒径が3nmのZnO微粒子を合成した。なお、ZnO微粒子単独ではなく、トリオクチルホスフィンオキシド(TOPO)との混合物として得られた。
(シェル部によるコア部の被覆)
ホットソープ法の反応場を、下記の分散剤および有機溶剤にて構成した。
分散剤:1,2−ヘキサデカンジオール(ALDRICH製) 1.2g
1−adamantanecarboxylic acid(ACROS社製) 0.76g
ヘキサデシルアミン(関東化学(株)製) 12g
有機溶剤:ジフェニルエーテル(関東化学(株)製) 6ml
上記の分散剤および有機溶剤をフラスコ内で混合し、このフラスコ内に上記ZnO微粒子およびトリオクチルホスフィンオキシド(TOPO)の混合物0.126gを添加し、フラスコ内をアルゴンガス雰囲気に置換した後に80℃まで昇温した。
次に、シェル部前駆体としてブトキシSb(アヅマックス(株)製)およびコバルトカルボニル(関東化学(株)製)を準備し、上記フラスコ内にブトキシSb 0.26gを注入した。さらに、コバルトカルボニル 0.043gをジクロロベンゼン(関東化学(株)製)0.4mlに混合溶解させた溶液を、上記フラスコ内に注入した。
上記シェル部前駆体の注入後、温度を230℃まで昇温し、この温度にて40分間保持した。その後、反応液を空冷し、60℃まで冷却したところでエタノールを50ml添加した。遠心分離によって黒色沈殿物を反応液から分離した後、クロロホルム/エタノール=1/2(体積比)の混合溶媒で洗浄し、黒色粉体を得た。得られた黒色粉体は、透過型電子顕微鏡(TEM)観察により、粒径が約20nmの球状であることが観察された。また、EDX(元素分析)測定により、微粒子の中心付近にZnが存在することから、ZnOをコア部、CoSbをシェル部としたコアシェル構造を有するコアシェル微粒子が作製されたことを確認した。
(有機物の除去)
上記黒色粉体を減圧雰囲気において500℃で10時間保持し、残存する有機物を除去した。
(圧縮成型)
上記の有機物を除去した黒色粉体を、所定の形状のダイス中に入れ、ホットプレス法により成型を行い、コアシェル構造体を得た。ホットプレスの条件は、温度500℃、圧力100MPaである。成型後のコアシェル構造体の外観は、銀色固体であった。
[比較例]
(微粒子の形成)
上述した実施例において、ZnO微粒子およびトリオクチルホスフィンオキシド(TOPO)を添加しなかった以外は、実施例と同様にして微粒子を作製したところ、CoSbからなる微粒子が得られた。このCoSb微粒子の外観は黒色粉体であった。また、この黒色粉体は、透過型電子顕微鏡(TEM)観察により、粒径が約20nmの球状であることが観察された。
(有機物の除去)
上記黒色粉体を減圧雰囲気において500℃で10時間保持し、残存する有機物を除去した。
(圧縮成型)
上記の有機物を除去した黒色粉体を、所定の形状のダイス中に入れ、ホットプレス法により成型を行った。ホットプレスの条件は、温度500℃、圧力100MPaである。成型後の外観は、銀色固体であった。
[評価]
(熱電変換性能の比較)
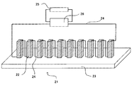
実施例1および比較例にて得られた銀色固体を、それぞれ0.5mm×0.5mm×3mmの直方体に100個ずつ切り出した。次に、図4に示すように切り出した銀色固体22を配置し、熱電変換素子21を作製した。なお、図4では銀色固体22が10個の場合を記載しているが、中心部8個と同様の配置を繰り返すことで、100個の銀色固体22をつないで配置するものとする。ここで、アルミナ基板23は厚さ1mmで、切り出した銀色固体22は直列に銅線24でつないでいる。また、25は発光ダイオードで、26は昇圧回路である。この熱電素子を作製する際には、銀色固体および銅線は、必要に応じてハンダづけしてもよい。また、アルミナ基板および銀色固体は、必要に応じて銀等の金属等でろうづけしてもよい。室温が300Kの部屋においてアルミナ基板側に500Kの熱を供給したところ、比較例の銀色固体で構成される熱電変換素子よりも、実施例1の銀色固体で構成される熱電変換素子の方が、発光ダイオードが明るく光った。
[実施例2]
ホットソープ法の反応場を、下記の分散剤及び有機溶媒にて構成した。
分散剤:1,2−ヘキサデカンジオール(ALDRICH製) 1.2g
1−adamantanecarboxylic acid(ACROS社製) 0.76g
ヘキサデシルアミン(関東化学(株)製) 12g
有機溶剤:ジフェニルエーテル(関東化学(株)製) 6ml
上記の分散剤および有機溶剤をフラスコ内で混合し、フラスコ内をアルゴンガス雰囲気に置換した後に220℃まで昇温した。次に、コア部前駆体としてロジウムアセチルアセトネート(ALDRICH製)0.025gをジクロロベンゼン(関東化学(株)製)1.0gに溶解させた溶液を上記フラスコ内に一気に注入した。注入後220℃で20分保持し、その後反応液を80℃まで空冷した。この反応液の一部を採取し、残りはシェル形成用に用いた。
一部を採取した反応液は、60℃まで空冷した後にエタノールを添加し、黒色沈殿物を得た。その後遠心分離により黒色沈殿物を反応液から分離した後、クロロホルムを添加して分散液を作製し、エタノール中に再沈殿させた。沈殿物を遠心分離により再沈殿液から分離し、黒色粉体を得た。この粉体は、TEM観察及びXRD測定から粒径が2nmのRh微粒子であることを確認した。
シェルの形成方法は、実施例1における(シェル部によるコア部の被覆)の項目において、シェル部前駆体を注入する部分以降を同様に行った。その結果黒色粉体を得、TEM観察により粒径が約10nmの球状であることが観察された。また、EDX測定により、微粒子の中心付近にRhが存在することから、Rhをコア部、CoSbをシェル部としたコアシェル構造を有するコアシェル微粒子が作製されたことを確認した。
その後の工程である(有機物の除去)および(圧縮成型)は、実施例1と同様に行い、得られたコアシェル構造体の外観は、銀色固体であった。
[評価]
(熱電変換性能の比較)
実施例2および比較例にて得られた銀色固体を、それぞれ0.5mm×0.5mm×3mmの直方体に100個ずつ切り出した。次に、図4に示すように切り出した銀色固体22を配置し、熱電変換素子21を作製した。なお、図4では銀色固体22が10個の場合を記載しているが、中心部8個と同様の配置を繰り返すことで、100個の銀色固体22をつないで配置するものとする。ここで、アルミナ基板23は厚さ1mmで、切り出した銀色固体22は直列に銅線24でつないでいる。また、25は発光ダイオードで、26は昇圧回路である。この熱電素子を作製する際には、銀色固体および銅線は、必要に応じてハンダづけしてもよい。また、アルミナ基板および銀色固体は、必要に応じて銀等の金属等でろうづけしてもよい。室温が300Kの部屋においてアルミナ基板側に500Kの熱を供給したところ、比較例の銀色固体で構成される熱電変換素子よりも、実施例2の銀色固体で構成される熱電変換素子の方が、発光ダイオードが明るく光った。
本発明に用いられるコアシェル構造体の一例を示す概略断面図である。 シェル部を説明するための図である。 コア部およびシェル部を説明するための図である。 本発明の熱電変換材料を用いた熱電変換素子の一例を示す模式図である。
符号の説明
1 … コア部
2 … シェル部
11 … コアシェル構造体
12 … コアシェル微粒子

Claims (2)

  1. 複数のコア部と前記コア部を被覆するシェル部とを有するコアシェル構造体で構成される熱電変換材料であって、前記複数のコア部は互いに独立し、前記シェル部は連続していることを特徴とする熱電変換材料。
  2. 前記コア部の構成材料は、前記シェル部の構成材料より融点が高いことを特徴とする請求項1に記載の熱電変換材料。
JP2004106425A 2004-03-31 2004-03-31 熱電変換材料 Pending JP2005294478A (ja)

Priority Applications (2)

Application Number Priority Date Filing Date Title
JP2004106425A JP2005294478A (ja) 2004-03-31 2004-03-31 熱電変換材料
US11/086,053 US7259320B2 (en) 2004-03-31 2005-03-22 Thermoelectric conversion materials

Applications Claiming Priority (1)

Application Number Priority Date Filing Date Title
JP2004106425A JP2005294478A (ja) 2004-03-31 2004-03-31 熱電変換材料

Publications (1)

Publication Number Publication Date
JP2005294478A true JP2005294478A (ja) 2005-10-20

Family

ID=35327080

Family Applications (1)

Application Number Title Priority Date Filing Date
JP2004106425A Pending JP2005294478A (ja) 2004-03-31 2004-03-31 熱電変換材料

Country Status (2)

Country Link
US (1) US7259320B2 (ja)
JP (1) JP2005294478A (ja)

Cited By (18)

* Cited by examiner, † Cited by third party
Publication number Priority date Publication date Assignee Title
WO2007066820A1 (ja) * 2005-12-07 2007-06-14 Toyota Jidosha Kabushiki Kaisha 熱電変換材料及びその製造方法
JP2007258200A (ja) * 2006-03-20 2007-10-04 Univ Nagoya 熱電変換材料及びそれを用いた熱電変換膜
JP2008147625A (ja) * 2006-10-13 2008-06-26 Toyota Motor Engineering & Manufacturing North America Inc コア−シェルナノ粒子を用いる均一熱電ナノ複合材料
WO2008048302A3 (en) * 2005-11-29 2008-10-16 Nanodynamics Inc Bulk thermoelectric compositions from coated nanoparticles
WO2008149871A1 (ja) * 2007-06-06 2008-12-11 Toyota Jidosha Kabushiki Kaisha 熱電変換素子及びその製造方法
JP2008305913A (ja) * 2007-06-06 2008-12-18 Toyota Motor Corp 熱電変換素子の製造方法
JP2008305907A (ja) * 2007-06-06 2008-12-18 Toyota Motor Corp 熱電変換素子の製造方法
JP2012253302A (ja) * 2011-06-07 2012-12-20 Fujitsu Ltd 熱電素子及びその製造方法
JP2013118355A (ja) * 2011-12-01 2013-06-13 Toyota Motor Engineering & Manufacturing North America Inc ナノ粒子を含む三成分熱電材料及びその製造方法
JP2013118371A (ja) * 2011-12-01 2013-06-13 Toyota Motor Engineering & Manufacturing North America Inc ナノ粒子を含む二成分熱電材料及びその製造方法
US8617918B2 (en) 2007-06-05 2013-12-31 Toyota Jidosha Kabushiki Kaisha Thermoelectric converter and method thereof
JP2014099634A (ja) * 2014-01-08 2014-05-29 Denso Corp 熱電変換素子の製造方法
US8828277B2 (en) 2009-06-18 2014-09-09 Toyota Jidosha Kabushiki Kaisha Nanocomposite thermoelectric conversion material and method of producing the same
EP2902136A1 (en) 2014-01-31 2015-08-05 Toyota Jidosha Kabushiki Kaisha Method of production of core/shell type nanoparticles, method of production of sintered body using that method, and thermoelectric conversion material produced by that method
EP2905095A1 (en) 2014-02-07 2015-08-12 Toyota Jidosha Kabushiki Kaisha Method and apparatus for producing core-shell type metal nanoparticles
WO2016002061A1 (ja) * 2014-07-04 2016-01-07 株式会社日立製作所 熱電変換材料、熱電変換素子、熱電変換モジュール、熱電変換材料の製造方法
WO2016185930A1 (ja) * 2015-05-15 2016-11-24 富士フイルム株式会社 マルチコアシェル粒子、ナノ粒子分散液およびフィルム
JP2020167317A (ja) * 2019-03-29 2020-10-08 学校法人東京理科大学 多結晶性マグネシウムシリサイド、焼結体及びその利用

Families Citing this family (49)

* Cited by examiner, † Cited by third party
Publication number Priority date Publication date Assignee Title
JP4747512B2 (ja) * 2004-05-14 2011-08-17 大日本印刷株式会社 熱電変換材料およびその製造方法
US7587901B2 (en) 2004-12-20 2009-09-15 Amerigon Incorporated Control system for thermal module in vehicle
US20110005564A1 (en) * 2005-10-11 2011-01-13 Dimerond Technologies, Inc. Method and Apparatus Pertaining to Nanoensembles Having Integral Variable Potential Junctions
US8716589B2 (en) * 2006-03-16 2014-05-06 Basf Aktiengesellschaft Doped lead tellurides for thermoelectric applications
US8222511B2 (en) 2006-08-03 2012-07-17 Gentherm Thermoelectric device
US20080087316A1 (en) 2006-10-12 2008-04-17 Masa Inaba Thermoelectric device with internal sensor
JP4912991B2 (ja) * 2007-09-07 2012-04-11 住友化学株式会社 熱電変換素子の製造方法
US7877827B2 (en) 2007-09-10 2011-02-01 Amerigon Incorporated Operational control schemes for ventilated seat or bed assemblies
EP2234839B1 (en) 2008-02-01 2016-06-29 Gentherm Incorporated Condensation and humidity sensors for thermoelectric devices
RU2457583C2 (ru) * 2008-02-29 2012-07-27 Сименс Акциенгезелльшафт Термоэлектрический нанокомпозит, способ изготовления нанокомпозита и применение нанокомпозита
CN102098947B (zh) 2008-07-18 2014-12-10 阿美里根公司 气候受控床组件
KR101458515B1 (ko) * 2008-09-05 2014-11-07 삼성전자주식회사 벌크상 열전재료 및 이를 포함하는 열전소자
US9978924B2 (en) 2009-10-09 2018-05-22 Toyota Jidosha Kabushiki Kaisha Method of producing thermoelectric material
US9755128B2 (en) * 2008-10-10 2017-09-05 Toyota Motor Engineering & Manufacturing North America, Inc. Method of producing thermoelectric material
US9718043B2 (en) * 2009-02-24 2017-08-01 Toyota Motor Engineering & Manufacturing North America, Inc. Core-shell nanoparticles and process for producing the same
JP2010245299A (ja) * 2009-04-06 2010-10-28 Three M Innovative Properties Co 複合材熱電材料及びその製造方法
KR20110018102A (ko) * 2009-08-17 2011-02-23 삼성전자주식회사 복합체형 열전재료 및 이를 포함하는 열전소자와 열전 모듈
JP5418146B2 (ja) 2009-10-26 2014-02-19 トヨタ自動車株式会社 ナノコンポジット熱電変換材料およびその製造方法
KR101094458B1 (ko) * 2009-11-11 2011-12-15 이화여자대학교 산학협력단 열전효율이 향상된 나노복합체의 제조방법 및 이에 따라 제조되는 나노복합체
KR20110052225A (ko) * 2009-11-12 2011-05-18 삼성전자주식회사 나노복합체형 열전재료 및 이를 포함하는 열전소자와 열전모듈
CN102339946B (zh) * 2010-07-20 2014-06-18 中国科学院上海硅酸盐研究所 一种高性能热电复合材料及其制备方法
US8435429B2 (en) 2010-07-22 2013-05-07 Toyota Motor Engineering & Manufacturing North America, Inc. Process for optimum thermoelectric properties
US8535554B2 (en) 2010-07-27 2013-09-17 Toyota Motor Engineering & Manufacturing North America, Inc. High-Ph synthesis of nanocomposite thermoelectric material
CN102024899B (zh) * 2010-09-22 2012-10-17 中国科学院宁波材料技术与工程研究所 一种纳米颗粒复合碲化铋基热电材料及其制备方法
US8568607B2 (en) 2011-02-08 2013-10-29 Toyota Motor Engineering & Manufacturing North America, Inc. High-pH synthesis of nanocomposite thermoelectric material
WO2012135428A1 (en) * 2011-03-29 2012-10-04 The Government Of The United States Of America, As Represented By The Secretary Of The Navy Thermoelectric materials
US9685599B2 (en) 2011-10-07 2017-06-20 Gentherm Incorporated Method and system for controlling an operation of a thermoelectric device
US9989267B2 (en) 2012-02-10 2018-06-05 Gentherm Incorporated Moisture abatement in heating operation of climate controlled systems
WO2013171260A1 (en) * 2012-05-15 2013-11-21 MAX-PLANCK-Gesellschaft zur Förderung der Wissenschaften e.V. Thermoelectric material and a method of manufacturing such a thermoelectric material
US8586999B1 (en) 2012-08-10 2013-11-19 Dimerond Technologies, Llc Apparatus pertaining to a core of wide band-gap material having a graphene shell
US9040395B2 (en) 2012-08-10 2015-05-26 Dimerond Technologies, Llc Apparatus pertaining to solar cells having nanowire titanium oxide cores and graphene exteriors and the co-generation conversion of light into electricity using such solar cells
US8829331B2 (en) 2012-08-10 2014-09-09 Dimerond Technologies Llc Apparatus pertaining to the co-generation conversion of light into electricity
US9640746B2 (en) * 2013-01-22 2017-05-02 California Institute Of Technology High performance high temperature thermoelectric composites with metallic inclusions
US9662962B2 (en) 2013-11-05 2017-05-30 Gentherm Incorporated Vehicle headliner assembly for zonal comfort
DE112015000816T5 (de) 2014-02-14 2016-11-03 Gentherm Incorporated Leitfähiger, konvektiver klimatisierter Sitz
US10894302B2 (en) * 2014-06-23 2021-01-19 Alpha Assembly Solutions Inc. Multilayered metal nano and micron particles
US11033058B2 (en) 2014-11-14 2021-06-15 Gentherm Incorporated Heating and cooling technologies
US11857004B2 (en) 2014-11-14 2024-01-02 Gentherm Incorporated Heating and cooling technologies
US11639816B2 (en) 2014-11-14 2023-05-02 Gentherm Incorporated Heating and cooling technologies including temperature regulating pad wrap and technologies with liquid system
CN106558683B (zh) * 2015-09-25 2019-08-16 微宏动力系统(湖州)有限公司 包覆型负极材料及其制备方法
CN105642884B (zh) * 2016-01-21 2017-08-25 合肥工业大学 一种具有核‑壳结构的Bi‑Te基热电材料的制备方法
CN110832651B (zh) * 2017-07-18 2023-12-15 国立研究开发法人物质·材料研究机构 热电材料、使用其的热电转换模块、其制造方法及帕尔帖元件
US11075331B2 (en) 2018-07-30 2021-07-27 Gentherm Incorporated Thermoelectric device having circuitry with structural rigidity
CN113167510B (zh) 2018-11-30 2025-10-03 金瑟姆股份公司 热电调节系统和方法
CN109585639B (zh) * 2018-12-04 2022-10-04 哈尔滨工业大学 一种高输出功率密度和能量转换效率的SnTe热电材料的制备方法
US11152557B2 (en) 2019-02-20 2021-10-19 Gentherm Incorporated Thermoelectric module with integrated printed circuit board
US10833285B1 (en) 2019-06-03 2020-11-10 Dimerond Technologies, Llc High efficiency graphene/wide band-gap semiconductor heterojunction solar cells
CN112670394B (zh) * 2020-12-24 2022-11-08 合肥工业大学 一种通过引入稳定的纳米异质结提高p型SnTe基材料热电性能的方法
CN112951975A (zh) * 2021-02-09 2021-06-11 清华大学 基于碲化铋加工废料再利用的碳化硅纳米复合碲化铋基热电材料及其制备方法

Citations (6)

* Cited by examiner, † Cited by third party
Publication number Priority date Publication date Assignee Title
JPH02106079A (ja) * 1988-10-14 1990-04-18 Ckd Corp 電熱変換素子
JPH05152613A (ja) * 1991-11-26 1993-06-18 Isuzu Motors Ltd 熱電変換材料
JP2000164940A (ja) * 1998-11-27 2000-06-16 Aisin Seiki Co Ltd 熱電半導体組成物及びその製造方法
JP2000261048A (ja) * 1999-03-05 2000-09-22 Ngk Insulators Ltd 熱電変換用半導体材料およびその製造方法
JP2000261047A (ja) * 1999-03-05 2000-09-22 Ngk Insulators Ltd 熱電変換用半導体材料およびその製造方法
JP2002026404A (ja) * 2000-07-03 2002-01-25 Sanyo Electric Co Ltd 熱電材料の製造方法、熱電材料及び熱電材料製造装置

Family Cites Families (3)

* Cited by examiner, † Cited by third party
Publication number Priority date Publication date Assignee Title
DE69132779T2 (de) * 1990-04-20 2002-07-11 Matsushita Electric Industrial Co., Ltd. Vakuumisolierter thermoelektrischer Halbleiter und thermoelektrisches Bauelement, das P- und N-Typ thermoelektrische Halbleiter benutzt
JP2996863B2 (ja) * 1994-04-15 2000-01-11 株式会社東芝 電子冷却材料およびその製造方法
US7342169B2 (en) * 2001-10-05 2008-03-11 Nextreme Thermal Solutions Phonon-blocking, electron-transmitting low-dimensional structures

Patent Citations (6)

* Cited by examiner, † Cited by third party
Publication number Priority date Publication date Assignee Title
JPH02106079A (ja) * 1988-10-14 1990-04-18 Ckd Corp 電熱変換素子
JPH05152613A (ja) * 1991-11-26 1993-06-18 Isuzu Motors Ltd 熱電変換材料
JP2000164940A (ja) * 1998-11-27 2000-06-16 Aisin Seiki Co Ltd 熱電半導体組成物及びその製造方法
JP2000261048A (ja) * 1999-03-05 2000-09-22 Ngk Insulators Ltd 熱電変換用半導体材料およびその製造方法
JP2000261047A (ja) * 1999-03-05 2000-09-22 Ngk Insulators Ltd 熱電変換用半導体材料およびその製造方法
JP2002026404A (ja) * 2000-07-03 2002-01-25 Sanyo Electric Co Ltd 熱電材料の製造方法、熱電材料及び熱電材料製造装置

Cited By (31)

* Cited by examiner, † Cited by third party
Publication number Priority date Publication date Assignee Title
WO2008048302A3 (en) * 2005-11-29 2008-10-16 Nanodynamics Inc Bulk thermoelectric compositions from coated nanoparticles
JP5173433B2 (ja) * 2005-12-07 2013-04-03 トヨタ自動車株式会社 熱電変換材料及びその製造方法
WO2007066820A1 (ja) * 2005-12-07 2007-06-14 Toyota Jidosha Kabushiki Kaisha 熱電変換材料及びその製造方法
JP2007258200A (ja) * 2006-03-20 2007-10-04 Univ Nagoya 熱電変換材料及びそれを用いた熱電変換膜
JP2008147625A (ja) * 2006-10-13 2008-06-26 Toyota Motor Engineering & Manufacturing North America Inc コア−シェルナノ粒子を用いる均一熱電ナノ複合材料
US8617918B2 (en) 2007-06-05 2013-12-31 Toyota Jidosha Kabushiki Kaisha Thermoelectric converter and method thereof
JP2008305919A (ja) * 2007-06-06 2008-12-18 Toyota Motor Corp 熱電変換素子及びその製造方法
JP2008305907A (ja) * 2007-06-06 2008-12-18 Toyota Motor Corp 熱電変換素子の製造方法
US8394284B2 (en) 2007-06-06 2013-03-12 Toyota Jidosha Kabushiki Kaisha Thermoelectric converter and method of manufacturing same
JP2008305913A (ja) * 2007-06-06 2008-12-18 Toyota Motor Corp 熱電変換素子の製造方法
WO2008149871A1 (ja) * 2007-06-06 2008-12-11 Toyota Jidosha Kabushiki Kaisha 熱電変換素子及びその製造方法
US8828277B2 (en) 2009-06-18 2014-09-09 Toyota Jidosha Kabushiki Kaisha Nanocomposite thermoelectric conversion material and method of producing the same
JP2012253302A (ja) * 2011-06-07 2012-12-20 Fujitsu Ltd 熱電素子及びその製造方法
JP2013118355A (ja) * 2011-12-01 2013-06-13 Toyota Motor Engineering & Manufacturing North America Inc ナノ粒子を含む三成分熱電材料及びその製造方法
JP2013118371A (ja) * 2011-12-01 2013-06-13 Toyota Motor Engineering & Manufacturing North America Inc ナノ粒子を含む二成分熱電材料及びその製造方法
JP2014099634A (ja) * 2014-01-08 2014-05-29 Denso Corp 熱電変換素子の製造方法
US9887341B2 (en) 2014-01-31 2018-02-06 Toyota Jidosha Kabushiki Kaisha Method of production of core/shell type nanoparticles, method of production of sintered body using that method, and thermoelectric conversion material produced by that method
JP2015144223A (ja) * 2014-01-31 2015-08-06 トヨタ自動車株式会社 コア/シェル型ナノ粒子の製造方法、その方法を用いた焼結体の製造方法およびその方法により製造した熱電変換材料
KR20150091239A (ko) 2014-01-31 2015-08-10 도요타 지도샤(주) 코어/쉘형 나노 입자의 제조 방법, 그 방법을 이용한 소결체의 제조 방법 및 그 방법에 의해 제조한 열전 변환 재료
EP2902136A1 (en) 2014-01-31 2015-08-05 Toyota Jidosha Kabushiki Kaisha Method of production of core/shell type nanoparticles, method of production of sintered body using that method, and thermoelectric conversion material produced by that method
EP2905095A1 (en) 2014-02-07 2015-08-12 Toyota Jidosha Kabushiki Kaisha Method and apparatus for producing core-shell type metal nanoparticles
JP2015147986A (ja) * 2014-02-07 2015-08-20 トヨタ自動車株式会社 コア―シェル型金属ナノ粒子を製造する方法及び装置
KR101717834B1 (ko) * 2014-02-07 2017-03-17 도요타 지도샤(주) 코어-쉘형 금속 나노 입자를 제조하는 방법 및 장치
KR20150093597A (ko) 2014-02-07 2015-08-18 도요타 지도샤(주) 코어-쉘형 금속 나노 입자를 제조하는 방법 및 장치
US10076745B2 (en) 2014-02-07 2018-09-18 Toyota Jidosha Kabushiki Kaisha Method and apparatus for producing core-shell type metal nanoparticles
WO2016002061A1 (ja) * 2014-07-04 2016-01-07 株式会社日立製作所 熱電変換材料、熱電変換素子、熱電変換モジュール、熱電変換材料の製造方法
WO2016185930A1 (ja) * 2015-05-15 2016-11-24 富士フイルム株式会社 マルチコアシェル粒子、ナノ粒子分散液およびフィルム
JPWO2016185930A1 (ja) * 2015-05-15 2018-02-15 富士フイルム株式会社 マルチコアシェル粒子、ナノ粒子分散液およびフィルム
US11136497B2 (en) 2015-05-15 2021-10-05 Fujifilm Corporation Multicore-shell particle, nanoparticle dispersion liquid, and film
JP2020167317A (ja) * 2019-03-29 2020-10-08 学校法人東京理科大学 多結晶性マグネシウムシリサイド、焼結体及びその利用
JP7359412B2 (ja) 2019-03-29 2023-10-11 学校法人東京理科大学 多結晶性マグネシウムシリサイド、焼結体及びその利用

Also Published As

Publication number Publication date
US7259320B2 (en) 2007-08-21
US20050268956A1 (en) 2005-12-08

Similar Documents

Publication Publication Date Title
JP2005294478A (ja) 熱電変換材料
JP4830383B2 (ja) コアシェル型ナノ粒子および熱電変換材料
CN102257648B (zh) 体加工的品质因数增强的热电材料
US10020435B2 (en) Composite thermoelectric material, thermoelectric element and module including the same, and preparation method thereof
EP2658002B1 (en) Thermoelectric material having reduced thermal conductivity
US8765003B2 (en) Nanocomposite thermoelectric conversion material and process for producing same
KR101902925B1 (ko) 열전재료, 열전소자 및 열전모듈
KR20070108853A (ko) 열전 성능 지수가 높은 나노 복합재
CN101720514A (zh) 热电转换元件和其制造方法
JP5534069B2 (ja) 熱電変換素子の製造方法
JP4747512B2 (ja) 熱電変換材料およびその製造方法
US8568607B2 (en) High-pH synthesis of nanocomposite thermoelectric material
TW201903220A (zh) 半導體燒結體、電氣電子構件、以及半導體燒結體的製造方法
US20120153240A1 (en) Scalable nanostructured thermoelectric material with high zt
US20140174492A1 (en) Thermoelectric material and method for manufacturing the same
US8759662B1 (en) Bulk dimensional nanocomposites for thermoelectric applications
JP2018019014A (ja) 熱電変換材料及びこれを用いた熱電変換モジュール
KR101068964B1 (ko) 열전재료 및 화학적 공정에 의한 열전재료 제조방법
KR102756762B1 (ko) 열전소재의 제조방법
KR101142917B1 (ko) 열전나노복합분말의 제조방법
JP2021044424A (ja) 熱電変換材料
JP2012023201A (ja) 熱電変換材料の製造方法
KR102336650B1 (ko) 복합체형 열전소재 및 이의 제조방법
JP7028076B2 (ja) p型熱電変換材料、熱電変換モジュール及びp型熱電変換材料の製造方法
Poudeu et al. Advances in Nanostructured Half-Heusler Alloys for Thermoelectric Applications

Legal Events

Date Code Title Description
A621 Written request for application examination

Free format text: JAPANESE INTERMEDIATE CODE: A621

Effective date: 20070123

A131 Notification of reasons for refusal

Free format text: JAPANESE INTERMEDIATE CODE: A131

Effective date: 20090120

A977 Report on retrieval

Free format text: JAPANESE INTERMEDIATE CODE: A971007

Effective date: 20090122

A521 Request for written amendment filed

Free format text: JAPANESE INTERMEDIATE CODE: A523

Effective date: 20090316

A131 Notification of reasons for refusal

Free format text: JAPANESE INTERMEDIATE CODE: A131

Effective date: 20100119

A521 Request for written amendment filed

Free format text: JAPANESE INTERMEDIATE CODE: A523

Effective date: 20100323

A02 Decision of refusal

Free format text: JAPANESE INTERMEDIATE CODE: A02

Effective date: 20100506

A521 Request for written amendment filed

Free format text: JAPANESE INTERMEDIATE CODE: A523

Effective date: 20100803

A911 Transfer to examiner for re-examination before appeal (zenchi)

Free format text: JAPANESE INTERMEDIATE CODE: A911

Effective date: 20100921

A912 Re-examination (zenchi) completed and case transferred to appeal board

Free format text: JAPANESE INTERMEDIATE CODE: A912

Effective date: 20101029