EP1297918B1 - Improvements in or relating to fastening machines - Google Patents
Improvements in or relating to fastening machines Download PDFInfo
- Publication number
- EP1297918B1 EP1297918B1 EP02079120A EP02079120A EP1297918B1 EP 1297918 B1 EP1297918 B1 EP 1297918B1 EP 02079120 A EP02079120 A EP 02079120A EP 02079120 A EP02079120 A EP 02079120A EP 1297918 B1 EP1297918 B1 EP 1297918B1
- Authority
- EP
- European Patent Office
- Prior art keywords
- rivet
- tube
- rivets
- nose
- delivery
- Prior art date
- Legal status (The legal status is an assumption and is not a legal conclusion. Google has not performed a legal analysis and makes no representation as to the accuracy of the status listed.)
- Expired - Lifetime
Links
- 238000012546 transfer Methods 0.000 abstract description 110
- 210000001331 nose Anatomy 0.000 description 118
- 108091006146 Channels Proteins 0.000 description 59
- 230000007246 mechanism Effects 0.000 description 36
- 239000012528 membrane Substances 0.000 description 25
- 238000003032 molecular docking Methods 0.000 description 21
- 210000003128 head Anatomy 0.000 description 19
- 229920003023 plastic Polymers 0.000 description 15
- 239000004033 plastic Substances 0.000 description 13
- 230000015572 biosynthetic process Effects 0.000 description 12
- 238000005755 formation reaction Methods 0.000 description 12
- 230000000295 complement effect Effects 0.000 description 11
- 238000013461 design Methods 0.000 description 11
- 230000005484 gravity Effects 0.000 description 10
- 239000000463 material Substances 0.000 description 10
- 238000000034 method Methods 0.000 description 10
- 238000003780 insertion Methods 0.000 description 7
- 230000037431 insertion Effects 0.000 description 7
- 238000004806 packaging method and process Methods 0.000 description 7
- 230000008569 process Effects 0.000 description 7
- 230000000717 retained effect Effects 0.000 description 7
- 230000006835 compression Effects 0.000 description 5
- 238000007906 compression Methods 0.000 description 5
- 238000004519 manufacturing process Methods 0.000 description 4
- 239000000523 sample Substances 0.000 description 4
- 238000004026 adhesive bonding Methods 0.000 description 3
- 230000000694 effects Effects 0.000 description 3
- 229920002457 flexible plastic Polymers 0.000 description 3
- 230000003993 interaction Effects 0.000 description 3
- 230000014759 maintenance of location Effects 0.000 description 3
- 230000013011 mating Effects 0.000 description 3
- 230000002441 reversible effect Effects 0.000 description 3
- 238000003860 storage Methods 0.000 description 3
- 230000001133 acceleration Effects 0.000 description 2
- 238000009825 accumulation Methods 0.000 description 2
- 230000008901 benefit Effects 0.000 description 2
- 238000007664 blowing Methods 0.000 description 2
- 238000004590 computer program Methods 0.000 description 2
- 239000004020 conductor Substances 0.000 description 2
- 238000010924 continuous production Methods 0.000 description 2
- 230000001419 dependent effect Effects 0.000 description 2
- 239000000428 dust Substances 0.000 description 2
- 238000005516 engineering process Methods 0.000 description 2
- 238000001125 extrusion Methods 0.000 description 2
- 210000000887 face Anatomy 0.000 description 2
- 239000000945 filler Substances 0.000 description 2
- 239000012530 fluid Substances 0.000 description 2
- 238000000926 separation method Methods 0.000 description 2
- 230000008093 supporting effect Effects 0.000 description 2
- 238000003466 welding Methods 0.000 description 2
- 241000237858 Gastropoda Species 0.000 description 1
- 108090000862 Ion Channels Proteins 0.000 description 1
- 102000004310 Ion Channels Human genes 0.000 description 1
- 229920000271 Kevlar® Polymers 0.000 description 1
- 229910000639 Spring steel Inorganic materials 0.000 description 1
- 230000009471 action Effects 0.000 description 1
- 239000000853 adhesive Substances 0.000 description 1
- 230000001070 adhesive effect Effects 0.000 description 1
- 238000013459 approach Methods 0.000 description 1
- 238000005452 bending Methods 0.000 description 1
- 230000008859 change Effects 0.000 description 1
- 238000006243 chemical reaction Methods 0.000 description 1
- 238000004891 communication Methods 0.000 description 1
- 239000002131 composite material Substances 0.000 description 1
- 238000010276 construction Methods 0.000 description 1
- 238000011109 contamination Methods 0.000 description 1
- 239000012050 conventional carrier Substances 0.000 description 1
- 238000006073 displacement reaction Methods 0.000 description 1
- 230000009977 dual effect Effects 0.000 description 1
- 239000003000 extruded plastic Substances 0.000 description 1
- 238000009459 flexible packaging Methods 0.000 description 1
- 239000006260 foam Substances 0.000 description 1
- 230000001976 improved effect Effects 0.000 description 1
- 230000001939 inductive effect Effects 0.000 description 1
- 238000002347 injection Methods 0.000 description 1
- 239000007924 injection Substances 0.000 description 1
- 239000004761 kevlar Substances 0.000 description 1
- 238000012423 maintenance Methods 0.000 description 1
- 239000002184 metal Substances 0.000 description 1
- 229910052751 metal Inorganic materials 0.000 description 1
- 238000012986 modification Methods 0.000 description 1
- 230000004048 modification Effects 0.000 description 1
- 238000012856 packing Methods 0.000 description 1
- 230000000737 periodic effect Effects 0.000 description 1
- 230000002093 peripheral effect Effects 0.000 description 1
- 230000001681 protective effect Effects 0.000 description 1
- 238000003908 quality control method Methods 0.000 description 1
- 238000004064 recycling Methods 0.000 description 1
- 239000012858 resilient material Substances 0.000 description 1
- 230000004044 response Effects 0.000 description 1
- 230000000284 resting effect Effects 0.000 description 1
- 238000007789 sealing Methods 0.000 description 1
- 125000006850 spacer group Chemical group 0.000 description 1
- 230000003319 supportive effect Effects 0.000 description 1
- 230000001960 triggered effect Effects 0.000 description 1
- 238000011144 upstream manufacturing Methods 0.000 description 1
- 238000009461 vacuum packaging Methods 0.000 description 1
- 230000000007 visual effect Effects 0.000 description 1
- 238000011179 visual inspection Methods 0.000 description 1
Images
Classifications
-
- B—PERFORMING OPERATIONS; TRANSPORTING
- B21—MECHANICAL METAL-WORKING WITHOUT ESSENTIALLY REMOVING MATERIAL; PUNCHING METAL
- B21J—FORGING; HAMMERING; PRESSING METAL; RIVETING; FORGE FURNACES
- B21J15/00—Riveting
- B21J15/10—Riveting machines
- B21J15/30—Particular elements, e.g. supports; Suspension equipment specially adapted for portable riveters
- B21J15/32—Devices for inserting or holding rivets in position with or without feeding arrangements
-
- B—PERFORMING OPERATIONS; TRANSPORTING
- B21—MECHANICAL METAL-WORKING WITHOUT ESSENTIALLY REMOVING MATERIAL; PUNCHING METAL
- B21J—FORGING; HAMMERING; PRESSING METAL; RIVETING; FORGE FURNACES
- B21J15/00—Riveting
- B21J15/02—Riveting procedures
- B21J15/025—Setting self-piercing rivets
-
- B—PERFORMING OPERATIONS; TRANSPORTING
- B21—MECHANICAL METAL-WORKING WITHOUT ESSENTIALLY REMOVING MATERIAL; PUNCHING METAL
- B21J—FORGING; HAMMERING; PRESSING METAL; RIVETING; FORGE FURNACES
- B21J15/00—Riveting
- B21J15/10—Riveting machines
-
- B—PERFORMING OPERATIONS; TRANSPORTING
- B23—MACHINE TOOLS; METAL-WORKING NOT OTHERWISE PROVIDED FOR
- B23P—METAL-WORKING NOT OTHERWISE PROVIDED FOR; COMBINED OPERATIONS; UNIVERSAL MACHINE TOOLS
- B23P11/00—Connecting or disconnecting metal parts or objects by metal-working techniques not otherwise provided for
-
- B—PERFORMING OPERATIONS; TRANSPORTING
- B65—CONVEYING; PACKING; STORING; HANDLING THIN OR FILAMENTARY MATERIAL
- B65G—TRANSPORT OR STORAGE DEVICES, e.g. CONVEYORS FOR LOADING OR TIPPING, SHOP CONVEYOR SYSTEMS OR PNEUMATIC TUBE CONVEYORS
- B65G47/00—Article or material-handling devices associated with conveyors; Methods employing such devices
- B65G47/02—Devices for feeding articles or materials to conveyors
- B65G47/04—Devices for feeding articles or materials to conveyors for feeding articles
- B65G47/12—Devices for feeding articles or materials to conveyors for feeding articles from disorderly-arranged article piles or from loose assemblages of articles
- B65G47/14—Devices for feeding articles or materials to conveyors for feeding articles from disorderly-arranged article piles or from loose assemblages of articles arranging or orientating the articles by mechanical or pneumatic means during feeding
- B65G47/1407—Devices for feeding articles or materials to conveyors for feeding articles from disorderly-arranged article piles or from loose assemblages of articles arranging or orientating the articles by mechanical or pneumatic means during feeding the articles being fed from a container, e.g. a bowl
-
- Y—GENERAL TAGGING OF NEW TECHNOLOGICAL DEVELOPMENTS; GENERAL TAGGING OF CROSS-SECTIONAL TECHNOLOGIES SPANNING OVER SEVERAL SECTIONS OF THE IPC; TECHNICAL SUBJECTS COVERED BY FORMER USPC CROSS-REFERENCE ART COLLECTIONS [XRACs] AND DIGESTS
- Y10—TECHNICAL SUBJECTS COVERED BY FORMER USPC
- Y10T—TECHNICAL SUBJECTS COVERED BY FORMER US CLASSIFICATION
- Y10T29/00—Metal working
- Y10T29/49—Method of mechanical manufacture
-
- Y—GENERAL TAGGING OF NEW TECHNOLOGICAL DEVELOPMENTS; GENERAL TAGGING OF CROSS-SECTIONAL TECHNOLOGIES SPANNING OVER SEVERAL SECTIONS OF THE IPC; TECHNICAL SUBJECTS COVERED BY FORMER USPC CROSS-REFERENCE ART COLLECTIONS [XRACs] AND DIGESTS
- Y10—TECHNICAL SUBJECTS COVERED BY FORMER USPC
- Y10T—TECHNICAL SUBJECTS COVERED BY FORMER US CLASSIFICATION
- Y10T29/00—Metal working
- Y10T29/49—Method of mechanical manufacture
- Y10T29/49826—Assembling or joining
- Y10T29/49908—Joining by deforming
- Y10T29/49938—Radially expanding part in cavity, aperture, or hollow body
- Y10T29/49943—Riveting
-
- Y—GENERAL TAGGING OF NEW TECHNOLOGICAL DEVELOPMENTS; GENERAL TAGGING OF CROSS-SECTIONAL TECHNOLOGIES SPANNING OVER SEVERAL SECTIONS OF THE IPC; TECHNICAL SUBJECTS COVERED BY FORMER USPC CROSS-REFERENCE ART COLLECTIONS [XRACs] AND DIGESTS
- Y10—TECHNICAL SUBJECTS COVERED BY FORMER USPC
- Y10T—TECHNICAL SUBJECTS COVERED BY FORMER US CLASSIFICATION
- Y10T29/00—Metal working
- Y10T29/49—Method of mechanical manufacture
- Y10T29/49826—Assembling or joining
- Y10T29/49947—Assembling or joining by applying separate fastener
-
- Y—GENERAL TAGGING OF NEW TECHNOLOGICAL DEVELOPMENTS; GENERAL TAGGING OF CROSS-SECTIONAL TECHNOLOGIES SPANNING OVER SEVERAL SECTIONS OF THE IPC; TECHNICAL SUBJECTS COVERED BY FORMER USPC CROSS-REFERENCE ART COLLECTIONS [XRACs] AND DIGESTS
- Y10—TECHNICAL SUBJECTS COVERED BY FORMER USPC
- Y10T—TECHNICAL SUBJECTS COVERED BY FORMER US CLASSIFICATION
- Y10T29/00—Metal working
- Y10T29/49—Method of mechanical manufacture
- Y10T29/49826—Assembling or joining
- Y10T29/49947—Assembling or joining by applying separate fastener
- Y10T29/49954—Fastener deformed after application
- Y10T29/49956—Riveting
-
- Y—GENERAL TAGGING OF NEW TECHNOLOGICAL DEVELOPMENTS; GENERAL TAGGING OF CROSS-SECTIONAL TECHNOLOGIES SPANNING OVER SEVERAL SECTIONS OF THE IPC; TECHNICAL SUBJECTS COVERED BY FORMER USPC CROSS-REFERENCE ART COLLECTIONS [XRACs] AND DIGESTS
- Y10—TECHNICAL SUBJECTS COVERED BY FORMER USPC
- Y10T—TECHNICAL SUBJECTS COVERED BY FORMER US CLASSIFICATION
- Y10T29/00—Metal working
- Y10T29/51—Plural diverse manufacturing apparatus including means for metal shaping or assembling
- Y10T29/5116—Plural diverse manufacturing apparatus including means for metal shaping or assembling forging and bending, cutting or punching
- Y10T29/5118—Riveting
-
- Y—GENERAL TAGGING OF NEW TECHNOLOGICAL DEVELOPMENTS; GENERAL TAGGING OF CROSS-SECTIONAL TECHNOLOGIES SPANNING OVER SEVERAL SECTIONS OF THE IPC; TECHNICAL SUBJECTS COVERED BY FORMER USPC CROSS-REFERENCE ART COLLECTIONS [XRACs] AND DIGESTS
- Y10—TECHNICAL SUBJECTS COVERED BY FORMER USPC
- Y10T—TECHNICAL SUBJECTS COVERED BY FORMER US CLASSIFICATION
- Y10T29/00—Metal working
- Y10T29/53—Means to assemble or disassemble
- Y10T29/5343—Means to drive self-piercing work part
-
- Y—GENERAL TAGGING OF NEW TECHNOLOGICAL DEVELOPMENTS; GENERAL TAGGING OF CROSS-SECTIONAL TECHNOLOGIES SPANNING OVER SEVERAL SECTIONS OF THE IPC; TECHNICAL SUBJECTS COVERED BY FORMER USPC CROSS-REFERENCE ART COLLECTIONS [XRACs] AND DIGESTS
- Y10—TECHNICAL SUBJECTS COVERED BY FORMER USPC
- Y10T—TECHNICAL SUBJECTS COVERED BY FORMER US CLASSIFICATION
- Y10T29/00—Metal working
- Y10T29/53—Means to assemble or disassemble
- Y10T29/53478—Means to assemble or disassemble with magazine supply
-
- Y—GENERAL TAGGING OF NEW TECHNOLOGICAL DEVELOPMENTS; GENERAL TAGGING OF CROSS-SECTIONAL TECHNOLOGIES SPANNING OVER SEVERAL SECTIONS OF THE IPC; TECHNICAL SUBJECTS COVERED BY FORMER USPC CROSS-REFERENCE ART COLLECTIONS [XRACs] AND DIGESTS
- Y10—TECHNICAL SUBJECTS COVERED BY FORMER USPC
- Y10T—TECHNICAL SUBJECTS COVERED BY FORMER US CLASSIFICATION
- Y10T29/00—Metal working
- Y10T29/53—Means to assemble or disassemble
- Y10T29/53709—Overedge assembling means
- Y10T29/5377—Riveter
Definitions
- the present invention relates to fastening machines and in particular to improved aspects of fastener delivery to and around a fastening machine including a method for the controlled and efficient flow of fasteners from their point of manufacture to their insertion in a workpiece, (see for example US-A-2 493 868).
- fastener is used herein to include rivets, screws, slugs and other types of fastening devices.
- rivets are presented to a fastening machine in loose form (e.g. they are delivered to the site in a bag which is severed and unloaded into a hopper of the machine) or mounted in a carrier tape.
- the rivets are extracted singly from the hopper and delivered to a rivet setting tool via a pressurised delivery tube in which the rivet is propelled by, for example, pressurised air.
- the rivet is typically transferred to an alignment or retaining device for holding the rivet in alignment with a rivet delivery passage of the setting tool.
- a punch descends along the rivet delivery passage and drives the rivet into the workpiece so that it is deformed by an upsetting die disposed below the workpiece.
- the fasteners are advanced with the tape so that they are brought sequentially into alignment with the punch and die assembly by a feeder before the punch is actuated to drive the fastener out of the tape and into the workpiece as before.
- Modern riveting machines are generally CNC controlled and incorporate robot technology. The machines are operated under the control of a computer program that provides instructions relating to the rivet position and type for each joint to be effected in a particular workpiece.
- the type of rivet to be used is selected according to many factors including the size of the parts to be connected.
- the fastener delivery system must thus be able to cope with the supply of rivets of different sizes and types in any particular sequence without increase to the riveting cycle time.
- a present requirement in the industry is to meet the demands of large scale continuous production in which setting tools are supplied in a continuous uninterrupted manner both during operation of the setting tool and during robot dwell times when the setting tools are not in operation.
- rivets are preferably transferred in bulk from a store or goods inward station to the setting tool on a production line in a "Just-in-Time" manner by automatic means such as, for example, auto-guided vehicles, robots or conveyors.
- a problem with presenting loose rivets or other fasteners to conventional fastening machines is that the supply hopper or other storage device is topped up from time to time with fasteners that can be from different production batches, making it impossible to trace with any accuracy the passage of individual rivets or batch of rivets from the source of manufacture through to insertion in the workpiece.
- the mixing of batches compromises strict quality control measures demanded by modem industry, especially in the event of having to recall a riveted product.
- Operator error or non-compliance with procedures e.g. adding rivets from an unidentifiable source to a feeder containing identifiable rivets
- a disadvantage of existing rivet delivery tubes is the tendency for them to wear during use because the plastics material from which they are generally constructed is selected as a compromise between flexibility, visual transparency (so that blockage or jams can be detected by visual inspection) and a low coefficient of friction. This is particularly so if rivets are fed sideways (i.e. at right angles to the longitudinal axis of the rivet) which is necessary if tumbling of the rivet within the tube is to be avoided. Fasteners having different aspect ratios (fastener length to head diameter) are fed in different orientations.
- fasteners with a low aspect ratio are susceptible to tumbling in the delivery tube, which must therefore be of T-shape, or rectangular cross-section and fasteners with a high aspect ratio are transported axially in tubes of circular cross-section. Wear can manifest itself in the form of internal corrugations that can severely limit the propulsion velocity. In addition, the accumulation of dust and general detritus can cause blockages thereby interrupting the fastening process particularly as it is generally difficult to gain access to the interior of the tube.
- Such delivery tubes are generally connected to robotic devices and can be twisted or otherwise contorted during robot manipulation, particularly when routed around a bend having a small radius. In such cases the inner profile of the tube can be distorted to an extent that rivets become trapped in a constriction in the tube.
- rivets need to be rotated through 90° before they can be inserted into the delivery passage of the nose when the delivery tube approaches the nose from a vertical direction that is parallel to the setting tool axis.
- This can be done by incorporating bends into the delivery tube or feeder tube of a transfer station however this occupies considerable space since the bend must be gradual enough so to prevent jamming of the rivet and to maintain sufficient rivet momentum.
- the transfer station has a plunger that directs a rivet emerging from the delivery tube into the nose of the setting tool.
- the delivery tube must therefore enter the transfer station ahead of the plunger in which case the tube must bend around the plunger, or the plunger must be constructed so as to reciprocate out of the path of the tube when a rivet arrives.
- rivet sizes are required for a workpiece or section of a workpiece if, for example, it comprises overlapping sheets or there is a requirement to attach a bracket to another component, in which case the sandwich thickness of the workpiece varies from two sheets to three sheets or more.
- one of the factors determining the strength of a riveted joint is the length of the rivet in relationship to the sandwich thickness of the material to be fastened.
- the mechanical properties of joints riveted with the same size of rivet will vary depending on the sandwich thickness and the material being fastened.
- rivets are transported directly into the nose via a permanently connected delivery tube.
- This arrangement has several disadvantages.
- the connection of the tube to the nose restricts access, is bulky and means that the tube must move up and down with the stroke of the nose during insertion of a rivet into a workpiece.
- the rivet delivery can be a problem in that there is no provision for dealing with a plurality of rivets that may have been accidentally fed into the nose and effective delivery relies purely on the momentum of the rivet as it travels down the delivery tube.
- the rivet momentum is variable with the air pressure supply (that propels the rivets along the tube), rivet mass and restrictions in the passage of the delivery tube (caused by kinks, bends, dirt and wear etc).
- the arrangement cannot prevent debris being carried into the nose along the delivery tube.
- Rivets are fed separately to the nose and the cycle time is thus dependent on the length of the delivery tube.
- a transfer station is disposed between the nose and the delivery tube. Rivets stop at the transfer station and are transferred by a pusher into the nose. Whilst this arrangement reduces the cycle time in that rivets can be collected at the transfer station, the other disadvantages referred to above are not solved.
- US Patent No. 5465868 describes an automatic system for pre-selecting and feeding pre-oriented rivets to a riveting machine.
- a buffer magazine comprising a bundle of tubes is situated at a location intermediate a rivet setter head and a feed station. Each tube contains a plurality of rivets
- the buffer magazine is supplied with pre-oriented rivets of different sizes and types and is connected to the rivet setter head by a plurality of delivery tubes that are fed by a selecting device mounted on a frame below the magazine.
- the selecting device operates under the control of a computer program to select the appropriate rivet from the magazine and release it into the appropriate delivery tube for supply to the rivet setter head.
- the feed station ensures that the buffer magazine is automatically filled to a level above a minimum.
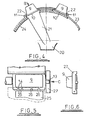
- figure 1 shows a fastening machine and fastener delivery apparatus that comprises a rivet setting tool 1 mounted on a conventional C-frame 2 above a rivet upsetting die 3. Rivets are presented to the machine in the form of one or more containers or packages 4 (several shown schematically in figure 1 on an endless loop conveyer).
- a typical means of transport is by blowing compressed air along the delivery tube to propel the rivet therealong.
- the rivets are captured by a transfer station 7 which serves to transfer the rivets individually to the nose 8 of the setting tool 1 and to ensure that each rivet is in correct alignment with a punch (hidden) prior to insertion of the rivet into a workpiece.
- the delivery tube(s) 6 may be permanently attached to the rivet setting tool 1 or alternatively in some instances it is desirable for the delivery tube 6 to be disconnectable from the rivet setting tool 1 during the riveting work cycle. Delivery tubes are delicate and susceptible to kinking and entrapment or entanglement with other fixtures when the tool is manipulated (manually or automatically) in all three axes of movement.
- the rivet setting tool 1 may thus have one or more buffer magazines 6a attached thereto intermediate the delivery tube 6 and the nose 8 to permit a plurality of fasteners to be held and/or delivered at once.
- the buffer magazine 6a allows the rivet setting tool 1 to perform a cycle of riveting processes without waiting for the connection of the delivery tube 6, delivery of the rivet and disconnection of the tube.
- the buffer magazine 6a Periodically between work cycles the buffer magazine 6a can be refilled by docking with the delivery tube 6 and effecting transfer of rivets from the container 4.
- the buffer magazine 6a may be permanently attached to the setting tool 1 and re-loadable via the delivery tube 6 or, alternatively, when empty, the magazine may be exchanged manually or automatically for a full magazine.
- the buffer magazine 6a may comprise a carousel having a plurality of magazine cartridges to allow one to be loaded "off-line” via a delivery tube 6 while another is "live” (i.e. supplying the nose). Examples are described below.
- the transfer station 7 is designed to be uncoupled from the nose 8 so as to permit the nose to descend towards the workpiece and die to perform the riveting operation. An example of this arrangement is described in more detail later.
- a shuttle S selects the appropriate delivery tube 6 for connection to the buffer magazine 6.
- several delivery tubes 6 may be fed to a single transfer station 7 so as to provide a back-up supply in the event that one of the tubes is out of operation (e.g. it becomes blocked).
- the delivery tube 6 may have an in-line escapement mechanism I that allows rivets to be buffered at an intermediate location in the delivery tube 6 after the feed mechanism 5.
- the escapement mechanism I operates to control the delivery of rivets to the tool 1 by allowing escape of the rivets individually as and when required by the tool. This is particularly significant when the tool demands a sequence of rivets of different types. In such a circumstance the escapement mechanism I ensures (in combination with the shuttle S) that only the appropriate rivet types are released in sequence to the tool 1.
- FIG 2 shows an example of a rivet container in the form of a transparent plastics, substantially parallelepiped box 9 with a sealed lid 10 on its upper face.
- the lid 10 of the container has a peripheral lip 11 by which it is located in a loading station (see below) and tear perforations 12 along three sides.
- the edge of the fourth side has a pull strip 13 so that the lid 10 can be torn away from the rest of the container along the perforations 12.
- One edge of the lip 11 has a plurality of machine readable notches 14 that represent coded information relating to the contents of the container e.g. rivet type, size etc.
- a side wall 15 may be embossed with the manufacturer's name and other relevant information and an end face 16 of the container ideally bears a bar code and printed information relating to the rivet part number and the batch number.
- the plastics container 9 is received in a cardboard sleeve or box 17 as shown in figure 3 in order to provide strength for storing or transporting in bulk.
- the box 17 is printed with relevant information relating to the correct use of the rivets.
- An end wall 18 of the box 17 has a window 19 so that the transparent plastics container 9 and the printed information thereon can be inspected.
- the loading station comprises a central feeder 20 from which a chute 21 extends upwardly towards the containers 9 which are received in apertures 22 in an arcuate hopper 23.
- the chute 21 is connected to a rotary gate 24 that underlies the hopper 23 and which is rotatable relative thereto.
- a full container 9 is presented to the hopper 23 with its lid 10 intact by inverting it and sliding the lip 11 under the edges of one of the apertures 22 until it is in the position shown in figure 4, whereupon the rotary gate 24 moves to the position shown in figure 7 thereby preventing removal of the containers 9.
- a key plate 25 (see figure 5) bearing protrusions 26 complementary to the notches 14 on the desired rivet container moves laterally towards the notched edge of the container lip 11 and checks that the notches 14 are correct for the type of rivet required.
- a bar code 27 reader scans the end of the container and transmits the information relating to the batch number etc. to a controlling computer.
- the gate 24 is then rotated in reverse and a release mechanism (not shown) engages the end of the pull strip 13 and winds it around a spool (not shown) so as to remove the lid 10 and release the rivets which then pass down the chute 21 and into the feeder 20.
- the pull strip 13 may alternatively be removed by an operator. When the container 9 is unloaded it is removed and the gate 24 rotated to close the aperture 22.
- the hopper 23 may be moved to a reject position (not shown) where the incorrect rivets are discharged to a reject bin.
- the rotary gate 24 may index round so as to permit loading of the contents of the second container into the feeder 20 as shown in figure 8.
- the operation is controlled such that a container 9 is not unloaded until the feeder 20 is empty.
- the containers 9 are designed so that they cannot be refilled and reused on-line thereby eliminating a risk of contamination of the riveting process by unidentifiable rivets (however, they may be refilled and resealed off-line).
- the above described arrangement ensures that incorrect rivets cannot be poured into the feeder 20 since the content of each container is automatically checked and verified before it is opened.
- Rivets 30 are pre-packed in rigid plastics containers 31 such that they are all oriented in the same way. Each container is divided by spacers 32 into a plurality of discrete elongate columns 33 (one shown in figure 11) which, as can be seen from figure 10, are of T-shaped cross section when viewed in plan. The rivets 30 are dispensed from each column 33 under gravity although a pusher mechanism (not shown) may be provided if required. A plurality of such containers 31 is mounted on a single pallet 34 under which is disposed one or more release mechanisms 35 by which the rivets 30 are extracted from the containers 31 and discharged into a delivery tube 36.
- the pallet 34 contains twenty five containers arranged in five rows (x-axis) and five columns (y axis). Each column of containers has an associated release mechanism carriage 35 that carries a delivery tube 36 and is captively engaged to the underside of the pallet 34 in such a manner that it is able to traverse relative thereto in the x and y axis directions.
- Each container 31 contains rivets 30 of the same type although the pallet may support different containers so that a combination of rivet types may be supplied according to the particular application.
- Each release mechanism carriage 35 is of a size to accommodate a rivet 30 in two positions.
- On one side of the carriage 35 there is an aperture 37 facing towards the pallet 34 that is designed to receive a rivet from the container and adjacent thereto facing away from the pallet 34, is a second aperture 37 that connects the inside of the carriage 35 to the delivery tube 36.
- the guide track 39 under a single container 31 is diagrammatically represented in figure 12.
- the pallet 34 is disposed in an inclined position (as shown in figure 11) so that the carriage 35 moves along the y-axis direction under gravity.
- the carriage 35 In order to release rivets from a container 31 the carriage 35 first traverses along the x-axis under the influence of a suitable actuator such as a motor and at the end of the first pass in the x axis direction of the guide track 39 it moves at right angles under gravity along the portion indicated by reference numeral 40 in figure 12 of the groove 39 to the next pass in the x-axis.
- the guide pin 38 engages and opens a gate 40a at the end of each column 33 of rivets 30 in the container 31 thereby permitting the lowermost rivet in the column 33 to fall under gravity into the carriage 35.
- a pusher 41 on the carriage is extended to move the rivet 30 laterally until it is over the delivery tube aperture 37 whereupon a blast of air is directed at the rivet 30 to propel it into and along the delivery tube 36.
- a shutter (not shown in figure 10) prevents air from entering the rest of the carriage 35 or the container 31.
- the pin 38 disengages from the gate 41 which then automatically closes behind the carriage 35.
- the pallet 34 may be arranged such that each column of containers (y axis) has a different rivet type so that each carriage 35 and delivery tube 36 is of a different size and shape to accommodate the particular type of rivet 30.
- the movement of each carriage 35 is controlled by a computer operated control program that issues movement instructions to the appropriate carriage according to the type of rivet that is required at any stage in the riveting process.
- FIGS 13 and 14 there is shown a further alternative packing configuration in which rivets 50 are housed in a plurality of rigid or semi-rigid tubes 51 of predetermined length.
- the tubes 51 are arranged in a spaced parallel relationship and are interconnected by a flexible web or membrane 52 so as to form a continuous length of flexible packaging 53.
- the tubes 51 are filled off-line and have internal profiles designed to retain the rivets in the orientation in which they are loaded.
- the tubes may have a circular cross-section 54 in which rivets 50 are arranged substantially coaxially or a T-shaped cross-section 55 in which rivets 50 are housed side-by-side such that their longitudinal axes are in parallel.
- the pre-loaded package 53 is stored in a folded configuration to reduce storage space requirements.
- a leading edge of the package 53 is trained around a rotary sprocket 56 having circumferentially spaced radial pockets 57 each designed to receive a respective tube 51 as shown.
- the rotary sprocket 56 indexes to advance the package 53 towards an unloading station (not shown in figure 13 or 14) that is disposed adjacent the sprocket periphery.
- the unloading station serves to unload one or more tubes 51 when they reach a predetermined angular position on the sprocket 56.
- the empty package comprising empty tubes 51 still attached to the flexible web 52 is fed to a receptacle 58 which when full is taken away for recycling and/or refilling of the package.
- the trailing edge 53a of one length of package may be automatically joined or spliced to the leading edge 53b of a new package as depicted at reference numeral 59.
- the leading edge 53b or the new package may be disposed at a convenient location ready to engage the sprocket 56 when the first package has been emptied.
- the folded package 53 to be unloaded may be disposed at any convenient location relative to the rotary sprocket 56.
- the package may be transported by a release and feed device by a linear conveyer (not shown).
- FIGS 15a, 15b and 16a, 16b show exemplary embodiments of the tubes 51.
- the tube is of T-shaped cross-section whereas in figures 16a and 16b the tube is of circular cross-section.
- Each tube 51 is constructed from a membrane or a semi-rigid plastics and is sealed at each end by a weld or gluing (indicated by reference numeral 60) so as to retain the rivets 50.
- the feed mechanism not shown
- the end of the tube 51 is severed by a blade 61 so as to allow the rivets to exit the tube.
- the severed end of the tube 51 may be completely removed or left attached as shown in the figures.
- FIGs 17 and 18 show a package similar to that described above in relation to figures 13 and 14 (corresponding parts are indicated with the same reference numerals).
- the tubes 51 are arranged into groups along the package 53.
- the groups are separated by an intermediate hinge 62 provided by the flexible web or membrane 52 so as to allow the package to be folded in such a way that tubes 51 of different groups overlie one another as shown in figure 17.
- Figures 19 and 20 show another alternative packaging configuration in which the rivets are contained in an elongate flexible plastics bag 70 that is heat sealed to define a plurality of parallel channels 71 in which rivets 72 are housed.
- the channels 71 extend in a direction transverse to the length of the bag 70 which may be folded for storage so that overlying channels 71 are nested.
- the bag is 70 is unwound around a rotary drum 73 that is axially slotted around part of its circumference as shown in figure 20.
- the drum 73 which may be slotted around the whole circumference in other embodiments, indexes about a central shaft 74 past a release station 75 that comprises a release channel 76 and a perforation blade 77 that both extend parallel to the longitudinal axis of the drum 73.
- the release channel 76 which is substantially V-shaped in cross-section, is disposed radially outboard of the drum 73 and the perforator blade 77, which has a segmented blade edge 78, is disposed adjacent thereto, radially in-board of the drum 73.
- the perforator blade 77 indexes radially outwards and passes through a slot 78a in the drum 73 to sever a channel 71 of the bag 70 thereby releasing the rivets 72 which then fall into the release channel 76.
- the channel 76 is inclined and vibrated so as to allow the released rivets to enter a track (not shown) where they are orientated by a known mechanism before being discharged into a delivery tube (not shown).
- the bag is stored in a spiral configuration.
- the plastics bag 70 may be heat shrunk as well as heat sealed so as to confine individual rivets in blisters thereby preventing turning or rubbing of the rivets within the bag 70.
- the end of the bag 70 is severed and the rivets 72 are removed by using a vacuum source, pressurised air, gravity, vibration, a magnet or a pusher.
- FIGs 21a to 21y show various alternative packaging embodiments that may be used in the riveting machine of the present invention. These packages are sufficiently flexible so as to be used in the systems described above in relation to figures 13, 14 and (in some instances) those of figures 19 and 20. The same reference numerals are used for components that are common to one or more embodiments.
- FIGs 21a to 21f show package embodiments in which rivets 50 are preloaded into thick-walled tubes that are packaged by one or more flexible webs.
- thick-walled round tubes 90 each hold a plurality of rivets 50 and are sealed in individual channels 91 defined between upper and lower flexible webs or membranes 92a, 92b.
- the individual channels 91 are defined between heat seals 93 that join together the upper and lower webs 92a, 92b in the areas between adjacent tubes 90.
- the seals 93 extend in parallel to the tubes 90 but transverse to the length of the package.
- the channels 91 are defined between a planar semi-rigid plastics web or membrane 94 and a flexible web or membrane 92.
- a single web of semi-rigid (but flexible) plastics 92 is configured to provide open channel 91 for receipt of a round tube 90.
- the tubes (different cross-sections are shown) are affixed directly to a planar web by means of gluing, welding or the like.
- the tubes 90 may be packaged in shrink-wrap plastics as shown in the embodiment of figure 21e.
- figure 21f is equivalent to that of figure 21c except that it is for T-section tubes.
- Figures 21g to 21i show package embodiments in which the rivets are sealed in the channels 91 by vacuum packing.
- the channels 91 are formed between two layers of flexible plastics membrane 92a, 92b and separated by seals 93 as before.
- the membrane may be vacuum formed or otherwise pressurised so that it is of a T-shaped cross section corresponding to the rivet profile.
- Figure 21h shows the upper membrane 92a being shaped by a complementary former 95. Once the upper membrane is formed the rivets 50 may be loaded into each channel, the air evacuated and the ends sealed to lock the rivets in position is shown in figure 21i.
- Figures 21n and 21o show an alternative packaging embodiment in which the upper and lower membranes 92a, 92b are connected by interlocking elements rather than by heat sealing, welding or gluing.
- the upper membrane 92a defines a plurality of closure portions 97 that each overlies a respective channel 91 defined in the lower membrane 92b.
- the closure portion 97 has a profile that defines a pair of resilient depending annular lips 98 designed to engage with a pair of recesses 99 provided at the upper end of each channel 91 of the lower membrane 92b wall, and upstanding annular projections 100 that are designed to engage with ridges 101 defined at the base of the lower membrane channel 91. This enables a plurality of packages to be vertically stacked as shown in figure 21n.
- Figures 21p to 21r show alternative package configurations in which both the upper and lower membranes 92a, 92b are profiled and joined by a seal 93 such as, for example, a weld.
- Figures 21s and 21t show alternative package embodiments in which the upper and lower membranes 92a, 92b are both profiled so that when they are brought into register they form an interference fit or clip fit at engaging portions 102a, 102b and serve to retain the rivet 50 in the channel 91.
- the lower membrane 92b is not continuous but rather comprises discrete channel-shaped portions.
- Figures 21u and 21v show a package formed from a single profiled membrane 92.
- the membrane 92 is semi-rigid and elastically resilient.
- the embodiment shown illustrates different membrane profiles for different rivet orientations.
- the channels 91a on the left hand side of the package are approximately T-shaped in cross-section so as to receive an upright rivet 50 and are partially closed by a bevelled wall 104.
- the rivets 50 are inserted into the channels 91a by an appropriate pusher tool 105.
- the semi-rigid flexible nature of the membrane ensures that the bevelled wall 104 expands sufficiently to allow passage of the rivet into the channel 91. Once the rivet is fully inserted the bevelled wall 104 contracts over the head of the rivet 50 and prevents its inadvertent release.
- Channels 91b are of open circular cross-section and designed to receive rivet 50 disposed coaxially on their sides.
- the open channels 91a or 91b may be closed by an upper membrane 92a as depicted in figure 21w.
- an appropriate mechanism is provided to stretch the channel 91a in the pocket 57 of the sprocket 56 (see figure 21x) until the bevelled wall 104 moves clear of the rivet 50 thereby allowing it to move relative to the channel 91a.
- the package of figures 21u, v and z may be used in combination with the slotted drum of figure 20; a pusher replacing the blade and being reciprocal to push rivets out of the packages from behind.
- Figures 21y and 21z illustrate a similar embodiment to that described above in relation figures 21u and 21v.
- a continuous web of semi-rigid but flexible material 92 is configured into a castellated formation so as to define channels 91.
- the walls of the channel 91 are bevelled at 104 so as to have a profile that is designed to grip the head of a rivet 50.
- An upper edge 110 of the channel wall 104 may be shaped so as to define a circular opening 111 into which the rivet 50 may be inserted.
- the bevelled walls 104 of each channel 91 grip the rivets 50.
- the rivets may be inserted in the channels 91 on one or both sides (as indicated in figure 21z) of web 92.
- a channel-shaped release member 112 is presented to the web and placed over the desired channel 91.
- the release member 112 presses on the package thereby stretching the web material 92 so as to cause the bevelled walls 104 to diverge and release their grip on the rivet heads in that particular channel 91.
- the release member 112 forms an open-ended chamber 113 with the web so that the rivets 50 may be evacuated in any appropriate manner such as by application of pressurised air to one end of the chamber 113.
- the rivets 50 may be pressed out of the channel 91 and captively held in the release member 112 for transfer to a delivery tube 6.
- the rivets are stored in pre-loaded tubes before being packaged into a continuous elongate length of webbing or other membrane.
- the tube 90 is constructed from a rigid thick-walled material such as an appropriate plastics.
- the tube 90 may be T-shaped or circular in cross-section depending on the desired rivet orientation.
- a cut-out tab 120 is formed at one or both ends of the tube 90 so as to close interior channel 121 at least partially thereby preventing escape of the rivets 50.
- the cut-out tab 120 is formed in one or more walls of the tube 90 as required and is designed to deflect to a closure position (see figures 22b,c,d and 23b,c,d) in which it partially closes the end of the tube 90 so as to prevent rivet escape.
- edges 122 of the tab 120 may co-operate with locking features 123 formed on the cut edge 124 of the tube wall or may simply engage by means of an interference fit. If necessary the cut edges 122, 124 may be bevelled to form a more secure engagement with one another.
- the tab 120 When the tab 120 is released from its closure position it relaxes to a position in which it is contiguous with the tube wall from which it was cut thereby opening the end of the tube channel 121 and allowing release of the rivets 50.
- any conveniently shaped cut-out tab may be used.
- the tab may be formed from a tube wall extension that projects from the end of the tube and at least partially closes the end of the tube channel.
- the package designed described above in relation to figures 21 to 23 all provide for sorted, pre-oriented rivets to be supplied to the riveting apparatus so that apparatus for sorting, orienting and selecting is not required.
- Figure 24 illustrates how the tubes of figures 22 and 23 may be opened to release the rivets into a delivery tube such as that shown at 6 in figure 1.
- a docking interface is mounted on the end of the delivery tube 6 and comprises a housing 130 containing two spring-biased fingers 131, 132.
- a first finger 131 is pivotally disposed in the housing and has a terminal portion that projects from the housing 130 for engagement with the tab 120 of a tube 90.
- the second finger 132 is reciprocally disposed in the housing 130 for lateral movement behind the first finger 131.
- the second finger 132 is retracted as shown in figure 25a under the bias of a compression spring 133 and the first finger 131 is biased to the position shown under the influence of a leaf spring 134.
- Figures 24a and 24b are equivalent to those of figures 11 and 12 except that the container 31 comprises a plurality of tubes 90 of the kind depicted in figures 23 and the release mechanism 35 takes the same structure as the docking interface of figure 24.
- the container moves between parallel conveyors C over an opening into which the docking interface projects in the direction of the arrow.
- the docking interface is moveable relative to the conveyor on the carriage.
- the rivets may be released from the tube under gravity or by application of, for example, compressed air.
- FIG. 25a An alternative embodiment of a docking interface is illustrated in figures 25a and 25b.
- the docking interface D is moveable in a diagonal direction towards and away from the tube 90 as indicated by the arrow in figure 25a.
- the docking interface has a housing 140 that receives an end of the delivery tube 6 and has a wedge formation 141 projecting beyond the end of the delivery tube 6.
- Figure 25a shows the tube 90 disengaged from the docking interface D.
- the docking interface D moves along its diagonal path to engage with the end of the tube 90.
- the movement is induced by an appropriate actuator, part of which is received in bore 142.
- the wedge formation 141 abuts the tab 120 and deflects it outwardly so as to open the tube 90.
- the package tube 90 is co-axially aligned with the delivery tube 6 so that rivets 50 may be propelled by air pressure or the like to the rivet setting tool.
- first finger 131 or the wedge formation 141 of interface D may be of any appropriate shape and is dependent on the configuration of the cut-out tab 120 of the tube 90.
- the delivery tube 6 and package tube 90 may be presented to each other by relative movement in any appropriate direction to ensure that a formation of the interface D engages and deflects the tab (cut-out or otherwise) of the tube 90.
- the closure tab may be formed by at least one separate insert such as a metal or plastics spring element that is normally disposed to close the tube partially but is deflectable by the formation on the docking interface so as to open the package tube when it is in register with the delivery tube.
- a separate insert such as a metal or plastics spring element that is normally disposed to close the tube partially but is deflectable by the formation on the docking interface so as to open the package tube when it is in register with the delivery tube.
- the packaging designs described above eliminate the need for an open hopper or reservoir of rivets and as they effectively provide a sealed system operators are prevented from introducing unidentifiable rivets into the fastening machine.
- Figures 26a to 26t show, in section, alternative embodiments of a rivet delivery tube such as the one that is used to shuttle rivets from a remote feeder such as a pre-packed container with release mechanism or a hopper, to the setting tool.
- the tubes may be manufactured from extruded plastics of one or more components or by folding a flat plastics sheet. Ideally they are transparent so as to assist in identifying blockages caused by trapped rivets and/or debris, and flexible to allow bending of the tube without distorting the internal profile of the tube significantly. The same configurations may be used as a magazine at the setting tool.
- a rivet delivery tube 200 that is formed by a one-piece plastics extrusion (or a two-piece co-extrusion) having wear-resistant characteristics.
- the outer profile is approximately square but could be rectangular depending upon the size of the rivet.
- the internal profile of the delivery tube walls is configured to define a cavity 201 that is approximately T-shaped in cross-section so as to conform to the profile of the rivet except that it is slightly larger in size so as to allow the rivet pass easily along the tube 200.
- ridges 203 Located below the head portion 102 of the T-shaped cavity 201 there are opposed inwardly projecting ridges 203 that extend along the length of the tube 200 in parallel.
- a further ridge 204 projects downwardly from a roof of the cavity 201.
- the ridges 203, 204 serve as wear strips that ensure the rivet is correctly aligned in the tube and the areas of contact between the rivet and tube are kept to a minimum thereby reducing friction and tube wear.
- the delivery tube 200 shown in figure 26b is of the same configuration as that of figure 26a with the exception that the wear strips 203, 204 are provided by a wire or chord insert. These may be snap-fitted, bonded or co-extruded in complementary grooves 106 in the internal wall of the delivery tube 200.
- This configuration has the advantage that the wear strips 203, 204 are replaceable (unless co-extruded) and can be made from a material different to that of the rest of the tube. If the wear strip is manufactured from an electrically conductive material it can be used to detect the position of a rivet (which is also electrically conductive) along the tube by inductive sensing thereby enabling the location of a blockage to be identified rapidly.
- the wear strip could alternatively be made in composite form (not shown) with a central core of electrically conductive material (e.g. copper) and an outer sleeve of wear-resistant material such as kevlar.
- the delivery tubes of figures 26c and 26d are formed from releasably connectable upper and lower portions 200a, 200b. Separating the two portions 200a, 200b not only allows access to the cavity 201 to clear blockages or accumulation of debris etc. but also allows the portions 200a, 200b or wear strips 203, 204 (if removable) to be replaced by others of a different internal configuration or depth.
- the tube portions 200a, 200b are connected together by any known configuration of releasably engageable connection such as inter-engaging formations 206a, 206b defined on mating edges of the upper and lower portions 200a, 200b of the tube 200.
- FIG. 26e illustrates how deeper lower portions 200b of the delivery tube 200 may be connected to accommodate longer rivets.
- figure 26e there are shown three approximately square wear strips 207a, 207b, 207c that accommodate the head 208 of the rivet 209 and an elongate wear strip 210 upstanding from a base wall 211 of the lower portion 200b of the tube 200.
- the latter wear strip 210 is designed to accommodate a rivet 209 having a medium length shank 212 but is readily interchangeable with a shallower strip to accommodate a rivet having a longer shank.
- Extra wear strips 213 are provided in the lower portion 200b of the delivery tube 206 of figure 26f so as to provide additional guidance for the rivet 209.
- FIG. 26g shows how a filler element 215 may be used to occupy part of the cavity 201 defined in the lower portion 200b of the tube 200 of figure 26f.
- the filler element has a protruding ridge 216 on each side that engages in the complementary groove 217 designed for a removable wear strip and serves to minimise air leakage in embodiments where the rivets 209 are projected by compressed air.
- the delivery tube may be of modular construction as illustrated in figures 26i to 261 in which the top, bottom and side walls 220, 221, 222 are releasably engageable so that a delivery tube 200 of any desired size may be constructed.
- the walls are interconnected by any suitable form of clip or snap-connect formation 223 as shown in the figures.
- a single-piece delivery tube 200 formed from a plastics sheet that is folded, bent round, blow moulded or extruded to form an enclosed tube.
- This design may also be used as a disposable magazine (in which case ends caps (not shown) are required to close fully or partially end openings of the magazine).
- the ends 224 of the sheet have complementary formations that are releasably inter-engageable to hold the tube 200 closed.
- the upper portion 200a of a separable delivery tube 200 may be hinged to the lower portion 200b as shown in the embodiment of figure 26n.
- the hinge 227 is a flexible integral web interconnecting the upper and lower portions 200a, 200b at one side. On the other side the portions 200a, 200b are interconnected by releasable inter-engaging complementary portions 228 as before.
- the upper and lower portions 200a, 200b have outwardly extending side flanges 229 that are held together by a removable clip 229a that extends continuously or intermittently along the length of the delivery tube 200 and is of a complementary formation to the flanges 228. Seals 230 are provided between mating faces 231 of the flanges 228 to prevent the ingress of dust, other foreign bodies, or moisture and the leakage of compressed air.
- the clips 229a are integrally connected to a rigid support frame 232 that is substantially channel shaped with upstanding side walls 233 between which the delivery tube 200 is received.
- the clips 229a extend inwardly of the channel 232 at an upper end of each upstanding wall 233.
- the support frame suspends the tube which may be routed throughout the factory delivering the rivets over long distances and may be used to join adjacent segments of a delivery tube so that they are in axial alignment.
- the delivery tube 200 of figure 26q has been adapted to incorporate service cables required by the riveting machine including cables servicing compressed air booster points along the tube (described later) and gate elements at a multiple inlet delivery tube.
- the upper and lower portions 200a, 200b of the tube 200 have elongate outwardly extending lateral flanges 240 at each side.
- the flanges are recessed at their mating faces 241 to define an enclosed chamber 242 that is designed to receive service cables 243 or the like.
- the cables 243 may carry, for example, pneumatic and electric power or electrical control signals. This design provides for a compact and neat arrangement.
- the flat configuration of the tube 200 can help prevent the tube from twisting or being oriented incorrectly on instalment.
- the wear-resistant strips are replaced with grooves or voids in the walls of the delivery tube. These create air channels that serve to cushion the rivet as it is propelled along the tube without it contacting the side walls.
- Propulsion of the rivets along the delivery tube is by pressurised fluid such as compressed air or by linear magnetic acceleration.
- Booster points can be provided along the length of the tube to ensure that sufficient compressed air or magnetic acceleration is provided along the full length of the tube for efficient operation.
- Rivets can be fed from the rivet release mechanism 5 either singularly or in groups in which case they are transported along the delivery tube 6, 200 in convoy.
- rivets are loaded into a shuttle magazine at the release mechanism station and the magazine is transported along the delivery tube 6, 200 to the setting tool 1 where it is unloaded by any of the methods described above.
- the empty magazine can then be recycled.
- the magazine is typically transported by compressed air fed into the delivery tube 6,200.
- the delivery tube may be encased in an outer protective sleeve that is filled with a supportive material such as foam or the like.
- FIGS 27a to 27i illustrate an adapter tube 300 for interconnecting a round cross-section delivery tube 301 and a T-shaped cross-section delivery tube 302.
- the adapter tube 300 would typically be disposed in the vicinity of the nose 8 of the rivet setter tool 1 and is designed to rotate rivets 50 from a roughly co-axial orientation in a main delivery tube 6, 301 of round cross-section through 90 degrees so that they can enter a short length of delivery tube 302 (or a dedicated magazine) of T-shaped cross-section at or near the nose 8.
- the adapter tube 300 has a circular inlet 305 at one end that receives the round delivery tube 301 and a T-shaped outlet 306 that receives the T-shaped delivery tube 302.
- the delivery tubes 301, 302 may be received in an interference fit with the inlet and outlet 305, 306 or there may be provided positive locking formations (not shown).
- An intermediate section of the interior of the adapter tube 300 has a downwardly inclined ramp 307 disposed below a pair of longitudinal guide rails 308 that extend inwardly from each side.
- the rails 308 do not meet but are spaced by a clearance 309 that is of a dimension that allows the stem 50a of a rivet 50 but not the head 50b to pass through.
- Above the guide rails 308 an internal surface of a top wall 310 of the adapter tube 300 extends substantially in parallel for most of the length of the tube 300 but has a short downward incline 311 as it merges with the T-shaped outlet 306.
- the rivet 50 is oriented vertically with the periphery of the head 50b resting on the guide rails 308.
- the guide rails 308 are positioned so as to be contiguous with corresponding rails or ledges in the tube 302.
- a slight bend is shown in the adapter tube 300 which causes a separation angle between the stem and head of the first and second rivets to ensure that the first rivet is not trapped by the second.
- figure 27i shows a slight modification in that there is provide an inlet 312 in the top wall 310 of the adapter tube.
- the inlet allows air or a mechanical pusher to be injected into the adapter so as to assist in rivet rotation in the event of a jam.
- the above described adapter tube 300 is compact, in-line, tolerant of wear and has increased reliability in view of the lack of moving parts. In addition, it relies on air propulsion and not rivet momentum for the change in orientation, it can accommodate single or multiple rivets and can re-commence operation in the event of a temporary interruption in the air flow.
- the adapter tube 300 may be used in reverse, that is, it may be used to rotate rivets egressing from a T-shaped delivery tube so that they enter a round delivery tube. Moreover, the adapter may only be modified slightly to accommodate the situation of the respective tubes 301, 302 being disposed at right angles.
- FIG. 1 An alternative adapter tube design 350 is shown in figures 28a to 28b in which there are inlet delivery tubes 351, 352 of both round and T-shaped cross-sections and an outlet delivery tube 353 of T-shaped cross-section.
- This adapter tube 350 permits all rivet sizes to be fed into a single T-shaped outlet delivery tube or magazine 353 for delivery to the nose 8 of the rivet setter 1; relatively long rivets being fed via the round inlet delivery tube 351 and others being fed via the T-shaped inlet delivery tube 352.
- the round inlet delivery tube 351 is, in the exemplary embodiment, inclined to the adapter 350.
- a pair of elongate, parallel hardened pins 354 that are designed to sit under the periphery of a rivet head 50b.
- the pins 354 pass across the intersection of the other inlet delivery tube 351 with the adapter 350, where they are tapered, and terminate at a position conterminous with corresponding ledges or rails 355 in the outlet delivery tube 353.
- Rivets 50 from the T-shaped inlet tube 352 pass smoothly through the adapter 350 to the outlet tube 353 whereas rivets 50 that enter from the round inlet delivery tube 351 are propelled into the adapter tube 350 in such a way that their stems 50a pass through a clearance between the pins 354 and the peripheries of the heads 50b gradually come to rest on the pins 354. The rivets 50 are then propelled into the outlet tube in the same way as those from the other inlet tube 352.
- a multiple inlet delivery tube is shown in figures 29 and 30 in which two supply branches 360a, 360b merge with a single exit branch 361.
- the internal configuration of the tube in the embodiment shown is T-shaped in cross section and may be an open channel as shown in figures 29 and 30 or an enclosed tube (not shown).
- This tube enables rivets from two different sources to merge into a single exit tube.
- the rivets in each supply branch 360a, 360b are typically of different types and therefore a gate 362 is provided at the intersection of the supply and exit branches 360a, 360b, 361.
- the gate 362 is pivotally mounted on a pin 363 and projects through a wall 364 where the supply branches 360a, 360b meet, and extends across the tube to the opposite exit branch 361.
- the gate 362 is pivotally moveable between two positions in which it closes communication between the exit branch 361 and one or other of the supply branches 360a, 360b.
- the incoming rivet 365 in the right hand supply branch 360b is free to pass into the exit branch 361 since the gate 362 is disposed so as to block the other supply branch 360a.
- the gate 362 in the position shown in dotted line (in figure 30) the rivet 365 is prevented from passing to the exit branch 361 unless the other supply branch 360a is clear in which case the momentum of the rivet 365 serves to pivot the gate 362 clear of its path.
- the gate 362 is configured to help guide the rivet 365 along its path by supporting it across a gap created by the intersecting branches 360a, 360b. It is to be appreciated that the gate may be free moving or mechanically driven.
- FIGS 31a to 31h illustrate a delivery tube to buffer magazine docking station in which such a problem is avoided.
- the end of the rivet delivery tube 6 is fitted with a male housing 380 of the docking station 381.
- a leading end 382 of the male housing 380 is tapered and is adapted to be received in a complementary female housing 383 defined at an inlet of a buffer magazine 384 at the rivet setting tool 1.
- the magazine 384 is ideally mounted vertically so that the rivets stack vertically assisted by gravity, although they may be transported by air propulsion or the like.
- the male housing 380 carries a pair of longitudinally slidable plates 385 that are biased by a butterfly spring 386 so as to restrict the passage of the rivets 50 out of the delivery tube 6 as shown in figure 31a.
- the female housing 383 has a pair of laterally slidable jaws 387 that are biased together to close the inlet to the buffer magazine 384.
- the respective ends of the buffer magazine 384 and delivery tube 6 may float slightly in all axes to assist alignment.
- the tapered end 382 of the male housing 380 is presented to the female housing 383 of the magazine 384, with the plates 385 holding the stem 50a of a rivet 50, and is pressed into register with the female housing 383 so that the plates 385 bear against the jaws 387 (figure 31c and 31d) forcing them to part laterally.
- a sensor is used to detect the completed transfer of all the rivets from the supply package.
- the delivery tube 6 retracts to allow the jaws 387 of the female housing 383 to close.
- the slidable plates 385 move to the closed position shown in figure 31a to collect the stem 50a of the next rivet 50. If there is a rivet 50 present at the male housing 380 the retraction of slidable plates 385 ensures that it is forced back into the delivery tube 6.
- the transfer station 7 (see figure 1) is designed to be detachable from the nose 8 of the rivet setting tool 1 so that, once loaded, the nose may descend to perform the riveting operation. Schematic representations of such an arrangement are shown in figures 32 to 35.
- a transfer station 7 delivers rivets directly to a side port 400 of the nose 8 of the setting tool 1 from a delivery tube 6 as is well known.
- the inventive feature of this design is that the transfer station 7 is pivotable by an actuator 401 between the two positions shown respectively in figures 32 and 33.
- the actuator 401 shown is a hydraulic or pneumatic cylinder (but could be any suitable form of actuator) connected to the transfer station 7 by a system of linkages 402.
- rivet passages (hidden) through the delivery tube 6 and transfer station 7 are in register with the side port 400 in the nose 8 so that a rivet can be loaded.
- the nose 8 When the rivet is loaded the nose 8 extends downwardly in a known manner to effect the riveting operation and at the same time the actuator 401 is operated so as to pivot the transfer station 7 and delivery tube 6 clear of the nose 8 providing sufficient clearance for the nose 8 to extend as is shown in figure 33.
- the transfer station 7 and delivery tube 6 are rotatably supported by a bracket 403 that extends laterally from the setting tool at a location above the nose 8.
- a rivet passage in the transfer station 7 is in register with the side port 400 of the nose 8 so that a rivet may be loaded, and in the position shown in figure 35 the transfer station 7 has been rotated through 90° manually or by an appropriate actuator (not shown) to move clear of the nose 8. The latter position allows the nose 8 to extend towards the workpiece to insert the rivet.
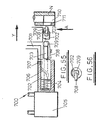
- FIG. 36a to 36d A more detailed embodiment of a rivet setting tool with a detachable transfer station is shown in figures 36a to 36d.
- the rivet setting tool 420 is pivotally connected by a boss 421 to a first bracket 422 about a pivot point P1.
- the first bracket 422 is, in turn, pivotally connected via pivot P2 to a second bracket 423 which carries a support frame assembly 424 on which the transfer station 425 is mounted.
- the support frame assembly 424 comprises a pair of parallel slide rods 426 mounted between two transverse vertically spaced support plates 427, 428.
- the slide rods 426 are slidably held in cylindrical bearings 429 of the second bracket 423 so that the support frame assembly 424 is slidable vertically relative to the second bracket 423.
- An upper of said plates 427 has stop collars 430 in which an upper end of each rod 426 is received and a lower of said support plates 428 is connected to one end of a pneumatic or hydraulic cylinder 431 that is operable to effect sliding movement of the support frame assembly.
- the plates 427, 428 carry a delivery tube or buffer magazine 432 that extends parallel to and between the rods 426. Service cables or ducts 433 may also be routed through the plates 427, 428 alongside the delivery tube 432.
- the transfer station 425 is disposed below the lower plate 428 and carries a pusher assembly 434 (described in detail below).
- the transfer station 425 has an outlet 435 through which rivets are transferred into the nose 436 of the rivet setting tool 420 when the station is in register with a side port 437 of the nose 436.
- the surface of the transfer station housing facing the nose is configured to define a ramp 438 that is inclined upwardly in a direction away from the nose.
- the surface terminates with a hook 439 that is designed to co-operate with a roller 440 supported on a guide bush 441 immediately above the nose.
- the ramp 438 and roller 440 in use, act respectively as a cam surface and cam follower and may take any appropriate form. It will be appreciated that in an alternative design the cam surface may defined on the nose and the cam follower on the transfer station housing.
- the rivet setting tool 420 is at rest in a fully retracted position shown in figure 36a.
- the cylinder 432 , support frame assembly 424 and transfer station 425 are retracted so that a rivet may be loaded from the outlet of the transfer station 425 to the side port 437 in the nose 436.
- the hook 439 on the transfer station housing is in engagement with the roller 440 defined on the nose 436.
- the rotational moment of the transfer station 425 towards the nose is sufficient to hold it there against any reaction force created by operation of the pusher assembly.
- the engagement of the hook 439 and roller 440 also ensure that the transfer station 425 is held against the nose 436.
- the transfer station 425 is unable to advance any further with the nose 436.
- Continued descent of the nose 436 causes the roller 440 to move out of engagement with the hook 439, along a short linear path and then to ride over the ramp 438. This forces the support frame assembly 424 to pivot about pivot P2 so that the transfer station 425 moves clear of the nose 436 (fig. 36c).
- the roller 440 When the nose 436 ascends after completion of the rivet insertion operation the roller 440 re-engages with the surface of the transfer station housing and eventually with the hook 439. At this point a rivet load sensor (not shown) detects the re-engagement and may then send a control signal to initiate loading of the next rivet from the transfer station (fig 36b).
- the transfer station is designed to be disconnectable from the rest of the equipment by means of an automatic robotic handler.
- the station disconnects not only mechanically but also from the services. This enables it to be interchanged with transfer stations for other rivet sizes or simply for maintenance purposes.
- the disconnected station may carry with it the buffer magazine. Movement of the transfer station clear of the nose allows unwanted rivets in the station or buffer to be expelled by the pusher assembly into any appropriate receptacle.
- a pusher assembly housing 460 defines a channel section 461 in which rivets 50 are transported. The section is in line with the exit of a delivery tube or buffer magazine 462 of T-shaped cross-section. At the end of the pusher housing 460 nearest the nose 436 there is disposed a pair of resilient fingers 463 that form a spring gate 464. Located behind the gate 464 is a pair of elongate pushers 465 that are longitudinally slidable in complementary slots 466 provided in the housing walls. The pushers 465 are inclined inwards towards the channel 461 and are moveable between a fully extended position in which their ends pass beyond the gate 464 and occupy the channel 461 and a retracted position in which they are clear of the channel 461. It will be appreciate that a single pusher and finger may be used.
- rivets 50 are propelled from the delivery tube or buffer magazine 462 until they reach the spring gate 464 which in its rest position prevents escape of the rivets 50 from the housing 460.
- the pushers 465 are fully retracted (fig 37b).
- the propelling air supply may be turned off if necessary and the pushers 465 are then advanced partially to the position shown in figure 37c in which their ends engage the stem 50a of the leading rivet 50 so as to move it into abutment with the spring gate 464.
- the pushers 465 are disposed at a precise angle with respect to the channel 461 so that they are able to pass the stem of the rivet second in line but engage with the leading rivet.
- the pushers 465 bypass the second rivet so as not to cause any further forward movement of it.
- the pushers 465 then advance further to push the leading rivet 50 through the spring gate 464 and into the nose 436 via the side port 437 (fig 37d).
- the pushers 465 may be moved by any appropriate actuator. In one exemplary embodiment they are held in the retracted position by a pneumatic cylinder. When the rivet sensor is triggered the cylinder is deactivated and the pushers 465 are biased into forward movement by springs (not shown)
- This simple design allows the escapement of a single rivet from a queue of multiple rivets and transfer of it from a transfer station and into the nose. It will be appreciated that the same structure may be used in any situation where it is necessary to separate a single rivet from a queue for transfer.
- the mechanism may be used to count one or more individual rivets egressing from one package tube before supply is switched to a package tube housing a different sort of rivet.
- Figures 38a to 38e show an alternative embodiment of the internal configuration of a transfer station with pusher assembly for loading a rivet into a side port of the setting tool nose. This may be used in any type of side loading transfer station.
- the figures show a chronological sequence of steps for loading of a rivet into the nose.
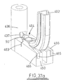
- a vertical rivet delivery tube 480 enters the transfer station housing 481 from above and to one side. Inside the housing 481 it bends through 90° into a horizontal plane and merges with a continuation channel 482 in the station.
- the channel 482 has a double bend 483 of reverse S-shape in the horizontal plane and terminates at the transfer station outlet 484 that communicates with the rivet delivery passage 485 in the nose 436 via a side port 437 in the nose.
- a pusher 486 is disposed with its longitudinal axis aligned with the outlet 484.
- the pusher 486 is reciprocal in the housing 481 in a longitudinal direction when acted upon by a probe spring 487 that is in turn acted upon by a pneumatic cylinder 488. It will be appreciated that any other appropriate actuator may be used.
- a rivet gate 490 comprising a pair of vertical pins 491 that are biased to close partially the outlet 484 by means of an adjacent rubber spring 492.
- a rivet present sensor 493 Located behind the gate 490 there is disposed a rivet present sensor 493.
- the pusher In operation, the pusher is biased by the probe spring 487 to an at-rest position, as shown in figure 38a, where it partially occupies the channel 482.
- the cylinder 488 retracts the pusher 486 against the bias of the probe spring 487 until the pusher 486 is clear of the channel 482 so as to allow rivets 50 to proceed to the gate under the propulsion of compressed air or the like (fig. 38b).
- the leading rivet is prevented from exiting through the outlet 484 of the transfer station by the presence of the gate 490.
- the pusher 486 When the rivet sensor 493 detects the presence of the leading rivet 50 the pusher 486 is released by the cylinder 498 so that the probe spring 487 pushes it against the stem 50a of the leading rivet 50 thereby trapping the rivet at the gate 486 (fig 38c). Upon receipt of the appropriate control signal the pusher 486 is then extended by the cylinder 488 to push the rivet 50 through the outlet 484 and into the nose 436 via the side port 437 (fig 38d).
- the transfer station described above allows rivets to be fed to an intermediate position outside of the nose. Since the end of the delivery tube is offset from the nose debris from the delivery tube can be removed by injection of a blast of air in a direction such that the debris not directed into the nose but egresses from a clearance port in the transfer station.
- FIGS. 39 to 54 show several alternative embodiments of the internal configuration of transfer stations used in such applications in which the transfer station is moved between a first position in which it docks under the nose or punch to load a rivet and a second position in which the transfer station is clear of the nose or punch to allow the riveting operation to be effected.
- the rivet setting tool has a punch or nose with an axial bore that is connected to a source of suction pressure (as described in our UK patent No. 2302833). Where a vacuum punch is used a rivet setting tool without a supporting nose can be employed.
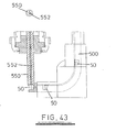
- the vertical rivet delivery tube 500 enters the transfer station housing 501 from above and to one side as before. Inside the housing 501 it bends through 90° into a horizontal plane and merges with a continuation channel 502 (of T-shaped cross section) in a base 503 of the station 501.
- the channel 502 is closed at its end nearest the nose 504 and is at least partially covered by a cover plate 505 that is slidably mounted on the base 503.
- the cover plate 505 has an arcuate recess 506 at its leading edge 507 for docking with the nose 504 (or punch) of the rivet setting tool.
- the rear upper surface of the cover 505 has a ramped surface 508 that is designed to co-operate with a complementary surface 509 of a wedge member 510 disposed behind the cover plate 505.
- Compression springs 511 bias the cover plate 505 into an extended rest position as shown in figures 39a, b, c.
- the wedge member 510 is vertically movable against the bias of a second compression spring 512 disposed vertically between an overhang 513 in the housing 501 and an upper surface of the wedge member 510.
- Adjustable stops 514 are provided in the overhang 513 to allow the length of vertical travel of the wedge member 510 (and therefore horizontal travel of the cover plate 505) to be preset.
- the cover 505 carries a rivet separator finger 515 that is slidably mounted between the cover 505 and the base 503, an upstanding pin 516 on the finger 515 engaging in a diagonal slot 517 of the cover 505.
- the entire transfer station 501 is moved on a spring-loaded vertical shaft 518 disposed at the rear.
- the cover 505 is initially in an at rest position in which it is extended over most of the channel 502 and held in position by the spring biased wedge member 510.
- rivets 50 are supplied via the delivery tube 500 to the transfer station 501 where they are held in the channel 502.
- the leading rivet is partly exposed by the cover 505 whereas the following rivets are retained in the channel 501 by the cover 505 and wedge member 510 (figure 39).
- the transfer station 501 is then moved to dock with the nose 504.
- the biasing spring 519 of the vertical shaft 518 biases the transfer station 501 towards the front end of the nose 504.
- An inclined face 520 on the leading edge of the base 503 serves to compensate for vertical misalignment between the nose 504 and transfer station 501 and ensures the end of the channel 502 in the transfer station is brought into tight register with the nose.
- the transfer station 501 is in close proximity the nose 504 abuts the arcuate recess 506 of the cover 505 and moves it against the biasing force to a retracted position. This movement effects vertical displacement of the wedge member 510 by virtue of the interaction of the ramped surfaces 508, 509 (figure 40-nose not shown in plan view).
- the nose 504 When fully docked (the final position being controlled by the adjustable stops 514) the nose 504 is coaxial with the lead rivet 50.
- the separator finger 515 is displaced horizontally relative to the channel 502 by virtue of the interaction of the pin 516 and slot 517.
- the finger 515 When the nose 504 is docked the finger 515 is fully extended and separates the leading rivet 50 from those behind whilst ensuring it is held in position against the end of the channel 502 (it will be appreciated that the finger 515 is designed not to grip the rivet too tightly).
- the separation of leading rivet from the rivet immediately behind ensures there is no contact between their respective heads that may interfere with movement of the leading rivet into the nose.
- a rivet sensor 521 At the appropriate point in the cycle and when the presence of the leading rivet 50 is detected by a rivet sensor 521, vacuum is applied through the nose 504 (or punch) and the rivet 50 is lifted vertically out of the transfer station 501 (figure 41). The surface of the separator finger 515 provides guidance to ensure the rivet does not tumble before reaching the end of the punch. The rivet sensor 521 detects the absence of the rivet and sends a control signal confirming that the rivet has been successfully transferred. The transfer station 501 is then retracted from the nose 504 and the cover 505, finger 515 and wedge member 510 revert to their rest positions and await the next rivet (figure 42).
- Figures 43 to 45 show a modified embodiment of rivet setter of figures 39 to 42 in which the punch 550 has an axial bore 552 to which a source of suction pressure or vacuum is applied.
- a clamping member 553 for around the punch 550.
- the clamping member 553 applies a clamping force to the workpiece prior to insertion of the rivet into the workpiece as is described in our European Patent No. 0675774.
- the pre-clamping member 553 comprises two diametrically opposed portions flanking the punch 550 whereas in the embodiment of figure 44 the pre-clamping member 553 fully encloses the circumference of the punch 550 and a side port 554 in the nose 551 is provided for the incoming rivet 50.
- Figures 46 to 52 show an alternative embodiment of a transfer station that is used to feed rivets to the end of the rivet setter nose (i.e. into the end of the nose from which it is discharged during the riveting operation).
- the figures show the chronological sequence for loading of the rivet.
- the rivet setter 650 is of conventional design and is therefore not described in detail here except in so far as is relevant to the interaction with the transfer station which is the inventive aspect of this embodiment.
- the transfer station 651 is connected to the rivet setter 650 by a bracket 652 disposed above the nose 653 and comprises a lever 654 that is pivotally connected at one end to the bracket 652 by a first pin 655 and at the other end by a second pin 656 to the end of a piston 657 of a pneumatic or hydraulic cylinder 658 (it is to be appreciated that other suitable actuators may be used instead).
- a torsion spring 659 is supported around pin 655 and serves to bias the lever 654 in a clockwise direction against a rigid rivet feeder tube 660 that releasably connects co-axially to the end of a rivet delivery tube or magazine (shown only in figure 46) and is secured to the lever 654.
- the free end of the feeder tube 660 bends towards the nose 653 of the rivet setter 651.
- a delivery arm 661 is pivotally connected to a rearwardly extending lug 662 of the feeder tube 660 and extends parallel to the end portion thereof, towards the nose, in a slot on the underside of the feeder tube 660.
- the free end of the delivery arm 661 has a small upstanding projection 663 that is designed, in use, to engage with a rivet 664.
- the opposite end of the delivery arm 661 is connected to the lever 654 by connecting rod 665.
- rivets are fed under compressed air down the delivery tube and into the feeder tube 660 of the transfer station 651 whereupon they are transferred singly into the end of a rivet delivery passage 666 in the nose 653 as will be described below.
- the nose of the setting tool 650 is indexed towards the workpiece (figure 47) and a punch 667 in the delivery passage 666 extends downwardly to force the rivet 664 into the workpiece (figure 48) as is well known.
- the rivet 664 is releasably retained in the end of the rivet delivery passage 666 by any suitable retention means (e.g. vacuum, Velcro. adhesive, spring loaded balls etc.) such as those described in our UK Patent No. 2302833.
- This action pivots the feeder tube 660 towards the end of the nose 653 until the leading rivet 664 retained at the end of the feeder tube 660 is presented to the end of the delivery passage 666 in the nose 653 as shown in figure 50.
- Further extension of the piston 658 serves to pivot the delivery arm 661 upwards and to tension the torsion spring 659 (via the connecting rod 665 and lever 654) through a small angle so that it pushes the rivet 664 into the end of the delivery passage 666 where it is retained by the retention means (see figure 49).
- the gripping force of the retention means (not shown) is designed to be greater than that provided by the projection 263 in the delivery arm 661 so that transfer of the rivet 664 is smooth and unhindered.
- the piston 658 is then retracted slightly to pivot the delivery arm 661 out of engagement with the rivet 664 (figure 52) and full retraction moves the transfer station clear of the nose 653 (figure 53).
- the nose 653 then has a clear path to extend relative to the transfer station 661 (figure 47) and insert the rivet 664 into the workpiece (figure 48).
- a sensor (not shown) may be provided at the end of the feeder tube 660 or the delivery arm 661 to detect the presence of a rivet 664 before loading it into the nose 653.
- the above arrangement can be used with any length of nose and stroke length of the rivet setter.
- the rivet transfer station being moveable away from the nose, does not risk fouling the riveting process and does not have to be designed to withstand the clamping and insertion forces associated with the riveting process. Moreover, by eliminating the need for a side entry port the cross section of the nose is not weakened. By moving the delivery tube/feeder tube combination with the transfer station only a single transfer movement is required to transfer the rivet to the delivery passage in the nose thereby eliminating the need for a separate mechanism to transfer the rivet from the end of the delivery tube a mechanism that loads the nose.
- the upstanding projection 663 on the delivery arm 661 is supplemented with a pair of spring biased fingers 680 mounted on the feeder tube 660 as shown in figures 54 a, b, c, d.
- the fingers 680 extend along the feeder tube 660 and are biased together by compression springs 681 so that tips 682 of the fingers 680 are nearly in contact.
- the tips 682 of the fingers 680 trap an incoming rivet 664 and retain the rivet 664 in place until the upward movement of the delivery arm 661 separates the fingers 680 and directs it into the nose 653.
- the fingers 680 are chamfered (at 683) so as to receive the arm 661.
- the compression springs 681 of the fingers 680 serve to absorb the momentum of the rivet 664 without any impact damage.
- the upstanding projection 663 is mounted on a rounded support 684 that is received in a complementary recess 685 such that it is able to be tilted so as to accommodate both short and long stem rivets.
- the spring plate 686 and keeper plate 687 retain the projection 663 in place as shown in figures 54c and 54d.
- Rivets are again loaded singly into the transfer station 700 via a vertical delivery tube 701 or magazine and are received in a rivet retainer disposed below the tube exit.
- the station has a transfer mechanism comprising a plunger and an elongate pusher arm assembly 702, 703 that are slidable together within a cylindrical housing 704. The assembly is moved by an actuator 705 disposed at the end of the housing 704 opposite the nose N.
- the plunger 702 is cylindrical with a helical slot 706 along part of its length that receives a pin 707 fixed in the housing 704, and is rotatably mounted in the housing 704.
- a rivet 709 egressing from the delivery tube 701 is received by the retaining arm 708.
- Axial movement of the assembly 702, 703 by the actuator 705 moves the rivet 709 towards the nose N in the direction of arrow Y thereby separating it from the delivery tube 701.
- further rectilinear movement of the assembly 702, 703 causes it to rotate through 90° relative to the housing 704 by virtue of the slot 706 in the plunger 702 moving over the fixed pin 707.
- the pusher arm 703 is extended relative to the plunger 702 so as to move the rivet 709 beyond the retaining arm 708 and into a delivery passage 710 of the nose N via a side port 711.
- Figures 57 and 58 show part of a transfer station that has two incoming rivet delivery tubes so that rivets from two different sources may be provided to a single transfer station. This enables rivets of two different types to be supplied to the nose or a second back-up supply of rivets to be provided.
- the inlet tubes 800, 801 in the embodiment shown are approximately at right angles and meet adjacent the setter tool nose N. At the intersection of the tubes 800, 801 there is disposed a rotary gate 802 that is slotted (at 802a) to receive a single rivet. An outlet track 803 interconnects the rotary gate 802 with a delivery passage 804 in the nose N. Intermediate the two delivery tubes 800, 801, and adjacent the gate 802, is a reciprocal pusher arm 805.
- the gate 802 is moveable by a rotary actuator (not shown) between three positions. In a first position the slot 802a is in alignment with the first inlet delivery tube 800 (shown in figure 57) and in the second position (not shown) it is in alignment with the second delivery tube. In these positions the gate 802 is able to receive an incoming rivet 50 (shown in dotted line). Side walls of the slit 802a have a resilient lining (such as spring steel strips 808 as shown in the embodiments of figures 57 and 58) that releasably grips the rivet 50 so that it is retained by the gate 802. In a third position, intermediate the first two portions, the slot 802a is in alignment with the outlet track 803.
- a rotary actuator not shown
- Figures 59 and 60 show exemplary embodiments of escapement mechanisms used to control the flow of rivets from the packages to the transfer station and/or the buffer magazines.
- the mechanisms are designed to allow the rivets to be buffered at an intermediate point along the or each delivery tube and to control the timing final delivery of any particular rivet to the transfer station or magazine.
- the rivets 50 are depicted in a delivery tube 6 of round cross section.
- The may be free to fall under gravity or may be propelled by, for example, compressed air.
- the belt 900 is designed to project into an elongate slot 903 in the side wall of the delivery tube so as to contact the rivets 50 in frictional engagement.
- the belt drive is controlled by a sensor (not shown) that detects the presence of a rivet at a predetermined position.
- the belt 900 has an indexed drive so that the rivets 50 may be moved in step-wise fashion toward a release position 902 at the end of the mechanism.
- the rivets 50 With the belt 900 stationary the rivets 50 are held against movement in the tube so as to form a buffer.
- the belt 900 is indexed to release a predetermined number of rivets at the release position 902 into the remaining portion of the delivery tube 6.
- the sensor is associated with a counter so as to control the number of rivets released before switching off the drive.
- Figures 60a and 60b shows a similar escapement mechanism for a delivery tube of T-shaped cross-section.
- the mechanism can release single or multiple rivets to the transfer station or buffer.
- the belt may be replaced by an alternative drive mechanism such as a rotary wheel whose periphery projects through the wall of the delivery tube so as to contact the rivets.
- Figure 61 illustrates an alternative in-line escapement mechanism I.
- the delivery tube 6 has a right-angled bend 910 that divides the tube into an incoming portion 911 and an outgoing portion 912. Rivets 50 are fed into the incoming portion 911 by gravity (although alternatives include air propulsion or a linear feed) and gather at the bend 910 where they are prevented from further travel. At this point the leading rivet 50 is aligned with the outgoing portion but cannot travel further through lack of propulsion.
- a pair of transverse air passages 913 are disposed in the wall of the incoming portion 911 and are connected to a source of pressurised air (or other fluid).
- a source of pressurised air or other fluid
- air is injected into said apertures 913 in response to a control signal to release a rivet 50 into the outgoing portion 912.
- the air blast serves to hold the rivets 50 that are second and third in line in place and is then redirected by the chamber 914 in the direction of the arrows shown so that it is incident on the leading rivet 50 and propels it into the outgoing portion 912. In this way only the lead rivet is released each time the air is injected through the apertures 913.
- a ring sensor 915 senses the passage of the released rivet 50 and may be connected to a counter.
- the outgoing portion 912 of the tube may only be short before it connects to the main delivery tube and therefore the air blast may be of limited strength.
- transverse apertures 913 may be used in practice.
- Figure 61 shows an embodiment with incoming and outgoing tubes of T-shaped cross-section, whereas the embodiment of figure 62 shows an outgoing portion of round cross-section.
- the embodiment of figure 63 shows a double bend with an intermediate portion 916 of T-shaped cross-section and the incoming and outgoing portions of round cross-section.
- FIG 64 shows how offset transverse air passages 920, 921 may be used to separate groups of rivets 50.
- the passages 920, 921 trap an incoming stack of fasteners further upstream from the bend 910 so as to provide a buffer arrangement. Air is first injected through the first passage 920 and then through the second passage 921 in addition before the air through the second passage 921 is switched off to release the first rivet.
- the leading rivet at the bend is prevented from moving around the bend 910 by virtue of being engaged with the head 50b of the second rivet 50.
- a separate air blast in line with the outgoing portion of the tube is used to move the first rivet when required.
- the in-line escapement mechanism may be used in combination with existing rivet delivery apparatus and may be used at the feeder release end of the delivery tube.
- fastener machine and the fastener delivery apparatus described above may be used in combination as a single system or may be used individually in combination with conventional equipment.
Landscapes
- Mechanical Engineering (AREA)
- Engineering & Computer Science (AREA)
- Insertion Pins And Rivets (AREA)
- Automatic Assembly (AREA)
- Turning (AREA)
- Electrical Discharge Machining, Electrochemical Machining, And Combined Machining (AREA)
- Sewing Machines And Sewing (AREA)
- Making Paper Articles (AREA)
- Portable Nailing Machines And Staplers (AREA)
- Flanged Joints, Insulating Joints, And Other Joints (AREA)
- Chutes (AREA)
- Formation And Processing Of Food Products (AREA)
- Details Of Spanners, Wrenches, And Screw Drivers And Accessories (AREA)
Applications Claiming Priority (3)
| Application Number | Priority Date | Filing Date | Title |
|---|---|---|---|
| GBGB9816796.8A GB9816796D0 (en) | 1998-08-03 | 1998-08-03 | Improvements in or relating to fastening machines |
| GB9816796 | 1998-08-03 | ||
| EP99936862A EP1102650B1 (en) | 1998-08-03 | 1999-08-03 | Improvements in or relating to fastening machines |
Related Parent Applications (1)
| Application Number | Title | Priority Date | Filing Date |
|---|---|---|---|
| EP99936862A Division EP1102650B1 (en) | 1998-08-03 | 1999-08-03 | Improvements in or relating to fastening machines |
Publications (3)
| Publication Number | Publication Date |
|---|---|
| EP1297918A2 EP1297918A2 (en) | 2003-04-02 |
| EP1297918A3 EP1297918A3 (en) | 2004-08-25 |
| EP1297918B1 true EP1297918B1 (en) | 2007-02-14 |
Family
ID=10836562
Family Applications (4)
| Application Number | Title | Priority Date | Filing Date |
|---|---|---|---|
| EP99936862A Expired - Lifetime EP1102650B1 (en) | 1998-08-03 | 1999-08-03 | Improvements in or relating to fastening machines |
| EP02079119A Expired - Lifetime EP1297917B1 (en) | 1998-08-03 | 1999-08-03 | Improvements in or related to fastening machines |
| EP02079120A Expired - Lifetime EP1297918B1 (en) | 1998-08-03 | 1999-08-03 | Improvements in or relating to fastening machines |
| EP02079121A Withdrawn EP1297919A2 (en) | 1998-08-03 | 1999-08-03 | Improvements in or relating to fastening machines |
Family Applications Before (2)
| Application Number | Title | Priority Date | Filing Date |
|---|---|---|---|
| EP99936862A Expired - Lifetime EP1102650B1 (en) | 1998-08-03 | 1999-08-03 | Improvements in or relating to fastening machines |
| EP02079119A Expired - Lifetime EP1297917B1 (en) | 1998-08-03 | 1999-08-03 | Improvements in or related to fastening machines |
Family Applications After (1)
| Application Number | Title | Priority Date | Filing Date |
|---|---|---|---|
| EP02079121A Withdrawn EP1297919A2 (en) | 1998-08-03 | 1999-08-03 | Improvements in or relating to fastening machines |
Country Status (13)
| Country | Link |
|---|---|
| US (8) | US6944944B1 (enExample) |
| EP (4) | EP1102650B1 (enExample) |
| JP (3) | JP4493850B2 (enExample) |
| KR (1) | KR100593371B1 (enExample) |
| CN (1) | CN1320065A (enExample) |
| AT (1) | ATE235330T1 (enExample) |
| AU (1) | AU5183599A (enExample) |
| BR (1) | BR9912731A (enExample) |
| CA (1) | CA2339530A1 (enExample) |
| DE (3) | DE69906308T2 (enExample) |
| GB (1) | GB9816796D0 (enExample) |
| MX (1) | MXPA01001380A (enExample) |
| WO (1) | WO2000007751A1 (enExample) |
Cited By (1)
| Publication number | Priority date | Publication date | Assignee | Title |
|---|---|---|---|---|
| EP4574301A3 (de) * | 2023-12-21 | 2025-10-22 | Atlas Copco IAS GmbH | Transportvorrichtung |
Families Citing this family (115)
| Publication number | Priority date | Publication date | Assignee | Title |
|---|---|---|---|---|
| US6276050B1 (en) * | 1998-07-20 | 2001-08-21 | Emhart Inc. | Riveting system and process for forming a riveted joint |
| US9015920B2 (en) | 1997-07-21 | 2015-04-28 | Newfrey Llc | Riveting system and process for forming a riveted joint |
| GB9816796D0 (en) * | 1998-08-03 | 1998-09-30 | Henrob Ltd | Improvements in or relating to fastening machines |
| DE20013585U1 (de) * | 2000-08-04 | 2000-12-07 | Avdel Verbindungselemente GmbH, 30851 Langenhagen | Vorrichtung zum Laden eines Nietmoduls mit Blindnietmuttern |
| US6942134B2 (en) | 2001-04-17 | 2005-09-13 | Newfrey Llc | Self-piercing rivet setting machine |
| JP2002316233A (ja) * | 2001-04-17 | 2002-10-29 | Nippon Pop Rivets & Fasteners Ltd | 自動穿孔型リベット締結機 |
| FR2842181B1 (fr) * | 2002-07-12 | 2005-08-05 | F2 C2 System | Dispositif de stockage et de distribution de pieces notamment de rivets |
| US6986450B2 (en) | 2003-04-30 | 2006-01-17 | Henrob Limited | Fastener insertion apparatus |
| FR2859402B1 (fr) * | 2003-09-04 | 2006-01-13 | F2 C2 System | Procede de fabrication et produit logiciel adapte |
| FR2865670B1 (fr) * | 2004-01-30 | 2007-08-24 | Sylvain Guerin | Dispositif de stockage et d'alimentation d'elements de fixation. |
| US20060112343A1 (en) * | 2004-11-23 | 2006-05-25 | Palo Alto Research Center Incorporated | Methods, apparatus, and program products for aligning presentation of separately recorded experiential data streams |
| DE102005006795A1 (de) * | 2005-02-14 | 2006-08-24 | Newfrey Llc, Newark | Verfahren und Vorrichtung zum Zuführen von Verbindungselementen zu einem Verarbeitungsgerät |
| US20060258272A1 (en) * | 2005-04-11 | 2006-11-16 | Milewicz Mark G | Pushpin installer |
| DE102005028055A1 (de) * | 2005-06-16 | 2006-12-28 | Brötje-Automation GmbH | Nietauswahl und -fixiervorrichtung |
| DE102005041534A1 (de) * | 2005-08-31 | 2007-03-01 | Newfrey Llc, Newark | Verfahren und Vorrichtung zum Zuführen von Verbindungselementen zu einem Verarbeitungsgerät |
| GB0518696D0 (en) * | 2005-09-14 | 2005-10-19 | Henrob Ltd | Fastener feed method and apparatus |
| TWI271832B (en) * | 2005-10-07 | 2007-01-21 | King Yuan Electronics Co Ltd | Feeding apparatus |
| US7380326B2 (en) * | 2005-11-02 | 2008-06-03 | Whitesell International Corporation | Method of attaching a self-attaching fastener to a panel |
| FR2896173B1 (fr) * | 2006-01-16 | 2009-07-03 | F2 C2 System Sa | Dispositif d'alimentation en elements de fixation de type rivets notamment pour machine de rivetage |
| US7520772B2 (en) * | 2006-05-26 | 2009-04-21 | Centerpin Technology, Inc. | Compression snap electrical connector |
| US7226308B1 (en) * | 2006-05-26 | 2007-06-05 | Centerpin Technology, Inc. | Compression snap electrical connector |
| US20090215306A1 (en) * | 2006-05-26 | 2009-08-27 | Centerpin Technology, Inc. | Electrical connector with compression gores |
| US20080233791A1 (en) * | 2006-05-26 | 2008-09-25 | Centerpin Technology, Inc. | Compression snap electrical connector |
| US7849573B2 (en) * | 2006-09-08 | 2010-12-14 | Ford Motor Company | Apparatus for self-piercing rivet |
| US7617921B2 (en) * | 2007-02-22 | 2009-11-17 | Workman Harry W | Can manipulating system |
| US8267388B2 (en) * | 2007-09-12 | 2012-09-18 | Xradia, Inc. | Alignment assembly |
| KR101308510B1 (ko) * | 2007-11-05 | 2013-09-12 | 동부대우전자 주식회사 | 히터 내장형 흡기관을 구비하는 건조기 |
| GB0818401D0 (en) | 2008-10-08 | 2008-11-12 | Henrob Ltd | Fastener feed method and apparatus |
| DE102008051489B4 (de) | 2008-10-13 | 2021-07-01 | Böllhoff Verbindungstechnik GmbH | Setzgerät mit einem Magazin und einem Bereitstellungsmodul für Fügeelemente |
| WO2011058297A1 (en) * | 2009-11-11 | 2011-05-19 | Henrob Limited | Fastener dispensing apparatus |
| JP5597435B2 (ja) * | 2010-04-22 | 2014-10-01 | 株式会社エフ・シー・シー | リベットセット装置 |
| JP5468453B2 (ja) * | 2010-04-22 | 2014-04-09 | 株式会社エフ・シー・シー | リベットセット装置 |
| CN101829758B (zh) * | 2010-05-07 | 2012-06-13 | 好孩子儿童用品有限公司 | 铆钉机 |
| DE102010047032A1 (de) * | 2010-09-30 | 2012-04-05 | Benteler Automobiltechnik Gmbh | Verfahren zum Verbinden zweier metallischer Elemente und Verbindungswerkzeug |
| NO333028B1 (no) * | 2010-11-08 | 2013-02-18 | Alustar As | Fremgangsmate for a lase en baerekrans til en stillassoyle. |
| DE102010053221A1 (de) * | 2010-12-03 | 2012-06-06 | Brötje-Automation GmbH | Nietbereitstellungseinrichtung |
| DE102010053220A1 (de) * | 2010-12-03 | 2012-06-06 | Brötje-Automation GmbH | Nietbereitstellungseinrichtung |
| DE102011103332A1 (de) * | 2011-05-27 | 2012-11-29 | Newfrey Llc | Verfahren und Vorrichtung zum Zuführen von Fügeelementen |
| US8769789B2 (en) | 2011-06-17 | 2014-07-08 | Btm Corporation | Die for rivet machine |
| US8769788B2 (en) | 2011-06-17 | 2014-07-08 | Btm Corporation | Rivet machine |
| US8869365B2 (en) | 2011-06-24 | 2014-10-28 | Btm Corporation | Rivet guide head |
| CA2847411C (en) * | 2011-09-02 | 2019-03-19 | Pem Management, Inc. | Tack pin installation press |
| CN102744350A (zh) * | 2012-06-29 | 2012-10-24 | 昆山长运电子工业有限公司 | 笔记本盖铆钉自动压接机的铆钉定位装置 |
| KR101304451B1 (ko) | 2012-07-25 | 2013-09-05 | (주)한앤하이 | 가분수형 나사용 나사체결기 |
| US9027220B2 (en) | 2012-08-07 | 2015-05-12 | Newfrey Llc | Rivet setting machine |
| CN102764846A (zh) * | 2012-08-23 | 2012-11-07 | 杭州彼特环保包装有限公司 | 一种铆钉出料导轨的分离装置 |
| JP6091162B2 (ja) * | 2012-11-01 | 2017-03-08 | 三菱重工業株式会社 | 複合部材の締結制御システム、及び複合部材の締結制御方法 |
| CN102962363A (zh) * | 2012-11-06 | 2013-03-13 | 珠海锐翔电子有限公司 | 一种铜扣自动加工机 |
| US9120140B2 (en) | 2013-01-18 | 2015-09-01 | Ford Motor Company | Method and apparatus for clearing a rivet from a riveting tool |
| US9299209B2 (en) * | 2013-03-14 | 2016-03-29 | Honda Motor Co., Ltd. | Super high speed bolt delivery system |
| CA3014579C (en) * | 2013-03-15 | 2020-07-07 | Hvac Inventors/Systemation, Inc. | Sleeve for angle plates of transverse duct flanges |
| US9545695B2 (en) * | 2013-03-15 | 2017-01-17 | Hvac Inventors/Systemation, Inc. | Apparatus and method for placement of angle plates in transverse duct flanges |
| CN103537608B (zh) * | 2013-10-15 | 2015-07-01 | 南京航空航天大学 | 多种类铆钉自动输送装置 |
| CN103707033B (zh) * | 2013-12-23 | 2016-05-04 | 苏州博众精工科技有限公司 | 一种自动选择零件的零件安装机 |
| CN103692199A (zh) * | 2013-12-25 | 2014-04-02 | 苏州博众精工科技有限公司 | 一种锁螺丝机构 |
| US9616532B2 (en) * | 2014-04-25 | 2017-04-11 | Honda Motor Co., Ltd. | Method and apparatus for performing a search and feel assembly function |
| CN104014707A (zh) * | 2014-05-13 | 2014-09-03 | 苏州欧誉自动化科技有限公司 | 一种自冲铆接异步柔性化系统的工艺方法 |
| US9839956B2 (en) * | 2014-05-20 | 2017-12-12 | Weaver Leather, Llc | Feed assembly for a riveting machine and a method of operation of the same |
| CN104056959B (zh) * | 2014-06-05 | 2016-07-06 | 宁波新冠联机电有限公司 | 一种铆电机支架针轴模装置 |
| US9751166B2 (en) * | 2014-07-09 | 2017-09-05 | The Boeing Company | Apparatus and methods for manipulating a fastener |
| DE102014119189A1 (de) | 2014-12-19 | 2016-06-23 | Newfrey Llc | Fügeelementzuführvorrichtung |
| CN104668424A (zh) * | 2015-03-05 | 2015-06-03 | 儒拉玛特自动化技术(合肥)有限公司 | 多铆钉自动装配机 |
| US10113580B2 (en) * | 2015-08-17 | 2018-10-30 | The Boeing Company | Methods and apparatuses for manipulating swaging collars |
| DE102015115483A1 (de) | 2015-09-14 | 2017-03-16 | Böllhoff Verbindungstechnik GmbH | Wechselmagazin sowie System und Verfahren zum Beladen eines Wechselmagazins und eines Setzgeräts |
| WO2017048912A1 (en) * | 2015-09-16 | 2017-03-23 | Alcoa Inc. | Rivet feeding apparatus |
| DE102016113114A1 (de) * | 2016-07-15 | 2018-01-18 | Newfrey Llc | Stanzniet-Zuführeinrichtung und Stanznietvorrichtung |
| JP6615041B2 (ja) * | 2016-04-25 | 2019-12-04 | 株式会社青山製作所 | ボルトのかしめ方法及びかしめ装置 |
| DE102016210799A1 (de) | 2016-06-16 | 2017-12-21 | Leoni Kabel Gmbh | Kupplungsvorrichtung zum Verbinden langgestreckter Hohlkörper in einem Montagesystem |
| DE102016112732A1 (de) * | 2016-07-12 | 2018-01-18 | Böllhoff Verbindungstechnik GmbH | Nicht-wegvariable Elementweiche und Zufuhrverfahren |
| WO2018057569A1 (en) * | 2016-09-23 | 2018-03-29 | Commscope Technologies Llc | Tool for installing and setting rivets |
| DE102016119850A1 (de) * | 2016-10-18 | 2018-04-19 | Böllhoff Verbindungstechnik GmbH | Setzwerkzeug und Zufuhrverfahren von unterschiedlichen Fügeelementen |
| DE102016226244A1 (de) * | 2016-12-28 | 2018-06-28 | Robert Bosch Gmbh | Verfahren zum Betreiben einer Stanznietvorrichtung, Stanznietvorrichtung und Mundstück für eine Stanznietvorrichtung |
| DE102016226246A1 (de) * | 2016-12-28 | 2018-06-28 | Robert Bosch Gmbh | Verfahren zum Betreiben einer Fügevorrichtung, Fügevorrichtung und Anordnung mit Fügevorrichtung |
| DE102017209126A1 (de) * | 2016-12-29 | 2018-07-05 | Robert Bosch Gmbh | Stanznietvorrichtung zum Setzen eines Stanzniets mit einer eine Stempelkraft unterstützenden Schwingung und Verfahren zum Stanznieten mit einer solchen Stanznietvorrichtung |
| DE102017101705A1 (de) | 2017-01-30 | 2018-08-02 | Newfrey Llc | Fügevorrichtung, Beladestation, Zuführanordnung und Verfahren zum Beladen eines Magazins |
| DE102017102707A1 (de) * | 2017-02-10 | 2018-08-16 | Ejot Gmbh & Co. Kg | Zuführeinrichtung |
| CN107181454B (zh) * | 2017-05-26 | 2023-03-21 | 重庆科技学院 | 路径延长轨道及其太阳能板间连接轨道 |
| DE102017209118A1 (de) * | 2017-05-31 | 2018-12-06 | Robert Bosch Gmbh | Stanznietvorrichtung zum setzen eines stanzniets mit einer eine stempelkraft unterstützenden schwingung, und verfahren zum stanznieten mit einer solchen stanznietvorrichtung |
| GB2569126A (en) * | 2017-12-05 | 2019-06-12 | Atlas Copco Ias Uk Ltd | Fastener magazines, and related supply systems and methods |
| GB2569122A (en) | 2017-12-05 | 2019-06-12 | Atlas Copco Ias Uk Ltd | Fastener handling devices for fastener setting machines, and related methods |
| GB2569127A (en) * | 2017-12-05 | 2019-06-12 | Atlas Copco Ias Uk Ltd | Nose arrangements for fastener setting machines, and related methods |
| US11000926B2 (en) | 2017-12-20 | 2021-05-11 | Penn Automotive, Inc. | Fastener feed head |
| US10780489B2 (en) * | 2018-02-21 | 2020-09-22 | Newfrey Llc | Tool-free opening tape feed receiver for a self-piercing rivet machine |
| DE102018205246A1 (de) | 2018-04-09 | 2019-10-10 | Robert Bosch Gmbh | Setzeinheit für eine Stanznietvorrichtung und Stanznietvorrichtung |
| DE102018205621A1 (de) * | 2018-04-13 | 2019-10-17 | Robert Bosch Gmbh | Stanznietvorrichtung mit Zuführeinheit für Niete |
| US10520933B2 (en) * | 2018-04-13 | 2019-12-31 | The Boeing Company | System and method for removing a workpiece from a manufacturing fixture |
| DE102018210362B4 (de) | 2018-06-26 | 2024-10-02 | Bayerische Motoren Werke Aktiengesellschaft | Setzwerkzeug zum Setzen wenigstens eines Formkörpers auf ein Werkstück und Verfahren |
| DE102018210474A1 (de) * | 2018-06-27 | 2020-01-02 | Audi Ag | Kompaktvereinzeler |
| US10654093B2 (en) * | 2018-07-10 | 2020-05-19 | Electroimpact, Inc. | Riveting apparatus with moveable nose portion to match an adjoining rivet feed track |
| US10643410B2 (en) * | 2018-07-31 | 2020-05-05 | Newfrey Llc | Bulk rivet container and transfer cabinet |
| GB201812686D0 (en) | 2018-08-03 | 2018-09-19 | Henrob Ltd | Method of forming a riveted joint |
| CN108705022B (zh) * | 2018-08-31 | 2019-10-08 | 哈尔滨工业大学 | 一种多规格可选铆钉自动插钉装置 |
| DE102018123215A1 (de) * | 2018-09-20 | 2020-03-26 | Böllhoff Verbindungstechnik GmbH | Verbindungsmodul mit Fügevorrichtung und Elementzufuhrsystem |
| US10898943B2 (en) | 2018-09-25 | 2021-01-26 | Ford Global Technologies, Llc | Self-piercing rivet device and method of operating a self-piercing rivet device to inhibit incorrect die usage |
| US11214967B1 (en) | 2018-11-08 | 2022-01-04 | Scepaniak IP Holdings, LLC | Roof rock spreader |
| JP7275276B2 (ja) * | 2018-12-13 | 2023-05-17 | ハウメット エアロスペース インコーポレイテッド | リベット分配システムおよびその使用方法 |
| US10987766B2 (en) * | 2019-06-25 | 2021-04-27 | Newfrey Llc | Automated electromagnetic fastener delivery system |
| CN110466944B (zh) * | 2019-09-11 | 2024-07-02 | 辽宁科技大学 | 吊挂式带式输送机 |
| CN110561072B (zh) * | 2019-09-18 | 2020-08-04 | 卢丽花 | 一种工位分料设备的使用方法 |
| DE102019125999A1 (de) * | 2019-09-26 | 2021-04-01 | Audi Ag | System zum Bereitstellen von Klammern |
| JP7080354B2 (ja) * | 2019-10-21 | 2022-06-03 | 株式会社アルバック | 成膜装置 |
| US12291875B1 (en) | 2019-12-11 | 2025-05-06 | Scepaniak IP Holdings, LLC | Commercial roofing screw machine |
| US10807806B1 (en) | 2020-03-12 | 2020-10-20 | Sentry Equipment Erectors, Inc. | Linear shuttle for container invertors in a conveyor system |
| EP4616974A1 (en) | 2020-05-06 | 2025-09-17 | Newfrey LLC | Fastening device, fastening device system and method for feeding fasteners |
| CN111660277B (zh) * | 2020-06-28 | 2023-02-10 | 中铁九局集团电务工程有限公司 | 一种螺栓安装臂 |
| WO2022008040A1 (fr) * | 2020-07-07 | 2022-01-13 | Seti-Tec | Dispositif de transfert d'au moins un élément de fixation |
| CN112170767B (zh) * | 2020-09-18 | 2021-07-13 | 山东大学 | 一种铆钉送进装置及方法 |
| DE102021105466A1 (de) | 2021-03-08 | 2022-09-08 | Bayerische Motoren Werke Aktiengesellschaft | Fügevorrichtung und Verfahren zum Betreiben einer Fügevorrichtung |
| DE102021120006B4 (de) * | 2021-08-02 | 2024-04-18 | Raimund Beck Nageltechnik Gmbh | Zuführeinrichtung, Anordnung und Verwendung einer solchen Anordnung |
| DE102021131809A1 (de) * | 2021-12-02 | 2023-06-07 | Grammer Aktiengesellschaft | Verfahren zur Herstellung einer Verbindung für ein Ausstattungsteil eines Fahrzeuges |
| CN114985654B (zh) * | 2022-05-27 | 2023-06-13 | 武汉理工大学 | 多自由度包络成形高精度高刚度模架模具系统设计方法 |
| US20240181579A1 (en) * | 2022-12-05 | 2024-06-06 | Airbus Operations Gmbh | Fastener delivery system |
| DE102023201098A1 (de) * | 2023-02-10 | 2024-08-14 | Arnold Umformtechnik Gmbh & Co. Kg | Vorrichtung und Verfahren zum Zuführen von Verbindungselementen und Anordnung |
| US12290890B2 (en) | 2023-02-16 | 2025-05-06 | Doben Limited | Automated floating insertion tool for push-in fasteners |
| DE102024106926A1 (de) * | 2024-03-11 | 2025-09-11 | Profil Verbindungstechnik Gmbh & Co. Kg | Setzeinrichtung und Verfahren zu deren Betrieb |
Family Cites Families (93)
| Publication number | Priority date | Publication date | Assignee | Title |
|---|---|---|---|---|
| US1839490A (en) | 1928-12-04 | 1932-01-05 | Western Electric Co | Apparatus for distributing parts |
| US2216403A (en) | 1938-05-30 | 1940-10-01 | Frankfurter Maschb Ag | Drilling and riveting machine |
| US2493868A (en) | 1943-10-26 | 1950-01-10 | Curtiss Wright Corp | Air gun rivet feed |
| US2661992A (en) * | 1951-09-08 | 1953-12-08 | Larry M Harris | Gate mechanism for bottle dispensing containers |
| US3029918A (en) * | 1954-10-27 | 1962-04-17 | Anchor Hocking Glass Corp | Device for feeding closure caps |
| US3339799A (en) | 1965-09-07 | 1967-09-05 | Gregory Ind Inc | Fastener feed assembly including fastener size adjusting means |
| US3682341A (en) * | 1971-02-24 | 1972-08-08 | Langsenkamp Co F H | Container opening apparatus |
| US3789490A (en) * | 1972-02-17 | 1974-02-05 | Omark Industries Inc | Stud storage system |
| GB1431740A (en) | 1973-08-16 | 1976-04-14 | Schaeffer Homberg Gmbh | Machines for fixing together fastener components |
| US3960191A (en) | 1975-06-17 | 1976-06-01 | Illinois Tool Works Inc. | Fastener feeding and driving attachment |
| US4174802A (en) | 1976-03-24 | 1979-11-20 | Bruno Maestri | Magazine device for continuously feeding nails into a nail driving machine |
| US4044462A (en) | 1976-10-26 | 1977-08-30 | General-Electro Mechanical Corporation | Rivet blank feeder for riveting apparatus |
| US4180195A (en) | 1978-01-16 | 1979-12-25 | The Boeing Company | Rivet delivery and locating apparatus |
| DE2826418C2 (de) | 1978-06-16 | 1986-10-30 | Schaeffer-Homberg Gmbh, 5600 Wuppertal | Maschine zum Ansetzen von aus Ober- und Unterteil bestehenden Knöpfen, Nieten oder dergleichen an Kleidungsstücke |
| JPS5538564U (enExample) * | 1978-09-01 | 1980-03-12 | ||
| DE2856868A1 (de) | 1978-12-30 | 1980-07-17 | Schaeffer Homberg Gmbh | Vorrichtung an einer ansetzmaschine |
| JPS6018263Y2 (ja) | 1979-09-28 | 1985-06-03 | 有限会社新城製作所 | ピアスナツト自動組立機におけるシユ−トホ−ス接続装置 |
| JPS5677042A (en) * | 1979-11-26 | 1981-06-25 | Press Kogyo Kk | Method and device for caulking rivet simultaneously with its insertion |
| JPS56102437A (en) | 1980-01-11 | 1981-08-15 | Toyota Motor Corp | Parts feed magazine for automatic assembly machine |
| US4765057A (en) * | 1980-02-02 | 1988-08-23 | Multifastener Corporation | Self-attaching fastener, panel assembly and installation apparatus |
| US4555838A (en) * | 1983-03-28 | 1985-12-03 | Multifastener Corp. | Method of installing self-attaching fasteners |
| NZ197560A (en) * | 1980-07-18 | 1984-05-31 | Furma Mfg Co Pty Ltd | Mounting rivets in a flexible carrier |
| JPS603559B2 (ja) | 1981-03-17 | 1985-01-29 | 松下電器産業株式会社 | 自動ねじ締め機 |
| US4463888A (en) * | 1981-04-22 | 1984-08-07 | Duo-Fast Corporation | Fastener driving tool |
| DE3301243C2 (de) | 1983-01-15 | 1985-07-04 | Mannesmann AG, 4000 Düsseldorf | Nietzuführungseinrichtung an einer Nietmaschine |
| US4497197A (en) | 1983-02-18 | 1985-02-05 | Chicago Pneumatic Tool Company | Pneumatic hydraulic hand-held power unit |
| IL71907A (en) | 1983-05-27 | 1986-11-30 | Nietek Pty Ltd | Feeders for headed fasteners and riveting machine including it |
| GB8317389D0 (en) | 1983-06-27 | 1983-07-27 | Bifurcated & Tubular Rivet Co | Rivetting machines |
| JPS6062424A (ja) | 1983-09-13 | 1985-04-10 | Nissan Motor Co Ltd | 部品打込装置への部品供給装置 |
| US4720215A (en) | 1984-10-31 | 1988-01-19 | Grumman Aerospace Corporation | Rivet delivery system |
| US4592136A (en) * | 1985-02-14 | 1986-06-03 | Usm Corporation | Fastener presentation device |
| SE447552B (sv) | 1985-04-09 | 1986-11-24 | Asea Ab | Forfarande och installation for montering av muttrar i ett arbetsstycke |
| JPS6263025A (ja) | 1985-09-11 | 1987-03-19 | Matsushita Electric Ind Co Ltd | 頭付棒材供給装置 |
| JPS63110182A (ja) * | 1986-10-29 | 1988-05-14 | 株式会社村田製作所 | 電子部品チツプ収納カセツト |
| US4832555A (en) * | 1988-03-18 | 1989-05-23 | Gordon John H | Gasket holding and feeding magazine |
| FR2640245B1 (fr) | 1988-12-08 | 1992-06-12 | Garonne Ets Auriol & Cie | Procede de distribution de pieces et dispositifs de mise en oeuvre |
| US4988255A (en) * | 1989-02-22 | 1991-01-29 | The Upjohn Company | Unpackaging machine |
| GB2232110A (en) | 1989-05-26 | 1990-12-05 | Avdel Systems Ltd | Fastener installation apparatus |
| US5201892A (en) * | 1989-06-30 | 1993-04-13 | Ltv Areospace And Defense Company | Rivet orientating device |
| US4988028A (en) | 1989-12-01 | 1991-01-29 | Emhart, Inc. | Automatic riveting machine |
| FR2662622B1 (fr) | 1990-06-05 | 1994-05-13 | Haute Garonne Ets Auriol Cie Ate | Dispositif de selection et distribution de pieces telles que rivets. |
| US5123162A (en) * | 1990-12-06 | 1992-06-23 | Wing Enterprises, Inc. | Automatic rivet feed apparatus |
| US5193717A (en) | 1991-04-30 | 1993-03-16 | Electroimpact, Inc. | Fastener feed system |
| DE4117767A1 (de) * | 1991-05-31 | 1992-12-03 | Schaeffer Gmbh | Maschine zum ansetzen von knoepfen, nieten oder dergleichen, vorzugsweise an bekleidungsstuecken |
| JP2950662B2 (ja) | 1991-10-11 | 1999-09-20 | 東京マルチファスナー株式会社 | 部品連続供給装置 |
| DE4211278C1 (de) | 1992-04-03 | 1993-10-14 | Wolfgang Dipl Ing Luckhardt | Zuführvorrichtung zum Zuführen von Fügeteilen |
| ES2108215T5 (es) | 1992-04-21 | 2004-03-16 | Ariel Industries Plc | Tubo de entrega de cierres. |
| US5360137A (en) | 1992-07-17 | 1994-11-01 | Yugenkaisha Shinjo Seisakusho | Row feeder for distributing nuts |
| DE4225415A1 (de) | 1992-07-31 | 1994-02-03 | Emhart Inc | Bolzenschweißvorrichtung |
| GB9226517D0 (en) | 1992-12-19 | 1993-02-10 | Henrob Ltd | Improvements in or relating to sefl-piercing riveting |
| DE4244403A1 (de) | 1992-12-29 | 1994-07-07 | Deutsche Aerospace Airbus | Automatische Nietmaschine |
| EP0746431B1 (en) | 1993-01-07 | 2003-04-02 | Henrob Limited | Improved fastening tools |
| IT1272121B (it) | 1993-03-22 | 1997-06-11 | Bears Srl | Sistema per la selezione e l'alimentazione automatica di rivetti preorientati per macchine rivettatrici |
| DE69420425T2 (de) | 1993-03-26 | 2000-01-20 | Pharmacia & Upjohn Co., Kalamazoo | Die Herstellung von 3-Alkylamino-2-Piperazinylpyridinen |
| DE4310953A1 (de) | 1993-04-02 | 1994-10-13 | Wolfgang Dipl Ing Luckhardt | Einpresseinrichtung zum Einpressen von Fügeteilen |
| DE4315403A1 (de) | 1993-05-08 | 1994-11-10 | Reich Maschf Gmbh Karl | Schraubgerät mit einer Fördervorrichtung |
| SK51396A3 (en) | 1993-10-28 | 1997-08-06 | Schmidt Dieter Maschbau | Device for use in a press to feed connecting components and secure them in workpieces by pressing |
| JPH07132424A (ja) | 1993-11-09 | 1995-05-23 | Yoshitaka Aoyama | 移動台における部品供給装置 |
| DE4401981A1 (de) * | 1994-01-25 | 1995-07-27 | Stocko Metallwarenfab Henkels | Sortiermagazin |
| AUPM507094A0 (en) * | 1994-04-14 | 1994-05-05 | Henrob Ltd | Improved fastening machine |
| US5476204A (en) | 1994-06-09 | 1995-12-19 | National Die & Button Mould Co., Ltd. | Automated stud setting apparatus |
| DE4447620C2 (de) | 1994-06-10 | 2003-01-23 | Profil Verbindungstechnik Gmbh | Haltefinger und Setzkopf mit mehreren solchen Haltefingern |
| FR2720963B1 (fr) | 1994-06-13 | 1996-09-06 | Haute Garonne Ateliers | Dispositif de distribution de pièces à l'unité et dispositif de stockage de ces pièces. |
| DE4423165C2 (de) | 1994-07-04 | 1996-06-20 | Michael Feldpausch | Vorrichtung zum Bereitstellen von Befestigungselementen |
| DE4433850A1 (de) * | 1994-09-22 | 1996-03-28 | Chilinov Sarl | Verfahren und Vorrichtung zum Entleeren eines Behälters |
| IT1278986B1 (it) * | 1995-03-10 | 1997-12-02 | Crea Srl | Macchina e procedimento per il piantaggio di inserti in pezzi di lamiera |
| GB9505271D0 (en) | 1995-03-16 | 1995-05-03 | Ariel Ind Plc | Pivoted-nose fastener application machine |
| US5579975A (en) | 1995-04-19 | 1996-12-03 | Senco Products, Inc. | Fastener driving tool for locating a pre-existing through hole in a workpiece and driving a fastener therethrough |
| DE29507041U1 (de) * | 1995-04-26 | 1995-08-03 | Emhart Inc., Newark, Del. | Zuführleitung mit einer Führungsbahn |
| US5779609A (en) | 1996-01-16 | 1998-07-14 | Applied Robotics, Inc. | Integrated stud welding robotic tool changing system |
| US5772098A (en) | 1996-03-29 | 1998-06-30 | Senco Products, Inc. | Feed assembly for a fastener driving tool |
| WO1997041981A1 (de) | 1996-05-07 | 1997-11-13 | Schaeffer Gmbh | Magazin, insbesondere wechselmagazin, an einer ansetzmaschine für nieten, druckknöpfe oder dergleichen |
| AUPO045296A0 (en) | 1996-06-14 | 1996-07-11 | Henrob Ltd | Feeding heads for fastening machines |
| DE19628170A1 (de) | 1996-07-12 | 1998-01-15 | Hilti Ag | Gerät zum Eintreiben von Befestigungselementen in harte Untergründe |
| US5794831A (en) | 1996-07-12 | 1998-08-18 | Illinois Tool Works Inc. | Fastener detection and firing control system for powered fastener driving tools |
| DE19644541C2 (de) | 1996-10-26 | 2003-05-28 | Audi Ag | Vorrichtung zum Zuführen von Befestigungselementen |
| US5870886A (en) * | 1997-02-03 | 1999-02-16 | The West Company, Incorporated | Transfer system for transferring objects into a barrier isolator |
| EP0882546B1 (de) | 1997-06-07 | 2003-09-03 | Maschinenbau Dieter Schmidt | Versorgungssystem zum Zuführen von Verbindungselementen von einer Versorgungseinheit an einen Stanzkopf |
| US6276050B1 (en) | 1998-07-20 | 2001-08-21 | Emhart Inc. | Riveting system and process for forming a riveted joint |
| US6052882A (en) * | 1997-09-19 | 2000-04-25 | Saturn Tool Company, Llc | Insertion device for inserting spacers |
| DE29719744U1 (de) | 1997-11-06 | 1998-02-26 | Emhart Inc., Newark, Del. | Transportvorrichtung für längliche mit einem Kopf und einem Schaft ausgebildete Bauteile |
| US5988026A (en) | 1997-12-03 | 1999-11-23 | Senco Products, Inc. | Screw feed and driver for a screw driving tool |
| JP3520754B2 (ja) | 1997-12-19 | 2004-04-19 | 日立工機株式会社 | 打込機 |
| GB9816796D0 (en) * | 1998-08-03 | 1998-09-30 | Henrob Ltd | Improvements in or relating to fastening machines |
| US6347449B1 (en) | 1998-10-21 | 2002-02-19 | Emhart Inc. | Modular portable rivet setting tool |
| US6264063B1 (en) | 1998-10-23 | 2001-07-24 | Vought Aircraft Industries, Inc. | Orientation maintained fastener delivery system and method |
| US6276563B1 (en) * | 1999-10-12 | 2001-08-21 | Motorola, Inc. | Verification and lockout apparatus for bulk feeder |
| US7599790B2 (en) | 2004-03-23 | 2009-10-06 | Google Inc. | Generating and serving tiles in a digital mapping system |
| US7734412B2 (en) | 2006-11-02 | 2010-06-08 | Yahoo! Inc. | Method of client side map rendering with tiled vector data |
| US7925100B2 (en) | 2007-07-31 | 2011-04-12 | Microsoft Corporation | Tiled packaging of vector image data |
| US9269178B2 (en) | 2012-06-05 | 2016-02-23 | Apple Inc. | Virtual camera for 3D maps |
| US9064341B2 (en) | 2012-06-05 | 2015-06-23 | Apple Inc. | Method, system and apparatus for rendering a map according to hybrid map data |
| US20140009576A1 (en) | 2012-07-05 | 2014-01-09 | Alcatel-Lucent Usa Inc. | Method and apparatus for compressing, encoding and streaming graphics |
-
1998
- 1998-08-03 GB GBGB9816796.8A patent/GB9816796D0/en not_active Ceased
-
1999
- 1999-08-03 CN CN99811588A patent/CN1320065A/zh active Pending
- 1999-08-03 JP JP2000563419A patent/JP4493850B2/ja not_active Expired - Lifetime
- 1999-08-03 AT AT99936862T patent/ATE235330T1/de not_active IP Right Cessation
- 1999-08-03 EP EP99936862A patent/EP1102650B1/en not_active Expired - Lifetime
- 1999-08-03 CA CA002339530A patent/CA2339530A1/en not_active Abandoned
- 1999-08-03 EP EP02079119A patent/EP1297917B1/en not_active Expired - Lifetime
- 1999-08-03 BR BR9912731-8A patent/BR9912731A/pt not_active Application Discontinuation
- 1999-08-03 EP EP02079120A patent/EP1297918B1/en not_active Expired - Lifetime
- 1999-08-03 DE DE69906308T patent/DE69906308T2/de not_active Expired - Lifetime
- 1999-08-03 US US09/762,200 patent/US6944944B1/en not_active Expired - Lifetime
- 1999-08-03 MX MXPA01001380A patent/MXPA01001380A/es unknown
- 1999-08-03 DE DE69935169T patent/DE69935169T2/de not_active Expired - Lifetime
- 1999-08-03 DE DE69935170T patent/DE69935170T2/de not_active Expired - Lifetime
- 1999-08-03 WO PCT/GB1999/002545 patent/WO2000007751A1/en not_active Ceased
- 1999-08-03 AU AU51835/99A patent/AU5183599A/en not_active Abandoned
- 1999-08-03 KR KR1020017001481A patent/KR100593371B1/ko not_active Expired - Lifetime
- 1999-08-03 EP EP02079121A patent/EP1297919A2/en not_active Withdrawn
-
2001
- 2001-02-05 US US09/762,247 patent/US6692213B1/en not_active Expired - Lifetime
-
2005
- 2005-04-08 US US11/102,335 patent/US7487583B2/en not_active Expired - Fee Related
-
2006
- 2006-07-21 JP JP2006199284A patent/JP4494372B2/ja not_active Expired - Fee Related
- 2006-07-21 JP JP2006199263A patent/JP4417933B2/ja not_active Expired - Fee Related
-
2009
- 2009-01-20 US US12/356,225 patent/US7849579B2/en not_active Expired - Fee Related
-
2010
- 2010-11-08 US US12/941,539 patent/US8850685B2/en not_active Expired - Fee Related
-
2014
- 2014-09-05 US US14/478,764 patent/US9352383B2/en not_active Expired - Fee Related
-
2016
- 2016-04-28 US US15/141,547 patent/US9776239B2/en not_active Expired - Fee Related
-
2017
- 2017-08-25 US US15/687,087 patent/US10099273B2/en not_active Expired - Fee Related
Cited By (1)
| Publication number | Priority date | Publication date | Assignee | Title |
|---|---|---|---|---|
| EP4574301A3 (de) * | 2023-12-21 | 2025-10-22 | Atlas Copco IAS GmbH | Transportvorrichtung |
Also Published As
Similar Documents
| Publication | Publication Date | Title |
|---|---|---|
| EP1297918B1 (en) | Improvements in or relating to fastening machines | |
| US6796454B1 (en) | Fastening machines | |
| EP2340135B1 (en) | Fastener feed method and apparatus | |
| EP1945391B1 (en) | Fastener feed method and apparatus | |
| EP0409068B1 (en) | Apparatus for manufacturing slide fasteners | |
| US5306115A (en) | Reciprocating member for dispensing flat articles | |
| HK191095A (en) | Parts applicator for slide fasteners | |
| EP3609635B1 (en) | Rivet tape joining clip |
Legal Events
| Date | Code | Title | Description |
|---|---|---|---|
| PUAI | Public reference made under article 153(3) epc to a published international application that has entered the european phase |
Free format text: ORIGINAL CODE: 0009012 |
|
| AC | Divisional application: reference to earlier application |
Ref document number: 1102650 Country of ref document: EP Kind code of ref document: P |
|
| AK | Designated contracting states |
Kind code of ref document: A2 Designated state(s): AT BE CH CY DE DK ES FI FR GB GR IE IT LI LU MC NL PT SE |
|
| PUAL | Search report despatched |
Free format text: ORIGINAL CODE: 0009013 |
|
| AK | Designated contracting states |
Kind code of ref document: A3 Designated state(s): AT BE CH CY DE DK ES FI FR GB GR IE IT LI LU MC NL PT SE |
|
| 17P | Request for examination filed |
Effective date: 20050224 |
|
| AKX | Designation fees paid |
Designated state(s): DE FR GB |
|
| RAP1 | Party data changed (applicant data changed or rights of an application transferred) |
Owner name: HENROB LIMITED |
|
| GRAP | Despatch of communication of intention to grant a patent |
Free format text: ORIGINAL CODE: EPIDOSNIGR1 |
|
| GRAS | Grant fee paid |
Free format text: ORIGINAL CODE: EPIDOSNIGR3 |
|
| GRAA | (expected) grant |
Free format text: ORIGINAL CODE: 0009210 |
|
| AC | Divisional application: reference to earlier application |
Ref document number: 1102650 Country of ref document: EP Kind code of ref document: P |
|
| AK | Designated contracting states |
Kind code of ref document: B1 Designated state(s): DE FR GB |
|
| REG | Reference to a national code |
Ref country code: GB Ref legal event code: FG4D |
|
| REF | Corresponds to: |
Ref document number: 69935170 Country of ref document: DE Date of ref document: 20070329 Kind code of ref document: P |
|
| ET | Fr: translation filed | ||
| PLBE | No opposition filed within time limit |
Free format text: ORIGINAL CODE: 0009261 |
|
| STAA | Information on the status of an ep patent application or granted ep patent |
Free format text: STATUS: NO OPPOSITION FILED WITHIN TIME LIMIT |
|
| 26N | No opposition filed |
Effective date: 20071115 |
|
| PGFP | Annual fee paid to national office [announced via postgrant information from national office to epo] |
Ref country code: FR Payment date: 20110818 Year of fee payment: 13 Ref country code: DE Payment date: 20110803 Year of fee payment: 13 Ref country code: GB Payment date: 20110803 Year of fee payment: 13 |
|
| GBPC | Gb: european patent ceased through non-payment of renewal fee |
Effective date: 20120803 |
|
| REG | Reference to a national code |
Ref country code: FR Ref legal event code: ST Effective date: 20130430 |
|
| PG25 | Lapsed in a contracting state [announced via postgrant information from national office to epo] |
Ref country code: GB Free format text: LAPSE BECAUSE OF NON-PAYMENT OF DUE FEES Effective date: 20120803 Ref country code: DE Free format text: LAPSE BECAUSE OF NON-PAYMENT OF DUE FEES Effective date: 20130301 |
|
| PG25 | Lapsed in a contracting state [announced via postgrant information from national office to epo] |
Ref country code: FR Free format text: LAPSE BECAUSE OF NON-PAYMENT OF DUE FEES Effective date: 20120831 |
|
| REG | Reference to a national code |
Ref country code: DE Ref legal event code: R119 Ref document number: 69935170 Country of ref document: DE Effective date: 20130301 |