EP0448950A2 - Spindel zum Herstellen eines Fadens - Google Patents

Spindel zum Herstellen eines Fadens Download PDF

Info

Publication number
EP0448950A2
EP0448950A2 EP91102233A EP91102233A EP0448950A2 EP 0448950 A2 EP0448950 A2 EP 0448950A2 EP 91102233 A EP91102233 A EP 91102233A EP 91102233 A EP91102233 A EP 91102233A EP 0448950 A2 EP0448950 A2 EP 0448950A2
Authority
EP
European Patent Office
Prior art keywords
spindle
thread
sleeve
bolt
spindle according
Prior art date
Legal status (The legal status is an assumption and is not a legal conclusion. Google has not performed a legal analysis and makes no representation as to the accuracy of the status listed.)
Withdrawn
Application number
EP91102233A
Other languages
English (en)
French (fr)
Other versions
EP0448950A3 (en
Inventor
Heinz Stenmans
Current Assignee (The listed assignees may be inaccurate. Google has not performed a legal analysis and makes no representation or warranty as to the accuracy of the list.)
Palitex Project Co GmbH
Original Assignee
Palitex Project Co GmbH
Priority date (The priority date is an assumption and is not a legal conclusion. Google has not performed a legal analysis and makes no representation as to the accuracy of the date listed.)
Filing date
Publication date
Application filed by Palitex Project Co GmbH filed Critical Palitex Project Co GmbH
Publication of EP0448950A2 publication Critical patent/EP0448950A2/de
Publication of EP0448950A3 publication Critical patent/EP0448950A3/de
Withdrawn legal-status Critical Current

Links

Images

Classifications

    • DTEXTILES; PAPER
    • D02YARNS; MECHANICAL FINISHING OF YARNS OR ROPES; WARPING OR BEAMING
    • D02GCRIMPING OR CURLING FIBRES, FILAMENTS, THREADS, OR YARNS; YARNS OR THREADS
    • D02G3/00Yarns or threads, e.g. fancy yarns; Processes or apparatus for the production thereof, not otherwise provided for
    • D02G3/22Yarns or threads characterised by constructional features, e.g. blending, filament/fibre
    • D02G3/26Yarns or threads characterised by constructional features, e.g. blending, filament/fibre with characteristics dependent on the amount or direction of twist
    • D02G3/28Doubled, plied, or cabled threads
    • D02G3/285Doubled, plied, or cabled threads one yarn running over the feeding spool of another yarn
    • DTEXTILES; PAPER
    • D01NATURAL OR MAN-MADE THREADS OR FIBRES; SPINNING
    • D01HSPINNING OR TWISTING
    • D01H7/00Spinning or twisting arrangements
    • D01H7/02Spinning or twisting arrangements for imparting permanent twist
    • D01H7/04Spindles
    • DTEXTILES; PAPER
    • D01NATURAL OR MAN-MADE THREADS OR FIBRES; SPINNING
    • D01HSPINNING OR TWISTING
    • D01H7/00Spinning or twisting arrangements
    • D01H7/02Spinning or twisting arrangements for imparting permanent twist
    • D01H7/88Hollow-spindle arrangements

Definitions

  • the invention relates to a spindle for producing a thread, in particular double-wire twist or a cabling thread, with a spindle rotor having a spindle hollow shaft, a thread storage disk rotating with the spindle rotor, which has a radially extending thread guide channel for the thread which adjoins the spindle hollow shaft a first deflection point between the hollow spindle shaft and the thread guide channel is deflected from an axial path of movement into a substantially radial path of movement and after exiting the thread guide channel is conveyed to a second deflection point lying in the extension of the hollow spindle shaft, in which it is redirected into an essentially axial path of movement and with at least one organ influencing the operation of the spindle and / or the thread running, which is located in the spindle inside of the thread balloon formed during spindle operation.
  • spindles for example, thread brakes, ply-wing brakes, ply-wing arrangements or the like.
  • These elements which are important for the running of the thread or the operation of the spindle, are practically beyond the control of the outside during the proper spindle run, or at least such an influence is difficult.
  • This is disadvantageous, and measures are desired which make it possible to influence such elements, which are provided, for example, within the stationary delivery bobbin carrier mounted on the spindle, without the need for complicated equipment.
  • the invention has for its object to provide a device with which it is possible to influence mechanically from the outside on functional elements or control elements, which are arranged in the area of the delivery bobbin and are enveloped by the thread balloon previously considered impermeable during proper spindle operation.
  • the spindle according to the invention is characterized in that in the region of the second deflection point there is arranged a sleeve which is coaxial to the spindle hollow shaft and displaceable in the axial direction and which is provided with at least one lateral opening, and that on the one hand a sleeve actuating element and on the other hand an actuating device for the organ influencing the mode of operation and / or the thread running.
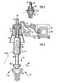
  • Fig. 1 shows a double-wire twisting spindle, the upper end of the bobbin case 62, the upper end of the thread inlet tube 63, the opening of which is widened in a funnel shape, and two feed bobbins 64 and 65, which are placed one above the other, of which the threads are overhead, i.e. are pulled upwards and run together into the thread inlet tube 63.
  • the two threads F4 and F5 then pass together through the hollow spindle axis before they leave the conventional thread storage disk (not shown) through the radial thread guide channel and run with balloon formation to the sleeve 61 arranged in the region of the apex of the balloon, which in the present case has the function of otherwise usual balloon thread guide exercises.
  • the sleeve 61 is provided with a lateral opening 61.1 in the form of a longitudinal slot for the entry of the thread F4, F5.
  • the sleeve 61 is rotatable in a in by means of a bearing 50 the extension of the sleeve lying support tube 71 mounted, which in turn is mounted on the machine frame, not shown, adjustable in the axial direction.
  • a further bearing 51 is inserted for a bolt 52 coaxial to the spindle axis, which carries at its lower end a conical body 52.1, the shape of which is preferably adapted to the shape of the inlet funnel at the upper end of the thread inlet tube 63.
  • a holding magnet 52.2 is preferably inserted in the cone body 52.1, to which counter-magnets 63.1 in the upper end of the thread inlet tube 63 are assigned.
  • the bolt 52 serves as a bearing bolt for a twisted wing arrangement.
  • a bush 66 is pushed onto the bearing pin 52, on which a carrier 66.1 is attached.
  • An angled lever arm 67 is articulated on the carrier 66.1 and has at its free end a lever section 67.1 which projects into the gap between the protective jacket 62 and the upper supply spool 65.
  • a roller 68 is attached, which is rotatable about a substantially vertical axis.
  • a thread guide roller 69 is also rotatably mounted on the lever section 67.1, via which the thread F4 coming from the lower supply bobbin 64 runs.
  • the thread F5 coming from the upper supply spool 65 runs directly to the thread inlet pipe 63 without the aid of a drainage aid.
  • the twisted wing arrangement is pivoted further to the center of the spindle axis. It is always ensured that the thread F4 coming from the lower supply spool 64 can be drawn off in a contact-free manner with respect to the upper supply spool 65. This ensures that the thread F4 coming from the lower supply bobbin runs smoothly past the upper supply bobbin 65.
  • the conical body 52.1 can be inserted into the upper end of the thread inlet tube 63 by axially lowering the holding tube 71 in order to prevent any further unwanted removal of the thread.
  • the sleeve 61 is set in rotation by the twine thread F4, F5, which laterally enters the sleeve.
  • the diameter of the slotted sleeve 61 working as a balloon thread guide is preferably selected such that the thread F4, F5 entering the slot 61.1 laterally exerts a sufficiently high torque on the sleeve 61.
  • a downwardly open cap 70 is pushed onto the bolt 52 and has an outwardly directed flange ring 70.1, which lies opposite the upper edge of the funnel-shaped thread inlet tube 63.
  • This cap 70 forms a run-in aid in the form of a loading weight. Such a run-in aid is used when it is necessary to additionally brake the threads before they enter the thread feed pipe.
  • Another special task is to prevent loops in the single thread from entering the thread inlet tube or the spindle vertical axis.
  • the braking force exerted by the cap 70 can, if necessary, be changed by applying additional weights, or else by selecting corresponding caps with different weights.
  • Any suitable adjustment device can be used for lowering the holding tube 71 and thus the sleeve 61 and the bolt 52 provided with the conical body 52.1 in the direction of the arrow f8, preferably a pneumatic piston-cylinder arrangement, for example in such a way that a holding cylinder 71 in a pressure cylinder 72 guided piston 73 is attached.
  • the holding tube 71 or the pressure cylinder 72 provided for adjusting the holding tube 71 is preferably pivotally mounted on the machine frame (arrow f9).
  • a tab 76 is attached to the side of the pressure cylinder 72 and is mounted on a holder 78 so that it can pivot about the axis 77.
  • the holder 78 is mounted on the machine frame, which is represented by a bar 79 through which a compressed air line 80 is guided.
  • a branch line 81 which leads to the pressure cylinder 72, is connected to this compressed air line 80 such that the upper side of the piston 73 against the force of a return spring 74 can be acted upon with compressed air in order to adjust the sliding sleeve 61 together with the bolt 52 downward.
  • a protective cap 75 is preferably attached to the underside of the printing cylinder 72.

Landscapes

  • Engineering & Computer Science (AREA)
  • Mechanical Engineering (AREA)
  • Textile Engineering (AREA)
  • Spinning Or Twisting Of Yarns (AREA)
  • Unwinding Of Filamentary Materials (AREA)
  • Filamentary Materials, Packages, And Safety Devices Therefor (AREA)

Abstract

Eine Spindel zum Herstellen eines Fadens ist dadurch gekennzeichnet, daß im Bereich der zweiten Umlenkstelle eine zum Spindelhohlschaft (63) koaxiale und in Axialrichtung verschiebbare Hülse (61) angeordnet ist, die mit mindestens einer seitlichen Öffnung (61.1) versehen ist, und daß an der Hülse (61) einerseits ein Hülsenbetätigungselement (71) und andererseits eine Stelleinrichtung (52) für das die Betriebsweise der Spindel und/oder den Fadenlauf beeinflußende Organ angreift.

Description

  • Die Erfindung betrifft eine Spindel zum Herstellen eines Fadens, insbesondere Doppeldraht-Zwirns oder eines Kablierfadens, mit einem einen Spindelhohlschaft aufweisenden Spindelrotor, einer mit dem Spindelrotor rotierenden Fadenspeicherscheibe, die einen an den Spindelhohlschaft anschließenden, sich radial erstreckenden Fadenleitkanal für den Faden aufweist, der in einer ersten Umlenkstelle zwischen dem Spindelhohlschaft und dem Fadenleitkanal aus einer axialen Bewegungsbahn in eine im wesentlichen radiale Bewegungsbahn umgelenkt und nach dem Austritt aus dem Fadenleitkanal unter Bildung eines Fadenballons zu einer in der Verlängerung des Spindelhohlschaftes liegenden zweiten Umlenkstelle gefördert wird, in der er wieder in eine im wesentlichen axiale Bewegungsbahn umgelenkt wird und mit mindestens einem die Betriebsweise der Spindel und/oder den Fadenlauf beeinflussenden Organ, das in der Spindel innerhalb des während des Spindelbetriebes gebildeten Fadenballons liegt.
  • Es ist üblich, an derartigen Spindeln beispielsweise Fadenbremsen, Zwirnflügelbremsen, Zwirn flügelanordnungen oder dergleichen anzuordnen. Diese für den Fadenlauf oder die Betriebsweise der Spindel wichtigen Elemente sind während des ordnungsgemäßen Spindellaufes praktisch einer Einflußnahme von außen entzogen oder zumindest ist eine solche Einflußnahme erschwert. Dies ist nachteilig, und es sind Maßnahmen erwünscht, die es ermöglichen, auf derartige Elemente, die beispielsweise innerhalb des stillstehenden, auf der Spindel gelagerten Lieferspulenträgers vorgesehen sind, Einfluß zu nehmen, ohne daß verwickelte Einrichtungen erforderlich sind.
  • Es ist bekannt, die steuerbaren Funktionselemente elektrisch und/oder magnetisch zu beeinflussen wie es beispielsweise in den DE-PS'en 15 10 853 und 15 10 854 beschrieben ist.
  • Bis heute sind jedoch praktisch keine funktionssicheren Maßnahmen bekannt, mit denen es möglich ist, während des Spindelbetriebes von außen auf bewegbare Steuerorgane oder sonstige Funktionselemente am bzw. im Lieferspulenträger einzuwirken.
  • Der Erfindung liegt die Aufgabe zugrunde, eine Vorrichtung zu schaffen, mit der es möglich ist von außen mechanisch auf Funktionselemente oder Steuerorgane Einfluß zu nehmen, die im Bereich des Lieferspulenträgers angeordnet sind und während des ordnungsgemäßen Spindelbetriebes von dem bisher als undurchlässig angesehenen Fadenballon eingehüllt werden.
  • Zur Lösung dieser Aufgabe ist die erfindungsgemäße Spindel dadurch gekennzeichnet, daß im Bereich der zweiten Umlenkstelle eine zum Spindelhohlschaft koaxiale und in Axialrichtung verschiebbare Hülse angeordnet ist, die mindestens mit einer seitlichen Öffnung versehen ist, und daß an der Hülse einerseits ein Hülsenbetätigungselement und andererseits eine Stelleinrichtung für das die Betriebsweise und/oder den Fadenlauf beeinflussende Organ angreift.
  • Die Betriebs- und Funktionsweise einer derartigen Anordnung ergibt sich im wesentlichen aus der folgenden Figurenbeschreibung. In den Patentansprüchen sind diverse Ausführungsformen der erfindungsgemäßen Lösung beschrieben, und zwar in Verbindung mit einigen Funktionselementen bzw. Steuerorganen, mit denen es möglich ist, auf die Betriebsweise der Spindel und/oder den Fadenlauf Einfluß zu nehmen.
  • Die Erfindung wird im folgenden anhand der Zeichnung näher beschrieben. Es zeigen:
  • Fig. 1
    teilweise im Schnitt eine Seitenansicht einer Ausführungsform einer Doppeldraht-Zwirnspindel mit einer sogenannten Doppelaufsteckung von Vorlage- bzw. Lieferspulen;
    Fig. 2
    in vergrößerter Darstellung eine Schnittansicht eines Details einer abgewandelten Ausführungsform einer Doppeldraht-Zwirnspindel, und
    Fig. 3
    teiweise im Schnitt eine Seitenansicht des oberen Abschnitts einer Doppeldraht-Zwirnspindel.
  • Fig. 1 zeigt von einer Doppeldraht-Zwirnspindel das obere Ende des Spulentopfmantels 62, das obere Ende des Fadeneinlaufrohres 63, dessen Öffnung trichterförmig erweitert ist, und zwei übereinander aufgesteckte Vorlagespulen 64 und 65, von denen die Fäden über Kopf, d.h. nach oben abgezogen werden und gemeinsam in das Fadeneinlaufrohr 63 einlaufen.
  • Die beiden Fäden F4 und F5 durchlaufen dann gemeinsam die Spindelhohlachse, bevor sie die übliche, nicht darstellte Fadenspeicherscheibe durch den radial verlaufenden Fadenleitkanal verlassen und unter Ballonbildung zu der im Bereich des Scheitelpunktes des Ballons angeordneten Hülse 61 laufen, die im vorliegenden Fall die Funktion des ansonsten üblichen Ballonfadenführers ausübt.
  • Die Hülse 61 ist zum Eintritt des Zwirnfadens F4, F5 mit einer seitlichen Öffnung 61.1 in Form eines Längsschlitzes versehen. Die Hülse 61 ist mittels eines Lagers 50 drehbar in einem in der Verlängerung der Hülse liegenden Halterohr 71 gelagert, das seinerseits in axialer Richtung verstellbar an dem nicht dargestellten Maschinengestell gelagert ist.
  • In das untere Ende der Hülse ist ein weiteres Lager 51 für einen zur Spindelachse koaxialen Bolzen 52 eingesetzt, der an seinem unteren Ende einen Kegelkörper 52.1 trägt, dessen Form vorzugsweise an die Form des Einlauftrichters am oberen Ende des Fadeneinlaufrohres 63 angepaßt ist. Um den Bolzen 52 gegen eine Rotation zu sichern, ist vorzugsweise in dem Kegelkörper 52.1 ein Haltemagnet 52.2 eingesetzt, dem Gegenmagnete 63.1 im oberen Ende des Fadeneinlaufrohres 63 zugeordnet sind.
  • Der Bolzen 52 dient gemäß Fig. 1 als Lagerbolzen für eine Zwirnflügelanordnung. Zu diesem Zweck ist auf den Lagerbolzen 52 eine Buchse 66 aufgeschoben, an der ein Träger 66.1 angebracht ist. An dem Träger 66.1 ist ein abgewinkelter Hebelarm 67 angelenkt, der an seinem freien Ende einen Hebelabschnitt 67.1 aufweist, der in den Spalt zwischen dem Schutztopfmantel 62 und der oberen Vorlagespule 65 ragt. An dem unteren Ende dieses Hebelabschnittes 67.1 ist eine Rolle 68 angebracht, die um eine im wesentlichen vertikale Achse drehbar ist. An dem Hebelabschnitt 67.1 ist außerdem eine Fadenleitrolle 69 drehbar gelagert, über die der von der unteren Vorlagespule 64 kommende Faden F4 läuft. Der von der oberen Vorlagespule 65 kommende Faden F5 läuft ohne Unterstützung einer Ablaufhilfe direkt zum Fadeneinlaufrohr 63.
  • Mit kleiner werdendem Spulendurchmesser wird die Zwirnflügelanordnung weiter zum Zentrum der Spindelachse verschwenkt. Dabei ist stets sichergestellt, daß der von der unteren Vorlagespule 64 kommende Faden F4 berührungsfrei gegenüber der oberen Vorlagespule 65 abgezogen werden kann. Dadurch wird gewährleistet, daß der von der unteren Vorlagespule kommende Faden F4 störungsfrei an der oberen Vorlagespule 65 vorbeiläuft.
  • Im Falle eines Fadenbruchs kann durch axiales Absenken des Halterohres 71 der Kegelkörper 52.1 in das obere Ende des Fadeneinlaufrohres 63 eingefahren werden, um einen eventuellen weiteren ungewollten Abzug des Fadens zu verhindern.
  • Bei der Anordnung gemäß Fig. 1 wird die Hülse 61 von dem seitlich in die Hülse entretenden Zwirnfaden F4, F5 in Drehung versetzt. Der Durchmesser der als Ballonfadenführer arbeitenden geschlitzten Hülse 61 ist vorzugsweise so gewählt, daß der seitlich in den Schlitz 61.1 einlaufende Faden F4, F5 ein genügend hohes Drehmoment auf die Hülse 61 ausübt.
  • Gemäß der Ausführungsform von Fig. 2 ist auf den Bolzen 52 eine nach unten offene Kappe 70 aufgeschoben, die einen nach außen gerichteten Flanschring 70.1 aufweist, der dem oberen Rand des trichterförmig erweiterten Fadeneinlaufrohres 63 gegenüberliegt. Diese Kappe 70 bildet eine Einlaufhilfe in Form eines Belastungsgewichtes. Eine derartige Einlaufhilfe kommt dann zu Anwendung, wenn es gilt, Fäden vor dem Einlauf in das Fadeneinlaufrohr zusätzlich zu bremsen, wobei eine weitere besondere Aufgabe darin liegt, das Einlaufen von Schlingen im Einzelfaden in das Fadeneinlaufrohr bzw. die Spindelhohachse zu verhindern.
  • Die durch die Kappe 70 ausgeübte Bremskraft kann gegebenenfalls durch Auflage von Zusatzgewichten verändert werden, oder aber durch die Auswahl von entsprechenden Kappen mit unterschiedlichen Gewichten.
  • Zum Absenken des Halterohres 71 und damit der Hülse 61 und des mit dem Kegelkörper 52.1 versehenen Bolzens 52 in Richtung des Pfeiles f8 kann jede geeignete Verstelleinrichtung verwendet werden, vorzugsweise eine pneumatische Kolben-Zylinderanordnung etwa derart, daß an dem Halterohr 71 ein in einem Druckzylinder 72 geführter Kolben 73 angebracht ist.
  • Um die Bedienung einer derartigen Doppeldraht-Zwirnspindel zu erleichtern, ist gemäß Fig. 3 vorzugsweise das Halterohr 71 oder der zum Verstellen des Halterohres 71 vorgesehene Druckzylinder 72 schwenkbar (Pfeil f9) am Maschinengestell gelagert. Zu diesem Zweck ist an dem Druckzylinder 72 seitlich eine Lasche 76 befestigt, die um die Achse 77 schwenkbar an einer Halterung 78 gelagert ist. Die Halterung 78 ist an dem Maschinengestell gelagert, welches durch einen Balken 79 repräsentiert ist, durch den eine Druckluftleitung 80 geführt ist. An diese Druckluftleitung 80 ist eine Zweigleitung 81 angeschlossen, die zu dem Druckzylinder 72 führt, derart, daß die Oberseite des Kolbens 73 entgegen der Kraft einer Rückstellfeder 74 mit Druckluft beaufschlagt werden kann, um die Schiebehülse 61 zusammen mit dem Bolzen 52 nach unten zu verstellen.
  • An der Unterseite des Druckzylinders 72 ist vorzugsweise eine Schutzkappe 75 befestigt.

Claims (12)

  1. Spindel zum Herstellen eines Fadens, mit einem einen Spindelhohlschaft aufweisenden Spindelrotor, einer mit dem Spindelrotor rotierenden Fadenspeicherscheibe (3 bzw. 33), die einen sich an den Spindelhohlschaft anschließenden, radial erstreckenden Fadenleitkanal für den Faden aufweist, der in einer ersten Umlenkstelle zwischen dem Spindelhohlschaft und dem Fadenleitkanal aus einer axialen Bewegungsbahn in eine im wesentlichen radiale Bewegungsbahn umgelenkt und nach dem Austritt aus dem Fadenleitkanal unter Bildung eines Fadenballons zu einer in der Verlängerung des Spindelhohlschaftes liegenden zweiten Umlenkstelle gefördert wird, in der er wieder in eine im wesentlichen axiale Bewegungsbahn umgelenkt wird, und mit mindestens einem die Betriebsweise der Spindel und/oder den Fadenlauf beeinflußenden Organ, das in der Spindel innerhalb des während des Spindelbetriebes gebildeten Fadenballons liegt, dadurch gekennzeichnet, daß im Bereich der zweiten Umlenkstelle eine zum Spindelhohlschaft koaxiale und in Axialrichtung verschiebbare Hülse (61) angeordnet ist, die mit mindestens einer seitlichen Öffnung (61.1) versehen ist, und daß an der Hülse (61) einerseits ein Hülsenbetätigungselement und andererseits eine Stelleinrichtung für das die Betriebsweise der Spindel und/oder den Fadenlauf beeinflußende Organ angreift.
  2. Spindel nach Anspruch 1, dadurch gekennzeichnet daß die Hülse (61) im Bereich des oberen Scheitelpunktes des während des Spindelbetriebes um die Spindel herumlaufenden Fadenballons angeordnet ist.
  3. Spindel nach Anspruch 2, dadurch gekennzeichnet, daß das obere Ende der Hülse (61) mittels eines Lagers (50) drehbar an einem Halterohr (71) gelagert ist, das zusammen mit der Hülse (61) in axialer Richtung verstellbar ist.
  4. Spindel nach Anspruch 3, dadurch gekennzeichnet, daß an dem Halterohr (71) ein in einem Druckzylinder (72) geführter Kolben (73) angebracht ist, der auf der einen Seite mit Druckluft beaufschlagbar ist, während seine andere Seite von einer Rückstellfeder (74) abgestützt ist.
  5. Spindel nach Anspruch 4, dadurch gekennzeichnet, daß an dem Druckzylinder (72) seitlich eine Lasche (76) befestigt ist, die um eine Achse (77) schwenkbar an einer am Maschinengestell angebrachten Halterung (78) gelagert ist.
  6. Spindel nach Anspruch 2, dadurch gekennzeichnet, daß am unteren Ende der Hülse (61) unter Zwischenschaltung eines Lagers (51) ein Bolzen (52) gelagert ist, der an seinem untern Ende eine Verdickung, vorzugsweise in Form eines Kegelkörpers (52.1) aufweist, mit der er in das obere Ende des vorzugsweise trichterförmig erweiterten Fadeneinlaufrohres (63) einfahrbar ist.
  7. Spindel nach Anspruch 6, dadurch gekennzeichnet, daß auf den Bolzen (52) eine nach unten offene Kappe (70) aufgeschoben ist, die einen nach außen gerichteten Flanschring (70.1) aufweist der dem oberen Rand des Fadeneinlaufrohres (63) gegenüberliegt.
  8. Spindel nach Anspruch 7, dadurch gekennzeichnet, daß das Auflagegewicht der Kappe (70) veränderbar ist.
  9. Spindel nach Anspruch 6, dadurch gekennzeichnet, daß der Bolzen (52) der Lagerbolzen für eine Zwirnflügelanordnung ist.
  10. Spindel nach Anspruch 9, dadurch gekennzeichnet, daß auf den Lagerbolzen (52) eine unten abgestützte Buchse (66) augeschoben ist, an er ein abgewinkelter Hebelarm (67) angelenkt ist, der an seinem freien Ende einen Hebelabschnitt (67.1) aufweist, der bei einer Doppelaufsteckung von Spulen auf die Spindel in den Spalt zwischen dem Schutztopfmantel (62) un der oberen Vorlagespule (65) ragt, und an dessen unterem Ende eine Rolle (68) angebracht ist, die um eine im wesentlichen vertikale Achse drehbar ist.
  11. Spindel nach Anspruch 10, dadurch gekennzeichnet, daß an dem Hebelabschnitt (67.1) eine Fadenleitrolle (69) für einen von einer unteren Vorlagespule (64) kommenden Faden drehbar gelagert ist.
  12. Spindel nach Anspruch 6, dadurch gekennzeichnet, daß der Bolzen (52) an seinem unteren Ende mindestens einen Haltemagneten (52.2) trägt, dem im oberen Ende des Fadeneinlaufrohres (63) mindestens ein Gegenmagnet (63.1) zugeordnet ist.
EP19910102233 1990-03-29 1991-02-18 Spindle for producing a yarn Withdrawn EP0448950A3 (en)

Applications Claiming Priority (2)

Application Number Priority Date Filing Date Title
DE4010018A DE4010018C2 (de) 1990-03-29 1990-03-29 Spindel zum Herstellen eines Fadens
DE4010018 1990-03-29

Publications (2)

Publication Number Publication Date
EP0448950A2 true EP0448950A2 (de) 1991-10-02
EP0448950A3 EP0448950A3 (en) 1991-11-27

Family

ID=6403275

Family Applications (1)

Application Number Title Priority Date Filing Date
EP19910102233 Withdrawn EP0448950A3 (en) 1990-03-29 1991-02-18 Spindle for producing a yarn

Country Status (5)

Country Link
US (1) US5167112A (de)
EP (1) EP0448950A3 (de)
JP (1) JPH0625922A (de)
CZ (1) CZ279950B6 (de)
DE (1) DE4010018C2 (de)

Families Citing this family (3)

* Cited by examiner, † Cited by third party
Publication number Priority date Publication date Assignee Title
DE19727609C1 (de) * 1997-06-28 1999-03-18 Hamel Ag Verfahren zum integrierten Fachen und Zwirnen
US6167687B1 (en) * 1998-02-11 2001-01-02 Nextrom Ltd. Group twinner for single and double conductor bobbins and method of making communication cables
KR101291735B1 (ko) * 2011-08-26 2013-07-31 (주)에나인더스트리 권선기용 플라이 장치

Family Cites Families (19)

* Cited by examiner, † Cited by third party
Publication number Priority date Publication date Assignee Title
US2834179A (en) * 1953-04-28 1958-05-13 Nishimura Katsuji Thread twisting machine
US2831311A (en) * 1956-06-26 1958-04-22 Western Electric Co Uncoiling apparatus
US2830432A (en) * 1956-06-26 1958-04-15 Western Electric Co Strand uncoiling apparatus
CH413677A (de) * 1963-02-04 1966-05-15 Volkmann & Co Vorrichtung an Mehrfachdrahtzwirnmaschinen zum Festhalten des von der Vorlagespule ablaufenden Fadens bei Fadenbruch
GB1052715A (de) * 1964-07-02
DE1510854B1 (de) * 1965-08-06 1970-07-09 Palitex Project Co Gmbh Mehrfachdrahtzwirn- oder -spinnspindel
US3290873A (en) * 1965-10-21 1966-12-13 Alfred W Vibber Apparatus for plying strands
DE1560257A1 (de) * 1966-06-06 1970-07-23 Palitex Project Co Gmbh Doppeldrahtzwirnspindel
DE1813801A1 (de) * 1968-12-10 1970-07-02 Hamel Gmbh Zwirnerei U Spinner Doppeldrahtzwirnanordnung
DE2258183A1 (de) * 1972-03-27 1973-10-04 Erhard Rinnelt Verfahren und vorrichtung zum behandeln endloser faeden
DE2246174C3 (de) * 1972-09-20 1975-11-20 Hamel Gmbh Zwirnmaschinen, 4400 Muenster Rotor einer Doppeldrahtzwirnspindel zur Aufnahme eines frei drehbaren Spulenträgers
GB1463453A (de) * 1974-04-13 1977-02-02
US4028870A (en) * 1974-08-03 1977-06-14 Kabushiki Kaisha Toyoda Jidoshokki Seisakusho Method and device for preventing creation of fuzzy fibers of yarn during twisting operation of the multiple twister
DE2628125C3 (de) * 1976-06-23 1979-03-08 Palitex Project-Company Gmbh, 4150 Krefeld Spinn- oder Zwirnmaschine
CS197692B1 (en) * 1977-11-12 1980-05-30 Ferdinand Lenorak Winding machine with multiple twist spindle
DE3118873C2 (de) * 1981-05-13 1985-01-03 Palitex Project-Company Gmbh, 4150 Krefeld Doppeldraht-Zwirnspindel
DE3130615C2 (de) * 1981-08-01 1983-12-01 Palitex Project-Company Gmbh, 4150 Krefeld Fadenführungsvorrichtung
IT1222118B (it) * 1987-07-24 1990-08-31 Savio Spa Aletta dipanatrice rotante attorno ad un perno sospeso sopra il fuso a doppia torsione per lo svolgimento di rocche sovrapposte
JPH0311250Y2 (de) * 1987-11-30 1991-03-19

Also Published As

Publication number Publication date
EP0448950A3 (en) 1991-11-27
CS9100876A2 (en) 1991-11-12
US5167112A (en) 1992-12-01
JPH0625922A (ja) 1994-02-01
DE4010018C2 (de) 1994-04-14
DE4010018A1 (de) 1991-10-02
CZ279950B6 (cs) 1995-09-13

Similar Documents

Publication Publication Date Title
DE3400327A1 (de) Glockenspinnvorrichtung
DE2050490B2 (de) Mehrstufige fadenbremsvorrichtung an einer doppeldrahtzwirnspindel
EP0448949B1 (de) Spindel zum Herstellen eines Fadens
CH658870A5 (de) Doppeldraht-zwirnspindel.
DE2163140B2 (de) Vorrichtung zum selbsttätigen Anspinnen an Ringspinnmaschinen
DE4408262C2 (de) Einrichtung zum Einstellen von Kapselfadenbremsen an Zwirnmaschinen, insbesondere Doppeldraht-Zwirnmaschinen
CH657157A5 (de) Fadenfuehrungsvorrichtung.
EP0448950A2 (de) Spindel zum Herstellen eines Fadens
DE2939435A1 (de) Fadenueberwachungseinrichtung
DE3310438C2 (de) Vorrichtung zur Veränderung des Durchmessers einer Ablaufhilfe für den Überkopfabzug eines auf eine Aufwickelspule aufzuwickelnden Fadens von einer Vorlagespule
DE1160340B (de) Doppeldrahtzwirnspindel mit Fadenspeicherrinne und im Fadenlauf vor dieser liegenden Fadenbremse
EP0031843B2 (de) Flyerflügel
DE4010019A1 (de) Spindel zum herstellen eines fadens
DE10151167A1 (de) Verfahren und Vorrichtung zum Kablieren oder Verzwirnen von mindestens zwei Fäden sowie Kablier- und/oder Doppeldrahtzwirn-Spindel zur Durchführung dieses Verfahrens
EP0383960B1 (de) Doppeldraht-Zwirnmaschine
DE3101146A1 (de) "spinnaggregat fuer eine umwindegarnspinnmaschine"
DE3741432C2 (de)
EP0464424B1 (de) Verfahren zum selbsttätigen Anpassen der Bremskraft einer in der Spindelhohlachse einer Doppeldraht-Zwirnspindel angeordneten Fadenbremse und mit einer entsprechenden Fadenbremse ausgerüstete Doppeldraht-Zwirnspindl
DE1510847C3 (de) Federnd nachgiebige Fadenbremse
DE2713624A1 (de) Verfahren und vorrichtung zum selbsttaetigen einfaedeln eines fadens in einen spinn- oder zwirnlaeufer
DE10324653B4 (de) Kabliermaschine und Kablierverfahren
DE19540790C1 (de) Zwirnspindel, insbesondere für eine mehrere Zwirnspindeln aufweisende Doppeldraht-Zwirnmaschine
DE3840376A1 (de) Vorrichtung zum ergreifen eines fadens nach einem fadenbruch bei einer doppeldrahtzwirnmaschine
CH399972A (de) Vorrichtung zur Verringerung der Fadenspannung
DE2234096B1 (de) Doppeldrahtzwirnmaschine mit handknoter

Legal Events

Date Code Title Description
PUAI Public reference made under article 153(3) epc to a published international application that has entered the european phase

Free format text: ORIGINAL CODE: 0009012

AK Designated contracting states

Kind code of ref document: A2

Designated state(s): DE ES FR GB IT

PUAL Search report despatched

Free format text: ORIGINAL CODE: 0009013

AK Designated contracting states

Kind code of ref document: A3

Designated state(s): DE ES FR GB IT

17P Request for examination filed

Effective date: 19920520

17Q First examination report despatched

Effective date: 19931014

STAA Information on the status of an ep patent application or granted ep patent

Free format text: STATUS: THE APPLICATION HAS BEEN WITHDRAWN

18W Application withdrawn

Withdrawal date: 19951021