EP0249066A2 - Zweischaliges Teleskopelement - Google Patents

Zweischaliges Teleskopelement Download PDF

Info

Publication number
EP0249066A2
EP0249066A2 EP87107330A EP87107330A EP0249066A2 EP 0249066 A2 EP0249066 A2 EP 0249066A2 EP 87107330 A EP87107330 A EP 87107330A EP 87107330 A EP87107330 A EP 87107330A EP 0249066 A2 EP0249066 A2 EP 0249066A2
Authority
EP
European Patent Office
Prior art keywords
cover plates
telescopic
telescopic part
wall
cams
Prior art date
Legal status (The legal status is an assumption and is not a legal conclusion. Google has not performed a legal analysis and makes no representation as to the accuracy of the status listed.)
Granted
Application number
EP87107330A
Other languages
English (en)
French (fr)
Other versions
EP0249066B1 (de
EP0249066A3 (en
Inventor
Karl Schüssler
Current Assignee (The listed assignees may be inaccurate. Google has not performed a legal analysis and makes no representation or warranty as to the accuracy of the list.)
Hueppe Form Sonnenschutz und Raumtrennsysteme GmbH
Original Assignee
Hueppe Form Sonnenschutz und Raumtrennsysteme GmbH
Hueppe GmbH
Priority date (The priority date is an assumption and is not a legal conclusion. Google has not performed a legal analysis and makes no representation as to the accuracy of the date listed.)
Filing date
Publication date
Application filed by Hueppe Form Sonnenschutz und Raumtrennsysteme GmbH, Hueppe GmbH filed Critical Hueppe Form Sonnenschutz und Raumtrennsysteme GmbH
Priority to AT87107330T priority Critical patent/ATE69282T1/de
Publication of EP0249066A2 publication Critical patent/EP0249066A2/de
Publication of EP0249066A3 publication Critical patent/EP0249066A3/de
Application granted granted Critical
Publication of EP0249066B1 publication Critical patent/EP0249066B1/de
Anticipated expiration legal-status Critical
Expired - Lifetime legal-status Critical Current

Links

Images

Classifications

    • EFIXED CONSTRUCTIONS
    • E04BUILDING
    • E04BGENERAL BUILDING CONSTRUCTIONS; WALLS, e.g. PARTITIONS; ROOFS; FLOORS; CEILINGS; INSULATION OR OTHER PROTECTION OF BUILDINGS
    • E04B2/00Walls, e.g. partitions, for buildings; Wall construction with regard to insulation; Connections specially adapted to walls
    • E04B2/74Removable non-load-bearing partitions; Partitions with a free upper edge
    • E04B2/82Removable non-load-bearing partitions; Partitions with a free upper edge characterised by the manner in which edges are connected to the building; Means therefor; Special details of easily-removable partitions as far as related to the connection with other parts of the building
    • EFIXED CONSTRUCTIONS
    • E04BUILDING
    • E04BGENERAL BUILDING CONSTRUCTIONS; WALLS, e.g. PARTITIONS; ROOFS; FLOORS; CEILINGS; INSULATION OR OTHER PROTECTION OF BUILDINGS
    • E04B2/00Walls, e.g. partitions, for buildings; Wall construction with regard to insulation; Connections specially adapted to walls
    • E04B2/74Removable non-load-bearing partitions; Partitions with a free upper edge
    • E04B2/82Removable non-load-bearing partitions; Partitions with a free upper edge characterised by the manner in which edges are connected to the building; Means therefor; Special details of easily-removable partitions as far as related to the connection with other parts of the building
    • E04B2/827Partitions constituted of sliding panels

Definitions

  • the invention relates to a two-shell telescopic element of a partition consisting of several horizontally movable wall elements, with a wall part with outer cover plates on a support frame, a telescopic part horizontally extendable on a vertical edge of the wall part with cover plates which overlap the cover plates of the wall part in the retracted position and accordingly run parallel running levels, with an upper and / or lower sealing strip between the cover plates of the wall and telescopic part and with an actuating mechanism between the cover plates for moving the telescopic part and the upper and / or lower sealing strip.
  • Movable, smooth partitions consist of several individual wall elements, which are movably suspended in track fixed to the ceiling by means of rollers.
  • the individual wall elements are released from a lock and moved along the running rail and stowed in a stowage area.
  • the wall elements are brought close together in the wall plane and braced by sealing strips, which are extended between the wall panels of the wall elements against the ceiling and / or the floor.
  • a telescopic element which consists of a wall part and a horizontally extendable side Telescopic part exists.
  • the telescopic part When the wall is closed, the telescopic part is extended horizontally, for example against a fixed building wall, in order to also brace the wall elements horizontally against one another and to close the available internal width of the relevant building opening without gaps.
  • the telescopic part is moved against a stop attached to the adjacent wall part if, instead of a fixed building wall, another partition or the like. connects, which must not be loaded with clamping forces.
  • a telescopic element of the type mentioned is known, in which the outer cover plates of the telescopic part overlap the cover plates of the adjacent wall part during the entire telescopic stroke; in particular, the cover plates of the telescopic part also overlap the adjacent cover plates of the wall part in the telescopic end position.
  • Demanding users often find the overlap joints annoying because they impair the visual harmony of the otherwise smooth partition wall and its change from wall elements and shadow joints.
  • telescopic elements are known in which the cover plates of the telescopic part are aligned with the cover plates of the wall part over the entire telescopic stroke, in which case a shadow gap is created when the telescopic part is extended, the width of which is approximately the same as the telescopic stroke and thus significantly wider than the regular shadow gaps of the partition .
  • the particularly wide shadow gap between the wall part and the telescopic part of the telescope elements disturbs the appearance of such partitions.
  • the object of the invention is therefore to develop a two-shell telescopic element of the type mentioned in such a way that the appearance of a partition wall is also appealing in the area of the telescopic part and does not interrupt the change of wall plates and shadow gaps.
  • this object is achieved in that the cover plates of the telescopic part are arranged movably on the telescopic part transversely to their main plane, run out of the overlap area formed with the cover plates of the wall part when the telescopic part extends, and transversely to the running levels by the actuating mechanism are movable into an end position aligned with the cover plates of the wall part.
  • the advantages of the invention are, in particular, that the cover plates of the telescopic part overlap the cover plates of the wall part in the retracted position and during the telescopic movement, that is to say they are moved in a running plane which lies in front of the outer surface of the cover plates.
  • the cover plates of the telescopic part leave the overlap area and are then moved at a desired horizontal distance, which corresponds to a desired shadow gap, in a transverse movement into the planes of the cover plates of the wall part.
  • the actuating mechanism preferably has swivel arms which can be swiveled about axes arranged horizontally and parallel to the cover plates of the telescopic part on the frame of the telescopic part.
  • the cover plates of the telescopic part are then attached to the swivel arms and can be swiveled inwards or outwards on the swivel arms transversely to their main plane.
  • the cover plates of the telescopic part can e.g. preload against each other with spring means, which pull the two cover plates into the wall plate levels when the cover plates are released accordingly in the extended position of the telescopic part.
  • the transverse movement of the cover plates of the telescopic part is preferably controlled by the actuating mechanism which lies between the cover plates for the horizontal extension of the telescopic part and subsequent vertical extension of the sealing strips.
  • Such an actuation mechanism has an externally accessible crankshaft, with which an internal threaded spindle can be driven, upon rotation of which a knee linkage moves horizontally, the free ends of which are attached to the telescopic part. If the telescopic part reaches the extended position and the crank and the threaded spindle are rotated further, the telescopic part comes to rest against a building wall or a stop fixed to the wall part.
  • Cams or contact rollers are preferably arranged on the vertical rods of the telescopic part and engage or disengage from control cams attached to the cover plates when the vertical rods are moved.
  • the cams move the cover plates into their flush end positions.
  • the cams then push the cover plates back outwards into the running levels.
  • the telescopic element 1 shows a perspective view of the two-shell telescopic element 1, which is suspended on rollers 1a in a ceiling rail 1b so as to be longitudinally displaceable.
  • the telescopic element 1 has a wall part 2, on the supporting frame 4 of which the rollers and outer plates 6 on both sides are fastened.
  • a telescopic part 20 is provided which extends over the entire height of the wall part 2 and from which a predetermined stroke can be extended horizontally.
  • the telescopic part 20 has cover plates 26 which partially overlap the cover plates 6 of the wall part 2 during the telescopic movement and run in corresponding, external, parallel running planes when the telescopic part moves horizontally.
  • an upper and a lower horizontal sealing strip 30 are provided, which can have a sealing strip section 30 'coupled to the telescopic part 20 and consequently participating in the movement of the telescopic part.
  • An actuating mechanism 40 is arranged between the cover plates 6 of the wall part 2, cf. 5, in particular, which moves the telescopic part 20 and the sealing strips 30 by means of a crank which can be attached from the outside.
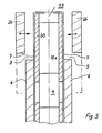
  • FIG. 2 shows a section along the line II-II of FIG. 1 with the telescopic part 20 partially extended (FIG. 2) and the telescopic part 20 fully extended before and after the transverse movement of the cover plates 26 (FIGS. 3 and 4 ).
  • the cover plates 26 of the According to these figures, the telescopic part 20 has such a horizontal length that when the telescopic part 20 extends, the cover plates 26 finally leave the overlap area to such an extent that the adjacent vertical edges of the cover plates 6 of the wall part 2 and the cover plates 26 of the telescopic part 20 are at a predetermined distance from one another, cf. . 3.
  • the cover plates 26 are movably arranged on the frame 22 of the telescopic part 20 and can be moved transversely to their main plane when the actuating mechanism 40 releases the cover plates 26 for a movement toward one another when the telescopic part is fully extended, cf. Fig. 4.
  • the cover plates 26 of the telescopic part 20 are then aligned in their end position with the cover plates 6 of the wall part 2.
  • the horizontal length of the cover plates 26 of the telescopic part 20 is preferably such that the between them and the cover plates 6 of the wall part 2 forming shadow gap 9 has the same width as the regular shadow gap between adjacent wall elements.
  • the cover plates 6 of the wall part 2 are deposited on the vertical edges facing the cover plates 26 of the telescopic part with thin cover strips 7, which represent the base of the shadow gaps 9.
  • the actuating mechanism 40 moves, cf. 5 to 9, the cover plates 26 from the end position shown in FIG. 4 away from one another into the position shown in FIG. 3, from which the telescopic part 20 can then start the horizontal movement back into the wall part 2.
  • An actuating mechanism 40 is arranged between the cover plates 6, 26, cf. 5 to 9, which has a crank block 41 with an externally accessible crankshaft, a horizontally mounted threaded spindle 44 which can be driven by the crankshaft and a toggle lever mechanism 46, 48 running on the threaded spindle by means of a threaded sleeve 45, the legs 46, 48 of which follow run up and down and are articulated to each other at an upper or lower hinge point by means of an axis 49.
  • the free ends 47 of the leg 48 protrude between the cover plates 26 of the telescopic part 20 and are articulated on the telescopic part 20.
  • the hinge axes 49 between the legs 46 and 48 of the knee joint linkage are firmly connected to horizontal bars 43, of which vertical rods 42 lead between the cover plates 6, 26 to the upper and lower sealing strips 30 in the telescopic part 20 to the corresponding sealing strip sections 30 ⁇ .
  • the crank mechanism 41 When the crank mechanism 41 is actuated by the user, the threaded spindle 44 is rotated, on which the threaded sleeve 45 and the knee joint linkage 46, 48, 49 together with the horizontal bars 43 and the telescopic part 20 extend horizontally.
  • the threaded spindle 44 is rotated, on which the threaded sleeve 45 and the knee joint linkage 46, 48, 49 together with the horizontal bars 43 and the telescopic part 20 extend horizontally.
  • the telescopic part 20 runs against a building-fixed or a wall-part-fixed stop, the comes Horizontal movement of the telescopic part 20 to a standstill.
  • the cover plates 26 of the telescopic part 20 are hinged to pivot arms 25 which are pivotally mounted about horizontal axes 24, the horizontal axes 24 extending parallel to the cover plates 26 and being fastened to the frame 22 of the telescopic part.
  • the cover plates 26 are biased against each other by means of a tension spring 27 which is attached to opposite pivot arms 25.
  • cams 54 with external contact rollers 55 are arranged at a predetermined height transversely to the cover plates 26.
  • Counter cams 56 which serve as guide curves for the cams 54 or their contact rollers 55, are fastened to the cover plates 26 at a corresponding height.
  • the counter cams 56 have control curves 57 which approach the cover plates 26 in a wedge shape in the area of the cams 54 of the upper vertical rod 42 and in the area of the cams 54 of the lower vertical rod 42 downwards.
  • the cams 54 carry out a corresponding upward or downward movement along the control curves 57, in the course of which the cover plates 26 - under the action of the tension spring 27 6 perform a transverse movement towards one another and finally reach their end position according to FIG. 7, in which they are aligned with the cover plates 6 of the wall part 2.
  • FIGS. 6 and 7 show two representations of a further embodiment of the invention corresponding to FIGS. 6 and 7, the same parts being provided with the same reference numerals in FIGS. 6 to 9.
  • the cams 54 are designed as control pins which are attached parallel to the cover plates 26 on the upper and lower vertical rods 42.
  • transverse flanges 59 are fastened, which are directed against the adjacent cover plate 26 and have control curves 57 in the form of recesses in which the cams 54 of the vertical rods 52 are positively guided.
  • only one control pin or cam 54 is attached directly to the vertical rods 52, and the associated transverse flanges 59 of the two cover plates 26 overlap in the area of the cams 54 to such an extent that the cams 54 simultaneously overlap in the two control curves 57 Cross flanges 59 are guided.
  • the gap-shaped control curves 57 in the transverse flanges 59 are shaped such that they approach the sealing strips closer to the cover plate 26 to which the relevant transverse flanges 59 are fastened. Therefore, if the vertical rods 42 are extended from the position shown in FIG. 8 with the sealing strips 30, 30 ⁇ against the ceiling or the floor, the cover plates 26 are moved towards one another under the positive guidance of the cam 54 and the control cams 57 and then take place in their End position at a position according to FIG. 9.

Landscapes

  • Engineering & Computer Science (AREA)
  • Architecture (AREA)
  • Electromagnetism (AREA)
  • Civil Engineering (AREA)
  • Structural Engineering (AREA)
  • Physics & Mathematics (AREA)
  • Specific Sealing Or Ventilating Devices For Doors And Windows (AREA)
  • Extensible Doors And Revolving Doors (AREA)
  • Building Environments (AREA)
  • Ladders (AREA)
  • Refuge Islands, Traffic Blockers, Or Guard Fence (AREA)
  • Recrystallisation Techniques (AREA)
  • Details Of Aerials (AREA)
  • Push-Button Switches (AREA)
  • Aiming, Guidance, Guns With A Light Source, Armor, Camouflage, And Targets (AREA)

Abstract

Es wird ein zweischaliges Teleskopelement (1) für eine bewegliche Trennwand angegeben, welches ein Wandteil (2) und ein horizontal ausfahrbares Teleskopteil (20) besitzt. Die Deckplatten (26) des Teleskopteils (20) sind quer zu ihrer Hauptebene beweglich am Teleskopteil angeordnet. Bei ausfahrendem Teleskopsteil (20) laufen die Deckplatten (26) aus dem mit den Deckplatten (6) des Wandteils (2) gebildeten Überlappungsbereich heraus und lassen sich von einer Betätigungsmechanik (40) quer zu den Laufebenen in eine mit den Deckplatten des Wandteils fluchtende Endstellung bringen.

Description

  • Die Erfindung betrifft ein zweischaliges Teleskop­element einer aus mehreren horizontal beweglichen Wandelementen bestehenden Trennwand, mit einem Wandteil mit aussenliegenden Deckplatten an einem Tragrahmen, einem an einer Vertikalkante des Wand­teils horizontal ausfahrbaren Teleskopteil mit Deckplatten, welche in der eingefahrenen Stellung die Deckplatten des Wandteils überlappen und in entsprechend parallelen Laufebenen laufen, mit einer oberen und/oder unteren Dichtleiste zwischen den Deckplatten des Wand- und Teleskopteils und mit einer Betätigungsmechanik zwischen den Deck­platten zum Verfahren des Teleskopteils und der oberen und/oder unteren Dichtleiste.
  • Bewegliche, glatte Trennwände bestehen aus mehreren einzelnen Wandelementen, die mittels Laufrollen in deckenfesten Laufschienen verfahrbar aufgehängt sind. Zum Öffnen bzw. zum Beseitigen der Trennwand werden die einzelnen Wandelemente aus einer Ver­riegelung gelöst und längs der Laufschiene verfahren und in einem Staubereich gestaut. Zum Schliessen der Trennwand werden die Wandelemente dicht anein­andergereiht in die Wandebene gebracht und durch Dichtleisten verspannt, welche zwischen den Wand­platten der Wandelemente gegen die Decke und/oder den Boden ausgefahren werden. Vorgesehen ist ferner an dem einen oder anderen seitlichen Ende der Trenn­wand ein Teleskopelement, welches aus einem Wand­teil und einem seitlich horizontal ausfahrbaren Teleskopteil besteht. Das Teleskopteil wird beim Schliessen der Wand horizontal z.B. gegen eine fest­stehende Gebäudewand ausgefahren, um die Wandele­mente auch horizontal gegeneinander zu verspannen und die verfügbare lichte Weite der betreffenden Gebäudeöffnung spaltfrei zu verschliessen. Alter­nativ wird das Teleskopteil gegen einen an dem angrenzenden Wandteil befestigten Anschlag ver­fahren, wenn statt einer feststehenden Gebäude­wand eine andere Trennwand o.dgl. anschliesst, die nicht mit Spannkräften belastet werden darf.
  • Aus der DE-OS 34 25 484 ist ein Teleskopelement der eingangs genannten Art bekannt, bei dem die aussen­liegenden Deckplatten des Teleskopteils die Deck­platten des angrenzenden Wandteils während des ge­samten Teleskopierhubes überlappen; insbesondere überlappen die Deckplatten des Teleskopteils auch in der teleskopierten Endstellung die angrenzenden Deckplatten des Wandteils. Die Überlappungsfugen empfinden anspruchsvolle Benutzer oftmals als stö­rend, da sie die optische Harmonie der ansonsten glatten Trennwand und deren Wechsel von Wandele­menten und Schattenfugen beeinträchtigen.
  • Alternativ sind Teleskopelemente bekannt, bei denen die Deckplatten des Teleskopteils über den gesamten Teleskopierhub mit den Deckplatten des Wandteils fluchten, bei denen also beim Ausfahren des Telesko­pierteils eine Schattenfuge entsteht, deren Breite etwa gleich dem Teleskopierhub und somit wesentlich breiter als die regulären Schattenfugen der Trenn­wand ist. Die besonders breite Schattenfuge zwischen dem Wandteil und dem Teleskopierteil des Teleskop­ elements stört das Aussehen derartiger Trennwände.
  • Aufgabe der Erfindung ist es daher, ein zweischa­liges Teleskopelement der eingangs genannten Art derart weiterzubilden, dass das Aussehen einer Trennwand auch im Bereich des Teleskopteils an­sprechend ist und den Wechsel von Wandplatten und Schattenfugen nicht unterbricht.
  • Diese Aufgabe wird bei dem Teleskopelement der eingangs genannten Art erfindungsgemäss dadurch gelöst, dass die Deckplatten des Teleskopteils quer zu ihrer Hauptebene beweglich am Teleskopteil angeordnet sind, bei ausfahrendem Teleskopteil aus dem mit den Deckplatten des Wandteils gebildeten Überlappungsbereich herauslaufen und von der Be­tätigungsmechanik quer zu den Laufebenen in eine mit den Deckplatten des Wandteils fluchtende End­stellung bewegbar sind.
  • Die Vorteile der Erfindung liegen insbesondere da­rin, dass die Deckplatten des Teleskopteils in der eingefahrenen Stellung und während der Teleskopier­bewegung die Deckplatten des Wandteils überlappen, also in einer Laufebene bewegt werden, die vor der Aussenfläche der Deckplatten liegt. Mit dem Errei­chen der ausgefahrenen Stellung verlassen die Deck­platten des Teleskopteils den Überlappungsbereich und werden dann in einem gewünschten horizontalen Abstand, welcher einer gewünschten Schattenfuge ent­spricht, in einer Querbewegung in die Ebenen der Deckplatten des Wandteils bewegt. Es entsteht auf diese Weise - auch im Bereich des Teleskopteils - eine stufenlose, glatte Aussenfläche der Trennwand und eine Schattenfuge, deren Breite etwa gleich der Breite der anderen, zwischen den Wandelementen vor­handenen Schattenfugen ist.
  • Bevorzugt weist die Betätigungsmechanik Schwenkarme auf, die um horizontal und parallel zu den Deck­platten des Teleskopteils am Rahmen des Teleskop­teils angeordnete Achsen schwenkbar sind. Die Deck­platten des Teleskopteils sind dann an den Schwenk­armen angebracht und lassen sich an den Schwenk­armen quer zu ihrer Hauptebene einwärts oder auswärts schwenken.
  • Die Deckplatten des Teleskopteils lassen sich z.B. mit Federmitteln gegeneinander vorspannen, welche die beiden Deckplatten in die Wandplattenebenen ziehen, wenn die Deckplatten in der ausgefahrenen Stellung des Teleskopteils entsprechend freigegeben werden.
  • Die Querbewegung der Deckplatten des Teleskopteils wird bevorzugt von der Betätigungsmechanik ge­steuert, welche zum horizontalen Ausfahren des Teleskopteils und anschliessenden vertikalen Aus­fahren der Dichtleisten zwischen den Deckplatten liegt. Eine derartige Betätigungsmechanik besitzt eine von aussen zugängliche Kurbelwelle, mit der eine innenliegende Gewindespindel antreibbar ist, bei deren Drehung ein Kniegestänge sich horizontal verschiebt, dessen freie Enden am Teleskopteil be­festigt sind. Erreicht das Teleskopteil die ausge­fahrene Position und wird die Kurbel und die Gewin­despindel weiter gedreht, so kommt das Teleskop­teil zur Anlage an einer Gebäudewand oder einem wandteilfesten Anschlag. Die auf der Gewindespindel laufende Lagerhülse des Kniegestänges bewegt sich je­doch weiter, so daß sich das Kniegestänge nach oben und unten auswinkelt und dabei entsprechende Hori­zontalholmen nach oben bzw. nach unten bewegt. Auf den Horizontalholmen sitzen Vertikalstangen im Tele­skopteil und im Wandteil, deren obere Enden Dicht­leisten gegen die Decke und den Boden andrücken.
  • Bevorzugt sind an den Vertikalstangen des Teleskop­teils Nocken oder Kontaktrollen angeordnet, die beim Verfahren der Vertikalstangen mit an den Deckplatten befestigten Steuerkurven in Eingriff bzw. außer Ein­griff gelangen. Beim Ausfahren der Dichtleisten be­wegen die Nocken die Deckplatten in ihre flächen­bündige Endstellung. Beim Einfahren der Dichtleisten drücken dann die Nocken die Deckplatten wieder nach außen in die Laufebenen zurück.
  • Vorteilhafte Weiterbildungen der Erfindung sind durch die Merkmale der Unteransprüche gekennzeichnet.
  • Im folgenden werden Ausführungsbeispiele der Erfin­dung anhand der Zeichnung näher erläutert.
  • Es zeigen:
    • Fig. 1 eine perspektivische Ansicht eines Teleskop­elements mit teilweise ausgefahrenem Tele­skopteil;
    • Fig. 2 einen Schnitt längs der Linie II-II der Fig. 1;
    • Fig. 3 einen Schnitt längs der Linie II-II der Fig. 1 bei vollständig ausgefahrenem Teleskop­teil, vor der Querbewegung der Teleskop­teil-Deckplatten in die flächenbündige Endlage;
    • Fig. 4 einen Schnitt längs der Linie II-II der Fig. 1 bei vollständig ausgefahrenem Teleskop­teil, nach der Querbewegung der Teleskop­teil-Deckplatten in ihre flächenbündige End­lage;
    • Fig. 5 eine Seitenansicht des Teleskopelements mit an der Vorderseite abgenommenen Deckplatten des Wandteils und des Teleskopteils; und
    • Fig. 6 einen Schnitt längs der Linie V-V der Fig. 4, bei vollständig ausgefahrenem Teleskop­teil, vor der Querbewegung der Teleskop­teil-Deckplatten in die flächenbündige End­lage;
    • Fig. 7 die Darstellung gemäß Fig. 6 jedoch nach der Querbewegung der Teleskopteil-Deckplatten in ihre flächenbündige Endlage;
    • Fig. 8 eine der Fig. 6 entsprechende Darstellung einer zweiten Ausführungsform; und
    • Fig. 9 eine der Fig. 7 entsprechende Darstellung der zweiten Ausführungsform.
  • Fig. 1 zeigt eine perspektivische Ansicht des zwei­schaligen Teleskopelements 1, welches an Laufrollen 1a in einer Deckenschiene 1b längsverschiebbar aufge­hängt ist. Das Teleskopelement 1 besitzt ein Wandteil 2, an dessen Tragrahmen 4 die Laufrollen und beid­seitig außenliegende Deckplatten 6 befestigt sind. An einer Vertikalkante des Wandteils 2 ist ein Teleskop­teil 20 vorgesehen, welches sich über die gesamte Höhe des Wandteils 2 erstreckt und von diesem hori­zontal einen vorgegebenen Hub ausfahrbar ist. Das Teleskopteil 20 besitzt Deckplatten 26, die die Deck­platten 6 des Wandteils 2 während der Teleskopierbe­wegung teilweise überlappen und in entsprechenden, außenliegenden, parallelen Laufebenen laufen, wenn das Teleskopteil sich horizontal bewegt. Zwischen den Deckplatten 6 des Wandteils 2 und den Deckplatten 26 des Teleskopteils 20 sind je eine obere und eine untere horizontale Dichtleiste 30 vorgesehen, welche einen mit dem Teleskopteil 20 gekoppelten und folg­lich die Teleskopteil-Bewegung mitmachenden Dicht­leistenabschnitt 30ʹ besitzen kann. Zwischen den Deckplatten 6 des Wandteils 2 ist eine Betätigungs­mechanik 40 angeordnet, vgl. insbesondere Fig. 5, welche mittels einer von außen ansetzbaren Kurbel das Teleskopteil 20 und die Dichtleisten 30 verfährt.
  • Die Fig. 2, 3 und 4 zeigen einen Schnitt längs der Linie II-II der Fig. 1 bei teilweise ausgefahrenem Teleskopteil 20 (Fig. 2) und ganz ausgefahrenem Tele­skopteil 20 vor und nach der Querbewegung der Deck­platten 26 (Fig. 3 und 4). Die Deckplatten 26 des Teleskopteils 20 besitzen gemäß diesen Figuren eine solche horizontale Länge, daß die Deckplatten 26 bei ausfahrendem Teleskopteil 20 schließlich den Über­lappungsbereich soweit verlassen, daß die einander benachbarten Vertikalkanten der Deckplatten 6 des Wandteils 2 und der Deckplatten 26 des Teleskopteils 20 einen vorgegebenen Abstand voneinander einnehmen, vgl. Fig. 3. Die Deckplatten 26 sind am Rahmen 22 des Teleskopteils 20 beweglich angeordnet und lassen sich quer zu ihrer Hauptebene bewegen, wenn die Betäti­gungsmechanik 40 - bei vollständig ausgefahrenem Teleskopteil - die Deckplatten 26 für eine aufein­ander zu gerichtete Bewegung freigibt, vgl. Fig. 4. Die Deckplatten 26 des Teleskopteils 20 fluchten dann in ihrer Endstellung mit den Deckplatten 6 des Wand­teils 2. Die horizontale Länge der Deckplatten 26 des Teleskopteils 20 ist dabei bevorzugt so bemessen, daß die sich zwischen ihnen und den Deckplatten 6 des Wandteils 2 bildende Schattenfuge 9 die gleiche Breite besitzt wie die reguläre Schattenfuge zwischen einander benachbarten Wandelementen. Die Deckplatten 6 des Wandteils 2 sind an den den Deckplatten 26 des Teleskopteils zugewandten Vertikalkanten mit dünnen Abdeckstreifen 7 hinterlegt, welche die Basis der Schattenfugen 9 darstellen. Beim Einfahren des Tele­skopteils 20 bewegt die Betätigungsmechanik 40, vgl. die Fig. 5 bis 9, die Deckplatten 26 aus der in Fig. 4 gezeigten Endlage voneinander weg in die in Fig. 3 dargestellte Position, von der aus das Teleskopteil 20 dann die Horizontalbewegung zurück in das Wandteil 2 beginnen kann.
  • Zwischen den Deckplatten 6, 26 ist eine Betätigungs­mechanik 40 angeordnet, vgl. die Fig. 5 bis 9, welche einen Kurbelblock 41 mit einer von außen zugänglichen Kurbelwelle, eine horizontal gelagerte, von der Kurbelwelle antreibbare Gewindespindel 44 und eine mittels einer Gewindehülse 45 auf der Gewindespindel laufende Kniehebelmechanik 46, 48 besitzt, deren Schenkel 46, 48 nach oben und nach unten verlaufen und an einem oberen bzw. unteren Gelenkpunkt mittels einer Achse 49 miteinander gelenkig gekoppelt sind. Die freien Enden 47 des Schenkels 48 ragen zwischen die Deckplatten 26 des Teleskopteils 20 hinein und sind am Teleskopteil 20 angelenkt. Vorgesehen sind ferner am Tragrahmen 4 befestigte Horizontalführungen 45, in denen Führungsstangen 45a verschiebbar ge­lagert sind, die ebenfalls am Teleskopteil befestigt sind, um dieses bei der Teleskopierbewegung stabil zu führen.
  • Die Gelenkachsen 49 zwischen den Schenkeln 46 und 48 des Kniegelenkgestänges sind fest mit Horizontal­holmen 43 verbunden, von denen Vertikalstangen 42 zwischen den Deckplatten 6, 26 zu den oberen und unteren Dichtleisten 30 im Teleskopteil 20 zu den entsprechenden Dichtleistenabschnitten 30ʹ führen. Beim Betätigen des Kurbelgetriebes 41 durch den Be­nutzer wird die Gewindespindel 44 gedreht, auf der sich dadurch die Gewindehülse 45 und das Kniegelenk­gestänge 46, 48, 49 zusammen mit den Horizontalholmen 43 und dem Teleskopteil 20 horizontal ausfährt. So­bald das Teleskopteil 20 gegen einen gebäudefesten oder einen wandteilfesten Anschlag anläuft, kommt die Horizontalbewegung des Teleskopteils 20 zum Still­stand. Bei weiterer Betätigung des Kurbelgetriebes 41 hält jedoch die Horizontalverschiebung der Gewinde­hülse 45 an, woraufhin sich das Kniegelenkgetänge stärker nach oben bzw. nach unten auswinkelt und da­durch die Horizontalholme 43 aufwärtsbzw. abwärtsbe­wegt. Die Bewegung der Horizontalholme 43 wird über die Vertikalstangen 42 auf die Dichtleisten 30, und die Dichtleistenabschnitte 30ʹ übertragen, die da­durch gegen die Decke bzw. den Boden fahren.
  • Gemäß den Fig. 6 und 7 sind die Deckplatten 26 des Teleskopteils 20 an Schwenkarmen 25 angelenkt, die um horizontale Achsen 24 schwenkbar gelagert sind, wobei die horizontalen Achsen 24 sich parallel zu den Deck­platten 26 erstrecken und am Rahmen 22 des Teleskop­teils befestigt sind. Die Deckplatten 26 sind mittels einer Zugfeder 27, die an gegenüberliegenden Schwenk­armen 25 befestigt ist, gegeneinander vorgespannt. An den im Teleskopteil 20 vertikal verschiebbar gelager­ten Vertikalstangen 42 sind in vorgegebener Höhe quer zu den Deckplatten 26 hin gerichtete Nocken 54 mit äußeren Kontaktrollen 55 angeordnet. An den Deck­platten 26 sind in entsprechender Höhe Gegennocken 56 befestigt, welche als Führungskurven für die Nocken 54 bzw. deren Kontaktrollen 55 dienen. Die Gegen­nocken 56 besitzen Steuerkurven 57, die sich im Be­reich der Nocken 54 der oberen Vertikalstange 42 nach oben hin und im Bereich der Nocken 54 der unteren Vertikalstange 42 nach unten hin den Deckplatten 26 keilförmig annähern.
  • Bei der durch die Betätigungsmechanik 40 ausgelösten Aufwärtsbewegung der oberen Vertikalstange 40 und der gleichzeitigen Abwärtsbewegung der unteren Vertikal­stange 42 führen die Nocken 54 eine entsprechende Aufwärts- bzw. Abwärtsbewegung längs der Steuerkurven 57 durch, im Verlauf derer die Deckplatten 26 - unter der Wirkung der Zugfeder 27 - aus der Stellung gemäß Fig. 6 eine aufeinander zu gerichtete Querbewegung ausführen und schließlich in ihre Endstellung gemäß Fig. 7 gelangen, in welcher sie mit den Deckplatten 6 des Wandteils 2 fluchten.
  • Werden dagegen die Dichtleisten 30, 30ʹ eingefahren, so bewegt sich die obere Vertikalstange 42 mit der oberen Dichtleiste 30, 30ʹ nach unten, die untere Vertikalstange 42 mit der unteren Dichtleiste 30, 30ʹ nach oben. Diese Bewegung wird mittels der Nocken 54 und der Steuerkurven 57 der Gegennocken 56 in eine voneinander weg gerichtete Querbewegung der Deck­platten 26 umgesetzt, die dadurch aus der Position gemäß Fig. 6 in ihre Laufebenen gemäß Fig. 7 ge­schwenkt werden, in der die Deckplatten 6 des Wand­teils 2 außen überlappend parallel zueinander ver­laufen. Aus dieser Zwischenposition läßt sich dann das Teleskopteil 20 in den Wandteil 2 zurückkurbeln, wobei die Deckplatten 26 wieder in Überlappung mit den Deckplatten 6 des Wandteils 2 gelangen.
  • Die Fig. 8 und 9 zeigen zwei den Fig. 6 und 7 ent­sprechende Darstellungen einer weiteren Ausführungs­form der Erfindung, wobei in den Fig. 6 bis 9 gleiche Teile mit denselben Bezugszeichen versehen sind. In der Ausführungsform gemäß den Fig. 8 und 9 sind die Nocken 54 als Steuerstifte ausgebildet, welche parallel zu den Deckplatten 26 an der oberen und der unteren Vertikalstange 42 angebracht sind. An der Innenfläche der Deckplatten 26 sind - in Höhe der Nocken 54 - Querflansche 59 befestigt, welche gegen die benachbarte Deckplatte 26 gerichtet sind und Steuerkurven 57 in Form von Ausnehmungen aufweisen, in denen die Nocken 54 der Vertikalstangen 52 zwangs­geführt sind. In der dargestellten Ausführungsform ist jeweils nur ein Steuerstift oder Nocken 54 direkt an den Vertikalstangen 52 angebracht, und die zuge­ordneten Querflansche 59 der beiden Deckplatten 26 überlappen sich im Bereich der Nocken 54 soweit, daß die Nocken 54 gleichzeitig in den beiden Steuerkurven 57 der sich überlappenden Querflansche 59 geführt sind. Die spaltförmigen Steuerkurven 57 in den Quer­flanschen 59 sind so geformt, daß sie sich zu den Dichtleisten hin stärker an die Deckplatte 26 an­nähern, an welcher der betreffende Querflansche 59 befestigt ist. Wenn daher die Vertikalstangen 42 aus der Position gemäß Fig. 8 mit den Dichtleisten 30, 30ʹ gegen die Decke bzw. den Boden ausgefahren wer­den, werden die Deckplatten 26 unter der Zwangs­führung des Nocken 54 und der Steuerkurven 57 aufein­ander zu bewegt und nehmen dann in ihrer Endlage eine Position gemäß Fig. 9 an.

Claims (8)

1. Zweischaliges Teleskopelement einer aus mehreren horizontal beweglichen Wandelementen bestehenden Trennwand,
mit einem Wandteil mit außenliegenden Deckplatten an einem Tragrahmen,
einem an einer Vertikalkante des Wandteils horizontal ausfahrbaren Teleskopteil mit Deckplatten, welche in der eingefahrenen Stellung die Deckplatten des Wand­teils überlappen und in entsprechend parallelen Lauf­ebenen laufen, mit einer oberen und/oder unteren Dichtleiste zwischen den Deckplatten des Wand- und Teleskopteils und mit einer Betätigungsmechanik zwischen den Deckplatten zum Verfahren des Teleskop­teils und der oberen und/oder unteren Dichtleiste, dadurch gekennzeichnet, daß die Deckplatten (26) des Teleskopteils (20) quer zu ihrer Hauptebene beweglich am Teleskopteil (20) angeordnet sind, bei ausfahren­dem Teleskopteil (20) aus dem mit den Deckplatten (6) des Wandteils (2) gebildeten Überlappungsbereich herauslaufen und von der Betätigungsmechanik (40) quer zu den Laufebenen in eine mit den Deckplatten (6) des Wandteils (2) fluchtende Endstellung bewegbar sind.
2. Zweischaliges Teleskopelement nach Anspruch 1, dadurch gekennzeichnet, daß die Betätigungsmechanik (40) Schwenkarme (25) aufweist, die um horizontal und parallel zu den Deckplatten (26) des Teleskopteils (20) am Rahmen (22) des Teleskopteils (20) angeord­nete Achsen (24) schwenkbar sind und daß die Deck­platten (26) des Teleskopteils (20) an den Schwenk­armen (25) schwenkbar angebracht sind.
3. Zweischaliges Teleskopelement nach Anspruch 1 oder 2, dadurch gekennzeichnet, daß die Deckplatten (26) des Teleskopteils (20) mit Federmitteln (27) gegeneinander vorgespannt sind.
4. Zweischaliges Teleskopelement nach Anspruch 3, dadurch gekennzeichnet, daß die Federmittel (27) mindestens eine Zugfeder enthalten, die zwischen die Deckplatten (26) des Teleskopteils (20) gespannt ist.
5. Zweischaliges Teleskopelement nach Anspruch 1 oder 2, dessen Betätigungsmechanik Vertikalstangen im Wandteil und im Teleskopteil zum Verfahren der Dicht­ leisten enthält, dadurch gekennzeichnet, daß an den Vertikalstangen (42) des Teleskopteils (20) Nocken (54) angeordnet sind, die beim Verfahren der Verti­kalstangen (42) mit Steuerkurven (37) an den Deck­platten (26) des Teleskopteils (20) in bzw. außer Eingriff gelangen.
6. Zweischaliges Teleskopelement nach Anspruch 5, dadurch gekennzeichnet, daß die Nocken (54) die Deck­platten (26) des Teleskopteils (20) beim Einfahren der Dichtleisten (30) gegen die Wirkung der Schwer­kraft und/oder der Federmittel (27) nach außen in die Laufebenen drücken und beim Ausfahren der Dicht­leisten (30) in die mit den Deckplatten (6) des Wand­teils (2) fluchtende Endstellung freigeben.
7. Zweischaliges Teleskopelement nach Anspruch 5 oder 6, dadurch gekennzeichnet, daß die Nocken (54) gegen die Deckplatten (26) des Teleskopteils (20) ge­richtet sind, und daß die Steuerkurven (57) innensei­tig an den Deckplatten (26) angebracht sind und sich zu den Dichtleisten (30) hin zunehmend den Deck­platten (26) annähern.
8. Zweischaliges Teleskopelement nach Anspruch 5 oder 6, dadurch gekennzeichnet, daß die Nocken (54) als Steuerstifte ausgebildet sind und parallel zu den Deckplatten (26) verlaufen, und daß an den Deck­platten (26) Querflansche (59) befestigt sind, die gegen die benachbarten Deckplatten (26) gerichtet sind und die Steuerkurven (57) in Form von Aus­nehmungen besitzen, in denen die Steuerstifte der Vertikalstange (42) zum Erzwingen der Querbewegung der Deckplatten (26) zwangsgeführt sind.
EP87107330A 1986-06-09 1987-05-20 Zweischaliges Teleskopelement Expired - Lifetime EP0249066B1 (de)

Priority Applications (1)

Application Number Priority Date Filing Date Title
AT87107330T ATE69282T1 (de) 1986-06-09 1987-05-20 Zweischaliges teleskopelement.

Applications Claiming Priority (2)

Application Number Priority Date Filing Date Title
DE3619393 1986-06-09
DE19863619393 DE3619393A1 (de) 1986-06-09 1986-06-09 Zweischaliges teleskopelement fuer eine bewegliche trennwand

Publications (3)

Publication Number Publication Date
EP0249066A2 true EP0249066A2 (de) 1987-12-16
EP0249066A3 EP0249066A3 (en) 1990-05-30
EP0249066B1 EP0249066B1 (de) 1991-11-06

Family

ID=6302630

Family Applications (1)

Application Number Title Priority Date Filing Date
EP87107330A Expired - Lifetime EP0249066B1 (de) 1986-06-09 1987-05-20 Zweischaliges Teleskopelement

Country Status (7)

Country Link
US (1) US4841689A (de)
EP (1) EP0249066B1 (de)
JP (1) JPH0781349B2 (de)
AT (1) ATE69282T1 (de)
AU (1) AU7404187A (de)
DE (2) DE3619393A1 (de)
ES (1) ES2027253T3 (de)

Cited By (5)

* Cited by examiner, † Cited by third party
Publication number Priority date Publication date Assignee Title
DE3914744A1 (de) * 1989-05-05 1990-11-08 Abopart Viol Partner Gmbh Teleskopelement fuer eine trennwand
EP1070822A3 (de) * 1999-07-19 2003-06-25 DORMA GmbH + Co. KG Ortsveränderbare Wand
WO2011073421A1 (de) * 2009-12-18 2011-06-23 Gunter Seidel Wandelement
CN104481060A (zh) * 2014-12-02 2015-04-01 东南大学 全预制快速装配式轻钢龙骨承重复合墙体
EP3101191A1 (de) * 2015-06-01 2016-12-07 DORMA Deutschland GmbH Teleskopelement für eine verfahrbare trennwand

Families Citing this family (20)

* Cited by examiner, † Cited by third party
Publication number Priority date Publication date Assignee Title
DE8801936U1 (de) * 1988-02-15 1988-03-31 MAHO AG, 8962 Pfronten Messe- und Ausstellungs-Kabine
US5297368A (en) * 1992-05-11 1994-03-29 Okada Paul M Movable wall system
CA2101110A1 (en) * 1992-07-23 1994-01-24 Kenneth James Macquarrie Expandable office panel
US5577348A (en) * 1993-05-25 1996-11-26 Rosconi Ag Partition wall with sliding termination panel
US5927038A (en) * 1996-07-22 1999-07-27 Goldberg; William S. Expandable self-locking frame
US5791094A (en) * 1997-01-09 1998-08-11 Diverse Industries, Inc. Movable wall for ball court
EP0911455B1 (de) * 1997-10-20 2005-03-23 Panelock Systems Limited Möbelstück
DE19900875C2 (de) * 1999-01-13 2001-05-17 Dorma Gmbh & Co Kg Verriegelungsvorrichtung für eine Türanlage
DE19932897C2 (de) * 1999-07-19 2001-08-16 Dorma Gmbh & Co Kg Mobile Trennwand
GB2359830A (en) * 2000-03-04 2001-09-05 Steelspace Lydney Ltd Partitioning system with gripping elements locatable against opposing surfaces
US6889473B2 (en) * 2002-04-20 2005-05-10 Fire Facilities, Inc. Firefighter training building having a reconfigurable floor plan
US7707790B2 (en) * 2003-06-12 2010-05-04 Steelcase Inc. Office system
DE102006013120B3 (de) * 2006-03-17 2007-08-16 RENOPLAN Mobilwände GmbH Mobile Trennwand
US7934611B2 (en) * 2008-04-04 2011-05-03 Target Brands, Inc. Rack accessories
EP2224076B1 (de) * 2009-02-27 2013-06-05 M-T Patents GmbH Tribüne
US10233635B2 (en) * 2014-01-15 2019-03-19 Ds Product Service Limited Temporary wall element
CN104522296A (zh) * 2014-12-30 2015-04-22 安徽五粮泰生物工程股份有限公司 一种速溶酶解、发酵和乳化饲料的制备方法
CN104814258A (zh) * 2015-05-06 2015-08-05 安徽五粮泰生物工程股份有限公司 一种诱食型酵解糖蜜饲料的制备方法
TWM574165U (zh) * 2018-08-30 2019-02-11 臺拓國際實業有限公司 滾輪式輕隔間牆
CN110318486B (zh) * 2019-08-05 2024-04-26 要要股份有限公司 一种保温隔音伸缩墙及其工作方法

Family Cites Families (14)

* Cited by examiner, † Cited by third party
Publication number Priority date Publication date Assignee Title
US3341992A (en) * 1964-10-07 1967-09-19 Robert Haws Co Portable room dividing panel
US3327439A (en) * 1964-10-21 1967-06-27 Ralph W Eatough Wall panel locking actuator
US3638376A (en) * 1970-01-05 1972-02-01 Hough Mfg Corp Portable partition
DE2438982C2 (de) * 1974-08-14 1976-09-09 Hueppe Justin Fa Versetzbare trennwand aus mindestens einem raumhohen, zweischaligen wandelement
US4014137A (en) * 1976-03-08 1977-03-29 Hough Manufacturing Corporation Drop action panel arrangement for operable partitions
JPS5428411A (en) * 1977-08-04 1979-03-03 Kouji Unayama Device for fixing room partition wall
DE2836126A1 (de) * 1978-08-18 1980-02-28 Vki Rheinhold & Mahla Ag Anschlussbausatz fuer trennwaende und zweischalige demontierbare trennwand mit anschlusselement.
SU842162A1 (ru) * 1979-08-23 1981-06-30 Ордена Трудового Красного Знамени Централь-Ный Научно-Исследовательский И Проектныйинститут Строительных Металлоконструкций"Цниипроектстальконструкция" Составной стержень
GB2094366A (en) * 1981-03-09 1982-09-15 Saward Peter Cole Extending and retracting a collapsible section of a sliding room-divider panel
CH658090A5 (de) * 1982-11-16 1986-10-15 Karl Haab Wandelement mit einer abdichtungsvorrichtung und aus diesen bestehende trennwand.
US4462192A (en) * 1982-06-01 1984-07-31 American Standard, Inc. Seal assembly
DE3239485A1 (de) * 1982-10-25 1984-05-03 Rüterbau GmbH, 3012 Langenhagen U-foermiges anschlussstueck fuer wandelemente
DE3302032A1 (de) * 1983-01-22 1984-07-26 Aboplan Viol & Partner GmbH, 2900 Oldenburg Versetzbare trennwand aus wandelementen
DE3425484A1 (de) * 1984-07-11 1986-01-23 aboplan Viol und Partner GmbH, 2903 Bad Zwischenahn Versetzbare trennwand aus wandelementen und verfahren zur herstellung und demontage der wandelemente

Cited By (5)

* Cited by examiner, † Cited by third party
Publication number Priority date Publication date Assignee Title
DE3914744A1 (de) * 1989-05-05 1990-11-08 Abopart Viol Partner Gmbh Teleskopelement fuer eine trennwand
EP1070822A3 (de) * 1999-07-19 2003-06-25 DORMA GmbH + Co. KG Ortsveränderbare Wand
WO2011073421A1 (de) * 2009-12-18 2011-06-23 Gunter Seidel Wandelement
CN104481060A (zh) * 2014-12-02 2015-04-01 东南大学 全预制快速装配式轻钢龙骨承重复合墙体
EP3101191A1 (de) * 2015-06-01 2016-12-07 DORMA Deutschland GmbH Teleskopelement für eine verfahrbare trennwand

Also Published As

Publication number Publication date
EP0249066B1 (de) 1991-11-06
ATE69282T1 (de) 1991-11-15
ES2027253T3 (es) 1992-06-01
JPS6375238A (ja) 1988-04-05
JPH0781349B2 (ja) 1995-08-30
DE3619393C2 (de) 1988-07-28
DE3774330D1 (de) 1991-12-12
EP0249066A3 (en) 1990-05-30
US4841689A (en) 1989-06-27
AU7404187A (en) 1987-12-10
DE3619393A1 (de) 1987-12-10

Similar Documents

Publication Publication Date Title
EP0249066B1 (de) Zweischaliges Teleskopelement
EP2041385B1 (de) Vorrichtung für schiebetore oder schiebetüren
DE3512201C2 (de)
EP0249765A2 (de) Zweischaliges Teleskopelement einer beweglichen Trennwand
DE3636979C2 (de)
DE68907768T2 (de) Faltwand, bestehend aus miteinander gelenkig verbundenen doppelwandigen Flügeln.
DE2511337B2 (de) Horizontalschiebefenster
CH624289A5 (de)
DE2652183C3 (de) Verschiebbar an einer Raumdecke aufgehängte Faltwand
DE2138101C3 (de) Oberlichtöffner mit zwei spiegelbildlich zwischen Blendrahmen und Flügel angeordneten Ausstellarmen
DE3504025A1 (de) Falzgetriebe fuer den unterschlagenden fluegel zweifluegeliger, setzholzloser fenster oder tueren
DE19728713C2 (de) Spritzwassergeschützter elektromotorischer Beschlag
DE3125359C2 (de) Halterung für faltbare Flügelanordnungen, insbesondere für Falttüren an Möbelstücken
CH688593A5 (de) Faltbare Vorrichtung zum Verschliessen von Gebaeude oeffnungen, insbesondere fuer ein Faltdach oder Falttor.
DE4125069A1 (de) Trennwand fuer eine runddusche
DE4031519C2 (de) Duschabtrennung in Form einer mehrteiligen Falttür
DE7246258U (de) Beschlag fuer aus metall- oder kunststoffprofilen gefertigte fenster und tueren od.dgl.
DE19825071A1 (de) Parallelausstellfenster mit Drehfunktion
DE3942781C1 (en) Dividing wall element - is operated by top and bottom powered actuator with pusher moved in and out of element endfaces
EP2500496B1 (de) Türanordnung
AT403241B (de) Trennwand für eine runddusche
DE7908685U1 (de) Gleit-falt-system-trennwand
DE2814609A1 (de) Faltbare tuer oder wand
EP0150806A2 (de) Faltwand
DE3603614A1 (de) Ausziehtisch

Legal Events

Date Code Title Description
PUAI Public reference made under article 153(3) epc to a published international application that has entered the european phase

Free format text: ORIGINAL CODE: 0009012

AK Designated contracting states

Kind code of ref document: A2

Designated state(s): AT BE CH DE ES FR GB GR IT LI LU NL SE

RAP1 Party data changed (applicant data changed or rights of an application transferred)

Owner name: HUEPPE FORM SONNENSCHUTZ- UND RAUMTRENNSYSTEME GMB

PUAL Search report despatched

Free format text: ORIGINAL CODE: 0009013

AK Designated contracting states

Kind code of ref document: A3

Designated state(s): AT BE CH DE ES FR GB GR IT LI LU NL SE

17P Request for examination filed

Effective date: 19900711

17Q First examination report despatched

Effective date: 19910410

GRAA (expected) grant

Free format text: ORIGINAL CODE: 0009210

AK Designated contracting states

Kind code of ref document: B1

Designated state(s): AT BE CH DE ES FR GB GR IT LI LU NL SE

PG25 Lapsed in a contracting state [announced via postgrant information from national office to epo]

Ref country code: GR

Free format text: LAPSE BECAUSE OF FAILURE TO SUBMIT A TRANSLATION OF THE DESCRIPTION OR TO PAY THE FEE WITHIN THE PRESCRIBED TIME-LIMIT

Effective date: 19911106

REF Corresponds to:

Ref document number: 69282

Country of ref document: AT

Date of ref document: 19911115

Kind code of ref document: T

ITF It: translation for a ep patent filed
ET Fr: translation filed
REF Corresponds to:

Ref document number: 3774330

Country of ref document: DE

Date of ref document: 19911212

GBT Gb: translation of ep patent filed (gb section 77(6)(a)/1977)
REG Reference to a national code

Ref country code: ES

Ref legal event code: FG2A

Ref document number: 2027253

Country of ref document: ES

Kind code of ref document: T3

PLBE No opposition filed within time limit

Free format text: ORIGINAL CODE: 0009261

STAA Information on the status of an ep patent application or granted ep patent

Free format text: STATUS: NO OPPOSITION FILED WITHIN TIME LIMIT

26N No opposition filed
PGFP Annual fee paid to national office [announced via postgrant information from national office to epo]

Ref country code: LU

Payment date: 19930705

Year of fee payment: 7

EPTA Lu: last paid annual fee
PG25 Lapsed in a contracting state [announced via postgrant information from national office to epo]

Ref country code: LU

Free format text: LAPSE BECAUSE OF NON-PAYMENT OF DUE FEES

Effective date: 19940520

EAL Se: european patent in force in sweden

Ref document number: 87107330.0

REG Reference to a national code

Ref country code: GB

Ref legal event code: IF02

PG25 Lapsed in a contracting state [announced via postgrant information from national office to epo]

Ref country code: IT

Free format text: LAPSE BECAUSE OF NON-PAYMENT OF DUE FEES;WARNING: LAPSES OF ITALIAN PATENTS WITH EFFECTIVE DATE BEFORE 2007 MAY HAVE OCCURRED AT ANY TIME BEFORE 2007. THE CORRECT EFFECTIVE DATE MAY BE DIFFERENT FROM THE ONE RECORDED.

Effective date: 20050520

PGFP Annual fee paid to national office [announced via postgrant information from national office to epo]

Ref country code: SE

Payment date: 20060512

Year of fee payment: 20

PGFP Annual fee paid to national office [announced via postgrant information from national office to epo]

Ref country code: NL

Payment date: 20060515

Year of fee payment: 20

Ref country code: CH

Payment date: 20060515

Year of fee payment: 20

Ref country code: AT

Payment date: 20060515

Year of fee payment: 20

PGFP Annual fee paid to national office [announced via postgrant information from national office to epo]

Ref country code: FR

Payment date: 20060519

Year of fee payment: 20

Ref country code: DE

Payment date: 20060519

Year of fee payment: 20

PGFP Annual fee paid to national office [announced via postgrant information from national office to epo]

Ref country code: GB

Payment date: 20060522

Year of fee payment: 20

PGFP Annual fee paid to national office [announced via postgrant information from national office to epo]

Ref country code: ES

Payment date: 20060530

Year of fee payment: 20

PGFP Annual fee paid to national office [announced via postgrant information from national office to epo]

Ref country code: BE

Payment date: 20060616

Year of fee payment: 20

PG25 Lapsed in a contracting state [announced via postgrant information from national office to epo]

Ref country code: NL

Free format text: LAPSE BECAUSE OF EXPIRATION OF PROTECTION

Effective date: 20070520

PG25 Lapsed in a contracting state [announced via postgrant information from national office to epo]

Ref country code: ES

Free format text: LAPSE BECAUSE OF EXPIRATION OF PROTECTION

Effective date: 20070521

REG Reference to a national code

Ref country code: GB

Ref legal event code: PE20

REG Reference to a national code

Ref country code: CH

Ref legal event code: PL

NLV7 Nl: ceased due to reaching the maximum lifetime of a patent

Effective date: 20070520

EUG Se: european patent has lapsed
REG Reference to a national code

Ref country code: ES

Ref legal event code: FD2A

Effective date: 20070521

PG25 Lapsed in a contracting state [announced via postgrant information from national office to epo]

Ref country code: GB

Free format text: LAPSE BECAUSE OF EXPIRATION OF PROTECTION

Effective date: 20070519

BE20 Be: patent expired

Owner name: *HUPPE FORM SONNENSCHUTZ- UND RAUMTRENNSYSTEME G.M

Effective date: 20070520