EP0249765A2 - Zweischaliges Teleskopelement einer beweglichen Trennwand - Google Patents

Zweischaliges Teleskopelement einer beweglichen Trennwand Download PDF

Info

Publication number
EP0249765A2
EP0249765A2 EP87107437A EP87107437A EP0249765A2 EP 0249765 A2 EP0249765 A2 EP 0249765A2 EP 87107437 A EP87107437 A EP 87107437A EP 87107437 A EP87107437 A EP 87107437A EP 0249765 A2 EP0249765 A2 EP 0249765A2
Authority
EP
European Patent Office
Prior art keywords
cover plates
telescopic
wall part
plates
double
Prior art date
Legal status (The legal status is an assumption and is not a legal conclusion. Google has not performed a legal analysis and makes no representation as to the accuracy of the status listed.)
Withdrawn
Application number
EP87107437A
Other languages
English (en)
French (fr)
Other versions
EP0249765A3 (de
Inventor
Rolf Kalischewski
Gerd Dipl.-Ing. Petersen
Karl Schüssler
Current Assignee (The listed assignees may be inaccurate. Google has not performed a legal analysis and makes no representation or warranty as to the accuracy of the list.)
Hueppe Form Sonnenschutz und Raumtrennsysteme GmbH
Original Assignee
Hueppe Form Sonnenschutz und Raumtrennsysteme GmbH
Hueppe GmbH
Priority date (The priority date is an assumption and is not a legal conclusion. Google has not performed a legal analysis and makes no representation as to the accuracy of the date listed.)
Filing date
Publication date
Application filed by Hueppe Form Sonnenschutz und Raumtrennsysteme GmbH, Hueppe GmbH filed Critical Hueppe Form Sonnenschutz und Raumtrennsysteme GmbH
Publication of EP0249765A2 publication Critical patent/EP0249765A2/de
Publication of EP0249765A3 publication Critical patent/EP0249765A3/de
Withdrawn legal-status Critical Current

Links

Images

Classifications

    • EFIXED CONSTRUCTIONS
    • E04BUILDING
    • E04BGENERAL BUILDING CONSTRUCTIONS; WALLS, e.g. PARTITIONS; ROOFS; FLOORS; CEILINGS; INSULATION OR OTHER PROTECTION OF BUILDINGS
    • E04B2/00Walls, e.g. partitions, for buildings; Wall construction with regard to insulation; Connections specially adapted to walls
    • E04B2/74Removable non-load-bearing partitions; Partitions with a free upper edge
    • E04B2/82Removable non-load-bearing partitions; Partitions with a free upper edge characterised by the manner in which edges are connected to the building; Means therefor; Special details of easily-removable partitions as far as related to the connection with other parts of the building

Definitions

  • the invention relates to a double-shell telescopic element of a movable partition, with a wall part which contains cover plates on both sides of a supporting frame and is movably suspended with rollers in ceiling-fixed tracks, with a telescopic part which can be extended horizontally from the wall part, with external cover plates, with sealing strips on the top and / or lower edge of the wall part, which can be extended between the cover plates against the ceiling or the floor, and with a sealing strip edge section which projects between the cover plates of the telescopic part and is coupled to the telescopic part.
  • Movable, smooth partitions consist of several individual wall elements, which are suspended by rollers in ceiling-fixed rails.
  • the individual wall elements are released from a lock and moved along the running rail into a storage area and stowed parallel to one another.
  • the wall elements are brought close together in one plane and braced by sealing strips, which are extended between the cladding panels of the wall elements against the ceiling and / or the floor.
  • a telescopic element with an edge-side telescopic part which can be extended horizontally against a fixed building wall or the like when the wall is closed to also clamp the wall elements horizontally against each other and to close the available internal width of the building opening in question without a gap with the partition.
  • the known telescopic elements have on their telescopic part outer cover plates which overlap the cover plates of the wall part both in the retracted and extended positions in order to achieve a visually clean partition closure. Since the cover plates of the telescopic part overlap the cover plates of the wall part, the telescope part cover plates are spaced apart from the sealing strip edge section which is coupled to the telescopic part by the thickness of the wall part cover plates. If the telescopic part is extended, there is consequently an intermediate space between the cover plates of the telescopic part, which is filled in by the cover plates of the wall part in the retracted position of the telescopic part.
  • the space which forms when the telescopic part is extended has the consequence that the acoustic insulation of the partition wall is reduced at this point, because sound waves can then pass undisturbed from this space under the sealing strip edge section from one side to the other of the telescopic element.
  • the object of the invention is to develop a two-shell telescopic element of the type mentioned at the outset in such a way that improved sound insulation with an optically appealing appearance is achieved.
  • This object is achieved in that relatively thin intermediate plates are provided which engage behind the cover plates of the wall part and the cover plates of the telescopic part in their abutment or overlap area.
  • the advantages of the invention lie in particular in the fact that the joints formed when the telescopic part is extended between the cover plates of the wall part and the cover plates of the telescopic part are covered by internal intermediate plates essentially over the entire vertical height of the telescopic element. Since the intermediate plates have a wall thickness that is considerably reduced compared to the cover plates and also consist of an acoustically sufficiently insulating material, when the telescopic part is extended, only a comparatively narrow space is generated between the cover plates and the telescoping sealing strip edge section, which corresponds to the wall thickness of the cover plates . These narrow gaps are covered by outward-spreading rubber lips, which are located on the sealing strips, so that the free passage of sound waves is prevented.
  • the cover plates of the wall part and the cover plates of the telescopic part are flush, and the intermediate plates are fastened to the inner surfaces of the cover plates of the wall part or the telescopic part and engage with their free end behind the cover plates of the telescopic part or the wall part and thus form the basis of the when extending of the telescopic part resulting shadow gap, which is equal to or larger than the telescopic stroke.
  • This embodiment has the advantage that the cover plates of the telescopic part are aligned with the other cover plates of the partition, so that a visually appealing flat design of the entire partition is created.
  • the cover plates of the telescopic part overlap the cover plates of the wall part both in the retracted and in the extended state.
  • the intermediate plates are attached to the free vertical edge of the telescopic part and project with their free end behind the cover plates of the wall part.
  • the cover plates of the telescopic part are guided by means of a suitable mechanism (according to the simultaneously filed patent application EP ........) such that they overlap the cover plates of the wall part during the telescopic movement and when the come out of the extended position from the cladding panels of the wall section and then - perpendicular to the board levels - move into a position flush with the cover panels of the wall section.
  • the intermediate plates internally attached to the cover plates of the wall part and with their free end protrude long enough into the telescopic part to form the basis for the desired or emerging shadow gap.
  • the sealing strips of the wall part are flush with the sealing strip edge sections of the telescopic part.
  • additional covering elements are then provided on the sealing strips in the area of this joint, the vertical height of which is approximately equal to the height of the sealing strips, so that a direct path for the passage of sound waves is prevented at these joints when the telescopic part is extended.
  • the sealing strip edge sections telescopically overlap the sealing strips, which likewise prevents a clear path for the passage of sound.
  • the abutting or overlapping areas between sealing strips and sealing strip edge sections can be offset against the abutting or overlapping areas of the cover plates.
  • the cover elements between the sealing strips and sealing strip edge sections that are aligned with one another can then advantageously be placed on the outside either on the sealing strip or the sealing strip edge section and are then flush with the intermediate plates.
  • Elastic sealing lips are preferably arranged between the sealing strips, the sealing strip edge sections and the cover plates.
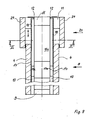
  • Fig. L shows a perspective view of the two-shell telescopic element l, which is suspended on rollers la in a thick rail lb longitudinally displaceable.
  • the telescopic element 1 has a wall part 8, on the support frame 9 of the rollers la and outer plates 4 on both sides are attached.
  • the telescopic part 20 has cover plates 24 which partially overlap the cover plates 4 of the wall part 8 during the telescopic movement and run in corresponding, external, parallel running planes when the telescopic part 20 moves horizontally.
  • an upper and a lower horizontal sealing strip 10 are provided, which have a sealing strip edge section 12 coupled to the telescopic part 20 and consequently participating in the movement of the telescopic part.
  • An actuating mechanism (not shown) is arranged between the cover plates 4 of the wall part 8 and the cover plates 24 of the telescopic part 20 and moves both the telescopic part 20 and the sealing strips 10 by means of a crank which can be attached from the outside (for example at point 5).
  • Fig. 2 shows a horizontal section along the line II-II of Fig. 1
  • Fig. 3 shows a vertical section along the line III-III of Fig. 1 or 2.
  • Figs. 2 and 3 is produced when extending of the telescopic part 20 in this known telescopic element l between the cover plates 24 and the sealing strip edge section l2 a butt joint l3 on both sides, through which sound waves can pass undisturbed.
  • another butt joint l3 is created at the joint between the sealing strips l0 and the sealing strip edge sections l2, which also allows undisturbed passage of sound waves.
  • FIGS. 1, 2 and 3 show different views of a telescopic element 1 according to the invention, namely in a perspective overall view (FIG. 4) in a first horizontal section along the line VV (FIG. 5), a second horizontal section along the line VI-VI (FIG. 6) and a vertical section along the line VII-VII (Fig. 7).
  • FIGS. 1, 2 and 3 correspond to FIGS. 1, 2 and 3, so that the differences from the known telescopic element 1 are clearly recognizable.
  • a cover plate 4 is screwed onto a support frame 9 of the wall part 8 on both sides. Between the cover plates 4, a sealing strip 10 is arranged at the upper and lower edge of the wall part 8, which can be extended electrically or mechanically against the floor or the ceiling by means of an actuation mechanism (not shown).
  • a telescopic part 20 On the right edge of the telescopic element 1, a telescopic part 20 is arranged, which has a vertical edge beam 11, which can be extended horizontally and on both Sides each cover plate 24 holds.
  • the sealing strips l0 have a sealing strip edge section l2 projecting between the cover plates 24 of the telescopic part 20, which is coupled to the telescopic part 20 and can be telescoped together with it.
  • the cover plates 4 of the wall part 8 are flush with the cover plates 24 of the telescopic part 20.
  • Thin intermediate plates 18 are screwed against the inner surface of the cover plates 24, the free end of which protrudes behind the cover plates 4 of the wall part 8 that the cover plates 4 can be engaged even when the telescopic part 20 is fully extended.
  • the adjacent vertical edges of the cover plates 4, 24 form a butt joint when the telescopic part 20 is retracted.
  • shadow gaps with the width of the telescopic stroke are formed at the abutment of the cover plates 4, 24, which reveal the intermediate plates 18.
  • the intermediate plates 18 run over the entire height of the cover plates 4, 24 and consist of thin material, e.g. Sheet. This ensures that the gap l4 behind the cover plates 4, which must be present for receiving the intermediate plates l8, is very narrow.
  • the sealing strips l0 and the sealing strip edge sections l2 have sealing lips l5 which bear outward against the cover plates 4, 24, cf. Fig. 7, so that no free sound path is formed from one side of the telescopic element 1 to the other side.
  • the upper and lower telescopic sealing strip edge section l2 is slidably mounted on a rail l5a, which is firmly connected to the associated sealing strip l0.
  • the sealing strip edge section l2 is e.g. coupled at its front end to the edge beam 11 of the telescopic part 20.
  • the cover elements 16 are e.g. screwed onto the outer surface of the sealing strip edge section l2 and overlap the sealing strips l0.
  • the wall thickness of the cover elements l6 corresponds to the wall thickness of the intermediate plates l8, so that the cover elements l6 can be accommodated in the gap l4 created by the intermediate plates l8.
  • the cover elements l6 have approximately the height of the sealing strip l0 and each have their own sealing lip l7 on their upper and lower horizontal edge in order to implement a mechanical lock against direct sound passage in the area of the joint l3.
  • the cover plates 24 of the telescopic part 20 are arranged such that they cover the cover plates 4 of the wall part 8 at least during a section of the telescopic part motion overlap.
  • intermediate plates l8 are fastened, which with their free ends engage the cover plates 4 of the wall part 8 on the inside and extend over the entire height of the cover plates 4, 24, cf. . 9 to ll.
  • the sealing strips l0 and the sealing strip edge sections l2 in turn have sealing lips l5, which bear against the intermediate plates l3 and prevent undisturbed passage of sound from one side of the telescopic element to the other side of the telescopic element. Since the joint l3a between the sealing strip l0 and the sealing strip edge section l2 lies in the region of the wall part 8, additional cover elements l6 are also provided in this embodiment, which have the height of the sealing strips l0, are screwed onto the sealing strips l0 or the sealing strip edge sections l2 and overlap the joint l3a that forms during telescoping. As a result, the joint l3a is blocked against direct sound passage.
  • the intermediate plates 18 and the cover elements 16 have a small wall thickness in comparison to the cover plates 4, 24.

Landscapes

  • Engineering & Computer Science (AREA)
  • Architecture (AREA)
  • Physics & Mathematics (AREA)
  • Electromagnetism (AREA)
  • Civil Engineering (AREA)
  • Structural Engineering (AREA)
  • Specific Sealing Or Ventilating Devices For Doors And Windows (AREA)
  • Building Environments (AREA)
  • Extensible Doors And Revolving Doors (AREA)

Abstract

Es wird ein zweischaliges Teleskopelement (1) einer be­weglichen Trennwand angegeben, das zwei äußere Deck­platten (4) auf dem Tragrahmen (9) eines Wandteils (8) enthält, zwischen denen am oberen und/oder unteren Rand Dicht­leisten (10) geführt und gegen die Decke bzw. den Boden ausfahrbar sind. Ein randseitiges Teleskopteil (20) be­sitzt einen vertikalen Randholm (11), an dem ebenfalls Deckplatten (24) befestigt sind, welche die Deckplatten des Wandteils überlappen oder flächenbündig fort­setzen. Die Dichtleisten (10) besitzen einen zwischen die Deckplatten (24) des Teleskopteils hineinragenden Randab­schnitt (12), der mit dem Teleskopteil (20) zusammen horizontal verschiebbar ist. Um eine verbesserte Schalldämmung zu erzielen, sind Zwischenplatten (18) vorgesehen, welche die Deckplatten (4, 24) des Wandteils und des Teleskopteils hintergreifen.

Description

  • Die Erfindung betrifft ein zweischaliges Teleskopele­ment einer beweglichen Trennwand, mit einem Wandteil, welches Deckplatten auf beiden Seiten eines Trag­rahmens enthält und mit Laufrollen in deckenfesten Laufschienen verfahrbar abgehängt ist, mit einem vom Wandteil horizontal ausfahrbaren Teleskopteil, mit außenliegenden Deckplatten, mit Dichtleisten am oberen und/oder unteren Rand des Wandteils, die zwi­schen den Deckplatten gegen die Decke bzw. den Boden ausfahrbar sind, und mit einem Dichtleisten-Randab­schnitt, der zwischen die Deckplatten des Teleskop­teils hineinragt und mit dem Teleskopteil gekoppelt ist.
  • Bewegliche, glatte Trennwände bestehen aus mehreren einzelnen Wandelementen, die mittels Laufrollen in deckenfesten Laufschienen verfahrbar abgehängt sind. Zum Öffnen bzw. Beseitigen der Trennwand werden die einzelnen Wandelemente aus einer Verriegelung gelöst und längs der Laufschiene in einen Staubereich ver­fahren und parallel zueinander gestaut. Zum Schließen der Wand werden die Wandelemente dicht aneinanderge­reiht in eine Ebene gebracht und durch Dichtleisten verspannt, welche zwischen den Verkleidungsplatten der Wandelemente gegen die Decke und/oder den Boden ausgefahren werden. Vorgeshen ist ferner an dem einen oder anderen seitlichen Ende der Trennwand ein Tele­skopelement mit einem randseitigen Teleskopteil, welches beim Schließen der Wand horizontal gegen eine feststehende Gebäudewand o. dgl. ausfahrbar ist, um die Wandelemente auch horizontal gegeneinander zu verspannen und die verfügbare lichte Weite der be­treffenden Gebäudeöffnung spaltfrei mit der Trennwand zu verschließen.
  • Die bekannten Teleskopelemente besitzen an ihrem Teleskopteil äußere Deckplatten, welche die Deck­platten des Wandteils sowohl in eingefahrener als auch ausgefahrener Stellung überlappen, um einen optisch sauberen Trennwand-Abschluß zu verwirklichen. Da die Deckplatten des Teleskopteils die Deckplatten des Wandteils überlappen, sind die Teleskopteil-Deck­platten von dem Dichtleisten-Randabschnitt, welcher mit dem Teleskopteil gekoppelt ist, um die Stärke der Wandteil-Deckplatten beabstandet. Wird das Teleskop­teil ausgefahren, so entsteht folglich zwischen den Deckplatten des Teleskopteils ein Zwischenraum, der in eingefahrener Stellung des Teleskopteils von den Deckplatten des Wandteils ausgefüllt ist. Der sich beim Ausfahren des Teleskopteils bildende Zwischen­raum hat zur Folge, daß die akustische Dämmung der Trennwand an dieser Stelle verringert wird, weil Schallwellen dann von diesem Zwischenraum unter dem Dichtleisten-Randabschitt hindurch ungestört von der einen zur anderen Seite des Teleskopelements gelangen können.
  • Aufgabe der Erfindung ist es demgegenüber, ein zwei­schaliges Teleskopelement der eingangs genannten Art derart weiterzubilden, daß eine verbesserte Schall­dämmung bei optisch ansprechendem Aussehen ver­wirklicht wird.
  • Diese Aufgabe wird erfindungsgemäß dadurch gelöst, daß relativ dünne Zwischenplatten vorgesehen sind, welche die Deckplatten des Wandteils und die Deck­platten des Teleskopteils in ihren Stoß- oder Über­lappungsbereich hintergreifen.
  • Die Vorteile der Erfindung liegen insbesondere darin, daß die beim Ausfahren des Teleskopteils zwischen den Deckplatten des Wandteils und den Deckplatten des Teleskopteils entstehenden Fugen durch innenliegende Zwischenplatten im wesentlichen über die gesamte ver­tikale Höhe des Teleskopelements abgedeckt sind. Da die Zwischenplatten eine gegenüber den Deckplatten erheblich reduzierte Wandstärke besitzen und außerdem aus einem akustisch ausreichend dämmenden Material bestehen, wird beim Ausfahren des Teleskopteils zwi­schen dessen Deckplatten und dem ebenfalls telesko­pierenden Dichtleisten-Randabschnitt nur noch ein vergleichsweise schmaler Zwischenraum erzeugt, wel­cher der Wandstärke der Deckplatten entspricht. Diese schmalen Spalte werden von auswärtsspreizenden Gummi­lippen abgedeckt, welche sich an den Dichtleisten be­finden, so daß der freie Durchtritt von Schallwellen verhindert ist.
  • Gemäß einer besonders bevorzugten Ausführungsform der Erfindung fluchten die Deckplatten des Wandteils und die Deckplatten des Teleskopteils auf Stoß, und die Zwischenplatten sind auf den Innenflächen der Deck­platten des Wandteils oder des Teleskopteils be­festigt und greifen mit ihrem freien Ende hinter die Deckplatten des Teleskopteils bzw. des Wandteils und bilden auf diese Weise die Basis der beim Ausfahren des Teleskopteils entstehenden Schattenfuge, welche gleich oder größer als der Teleskopierhub ist. Diese Ausführungsform besitzt den Vorteil, daß auch die Deckplatten des Teleskopteils mit den übrigen Deck­platten der Trennwand fluchten, so daß eine optisch ansprechende ebene Gestaltung der gesamten Trennwand entsteht.
  • Alternativ ist es möglich, daß die Deckplatten des Teleskopteils die Deckplatten des Wandteils sowohl im eingefahrenen als auch im ausgefahrenen Zustand über­lappen. Bei dieser Ausführungsform sind die Zwischen­platten am freien Vertikalrand des Teleskopteils be­festigt und ragen mit ihrem freien Ende hinter die Deckplatten des Wandteils. Beim Ausfahren des Tele­skopteils entsteht dann ein Freiraum zwischen den Deckplatten des Teleskopteils und den Zwischen­platten; der Schalldurchgang wird jedoch durch die Zwischenplatten wirksam unterbunden, welche gegen die Dichtleisten und Dichtleisten-Randabschnitten anlie­gen.
  • Gemäß einer weiteren besonders bevorzugten Aus­führungsform der Erfindung sind die Deckplatten des Teleskopteils mittels einer geeigneten Mechanik (ge­mäß der gleichzeitig eingereichten Patentanmeldung EP........) derart geführt, daß sie die Deckplatten des Wandteils während der Teleskopierbewegung über­lappen und bei Erreichen der ausgefahrenen Stellung von den Verkleidungsplatten des Wandteils freikommen und dann - senkrecht zu den Plattenebenen - in eine mit den Deckplatten des Wandteils flächenbündig fluchtende Stellung übergehen. Bei dieser Aus­führungsform der Erfindung sind die Zwischenplatten innenliegend an die Deckplatten des Wandteils ange­setzt und ragen mit ihrem freien Ende ausreichend lang in das Teleskopteil hinein, um die Basis für die gewünschte oder entstehende Schattenfuge zu bilden.
  • Gemäß einer Ausführungsform der Erfindung fluchten die Dichtleisten des Wandteils mit den Dichtleisten-­Randabschnitten des Teleskopteils auf Stoß. Erfin­dungsgemäß sind dann im Bereich dieser Stoßstelle zu­sätzliche Abdeckelemente an den Dichtleisten vorge­sehen, deren vertikale Höhe etwa gleich der Höhe der Dichtleisten ist, so daß auch an diesen Stoßstellen beim Ausfahren des Teleskopteils ein direkter Pfad für den Schallwellendurchtritt verhindert wird. Alternativ ist es möglich, daß die Dichtleisten-Rand­abschnitte die Dichtleisten teleskopierend über­lappen, wodurch ebenfalls ein freier Pfad für den Schalldurchtritt verhindert wird. Die Stoß- oder Überlappungsbereiche zwischen Dichtleisten und Dicht­leisten-Randabschnitten können gegen die Stoß- oder Überlappungsbereiche der Deckplatten versetzt sein. Die Abdeckelemente zwischen den auf Stoß fluchtenden Dichtleisten und Dichtleisten-Randabschnitten lassen sich dann vorteilhafterweise außenliegend entweder auf die Dichtleiste oder den Dichtleisten-Randab­schnitt aufsetzen und liegen dann in einer Ebene fluchtend mit den Zwischenplatten.
  • Bevorzugt sind zwischen den Dichtleisten, den Dicht­leisten-Randabschnitten und den Deckplatten elasti­sche Dichtlippen angeordnet.
  • Vorteilhafte Weiterbildungen der Erfindung sind durch die Merkmale der Unteransprüche gekennzeichnet.
  • Im folgenden werden Ausführungsbeispiele der Erfin­dung anhand der Zeichnung näher erläutert. Es zeigen:
    • Fig. l eine perspektivische Ansicht eines bekannten Teleskopelements;
    • Fig. 2 einen Horizontalschnitt längs der Linie II-II der Fig. l;
    • Fig. 3 einen Vertikalschnitt längs der Linie III-III der Fig. l oder 2;
    • Fig. 4 eine perspektivische Ansicht einer ersten Ausführungsform des erfindungsgemäßen Tele­skopelements;
    • Fig. 5 einen Horizontalschnitt längs der Linie V-V der Fig. 4;
    • Fig. 6 einen Horizontalschnitt längs der Linie VI-VI der Fig. 4;
    • Fig. 7 einen Vertikalschnitt längs der Linie VII-VII der Fig. 4 bzw. 6;
    • Fig. 8 eine perspektivische Ansicht einer zweiten Ausführungsform des erfindungsgemäßen Tele­skopelements;
    • Fig. 9 einen Horizontalschnitt längs der Linie IX-IX der Fig. 8;
    • Fig. l0 einen Horizontalschnitt längs der Linie X-X der Fig. 8; und
    • Fig. ll einen Vertikalschnitt längs der Linie XI-XI der Fig. 8.
  • Die Fig. l zeigt eine perspektivische Ansicht des zweischaligen Teleskopelements l, welches an Lauf­rollen la in einer dicken Schiene lb längsverschieb­bar aufgehängt ist. Das Teleskopelement l besitzt ein Wandteil 8, an dessen Tragrahmen 9 die Laufrollen la und beidseitig außenliegende Deckplatten 4 befestigt sind. An einer Vertikalkante des Wandteils 8 ist ein Teleskopteil 20 vorgesehen, welches sich über die ge­samte Höhe des Wandteils 8 erstreckt und von diesem horizontal einen vorgegebenen Hub ausfahrbar ist. Das Teleskopteil 20 besitzt Deckplatten 24, welche die Deckplatten 4 des Wandteils 8 während der Telesko­pierbewegung teilweise überlappen und in entsprechen­den, außenliegenden, parallelen Laufebenen laufen, wenn sich das Teleskopteil 20 horizontal bewegt. Zwischen den Deckplatten 4 des Wandteils 8 und den Deckplatten 24 des Teleskopteils 20 sind je eine obere und eine untere horizontale Dichtleiste l0 vor­gesehen, welche einen mit dem Teleskopteil 20 ge­koppelten und folglich die Teleskopteil-Bewegung mit­machenden Dichtleisten-Randabschnitt l2 besitzen. Zwischen den Deckplatten 4 des Wandteils 8 und den Deckplatten 24 des Teleskopteils 20 ist eine Betäti­gungsmechanik angeordnet (nicht dargestellt) welche mittels einer von außen (z.B. an der Stelle 5) an­setzbaren Kurbel sowohl das Teleskopteil 20 als auch die Dichtleisten l0 verfährt.
  • Fig. 2 zeigt einen Horizontalschnitt längs der Linie II-II der Fig. l, und Fig. 3 zeigt einen Vertikal­schnitt längs der Linie III-III der Fig. l oder 2. Wie den Fig. 2 und 3 entnehmbar ist, entsteht beim Ausfahren des Teleskopteils 20 bei diesem bekannten Teleskopelement l zwischen den Deckplatten 24 und dem Dichtleisten-Randabschnitt l2 auf beiden Seiten eine Stoßfuge l3, durch welche Schallwellen ungestört hin­durchtreten können. Außerdem entsteht an der Stoß­stelle zwischen den Dichtleisten l0 und den Dicht­leisten-Randabschnitten l2 eine weitere Stoßfuge l3, welche ebenfalls ungestörten Durchgang von Schall­wellen zuläßt.
  • Die Fig. 4 bis 7 zeigen verschiedene Ansichten eines erfindungsgemäßen Teleskopelements l, und zwar in perspektivischer Gesamtansicht (Fig. 4) in einem ersten Horizontalschnitt längs der Linie V-V (Fig. 5), einem zweiten Horizontalschnitt längs der Linie VI-VI (Fig. 6) und einem Vertikalschnitt längs der Linie VII-VII (Fig. 7). Die Fig. 4, 5 und 7 entspre­chen den Fig. l, 2 und 3, so daß die Unterschiede zu dem bekannten Teleskopelement l deutlich erkennbar sind. Auf einem Tragrahmen 9 des Wandteils 8 ist auf beiden Seiten je eine Deckplatte 4 aufgeschraubt. Zwischen den Deckplatten 4 ist am oberen und unteren Rand des Wandteils 8 je eine Dichtleiste l0 angeord­net, die mittels einer - nicht dargestellten - Be­tätigungsmechanik elektrisch oder mechanisch gegen den Boden oder die Decke ausfahrbar sind. Am rechten Rand des Teleskopelements l ist ein Teleskopteil 20 angeordnet, welches einen vertikalen Randholm ll be­sitzt, der horizontal ausfahrbar ist und auf beiden Seiten je eine Deckplatte 24 hält. Die Dichtleisten l0 besitzen einen zwischen die Deckplatten 24 des Teleskopteils 20 hineinragenden Dichtleisten-Randab­schnitt l2, der mit dem Teleskopteil 20 gekoppelt und mit diesem zusammen teleskopierbar ist.
  • In der Ausführungsform gemäß den Fig. 4 bis 7 fluch­ten die Deckplatten 4 des Wandteils 8 flächenbündig mit den Deckplatten 24 des Teleskopteils 20. Gegen die Innenfläche der Deckplatten 24 sind dünne Zwi­schenplatten l8 angeschraubt, deren freies Ende so­weit hinter die Deckplatten 4 des Wandteils 8 ragt, daß die Deckplatten 4 auch noch bei vollständig aus­gefahrenem Teleskopteil 20 hintergriffen werden. Die einander benachbarten Vertikalkanten der Deckplatten 4, 24 bilden bei eingefahrenem Teleskopteil 20 einen Stumpfstoß. Bei ausgefahrenem Teleskopteil 20 bilden sich an der Stoßstelle der Deckplatten 4, 24 Schat­tenfugen mit der Breite des Teleskopierhubes, welche die Zwischenplatten l8 zum Vorschein kommen lassen.
  • Die Zwischenplatten l8 verlaufen über die gesamte Höhe der Deckplatten 4, 24 und bestehen aus dünnem Material, z.B. Blech. Dadurch ist sichergestellt, daß der Spalt l4 hinter den Deckplatten 4, der zur Auf­nahme der Zwischenplatten l8 vorhanden sein muß, sehr schmal ist.
  • Die Dichtleisten l0 und die Dichtleisten-Randab­schnitte l2 besitzen nach außen gegen die Deckplatten 4, 24 anliegende Dichtlippen l5, vgl. Fig. 7, so daß sich von der einen Seite des Teleskopelements l zur anderen Seite kein freier Schallweg ausbildet.
  • Der obere und der untere teleskopierbare Dicht­leisten-Randabschnitt l2 ist auf je einer Schiene l5a verschiebbar gelagert, die mit der zugehörigen Dicht­leiste l0 fest verbunden ist. Der Dichtleisten-Rand­abschnitt l2 ist z.B. an seinem vorderen Ende mit dem Randholm ll des Teleskopteils 20 gekoppelt. Zwischen der Dichtleiste l0 und dem teleskopierbaren Dicht­leisten-Randabschnitt l2 ist eine Stoßstelle l3a vor­handen, die gegenüber der Stoßstelle 6 der Deck­platten 4, 24 versetzt ist und mit zusätzlichen Ab­deckelementen l6 abgedeckt ist, vgl. Fig. 6 oder 7. Die Abdeckelemente l6 sind z.B. auf der Außenfläche des Dichtleisten-Randabschnitts l2 aufgeschraubt und überlappen die Dichtleisten l0. Die Wandstärke der Abdeckelemente l6 entspricht der Wandstärke der Zwi­schenplatten l8, so daß die Abdeckelemente l6 in den von den Zwischenplatten l8 erzeugten Spalt l4 unterge­bracht werden können. Die Abdeckelemente l6 besitzen etwa die Höhe der Dichtleiste l0 und weisen an ihrer oberen und unteren Horizontalkante je eine eigene Dichtlippe l7 auf, um auch im Bereich der Stoßstelle l3 eine mechanische Sperre gegen direkten Schall­durchtritt zu verwirklichen.
  • Die Fig. 8 bis ll zeigen ein zweites erfindungsge­mäßes Teleskopelement, dessen Aufbau weitgehend dem in den Fig. 4 bis 7 dargestellten Teleskoptelement l entspricht, wobei gleiche Teile mit denselben Bezugs­zeichen versehen sind. Abweichend vom Teleskopelement der Fig. 4 bis 7 sind bei dieser zweiten Ausführungs­form die Deckplatten 24 des Teleskopteils 20 so ange­ordnet, daß sie die Deckplatten 4 des Wandteils 8 zu­mindest während eines Abschnitts der Teleskopierbe­ wegung überlappen. Am freien Vertikalrand des Teles­kopteils 20, und zwar entweder am Randholm oder am Dichtleisten-Randabschnitt l2 sind Zwischenplatten l8 befestigt, die mit ihren freien Enden die Deckplatten 4 des Wandteils 8 innenliegend hingreifen und sich über die gesamte Höhe der Deckplatten 4, 24 er­strecken, vgl. Fig. 9 bis ll. Die Dichtleisten l0 und die Dichtleisten-Randabschnitte l2 besitzen wiederum Dichtlippen l5, welche gegen die Zwischenplatten l3 anliegen und einen ungestörten Schalldurchtritt von der einen Seite des Teleskopelements zur anderen Seite des Teleskopelements verhindern. Da die Stoß­stelle l3a zwischen Dichtleiste l0 und Dichtleisten-­Randabschnitt l2 im Bereich des Wandteils 8 liegt, sind auch bei dieser Ausführungsform zusätzliche Ab­deckelemente l6 vorgesehen, die die Höhe der Dicht­leisten l0 besitzen, an den Dichtleisten l0 oder den Dichtleisten-Randabschnitten l2 angeschraubt sind und die sich beim Teleskopieren bildende Stoßstelle l3a überlappen. Dadurch wird auch die Stoßstelle l3a gegen direkten Schalldurchtritt gesperrt.
  • Die Zwischenplatten l8 und die Abdeckelemente l6 besitzen im Vergleich zu den Deckplatten 4, 24 eine geringe Wandstärke.

Claims (10)

1. Zweischaliges Teleskopelement einer beweglichen Trennwand, mit einem Wandteil, welches Deckplatten auf beiden Seiten eines Tragrahmens enthält und mit Laufrollen in deckenfesten Laufschienen verfahrbar abgehängt ist, mit einem vom Wandteil horizontal aus­fahrbaren Teleskopteil, mit außenliegenden Deck­platten,
mit Dichtleisten am oberen und/oder unteren Rand des Wandteils, die zwischen den Deckplatten gegen die Decke bzw. den Boden ausfahrbar sind,
und mit einem Dichtleisten-Randabschnitt, der zwischen die Deckplatten des Teleskopteils hineinragt und mit dem Teleskopteil gekoppelt ist,
gekennzeichnet durch
Zwischenplatten (l8), welche die Deckplatten (4) des Wandteils (8) und die Deckplatten (24) des Teleskop­teils (20) in ihrem Stoß- oder Überlappungsbereich hintergreifen.
2. Zweischaliges Teleskopelement nach Anspruch l, dadurch gekennzeichnet, daß die Deckplatten (4) des Wandteils (8) und die Deckplatten (24) des Teleskop­teils (20) flächenbündig fluchten, und daß die Zwischenplatten (l8) innenliegend an die Deckplatten (4, 24) des Wandteils (8) oder des Teleskopteils (20) angesetzt sind und mit ihren freien Enden (l9) hinter die Deckplatten (4, 24) des Teleskopteils bzw. des Wandteils greifen.
3. Zweischaliges Teleskopelement nach Anspruch l, dadurch gekennzeichnet, daß die Deckplatten (24) des Teleskopteils (20) die Deckplatten (4) des Wandteils (8) überlappen, und daß die Zwischenplatten (l8) am freien Vertikalrand des Teleskopteils (20) befestigt sind und mit ihren freien Enden (l9) die Deckplatten (4) des Wandteils innenliegend hintergreifen.
4. Zweischaliges Teleskopelement nach Anspruch l, dadurch gekennzeichnet, daß die Deckplatten (24) des Teleskopteils (20) die Deckplatten (4) des Wandteils (8) in eingefahrener Stellung überlappen und beim Ausfahren in eine mit den Deckplatten (4) des Wand­teils (8) flächenbündig fluchtende Stellung über­gehen, und daß die Zwischenplatten (l8) innenliegend an die Deckplatten (4) des Wandteils (8) angesetzt sind und mit ihren freien Enden (l9) hinter die Deck­platten (24) des Teleskopteils (20) greifen.
5. Zweischaliges Teleskopelement nach einem der vorstehenden Ansprüche, dadurch gekennzeichnet, daß die Zwischenplatten (l8) dünne Bleche o. dgl. sind, die sich über die gesamte Höhe der Deckplatten (4, 24) erstrecken.
6. Zweischaliges Teleskopelement nach einem der vorstehenden Ansprüche, dadurch gekennzeichnet, daß die Dichtleisten (l0) und die Dichtleisten-Randab­schnitte (l2) auf Stoß fluchten und im Bereich ihrer Stoßstelle (l3) mit Abdeckelementen (l6) überlappt sind.
7. Zweischaliges Teleskopelement nach einem der An­sprüche l bis 5, dadurch gekennzeichnet, daß die Dichtleisten-Randabschnitte (l2) teleskopierend die Dichtleisten (l0) überlappen.
8. Zweischaliges Teleskopelement nach einem der vorstehenden Ansprüche, dadurch gekennzeichnet, daß der Stoß zwischen Dichtleiste (l0) und Dichtleisten-­Randabschnitt (l2) gegen den Stoß der Deckplatten (4) des Wandteils (8) und den Deckplatten (24) des Teles­kopteils (20) versetzt ist.
9. Zweischaliges Teleskopelement nach einem der vorstehenden Ansprüche, dadurch gekennzeichnet, daß zwischen den Dichtleisten (l0), den Dichtleisten-­Randabschnitten (l2) und den Deckplatten (4, 24) elastische Dichtlippen (l4) angeordnet sind.
l0. Zweischaliges Teleskopelement nach Anspruch 6 bis 9, dadurch gekennzeichnet, daß die Abdeckelemente (l6) gegen die Deckplatten (4, 24) gerichtete elasti­sche Dichtlippen (l7) besitzen.
EP87107437A 1986-06-09 1987-05-22 Zweischaliges Teleskopelement einer beweglichen Trennwand Withdrawn EP0249765A3 (de)

Applications Claiming Priority (2)

Application Number Priority Date Filing Date Title
DE3619392 1986-06-09
DE19863619392 DE3619392A1 (de) 1986-06-09 1986-06-09 Zweischaliges teleskopelement einer beweglichen trennwand

Publications (2)

Publication Number Publication Date
EP0249765A2 true EP0249765A2 (de) 1987-12-23
EP0249765A3 EP0249765A3 (de) 1990-05-23

Family

ID=6302629

Family Applications (1)

Application Number Title Priority Date Filing Date
EP87107437A Withdrawn EP0249765A3 (de) 1986-06-09 1987-05-22 Zweischaliges Teleskopelement einer beweglichen Trennwand

Country Status (5)

Country Link
US (1) US4833840A (de)
EP (1) EP0249765A3 (de)
JP (1) JPH0781350B2 (de)
AU (1) AU7404087A (de)
DE (1) DE3619392A1 (de)

Cited By (2)

* Cited by examiner, † Cited by third party
Publication number Priority date Publication date Assignee Title
GB2205336A (en) * 1987-06-02 1988-12-07 Michael Sacks Bullet resistant partitions
DE202009014565U1 (de) 2009-10-28 2010-02-04 Dorma Gmbh + Co. Kg Mobile Trennwand mit Wandanschlusselement

Families Citing this family (27)

* Cited by examiner, † Cited by third party
Publication number Priority date Publication date Assignee Title
US6170200B1 (en) 1990-02-14 2001-01-09 Steelcase Development Inc. Furniture system
US6134844A (en) 1990-02-14 2000-10-24 Steelcase Inc. Method and apparatus for displaying information
US5511348A (en) 1990-02-14 1996-04-30 Steelcase Inc. Furniture system
US6003275A (en) 1990-02-14 1999-12-21 Steelcase Development Inc. Furniture system
US5873205A (en) * 1990-11-28 1999-02-23 Advantage Office Systems, Llc Privacy panel for use with open office furniture systems
CA2101110A1 (en) * 1992-07-23 1994-01-24 Kenneth James Macquarrie Expandable office panel
US5577348A (en) * 1993-05-25 1996-11-26 Rosconi Ag Partition wall with sliding termination panel
CH689233A5 (de) * 1996-05-07 1998-12-31 Dorma Tuerautomatik Ag Schiebewand
US5791094A (en) * 1997-01-09 1998-08-11 Diverse Industries, Inc. Movable wall for ball court
US5918422A (en) * 1997-05-14 1999-07-06 Bucher, Jr.; Robert Joseph Open office panel system
US6058665A (en) * 1998-03-10 2000-05-09 Steelcase Development Inc. Adjustable door and doorway construction
FR2791234B1 (fr) * 1999-03-24 2003-10-17 Nicaise Gregoire Dispositif adaptable de delimitation et d'amenagement des espaces et des volumes
AUPQ297399A0 (en) * 1999-09-20 1999-10-14 Rapini Pty Ltd Storage unit
AT4650U1 (de) * 2000-10-05 2001-10-25 Lenz Gmbh Rahmenpaneelen-system zur aufhängung von paneelen in räumen
US7707790B2 (en) * 2003-06-12 2010-05-04 Steelcase Inc. Office system
US7516624B2 (en) * 2005-06-01 2009-04-14 Weeth Frederic R Cooling room
DE102005048155A1 (de) * 2005-10-06 2007-04-19 Dorma Gmbh + Co. Kg Mobile Trennwand
DE102005048157A1 (de) * 2005-10-06 2007-04-19 Dorma Gmbh + Co. Kg Mobile Trennwand
DE102008027821A1 (de) * 2008-06-11 2009-12-17 Dorma Gmbh + Co. Kg Trennwand aus transparenten Wandelementen
US20090313935A1 (en) * 2008-06-24 2009-12-24 Environmental Interiors, Inc. High Impact, Moisture Resistant Wall Panel System
EP2224076B1 (de) * 2009-02-27 2013-06-05 M-T Patents GmbH Tribüne
US8402699B2 (en) 2010-07-14 2013-03-26 Kimball International, Inc. Sliding privacy door for partition systems
DE102015108663A1 (de) * 2015-06-01 2016-12-01 Dorma Deutschland Gmbh Trennwandelement
US10041249B1 (en) * 2015-07-31 2018-08-07 Timothy Hebert Adjustable barrier for partitioning a building space
US12054942B2 (en) 2020-12-08 2024-08-06 STARC Systems, Inc. Temporary wall system with fire block protection
CN115012775A (zh) * 2022-05-18 2022-09-06 广东坚美建筑科技发展有限公司 一种活动门组件及密封门
US12305388B2 (en) 2022-07-15 2025-05-20 STARC Systems, Inc. Cap for a temporary wall system providing fire barrier protection

Family Cites Families (12)

* Cited by examiner, † Cited by third party
Publication number Priority date Publication date Assignee Title
US3341992A (en) * 1964-10-07 1967-09-19 Robert Haws Co Portable room dividing panel
US3327439A (en) * 1964-10-21 1967-06-27 Ralph W Eatough Wall panel locking actuator
US3638376A (en) * 1970-01-05 1972-02-01 Hough Mfg Corp Portable partition
DE2438982C2 (de) * 1974-08-14 1976-09-09 Hueppe Justin Fa Versetzbare trennwand aus mindestens einem raumhohen, zweischaligen wandelement
US4014137A (en) * 1976-03-08 1977-03-29 Hough Manufacturing Corporation Drop action panel arrangement for operable partitions
JPS5428411A (en) * 1977-08-04 1979-03-03 Kouji Unayama Device for fixing room partition wall
DE2836126A1 (de) * 1978-08-18 1980-02-28 Vki Rheinhold & Mahla Ag Anschlussbausatz fuer trennwaende und zweischalige demontierbare trennwand mit anschlusselement.
SU842162A1 (ru) * 1979-08-23 1981-06-30 Ордена Трудового Красного Знамени Централь-Ный Научно-Исследовательский И Проектныйинститут Строительных Металлоконструкций"Цниипроектстальконструкция" Составной стержень
CH658090A5 (de) * 1982-11-16 1986-10-15 Karl Haab Wandelement mit einer abdichtungsvorrichtung und aus diesen bestehende trennwand.
US4462192A (en) * 1982-06-01 1984-07-31 American Standard, Inc. Seal assembly
DE3239485A1 (de) * 1982-10-25 1984-05-03 Rüterbau GmbH, 3012 Langenhagen U-foermiges anschlussstueck fuer wandelemente
DE3425484A1 (de) * 1984-07-11 1986-01-23 aboplan Viol und Partner GmbH, 2903 Bad Zwischenahn Versetzbare trennwand aus wandelementen und verfahren zur herstellung und demontage der wandelemente

Cited By (2)

* Cited by examiner, † Cited by third party
Publication number Priority date Publication date Assignee Title
GB2205336A (en) * 1987-06-02 1988-12-07 Michael Sacks Bullet resistant partitions
DE202009014565U1 (de) 2009-10-28 2010-02-04 Dorma Gmbh + Co. Kg Mobile Trennwand mit Wandanschlusselement

Also Published As

Publication number Publication date
EP0249765A3 (de) 1990-05-23
AU7404087A (en) 1987-12-10
JPS6375239A (ja) 1988-04-05
US4833840A (en) 1989-05-30
DE3619392A1 (de) 1987-12-10
DE3619392C2 (de) 1988-07-28
JPH0781350B2 (ja) 1995-08-30

Similar Documents

Publication Publication Date Title
EP0249765A2 (de) Zweischaliges Teleskopelement einer beweglichen Trennwand
EP0249066B1 (de) Zweischaliges Teleskopelement
DE1555995A1 (de) Schalenaufbau
DE69125596T2 (de) Faltwand
DE202017103784U1 (de) Abdeckungsvorrichtung
DE1683009B2 (de) Falttür mit mindestens zwei Tafeln
EP0185188B1 (de) Kabine
DE3420453A1 (de) Haltevorrichtung fuer zweifarbig zu beschichtende metallprofile
DE7901833U1 (de) Schiebetuer mit vertikaldichtungseinrichtung
DE2350343A1 (de) Moebeleinheit zum aufstellen in einer rechtwinkligen ecke eines raumes
DE2427997C2 (de) Versetzbare Trennwand
DE3913383C2 (de)
EP0085355B1 (de) Vorrichtung zur Verbindung von Luftkanalelementen, die an ihren Stossrändern mit Aufnahmen für Eckwinkel bildenden Flanschprofilen versehen sind
DE2233059B2 (de) Versetzbare Trennwand mit mindestens einem schalldämmenden Trennwandelement
DE2811676C2 (de) Schiebetüranschluß, insbesondere für vorfertigbare Trennwände
DE3241424C2 (de) Verbindungseinrichtung
DE2805973A1 (de) Tuer insbesondere zweifluegelige tuer
DE2924444C2 (de) Zarge für Fenster oder Türen, insbesondere für Kellerfenster
DE3719829A1 (de) Trennwandeinheit mit einzelnen rand an rand aneinandergefuegten plattenelementen
DE2533856B2 (de) Sturz
DE1709319A1 (de) Raumteiler
DE3903756C1 (en) Apparatus for securing the transportation path between a building and a vehicle by movable shielding walls
DE2628923C3 (de) Vorrichtung zum Be- und Entlüften eines mit großformatigen Dacheindeckungsplatten eingedeckten Kaltdachs
DE2857046C2 (de) Umsetzbares Wandelement
DE2502537C2 (de) Kletterschalung für turmartige Stahlbetonbauten

Legal Events

Date Code Title Description
PUAI Public reference made under article 153(3) epc to a published international application that has entered the european phase

Free format text: ORIGINAL CODE: 0009012

AK Designated contracting states

Kind code of ref document: A2

Designated state(s): AT BE CH DE ES FR GB GR IT LI LU NL SE

RAP1 Party data changed (applicant data changed or rights of an application transferred)

Owner name: HUEPPE FORM SONNENSCHUTZ- UND RAUMTRENNSYSTEME GMB

PUAL Search report despatched

Free format text: ORIGINAL CODE: 0009013

AK Designated contracting states

Kind code of ref document: A3

Designated state(s): AT BE CH DE ES FR GB GR IT LI LU NL SE

17P Request for examination filed

Effective date: 19900711

17Q First examination report despatched

Effective date: 19910726

STAA Information on the status of an ep patent application or granted ep patent

Free format text: STATUS: THE APPLICATION IS DEEMED TO BE WITHDRAWN

18D Application deemed to be withdrawn

Effective date: 19920306

RIN1 Information on inventor provided before grant (corrected)

Inventor name: SCHUESSLER, KARL

Inventor name: PETERSEN, GERD, DIPL.-ING.

Inventor name: KALISCHEWSKI,ROLF