EP0192014A1 - Reinigungsgerät für Textilmaschinen - Google Patents

Reinigungsgerät für Textilmaschinen Download PDF

Info

Publication number
EP0192014A1
EP0192014A1 EP85810068A EP85810068A EP0192014A1 EP 0192014 A1 EP0192014 A1 EP 0192014A1 EP 85810068 A EP85810068 A EP 85810068A EP 85810068 A EP85810068 A EP 85810068A EP 0192014 A1 EP0192014 A1 EP 0192014A1
Authority
EP
European Patent Office
Prior art keywords
cleaning
cleaning device
textile machines
textile
compressed air
Prior art date
Legal status (The legal status is an assumption and is not a legal conclusion. Google has not performed a legal analysis and makes no representation as to the accuracy of the status listed.)
Granted
Application number
EP85810068A
Other languages
English (en)
French (fr)
Other versions
EP0192014B1 (de
Inventor
Fritz-Werner Breyer
Wolfgang K. Dipl.-Ing. Meyer
Current Assignee (The listed assignees may be inaccurate. Google has not performed a legal analysis and makes no representation or warranty as to the accuracy of the list.)
Sulzer AG
Original Assignee
Sulzer AG
Gebrueder Sulzer AG
Priority date (The priority date is an assumption and is not a legal conclusion. Google has not performed a legal analysis and makes no representation as to the accuracy of the date listed.)
Filing date
Publication date
Family has litigation
First worldwide family litigation filed litigation Critical https://patents.darts-ip.com/?family=8194629&utm_source=google_patent&utm_medium=platform_link&utm_campaign=public_patent_search&patent=EP0192014(A1) "Global patent litigation dataset” by Darts-ip is licensed under a Creative Commons Attribution 4.0 International License.
Application filed by Sulzer AG, Gebrueder Sulzer AG filed Critical Sulzer AG
Priority to EP85810068A priority Critical patent/EP0192014B1/de
Priority to DE8585810068T priority patent/DE3566687D1/de
Priority to US06/825,135 priority patent/US4655258A/en
Priority to JP61033116A priority patent/JPS61194257A/ja
Publication of EP0192014A1 publication Critical patent/EP0192014A1/de
Application granted granted Critical
Publication of EP0192014B1 publication Critical patent/EP0192014B1/de
Expired legal-status Critical Current

Links

Images

Classifications

    • DTEXTILES; PAPER
    • D01NATURAL OR MAN-MADE THREADS OR FIBRES; SPINNING
    • D01HSPINNING OR TWISTING
    • D01H11/00Arrangements for confining or removing dust, fly or the like
    • D01H11/005Arrangements for confining or removing dust, fly or the like with blowing and/or suction devices
    • D01H11/006Arrangements for confining or removing dust, fly or the like with blowing and/or suction devices travelling along the machines
    • DTEXTILES; PAPER
    • D03WEAVING
    • D03JAUXILIARY WEAVING APPARATUS; WEAVERS' TOOLS; SHUTTLES
    • D03J1/00Auxiliary apparatus combined with or associated with looms
    • D03J1/002Climatic conditioning or removing lint or dust

Definitions

  • the invention relates to a cleaning device for textile, in particular weaving machines.
  • a cleaning device for textile in particular weaving machines.
  • the flight consists primarily of fibers, which can accumulate on machine parts and on the operating floor to form larger cushions.
  • Such devices can reduce the pollution of textile machines, but this does not allow targeted, intensive cleaning at places that are particularly vulnerable to flight.
  • the invention enables individual cleaning programs to be carried out on the respective machine.
  • the cleaning device can be used at regular intervals, for example, for cleaning parts of one or more textile machines that are particularly vulnerable to flight, with or without machine downtime.
  • the cleaning device on weaving machines can for example, in the infeed area of the weft, the flight can be sucked off from thread-carrying parts.
  • the warp threads of weaving machines can be continuously freed of loose fibers, which would lead to warp thread breaks in larger collections.
  • a cleaning device according to the invention - without the use of personnel - can also carry out intensive cleaning operations according to a separate program, for example the suctioning off of large flight accumulations inside machines.
  • two cleaning devices 1 work simultaneously on a weaving machine 2 containing a machine frame 101, a spanning tree 102, shafts 103 and a goods take-off roller 104 - during the article change (e.g. use of different warp and weft material for the purpose of producing a different fabric).
  • the warp and fabric tree are removed from the weaving machine.
  • two drivable robot arms 3, 13 are arranged as functional elements in the upper area.
  • Suction nozzles 4 and blowing nozzles 4a are attached as cleaning agents.
  • the lower area of the cleaning device 1 is formed by a travel drive 5.
  • an electrical receiver (sensor) 6 in the lower part of the cleaning device, an electrical transmitter 7 arranged on the weaving machine receives contactlessly about the cleaning operations to be carried out. If the cleaning program is stored in electronic control means 5a of the cleaning device, a short sequence of signals is sufficient for transmission, which calls the cleaning program in device 1.
  • a control center determines the route to a specific cleaning object (weaving machine) during operation.
  • the cleaning device on the right in Fig. 1 is provided at the connection points 9 with couplings 10 for supply e.g. connected with compressed air and electrical current (lines 86).
  • the connection of the coupling 10 of the device 1 to the connection point 9 of the weaving machine can e.g. are automatically produced by one of the robot arms 3, 13 (FIG. 5).
  • suction hoses 11 are attached as further functional elements, through which dust (flight) in the vicinity of the weaving floor 5b can be suctioned off.
  • Suction openings 12 are also provided on the underside of the driving unit 5 for direct suction.
  • a filter kettle 71 is provided in the upper part of the cleaning device 1. This can be emptied automatically at a disposal station (collection point for the collected dust or flight) or replaced by an empty replacement filter kettle. If necessary, the device 1 can also be disposed of via a central emptying device within the company.
  • a cleaning device 1 is located above a bottom opening 21, the cover plates 22 of which are laterally displaced.
  • the contents of the filter kettle 71 in the cleaning device can be ejected downwards.
  • a cleaning device 1 is moved laterally to a suction blower 23 which empties the filter kettle 71 of the cleaning device via a suction shaft 24.
  • Servomotors 82 housed, of which the movement of the worms-like arms 3a, 13a equipped with support disks 52 (FIG. 5) can be controlled by means of pull cables 51.
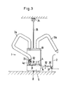
  • Fig. 3 shows a cleaning device 1 with various auxiliary devices.
  • Various cleaning agents e.g. Blowing or suction nozzles 4a, 14, or other tools stored for selection.
  • Mechanical means e.g. rotating brushes driven by compressed air should be practical.
  • the robot arm 3 removes e.g. the nozzle 4a automatically from the magazine 31.
  • the supply lines (electricity and / or compressed air) 34 are arranged in FIG. 3 above the induction track 8 of the cleaning device.
  • the cleaning device 1 is equipped with a guide arm 36 which can be swiveled by 74 according to arrow 92 for exact positioning relative to the weaving machine 2 indicated on the right in FIG. 3 and to which a guide profile 37 for the device 1 is attached. The guidance of the cleaning device next to the textile machine is then transferred from the guide track 8 to the positioning device 36, 37.
  • 4 and 5 are a cross-sectional or longitudinal section through the robot arm 3 with a coupling device 32.
  • the arm 3 there is an inner tube 44.
  • the cables 51 serving as control cables for the movement of the arm 3 are in bores 76, the support cable 51a is guided in bores 77 of the support disks 52.
  • a compressed air supply duct 44 and two air return or suction ducts 78, 79 are accommodated.
  • the hose 41 is made, for example, of flexible plastic.
  • a support wire 42 (FIG. 5a) can be inserted to maintain the inherent stability of the hose 41 (central axis 92).
  • the hose can also be designed as a corrugated tube 43 (FIG. 5b).
  • Compressed air can be applied to the coupling device 32 at the end of the arm 3a through a line 53, whereupon the flexible cylinder wall 54 bulges outwards into the position 54a shown in broken lines in FIG. the pushed-on nozzle 4a according to FIG. 3 clamps from the inside.
  • the cylinder wall 54 like the hose 41, is made of flexible plastic.
  • a cylindrical, perforated support jacket 55 is attached to the outside around the flexible cylinder wall 54.
  • the nozzle 4a can be plugged onto this, for example. If compressed air is introduced through channel 53, the flexible W 2nd 54 lies in the form of a corrugation 54b shown in FIG. 5c from the inside against the nozzle 4a, which holds it.
  • the movement-related parts for the drive and the movements of the robot arms 3, 13, 11 indicated by the arrows 95 are not all shown in detail. They are at least partially known from robot technology.
  • a correspondingly designed and similarly functioning cleaning device can, for example, also be used to clean a spinning device machine can be used. With the cleaning device, certain aggregates of a textile machine can also be cleaned during operation, that is, with the textile machine running. With the cleaning device, for example, a machine can also be cleaned at specific, selected times or according to the degree of soiling.

Landscapes

  • Engineering & Computer Science (AREA)
  • Textile Engineering (AREA)
  • Mechanical Engineering (AREA)
  • Spinning Or Twisting Of Yarns (AREA)
  • Auxiliary Weaving Apparatuses, Weavers' Tools, And Shuttles (AREA)
  • Preliminary Treatment Of Fibers (AREA)

Abstract

In einem automatisch arbeitenden Reinigungsgerät (1) für Textilbetriebe, insbesondere für Webereien, sind an einem Fahrantrieb (5) Funktionsorgane (3, 13) zur Betätigung von Reiniguangsmitteln (4, 4a) sowie Steuermittel (7, 6, 5a, 82) angeordnet, die das durch eine Spurführung (8) geleitete Gerät (1) zum Reiningungsobjekt, z.B. eine Webmaschine (2), steuern und dort programmierte Reinigungsoperationen auslösen. Dadurch lassen sich gezielte, individuelle Reinigungsoperationen an bestimmten Aggregaten der Webmaschine und/oder zu bestimmten Zeiten und/oder nach bestimmten Bedarfsmeldungen ausführen.

Description

  • Die Erfindung bezieht sich auf ein Reinigungsgerät für Textil-, insbesondere Webmaschinen. In Textilbetrieben mit Maschinen zur Garnherstellung oder Garnverarbeitung ist vor allem bei der Verwendung von Baumwolle eine starke Staubbildung (Flugbildung) zu beobachten. Der Flug besteht vor allem aus Fasern, welche sich an Maschinenteilen und am Betriebsboden zu grösseren Polstern ansammeln können.
  • Für eine störungsfreie Produktion ist regelmässiges Entfernen der Flugansammlungen nötig, wozu z.B. vom Bedienungspersonal geführte Reinigungsgeräte eingesetzt werden.
  • Es ist auch ein selbsttätiges, an der Decke des Raumes angebrachtes Reinigungsgerät bekannt (CH-PS 419 931), das in einem bestimmten, immer gleichen Arbeitszyklus über Textilmaschinen hin- und herwandert, wobei es beim Hinweg und beim Rückweg jeweils unterschiedliche Luftströmungen über den Textilmaschinen erzeugt. Durch die Umsteuerung der Strömungsrichtung der Blasluft können Flugablagerungen in toten Ecken vermieden werden. Bei anderen bekannten Reinigungsgeräten werden gleichzeitig Organe mit Blas-und Saugöffnungen eingesetzt. Die Blasorgane werden bei manchen Ausführungen zur Erweiterung ihres Aktionsbereiches hin- und hergeschwenkt.
  • Solche Einrichtungen können zwar die Verschmutzung von Textilmaschinen reduzieren, jedoch ist damit keine gezielte, intensive Reinigung an besonders fluggefährdeten Stellen möglich.
  • Wenn auf den Einsatz der beschriebenen Geräte in einem Textilbetrieb verzichtet wird, so muss das Bedienungspersonal von Zeit zu Zeit Reinigungsarbeiten durchführen. Solche Arbeiten erfordern grosse Kraftanstrengungen, da die Reinigungsgeräte und Reinigungsorgane von Hand geführt werden müssen und bei den oft beträchtlichen Maschinendimensionen weite Greifräume überwunden werden müssen. Bei laufenden Maschinen ist das Reinigen von Hand wegen Unfallgefahr teilweise überhaupt nicht möglich.
  • Aufgabe der Erfindung ist es, die beschriebenen Nachteile bekannter Lösungen auszuräumen. Die Erfindung ist gekennzeichnet durch
    • - einen spurgeführten Fahrantrieb,
    • - mindestens ein darauf angeordnetes, antreibbares Funktionsorgan zur Betätigung von Reinigungsmitteln, und
    • - Steuermittel,

    womit das Gerät automatisch zu bestimmten Textilmaschinen lenkbar ist und dort programmierte Reinigungsoperationen ausführen kann.
  • Durch die Erfindung können individuelle Reinigungsprogramme an der jeweiligen Maschine durchgeführt werden. Das Reinigungsgerät lässt sich beispielsweise für die Reinigung von besonders fluggefährdeten Teilen einer oder mehrerer Textilmaschinen mit oder ohne Maschinenstillstand in regelmässigen Abständen einsetzen. Bei der Verwendung des Reinigungsgerätes an Webmaschinen kann beispielsweise im Einlaufbereich des Schussfadens der Flug von fadenführenden Teilen abgesaugt werden. Bei einer anderen Betriebsweise können die Kettfäden von Webmaschinen kontinuierlich von losen Fasern befreit werden, die in grösseren Ansammlungen zu Kettfadenbrüchen führen würden. Durch den laufenden Einsatz eines oder mehrerer Reinigungsgeräte kann so ein höherer Betriebsnutzeffekt bei gleichzeitiger Steigerung der Gewebequalität erreicht werden.
  • Bei Kett- oder Artikelwechsel an Webmaschinen können auch von einem Reinigungsgerät gemäss der Erfindung -- ohne Einsatz von Personal -- nach gesondertem Programm intensive Reinigungsoperationen, beispielsweise das Absaugen von grösseren Flugansammlungen im Inneren von Maschinen, durchgeführt werden.
  • Bei Anordnung mehrerer Funktionsorgane (z.B. Düsen) an einem Reinigungsgerät können unabhängige Reinigungsvorgänge gleichzeitig abgewickelt werden. Durch Organe im unteren Bereich des Reinigungsgerätes kann während der Fahrt der Websaalboden sauber gehalten werden.
  • Im Gegensatz zu bekannten Re'inigungsgeräten, die über den Maschinen an gesonderten Schienen aufgehängt sind, kannbei dem erfindungsgemässen Gerät kein Flug auf die Textilmaschinen herabfallen. Durch den Wegfall gesonderten Hängeschienen können Investionskosten eingespart werden. Durch die exakte Führung der Düsen nahe am Reinigungsobjekt kann mit geringerem Luftdurchsatz gearbeitet werden. Damit können die lufttechnischen Einrichtungen kleiner als bei herkömmlichen Geräten dimensioniert werden.
  • Im folgenden wird die Erfindung in einer bevorzugten Ausführungsform anhand der Figuren näher beschrieben. Es zeigen:
    • Fig. 1 zwei Reinigungsgeräte an einer stillgesetzten Webmaschine,
    • Fig. 2 und 2a je ein Reinigungsgerät an einer Entsorgungsstation,
    • Fig. 3 ein Reinigungsgerät mit verschiedenen Hilfsvorrichtungen,
    • Fig. 4 und 5 ein Ausführungsbeispiel eines Details, in Querschnitt nach Linie IV - IV und Längsschnitt nach Linie V - V, teilweise in Ansicht,
    • Fig. 5a,b,c, erläutern zugehörige Einzelheiten von abgewandelten Ausführungsformen in grösserem Massstab.
  • In Fig. 1 arbeiten zwei Reinigungsgeräte 1 gleichzeitig an einer ein Maschinengestell 101, einen Spannbaum 102, Schäfte l03 und eine Warenabzugswalze 104 enthaltenden Webmaschine 2-während des Artikelwechsels (z.B.Einsetzen von anderem Kett- und Schussmaterial zwecks Herstellung eines anderen Gewebes). An der Webmaschine sind Kett- und Warenbaum herausgenommen. An jedem Reinigungsgerät 1 sind im oberen Bereich zwei antreibbare Roboterarme 3,13 als Funktionsorgane angeordnet. Als Reinigungsmittel sind Absaugdüsen 4 bzw. Blasdüsen 4a angebracht. Den unteren Bereich des Reinigungsgerätes 1 bildet ein Fahrantrieb 5. Mit einem elektrischen Empfänger (Sensor) 6 im Unterteil des Reinigungsgerätes werden von einem elektrischen, an der Webmaschine angeordneten Sender 7 berührungslos Instuktionen über die durchzuführenden Reinigungsoperationen entgegengenommen. Wenn das Reinigungsprogramm in elektronischen Steuermitteln 5a des Reinigungsgerätes gespeichert ist, genügt zur Uebermittlung eine kurze Folge von Signalen, womit das Reinigungsprogramm im Gerät 1 aufgerufen wird.
  • Im Boden 5b der Weberei ist eine Induktionsspur 8 eingelassen, mit der die Reinigungsgeräte 1 durch den Betrieb geführt werden. Den Weg zu einem bestimmten Reinigungsobjekt (Webmaschine) im Betrieb bestimmt eine Steuerzentrale.
  • Das in Fig. 1 rechte Reinigungsgerät ist an den Anschlussstellen 9 mit Kupplungen 10 zur Versorgung z.B. mit Druckluft und elektrischem Strom (Leitungen 86) angeschlossen. Die Verbindung der Kupplung 10 des Gerätes 1 mit der Anschlussstelle 9 der Webmaschine kann z.B. durch einen der Roboterarme 3,13 automatisch hergestellt werden (Fig. 5). Unten an den Reinigungsgeräten 1 sind als weitere Funktionsorgane Absaugschläuche 11 angebracht, durch die Staub (Flug) in der Nähe des Websaalbodens 5b abgesaugt werden kann. Auch sind Saugöffnungen 12 an der Unterseite der Fahreinheit 5 zur direkten Absaugung angebracht.
  • Im Oberteil des Reinigungsgerätes 1 ist ein Filterkessel 71 vorgesehen. Dieser kann an einer Entsorgungsstation-(Sammelstelle für den eingesammelten Staub bzw. Flug) automatisch geleert oder durch einen leeren Ersatzfilterkessel ersetzt werden. Gegebenenfalls kann das Gerät 1 auch über eine zentrale entleerungseinrichtung innerhalb des Betriebes entsorgt werden.
  • Bei Fig. 2 befindet sich ein Reinigungsgerät 1 über einer Bodenöffnung 21, deren Abdeckplatten 22 seitlich verschoben sind. Der Inhalt des Filterkessels 71 im Reinigungsgerät kann nach unten ausgeworfen werden.
  • Bei Fig. 2a ist ein Reinigungsgerät 1 seitlich an ein Sauggebläse 23 herangefahren, welches über einen Absaugschacht 24 den Filterkessel 71 des Reinigungsgerätes entleert. In einem oberen Teil 81 des Gerätes 1 sind Servomotoren 82 untergebracht, von denen die Bewegung der mit Stützscheiben 52 (Fig. 5) ausgestatteten, wurmartig beweglichen Arme 3a,13a mittels Zugseilen 51 gesteuert werden kann.
  • Fig. 3 zeigt ein Reinigungsgerät 1 mit verschiedenen Hilfvorrichtungen. In einem Aufaahmemagazin 31 sind verschiedene Reinigungsmittel, z.B. Blas- bzw. Saugdüsen 4a,14, oder andere Werkzeuge zur Auswahl gelagert. Für bestimmte Reinigungsarbeiten können auch mechanische Mittel, z.B. mit Durckluft angetriebene rotierende Bürsten, zweckmässig sein. Mit einer Kupplungsvorrichtung 32 entnimmt der Roboterarm 3 z.B. die Düse 4a selbsttätig aus dem Magazin 31. Die Versorgungsleitungen (Strom und/ oder Druckluft) 34 sind in Fig. 3 über der Induktionsspur 8 des Reinigungsgerätes angeordnet.
  • Das Reinigungsgerät 1 ist mit einem um 74 gemäss Pfeil 92 schwenkbaren Führungsarm 36 zum exakten Positionieren relativ zur rechts in Fig. 3 angedeuteten Webmaschine 2 ausgestattet, an der ein Leitprofil 37 für das Gerät 1 angebracht ist. Die Führung des Reinigungsgerätes neben der Textilmaschine wird dann von der Leitspur 8 an die Positioniervorrichtung 36,37 übergeben.
  • Fig. 4 und 5 sind ein Quer- bzw. Längsschnitt durch den Roboterarm 3 mit einer Kupplungsvorrichtung 32. In Arm 3 befindet sich ein innerer-Schlauch 44. Dieser enthält aufeinandergesetzte, tellerförmige, mit im wesentlichen - ovalem Querschnitt versehene Stützscheiben 52, die durch Seilzüge 51 und ein zentrales Stützseil 51a zusammengehalten werden. Die als Steuerseile für die Bewegung des Armes 3 dienenden Seilzüge 51 sind in Bohrungen 76, das Stützseil 51a ist in Bohrungen 77 der Stützscheiben 52 geführt. In dem Schlauch 41 sind ein Druckluft-Zuführungskanal 44 und zwei Luftrückführungs- bzw. -saugkanäle 78,79 untergebracht.
  • Der Schlauch 41 besteht z.B. aus flexiblem Kunststoff. Zur Erhaltung der Eigenstabilität des Schlauches 41 (Mittelachse 92) kann ein Stützdraht 42 (Fig. 5a) eingelegt sein. Der Schlauch kann auch als Wellrohr 43 (Fig. 5b) ausgebildet sein.
  • Die Kupplungsvorrichtung 32 am Ende des Armes 3a kann durch eine Leitung 53 mit Druckluft beaufschlagt werden, worauf sich die flexible Zylinderwand 54 nach aussen in die in Fig. 5 strichpunktiert dargestellte Position 54a wölbt und dadurch z.B. die aufgeschobene Düse 4a entsprechend Fig. 3 von innen festklemmt. Die Zylinderwand 54 besteht ebenso wie der Schlauch 41 aus flexiblem Kunststoff.
  • Bei der Ausführungsvariante der Kupplungsvorrichtung gemäss Fig. 5c ist aussen um die flexible Zylinderwand 54 herum ein zylindrischer,gelochter Stützmantel 55 befestigt. Auf diesen kann z.B. die Düse 4a aufgesteckt werden. Wenn durch Kanal 53 Druckluft eingeleitet wird, legt sich die flexible W2.nd 54 in Form einer in Fig. 5c dargestellten Wellung 54b von innen gegen die Düse 4a, wodurch diese gehalten wird.
  • Zur Fixierung der Reinigungsmittel oder anderer Vorsätze (Düsen) am Ende des Roboterarmes 3 muss nur ein einziges Ventil im Innern des Reinigungsgerätes 1 geöffnet werden, das die Druckluftzufuhr bei 53 zur Kupplungsvorrichtung 32 erlaubt.
  • Die bewegungstechnischen Teile für den Antrieb und die durch die Pfeile 95 angedeuteten Bewegungen der Roboterarme 3,13, 11 sind im Einzelnen nicht sämtlich dargestellt. Sie sind aus der Robotertechnik mindestens teilweise bekannt. Ein entsprechend ausgebildetes und ähnlich funktionierendes Reinigungsgerät kann z.B. auch zur Reinigung einer Spinnmaschine verwendet werden. Mit dem Reinigungsgerät können bestimmte Aggregate einer Textilmaschine auch während des Betriebes, also bei laufender Textilmaschine gereinigt werden. Mit dem Reinigungsgerät kann z.B. auch eine Maschine zu bestimmten, ausgewählten oder dem Verschmutzungsgrad entsprechenden Zeiten gereinigt werden.

Claims (5)

1. Reinigungsgerät für Textilmaschinen, gekennzeichnet, durch
- einen spurgeführten Fahrantrieb (5,8),
- mindestens ein darauf angeordnetes, antreibbares Funktionsorgan (3,13) zur Betätigung von Reinigungsmitteln (4,4a), und
- Steuermittel (7,6,5a),

womit das Gerät (1) automatisch zu bestimmten Textilmaschinen (2) lenkbar ist und dort programmierte Reinigungsoperationen ausführen kann.
2. Reinigungsgerät nach Anspruch 1, dadurch gekennzeichnet, dass daran Sensoren (6) zum Empfang von Steuersignalen von den Textilmaschinen (2) und ferner Steuermittel (5a) zur Umsetzung der Steuersignale in Bewegungen des Fahrantriebes (5) zu einer Textilmaschine hin und in Reinigungsoperationen mittels der Funktionsorgane (4,4a) vorgesehen sind.
3. Reinigungsgerät nach Anspruch 1 oder 2, gekennzeichnet durch automatisch betätigbare Kupplungen (9,10) zum Anschluss des Reinigungsgerätes (1) an Versorgungs- (86)-und Entsorgungsleitungen (24).
4. Reinigungsgerät nach einem der vorhergehenden Ansprüche, gekennzeichnet durch eine am freien Ende der mit Druckluft arbeitenden Funktionsorgane (3) angebrachte, einen durch die Druckluft dehnbaren, sich gegen eine aufgesteckte Düse (4a) legenden und sie festhaltenden Zylinder (54) aufweisende Kupplung (32).
5. Reinigungsgerät nach Anspruch 1 oder einem der folgenden, gekennzeichnet durch eine zusätzliche Vorrichtung (36,37) zur exakten Positionierung des Reinigungsgerätes (1) relativ zum Reinigungsobjekt (2).
EP85810068A 1985-02-20 1985-02-20 Reinigungsgerät für Textilmaschinen Expired EP0192014B1 (de)

Priority Applications (4)

Application Number Priority Date Filing Date Title
EP85810068A EP0192014B1 (de) 1985-02-20 1985-02-20 Reinigungsgerät für Textilmaschinen
DE8585810068T DE3566687D1 (en) 1985-02-20 1985-02-20 Cleaning apparatus for textile machines
US06/825,135 US4655258A (en) 1985-02-20 1986-01-31 Cleaning apparatus for textile machine
JP61033116A JPS61194257A (ja) 1985-02-20 1986-02-19 織物機械用清掃装置

Applications Claiming Priority (1)

Application Number Priority Date Filing Date Title
EP85810068A EP0192014B1 (de) 1985-02-20 1985-02-20 Reinigungsgerät für Textilmaschinen

Publications (2)

Publication Number Publication Date
EP0192014A1 true EP0192014A1 (de) 1986-08-27
EP0192014B1 EP0192014B1 (de) 1988-12-07

Family

ID=8194629

Family Applications (1)

Application Number Title Priority Date Filing Date
EP85810068A Expired EP0192014B1 (de) 1985-02-20 1985-02-20 Reinigungsgerät für Textilmaschinen

Country Status (4)

Country Link
US (1) US4655258A (de)
EP (1) EP0192014B1 (de)
JP (1) JPS61194257A (de)
DE (1) DE3566687D1 (de)

Cited By (11)

* Cited by examiner, † Cited by third party
Publication number Priority date Publication date Assignee Title
EP0259622A1 (de) * 1986-08-22 1988-03-16 Maschinenfabrik Rieter Ag Verfahren zum Reinigen einer aus einer Mehrzahl von Arbeitsstellen bestehenden Textilmaschine
EP0291485A1 (de) * 1987-05-12 1988-11-17 Picanol N.V. Vorrichtung zur Entfernung von Abfallmaterial von Textilmaschinen
EP0311169A1 (de) * 1987-10-09 1989-04-12 Picanol N.V. Verfahren und Vorrichtung zum Positionieren von Hilfsapparaten in Webmaschinen
EP0394885A1 (de) * 1989-04-24 1990-10-31 Sohler Airtex Gmbh Verfahrbares Reinigungs- und Bedienungsgerät für Textilmaschinen
EP0421970A1 (de) * 1989-10-04 1991-04-10 Picanol N.V. Verfahren und Vorrichtung zum Sammeln von Staub und Abfall in Webmaschinen
EP0467159A1 (de) * 1990-07-20 1992-01-22 Maschinenfabrik Rieter Ag Vorrichtung zum automatischen Ansetzen oder Anspinnen eines Fadens und Verfahren zum Reinigen einer Spinnmaschine
EP0539972A1 (de) * 1991-10-29 1993-05-05 SOHLER AIRTEX GmbH Wanderreinigungsvorrichtung
EP0620300A1 (de) * 1993-04-16 1994-10-19 Sohler Airtex Gmbh Reinigungsvorrichtung
EP0676494A1 (de) * 1994-04-07 1995-10-11 Lindauer Dornier Gesellschaft M.B.H Einrichtung zur Verminderung von Faserflugniederschlag in Webmaschinen
EP0753612A1 (de) * 1995-07-14 1997-01-15 Rieter Ingolstadt Spinnereimaschinenbau AG Manuelle Absaugvorrichtung zur Maschinenreinigung
WO2012046055A3 (en) * 2010-10-06 2013-03-28 Ulster Carpet Mills (Holdings) Limited Oiling and cleaning apparatus

Families Citing this family (9)

* Cited by examiner, † Cited by third party
Publication number Priority date Publication date Assignee Title
DE3634474A1 (de) * 1986-10-09 1988-04-14 Zinser Textilmaschinen Gmbh Vorrichtung zur fuehrung eines bedienlaeufers entlang einer spinnereimaschine
IT1208234B (it) * 1987-01-23 1989-06-12 M P Meccanica Di Precisione Sa Bine vuote e piene in e da macchine robot programmabile di tipo filogui bobinatrici e da ed in rispettivi dato e o radiocomandato per il cari magazzini di alimentazione e di racco e lo scarico automatico delle bo colta
DE8903472U1 (de) * 1989-03-20 1989-05-03 Sohler Airtex GmbH, 7988 Wangen Reinigungsvorrichtung für Textilmaschinen
US6922867B1 (en) * 2001-08-08 2005-08-02 Lam Research Corporation Two position robot design for FOUP purge
US20060218680A1 (en) * 2005-03-28 2006-09-28 Bailey Andrew D Iii Apparatus for servicing a plasma processing system with a robot
US20100037819A1 (en) * 2008-08-14 2010-02-18 Snu R&Db Foundation Device for positioning nano materials
CN104911763B (zh) * 2015-06-15 2017-04-05 兴化市汤氏纺机制造有限公司 一种纺织机械高效辅助收料作业装置
CN110373755B (zh) * 2019-07-29 2024-05-17 南通灵敏环保设备有限公司 一种非冲击式换向机构的吹吸清洁机
CN114318601B (zh) * 2021-12-02 2023-12-01 浙江云泰纺织有限公司 一种纺织车间飞花高效清理设备

Citations (5)

* Cited by examiner, † Cited by third party
Publication number Priority date Publication date Assignee Title
CH396715A (de) * 1959-09-17 1965-07-31 Jacobi E & Co Kg Fahrbare Reinigungsanlage für Textilmaschinen, insbesondere für Spinnmaschinen
FR1427823A (fr) * 1964-12-18 1966-02-11 Parks Cramer Co Dispositif de nettoyage ambulant pneumatique aérien, en particulier pour installations de métiers à tisser
CH419931A (de) * 1964-12-03 1966-08-31 Sulzer Ag Abblasventilatoreinrichtung für Textilmaschinen
FR2310428A1 (fr) * 1975-05-07 1976-12-03 Jacobi E & Co Kg Dispositif de nettoyage pour des machines textiles comportant une machine a nouer les fils
FR2396107A1 (fr) * 1977-07-01 1979-01-26 Alsacienne Constr Meca Installation de nettoyage et de rattache de fils casses par chariots automates pour machines a filer

Family Cites Families (5)

* Cited by examiner, † Cited by third party
Publication number Priority date Publication date Assignee Title
US3525117A (en) * 1966-04-28 1970-08-25 Eaton Yale & Towne Apparatus for cleaning looms
US3991433A (en) * 1973-03-22 1976-11-16 Cirino John F Blower equipment for roll-over car wash
US3945081A (en) * 1974-03-27 1976-03-23 American Chain & Cable Company, Inc. Loom cleaner
CH624999A5 (de) * 1977-11-17 1981-08-31 Sulzer Ag
SU717177A1 (ru) * 1977-12-23 1980-02-25 Центральное Проектно-Конструкторское И Технологическое Бюро Текстильной Промышленности Устройство дл очистки ткацких станков

Patent Citations (5)

* Cited by examiner, † Cited by third party
Publication number Priority date Publication date Assignee Title
CH396715A (de) * 1959-09-17 1965-07-31 Jacobi E & Co Kg Fahrbare Reinigungsanlage für Textilmaschinen, insbesondere für Spinnmaschinen
CH419931A (de) * 1964-12-03 1966-08-31 Sulzer Ag Abblasventilatoreinrichtung für Textilmaschinen
FR1427823A (fr) * 1964-12-18 1966-02-11 Parks Cramer Co Dispositif de nettoyage ambulant pneumatique aérien, en particulier pour installations de métiers à tisser
FR2310428A1 (fr) * 1975-05-07 1976-12-03 Jacobi E & Co Kg Dispositif de nettoyage pour des machines textiles comportant une machine a nouer les fils
FR2396107A1 (fr) * 1977-07-01 1979-01-26 Alsacienne Constr Meca Installation de nettoyage et de rattache de fils casses par chariots automates pour machines a filer

Cited By (17)

* Cited by examiner, † Cited by third party
Publication number Priority date Publication date Assignee Title
EP0259622A1 (de) * 1986-08-22 1988-03-16 Maschinenfabrik Rieter Ag Verfahren zum Reinigen einer aus einer Mehrzahl von Arbeitsstellen bestehenden Textilmaschine
EP0291485A1 (de) * 1987-05-12 1988-11-17 Picanol N.V. Vorrichtung zur Entfernung von Abfallmaterial von Textilmaschinen
BE1000552A4 (nl) * 1987-05-12 1989-01-31 Picanol Nv Inrichting voor het verwijderen van afvalprodukten bij textielmachines.
US4869296A (en) * 1987-05-12 1989-09-26 Picanol N.V. Device for removing waste products from textile machines
EP0311169A1 (de) * 1987-10-09 1989-04-12 Picanol N.V. Verfahren und Vorrichtung zum Positionieren von Hilfsapparaten in Webmaschinen
BE1000987A3 (nl) * 1987-10-09 1989-05-30 Picanol Nv Werkwijze voor het positioneren van hulpelementen bij weefmachines, en inrichting die deze werkwijze toepast.
EP0394885A1 (de) * 1989-04-24 1990-10-31 Sohler Airtex Gmbh Verfahrbares Reinigungs- und Bedienungsgerät für Textilmaschinen
US5040570A (en) * 1989-10-04 1991-08-20 Picanol N.V. Collecting dust and selvage waste ribbon in weaving machines onto a winding spool
EP0421970A1 (de) * 1989-10-04 1991-04-10 Picanol N.V. Verfahren und Vorrichtung zum Sammeln von Staub und Abfall in Webmaschinen
BE1003533A3 (nl) * 1989-10-04 1992-04-14 Picanol Nv Werkwijze en inrichting voor het verzamelen van stof en afval bij weefmachines.
EP0467159A1 (de) * 1990-07-20 1992-01-22 Maschinenfabrik Rieter Ag Vorrichtung zum automatischen Ansetzen oder Anspinnen eines Fadens und Verfahren zum Reinigen einer Spinnmaschine
EP0539972A1 (de) * 1991-10-29 1993-05-05 SOHLER AIRTEX GmbH Wanderreinigungsvorrichtung
EP0620300A1 (de) * 1993-04-16 1994-10-19 Sohler Airtex Gmbh Reinigungsvorrichtung
EP0676494A1 (de) * 1994-04-07 1995-10-11 Lindauer Dornier Gesellschaft M.B.H Einrichtung zur Verminderung von Faserflugniederschlag in Webmaschinen
EP0753612A1 (de) * 1995-07-14 1997-01-15 Rieter Ingolstadt Spinnereimaschinenbau AG Manuelle Absaugvorrichtung zur Maschinenreinigung
US5720075A (en) * 1995-07-14 1998-02-24 Rieter Ingolstadt Spinnereimaschinenbau Ag Manual suction device for textile machine cleaning
WO2012046055A3 (en) * 2010-10-06 2013-03-28 Ulster Carpet Mills (Holdings) Limited Oiling and cleaning apparatus

Also Published As

Publication number Publication date
JPS61194257A (ja) 1986-08-28
DE3566687D1 (en) 1989-01-12
US4655258A (en) 1987-04-07
EP0192014B1 (de) 1988-12-07

Similar Documents

Publication Publication Date Title
EP0192014B1 (de) Reinigungsgerät für Textilmaschinen
DE2613180C2 (de) Offenend-Spinnmaschine mit einer Vielzahl von Spinnaggregaten und mit wenigstens einer Wartungseinrichtung
DE2658752C2 (de) Offenend-Spinnmaschine mit Mitteln zum Aufnehmen und Abführen abgeschiedener Verunreinigungen
EP0259622B1 (de) Verfahren zum Reinigen einer aus einer Mehrzahl von Arbeitsstellen bestehenden Textilmaschine
EP0467159A1 (de) Vorrichtung zum automatischen Ansetzen oder Anspinnen eines Fadens und Verfahren zum Reinigen einer Spinnmaschine
DE1252870C2 (de) Fahrende reinigungsvorrichtung fuer das entfernen des gaserflugs u.dgl. von maschinenteilen und dem fussboden in textilmaschinensaelen
DE2518522A1 (de) Farhbare pneumatische vorrichtung zum absaugen und abblasen von faserflug bei textilmaschinen
DE2919768A1 (de) Vorrichtung zum entstauben einer spulmaschine
DE2339880A1 (de) Pneumatische reinigungsanlage der streckwerke in vorspinn- und spinnmaschinen
DE2815188A1 (de) Vorrichtung zum pneumatischen abblasen und absaugen von faserflug bei textilmaschinen
DE10022734A1 (de) Reinigungseinrichtung am Serviceaggregat einer Kreuzspulen herstellenden Textilmaschine
DE3640001C2 (de) OE-Spinnmaschine
WO2024081987A1 (de) Reinigungswerkzeug für biegemaschinen
DE3891430C2 (de) Reinigungsvorrichtung für Spinnmaschinen
EP0534077A1 (de) Transporteinrichtung
DE4131525A1 (de) Textilmaschine mit staubabsaugung an den spulstellen
DE19527724A1 (de) Wartevorrichtung einer Textilmaschine
CH664583A5 (de) Laengs textilmaschinen verfahrbare reinigungsvorrichtung.
DE4001007C2 (de)
DE2129563A1 (de) Fahrbares reinigungsgeraet fuer textilmaschinen
EP0815302B1 (de) Wanderreiniger
DE4406756C2 (de) Lufttechnisches System mit Wanderreiniger
DE1265016C2 (de) Verfahrbare reinigungsvorrichtung fuer spinnmaschinen u.dgl.
DE1535066C3 (de) Reinigungsvorrichtung für Spinnereimaschinen
DE2530735C2 (de) Reinigungsvorrichtung bei einer Spinn- oder Zwirnmaschine

Legal Events

Date Code Title Description
PUAI Public reference made under article 153(3) epc to a published international application that has entered the european phase

Free format text: ORIGINAL CODE: 0009012

17P Request for examination filed

Effective date: 19850222

AK Designated contracting states

Kind code of ref document: A1

Designated state(s): AT BE CH DE FR GB IT LI LU NL SE

RBV Designated contracting states (corrected)

Designated state(s): BE CH DE FR IT LI

17Q First examination report despatched

Effective date: 19870126

ITF It: translation for a ep patent filed
GRAA (expected) grant

Free format text: ORIGINAL CODE: 0009210

AK Designated contracting states

Kind code of ref document: B1

Designated state(s): BE CH DE FR IT LI

REF Corresponds to:

Ref document number: 3566687

Country of ref document: DE

Date of ref document: 19890112

PLBI Opposition filed

Free format text: ORIGINAL CODE: 0009260

ET Fr: translation filed
26 Opposition filed

Opponent name: REIS GMBH & CO. MASCHINENFABRIK

Effective date: 19890222

PLBI Opposition filed

Free format text: ORIGINAL CODE: 0009260

26 Opposition filed

Opponent name: SOHLER AIRTEX GMBH

Effective date: 19890907

Opponent name: WAGNER FOERDERTECHNIK GMBH & CO KG

Effective date: 19890907

Opponent name: REIS GMBH & CO. MASCHINENFABRIK

Effective date: 19890222

PGFP Annual fee paid to national office [announced via postgrant information from national office to epo]

Ref country code: FR

Payment date: 19910212

Year of fee payment: 7

PGFP Annual fee paid to national office [announced via postgrant information from national office to epo]

Ref country code: CH

Payment date: 19910227

Year of fee payment: 7

ITTA It: last paid annual fee
PGFP Annual fee paid to national office [announced via postgrant information from national office to epo]

Ref country code: DE

Payment date: 19910328

Year of fee payment: 7

PGFP Annual fee paid to national office [announced via postgrant information from national office to epo]

Ref country code: BE

Payment date: 19910403

Year of fee payment: 7

RDAG Patent revoked

Free format text: ORIGINAL CODE: 0009271

STAA Information on the status of an ep patent application or granted ep patent

Free format text: STATUS: PATENT REVOKED

27W Patent revoked

Effective date: 19911021

REG Reference to a national code

Ref country code: CH

Ref legal event code: PL

BERE Be: lapsed

Owner name: GEBRUDER SULZER A.G.

Effective date: 19920228

PLAB Opposition data, opponent's data or that of the opponent's representative modified

Free format text: ORIGINAL CODE: 0009299OPPO