WO2020071226A1 - 雌端子 - Google Patents

雌端子

Info

Publication number
WO2020071226A1
WO2020071226A1 PCT/JP2019/037803 JP2019037803W WO2020071226A1 WO 2020071226 A1 WO2020071226 A1 WO 2020071226A1 JP 2019037803 W JP2019037803 W JP 2019037803W WO 2020071226 A1 WO2020071226 A1 WO 2020071226A1
Authority
WO
WIPO (PCT)
Prior art keywords
spring member
terminal
length direction
male terminal
male
Prior art date
Legal status (The legal status is an assumption and is not a legal conclusion. Google has not performed a legal analysis and makes no representation as to the accuracy of the status listed.)
Ceased
Application number
PCT/JP2019/037803
Other languages
English (en)
French (fr)
Japanese (ja)
Inventor
章弘 西谷
田端 正明
照雄 原
Current Assignee (The listed assignees may be inaccurate. Google has not performed a legal analysis and makes no representation or warranty as to the accuracy of the list.)
Sumitomo Wiring Systems Ltd
AutoNetworks Technologies Ltd
Sumitomo Electric Industries Ltd
Original Assignee
Sumitomo Wiring Systems Ltd
AutoNetworks Technologies Ltd
Sumitomo Electric Industries Ltd
Priority date (The priority date is an assumption and is not a legal conclusion. Google has not performed a legal analysis and makes no representation as to the accuracy of the date listed.)
Filing date
Publication date
Application filed by Sumitomo Wiring Systems Ltd, AutoNetworks Technologies Ltd, Sumitomo Electric Industries Ltd filed Critical Sumitomo Wiring Systems Ltd
Priority to CN201980064509.3A priority Critical patent/CN112823450B/zh
Priority to US17/278,325 priority patent/US11456550B2/en
Publication of WO2020071226A1 publication Critical patent/WO2020071226A1/ja
Anticipated expiration legal-status Critical
Ceased legal-status Critical Current

Links

Images

Classifications

    • HELECTRICITY
    • H01ELECTRIC ELEMENTS
    • H01RELECTRICALLY-CONDUCTIVE CONNECTIONS; STRUCTURAL ASSOCIATIONS OF A PLURALITY OF MUTUALLY-INSULATED ELECTRICAL CONNECTING ELEMENTS; COUPLING DEVICES; CURRENT COLLECTORS
    • H01R13/00Details of coupling devices of the kinds covered by groups H01R12/70 or H01R24/00 - H01R33/00
    • H01R13/02Contact members
    • H01R13/10Sockets for co-operation with pins or blades
    • H01R13/11Resilient sockets
    • HELECTRICITY
    • H01ELECTRIC ELEMENTS
    • H01RELECTRICALLY-CONDUCTIVE CONNECTIONS; STRUCTURAL ASSOCIATIONS OF A PLURALITY OF MUTUALLY-INSULATED ELECTRICAL CONNECTING ELEMENTS; COUPLING DEVICES; CURRENT COLLECTORS
    • H01R13/00Details of coupling devices of the kinds covered by groups H01R12/70 or H01R24/00 - H01R33/00
    • H01R13/02Contact members
    • H01R13/10Sockets for co-operation with pins or blades
    • H01R13/11Resilient sockets
    • H01R13/113Resilient sockets co-operating with pins or blades having a rectangular transverse section
    • HELECTRICITY
    • H01ELECTRIC ELEMENTS
    • H01RELECTRICALLY-CONDUCTIVE CONNECTIONS; STRUCTURAL ASSOCIATIONS OF A PLURALITY OF MUTUALLY-INSULATED ELECTRICAL CONNECTING ELEMENTS; COUPLING DEVICES; CURRENT COLLECTORS
    • H01R13/00Details of coupling devices of the kinds covered by groups H01R12/70 or H01R24/00 - H01R33/00
    • H01R13/02Contact members
    • H01R13/10Sockets for co-operation with pins or blades
    • H01R13/11Resilient sockets
    • H01R13/114Resilient sockets co-operating with pins or blades having a square transverse section
    • HELECTRICITY
    • H01ELECTRIC ELEMENTS
    • H01RELECTRICALLY-CONDUCTIVE CONNECTIONS; STRUCTURAL ASSOCIATIONS OF A PLURALITY OF MUTUALLY-INSULATED ELECTRICAL CONNECTING ELEMENTS; COUPLING DEVICES; CURRENT COLLECTORS
    • H01R4/00Electrically-conductive connections between two or more conductive members in direct contact, i.e. touching one another; Means for effecting or maintaining such contact; Electrically-conductive connections having two or more spaced connecting locations for conductors and using contact members penetrating insulation
    • H01R4/10Electrically-conductive connections between two or more conductive members in direct contact, i.e. touching one another; Means for effecting or maintaining such contact; Electrically-conductive connections having two or more spaced connecting locations for conductors and using contact members penetrating insulation effected solely by twisting, wrapping, bending, crimping, or other permanent deformation
    • H01R4/18Electrically-conductive connections between two or more conductive members in direct contact, i.e. touching one another; Means for effecting or maintaining such contact; Electrically-conductive connections having two or more spaced connecting locations for conductors and using contact members penetrating insulation effected solely by twisting, wrapping, bending, crimping, or other permanent deformation by crimping
    • HELECTRICITY
    • H01ELECTRIC ELEMENTS
    • H01RELECTRICALLY-CONDUCTIVE CONNECTIONS; STRUCTURAL ASSOCIATIONS OF A PLURALITY OF MUTUALLY-INSULATED ELECTRICAL CONNECTING ELEMENTS; COUPLING DEVICES; CURRENT COLLECTORS
    • H01R4/00Electrically-conductive connections between two or more conductive members in direct contact, i.e. touching one another; Means for effecting or maintaining such contact; Electrically-conductive connections having two or more spaced connecting locations for conductors and using contact members penetrating insulation
    • H01R4/10Electrically-conductive connections between two or more conductive members in direct contact, i.e. touching one another; Means for effecting or maintaining such contact; Electrically-conductive connections having two or more spaced connecting locations for conductors and using contact members penetrating insulation effected solely by twisting, wrapping, bending, crimping, or other permanent deformation
    • H01R4/18Electrically-conductive connections between two or more conductive members in direct contact, i.e. touching one another; Means for effecting or maintaining such contact; Electrically-conductive connections having two or more spaced connecting locations for conductors and using contact members penetrating insulation effected solely by twisting, wrapping, bending, crimping, or other permanent deformation by crimping
    • H01R4/183Electrically-conductive connections between two or more conductive members in direct contact, i.e. touching one another; Means for effecting or maintaining such contact; Electrically-conductive connections having two or more spaced connecting locations for conductors and using contact members penetrating insulation effected solely by twisting, wrapping, bending, crimping, or other permanent deformation by crimping for cylindrical elongated bodies, e.g. cables having circular cross-section
    • H01R4/184Electrically-conductive connections between two or more conductive members in direct contact, i.e. touching one another; Means for effecting or maintaining such contact; Electrically-conductive connections having two or more spaced connecting locations for conductors and using contact members penetrating insulation effected solely by twisting, wrapping, bending, crimping, or other permanent deformation by crimping for cylindrical elongated bodies, e.g. cables having circular cross-section comprising a U-shaped wire-receiving portion
    • H01R4/185Electrically-conductive connections between two or more conductive members in direct contact, i.e. touching one another; Means for effecting or maintaining such contact; Electrically-conductive connections having two or more spaced connecting locations for conductors and using contact members penetrating insulation effected solely by twisting, wrapping, bending, crimping, or other permanent deformation by crimping for cylindrical elongated bodies, e.g. cables having circular cross-section comprising a U-shaped wire-receiving portion combined with a U-shaped insulation-receiving portion

Definitions

  • the technology disclosed in this specification relates to a female terminal.
  • the male terminal With the male terminal inserted into the terminal connection portion, the male terminal moves in a direction intersecting the entry direction, and one of the elastic pieces arranged on both sides in a direction intersecting the entry direction of the male terminal. Assume that the elastic piece and the male terminal are close to each other. Then, the one elastic piece tries to push the male terminal back to the other elastic one side by its elastic force.
  • the other elastic piece still applies a resilient force to the male terminal in a direction to promote the male terminal to approach the one elastic piece.
  • the elastic force of the other elastic piece cancels out the elastic force of the one elastic piece, and there is a possibility that the male terminal cannot be sufficiently prevented from moving in the direction intersecting the approach direction. It will happen.
  • the technique disclosed in the present specification has been completed based on the above circumstances, and aims to suppress sliding wear of a portion of a female terminal that contacts a male terminal.
  • the technology disclosed in the present specification is a female terminal, a terminal connection portion extending along a length direction, and having an insertion port into which a male terminal is inserted at a front end in the length direction;
  • An elastic contact piece that is disposed inside the portion and elastically contacts the male terminal from a height direction intersecting the length direction to sandwich the male terminal between the terminal connection portion and the terminal;
  • Inside the connecting portion the male terminal is arranged side by side at intervals along the length direction and elastically contacts the male terminal from one side in the width direction crossing the length direction and the height direction.
  • a plurality of spring members projecting from the other side in the width direction toward the one side in the width direction inside the terminal connection portion, and the male terminal between the plurality of spring members. And a protruding portion for sandwiching the same.
  • the male terminal comes into contact with the plurality of spring members arranged in the terminal connection portion from one side in the width direction.
  • the male terminal receives an elastic force along the width direction from the plurality of spring members and is pressed against the protrusion. This suppresses the relative movement of the male terminal along the width direction.
  • the plurality of spring members press the male terminal from one side in the width direction of the terminal connection portion, so that no force is applied in a direction to promote the movement of the male terminal. I have.
  • sliding wear of the portion of the female terminal that contacts the male terminal is suppressed.
  • the male terminal attempts to rotate about the height direction as an axis
  • the plurality of spring members are arranged side by side at intervals along the length direction, so that the amount of deflection of each spring member is different. It has become. Then, the male terminal receives a larger force from the one having the larger amount of deflection among the plurality of spring members. As a result, relative rotation of the male terminal about the height direction is suppressed. As a result, sliding wear of the portion of the female terminal that contacts the male terminal is suppressed.
  • the plurality of spring members are formed integrally with the terminal connection portion.
  • the number of components can be reduced as compared with a case where the plurality of spring members are formed separately from the terminal connection portions.
  • the plurality of spring members are separate members from the terminal connection portions.
  • the plurality of spring members can be made of a different material and a different thickness from the terminal connection portion. Therefore, when designing a plurality of spring members, restrictions imposed by the shape of the terminal connection portion, the material forming the terminal connection portion, and the like can be reduced. As a result, the degree of freedom in designing the plurality of spring members is improved.
  • the plurality of spring members include a front spring member located on the front side in the length direction and a rear spring member located on the rear side in the length direction.
  • the front spring member and the rear spring member are spaced apart along the length direction in which the terminal connection portion extends. Since they are arranged side by side, the amount of deflection of the front spring member is different from the amount of deflection of the rear spring member. Then, the male terminal receives a larger force from the one with the larger amount of deflection between the front spring member and the rear spring member. As a result, relative rotation of the male terminal about the height direction is suppressed.
  • the spring constant of the front spring member is set smaller than the spring constant of the rear spring member.
  • the insertion force when the male terminal enters the inside of the terminal connecting portion can be reduced in the initial stage of the connection work between the male terminal and the female terminal. Thereby, the efficiency of the connection work between the male terminal and the female terminal can be improved.
  • the front spring member is formed so as to extend forward in the length direction
  • the rear spring member is formed so as to extend rearward in the length direction.
  • the front spring member and the rear spring member When one of the front spring member and the rear spring member is pressed from the male terminal, the front spring member and the rear spring member operate as a seesaw as a whole, and the other spring member assists the one spring member. Thus, the male terminal can be pressed. Thereby, rotation of the male terminal around the height direction can be further suppressed.
  • One or both of the front spring member and the rear spring member extend in the height direction.
  • one or both of the front spring member and the rear spring member are set to the height of the terminal connection portion. Since it can be formed to extend in the direction, the degree of freedom in designing the female terminal can be improved.
  • the front spring member has a front pressing portion that contacts the male terminal
  • the rear spring member has a rear pressing portion that contacts the male terminal
  • the protruding portion extends along the length direction.
  • the front end of the protrusion is located forward of the front pressing portion of the front spring member
  • the rear end of the protrusion is located behind the rear spring member. It is located behind the pressing portion.
  • the distance between the rotating shaft and the front pressing portion of the front spring member and the distance between the rotating shaft and the rear pressing portion of the rear spring member can be set to be large.
  • the relative rotation of the male terminal about the height direction can be further suppressed.
  • the front spring member includes a front pressing portion that contacts the male terminal
  • the rear spring member includes a rear pressing portion that contacts the male terminal
  • the elastic contact piece includes the front pressing portion in the length direction.
  • a contact protruding portion located between the portion and the rear pressing portion and in contact with the male terminal.
  • the male terminal and the front pressing portion of the front spring member, the contact protrusion of the elastic contact piece, and the rear pressing portion of the rear spring member are sequentially contacted. It has become. Thereby, the insertion force of the male terminal is dispersed, so that the maximum insertion force of the male terminal can be reduced.
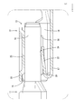
  • FIG. 2 is a perspective view showing a female terminal according to the first embodiment.
  • FIG. 2 is a perspective view of a cross section taken along line III-III in FIG.
  • Partially notched plan sectional view showing the state where the male terminal and the female terminal are connected.
  • Partially notched plan sectional view showing the amount of deflection of the front spring member and the rear spring member.
  • FIG. 7 is a partially cutaway cross-sectional plan view showing the amount of deflection of a front spring member and a rear spring member in a state where the male terminal is relatively rotated about the front end of the protrusion as a center of rotation.
  • Partially notched plan sectional view showing a state in which the male terminal relatively rotates around the rear end of the protruding portion as a center of rotation.
  • FIG. 7 is a partially cut-away plan sectional view showing the amount of deflection of the front spring member and the rear spring member in a state where the male terminal is relatively rotated about the rear end of the protruding portion as a center of rotation.
  • Embodiment 1 of the technology disclosed in the present specification will be described with reference to FIGS. 1 to 15.
  • the female terminal 10 according to the present embodiment is connected to the male terminal 11.
  • the Z-axis direction is defined as a height direction
  • the Y-axis direction is defined as a length direction
  • the X-axis direction is defined as a width direction.
  • the height direction, the length direction, and the width direction intersect (orthogonally) with each other.
  • the direction indicated by the arrow of the Z axis is set to the upper side
  • the Y direction indicated by the arrow of the Y axis is set to the front
  • the direction indicated by the arrow of the X axis is set to the left.
  • the male terminal 11 is formed by pressing a conductive metal plate into a predetermined shape.
  • the male terminal 11 has a flat male tab 12.
  • the male terminal 11 may be connected to a not-shown electric wire, or may be connected to a not-shown device.
  • the male tab 12 has substantially the same width in the length direction, and has a substantially rectangular shape when viewed from above (see FIG. 8).
  • the tip of the male tab 12 is slightly tapered. Any metal such as copper, copper alloy, aluminum, and aluminum alloy can be appropriately selected as a metal constituting the male terminal 11 as needed. In the present embodiment, copper or a copper alloy is used.
  • the female terminal 10 As shown in FIG. 1 and FIG. 2, the female terminal 10 has a cylindrical terminal connecting portion 13 into which the male tab 12 of the male terminal 11 is inserted, and the female terminal 10 is connected to the terminal connecting portion 13, and an electric wire (not shown).
  • a wire barrel 14 which is crimped to the outer periphery of a core wire (not shown) exposed from the end of the wire, and an insulation barrel 15 which is connected to the wire barrel 14 and crimped to the outer periphery of an insulating coating (not shown) which covers the core wire of the electric wire. , Is provided.
  • the female terminal 10 is formed by pressing a conductive metal plate into a predetermined shape. Any metal such as copper, copper alloy, aluminum, and aluminum alloy can be appropriately selected as a metal constituting the female terminal 10 as needed. In the present embodiment, copper or a copper alloy is used.
  • the terminal connection portion 13 has a rectangular cylindrical shape extending in the length direction.
  • An insertion port 16 into which the male terminal 11 is inserted is opened forward at the front end in the length direction of the terminal connection portion 13.
  • the insertion slot 16 has a substantially rectangular shape when viewed from the front.
  • the terminal connection portion 13 includes a bottom wall 17, a left side wall 18 rising upward from a left side edge of the bottom wall 17, a right side wall 19 rising upward from a right side edge of the bottom wall 17, and a right side from an upper edge of the left side wall 18. And an upper wall 20 extending to
  • Elastic contact piece 22 As shown in FIG. 5, an elastic contact piece 22 that is folded back extends from a front edge of the bottom wall 17 of the terminal connection portion 13.
  • the elastic contact piece 22 extends obliquely upward and rearward in the terminal connection portion 13 in a cantilever manner. In other words, the elastic contact piece 22 is inclined so as to approach the upper wall 20 toward the rear.
  • the width dimension of the elastic contact piece 22 according to the present embodiment is set to the same width in the length direction.
  • a notch 23 extending rearward is provided at a front edge of the bottom wall 17 of the terminal connection portion 13 at a position outside the width direction of the elastic contact piece 22. Due to the notch 23, even when the elastic contact piece 22 is elastically deformed, the influence is less likely to reach the bottom wall 17.
  • a contact protruding portion 24 that protrudes upward is formed near the rear end of the elastic contact piece 22 near the center in the width direction.
  • the contact protruding portion 24 is formed by punching out, and has a circular shape when viewed from above.
  • Rib 25 As shown in FIGS. 5 and 6, a rib 25 extending in the front-rear direction is formed on the upper wall 20 of the terminal connection portion 13 by performing a punching process downward.
  • the cross-sectional shape of the rib 25 is substantially a semi-elliptical shape.
  • the distance between the lower end of the rib 25 and the upper end of the contact protrusion 24 when the elastic contact piece 22 is not elastically deformed is set smaller than the thickness dimension of the male terminal 11.
  • the upper end of the contact protrusion 24 is arranged at a position slightly behind the center of the length of the rib 25 in the length direction.
  • Spring member front spring member 26, rear spring member 27
  • the right side wall 19 of the terminal connection portion 13 is spaced apart in the length direction and has a front spring member 26 located on the front side in the length direction and a rear spring member 27 located on the rear side. Are provided side by side at intervals in the length direction.
  • a substantially U-shaped front slit 28 is formed in the right side wall 19 of the terminal connection portion 13 at a position on the front side in the length direction.
  • the front spring member 26 is formed by cutting and raising the area surrounded by the front slit 28 inside the terminal connection portion 13.
  • the front spring member 26 is formed in a leaf spring shape extending forward from near the center position in the length direction of the right side wall 19 of the terminal connection portion 13.
  • the front spring member 26 is elastically deformed outward (right side) in the width direction with the base end as a fulcrum.
  • the front end of the front spring member 26 is a free end.
  • the front end portion of the front spring member 26 is bent outward (rightward) in the width direction.
  • a portion of the front spring member 26 which is located on the innermost side in the width direction is a front pressing portion 29.
  • a rear slit 30 having a substantially U shape is formed on the right side wall 19 of the terminal connection portion 13 at a position on the rear side in the length direction.
  • the rear spring member 27 is formed by cutting and raising an area surrounded by the rear slit 30 inside the terminal connection portion 13.
  • the rear spring member 27 is formed in a leaf spring shape and extends rearward from near the center position in the length direction of the right side wall 19 of the terminal connection portion 13.
  • the rear spring member 27 is elastically deformed outward (right side) in the width direction with the base end as a fulcrum.
  • the rear end of the rear spring member 27 is a free end. As shown in FIGS. 3 and 4, the rear end of the rear spring member 27 is bent outward (rightward) in the width direction.
  • a portion of the rear spring member 27 which is located on the innermost side in the width direction is a rear pressing portion 31.
  • the height of the front spring member 26 and the height of the rear spring member 27 are set to be the same.
  • the length of the front spring member 26 is set to be larger than the length of the rear spring member 27.
  • the spring constant of the front spring member 26 is set smaller than the spring constant of the rear spring member 27.
  • the front pressing portion 29 of the front spring member 26, the contact protrusion 24 of the elastic contact piece 22, and the rear pressing portion 31 of the rear spring member 27 are arranged at positions displaced in the length direction. Have been. Specifically, the front pressing portion 29 of the front spring member 26 is located at the most forward position in the longitudinal direction, the contact protrusion 24 of the elastic contact piece 22 is located next, and the rear spring member 27 is located at the most rearward position. Rear pressing part 31 is located.
  • the upper edge of the front spring member 26 and the upper edge of the rear spring member 27 are located slightly below the lower end of the rib 25.
  • the lower edge of the front spring member 26 and the lower edge of the rear spring member 27 are located slightly below the upper end of the contact protrusion 24 of the elastic contact piece 22 in a state where the elastic contact piece 22 is not elastically deformed.
  • a portion of the right side wall 19 of the terminal connection portion 13 located between the front slit 28 and the rear slit 30 is a support wall 32.
  • the strength of the right side wall 19 of the terminal connection portion 13 in the height direction is maintained by the support wall 32.
  • the protruding portion 33 extends from the left side in the width direction (corresponding to the other side in the width direction) to the right side in the width direction (one side in the width direction). ).
  • the projecting portion 33 is formed so as to project toward the front spring member 26 and the rear spring member 27 by stamping out the left side wall 18 of the terminal connection portion 13.
  • the protruding portion 33 is formed on the left side wall 18 of the terminal connection portion 13 so as to extend in the length direction.
  • the protruding portion 33 is provided at a height position corresponding to the front spring member 26 and the rear spring member 27 in the height direction.
  • the front spring member 26 and the rear spring member 27, and the protruding portion 33 are arranged at positions facing each other.
  • the cross-sectional shape of the protruding portion 33 is a semi-elliptical shape flat in the width direction.
  • the front end 34 of the projection 33 is located forward of the front pressing portion 29 of the front spring member 26, and the rear end 35 of the projection 33 is located at the rear spring member. 27 is located behind the rear pressing portion 31.
  • the interval between the front pressing portion 29 of the front spring member 26 and the protruding portion 33 in the state of not being elastically deformed is determined by the width of the male tab 12 It is set smaller than the dimensions. Further, in the width direction, the distance between the rear pressing portion 31 of the rear spring member 27 and the protrusion 33 in a state where it is not elastically deformed is set smaller than the width dimension of the male tab 12 of the male terminal 11.
  • the male tab 12 of the male terminal 11 is inserted into the insertion port 16 of the terminal connection portion 13 of the female terminal 10 from the front. Then, the tip of the right edge of the male tab 12 abuts on the front pressing portion 29 of the front spring member 26 from the left. Thereby, the front spring member 26 is elastically deformed outward (right side) in the width direction. As a result, the male terminal 11 is pressed leftward in the width direction toward the protrusion 33 by the elastic force of the front spring member 26. As a result, the male terminal 11 is sandwiched between the front spring member 26 and the protrusion 33 from the width direction. As a result, the movement of the male terminal 11 in the width direction is suppressed.
  • the male terminal 11 When the male terminal 11 is further pushed rearward, the tip of the right edge of the male tab 12 contacts the rear pressing portion 31 of the rear spring member 27 from the left. Then, the rear spring member 27 is elastically deformed outward (to the right) in the width direction. As a result, the male terminal 11 is pressed leftward in the width direction toward the protrusion 33 by the elastic force of the rear spring member 27. As a result, the male terminal 11 is sandwiched between the rear spring member 27 and the protrusion 33 from the width direction. As a result, the male terminal 11 is suppressed from relatively moving in the width direction with respect to the female terminal 10 (see FIG. 10). The male terminal 11 moves relative to the female terminal 10 when the male terminal 11 moves and the female terminal 10 does not move, when the male terminal 11 does not move and the female terminal 10 moves, This includes the case where both the male terminal 11 and the female terminal 10 move.
  • the right edge of the male tab 12 of the male terminal 11 contacts the front spring member 26 and the rear spring member 27 arranged in the terminal connection part 13 from the right in the width direction.
  • the male tab 12 receives an elastic force along the width direction from the front spring member 26 and the rear spring member 27 and is pushed leftward in the width direction, thereby being pressed against the protrusion 33. This suppresses the male terminal 11 from moving along the width direction.
  • the plurality of spring members press the male terminal 11 from the right side in the width direction of the terminal connection portion 13, so that a force in a direction to promote the movement of the male terminal 11 is not applied. Has become. As a result, sliding wear of the portion of the female terminal 10 that contacts the male terminal 11 is suppressed.
  • the front spring member 26 and the rear spring member 27 are arranged side by side at intervals along the length direction.
  • the amount of bending of the front spring member 26 and the amount of bending of the rear spring member 27 are different.
  • the male terminal 11 receives a larger force from the larger one of the front spring member 26 and the rear spring member 27.
  • rotation of the male terminal 11 about the height direction as an axis is suppressed.
  • sliding wear of the portion of the female terminal 10 that contacts the male terminal 11 is suppressed.
  • the male terminal 11 rotates relatively when the male terminal 11 rotates and the female terminal 10 does not rotate, when the male terminal 11 does not rotate and the female terminal 10 rotates, and when the male terminal 11 and the female terminal 10 rotate. This includes the case where both of the terminals 10 rotate.
  • the front spring member 26 and the rear spring member 27 are formed integrally with the terminal connection portion 13. Thereby, the number of parts can be reduced as compared with the case where the front spring member 26 and the rear spring member 27 are configured separately from the terminal connection portion 13.
  • the spring constant of the front spring member 26 is set smaller than the spring constant of the rear spring member 27.
  • the insertion force when the male terminal 11 enters the inside of the terminal connection portion 13 can be reduced in the initial stage of the connection work between the male terminal 11 and the female terminal 10. Thereby, the efficiency of the connection work between the male terminal 11 and the female terminal 10 can be improved.
  • the front spring member 26 is formed to extend forward in the length direction
  • the rear spring member 27 is formed to extend rearward in the length direction.
  • the distance between the front end of the front spring member 26 and the rear end of the rear spring member 27 can be increased in the length direction.
  • the front spring member 26 and the rear spring member 27 When one of the front spring member 26 and the rear spring member 27 is pressed from the male terminal 11, the front spring member 26 and the rear spring member 27 operate like a seesaw as a whole, and the other spring member operates as one of the seesaws.
  • the male terminal 11 can be pressed to assist the spring member. Thereby, the relative rotation of the male terminal 11 about the height direction can be further suppressed.
  • the front spring member 26 has the front pressing portion 29 that contacts the male terminal 11
  • the rear spring member 27 has the rear pressing portion 31 that contacts the male terminal 11
  • the protrusion 33 Is formed so as to extend along the length direction.
  • the front end portion 34 of the protrusion 33 is located forward of the front pressing portion 29 of the front spring member 26, and The end 35 is located rearward of the rear pressing portion 31 of the rear spring member 27.
  • the distance between the rotating shaft and the front pressing portion 29 of the front spring member 26 and the distance between the rotating shaft and the rear pressing portion 31 of the rear spring member 27 are set to be large. Can be. Thereby, the relative rotation of the male terminal 11 about the height direction can be further suppressed. This will be described in detail below.
  • the rear pressing portion 31 of the rear spring member 27 is used. However, by pressing the right edge of the male tab 12 to the left to function as a fulcrum, the rotation of the male tab 12 is suppressed.
  • the distance L1 between the front end portion 34 of the protrusion 33, which is the center of rotation of the male tab 12, and the rear pressing portion 31 of the rear spring member 27 functioning as a fulcrum for suppressing the rotation of the male tab 12. Is set to be relatively large. Thereby, since the interval between the rotation center and the fulcrum can be set relatively large, the relative rotation of the male tab 12 can be effectively suppressed.
  • the elastic deformation amount of the rear spring member 27 is larger than the elastic deformation amount of the front spring member 26, as indicated by a two-dot chain line in FIG. Therefore, the force applied by the rear spring member 27 to the male tab 12 is greater than the force applied by the front spring member 26 to the male tab 12. For this reason, the relative rotation of the male tab 12 about the front end 34 of the protrusion 33 as a center of rotation and the axis in the height direction is further suppressed.
  • the front of the front spring member 26 is The pressing portion 29 presses the right edge of the male tab 12 leftward to function as a fulcrum, thereby suppressing the rotation of the male tab 12.
  • the distance between the rear end portion 35 of the protrusion 33 which is the center of rotation of the male tab 12 and the front pressing portion 29 of the front spring member 26 functioning as a fulcrum for suppressing the rotation of the male tab 12. L2 is set to be relatively large. Thereby, since the interval between the rotation center and the fulcrum can be set relatively large, the relative rotation of the male tab 12 can be effectively suppressed.
  • the amount of elastic deformation of the front spring member 26 is larger than the amount of elastic deformation of the rear spring member 27. For this reason, the force applied by the front spring member 26 to the male tab 12 is greater than the force applied by the rear spring member 27 to the male tab 12. For this reason, the relative rotation of the male tab 12 about the rear end 35 of the protrusion 33 as a center of rotation and the axis in the height direction is further suppressed.
  • the front pressing portion 29 of the front spring member 26, the contact protruding portion 24 of the elastic contact piece 22, and the rear pressing portion 31 of the rear spring member 27 have the same length. They are arranged side by side in the direction.
  • the male terminal 11 in the step of inserting the male terminal 11, the male terminal 11, the front pressing portion 29 of the front spring member 26, the contact protrusion 24 of the elastic contact piece 22, and the rear pressing portion 31 of the rear spring member 27. are sequentially in contact with each other. Thereby, the insertion force of the male terminal 11 is dispersed, so that the maximum insertion force of the male terminal 11 can be reduced.
  • the front spring member 51 is formed in a leaf spring shape extending rearward from a position near the front end in the length direction of the right side wall 53 of the terminal connection portion 52.
  • the front spring member 51 is elastically deformed outward (right side) in the width direction with the base end as a fulcrum.
  • the rear end of the front spring member 51 is a free end.
  • the rear spring member 54 is formed in a leaf spring shape and extends forward from a position near the rear end in the length direction of the right side wall 53 of the terminal connection portion 52.
  • the rear spring member 54 is elastically deformed outward (right side) in the width direction with the base end as a fulcrum.
  • the front end of the rear spring member 54 is a free end.
  • the rear end of the front spring member 51 and the front end of the rear spring member 54 are arranged with a gap in the length direction.
  • the length of the rear spring member 61 provided on the terminal connection portion 62 is set shorter than the length of the rear spring member 27 according to the first embodiment.
  • Structures other than the above are substantially the same as those of the first embodiment, and therefore, the same members are denoted by the same reference numerals, and redundant description will be omitted.
  • the rear pressing portion 31 of the rear spring member 61 is moved to the right edge of the male tab 12. Abuts from the right side in the width direction. Then, the rear spring member 27 is pressed rightward in the width direction. Thereby, the front spring member 26 and the rear spring member 61 operate like a seesaw as a whole, and the front spring member 26 presses the right edge of the male tab 12 from the right. In the present embodiment, the length of the rear spring member 61 is set relatively short. For this reason, the force applied from the male tab 12 to the rear spring member 61 is efficiently converted to a force pressing the front spring member 26 against the male tab 12. As a result, since the front spring member 26 and the rear spring member 61 cooperate to press the male terminal 11 against the protruding portion 33, it is possible to effectively suppress the relative rotation of the male terminal 11 about the height direction. Can be.
  • the front spring member 72 is located on the front side of the terminal connection portion 71 and from a position near the upper end of the right side wall 76 of the terminal connection portion 71. It is formed to extend downward. As shown in FIG. 23, the height position of the lower end of the front spring member 72 is located below the upper end of the contact protrusion 24 of the elastic contact piece 22. As shown in FIG. 25, a portion near the lower end of the front spring member 72 protrudes leftward (inward) in the width direction, and forms a front pressing portion 73 that comes into contact with the right edge of the male tab 12 from the right. You.
  • the rear spring member 74 is formed to extend downward from a position near the upper end of the right side wall 76 of the terminal connection portion 71 behind the terminal connection portion 71. . As shown in FIG. 23, the height position of the lower end of the rear spring member 74 is located lower than the upper end of the contact protrusion 24 of the elastic contact piece 22. A portion near the lower end of the rear spring member 74 protrudes leftward (inward) in the width direction and serves as a rear pressing portion 75 that abuts the right edge of the male tab 12 from the right.
  • the front pressing portion 73 of the front spring member 72 and the rear pressing portion 75 of the rear spring member 74 have the protruding portion 33 with the male tab 12 not inserted into the terminal connection portion 13. They are provided to face each other.
  • the front spring member 72 and the rear spring member 74 are adjusted to the height of the terminal connection portion 71. It can be formed in a shape extending in the direction. Thus, the degree of freedom in designing the female terminal 70 can be improved.
  • both the front spring member 72 and the rear spring member 74 extend downward from a position near the upper end of the terminal connection portion 71, but the invention is not limited thereto.
  • both the front spring member 72 and the rear spring member 74 may be configured to extend upward from a position near the lower end of the terminal connection portion 71, or one of the front spring member 72 and the rear spring member 74 may be a terminal.
  • the connection portion 71 may be configured to extend downward from a position near the upper end portion, and the other may be configured to extend upward from a position near the lower end portion of the terminal connection portion 71.
  • Terminal connection part 81 As shown in FIGS. 26 and 27, in the female terminal 80 according to the present embodiment, a front spring member and a rear spring member are not formed on the right side wall 82 of the terminal connection portion 81. Also, no protrusion is formed on the left side wall 83 of the terminal connection portion 81. For this reason, the terminal connection part 81 has a rectangular tube shape extending in the length direction as a whole, and has a configuration in which the elastic contact piece 22 is folded back from the front end edge of the bottom wall 17.
  • Spring structure 84 As shown in FIGS. 30 and 31, a spring structure 84 separate from the terminal connection portion 81 is housed inside the terminal connection portion 81.
  • the spring structure 84 is formed by pressing a metal plate into a predetermined shape. Any metal such as copper, copper alloy, aluminum, aluminum alloy, and stainless steel can be appropriately selected as a metal constituting the spring structure 84. In the present embodiment, stainless steel having excellent strength is used.
  • the thickness of the metal plate forming the spring structure 84 is smaller than the thickness of the metal plate forming the female terminal 80.
  • the spring structure 84 includes an upper wall 85, a right wall 86 extending downward from a right edge of the upper wall 85, and a left wall 87 extending downward from a left edge of the upper wall 85. .
  • the upper wall 85 of the spring structure 84 has a rectangular shape extending in the length direction.
  • a window 88 extending in the front-rear direction is formed in the upper wall 85 so as to penetrate the upper wall 20.
  • Each window 88 has a rectangular shape extending in the length direction and having rounded corners.
  • the length of the window 88 is the same as or larger than the length of the rib 25 formed on the terminal connection portion 81 of the female terminal 80.
  • the width of the window 88 is set to be equal to or larger than the width of the rib 25.
  • the window 88 is set at a position corresponding to the rib 25 of the terminal connection portion 81 in a state where the spring structure 84 is housed inside the terminal connection portion 81.
  • the rib 25 formed on the upper wall 20 of the terminal connection portion 81 penetrates from above from inside the window portion 88. Has become.
  • the lower end of the rib 25 projects below the lower surface of the upper wall 85 of the spring structure 84.
  • a right locking portion 89 protruding downward is formed at the front end of the right side wall 86 of the spring structure 84.
  • the right locking portion 89 is locked from the front in the length direction by a notch 23 provided in the bottom wall 17 of the terminal connection portion 81, so that the spring structure 84 has a length corresponding to the length of the terminal connection portion 81. Positioned in the direction.
  • a front spring member 90 located on the front side in the longitudinal direction and a rear spring member 91 located on the rear side are spaced apart in the longitudinal direction. They are provided side by side at intervals.
  • a front slit 92 having a substantially U shape is formed in the right side wall 86 of the spring structure 84 at a position on the front side in the length direction.
  • the front spring member 90 is formed by cutting and raising the region surrounded by the front slit 92 inside the spring structure 84.
  • the front spring member 90 is formed in a leaf spring shape and extends forward from near the center position in the length direction of the right side wall 86 of the spring structure 84.
  • the front spring member 90 is elastically deformed outward (right side) in the width direction with the base end as a fulcrum.
  • the front end of the front spring member 90 is a free end.
  • a portion of the front spring member 90 near the center in the length direction is bent inward (leftward) in the width direction. The bent portion is used as a front pressing portion 93.
  • a substantially U-shaped rear slit 94 is formed in the right side wall 86 of the spring structure 84 at a position on the rear side in the length direction.
  • the rear spring member 91 is formed by cutting and raising the area surrounded by the rear slit 94 inside the spring structure 84.
  • the rear spring member 91 is formed in a leaf spring shape and extends rearward from near the center position in the length direction of the right side wall 86 of the spring structure 84.
  • the rear spring member 91 is elastically deformed outward (right side) in the width direction with the base end as a fulcrum.
  • the rear end of the rear spring member 27 is a free end.
  • a portion of the rear spring member 27 near the center in the length direction is bent inward (leftward) in the width direction. The bent portion serves as a rear pressing portion 95.
  • the height of the front spring member 90 is set smaller than the height of the rear spring member 91.
  • the spring constant of the front spring member 90 is set smaller than the spring constant of the rear spring member 91.
  • the length dimension of the front spring member 90 and the length dimension of the rear spring member 91 are set to be substantially the same.
  • the upper edge of the front spring member 90 is located slightly below the lower end of the rib 25, and the upper edge of the rear spring member 27 is It is located slightly above the lower end of the rib 25.
  • the lower edge of the front spring member 90 and the lower edge of the rear spring member 91 are located slightly above the upper end of the contact protrusion 24 of the elastic contact piece 22 in a state where the elastic contact piece 22 is not elastically deformed.
  • the front spring member 90 and the rear spring member 91 are configured to elastically contact the male tab 12 of the male terminal 11 from the right side (corresponding to one side in the width direction) in the width direction. .
  • a portion of the right side wall 86 of the spring structure 84 located between the front slit 92 and the rear slit 94 is a support wall 96.
  • the strength of the right side wall 86 of the spring structure 84 in the height direction is maintained by the support wall 96.
  • the front pressing portion 93 of the front spring member 90, the contact protrusion 24 of the elastic contact piece 22, and the rear pressing portion 95 of the rear spring member 91 are displaced in the length direction. It is arranged in a position. Specifically, the front pressing portion 93 of the front spring member 90 is located at the most forward position in the length direction, the contact protrusion 24 of the elastic contact piece 22 is located next, and the rear spring member 91 is located at the most rearward position. Rear pressing part 95 is located.
  • a left locking portion 97 protruding downward is formed at the front end of the left side wall 87 of the spring structure 84.
  • the left locking portion 97 locks the notch 23 provided on the bottom wall 17 of the terminal connection portion 81 from the front in the length direction, so that the spring structure 84 is longer than the terminal connection portion 81. Positioned in the direction.
  • the left side wall 18 of the spring structure 84 has a front protruding portion 98 protruding inward (to the right in the width direction) of the spring structure 84 on the front side in the length direction.
  • the projecting portion 98 and the rear projecting portion 99 which are arranged at intervals in the length direction and project inward (to the right in the width direction) of the spring structure 84 are provided by punching.
  • the front projecting portion 98 is formed at a position facing the front pressing portion 93 of the front spring member 90
  • the rear projecting portion 99 is formed at a position facing the rear pressing portion 95 of the rear spring member 91.
  • the interval between the front pressing portion 93 of the front spring member 90 and the front protruding portion 98 in a state where the front spring member 90 is not elastically deformed is set smaller than the width dimension of the male tab 12 of the male terminal 11.
  • the distance between the rear pressing portion 95 of the rear spring member 91 and the rear protruding portion 99 in a state where the rear spring member 91 is not elastically deformed is set smaller than the width dimension of the male tab 12 of the male terminal 11. .
  • the spring structure 84 on which the front spring member 90 and the rear spring member 91 are formed is a separate member from the terminal connection portion 81 of the female terminal 80.
  • the front spring member 90 and the rear spring member 91 can be made of a different material or a different thickness from the terminal connection portion 81. Accordingly, when designing the front spring member 90 and the rear spring member 91, restrictions imposed by the shape of the terminal connection portion 81, the material forming the terminal connection portion 81, and the like can be reduced. As a result, the degree of freedom in designing the front spring member 90 and the rear spring member 91 is improved.
  • the terminal connection portion, the elastic contact piece, the plurality of spring members, and the protrusion may all be different members.
  • One female terminal may be configured to have three or more spring members.
  • a plurality of spring members may be provided on the left side wall of the terminal connection portion, and a protrusion may be provided on the right side wall.
  • An arbitrary direction can be appropriately selected as a direction in which the plurality of spring members extend.
  • one of the front spring member and the rear spring member may be configured to extend in the height direction, and the other may be configured to extend in the length direction.

Landscapes

  • Coupling Device And Connection With Printed Circuit (AREA)
PCT/JP2019/037803 2018-10-02 2019-09-26 雌端子 Ceased WO2020071226A1 (ja)

Priority Applications (2)

Application Number Priority Date Filing Date Title
CN201980064509.3A CN112823450B (zh) 2018-10-02 2019-09-26 阴端子
US17/278,325 US11456550B2 (en) 2018-10-02 2019-09-26 Female terminal with a plurality of spring members and a projecting portion

Applications Claiming Priority (2)

Application Number Priority Date Filing Date Title
JP2018-187561 2018-10-02
JP2018187561A JP7052665B2 (ja) 2018-10-02 2018-10-02 雌端子

Publications (1)

Publication Number Publication Date
WO2020071226A1 true WO2020071226A1 (ja) 2020-04-09

Family

ID=70055035

Family Applications (1)

Application Number Title Priority Date Filing Date
PCT/JP2019/037803 Ceased WO2020071226A1 (ja) 2018-10-02 2019-09-26 雌端子

Country Status (4)

Country Link
US (1) US11456550B2 (enExample)
JP (1) JP7052665B2 (enExample)
CN (1) CN112823450B (enExample)
WO (1) WO2020071226A1 (enExample)

Cited By (1)

* Cited by examiner, † Cited by third party
Publication number Priority date Publication date Assignee Title
WO2022270174A1 (ja) * 2021-06-22 2022-12-29 株式会社オートネットワーク技術研究所 端子

Families Citing this family (6)

* Cited by examiner, † Cited by third party
Publication number Priority date Publication date Assignee Title
JP6784959B2 (ja) * 2019-04-17 2020-11-18 住友電装株式会社 コネクタ付通信ケーブル、及びコネクタアセンブリ
JP7298461B2 (ja) * 2019-12-05 2023-06-27 住友電装株式会社 雌端子及び雌コネクタ
JP1708539S (ja) * 2021-06-18 2022-02-28 ケーブルコネクタアセンブリ
JP2023023061A (ja) * 2021-08-04 2023-02-16 矢崎総業株式会社 端子接続構造
JP2023030276A (ja) * 2021-08-23 2023-03-08 住友電装株式会社 雄端子金具、および端子金具構造体
JP7701221B2 (ja) * 2021-09-10 2025-07-01 日本航空電子工業株式会社 アンテナ組立体

Citations (4)

* Cited by examiner, † Cited by third party
Publication number Priority date Publication date Assignee Title
JPH0481484U (enExample) * 1990-11-28 1992-07-15
JP2001210418A (ja) * 2000-01-28 2001-08-03 Sumitomo Wiring Syst Ltd 雌端子金具
JP2006172732A (ja) * 2004-12-13 2006-06-29 Yazaki Corp 端子金具及びコネクタ
WO2018021057A1 (ja) * 2016-07-27 2018-02-01 住友電装株式会社 雌端子

Family Cites Families (31)

* Cited by examiner, † Cited by third party
Publication number Priority date Publication date Assignee Title
US5630738A (en) * 1994-07-21 1997-05-20 Sumitomo Wiring Systems, Ltd. Female terminal, metal fixture
FR2730864B3 (fr) * 1995-02-17 1997-04-30 Amp France Borne femelle electrique d'une seule piece
FR2741204A1 (fr) * 1995-11-14 1997-05-16 Amp France Assemblage de connecteur electrique
JP2001351714A (ja) * 2000-06-05 2001-12-21 Sumitomo Wiring Syst Ltd 雌端子金具
JP2002063961A (ja) * 2000-06-07 2002-02-28 Yazaki Corp 雌端子、及び、雌端子と雄端子との接続構造
JP2004253166A (ja) * 2003-02-18 2004-09-09 Yazaki Corp 雌端子
JP2005032581A (ja) * 2003-07-04 2005-02-03 Jst Mfg Co Ltd 雌端子
JP2006134681A (ja) * 2004-11-05 2006-05-25 Tyco Electronics Amp Kk 雌端子およびこれを使用した電気コネクタ
JP2007149504A (ja) * 2005-11-28 2007-06-14 Yazaki Corp 雌端子及びコネクタ
US7717759B2 (en) * 2006-01-06 2010-05-18 J.S.T. Mfg. Co., Ltd. Female terminal with guiding piece
JP5285985B2 (ja) * 2008-07-17 2013-09-11 矢崎総業株式会社 雌型端子金具
JP5347820B2 (ja) * 2009-08-07 2013-11-20 株式会社オートネットワーク技術研究所 端子金具の接続構造
JP5631017B2 (ja) * 2010-02-04 2014-11-26 矢崎総業株式会社 コネクタ用のメス端子
JP2013026155A (ja) * 2011-07-25 2013-02-04 Yazaki Corp 防水コネクタ用端子
JP2013098088A (ja) * 2011-11-02 2013-05-20 Sumitomo Wiring Syst Ltd 雌型端子金具
JP5829937B2 (ja) * 2012-02-15 2015-12-09 矢崎総業株式会社 端子接続構造
DE102013004403A1 (de) * 2012-04-26 2013-10-31 Sumitomo Wiring Systems, Ltd. Anschlusspassstück und Verfahren zum Herstellen desselben
JP2013229222A (ja) * 2012-04-26 2013-11-07 Sumitomo Wiring Syst Ltd 端子金具
JP5803798B2 (ja) * 2012-04-26 2015-11-04 住友電装株式会社 端子金具
JP6100495B2 (ja) * 2012-10-02 2017-03-22 矢崎総業株式会社 メス端子
JP6342608B2 (ja) * 2012-12-04 2018-06-13 矢崎総業株式会社 雌端子
JP5567237B1 (ja) * 2013-02-22 2014-08-06 古河電気工業株式会社 圧着端子、圧着接続構造体及び圧着接続構造体の製造方法
JP2014170709A (ja) * 2013-03-05 2014-09-18 Sumitomo Wiring Syst Ltd 雌端子金具
JP5958394B2 (ja) * 2013-03-21 2016-08-02 住友電装株式会社 端子金具
JP5456925B1 (ja) * 2013-07-03 2014-04-02 イリソ電子工業株式会社 電気接続用端子
JP6119524B2 (ja) * 2013-09-20 2017-04-26 住友電装株式会社 端子金具
US9118130B1 (en) * 2014-02-06 2015-08-25 Delphi Technologies, Inc. Low insertion force terminal
WO2017015285A1 (en) * 2015-07-23 2017-01-26 Molex, Llc Terminal fitting
JP6296358B2 (ja) * 2015-08-19 2018-03-20 住友電装株式会社 雌端子金具
JP6591341B2 (ja) * 2016-04-21 2019-10-16 日本航空電子工業株式会社 コネクタ端子
TWM534908U (zh) * 2016-06-24 2017-01-01 Bellwether Electronic Corp 電源連接器及其電源端子

Patent Citations (4)

* Cited by examiner, † Cited by third party
Publication number Priority date Publication date Assignee Title
JPH0481484U (enExample) * 1990-11-28 1992-07-15
JP2001210418A (ja) * 2000-01-28 2001-08-03 Sumitomo Wiring Syst Ltd 雌端子金具
JP2006172732A (ja) * 2004-12-13 2006-06-29 Yazaki Corp 端子金具及びコネクタ
WO2018021057A1 (ja) * 2016-07-27 2018-02-01 住友電装株式会社 雌端子

Cited By (5)

* Cited by examiner, † Cited by third party
Publication number Priority date Publication date Assignee Title
WO2022270174A1 (ja) * 2021-06-22 2022-12-29 株式会社オートネットワーク技術研究所 端子
JPWO2022270174A1 (enExample) * 2021-06-22 2022-12-29
JP7584005B2 (ja) 2021-06-22 2024-11-15 株式会社オートネットワーク技術研究所 端子
JP2024167315A (ja) * 2021-06-22 2024-12-03 株式会社オートネットワーク技術研究所 端子
JP7723902B2 (ja) 2021-06-22 2025-08-15 株式会社オートネットワーク技術研究所 端子

Also Published As

Publication number Publication date
JP7052665B2 (ja) 2022-04-12
JP2020057528A (ja) 2020-04-09
CN112823450A (zh) 2021-05-18
US20210351533A1 (en) 2021-11-11
CN112823450B (zh) 2022-08-23
US11456550B2 (en) 2022-09-27

Similar Documents

Publication Publication Date Title
WO2020071226A1 (ja) 雌端子
CN109004410B (zh) 可动连接器
JP6342608B2 (ja) 雌端子
JPH07296873A (ja) 雌型コンタクト
JP2000133353A (ja) 中間電気コネクタ
JPWO2014185299A1 (ja) 接続端子
JP2014216234A (ja) 電気コネクタ
JP2007103088A (ja) オンボードコネクタ
JP2018018658A (ja) 雌端子
JP7494698B2 (ja) シールドコネクタ
CN112563774B (zh) 连接器
CN114944573B (zh) 屏蔽型连接器
JP2018181468A (ja) コネクタ
JP5720526B2 (ja) 端子金具
JP6687260B1 (ja) コネクタ
JP6723567B2 (ja) コネクタ
JP2019003836A (ja) メス端子、コネクタ、及びコネクタの製造方法
JP6434061B2 (ja) 芯線の保持、固定機能を有した同軸ケーブルコネクタ
JP7679849B2 (ja) シールドコネクタ
JP2003045535A (ja) 端子金具
JP5426273B2 (ja) 端子金具
JP2024128237A (ja) シールドコネクタ
JP2025011868A (ja) 端子金具
JP3355480B2 (ja) Zifコネクタ
JP2023045840A (ja) ジョイントコネクタ

Legal Events

Date Code Title Description
121 Ep: the epo has been informed by wipo that ep was designated in this application

Ref document number: 19869667

Country of ref document: EP

Kind code of ref document: A1

NENP Non-entry into the national phase

Ref country code: DE

122 Ep: pct application non-entry in european phase

Ref document number: 19869667

Country of ref document: EP

Kind code of ref document: A1