WO2017169930A1 - 内燃機関用のスパークプラグ - Google Patents

内燃機関用のスパークプラグ Download PDF

Info

Publication number
WO2017169930A1
WO2017169930A1 PCT/JP2017/011021 JP2017011021W WO2017169930A1 WO 2017169930 A1 WO2017169930 A1 WO 2017169930A1 JP 2017011021 W JP2017011021 W JP 2017011021W WO 2017169930 A1 WO2017169930 A1 WO 2017169930A1
Authority
WO
WIPO (PCT)
Prior art keywords
spark plug
internal combustion
tip
standing portion
standing
Prior art date
Legal status (The legal status is an assumption and is not a legal conclusion. Google has not performed a legal analysis and makes no representation as to the accuracy of the status listed.)
Ceased
Application number
PCT/JP2017/011021
Other languages
English (en)
French (fr)
Japanese (ja)
Inventor
柴田 正道
亮平 秋吉
Current Assignee (The listed assignees may be inaccurate. Google has not performed a legal analysis and makes no representation or warranty as to the accuracy of the list.)
Denso Corp
Original Assignee
Denso Corp
Priority date (The priority date is an assumption and is not a legal conclusion. Google has not performed a legal analysis and makes no representation as to the accuracy of the date listed.)
Filing date
Publication date
Application filed by Denso Corp filed Critical Denso Corp
Priority to US16/089,479 priority Critical patent/US10505347B2/en
Priority to DE112017001737.8T priority patent/DE112017001737T5/de
Publication of WO2017169930A1 publication Critical patent/WO2017169930A1/ja
Anticipated expiration legal-status Critical
Ceased legal-status Critical Current

Links

Images

Classifications

    • HELECTRICITY
    • H01ELECTRIC ELEMENTS
    • H01TSPARK GAPS; OVERVOLTAGE ARRESTERS USING SPARK GAPS; SPARKING PLUGS; CORONA DEVICES; GENERATING IONS TO BE INTRODUCED INTO NON-ENCLOSED GASES
    • H01T13/00Sparking plugs
    • H01T13/20Sparking plugs characterised by features of the electrodes or insulation
    • HELECTRICITY
    • H01ELECTRIC ELEMENTS
    • H01TSPARK GAPS; OVERVOLTAGE ARRESTERS USING SPARK GAPS; SPARKING PLUGS; CORONA DEVICES; GENERATING IONS TO BE INTRODUCED INTO NON-ENCLOSED GASES
    • H01T13/00Sparking plugs
    • H01T13/20Sparking plugs characterised by features of the electrodes or insulation
    • H01T13/32Sparking plugs characterised by features of the electrodes or insulation characterised by features of the earthed electrode
    • HELECTRICITY
    • H01ELECTRIC ELEMENTS
    • H01TSPARK GAPS; OVERVOLTAGE ARRESTERS USING SPARK GAPS; SPARKING PLUGS; CORONA DEVICES; GENERATING IONS TO BE INTRODUCED INTO NON-ENCLOSED GASES
    • H01T13/00Sparking plugs
    • H01T13/46Sparking plugs having two or more spark gaps
    • H01T13/467Sparking plugs having two or more spark gaps in parallel connection
    • HELECTRICITY
    • H01ELECTRIC ELEMENTS
    • H01TSPARK GAPS; OVERVOLTAGE ARRESTERS USING SPARK GAPS; SPARKING PLUGS; CORONA DEVICES; GENERATING IONS TO BE INTRODUCED INTO NON-ENCLOSED GASES
    • H01T13/00Sparking plugs
    • H01T13/52Sparking plugs characterised by a discharge along a surface
    • HELECTRICITY
    • H01ELECTRIC ELEMENTS
    • H01TSPARK GAPS; OVERVOLTAGE ARRESTERS USING SPARK GAPS; SPARKING PLUGS; CORONA DEVICES; GENERATING IONS TO BE INTRODUCED INTO NON-ENCLOSED GASES
    • H01T21/00Apparatus or processes specially adapted for the manufacture or maintenance of spark gaps or sparking plugs
    • H01T21/02Apparatus or processes specially adapted for the manufacture or maintenance of spark gaps or sparking plugs of sparking plugs
    • HELECTRICITY
    • H01ELECTRIC ELEMENTS
    • H01TSPARK GAPS; OVERVOLTAGE ARRESTERS USING SPARK GAPS; SPARKING PLUGS; CORONA DEVICES; GENERATING IONS TO BE INTRODUCED INTO NON-ENCLOSED GASES
    • H01T13/00Sparking plugs
    • H01T13/20Sparking plugs characterised by features of the electrodes or insulation
    • H01T13/39Selection of materials for electrodes

Definitions

  • the present disclosure relates to a spark plug for an internal combustion engine used for an automobile engine or the like.
  • a spark plug used as an ignition means in an internal combustion engine such as an automobile engine there is one in which a spark discharge gap is formed by making a center electrode and a ground electrode face each other in the axial direction.
  • a spark plug generates a discharge in the spark discharge gap and ignites the air-fuel mixture in the combustion chamber by this discharge.
  • an air flow of an air-fuel mixture such as a swirl flow or a tumble flow is formed, and ignitability can be ensured by appropriately flowing the air flow in the spark discharge gap.
  • a part of the ground electrode joined to the front end of the housing may be arranged upstream of the spark discharge gap in the airflow.
  • the airflow in the combustion chamber is blocked by the ground electrode, and the airflow in the vicinity of the spark discharge gap may stagnate.
  • the ignitability of the spark plug may be reduced. That is, there may be a problem that the ignitability of the spark plug varies depending on the mounting posture to the internal combustion engine.
  • an internal combustion engine using lean combustion is often used. In such an internal combustion engine, there is a risk that the combustion stability may be lowered depending on the mounting posture of the spark plug.
  • the mounting position of the spark plug to the internal combustion engine, that is, the position of the ground electrode in the circumferential direction unless special measures are taken.
  • the mounting posture changes depending on the formation state of the mounting screw in the housing and the degree of tightening of the spark plug during the mounting operation to the internal combustion engine.
  • the relationship between the mounting screw and the ground electrode joining position in the circumferential direction of the spark plug is limited to a specific positional relationship, and the female screw on the engine head side is also limited to a predetermined direction in the circumferential direction. It is also possible to take measures. However, in this case, there is a problem that the manufacturing man-hours and manufacturing costs of the spark plug and the engine head are increased.
  • Patent Document 1 a configuration in which the ground electrode is perforated or a configuration in which the ground electrode is joined to the housing by a plurality of thin plate members are disclosed.
  • the strength of the ground electrode may be reduced. Moreover, if the ground electrode is formed thick in order to prevent this, the airflow of the air-fuel mixture tends to be hindered after all. Further, in the “configuration in which the ground electrode is joined to the housing by a plurality of thin plate members” described in Patent Document 1, the shape of the ground electrode becomes complicated, the number of manufacturing steps increases, and the manufacturing cost increases. There is.
  • the present disclosure is intended to provide a spark plug for an internal combustion engine having a simple configuration capable of ensuring stable ignitability regardless of the mounting posture with respect to the internal combustion engine.
  • One aspect of the present disclosure includes a cylindrical housing; A cylindrical insulator held inside the housing; A center electrode held inside the insulator so that the tip protrudes; and A ground electrode connected to the housing and forming a spark discharge gap with the center electrode;
  • the ground electrode includes a standing portion standing on the distal end side from the distal end portion of the housing, and an inclined portion that bends from the distal end of the standing portion toward the central electrode side and extends to the oblique distal end side,
  • the standing portion is w / t, where t is the dimension in the alignment direction of the standing portion and the central electrode, and w is the dimension in the width direction perpendicular to both the alignment direction and the plug axis direction.
  • the spark plug for an internal combustion engine satisfies an inclination angle ⁇ of the inclined portion with respect to the plug axis direction satisfying 30 ° ⁇ ⁇ ⁇ 60 °.
  • each dimension of the standing portion of the ground electrode satisfies w / t ⁇ 1, w ⁇ 1.9 mm, t ⁇ 2.3 mm, and the inclination angle ⁇ of the inclined portion is 30 ° ⁇ ⁇ ⁇ 60 °.
  • the ground electrode need not have a particularly complicated shape. Further, since the ground electrode does not need to be particularly thin, a special structure for securing its strength is not necessary. Therefore, a spark plug excellent in ignitability with a simple structure can be obtained.
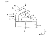
  • FIG. 1 is a front explanatory view of the distal end portion of a spark plug in Embodiment 1.
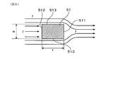
  • 2 is a cross-sectional view taken along the line II-II in FIG.
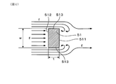
  • FIG. 3 is a view as viewed from III in FIG.
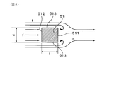
  • FIG. 4 is an explanatory diagram of the flow of airflow when the cross-sectional shape of the standing portion is w / t>1;
  • FIG. 5 is an explanatory diagram of the flow of airflow when the cross-sectional shape of the standing portion is w / t ⁇ 1, FIG.
  • FIG. 6 is an explanatory diagram of the flow of the airflow when w / t is smaller in the cross-sectional shape of the standing portion
  • FIG. 7 is an explanatory diagram of airflow along the inclined portion in the first embodiment.
  • FIG. 8 is an explanatory diagram of the mounting angle ⁇ in Experimental Example 3.
  • FIG. 9 is a diagram showing test results in Experimental Example 3.
  • the spark plug 1 of this embodiment includes a cylindrical housing 2, a cylindrical insulator 3, a center electrode 4, and a ground electrode 5.
  • the insulator 3 is held inside the housing 2.
  • the center electrode 4 is held inside the insulator 3 so that the tip 41 protrudes.
  • the ground electrode 5 is connected to the housing 2 and forms a spark discharge gap G between the ground electrode 5 and the center electrode 4.
  • the ground electrode 5 includes a standing portion 51 and an inclined portion 52.
  • the standing portion 51 is a portion that stands on the distal end side from the distal end portion 21 of the housing 2.
  • the inclined portion 52 is a portion that bends from the tip of the standing portion 51 to the center electrode 4 side and extends to the oblique tip side.
  • the standing portion 51 has the following dimensional relationship.
  • the dimension in the arrangement direction X of the standing portion 51 and the center electrode 4 in the standing portion 51 is t.
  • w be the dimension in the width direction Y perpendicular to both the arrangement direction X and the plug axis direction Z in the standing portion 51.
  • w / t ⁇ 1, w ⁇ 1.9 mm, and t ⁇ 2.3 mm are satisfied.
  • the dimension w is also referred to as the width w
  • the dimension t is also referred to as the thickness t.
  • the inclination angle ⁇ of the inclined portion 52 with respect to the plug axis direction Z satisfies 30 ° ⁇ ⁇ 60 °.
  • the plug axis direction Z is the direction of the center axis of the spark plug 1. Further, the distal end side refers to the side in the plug axial direction Z where the spark plug 1 is inserted into the combustion chamber, and the opposite side is referred to as the proximal end side.
  • the arrangement direction X, the width direction Y, and the plug axis direction Z are orthogonal to each other.
  • the standing portion 51 of the ground electrode 5 has a rectangular shape with a cross section orthogonal to the plug axis direction Z.
  • the rectangular shape here is a concept including a square shape.
  • an inward surface 511 corresponding to one side of the rectangular shape in the cross section of the standing portion 51 is arranged so as to face the center electrode 4 side.
  • the inward surface 511 corresponds to a rectangular short side in the cross section of the standing portion 51.
  • the length of the short side is the width w of the standing portion 51.
  • the length of the long side of the rectangle in the cross section of the standing portion 51 is the thickness t of the standing portion 51.
  • the thickness t is more than the width w.
  • the dimension t is larger than the dimension w. More preferably, w / t ⁇ 0.9.
  • the cross-sectional area of the standing portion 51 in the cross section orthogonal to the plug axis direction Z is preferably 1.5 mm 2 or more. Thereby, it is easy to ensure the heat resistance of the ground electrode 5.
  • the ground electrode 5 is formed in a shape composed of the standing portion 51 and the inclined portion 52 by bending a rod-shaped metal member whose cross-sectional shape orthogonal to the longitudinal direction is rectangular. Therefore, the shape of the cross section orthogonal to the longitudinal direction of the inclined portion 52 is also the same rectangular shape as the above-described cross sectional shape of the standing portion 51 for the inclined portion 52.
  • the inclination angle ⁇ of the inclined portion 52 with respect to the plug axis direction Z is 30 ° to 60 °. In the present embodiment, the inclination angle ⁇ is substantially the same as the inclination angle of the inclined portion 52 with respect to the standing portion 51.
  • the ground electrode 5 has a protruding portion 53 protruding from the facing surface 521 facing the center electrode 4 side in the inclined portion 52.
  • a spark discharge gap G is formed between the protrusion 53 and the tip 41 of the center electrode 4.
  • the protrusion 53 is formed by bonding a noble metal tip made of, for example, a platinum alloy to the facing surface 521. That is, the ground electrode 5 has a ground electrode base material 50 made of a nickel alloy and a protruding portion 53 made of a noble metal tip. The noble metal tip is welded to the ground electrode base material 50.
  • the center electrode 4 is also formed by bonding a noble metal tip made of, for example, an iridium alloy to the tip of the center electrode base material 40. That is, the noble metal tip forms the tip 41 of the center electrode 4.
  • the spark plug 1 of this embodiment is used for an internal combustion engine for a vehicle such as an automobile, for example.
  • each dimension of the standing portion 51 of the ground electrode 5 satisfies w / t ⁇ 1, w ⁇ 1.9 mm, t ⁇ 2.3 mm, and The inclination angle ⁇ satisfies 30 ° ⁇ ⁇ ⁇ 60 °.
  • the value of w / t is further reduced to further suppress the above-described vortex of the airflow, and the airflow f from the side surface 513 of the standing portion 51. Can be further suppressed. As a result, the flow velocity of the air flow f in the vicinity of the spark discharge gap G disposed on the downstream side of the standing portion 51 can be improved.
  • the ground electrode 5 is formed so that the inclined portion 52 extends to the oblique tip side.
  • the air flow f that has passed along the side surface 513 of the standing portion 51 can be guided to the tip side of the spark plug 1 as shown in FIG. That is, the airflow f that has passed along the side surface 513 of the standing portion 51 is guided in the extending direction by the inclined portion 52.
  • an air flow f is formed from the spark discharge gap G toward the oblique tip side along the extending direction of the inclined portion 52. Therefore, the discharge spark generated in the spark discharge gap G is easily stretched to the oblique tip side by the air flow f.
  • the standing portion 51 is attached to the internal combustion engine in a posture that is upstream of the airflow.
  • the airflow in the spark discharge gap G can be ensured. That is, regardless of the mounting posture of the spark plug 1 to the internal combustion engine, it is possible to sufficiently extend the discharge spark and ensure sufficient ignitability.
  • the ground electrode 5 does not need to have a particularly complicated shape. Further, since the ground electrode 5 does not need to be particularly thin, a special structure for ensuring its strength is not necessary. Therefore, the spark plug 1 having a simple structure and excellent ignitability can be obtained.
  • Example 1 In this example, as shown in Table 1, the relationship between the dimensional ratio w / t and the ignitability in the standing portion 51 of the ground electrode 5 was evaluated. That is, samples with various dimensions w and t of the standing portions 51 were prepared while using the spark plug 1 shown in Embodiment 1 as a basic structure, and the ignitability of each sample was evaluated.
  • w / t 1.5 was prepared as a reference sample.
  • the ignitability of each sample was evaluated. That is, each sample was evaluated in comparison with the ignitability of the reference sample having the same width w of the standing portion 51.
  • the ignitability was evaluated using the lean limit A / F as an index. That is, in the internal combustion engine to which each sample was attached, the air-fuel ratio (A / F) of the air-fuel mixture was gradually changed to measure the limit air-fuel ratio (that is, the lean limit A / F) that can be ignited.
  • the conditions of the internal combustion engine in this test are a displacement of 1800 cc, an engine speed of 2000 rpm, and an indicated mean effective pressure of 0.28 MPa.
  • the air-fuel ratio at which the combustion fluctuation rate (that is, the fluctuation rate of the indicated mean effective pressure) is 3% is defined as the lean limit A / F.
  • the lean limit A / F was an average value of values obtained by performing five tests for each sample.
  • the other conditions are as follows and are common to each sample.
  • the inclination angle ⁇ of the ground electrode 5 was 45 °.
  • the dimension of the spark discharge gap G was 1.05 mm.
  • the noble metal tip constituting the protruding portion 53 of the ground electrode 5 was formed in a cylindrical shape having a diameter of 0.7 mm and a length of 1.0 mm.
  • the noble metal tip constituting the tip 41 of the center electrode 4 was a cylindrical shape having a diameter of 0.6 mm and a length of 0.8 mm.
  • the screw diameter of the mounting screw portion of the housing 2 was M12.
  • the projecting dimension of the center electrode 4 in the plug axial direction Z from the front end surface of the housing was 4.0 mm.
  • the attitude of the spark plug attached to the internal combustion engine was such that the position of the standing portion 51 of the ground electrode 5 with respect to the center electrode 4 was on the upstream side of the airflow.
  • Table 1 shows the evaluation results.
  • D indicates a reference sample having the same width w and a lean limit A / F that is equivalent (that is, a difference between the lean limit A / F of the reference sample is less than 0.05).
  • C indicates that the lean limit A / F is improved by 0.05 or more and less than 0.1 with respect to the reference sample having the same width w.
  • B indicates that the lean limit A / F is improved by 0.1 or more and less than 0.4 with respect to the reference sample having the same width w.
  • A indicates that the lean limit A / F is improved by 0.4 or more with respect to the reference sample having the same width w.
  • E shows what a so-called side-fire occurred, in which spark discharge occurs in a portion other than the spark discharge gap G, and the lean limit A / F could not be measured.
  • the blank in Table 1 indicates that the corresponding test is not performed. The same applies to Tables 2 and 3 below.
  • the evaluation satisfying w / t ⁇ 1, w ⁇ 1.9 mm, t ⁇ 2.3 mm is any of A, B, and C, and the ignitability is improved. Furthermore, those satisfying w / t ⁇ 0.9, w ⁇ 1.9 mm, and t ⁇ 2.3 mm were all evaluated as A or B, and the improvement in ignitability was particularly great.
  • the width w in the plug circumferential direction and the dimension t in the plug radial direction in the standing portion 51 are w / t ⁇ 1, w ⁇ 1.9 mm, t ⁇ 2.3 mm, It can be seen that the ignitability can be improved by satisfying the above. It can also be seen that ignitability can be further improved by further satisfying w / t ⁇ 0.9.
  • Example 2 In this example, as shown in Table 4, the relationship between the inclination angle ⁇ of the inclined portion 52 of the ground electrode 5 and the ignitability was evaluated. That is, samples having various changes in the inclination angle ⁇ were prepared while using the spark plug 1 shown in Embodiment 1 as a basic structure, and the ignitability of each sample was evaluated.
  • samples having upright portions having four types of cross-sectional shapes different in w and w / t were prepared by changing ⁇ between 10 ° and 90 °.
  • the ignitability of each sample was evaluated. That is, each sample was evaluated in comparison with the ignitability of the reference sample having the same width w and ratio w / t.
  • the ignitability was evaluated by the same method and the same standard as in Experimental Example 1.
  • the evaluation results are shown in Table 4.
  • A, B, C, and D are based on the same evaluation criteria as in Experimental Example 1, respectively. That is, D indicates that the reference sample having the same width w and ratio w / t is equivalent to the lean limit A / F (that is, the difference between the lean limit A / F of the reference sample is less than 0.05).
  • C indicates that the lean limit A / F is improved by 0.05 or more and less than 0.1 with respect to the reference sample having the same width w and ratio w / t.
  • B shows that the lean limit A / F is improved by 0.1 or more and less than 0.4 with respect to the reference sample having the same width w and ratio w / t.
  • A indicates that the lean limit A / F is improved by 0.4 or more with respect to the reference sample having the same width w and ratio w / t.
  • the ignitability can be improved when the inclination angle ⁇ of the inclined portion 52 satisfies 30 ° ⁇ ⁇ ⁇ 60 °.
  • Example 3 In this example, as shown in FIGS. 8 and 9, it was examined how the lean limit A / F changes depending on the mounting posture with respect to the internal combustion engine for the spark plug 1 shown in the first embodiment.
  • the inclination angle ⁇ was 90 °
  • the cross-sectional shape orthogonal to the longitudinal direction of the ground electrode 5 is a substantially constant shape from the standing portion 51 to the inclined portion 52.
  • each spark plug is attached to a 1800 cc, 4-cylinder engine.
  • the spark plug gap G an angle formed by the upstream direction of the air flow f with the arrangement position of the standing portion 51 of the ground electrode 5 with respect to the spark discharge gap G (hereinafter referred to as “the spark plug gap G”).
  • the mounting angle ⁇ was changed from ⁇ 180 ° to 180 ° every 45 °, and the lean limit A / F was measured in each state.
  • the standing portion 51 of the ground electrode 5 is disposed on the upstream side of the spark discharge gap G, and when the mounting angle ⁇ is 180 ° ( ⁇ 180 °), the standing portion 51 is arranged downstream of the spark discharge gap G.
  • the lean limit A / F was measured while changing the direction with respect to the air flow f as described above and setting the flow velocity of the air flow f to 20 m / s. That is, the engine is operated at an engine speed of 2000 rpm in each state where the spark plugs are arranged in a predetermined direction. Then, under the condition that the indicated mean effective pressure Pmi is 0.28 MPa, the combustion fluctuation rate (the fluctuation rate of the indicated mean effective pressure Pmi) is determined from the output of the combustion pressure sensor while gradually changing the value of A / F (air-fuel ratio). Is measured and the lean limit A / F is examined.
  • the lean limit A / F is the same as that in Experimental Example 1.
  • the measurement result of the lean limit A / F is shown in FIG.
  • the broken line indicated by the solid line with the reference symbol L1 is the measurement result for the spark plug of the sample 1
  • the broken line indicated by the broken line with the reference symbol L2 is the measurement result for the spark plug of the sample 2.
  • symbol L3 is a measurement result about the spark plug of the sample 3.
  • a broken line indicated by an alternate long and short dash line with a symbol L4 is a measurement result of the spark plug of the sample 4.
  • the horizontal axis is the attachment angle ⁇ .
  • the vertical axis represents the amount of decrease with respect to the reference value of the lean limit A / F.
  • the reference value of the lean limit A / F is the lean limit A / F when the mounting angle ⁇ is 90 ° in the sample 2.
  • the decrease is the difference between the lean limit A / F and the reference value. As the minus value increases, the lean limit A / F decreases, and the ignitability decreases.
  • the lean limit A / F greatly varies depending on the mounting angle ⁇ .
  • the lean limit A / F of the spark plugs of Sample 2, Sample 3 and Sample 4 varies greatly depending on the direction of the air flow f with respect to the spark plug.
  • the measurement results for Sample 2, Sample 3, and Sample 4 mean that the ignitability varies greatly depending on the mounting posture of the spark plug to the internal combustion engine.
  • the lean limit A / F is extremely low at the position where the mounting angle ⁇ is 0 °. That is, when the standing portion 51 of the ground electrode 5 is disposed on the upstream side of the air flow f with respect to the spark discharge gap G, the lean limit A / F is extremely reduced, and the ignition performance may be greatly reduced. I understand that.
  • a line graph L1 showing the lean limit A / F in the spark plug of sample 1 shows that the lean limit A / F is improved even when the mounting angle ⁇ is 0 °. This means that the spark plug can ensure sufficient ignitability regardless of the mounting posture. Therefore, it can be seen that the spark plug of the sample 1 can ensure ignitability regardless of the mounting posture.
  • the present disclosure has been described based on the embodiment, it is understood that the present disclosure is not limited to the embodiment or the structure.
  • the present disclosure includes various modifications and modifications within the equivalent range.
  • various combinations and forms, as well as other combinations and forms including only one element, more or less, are also included in the scope and spirit of the present disclosure.
  • the ground electrode 5 provided with the protrusion 53 is shown, but a configuration in which the ground electrode is not provided with the protrusion is also possible.

Landscapes

  • Engineering & Computer Science (AREA)
  • Manufacturing & Machinery (AREA)
  • Spark Plugs (AREA)
PCT/JP2017/011021 2016-03-30 2017-03-17 内燃機関用のスパークプラグ Ceased WO2017169930A1 (ja)

Priority Applications (2)

Application Number Priority Date Filing Date Title
US16/089,479 US10505347B2 (en) 2016-03-30 2017-03-17 Spark plug for internal combustion engine
DE112017001737.8T DE112017001737T5 (de) 2016-03-30 2017-03-17 Zündkerze für eine Brennkraftmaschine

Applications Claiming Priority (2)

Application Number Priority Date Filing Date Title
JP2016-069291 2016-03-30
JP2016069291A JP6645320B2 (ja) 2016-03-30 2016-03-30 内燃機関用のスパークプラグ

Publications (1)

Publication Number Publication Date
WO2017169930A1 true WO2017169930A1 (ja) 2017-10-05

Family

ID=59964368

Family Applications (1)

Application Number Title Priority Date Filing Date
PCT/JP2017/011021 Ceased WO2017169930A1 (ja) 2016-03-30 2017-03-17 内燃機関用のスパークプラグ

Country Status (4)

Country Link
US (1) US10505347B2 (enExample)
JP (1) JP6645320B2 (enExample)
DE (1) DE112017001737T5 (enExample)
WO (1) WO2017169930A1 (enExample)

Families Citing this family (3)

* Cited by examiner, † Cited by third party
Publication number Priority date Publication date Assignee Title
JP6702094B2 (ja) 2016-08-31 2020-05-27 株式会社デンソー スパークプラグ
JP6729206B2 (ja) 2016-09-06 2020-07-22 株式会社デンソー スパークプラグ
JP7122860B2 (ja) 2018-05-11 2022-08-22 株式会社Soken 内燃機関用のスパークプラグ

Citations (3)

* Cited by examiner, † Cited by third party
Publication number Priority date Publication date Assignee Title
JP2003229231A (ja) * 2002-02-05 2003-08-15 Denso Corp スパークプラグの製造方法
JP2010238377A (ja) * 2009-03-30 2010-10-21 Nippon Soken Inc スパークプラグ
JP2012256590A (ja) * 2011-05-19 2012-12-27 Ngk Spark Plug Co Ltd スパークプラグ

Family Cites Families (8)

* Cited by examiner, † Cited by third party
Publication number Priority date Publication date Assignee Title
JPH09148045A (ja) 1995-11-24 1997-06-06 Harumitsu Matsushita 点火プラグ
JP4482187B2 (ja) * 1999-12-20 2010-06-16 日本特殊陶業株式会社 内燃機関用スパークプラグ
JP2001345162A (ja) * 2000-03-30 2001-12-14 Denso Corp 内燃機関用スパークプラグ
JP4305713B2 (ja) 2000-12-04 2009-07-29 株式会社デンソー スパークプラグ
JP2005228562A (ja) * 2004-02-12 2005-08-25 Denso Corp スパークプラグ
JP4939642B2 (ja) * 2010-11-04 2012-05-30 日本特殊陶業株式会社 スパークプラグ
JP6494968B2 (ja) 2014-09-26 2019-04-03 株式会社ジーシー 歯牙漂白用組成物
JP6729206B2 (ja) * 2016-09-06 2020-07-22 株式会社デンソー スパークプラグ

Patent Citations (3)

* Cited by examiner, † Cited by third party
Publication number Priority date Publication date Assignee Title
JP2003229231A (ja) * 2002-02-05 2003-08-15 Denso Corp スパークプラグの製造方法
JP2010238377A (ja) * 2009-03-30 2010-10-21 Nippon Soken Inc スパークプラグ
JP2012256590A (ja) * 2011-05-19 2012-12-27 Ngk Spark Plug Co Ltd スパークプラグ

Also Published As

Publication number Publication date
JP2017183107A (ja) 2017-10-05
US10505347B2 (en) 2019-12-10
DE112017001737T5 (de) 2019-01-10
US20190199068A1 (en) 2019-06-27
JP6645320B2 (ja) 2020-02-14

Similar Documents

Publication Publication Date Title
JP5919214B2 (ja) 内燃機関用のスパークプラグ
JP5593236B2 (ja) 内燃機関用のスパークプラグ
JP5826156B2 (ja) 内燃機関用のスパークプラグ
JP5804966B2 (ja) 内燃機関用のスパークプラグ
JP5970224B2 (ja) 内燃機関用のスパークプラグ
JP5896890B2 (ja) 内燃機関用のスパークプラグ
WO2017169930A1 (ja) 内燃機関用のスパークプラグ
JP5600641B2 (ja) 内燃機関用のスパークプラグ
JP6729206B2 (ja) スパークプラグ
JP6680043B2 (ja) 内燃機関用のスパークプラグ
JP5667936B2 (ja) 内燃機関用のスパークプラグ
JP2017174681A (ja) 内燃機関用のスパークプラグ
JP6274706B2 (ja) 内燃機関用のスパークプラグ
JP6376839B2 (ja) 内燃機関用のスパークプラグ
JP7122860B2 (ja) 内燃機関用のスパークプラグ

Legal Events

Date Code Title Description
121 Ep: the epo has been informed by wipo that ep was designated in this application

Ref document number: 17774471

Country of ref document: EP

Kind code of ref document: A1

122 Ep: pct application non-entry in european phase

Ref document number: 17774471

Country of ref document: EP

Kind code of ref document: A1