WO2017135395A1 - 貫通電極基板及びその製造方法 - Google Patents

貫通電極基板及びその製造方法 Download PDF

Info

Publication number
WO2017135395A1
WO2017135395A1 PCT/JP2017/003892 JP2017003892W WO2017135395A1 WO 2017135395 A1 WO2017135395 A1 WO 2017135395A1 JP 2017003892 W JP2017003892 W JP 2017003892W WO 2017135395 A1 WO2017135395 A1 WO 2017135395A1
Authority
WO
WIPO (PCT)
Prior art keywords
substrate
hole
electrode
holes
electrode portion
Prior art date
Legal status (The legal status is an assumption and is not a legal conclusion. Google has not performed a legal analysis and makes no representation as to the accuracy of the status listed.)
Ceased
Application number
PCT/JP2017/003892
Other languages
English (en)
French (fr)
Japanese (ja)
Inventor
前川 慎志
宏 馬渡
Current Assignee (The listed assignees may be inaccurate. Google has not performed a legal analysis and makes no representation or warranty as to the accuracy of the list.)
Dai Nippon Printing Co Ltd
Original Assignee
Dai Nippon Printing Co Ltd
Priority date (The priority date is an assumption and is not a legal conclusion. Google has not performed a legal analysis and makes no representation as to the accuracy of the date listed.)
Filing date
Publication date
Application filed by Dai Nippon Printing Co Ltd filed Critical Dai Nippon Printing Co Ltd
Priority to US16/075,898 priority Critical patent/US10755996B2/en
Publication of WO2017135395A1 publication Critical patent/WO2017135395A1/ja
Anticipated expiration legal-status Critical
Ceased legal-status Critical Current

Links

Images

Classifications

    • HELECTRICITY
    • H01ELECTRIC ELEMENTS
    • H01LSEMICONDUCTOR DEVICES NOT COVERED BY CLASS H10
    • H01L23/00Details of semiconductor or other solid state devices
    • H01L23/32Holders for supporting the complete device in operation, i.e. detachable fixtures
    • HELECTRICITY
    • H01ELECTRIC ELEMENTS
    • H01LSEMICONDUCTOR DEVICES NOT COVERED BY CLASS H10
    • H01L23/00Details of semiconductor or other solid state devices
    • H01L23/48Arrangements for conducting electric current to or from the solid state body in operation, e.g. leads, terminal arrangements ; Selection of materials therefor
    • H01L23/488Arrangements for conducting electric current to or from the solid state body in operation, e.g. leads, terminal arrangements ; Selection of materials therefor consisting of soldered or bonded constructions
    • H01L23/498Leads, i.e. metallisations or lead-frames on insulating substrates, e.g. chip carriers
    • H01L23/49827Via connections through the substrates, e.g. pins going through the substrate, coaxial cables
    • HELECTRICITY
    • H05ELECTRIC TECHNIQUES NOT OTHERWISE PROVIDED FOR
    • H05KPRINTED CIRCUITS; CASINGS OR CONSTRUCTIONAL DETAILS OF ELECTRIC APPARATUS; MANUFACTURE OF ASSEMBLAGES OF ELECTRICAL COMPONENTS
    • H05K1/00Printed circuits
    • H05K1/02Details
    • H05K1/11Printed elements for providing electric connections to or between printed circuits
    • H05K1/115Via connections; Lands around holes or via connections
    • HELECTRICITY
    • H05ELECTRIC TECHNIQUES NOT OTHERWISE PROVIDED FOR
    • H05KPRINTED CIRCUITS; CASINGS OR CONSTRUCTIONAL DETAILS OF ELECTRIC APPARATUS; MANUFACTURE OF ASSEMBLAGES OF ELECTRICAL COMPONENTS
    • H05K1/00Printed circuits
    • H05K1/02Details
    • H05K1/11Printed elements for providing electric connections to or between printed circuits
    • H05K1/115Via connections; Lands around holes or via connections
    • H05K1/116Lands, clearance holes or other lay-out details concerning the surrounding of a via
    • HELECTRICITY
    • H05ELECTRIC TECHNIQUES NOT OTHERWISE PROVIDED FOR
    • H05KPRINTED CIRCUITS; CASINGS OR CONSTRUCTIONAL DETAILS OF ELECTRIC APPARATUS; MANUFACTURE OF ASSEMBLAGES OF ELECTRICAL COMPONENTS
    • H05K3/00Apparatus or processes for manufacturing printed circuits
    • H05K3/46Manufacturing multilayer circuits
    • HELECTRICITY
    • H05ELECTRIC TECHNIQUES NOT OTHERWISE PROVIDED FOR
    • H05KPRINTED CIRCUITS; CASINGS OR CONSTRUCTIONAL DETAILS OF ELECTRIC APPARATUS; MANUFACTURE OF ASSEMBLAGES OF ELECTRICAL COMPONENTS
    • H05K3/00Apparatus or processes for manufacturing printed circuits
    • H05K3/46Manufacturing multilayer circuits
    • H05K3/4602Manufacturing multilayer circuits characterized by a special circuit board as base or central core whereon additional circuit layers are built or additional circuit boards are laminated
    • H05K3/4605Manufacturing multilayer circuits characterized by a special circuit board as base or central core whereon additional circuit layers are built or additional circuit boards are laminated made from inorganic insulating material
    • HELECTRICITY
    • H01ELECTRIC ELEMENTS
    • H01LSEMICONDUCTOR DEVICES NOT COVERED BY CLASS H10
    • H01L2224/00Indexing scheme for arrangements for connecting or disconnecting semiconductor or solid-state bodies and methods related thereto as covered by H01L24/00
    • H01L2224/01Means for bonding being attached to, or being formed on, the surface to be connected, e.g. chip-to-package, die-attach, "first-level" interconnects; Manufacturing methods related thereto
    • H01L2224/10Bump connectors; Manufacturing methods related thereto
    • H01L2224/15Structure, shape, material or disposition of the bump connectors after the connecting process
    • H01L2224/16Structure, shape, material or disposition of the bump connectors after the connecting process of an individual bump connector
    • H01L2224/161Disposition
    • H01L2224/16151Disposition the bump connector connecting between a semiconductor or solid-state body and an item not being a semiconductor or solid-state body, e.g. chip-to-substrate, chip-to-passive
    • H01L2224/16221Disposition the bump connector connecting between a semiconductor or solid-state body and an item not being a semiconductor or solid-state body, e.g. chip-to-substrate, chip-to-passive the body and the item being stacked
    • H01L2224/16225Disposition the bump connector connecting between a semiconductor or solid-state body and an item not being a semiconductor or solid-state body, e.g. chip-to-substrate, chip-to-passive the body and the item being stacked the item being non-metallic, e.g. insulating substrate with or without metallisation
    • H01L2224/16227Disposition the bump connector connecting between a semiconductor or solid-state body and an item not being a semiconductor or solid-state body, e.g. chip-to-substrate, chip-to-passive the body and the item being stacked the item being non-metallic, e.g. insulating substrate with or without metallisation the bump connector connecting to a bond pad of the item
    • HELECTRICITY
    • H01ELECTRIC ELEMENTS
    • H01LSEMICONDUCTOR DEVICES NOT COVERED BY CLASS H10
    • H01L2224/00Indexing scheme for arrangements for connecting or disconnecting semiconductor or solid-state bodies and methods related thereto as covered by H01L24/00
    • H01L2224/01Means for bonding being attached to, or being formed on, the surface to be connected, e.g. chip-to-package, die-attach, "first-level" interconnects; Manufacturing methods related thereto
    • H01L2224/10Bump connectors; Manufacturing methods related thereto
    • H01L2224/15Structure, shape, material or disposition of the bump connectors after the connecting process
    • H01L2224/17Structure, shape, material or disposition of the bump connectors after the connecting process of a plurality of bump connectors
    • H01L2224/171Disposition
    • H01L2224/1718Disposition being disposed on at least two different sides of the body, e.g. dual array
    • H01L2224/17181On opposite sides of the body
    • HELECTRICITY
    • H01ELECTRIC ELEMENTS
    • H01LSEMICONDUCTOR DEVICES NOT COVERED BY CLASS H10
    • H01L2225/00Details relating to assemblies covered by the group H01L25/00 but not provided for in its subgroups
    • H01L2225/03All the devices being of a type provided for in the same main group of the same subclass of class H10, e.g. assemblies of rectifier diodes
    • H01L2225/04All the devices being of a type provided for in the same main group of the same subclass of class H10, e.g. assemblies of rectifier diodes the devices not having separate containers
    • H01L2225/065All the devices being of a type provided for in the same main group of the same subclass of class H10
    • H01L2225/06503Stacked arrangements of devices
    • H01L2225/06517Bump or bump-like direct electrical connections from device to substrate
    • HELECTRICITY
    • H01ELECTRIC ELEMENTS
    • H01LSEMICONDUCTOR DEVICES NOT COVERED BY CLASS H10
    • H01L2225/00Details relating to assemblies covered by the group H01L25/00 but not provided for in its subgroups
    • H01L2225/03All the devices being of a type provided for in the same main group of the same subclass of class H10, e.g. assemblies of rectifier diodes
    • H01L2225/04All the devices being of a type provided for in the same main group of the same subclass of class H10, e.g. assemblies of rectifier diodes the devices not having separate containers
    • H01L2225/065All the devices being of a type provided for in the same main group of the same subclass of class H10
    • H01L2225/06503Stacked arrangements of devices
    • H01L2225/06548Conductive via connections through the substrate, container, or encapsulation
    • HELECTRICITY
    • H01ELECTRIC ELEMENTS
    • H01LSEMICONDUCTOR DEVICES NOT COVERED BY CLASS H10
    • H01L2225/00Details relating to assemblies covered by the group H01L25/00 but not provided for in its subgroups
    • H01L2225/03All the devices being of a type provided for in the same main group of the same subclass of class H10, e.g. assemblies of rectifier diodes
    • H01L2225/04All the devices being of a type provided for in the same main group of the same subclass of class H10, e.g. assemblies of rectifier diodes the devices not having separate containers
    • H01L2225/065All the devices being of a type provided for in the same main group of the same subclass of class H10
    • H01L2225/06503Stacked arrangements of devices
    • H01L2225/06572Auxiliary carrier between devices, the carrier having an electrical connection structure
    • HELECTRICITY
    • H01ELECTRIC ELEMENTS
    • H01LSEMICONDUCTOR DEVICES NOT COVERED BY CLASS H10
    • H01L25/00Assemblies consisting of a plurality of semiconductor or other solid state devices
    • H01L25/03Assemblies consisting of a plurality of semiconductor or other solid state devices all the devices being of a type provided for in a single subclass of subclasses H10B, H10D, H10F, H10H, H10K or H10N, e.g. assemblies of rectifier diodes
    • H01L25/04Assemblies consisting of a plurality of semiconductor or other solid state devices all the devices being of a type provided for in a single subclass of subclasses H10B, H10D, H10F, H10H, H10K or H10N, e.g. assemblies of rectifier diodes the devices not having separate containers
    • H01L25/065Assemblies consisting of a plurality of semiconductor or other solid state devices all the devices being of a type provided for in a single subclass of subclasses H10B, H10D, H10F, H10H, H10K or H10N, e.g. assemblies of rectifier diodes the devices not having separate containers the devices being of a type provided for in group H10D89/00
    • H01L25/0657Stacked arrangements of devices
    • HELECTRICITY
    • H05ELECTRIC TECHNIQUES NOT OTHERWISE PROVIDED FOR
    • H05KPRINTED CIRCUITS; CASINGS OR CONSTRUCTIONAL DETAILS OF ELECTRIC APPARATUS; MANUFACTURE OF ASSEMBLAGES OF ELECTRICAL COMPONENTS
    • H05K2201/00Indexing scheme relating to printed circuits covered by H05K1/00
    • H05K2201/09Shape and layout
    • H05K2201/09209Shape and layout details of conductors
    • H05K2201/09654Shape and layout details of conductors covering at least two types of conductors provided for in H05K2201/09218 - H05K2201/095
    • H05K2201/09781Dummy conductors, i.e. not used for normal transport of current; Dummy electrodes of components
    • HELECTRICITY
    • H05ELECTRIC TECHNIQUES NOT OTHERWISE PROVIDED FOR
    • H05KPRINTED CIRCUITS; CASINGS OR CONSTRUCTIONAL DETAILS OF ELECTRIC APPARATUS; MANUFACTURE OF ASSEMBLAGES OF ELECTRICAL COMPONENTS
    • H05K2201/00Indexing scheme relating to printed circuits covered by H05K1/00
    • H05K2201/10Details of components or other objects attached to or integrated in a printed circuit board
    • H05K2201/10227Other objects, e.g. metallic pieces
    • H05K2201/10378Interposers
    • HELECTRICITY
    • H05ELECTRIC TECHNIQUES NOT OTHERWISE PROVIDED FOR
    • H05KPRINTED CIRCUITS; CASINGS OR CONSTRUCTIONAL DETAILS OF ELECTRIC APPARATUS; MANUFACTURE OF ASSEMBLAGES OF ELECTRICAL COMPONENTS
    • H05K3/00Apparatus or processes for manufacturing printed circuits
    • H05K3/40Forming printed elements for providing electric connections to or between printed circuits
    • H05K3/42Plated through-holes or plated via connections
    • HELECTRICITY
    • H05ELECTRIC TECHNIQUES NOT OTHERWISE PROVIDED FOR
    • H05KPRINTED CIRCUITS; CASINGS OR CONSTRUCTIONAL DETAILS OF ELECTRIC APPARATUS; MANUFACTURE OF ASSEMBLAGES OF ELECTRICAL COMPONENTS
    • H05K3/00Apparatus or processes for manufacturing printed circuits
    • H05K3/46Manufacturing multilayer circuits
    • H05K3/4602Manufacturing multilayer circuits characterized by a special circuit board as base or central core whereon additional circuit layers are built or additional circuit boards are laminated

Definitions

  • Embodiment of this indication is related with a penetration electrode substrate and its manufacturing method.
  • a substrate including a first surface and a second surface, a plurality of holes provided in the substrate, and an electrode portion provided in the hole so as to reach the second surface side from the first surface side of the substrate.
  • Members, so-called through electrode substrates are used in various applications.
  • Patent Document 1 discloses an example in which a through electrode substrate is used as an interposer interposed between two LSI chips when a plurality of LSI chips are stacked in order to increase the LSI mounting density.
  • the through electrode substrate may be interposed between an element such as an LSI chip and a mounting substrate such as a mother board.
  • the electrode portion provided inside the hole may be referred to as a hole electrode portion.
  • the rigidity of the substrate is lowered in the region where the hole is provided, and as a result, the substrate is easily deformed in the region where the hole is provided.
  • rigidity, ease of deformation, and the like differ between a region where holes are provided and a region where holes are not provided in the substrate.
  • the rigidity and ease of deformation of the substrate vary depending on the location, the substrate is likely to warp or distort. Therefore, when a plurality of holes are provided in the substrate, it is preferable to arrange the holes so that the distribution density of the holes in the plane of the substrate is uniform.
  • the holes of the through electrode substrate are provided according to the layout of the terminals of elements such as LSI chips. For this reason, when there is a bias in the layout of the terminal of the element, the layout of the holes in the through electrode substrate is also biased. For example, the distribution density of holes in the through electrode substrate becomes non-uniform. As a result, problems such as warpage and distortion may occur in the through electrode substrate.
  • the embodiment of the present disclosure has been made in consideration of such points, and an object thereof is to provide a through electrode substrate and a method for manufacturing the same that can suppress warping, distortion, and the like.
  • One embodiment of the present disclosure includes a first surface and a second surface located on the opposite side of the first surface, a substrate provided with a plurality of holes, and a hole provided inside the hole of the substrate An electrode portion; a first electrode portion provided on the first surface side of the substrate; and a second electrode portion provided on the second surface side of the substrate; The hole electrode portion is electrically connected to the first electrode portion on the first surface side of the substrate, and the hole electrode portion is electrically connected to the second electrode portion on the second surface side of the substrate.
  • the plurality of connected first holes and the hole electrode portion are electrically insulated from the first electrode portion on the first surface side of the substrate, or the hole electrode portion is the second hole of the substrate.
  • a plurality of second holes that are electrically insulated from the second electrode portion on the surface side.
  • the second hole has the hole electrode portion electrically insulated from the first electrode portion on the first surface side of the substrate, and the hole electrode portion. May be electrically insulated from the second electrode portion on the second surface side of the substrate.
  • a through electrode substrate includes a first insulating layer provided on the first surface side of the substrate and a second insulating layer provided on the second surface side of the substrate.
  • the second hole may be covered with the first insulating layer on the first surface side of the substrate, or may be covered with the second insulating layer on the second surface side of the substrate.
  • the hole electrode portion includes a conductive layer provided on a side wall of the hole, and the through electrode substrate is in the inside of the hole than the hole electrode portion. You may further provide the filling member provided in the center side of the hole.
  • a through electrode substrate includes a first insulating layer provided on the first surface side of the substrate and a second insulating layer provided on the second surface side of the substrate.
  • the filling member at least a part of the filling member provided in the plurality of second holes may be connected to the first insulating layer or the second insulating layer.
  • One embodiment of the present disclosure is a method of manufacturing a through electrode substrate on which an element having a plurality of terminals is mounted, and a substrate including a first surface and a second surface located on the opposite side of the first surface is prepared.
  • a step of determining the arrangement of a plurality of holes to be formed in the substrate, a hole forming step of forming the plurality of holes in the substrate based on the arrangement determined in the arrangement step, and the plurality of holes A hole electrode portion forming step of forming a hole electrode portion inside the hole, wherein the disposing step determines a disposition of a plurality of first holes electrically connected to the terminals of the element
  • the disposing step determines a disposition of a plurality of first holes electrically connected to the terminals of the element
  • FIG. 2 is a cross-sectional view of the through electrode substrate of FIG. 1 viewed from the IIA-IIA direction. It is sectional drawing which expands and shows the hole electrode part of the penetration electrode board
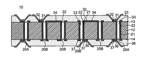
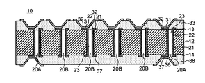
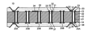
  • FIG. 1 is a plan view showing the through electrode substrate 10.
  • 2A is a cross-sectional view of the through electrode substrate 10 of FIG. 1 taken along the alternate long and short dash line, as viewed from the IIA-IIA direction.
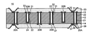
  • the through electrode substrate 10 includes a substrate 12, a plurality of holes provided in the substrate 12, and a hole electrode portion 22 provided in the hole.
  • the holes include at least two types of holes, the first hole 20A and the second hole 20B.
  • both the first hole 20A and the second hole 20B are collectively referred to as the hole 20. .
  • the through electrode substrate 10 is provided on the first surface portion 31 side of the substrate 12, the first wiring 32 and the first insulating layer 33, and the second surface 14 side of the substrate 12.
  • the second electrode unit 36, the second wiring 37, and the second insulating layer 38 are further provided.
  • the substrate 12 includes a first surface 13 and a second surface 14 located on the opposite side of the first surface 13.
  • the substrate 12 is made of a material having a certain insulating property.
  • the substrate 12 is a glass substrate, quartz substrate, sapphire substrate, resin substrate, silicon substrate, silicon carbide substrate, alumina (Al 2 O 3 ) substrate, aluminum nitride (AlN) substrate, zirconium oxide (ZrO 2 ) substrate, etc.
  • these substrates are stacked.
  • the substrate 12 may include a substrate made of a conductive material such as an aluminum substrate or a stainless steel substrate.
  • the thickness of the substrate 12 is not particularly limited. For example, it is preferable to use the substrate 12 having a thickness of 100 ⁇ m or more and 800 ⁇ m or less. More preferably, the substrate 12 has a thickness of 200 ⁇ m or more and 600 ⁇ m or less.
  • the thickness of the substrate 12 By setting the thickness of the substrate 12 to 100 ⁇ m or more, it is possible to suppress an increase in the deflection of the substrate 12. For this reason, it is possible to suppress the handling of the substrate 12 in the manufacturing process and the warping of the substrate 12 due to internal stress such as a thin film formed on the substrate 12.
  • the thickness of the substrate 12 to 800 ⁇ m or less, it is possible to suppress the time required for the step of forming the holes 20 in the substrate 12 from increasing and the manufacturing cost of the through electrode substrate 10 from increasing.
  • the hole 20 is provided in the substrate 12 so as to extend from the first surface 13 to the second surface 14 of the substrate 12. In other words, the hole 20 penetrates the substrate 12.
  • the diameter of the hole 20 is, for example, in the range of 20 ⁇ m or more and 150 ⁇ m or less. Further, the interval between two adjacent holes 20, that is, the arrangement pitch of the holes 20 is, for example, in the range of 50 ⁇ m or more and 300 ⁇ m or less.
  • the hole electrode portion 22 is a conductive member provided inside the hole 20.
  • the hole electrode portion 22 is a conductive layer that extends along the side wall 21 of the hole 20 so as to extend from the first surface 13 side to the second surface 14 side.
  • a hole electrode portion 22 is provided on the first electrode portion 31 provided on the first surface 13 side of the substrate 12 and on the second surface 14 side of the substrate 12.
  • the formed second electrode portion 36 is electrically connected through the hole 20.
  • FIG. 2B is an enlarged cross-sectional view of the hole electrode portion 22.
  • the hole electrode part 22 includes a conductive layer provided on the side wall 21 of the hole 20.
  • the formation method of a conductive layer is not specifically limited.
  • the conductive layer may be formed by a physical film formation method such as an evaporation method or a sputtering method, or may be formed by a chemical film formation method or a plating method.
  • the conductive layer may be composed of a single layer or may include a plurality of layers.
  • the conductive layer of the hole electrode unit 22 includes a seed layer 41 and a plating layer 42 provided on the seed layer 41 will be described.
  • the seed layer 41 is a conductive layer that serves as a base for growing the plating layer 42 by depositing metal ions in the plating solution during the plating step of forming the plating layer 42.
  • a conductive material having high adhesion to the material of the substrate 12 is preferably used.
  • titanium, molybdenum, tungsten, tantalum, nickel, chromium, aluminum, a compound thereof, an alloy thereof, or the like, or a laminate of these can be used as the material of the seed layer 41.
  • the plating layer 42 deposited on the seed layer 41 contains copper
  • a material that suppresses diffusion of copper into the substrate 12 is preferably used as the material of the seed layer 41.
  • titanium nitride, molybdenum nitride, tantalum nitride, or the like, or a stack of these can be used.
  • the thickness of the seed layer 41 is, for example, in a range not less than 20 nm and not more than 500 nm.
  • the plating layer 42 is a conductive layer provided on the seed layer 41 in order to increase the conductivity of the hole electrode portion 22.
  • a material of the plating layer 42 a conductive material having high adhesion to the seed layer 41 and high conductivity is preferably used.
  • a metal such as copper, gold, silver, platinum, rhodium, tin, aluminum, nickel, chromium, an alloy using these, or a laminate of these can be used.
  • the thickness of the plating layer 42 is, for example, in the range of 1 ⁇ m or more and 10 ⁇ m or less.
  • the thickness of the plating layer 42 is determined according to the conductivity required for the hole electrode portion 22. For example, when the hole electrode portion 22 is a member for conducting a power supply line or a ground line, a plating layer 42 having a sufficient thickness is used. Moreover, when the hole electrode part 22 is a member for conducting a weak electric signal, a plating layer 42 having a small thickness may be used. Alternatively, although not shown, only the seed layer 41 may be provided in the hole 20 without providing the plating layer 42.
  • the plating layer 42 of the hole electrode part 22 may be provided on the seed layer 41 so that the hollow part 23 is formed inside the hole 20.
  • the hollow portion 23 is a region where no solid such as the seed layer 41 or the plating layer 42 exists in the region inside the hole 20. Further, as will be described later, the hole electrode portion 22 may be filled in the entire area inside the hole 20.
  • Each of the first electrode portion 31 and the second electrode portion 36 is a portion of the through electrode substrate 10 that is connected to an element to which the through electrode substrate 10 is attached or a terminal of a mounting substrate, and is also referred to as a pad or land It is.
  • the first electrode portion 31 is exposed on the surface of the through electrode substrate 10 on the first surface 13 side of the substrate 12.
  • the second electrode portion 36 is exposed on the surface of the through electrode substrate 10 on the second surface 14 side of the substrate 12.
  • a conductive material such as a metal is used.
  • the electrode portions 31 and 36 include a gold plating layer formed by supplying a plating solution containing gold to the substrate 12.
  • the first wiring 32 is a conductive layer provided on the first surface 13 side of the substrate 12 so as to electrically connect the hole electrode portion 22 and the first electrode portion 31.
  • the second wiring 37 is a conductive layer provided on the second surface 14 side of the substrate 12 so as to electrically connect the hole electrode portion 22 and the second electrode portion 36.
  • a conductive material such as a metal is used as a material of the wirings 32 and 37.
  • the wirings 32 and 37 may have the same layer configuration as the hole electrode unit 22.
  • the wirings 32 and 37 may also include the seed layer 41 and the plating layer 42.
  • the wirings 32 and 37 may include a conductive layer having a configuration different from that of the hole electrode portion 22.
  • the first insulating layer 33 is an insulating layer provided on the first surface 13 so as to cover a region of the first surface 13 of the substrate 12 that does not require external electrical access.
  • the first insulating layer 33 covers at least the hole 20 in which the hole electrode portion 22 is not electrically connected to the first electrode portion 31 among the plurality of holes 20.
  • the second insulating layer 38 is an insulating layer provided on the second surface 14 so as to cover a region of the second surface 14 of the substrate 12 that does not require external electrical access. is there. For example, as shown in FIG.
  • the second insulating layer 38 covers at least the hole 20 in which the hole electrode portion 22 is not electrically connected to the second electrode portion 36 among the plurality of holes 20.
  • a material having an insulating property such as a resin material such as an epoxy resin, an inorganic material such as silicon oxide, or a photosensitive negative dry film resist is used.
  • the first insulating layer 33 has an opening for exposing the first wiring 32 or the hole electrode portion 22 from the first insulating layer 33.
  • the first electrode portion 31 described above is provided in the opening of the first insulating layer 33 so as to be connected to the first wiring 32 or the hole electrode portion 22.
  • an opening for exposing the second wiring 37 or the hole electrode part 22 from the second insulating layer 38 is formed in the second insulating layer 38.
  • the second electrode portion 36 described above is provided in the opening of the second insulating layer 38 so as to be connected to the second wiring 37 or the hole electrode portion 22.
  • some of the plurality of holes 20 are electrically connected to the electrode parts 31 and 36, and the other part of the plurality of holes 20 are electrically connected to the electrode parts 31 and 36. Not connected to.
  • the hole electrode portion 22 provided in the hole 20 is electrically connected to the first electrode portion 31 on the first surface 13 side of the substrate 12, and is connected to the hole 20.
  • the hole 20 in which the provided hole electrode portion 22 is electrically connected to the second electrode portion 36 on the second surface 14 side of the substrate 12 is referred to as a first hole 20A.
  • the hole electrode part 22 provided in the first hole 20 ⁇ / b> A functions as a through electrode that electrically connects the first electrode part 31 and the second electrode part 36.
  • the hole electrode portion 22 provided in the hole 20 is electrically insulated from the first electrode portion 31 on the first surface 13 side of the substrate 12, and the hole 20 is provided in the hole 20.
  • the hole 20 in which the electrode part 22 is electrically insulated from the second electrode part 36 on the second surface 14 side of the substrate 12 is referred to as a second hole 20B.
  • the hole electrode portion 22 provided in the second hole 20B is insulated from the first electrode portion 31 by the first insulating layer 33 covering the second hole 20B on the first surface 13 side. ing. Further, the hole electrode portion 22 provided in the second hole 20B is insulated from the second electrode portion 36 by the second insulating layer 38 covering the second hole 20B on the second surface 14 side.
  • the method of electrically insulating the hole electrode portion 22 of the second hole 20B from the electrode portions 31 and 36 is not limited to the above-described method.
  • the hole electrode portion 22 may be electrically insulated from the electrode portions 31 and 36 by providing a gap between the hole electrode portion 22 and the electrode portions 31 and 36.
  • the plurality of first holes 20 ⁇ / b> A are arranged along the outer edge of the substrate 12.
  • the plurality of second holes 20B are arranged in a region inside the region where the plurality of first holes 20A are arranged.
  • the plurality of holes 20 including the plurality of first holes 20 ⁇ / b> A and the plurality of second holes 20 ⁇ / b> B are arranged such that the plurality of holes 20 are arranged in a direction in which the outer edge of the substrate 12 extends in a plan view. Has been placed.
  • the above-described first hole 20A is a hole provided in the substrate 12 for transmitting electric power and electric signals between the first surface 13 side and the second surface 14 side of the substrate 12.
  • the first hole 20A is provided in the substrate 12 at the terminal of an element such as an LSI chip according to the layout.
  • the layout of the first hole 20A in the substrate 12 is also biased.
  • the distribution density of the plurality of first holes 20A in the substrate 12 becomes non-uniform. As a result, problems such as warpage and distortion may occur in the substrate 12.
  • the through electrode substrate 10 further includes a plurality of second holes 20B in addition to the plurality of first holes 20A described above. Since the hole electrode portion 22 provided in the second hole 20B is covered with the first insulating layer 33 and the second insulating layer 38, the second hole 20B is formed on the first surface 13 side and the second surface 14 side. Does not contribute to the transmission of electric power and electrical signals between the two. That is, the second hole 20B is not a hole that performs an electrical function. By providing such second holes 20B in the substrate 12, the distribution density of the holes 20 in the substrate 12 can be made more uniform regardless of the layout of the plurality of first holes 20A.
  • the plurality of holes 20 are formed in the substrate 12 so that the distribution density of the holes 20 in the first surface 13 and the second surface 14 of the substrate 12 is uniform regardless of location.
  • the number of holes 20 formed in the N regions is within an average value of ⁇ 20%.
  • N is a suitable integer, for example, 16.
  • each of the plurality of holes 20 has an equal volume.
  • a design process for designing the arrangement of the plurality of holes 20 is performed.
  • the substrate 12 is virtually arranged on the computer.
  • an arrangement process for determining the arrangement of the plurality of holes 20 in the substrate 12 is performed on the computer.
  • a first arranging step for determining the arrangement of the plurality of first holes 20A electrically connected to the plurality of terminals of the element mounted on the through electrode substrate 10 is performed.
  • positioning of several 2nd hole 20B which is not electrically connected to the some terminal of an element is implemented.
  • the plurality of second holes 20B are arranged so that the second holes 20B do not overlap the first holes 20A, and a plurality of holes including the plurality of first holes 20A and the plurality of second holes 20B.
  • the distribution density of 20 is determined to be uniform in the surface direction of the substrate 12.
  • a hole forming step is performed in which the substrate 12 is processed based on the arrangement determined in the arrangement process to form a plurality of holes 20A and 20B in the substrate 12.
  • a hole forming step is performed in which the substrate 12 is processed based on the arrangement determined in the arrangement process to form a plurality of holes 20A and 20B in the substrate 12.
  • regions of the surfaces 13 and 14 of the substrate 12 where the holes 20A and 20B are not formed are covered with a resist layer.
  • a region of the surfaces 13 and 14 of the substrate 12 that is not covered with the resist layer is removed to form a plurality of holes 20A and 20B.
  • a dry etching method such as a reactive ion etching method or a deep digging reactive ion etching method, a wet etching method, or the like can be used.
  • HF hydrogen fluoride
  • sulfuric acid H 2 SO 4
  • nitric acid HNO 3
  • hydrochloric acid HCl
  • a dry etching RIE Reactive Ion Etching
  • a DRIE Deep Reactive Ion Etching RIE
  • a laser processing such as a sand blast method, a laser ablation, or the like
  • an excimer laser, an Nd: YAG laser, a femtosecond laser, or the like can be used.
  • an Nd: YAG laser is employed, a fundamental wave having a wavelength of 1064 nm, a second harmonic having a wavelength of 532 nm, a third harmonic having a wavelength of 355 nm, or the like can be used.
  • laser irradiation and wet etching can be appropriately combined. Specifically, first, an altered layer is formed in a region of the substrate 12 where the holes 20A and 20B are to be formed by laser irradiation. Subsequently, the altered layer is etched by immersing the substrate 12 in hydrogen fluoride or the like. Thereby, the holes 20A and 20B can be formed in the substrate 12.
  • a hole electrode portion forming step for forming the hole electrode portion 22 inside the holes 20A and 20B of the substrate 12 is performed.
  • the seed layer 41 is formed on the first surface 13 and the second surface 14 of the substrate 12 and the side walls 21 of the holes 20A and 20B.
  • a method for forming the seed layer 41 for example, a physical film formation method such as an evaporation method or a sputtering method, a chemical film formation method, or the like can be used.
  • a resist layer forming step is performed in which a resist layer 43 is partially formed on the first surface 13 and the second surface 14 of the substrate 12.
  • the resist layer 43 is formed so that the region of the first surface 13 and the second surface 14 of the substrate 12 where the first wiring 32 and the second wiring 37 are not provided is covered with the resist layer 43.
  • a plating process is performed in which a plating solution is supplied to the substrate 12 to form a plating layer 42 on the seed layer 41.
  • the resist layer 43 and the seed layer 41 covered with the resist layer 43 are removed.
  • the hole electrode portion 22 including the seed layer 41 and the plating layer 42 is formed inside the holes 20A and 20B.
  • the seed layer 41 and the plating layer 42 are included, the first wiring 32 provided on the first surface 13 side of the substrate 12, the seed layer 41 and the plating layer 42 are included, The second wiring 37 provided on the second surface 14 side is obtained simultaneously with the hole electrode part 22.
  • an insulating layer forming step of forming the first insulating layer 33 on the first surface 13 of the substrate 12 and forming the second insulating layer 38 on the second surface 14 of the substrate 12 is performed.
  • the first insulating layer 33 exposes the hole electrode portion 22 provided in the first hole 20A or the first wiring 32 connected to the hole electrode portion 22 to the outside, and the hole electrode provided in the second hole 20B. It is formed so as to cover the first wiring 32 connected to the portion 22 or the hole electrode portion 22.
  • the second insulating layer 38 exposes the hole electrode portion 22 provided in the first hole 20A or the second wiring 37 connected to the hole electrode portion 22 to the outside, and is provided in the second hole 20B.
  • the hole electrode portion 22 or the second wiring 37 connected to the hole electrode portion 22 is formed to cover the hole electrode portion 22 or the hole electrode portion 22.
  • the insulating layer forming step for example, first, a film having a supporting layer and an insulating layer containing an insulating material provided on the supporting layer is applied to each of the first surface 13 and the second surface 14 of the substrate 12. paste. Subsequently, the support layer of the film attached to the substrate 12 is peeled off from the insulating layer. Subsequently, an opening for exposing the wirings 32 and 37 connected to the hole electrode portion 22 of the first hole 20A to the outside is processed in the insulating layer. In this way, the insulating layers 33 and 38 shown in FIG. 3F can be obtained.
  • the insulating layers 33 and 38 may be formed by applying a liquid containing an insulating material to the substrate 12 and then solidifying the liquid.
  • an electrode part forming step for forming the electrode parts 31 and 36 in the openings of the insulating layers 33 and 38 is performed.
  • a metal layer is formed by a plating method or a sputtering method, and then the metal layer is patterned by an etching method or the like, thereby forming the electrode portions 31 and 36 in the openings of the insulating layers 33 and 38.
  • the plurality of first holes 20A provided with the hole electrode portions 22 electrically connected to the electrode portions 31 and 36 and the hole electrode portions 22 electrically insulated from the electrode portions 31 and 36 are provided.
  • a through electrode substrate 10 including a plurality of second holes 20B provided can be obtained.
  • the distribution density of the holes 20A and 20B in the substrate 12 can be made more uniform by forming the plurality of first holes 20A and the plurality of second holes 20B in the substrate 12. For this reason, even when the temperature and flow of the plating solution vary and are disturbed around the holes 20A and 20B during the plating process, such variations and disturbances are evenly distributed at each location in the surface direction of the substrate 12. Can be generated. Therefore, it is possible to prevent the thickness of the plating layer 42 from being varied depending on the location and the plating layer 42 from being uneven. As a result, it is possible to prevent the substrate 12 from being warped or distorted due to the uneven thickness of the plating layer 42.
  • the second hole 20 ⁇ / b> B may be a non-through hole that does not penetrate the substrate 12.
  • the second hole 20 ⁇ / b> B may be a non-through hole formed in the first surface 13 so as not to reach the second surface 14 of the substrate 12.
  • the second hole 20B may be a non-through hole formed in the second surface 14 so as not to reach the first surface 13 of the substrate 12, as shown in FIG. 4B.
  • the second hole 20 ⁇ / b> B includes the side wall 21 and the bottom portion 24.
  • the hole electrode part 22 is provided on the side wall 21 and the bottom part 24.
  • the distribution density of the holes 20A and 20B in the substrate 12 is made more uniform by providing the substrate 12 with the second holes 20B in addition to the first holes 20A. be able to. As a result, it is possible to suppress variations in rigidity and ease of deformation of the substrate 12 from place to place. Accordingly, it is possible to suppress warping or distortion of the substrate 12 in the manufacturing process of the through electrode substrate 10 or the manufacturing process of the product using the through electrode substrate 10.
  • the seed layer 41 and the plating layer 42 are formed in the holes 20A and 20B of the substrate 12 in the same manner as in the case of the above-described embodiment, and the intermediate product in the state shown in FIG. 3E is obtained. Subsequently, as shown in FIG. 5A, portions of the seed layer 41 and the plating layer 42 that are present on the first surface 13 and the second surface 14 of the substrate 12 are removed. As a method of removing the seed layer 41 and the plating layer 42 on the first surface 13 and the second surface 14, for example, a chemical mechanical polishing method can be used.
  • an insulating layer forming step is performed in which the first insulating layer 33 is formed on the first surface 13 of the substrate 12 and the second insulating layer 38 is formed on the second surface 14 of the substrate 12. carry out.
  • the first insulating layer 33 is formed so as to expose the hole electrode portion 22 provided in the first hole 20A to the outside and cover the hole electrode portion 22 provided in the second hole 20B.
  • the second insulating layer 38 is formed so as to expose the hole electrode portion 22 provided in the first hole 20A to the outside and cover the hole electrode portion 22 provided in the second hole 20B.
  • a wiring formation process is performed in which the first wiring 32 is formed on the first surface 13 of the substrate 12 and the second wiring 37 is formed on the second surface 14 of the substrate 12.
  • the wirings 32 and 37 connected to the hole electrode part 22 of the first hole 20A are formed in the openings of the insulating layers 33 and 38.
  • wirings 32 and 37 that are not connected to the hole electrode portion 22 of the first hole 20A may be formed.
  • the insulating layers 33 and 38 are provided with openings for forming the wirings 32 and 37 at locations not corresponding to the first holes 20A.
  • an electrode part forming step for forming the electrode parts 31 and 36 connected to the wirings 32 and 37 is performed.
  • the plurality of first holes 20A provided with the hole electrode portions 22 electrically connected to the electrode portions 31 and 36 and the hole electrode portions 22 electrically insulated from the electrode portions 31 and 36 are provided.
  • a through electrode substrate 10 including a plurality of second holes 20B provided can be obtained.
  • the step of removing the portions of the seed layer 41 and the plating layer 42 on the first surface 13 and the second surface 14 of the substrate 12 by the chemical mechanical polishing method is performed. .
  • pressure is applied to a portion to be removed.
  • the thickness of the portion to which pressure is applied here, the thickness of the plating layer 42 varies depending on the location or the plating layer 42 is uneven, the pressure applied to the plating layer 42 varies depending on the location. .
  • the plating layer 42 and the seed layer 41 are removed unevenly. For example, it is conceivable that the plating layer 42 and the seed layer 41 are not sufficiently removed depending on the location, and a residue of the conductive material is generated.
  • the thickness of the plating layer 42 varies depending on the location, or the plating layer 42 is uneven. To be suppressed. For this reason, when performing a chemical mechanical polishing method, it can suppress that the pressure added to the 1st surface 13 and the 2nd surface 14 of the board
  • the wirings 32 and 37 are formed after the insulating layers 33 and 38 are formed.
  • the present invention is not limited to this, and the insulating layers 33 and 38 may be formed after the wirings 32 and 37 are formed.
  • a method of manufacturing the through electrode substrate 10 according to this modification will be described with reference to FIGS. 6A to 6C.
  • the intermediate product in the state shown in FIG. 5A is obtained in the same manner as in the case of the second modified example.
  • a wiring formation process is performed in which the first wiring 32 is formed on the first surface 13 of the substrate 12 and the second wiring 37 is formed on the second surface 14 of the substrate 12.
  • wirings 32 and 37 connected to the hole electrode portion 22 of the first hole 20A are formed on the first surface 13 and the second surface 14.
  • wirings 32 and 37 that are not connected to the hole electrode portion 22 of the first hole 20A may be formed.
  • an insulating layer forming step is performed in which the first insulating layer 33 is formed on the first surface 13 of the substrate 12 and the second insulating layer 38 is formed on the second surface 14 of the substrate 12.
  • the first insulating layer 33 exposes the first wiring 32 connected to the hole electrode portion 22 provided in the first hole 20A to the outside, and is connected to the hole electrode portion 22 provided in the second hole 20B.
  • the first wiring 32 is formed so as to cover it.
  • the second insulating layer 38 exposes the second wiring 37 connected to the hole electrode portion 22 provided in the first hole 20A to the outside, and the hole electrode portion 22 provided in the second hole 20B. It is formed so as to cover the second wiring 37 connected to the.
  • an electrode part forming step for forming the electrode parts 31 and 36 in the openings of the insulating layers 33 and 38 is performed.
  • the plurality of first holes 20A provided with the hole electrode portions 22 electrically connected to the electrode portions 31 and 36 and the hole electrode portions 22 electrically insulated from the electrode portions 31 and 36 are provided.
  • a through electrode substrate 10 including a plurality of second holes 20B provided can be obtained.
  • the thickness of the plating layer 42 may vary depending on the location, or the plating layer 42 may be uneven. It is suppressed. For this reason, when performing a chemical mechanical polishing method, it can suppress that the pressure added to the 1st surface 13 and the 2nd surface 14 of the board
  • FIG. 7 is a cross-sectional view showing the through electrode substrate 10 according to the present embodiment.
  • the through electrode substrate 10 further includes a filling member 25 provided inside the holes 20A and 20B on the center side of the holes 20A and 20B with respect to the hole electrode portion 22.
  • “provided on the center side” means that the distance between the filling member 25 and the side wall 21 is larger than the distance between the hole electrode portion 22 and the side wall 21 inside the holes 20A and 20B.
  • the filling member 25 includes, for example, an insulating resin material such as polyimide or benzocyclobutene, or an inorganic material such as silicon oxide or silicon nitride.
  • a step of forming the electrode portions 31 and 36 by supplying a plating solution containing gold to the substrate 12 is performed. There is. At this time, if the hollow portion 23 exists in the holes 20A and 20B, the plating solution that has entered the gap between the substrate 12 and the insulating layers 33 and 38 enters the hollow portion 23 of the holes 20A and 20B. It is possible.
  • the conductive material When conducting a step of removing portions of the conductive layer such as the seed layer 41 and the plating layer 42 present on the first surface 13 and the second surface 14 of the substrate 12 by a chemical mechanical polishing method, the conductive material It is also conceivable that scraps and the like remain in the hollow portions 23 of the holes 20A and 20B as residues.
  • the through electrode substrate 10 there is an application in which an element is first mounted on the through electrode substrate 10, and then the element is sealed with a resin to produce a device.
  • a liquid containing a resin is supplied onto the through electrode substrate 10 to solidify the liquid, thereby forming a resin for sealing the element.
  • the liquid containing the resin that has entered the gap between the substrate 12 and the insulating layers 33 and 38 or the like is hollow in the holes 20A and 20B. It is thought that it enters.
  • the filling member 25 inside the holes 20A and 20B, it is possible to prevent unnecessary substances from entering the holes 20A and 20B. Thereby, the yield of products using the through electrode substrate 10 and the through electrode substrate 10 can be improved, and the quality of the through electrode substrate 10 can be improved.
  • the seed layer 41 and the plating layer 42 are formed in the holes 20A and 20B of the substrate 12 in the same manner as in the case of the above-described embodiment, and the intermediate product in the state shown in FIG. 3E is obtained.
  • a first insulating layer 33 is provided on the first surface 13 of the substrate 12.
  • a film including the first insulating layer 33 and the support layer is prepared.
  • the film is attached to the first surface 13 of the substrate 12, and the first insulating layer 33 is provided on the first surface 13.
  • the second insulating layer 38 is provided on the second surface 14 of the substrate 12.
  • the substrate 12 provided with the first insulating layer 33 and the second insulating layer 38 is placed in an environment in which the pressure of the surrounding atmosphere is a second pressure higher than the first pressure described above.
  • the insulating layers 33 and 38 are pushed into the holes 20A and 20B as shown in FIG. 8B. .
  • the filling member 25 can be provided inside the holes 20A and 20B.
  • the specific values of the first pressure and the second pressure are not particularly limited.
  • the first pressure is 300 Torr or less
  • the second pressure is atmospheric pressure.
  • the difference between the first pressure and the second pressure is 460 Torr or more.
  • the insulating material constituting the filling member 25 filled in the holes 20A and 20B and the insulating layers 33 and 38 covering the first surface 13 and the second surface 14 of the substrate 12 are provided.
  • An example is shown in which the insulating material is the same.
  • the present invention is not limited to this, and the insulating material forming the filling member 25 may be different from the insulating material forming the insulating layers 33 and 38.
  • the plurality of second holes 20B may include non-through holes.
  • the hole electrode portion 22, the wirings 32 and 37, and the insulating layers 33 and 38 are formed as in the case of the second modification or the third modification of the first embodiment described above. There are no particular restrictions on the order in which they are performed.
  • FIGS. 10 to 11E a third embodiment will be described with reference to FIGS. 10 to 11E.
  • the third embodiment is different only in that the hole electrodes 22 are filled in the holes 20A and 20B, and other configurations are substantially the same as those of the first embodiment.
  • the same parts as those in the first embodiment are denoted by the same reference numerals, and detailed description thereof is omitted.
  • the description thereof may be omitted.
  • FIG. 10 is a cross-sectional view showing the through electrode substrate 10 according to the present embodiment.
  • the hole electrode portion 22 is filled in the holes 20A and 20B.
  • a plurality of holes 20A and 20B are formed in the substrate 12 in the same manner as in the above-described embodiment, and an intermediate product in the state shown in FIG. 3A is obtained.
  • a first seed layer 41 a is formed on the second surface 14 side of the substrate 12.
  • the first seed layer 41a is formed on the second surface 14 of the substrate 12 and the portion of the side wall 21 of the holes 20A and 20B connected to the second surface 14.
  • a physical film formation method such as an evaporation method or a sputtering method, a chemical film formation method, or the like can be used.
  • a plating solution is supplied to the substrate 12 to form a first plating layer 42a on the first seed layer 41a.
  • the first plating layer 42a is concentrated on the first seed layer 41a in the portions of the holes 20A and 20B having a high electric field density, whereby the first surface is formed on the second surface 14 side.
  • the holes 20A and 20B can be closed by the plating layer 42a.
  • a second seed layer 41b is formed on the first surface 13 of the substrate 12 and the sidewalls 21 of the holes 20A and 20B from the first surface 13 side of the substrate 12.
  • a physical film formation method such as an evaporation method or a sputtering method, a chemical film formation method, or the like can be used. .
  • the plating solution is supplied to the substrate 12 to form the second plating layer 42b on the second seed layer 41b and the first plating layer 42a.
  • this step is performed until a raised portion 42c that swells on the first surface 13 side is formed in the second plating layer 42b at a location corresponding to the holes 20A and 20B.
  • portions of the seed layers 41a and 41b and the plating layers 42a and 42b existing on the first surface 13 and the second surface 14 of the substrate 12 are removed.
  • a method for removing the seed layers 41a and 41b and the plating layers 42a and 42b on the first surface 13 and the second surface 14 for example, a chemical mechanical polishing method can be used.
  • wirings 32 and 37, insulating layers 33 and 38 and electrode portions 31 and 36 are formed on the first surface 13 and the second surface 14 of the substrate 12. In this way, the through electrode substrate 10 in which the hole electrode portions 22 are filled in the holes 20A and 20B can be obtained.
  • portions of the seed layers 41a and 41b and the plating layers 42a and 42b existing on the first surface 13 and the second surface 14 of the substrate 12 are removed by the chemical mechanical polishing method.
  • the process to perform is implemented.
  • this modification by forming a plurality of first holes 20A and a plurality of second holes 20B in the substrate 12, the rising of the second plating layer 42b formed at a location corresponding to the holes 20A and 20B.
  • the portions 42 c can be more uniformly distributed on the first surface 13 of the substrate 12. For this reason, when performing a chemical mechanical polishing method, it can suppress that the pressure added to the 2nd plating layer 42b varies with places. Thereby, it is possible to suppress the generation of the residue of the conductive material.
  • the plurality of second holes 20B may include non-through holes.
  • the hole electrode portion 22, the wirings 32 and 37, and the insulating layers 33 and 38 are formed as in the case of the second modification or the third modification of the first embodiment described above. There are no particular restrictions on the order in which they are performed. [Fourth Embodiment]
  • the fourth embodiment is different only in that the hole electrode portion 22 of the hole 20B is connected to the first electrode portion 31 or the second electrode portion 36, and other configurations are the same as those in the first embodiment described above.
  • the form is substantially the same.
  • the same parts as those in the first embodiment are denoted by the same reference numerals, and detailed description thereof is omitted.
  • the description thereof may be omitted.
  • the hole electrode portion 22 is electrically connected to the electrode portion on one side of the first surface 13 side or the second surface 14 side of the substrate 12, and the first surface 13 side. Alternatively, it is defined as a hole that is electrically insulated from the electrode portion on the other side on the second surface 14 side.
  • the hole electrode portion 22 provided in the second hole 20B is electrically connected to the first electrode portion 31 on the first surface 13 side of the substrate 12, and The second surface 14 is electrically insulated from the second electrode portion 36.
  • the hole electrode portion 22 provided in the second hole 20B is electrically insulated from the first electrode portion 31 on the first surface 13 side of the substrate 12 and the second surface of the substrate 12. It may be electrically connected to the second electrode portion 36 on the 14 side.
  • the distribution density of the holes 20 in the substrate 12 can be made more uniform. As a result, it is possible to suppress variations in rigidity and ease of deformation of the substrate 12 from place to place. Accordingly, it is possible to suppress warping or distortion of the substrate 12 in the manufacturing process of the through electrode substrate 10 or the manufacturing process of the product using the through electrode substrate 10.
  • the hole electrode portion 22 of a part of the second holes 20B among the plurality of second holes 20B is electrically connected to the first electrode portion 31 on the first surface 13 side of the substrate 12, and An example is shown in which the second surface 14 side of the substrate 12 is electrically insulated from the second electrode portion 36.
  • the present invention is not limited to this, and as shown in FIG. 12B, the hole electrode portions 22 of all the second holes 20B are electrically connected to the first electrode portion 31 on the first surface 13 side of the substrate 12.
  • the substrate 12 may be electrically insulated from the second electrode portion 36 on the second surface 14 side.
  • the hole electrode portions 22 of all the second holes 20B are electrically insulated from the first electrode portion 31 on the first surface 13 side of the substrate 12, and the second surface 14 of the substrate 12 is used. It may be electrically connected to the second electrode part 36 on the side.
  • the hole electrode portions 22 of some of the second holes 20B are electrically connected to the first electrode portion 31, and the hole electrode portions 22 of all other second holes 20B are The second electrode unit 36 may be electrically connected.
  • the hole electrode portion 22 electrically connected to the first electrode portion 31 on the first surface 13 side of the substrate 12 is electrically insulated from the second electrode portion 36 on the second surface 14 side of the substrate 12.
  • the hole electrode portion 22 that is electrically insulated from the first electrode portion 31 on the first surface 13 side of the substrate 12 is electrically connected to the second electrode portion 36 on the second surface 14 side of the substrate 12. ing.
  • the first electrode part 31 and the second electrode part 36 connected to the hole electrode part 22 of the second hole 20B may be regularly distributed.
  • the hole electrode portions 22 of the plurality of second holes 20B are viewed along the surface direction of the substrate 12, the hole electrode portions 22 connected to the first electrode portion 31 and the second electrode portion 36 are connected.
  • the hole electrode portions 22 may be arranged alternately.
  • the 1st electrode part 31 and the 2nd electrode part 36 connected to the hole electrode part 22 of the 2nd hole 20B may be distributed irregularly.
  • the charge accumulated in the hole electrode portion 22 of the hole 20B is first It is possible to discharge to the outside via the electrode part 31 or the second electrode part 36. Also, by connecting the first electrode part 31 or the second electrode part 36 to the hole electrode part 22 of the hole 20B, the first electrode part 31 or the second electrode part 36 is connected only to the hole electrode part 22 of the hole 20A. Compared to the case where the first electrode portion 31 or the second electrode portion 36 is distributed in the surface direction of the substrate 12, the first electrode portion 31 or the second electrode portion 36 can be uniformly distributed.
  • the substrate 12 or a wafer described later is caused by the stress. It is possible to suppress the occurrence of warpage in 60. Further, when the first electrode portion 31 or the second electrode portion 36 is formed by plating, the thickness of the first electrode portion 31 or the second electrode portion 36 varies depending on the location, or the first electrode portion 31 or the second electrode It can suppress that an unevenness
  • the fifth embodiment is different only in that the hole electrode portion 22 of the hole 20B is connected to the dummy wiring, and the other configuration is substantially the same as that of the first embodiment described above.
  • the same parts as those in the first embodiment are denoted by the same reference numerals, and detailed description thereof is omitted.
  • the description thereof may be omitted.
  • the hole electrode portion 22 is connected to the dummy wiring on the first surface 13 side or the second surface 14 side of the substrate 12.
  • the hole electrode portion 22 provided in the second hole 20 ⁇ / b> B is connected to the dummy wiring 34 on the first surface 13 side of the substrate 12.
  • the dummy wiring 34 is a wiring that is provided on the first surface 13 or the second surface 14 of the substrate 12 and is not connected to the first electrode portion 31 or the second electrode portion 36.
  • the dummy wiring 34 is provided on the first surface 13 of the substrate 12 and is covered with the first insulating layer 33.
  • the hole electrode portion 22 provided in the second hole 20 ⁇ / b> B may be connected to a dummy wiring provided on the second surface 14 of the substrate 12.
  • the hole electrode part 22 provided in the 2nd hole 20B may be connected to the dummy wiring in both the 1st surface 13 side and the 2nd surface 14 side.
  • the distribution density of the holes 20 in the substrate 12 can be made more uniform. As a result, it is possible to suppress variations in rigidity and ease of deformation of the substrate 12 from place to place. Accordingly, it is possible to suppress warping or distortion of the substrate 12 in the manufacturing process of the through electrode substrate 10 or the manufacturing process of the product using the through electrode substrate 10.
  • FIG. 13A shows an example in which one dummy wiring 34 is connected to the hole electrode portion 22 of one second hole 20B.
  • one dummy wiring 34 may be connected to the hole electrode portions 22 of the plurality of second holes 20B.
  • one dummy wiring 34 may be connected to both the hole electrode portions 22 of the two second holes 20B.
  • the hole electrode portions 22 of the two second holes 20 ⁇ / b> B may be electrically connected by the dummy wiring 34 on the first surface 13 side of the substrate 12.
  • the hole electrode portions 22 of the two second holes 20 ⁇ / b> B may be electrically connected by the dummy wiring 39 on the second surface 14 side of the substrate 12.
  • the hole electrode portions 22 of the two second holes 20B electrically connected by the dummy wiring 34 or the dummy wiring 39 may be the hole electrode portions 22 of the two adjacent second holes 20B, or adjacent to each other. There may be no hole electrode part 22 of two second holes 20B.
  • the first electrode is further connected to the hole electrode portion 22 of the second hole 20B electrically connected to the hole electrode portion 22 of the other second hole 20B by the dummy wiring 34 or the dummy wiring 39.
  • the part 31 or the second electrode part 36 may be connected.
  • both the dummy wiring and the electrode part connected to the hole electrode part 22 of one second hole 20B may be located on the same side of the substrate 12.
  • the first electrode 13 is connected to the hole electrode portion 22 of the second hole 20B connected to the hole electrode portion 22 of the other second hole 20B by the dummy wiring 34 on the first surface 13 side of the substrate 12.
  • the first electrode unit 31 may be connected on the surface 13 side.
  • the dummy wiring and the electrode part connected to the hole electrode part 22 of one second hole 20B may be located on different sides of the substrate 12.
  • the second electrode portion 36 may be connected on the surface 14 side.
  • the charge accumulated in the hole electrode portion 22 of the hole 20B is externally passed through the first electrode portion 31 or the second electrode portion 36 as in the case of the example shown in FIGS. 12A to 12C. Can be discharged.
  • dummy wiring 34 is provided on the first surface 13 or dummy wiring 39 is provided on the second surface 14, so that the first surface 13 or the second surface 14 is provided.
  • Wiring can be distributed more uniformly. Accordingly, for example, when stress is generated between the wiring on the first surface 13 such as the first wiring 32 and the dummy wiring 34 and the substrate 12, the substrate 12 is warped due to the stress. Can be suppressed. Similarly, when a stress is generated between the wiring on the second surface 14 such as the first wiring 37 and the dummy wiring 39 and the substrate 12, the substrate 12 and the wafer 60 described later are warped due to the stress. It is possible to suppress the occurrence. In addition, when the wiring on the first surface 13 and the wiring on the second surface 14 are formed by plating, it is possible to suppress the thickness of the wiring from being varied depending on the location and the wiring from being uneven. [Sixth Embodiment]
  • the sixth embodiment is different only in that the hole electrode portion 22 is not provided in the hole 20B, and other configurations are substantially the same as those of the second embodiment described above.
  • the same parts as those in the second embodiment are denoted by the same reference numerals, and detailed description thereof is omitted.
  • the description thereof may be omitted.
  • the filling member 25 is filled in the first hole 20A and the second hole 20B.
  • the hole electrode portion 22 is provided in the first hole 20A, but the hole electrode portion 22 is not provided in the second hole 20B.
  • the insides of the holes 20A and 20B may not be completely filled with the filling member 25, and the gap 26 may remain.
  • the insulating material constituting the filling member 25 and the insulating material constituting the insulating layers 33 and 38 may be the same or different.
  • the filling member 25 in the holes 20A and 20B it is possible to suppress unnecessary substances from entering the holes 20A and 20B. Thereby, the yield of products using the through electrode substrate 10 and the through electrode substrate 10 can be improved, and the quality of the through electrode substrate 10 can be improved.
  • FIG. 15A shows the holes 20 ⁇ / b> A and 20 ⁇ / b> B in which the hollow portion 23 is formed, as described in the first embodiment.
  • FIG. 15B shows the holes 20 ⁇ / b> A and 20 ⁇ / b> B in which the filling member 25 is provided, as described in the second embodiment.
  • FIG. 15C shows the holes 20 ⁇ / b> A and 20 ⁇ / b> B in which the gap 26 is formed between the hole electrode portion 22 and the filling member 25 described in the modification of the above-described second embodiment.
  • FIG. 15D shows the holes 20 ⁇ / b> A and 20 ⁇ / b> B filled with the hole electrode portion 22, as described in the modification of the above-described third embodiment.
  • the plurality of holes 20 may be arranged along a direction deviating from the direction in which the outer edge of the substrate 12 extends. As shown in FIG. 17, the plurality of holes 20 may be arranged concentrically.
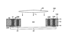
  • the substrate 12 may have a non-porous region 16 where the holes 20 do not exist.
  • the non-porous region 16 exists inside a region where the plurality of first holes 20A and the plurality of second holes 20B are arranged.
  • the advantage of providing such a non-porous region 16 will be described with reference to FIG.
  • FIG. 19 is a cross-sectional view showing an optical device 50 including the through electrode substrate 10 as an application example of the through electrode substrate 10 shown in FIG.
  • the optical device 50 is an image sensor module for a camera, for example.
  • the optical device 50 is transmitted through the non-porous region 16, the through electrode substrate 10 in which the non-porous region 16 is provided in the center of the substrate 12, the lens 52 that guides the light L to the non-porous region 16 of the through electrode substrate 10.
  • a light receiving element 51 that receives the light L.
  • the optical device 50 shown in FIG. 19 by providing the non-porous region 16 on the substrate 12, it is possible to cause the light L transmitted through the lens 52 to reach the light receiving element 51 while suppressing unintended reflection. it can.
  • the rigidity of the substrate 12 is higher than that in the case where the opening is formed. Get higher.
  • substrate 12 can be made small, As a result, the attenuation
  • the regions other than the non-porous region 16 in the substrate 12 are added to the plurality of first holes 20 ⁇ / b> A as in the above-described embodiments.
  • a plurality of second holes 20B are provided.
  • the example in which the plurality of second holes 20B are arranged in the inner region than the region in which the plurality of first holes 20A are arranged has been described. It is not limited to.
  • the plurality of second holes 20B may be arranged in a region outside the region where the plurality of first holes 20A are arranged.
  • the wafer 60 is processed so that a plurality of through electrode substrates 10 are formed on a large substrate such as the wafer 60, and then the wafer 60 is cut. Individual through electrode substrates 10 may be obtained.
  • the holes 20 may be formed also in the region where the through electrode substrate 10 is not formed.
  • the hole 20 formed in the region where the through electrode substrate 10 is not formed may be either the first hole 20A or the second hole 20B.
  • the rigidity and the ease of deformation of the wafer 60 can be changed from the region where the through electrode substrate 10 is formed and the region where the through electrode substrate 10 is not formed. It is possible to suppress the difference. Accordingly, it is possible to prevent the wafer 60 from being warped or distorted in the manufacturing process of the through electrode substrate 10 or the manufacturing process of the product using the through electrode substrate 10. Moreover, when the plating process is performed on the wafer 60, it is possible to suppress the thickness of the plating layer from being varied depending on the location, and the plating layer from being uneven.
  • FIG. 23 is a cross-sectional view showing a device 55 including the through electrode substrate 10 according to the embodiment.
  • the device 55 includes a plurality of elements 53 such as stacked LSI chips and a through electrode substrate 10 interposed between the two elements 53.
  • the terminal 54 of the element 53 is connected to electrode portions 31 and 36 electrically connected to the hole electrode portion 22 provided in the first hole 20A of the through electrode substrate 10.
  • the element 53 mounted on the through electrode substrate 10 is not limited to an active element such as an LSI chip.
  • the element 53 mounted on the through electrode substrate 10 may be a passive element such as a resistor or an inductor.
  • FIG. 24 is a diagram illustrating an example of a product on which the through electrode substrate 10 according to the embodiment can be mounted.
  • the through electrode substrate 10 according to the embodiment can be used in various products. For example, it is mounted on a notebook personal computer 110, a tablet terminal 120, a mobile phone 130, a smartphone 140, a digital video camera 150, a digital camera 160, a digital clock 170, and the like.

Landscapes

  • Engineering & Computer Science (AREA)
  • Microelectronics & Electronic Packaging (AREA)
  • Manufacturing & Machinery (AREA)
  • General Physics & Mathematics (AREA)
  • Computer Hardware Design (AREA)
  • Condensed Matter Physics & Semiconductors (AREA)
  • Power Engineering (AREA)
  • Physics & Mathematics (AREA)
  • Chemical & Material Sciences (AREA)
  • Inorganic Chemistry (AREA)
  • Printing Elements For Providing Electric Connections Between Printed Circuits (AREA)
  • Internal Circuitry In Semiconductor Integrated Circuit Devices (AREA)
  • Production Of Multi-Layered Print Wiring Board (AREA)
  • Structure Of Printed Boards (AREA)
PCT/JP2017/003892 2016-02-05 2017-02-03 貫通電極基板及びその製造方法 Ceased WO2017135395A1 (ja)

Priority Applications (1)

Application Number Priority Date Filing Date Title
US16/075,898 US10755996B2 (en) 2016-02-05 2017-02-03 Through electrode substrate and manufacturing method thereof

Applications Claiming Priority (2)

Application Number Priority Date Filing Date Title
JP2016-021288 2016-02-05
JP2016021288A JP2017139433A (ja) 2016-02-05 2016-02-05 貫通電極基板及びその製造方法

Publications (1)

Publication Number Publication Date
WO2017135395A1 true WO2017135395A1 (ja) 2017-08-10

Family

ID=59499693

Family Applications (1)

Application Number Title Priority Date Filing Date
PCT/JP2017/003892 Ceased WO2017135395A1 (ja) 2016-02-05 2017-02-03 貫通電極基板及びその製造方法

Country Status (4)

Country Link
US (1) US10755996B2 (enExample)
JP (1) JP2017139433A (enExample)
TW (2) TWI772135B (enExample)
WO (1) WO2017135395A1 (enExample)

Cited By (1)

* Cited by examiner, † Cited by third party
Publication number Priority date Publication date Assignee Title
WO2019082608A1 (ja) * 2017-10-26 2019-05-02 日東電工株式会社 撮像素子実装基板

Families Citing this family (4)

* Cited by examiner, † Cited by third party
Publication number Priority date Publication date Assignee Title
CN110708880A (zh) * 2019-09-11 2020-01-17 广东工业大学 一种在石英玻璃上制备复杂电路图案的方法
EP4351286A4 (en) 2021-08-17 2024-11-20 Samsung Electronics Co., Ltd. INTERPOSER AND ELECTRONIC DEVICE THEREFOR
US20230088392A1 (en) * 2021-09-21 2023-03-23 Intel Corporation Thermally conductive sleeves around tgvs for improved heat dissipation in glass core substrates or glass interposers
WO2024111208A1 (ja) * 2022-11-24 2024-05-30 株式会社フジクラ 配線板の製造方法、及び、配線板

Citations (3)

* Cited by examiner, † Cited by third party
Publication number Priority date Publication date Assignee Title
JP2001217508A (ja) * 2000-01-31 2001-08-10 Toshiba Corp プリント基板
JP2004031812A (ja) * 2002-06-27 2004-01-29 Ngk Spark Plug Co Ltd 配線基板の製造方法
JP2015211147A (ja) * 2014-04-28 2015-11-24 京セラサーキットソリューションズ株式会社 配線基板

Family Cites Families (14)

* Cited by examiner, † Cited by third party
Publication number Priority date Publication date Assignee Title
JP2001160601A (ja) 1999-12-02 2001-06-12 Ngk Spark Plug Co Ltd 多層配線基板
KR100487256B1 (ko) * 2002-10-31 2005-05-03 엘지.필립스 엘시디 주식회사 폴리 실리콘 박막 트랜지스터 제조방법
KR100883769B1 (ko) * 2002-11-08 2009-02-18 엘지디스플레이 주식회사 액정표시장치용 어레이기판 제조방법
JP4783906B2 (ja) * 2004-11-30 2011-09-28 国立大学法人九州工業大学 パッケージングされた積層型半導体装置及びその製造方法
JP2006202819A (ja) * 2005-01-18 2006-08-03 Shinko Electric Ind Co Ltd 多層配線板の製造方法
JP4735767B2 (ja) 2008-10-16 2011-07-27 大日本印刷株式会社 貫通電極基板及び半導体装置
JP5619372B2 (ja) 2009-04-16 2014-11-05 大日本印刷株式会社 撮像素子モジュール
US20130313687A1 (en) * 2012-01-13 2013-11-28 Zycube Co., Ltd. Through via/the buried via elrctrolde material and the said via structure and the said via manufacturing method
JP6013960B2 (ja) 2013-03-28 2016-10-25 京セラ株式会社 配線基板
JP6255744B2 (ja) * 2013-06-28 2018-01-10 ヤマハ株式会社 楽曲表示装置および楽曲表示方法
JP6361179B2 (ja) * 2014-03-10 2018-07-25 大日本印刷株式会社 配線板、配線板の製造方法
JP5811220B2 (ja) 2014-03-28 2015-11-11 株式会社ニコン 撮像モジュール
JP2015207580A (ja) * 2014-04-17 2015-11-19 凸版印刷株式会社 配線基板およびその製造方法
KR102635858B1 (ko) * 2017-01-05 2024-02-15 삼성전자주식회사 이미지 센서

Patent Citations (3)

* Cited by examiner, † Cited by third party
Publication number Priority date Publication date Assignee Title
JP2001217508A (ja) * 2000-01-31 2001-08-10 Toshiba Corp プリント基板
JP2004031812A (ja) * 2002-06-27 2004-01-29 Ngk Spark Plug Co Ltd 配線基板の製造方法
JP2015211147A (ja) * 2014-04-28 2015-11-24 京セラサーキットソリューションズ株式会社 配線基板

Cited By (6)

* Cited by examiner, † Cited by third party
Publication number Priority date Publication date Assignee Title
WO2019082608A1 (ja) * 2017-10-26 2019-05-02 日東電工株式会社 撮像素子実装基板
JP2019079990A (ja) * 2017-10-26 2019-05-23 日東電工株式会社 撮像素子実装基板
JP7173728B2 (ja) 2017-10-26 2022-11-16 日東電工株式会社 撮像素子実装基板
JP2022186738A (ja) * 2017-10-26 2022-12-15 日東電工株式会社 撮像素子実装基板
US11647269B2 (en) 2017-10-26 2023-05-09 Nitto Denko Corporation Imaging element-mounting board
JP7519415B2 (ja) 2017-10-26 2024-07-19 日東電工株式会社 撮像素子実装基板

Also Published As

Publication number Publication date
JP2017139433A (ja) 2017-08-10
US10755996B2 (en) 2020-08-25
TWI772135B (zh) 2022-07-21
TW202147530A (zh) 2021-12-16
TWI738712B (zh) 2021-09-11
TW201742196A (zh) 2017-12-01
US20190080977A1 (en) 2019-03-14

Similar Documents

Publication Publication Date Title
JP7276403B2 (ja) 貫通電極基板及び実装基板
JP7022365B2 (ja) 貫通電極基板及びその製造方法
JP2022133310A (ja) 貫通電極基板及びその製造方法、並びに実装基板
JP7447982B2 (ja) 貫通電極基板、貫通電極基板を備える実装基板並びに貫通電極基板の製造方法
JP7400873B2 (ja) 貫通電極基板、貫通電極基板の製造方法及び実装基板
US20160276385A1 (en) Semiconductor device and method of manufacturing the same
JP7552789B2 (ja) 有孔基板、有孔基板を備える実装基板及び有孔基板の製造方法
WO2017135395A1 (ja) 貫通電極基板及びその製造方法
CN109768054B (zh) 阵列基板及显示屏
TWI508240B (zh) Laminated wiring board
JP6344671B1 (ja) 貫通電極基板及びその製造方法
JP2018061063A (ja) 貫通電極基板及びその製造方法
JP5240913B2 (ja) 電子部品用容器体の製造方法
JP2018037541A (ja) 有孔基板の製造方法及び有孔基板
JP2018170440A (ja) 貫通電極基板、貫通電極基板を備える実装基板並びに貫通電極基板の製造方法
CN107516637B (zh) 线路板结构及其制造方法
JP7790509B2 (ja) 配線基板及び配線基板を備える実装基板並びに配線基板の製造方法
JP7591201B2 (ja) 貫通電極基板及びその製造方法
JP2018190933A (ja) 配線基板及びその製造方法
JP6909435B2 (ja) 貫通電極基板およびその製造方法
JP2024178455A (ja) 配線基板及び配線基板を備える実装基板並びに配線基板の製造方法
JP2017204610A (ja) 実装基板及びそれを備える電子機器
JP2017204611A (ja) 貫通電極基板及びそれを備える実装基板

Legal Events

Date Code Title Description
121 Ep: the epo has been informed by wipo that ep was designated in this application

Ref document number: 17747546

Country of ref document: EP

Kind code of ref document: A1

NENP Non-entry into the national phase

Ref country code: DE

122 Ep: pct application non-entry in european phase

Ref document number: 17747546

Country of ref document: EP

Kind code of ref document: A1