WO2016125518A1 - 切断装置及び切断方法 - Google Patents

切断装置及び切断方法 Download PDF

Info

Publication number
WO2016125518A1
WO2016125518A1 PCT/JP2016/050202 JP2016050202W WO2016125518A1 WO 2016125518 A1 WO2016125518 A1 WO 2016125518A1 JP 2016050202 W JP2016050202 W JP 2016050202W WO 2016125518 A1 WO2016125518 A1 WO 2016125518A1
Authority
WO
WIPO (PCT)
Prior art keywords
cutting
jig
cut
sealed substrate
marks
Prior art date
Legal status (The legal status is an assumption and is not a legal conclusion. Google has not performed a legal analysis and makes no representation as to the accuracy of the status listed.)
Ceased
Application number
PCT/JP2016/050202
Other languages
English (en)
French (fr)
Japanese (ja)
Inventor
勝則 傳藤
幹司 石橋
白井 克昌
啓人 望月
Current Assignee (The listed assignees may be inaccurate. Google has not performed a legal analysis and makes no representation or warranty as to the accuracy of the list.)
Towa Corp
Original Assignee
Towa Corp
Priority date (The priority date is an assumption and is not a legal conclusion. Google has not performed a legal analysis and makes no representation as to the accuracy of the date listed.)
Filing date
Publication date
Application filed by Towa Corp filed Critical Towa Corp
Priority to KR1020177024358A priority Critical patent/KR102089098B1/ko
Priority to CN201680008290.1A priority patent/CN107210206B/zh
Publication of WO2016125518A1 publication Critical patent/WO2016125518A1/ja
Anticipated expiration legal-status Critical
Ceased legal-status Critical Current

Links

Images

Classifications

    • HELECTRICITY
    • H01ELECTRIC ELEMENTS
    • H01LSEMICONDUCTOR DEVICES NOT COVERED BY CLASS H10
    • H01L21/00Processes or apparatus adapted for the manufacture or treatment of semiconductor or solid state devices or of parts thereof
    • H01L21/67Apparatus specially adapted for handling semiconductor or electric solid state devices during manufacture or treatment thereof; Apparatus specially adapted for handling wafers during manufacture or treatment of semiconductor or electric solid state devices or components ; Apparatus not specifically provided for elsewhere
    • H01L21/67005Apparatus not specifically provided for elsewhere
    • H01L21/67011Apparatus for manufacture or treatment
    • H01L21/67092Apparatus for mechanical treatment
    • HELECTRICITY
    • H01ELECTRIC ELEMENTS
    • H01LSEMICONDUCTOR DEVICES NOT COVERED BY CLASS H10
    • H01L21/00Processes or apparatus adapted for the manufacture or treatment of semiconductor or solid state devices or of parts thereof
    • H01L21/02Manufacture or treatment of semiconductor devices or of parts thereof
    • H01L21/04Manufacture or treatment of semiconductor devices or of parts thereof the devices having potential barriers, e.g. a PN junction, depletion layer or carrier concentration layer
    • H01L21/50Assembly of semiconductor devices using processes or apparatus not provided for in a single one of the groups H01L21/18 - H01L21/326 or H10D48/04 - H10D48/07 e.g. sealing of a cap to a base of a container
    • H01L21/56Encapsulations, e.g. encapsulation layers, coatings
    • HELECTRICITY
    • H01ELECTRIC ELEMENTS
    • H01LSEMICONDUCTOR DEVICES NOT COVERED BY CLASS H10
    • H01L21/00Processes or apparatus adapted for the manufacture or treatment of semiconductor or solid state devices or of parts thereof
    • H01L21/67Apparatus specially adapted for handling semiconductor or electric solid state devices during manufacture or treatment thereof; Apparatus specially adapted for handling wafers during manufacture or treatment of semiconductor or electric solid state devices or components ; Apparatus not specifically provided for elsewhere
    • H01L21/67005Apparatus not specifically provided for elsewhere
    • H01L21/67242Apparatus for monitoring, sorting or marking
    • HELECTRICITY
    • H01ELECTRIC ELEMENTS
    • H01LSEMICONDUCTOR DEVICES NOT COVERED BY CLASS H10
    • H01L21/00Processes or apparatus adapted for the manufacture or treatment of semiconductor or solid state devices or of parts thereof
    • H01L21/70Manufacture or treatment of devices consisting of a plurality of solid state components formed in or on a common substrate or of parts thereof; Manufacture of integrated circuit devices or of parts thereof
    • H01L21/77Manufacture or treatment of devices consisting of a plurality of solid state components or integrated circuits formed in, or on, a common substrate
    • H01L21/78Manufacture or treatment of devices consisting of a plurality of solid state components or integrated circuits formed in, or on, a common substrate with subsequent division of the substrate into plural individual devices
    • HELECTRICITY
    • H01ELECTRIC ELEMENTS
    • H01LSEMICONDUCTOR DEVICES NOT COVERED BY CLASS H10
    • H01L23/00Details of semiconductor or other solid state devices
    • H01L23/12Mountings, e.g. non-detachable insulating substrates

Definitions

  • the present invention relates to a cutting apparatus and a cutting method for manufacturing a plurality of separated products by cutting an object to be cut.
  • a substrate composed of a printed circuit board, a lead frame, etc. is virtually divided into a plurality of lattice-like regions, and one or more chip-like elements (for example, semiconductor chips) are mounted on each region, and then the substrate A resin-sealed substrate is called a sealed substrate.
  • a product obtained by cutting a sealed substrate by a cutting mechanism using a rotary blade or the like and dividing it into individual region units becomes a product.
  • a predetermined region of a sealed substrate is cut by a cutting mechanism such as a rotary blade using a cutting device.
  • a BGA (Ball Grid Package) product is cut as follows. First, the sealed substrate is placed on a cutting table. Next, the sealed substrate is aligned (positioned). By aligning, the position of a virtual cutting line that divides a plurality of regions is set. Next, the cutting table on which the sealed substrate is placed and the cutting mechanism are relatively moved. The cutting water is sprayed onto the cut portion of the sealed substrate, and the sealed substrate is cut along the cutting line set on the sealed substrate by the cutting mechanism. An individualized product is manufactured by cutting the sealed substrate.
  • a cutting tool corresponding to the product is attached to the cutting table.
  • the sealed substrate is placed on the cutting jig and sucked.
  • the cutting jig includes a metal plate and a resin sheet fixed on the metal plate.
  • the resin sheet is provided with a plurality of plate-like protrusions that suck and hold the plurality of regions of the sealed substrate.
  • the plurality of protrusions are respectively provided with suction holes that penetrate the resin sheet and the metal table from the surface of the protrusion.
  • a plurality of cutting grooves corresponding to positions of a plurality of cutting lines that divide each region of the sealed substrate are provided between the protrusions.
  • the cutting line of the sealed substrate is aligned with the position of the cutting groove of the cutting jig attached on the cutting table.
  • the sealed substrate is cut by moving the rotary blade along the cutting line.
  • the rotary blade is displaced from the position of the cutting groove and scrapes a part of the resin sheet.
  • a large amount of dust is generated by cutting the resin sheet. If a leak occurs in the suction hole due to the periphery of the protrusion, it becomes difficult to suck the sealed substrate or the separated product.
  • the life of the cutting jig is shortened, and if the cutting jig is frequently replaced, the operating cost of the cutting apparatus increases. Accordingly, it is important to accurately cut the position of the cutting line of the sealed substrate at the position of the cutting groove of the cutting jig.
  • the transport mechanism 24 includes a gripping unit 25 at the tip and is configured by a robot arm or an XYZ moving stage.
  • the workpiece 6 is gripped by the gripping portion 25 and transferred from the supply table 15 to the cutting table 28.
  • the grip portion 25 includes a grip plate 25a, a suction plate 25c, a positioning pin (a part of positioning means) 25d, a spring 25e, and the like.
  • the positioning pin 25d is for gripping the workpiece 6 to the gripping portion 25 while positioning the workpiece 6.
  • a positioning hole (a part of positioning means) 6c is formed in the workpiece 6 at a position corresponding to the positioning pin 25d.
  • the positioning hole 6c is a round hole formed so that its diameter substantially coincides with the positioning pin 25d.
  • the positioning pin 25d provided on the gripping plate 25a is inserted into the positioning hole 6c of the workpiece 6 and positioned, and the workpiece 6 is attracted to the gripping plate 25a by air suction. Therefore, four positioning holes 6c must be formed in the workpiece 6. Since four positioning holes 6c are formed in all the workpieces 6 to be cut, the labor and cost for forming the positioning holes 6c are enormous. If the positioning pins 25d and the positioning holes 6c are not formed with high accuracy, the work 6 cannot be positioned.
  • the present invention solves the above problems, and provides a cutting apparatus and a cutting method capable of accurately aligning the position of the cutting line of the sealed substrate with the position of the cutting groove of the cutting jig. For the purpose.
  • a cutting apparatus includes a cutting jig having a plurality of first marks and a plurality of cutting grooves, and a plurality of first jigs placed on the cutting jig.
  • a cutting mechanism that cuts the workpiece having two marks along a plurality of cutting lines, a transport mechanism that transports the workpiece, and a moving mechanism that relatively moves the cutting jig and the cutting mechanism.
  • An image pickup means and a control means for aligning the object to be cut and the cutting jig placed on the cutting jig by the transport mechanism are measured based on the image data acquired by the imaging means.
  • Consists of position information of a specific first mark stored in advance The control means compares the position information of 1 and the second position information made up of the position information of the specific second mark measured by the imaging means, so that the gap between the cutting jig and the object to be cut is determined.
  • the amount of displacement representing the positional deviation is calculated, the conveyance mechanism lifts the workpiece from the cutting jig, and the workpiece is displaced by moving the conveyance mechanism and the cutting jig relative to each other based on the amount of deviation. After moving to the target position corresponding to the amount, the transport mechanism places the workpiece again on the cutting jig, and the workpiece moves to the target position. The position of the line is aligned, and a cutting mechanism cuts the object to be cut placed again along a plurality of cutting lines.
  • the cutting device is the above-described cutting device, wherein at least a part of the means contributing to the cutting included in the cutting mechanism or at least a part of the means contributing to the cutting supplied from the cutting mechanism is a plurality of cuttings. It passes through a cutting groove corresponding to a cutting line which is cut among the lines.
  • the cutting device is the above-described cutting device, and moves along the at least one of the X direction, the Y direction, and the ⁇ direction by relatively moving the transport mechanism and the cutting jig. After the workpiece is moved to the target position, the conveyance mechanism places the workpiece again on the cutting jig.
  • At least two specific first marks are set along a first direction and a second direction orthogonal to the first direction in plan view.
  • at least two specific second marks are set along the first direction and the second direction orthogonal to the first direction in a plan view.
  • the cutting apparatus according to the present invention is characterized in that, in the above-described cutting apparatus, the object to be cut is a sealed substrate or a divided sealed substrate.
  • the cutting apparatus is characterized in that, in the above-described cutting apparatus, the object to be cut is a substrate in which functional elements are formed in a plurality of regions respectively corresponding to a plurality of products.
  • a cutting method includes a step of preparing a cutting jig having a plurality of cutting grooves and a plurality of first marks, a plurality of cutting lines, and a plurality of second lines.
  • a step of preparing a workpiece having a mark, a step of placing the workpiece on a cutting jig by a transport mechanism, and a relative movement of the cutting jig and the cutting mechanism A cutting method comprising: cutting a workpiece along a plurality of cutting lines using a cutting mechanism, wherein a specific first mark among a plurality of first marks is imaged by an imaging means.
  • the mechanism includes a step of placing the workpiece again on the cutting jig, and in the step of moving, the position of the plurality of cutting grooves and the position of the plurality of cutting lines by moving the workpiece to a target position. In the process of aligning and cutting Characterized by cutting the object to be cut that is placed again Te.
  • the cutting step in the cutting method described above, at least part of the means contributing to the cutting included in the cutting mechanism or at least the means contributing to the cutting supplied from the cutting mechanism.
  • a part is passed through a cutting groove corresponding to a cutting line that is cut among a plurality of cutting lines.
  • the transport mechanism and the cutting jig are relatively moved to move the X direction, the Y direction, and ⁇ .
  • the object to be cut is moved to a target position along at least one of the directions.
  • the cutting method according to the present invention is the above-described cutting method, wherein at least two of the plurality of first marks are arranged along the first direction and the second direction orthogonal to the first direction in plan view. At least two of the plurality of second marks along a first direction and a second direction orthogonal to the first direction in a plan view And a step of setting a specific second mark comprising:
  • the cutting method according to the present invention is characterized in that, in the above-described cutting method, the object to be cut is a sealed substrate or a divided sealed substrate.
  • the cutting method according to the present invention is characterized in that, in the above-described cutting method, the object to be cut is a substrate in which functional elements are formed in a plurality of regions respectively corresponding to a plurality of products.
  • a cutting jig having a plurality of first marks and a plurality of cutting grooves, and a workpiece to be cut having a plurality of second marks placed on the cutting jig.
  • a cutting mechanism for cutting an object along a plurality of cutting lines a transport mechanism for transporting an object to be cut, a moving mechanism for relatively moving a cutting jig and a cutting mechanism, a plurality of first marks, Imaging means for imaging a plurality of second marks, and control means for aligning the workpiece and the cutting jig.
  • a deviation amount between the cutting jig and the object to be cut is calculated.
  • the object to be cut is moved to the target position by relatively moving the transport mechanism and the cutting jig based on the shift amount. Accordingly, the object to be cut can be accurately cut along the cutting line without the rotary blade provided in the cutting mechanism being displaced from the position of the cutting groove of the cutting jig.
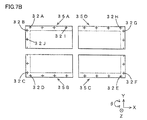
  • FIG. 2 is a schematic view showing a cutting jig corresponding to the sealed substrate shown in FIGS. 1A and 1B, and is a schematic cross-sectional view seen from the line AA.
  • Example 2 of the cutting device concerning the present invention it is an outline figure showing a jig for cutting, and is a top view.
  • Example 2 of the cutting device based on this invention it is a general-view figure which shows the jig
  • Example 3 of the cutting device which concerns on this invention it is a top view which shows the outline
  • FIG. 1 It is a general view showing a state where a sealed substrate placed in a state shifted on a cutting table is placed at a normal position after correcting the amount of displacement, and a plan view showing a state where the sealed substrate is displaced.
  • a cutting jig 9 corresponding to the product is attached to the cutting table 8 in the cutting device.
  • First marks 17A, 17B made up of a plurality of alignment marks on the resin sheet 11 of the cutting jig 9 (hereinafter collectively referred to as first marks 17 as appropriate. The same applies to other components). Is provided.
  • the first marks 17A, 17B,... are provided so as to correspond to the second marks 4A, 4B,... Made of a plurality of alignment marks formed on the sealed substrate 1.
  • the coordinate position of the first mark 17 formed on the resin sheet 11 is measured and stored in advance as a reference coordinate position.
  • the deviation amount of the sealed substrate 1 is calculated by comparing the reference coordinate position with the coordinate position of the second mark 4 of the sealed substrate 1 placed and measured on the cutting table 8. By correcting this shift amount, the position of the second mark 4 of the sealed substrate 1 can be accurately aligned with the position of the first mark 17 of the cutting jig 9. Therefore, the positions of the plurality of cutting lines set on the sealed substrate 1 can be accurately aligned with the positions of the plurality of cutting grooves provided in the cutting jig 9. Accordingly, the sealed substrate 1 can be accurately cut along the cutting line without the rotary blade provided in the cutting mechanism being displaced from the position of the cutting groove of the cutting jig 9.
  • Embodiment 1 of a cutting apparatus according to the present invention will be described with reference to FIGS. 1A, 1B, 2A, and 2B. Any figure in the present application document is schematically omitted or exaggerated as appropriate for easy understanding. About the same component, the same code
  • a sealed substrate 1 includes a substrate 2 made of a printed circuit board, a lead frame, and the like, and a plurality of chip-like components mounted in a plurality of regions (described later) of the substrate 2 (Not shown) and a sealing resin 3 formed so as to cover a plurality of regions at once.
  • the sealed substrate 1 is an object to be cut that is finally cut into pieces.
  • the sealed substrate 1 has a number of second marks 4A, 4B,... (Marks indicated by + in the drawing) along the longitudinal direction and the short direction of the substrate 2. Is formed.
  • the second mark 4 is arbitrarily set depending on the size and number of products.
  • the second mark 4 is imaged by an alignment camera (not shown), and the coordinate position is measured by image recognition. By measuring the coordinate position, alignment of the sealed substrate 1 is performed. For the alignment, the second marks 4 formed at the four corners of the sealed substrate 1 are usually used. In FIG. 1A, the eight second marks 4 formed at the four corners of the sealed substrate 1 are respectively 4A, 4B,... Counterclockwise starting from the upper left of the sealed substrate 1. 4G, 4H.
  • the second cutting line 6 is virtually set.
  • a plurality of regions 7 surrounded by a plurality of first cutting lines 5 and a plurality of second cutting lines 6 correspond to products manufactured by being separated into pieces.
  • seven first cutting lines 5 are set in the short direction
  • four second cutting lines 5 are set in the longitudinal direction. Therefore, three regions 7 are formed in the short direction and six regions 7 are formed in the longitudinal direction, and a total of 18 regions 7 are formed in a lattice shape.
  • the region 7 formed on the sealed substrate 1 is arbitrarily set depending on the size and number of products to be separated.
  • the cutting table 8 is a table for cutting the sealed substrate 1 into pieces by a cutting apparatus.
  • a cutting jig 9 corresponding to the product is attached to the cutting table 8.
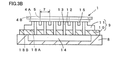
  • the cutting jig 9 includes a metal plate 10 and a resin sheet 11 fixed on the metal plate.
  • the resin sheet 11 needs to have appropriate flexibility in order to reduce mechanical impact.
  • the resin sheet 11 is preferably formed of, for example, a silicone resin or a fluorine resin.
  • the cutting table 8 is made common to a plurality of products, and only the cutting jig 9 is replaced corresponding to the product.
  • the resin sheet 11 of the cutting jig 9 is provided with a plurality of plate-like protrusions 12 that suck and hold the plurality of regions 7 in the sealed substrate 1 respectively.
  • the cutting jig 9 is provided with a plurality of suction holes 13 penetrating the resin sheet 11 and the metal plate 10 from the surfaces of the plurality of protrusions 12.
  • the plurality of suction holes 13 are each connected to a space 14 provided in the cutting table 8.
  • the space 14 is connected to a suction mechanism (not shown) provided outside.
  • the protrusions 12 so as to correspond to the plurality of first cutting lines 5 and the plurality of second cutting lines 6 that divide the plurality of regions 7 of the sealed substrate 1 shown in FIGS. 1A and 1B.
  • the plurality of first cutting grooves 15 are along the short direction of the resin sheet 11 (cutting jig 9), and the plurality of second cutting grooves 16 are along the longitudinal direction of the resin sheet 11 (cutting jig 9). Along each, it is formed.
  • the space outside the protrusion 12 formed on the outermost periphery of the resin sheet 11 is a cutting groove.
  • the depths of the plurality of first cutting grooves 15 and the plurality of second cutting grooves 16 are set to about 0.5 mm to 1.0 mm.
  • the cutting grooves 9 corresponding to the first cutting line 5 and the second cutting line 6 set at the end of the sealed substrate 1 are not formed in the cutting jig 9. .
  • channel corresponding to the 1st cutting line 5 and the 2nd cutting line 6 set to the end can also be formed in the jig
  • a dummy protrusion is further provided so as to surround the outer periphery of the protrusion 12.
  • a plurality of first marks 17 ⁇ / b> A are formed along the longitudinal direction and the lateral direction corresponding to the position of the second mark 4 (see FIG. 1A) formed on the sealed substrate 1.
  • 17B,... (Marks indicated by + in the drawing) are formed on the resin sheet 11.
  • the first marks 17A at the four corners of the resin sheet 11, 17B,..., 17G, 17H are formed.
  • a required number of first marks 17 are formed along the longitudinal direction and the lateral direction corresponding to the second marks 4 formed on the sealed substrate 1.
  • two first marks 17 are further formed along the longitudinal direction. Two first marks 17 are formed between the first marks 17A and 17H formed along the longitudinal direction, and two first marks 17 are formed between the first marks 17D and 17E.
  • FIG. 1A, FIG. 1B, FIG. 2A, and FIG. 2B an operation of placing and sealing the sealed substrate 1 on the cutting jig 9 will be described.
  • the cutting jig 9 is attached to the cutting table 8, and the sealed substrate 1 is placed on the cutting jig 9. Therefore, the position information of the first mark 17 formed on the resin sheet 11 of the cutting jig 9 and the position information of the second mark 4 formed on the sealed substrate 1 are stored in the cutting table 8. It can be measured as position information (coordinate position).
  • the first mark 17 formed on the resin sheet 11 is imaged by an alignment camera (not shown) to obtain image data. .
  • the coordinate position of the first mark 17 is measured.
  • the measured coordinate position of the first mark 17 is stored in advance as a reference coordinate position in the cutting table 8. For example, the coordinate positions of the eight first marks 17A, 17B,..., 17G, 17H formed at the four corners of the resin sheet 11 are stored in advance.
  • the sealed substrate 1 is placed on the cutting jig 9 using a transport mechanism (not shown).
  • the second mark 4 formed on the sealed substrate 1 is imaged to obtain image data.
  • the coordinate position of the second mark 4 is measured. For example, the coordinate positions of eight second marks 4A, 4B,..., 4G, 4H formed at the four corners are measured.
  • the measured coordinate position of the second mark 4 is compared with the coordinate position of the first mark 17 stored in advance. This makes it possible to calculate the deviation amounts of the sealed substrate 1 in the X direction, the Y direction, and the ⁇ direction.
  • the sealed substrate 1 is picked up from the cutting jig 9 using a transport mechanism (not shown), and the sealed substrate 1 is held in the transport mechanism.
  • at least one of the X direction, the Y direction, and the ⁇ direction in a state where the sealed substrate 1 is not placed on the cutting jig 9 and the sealed substrate 1 is held by the transport mechanism.
  • the conveyance mechanism is moved by an appropriate amount based on the amount of deviation along one direction.
  • the object to be cut is moved to a target position corresponding to the shift amount.
  • the target position is a position where the deviation amount is reduced to a value close to zero as compared with a position where the deviation amount is zero or a position before moving.
  • the sealed substrate 1 is placed again on the cutting jig 9 using the transport mechanism.
  • the position of the second mark 4 of the sealed substrate 1 can be accurately aligned with the position of the first mark 17 of the cutting jig 9.
  • the positional relationship between the first mark 17 and the second mark 4 can be set to a predetermined positional relationship. Therefore, the plurality of first cutting lines 5 set on the sealed substrate 1 and the positions of the plurality of first cutting grooves 15 and the plurality of second cutting grooves 16 provided in the cutting jig 9 and The positions of the plurality of second cutting lines 6 can be accurately aligned. Accordingly, the sealed substrate 1 can be accurately cut along the cutting line without the rotary blade provided in the cutting mechanism being displaced from the position of the cutting groove of the cutting jig 9.
  • the transport mechanism picks up the sealed substrate 1 from the cutting jig 9 and holds the sealed substrate 1 on the transport mechanism.
  • the cutting jig 9 may be moved by an appropriate amount based on the shift amount along at least one of the X direction, the Y direction, and the ⁇ direction. Thereafter, the sealed substrate 1 is mounted again on the cutting jig 9 using the transport mechanism.
  • the transport mechanism picks up the sealed substrate 1 from the cutting jig 9 and holds the sealed substrate 1 in the transport mechanism, and at least one of the X direction, the Y direction, and the ⁇ direction. It is only necessary to move the transport mechanism and the cutting jig 9 relative to each other by an appropriate amount based on the shift amount along one direction. If necessary, the first cutting groove 15 provided in the cutting jig 9 (or the first mark 17 of the cutting jig 9 or the second mark 4 of the sealed substrate 1 is used). The position of the second cutting groove 16) is aligned with the position of the rotary blade (not shown). The position of the first cutting line 5 (or the second cutting line 6) set on the sealed substrate 1 may be matched with the position of the rotary blade (not shown). The correction of the deviation amount described so far is similarly performed in other embodiments.
  • the transport mechanism is shown as “transport mechanism 22” in FIG.
  • the positional accuracy between the transport mechanism and the cutting jig 9 (the amount of deviation between the original position and the actual position) due to the relative movement of the transport mechanism and the cutting jig 9 is as follows. It is sufficiently small to be negligible when compared with the deviation amount of the sealed substrate 1. For example, the accuracy of the position when the transfer mechanism and the cutting jig 9 are repeatedly moved so as to have the same positional relationship is sufficiently high to be negligible when compared with the deviation amount of the sealed substrate 1. Small.
  • the cutting jig 9 corresponding to the product is attached to the cutting table 8.
  • a plurality of first marks 17 corresponding to the plurality of second marks 4 formed on the sealed substrate 1 are provided on the resin sheet 11 of the cutting jig 9.
  • the coordinate position of the first mark 17 formed on the resin sheet 11 is measured and stored in advance as a reference coordinate position.
  • the coordinate position of the second mark 4 of the sealed substrate 1 placed on the cutting table 8 is measured.
  • the shift amount of the sealed substrate 1 can be calculated. By correcting this shift amount, the position of the second mark 4 of the sealed substrate 1 can be accurately aligned with the position of the first mark 17 of the cutting jig 9.
  • the positions of the plurality of cutting lines set on the sealed substrate 1 can be accurately aligned with the positions of the plurality of cutting grooves provided in the cutting jig 9. Accordingly, the sealed substrate 1 can be accurately cut along the cutting line without the rotary blade provided in the cutting mechanism being displaced from the position of the cutting groove of the cutting jig 9.
  • the sealing is performed by comparing the coordinate position of the first mark 17 formed on the cutting jig 9 with the coordinate position of the second mark 4 formed on the sealed substrate 1.
  • the amount of deviation of the stopped substrate 1 is calculated. Therefore, it is placed on the cutting jig 9 including the case where the sealed substrate 1 expands and contracts due to the dimensional variation of the sealed substrate 1 itself, the warp of the sealed substrate 1, the influence of cooling water, and the like.
  • the amount of deviation of the sealed substrate 1 in the finished state can be calculated. Therefore, no matter what state the sealed substrate 1 is in, the accuracy of aligning the position of the cutting line set in the sealed substrate 1 with the position of the cutting groove provided in the cutting jig 9 is improved. be able to.
  • the position of the cutting line set on the sealed substrate 1 can be accurately aligned with the position of the cutting groove provided in the cutting jig 9. Therefore, the sealed substrate 1 can be cut along the cutting line without the rotary blade provided in the cutting mechanism being displaced from the position of the cutting groove. As a result, the resin sheet 11 can be prevented from being cut by the rotary blade. Therefore, no dust is generated from the cutting jig 9 and no leakage occurs in the suction hole 13 of the cutting jig 9. Since the rotary blade does not scrape the resin sheet 11, the life of the cutting jig 9 is extended, and the operating cost of the cutting apparatus can be reduced.
  • Embodiment 2 of the cutting device according to the present invention will be described with reference to FIGS. 3A and 3B.
  • the difference from Example 1 is that the alignment mark (first mark) of the cutting jig 9 is formed not on the resin sheet 11 but on the metal table 10. Since other configurations and operations are the same as those in the first embodiment, description thereof is omitted.
  • the resin sheet 11 is surrounded so as to correspond to the position of the second mark 4 provided on the sealed substrate 1 along the longitudinal direction and the short direction.
  • a plurality of first marks 18 are formed on the metal plate 10.
  • 4 of the metal plate 10 can correspond to the positions of the second marks 4A, 4B,..., 4G, 4H (see FIG. 1A) provided at the four corners of the sealed substrate 1.
  • First marks 18A, 18B,..., 18G, 18H are formed at the corners.
  • a necessary number of first marks 18 can be formed along the longitudinal direction and the short direction so as to correspond to the second marks 4 formed on the sealed substrate 1.
  • FIG. 3A the case where the 1st mark 18 is formed so that it can respond to all the 2nd marks 4 (refer FIG. 1A) formed in the sealed board
  • 4 position information can be measured as position information in the cutting table 8.
  • the coordinate position of the first mark 18 formed on the metal plate 10 is measured and stored in advance as a reference coordinate position in the cutting table 8.
  • the deviation amount of the sealed substrate 1 is calculated by comparing the reference coordinate position with the coordinate position of the second mark 4 of the sealed substrate 1 placed and measured on the cutting table 8. By correcting these deviation amounts, the second mark of the sealed substrate 1 is made to correspond to the position of the first mark 18 formed along the X direction and the Y direction of the cutting jig 9. 4 positions can be adjusted.
  • the positions of the plurality of cutting lines set on the sealed substrate 1 can be accurately aligned with the positions of the plurality of cutting grooves provided in the cutting jig 9. Accordingly, the sealed substrate 1 can be accurately cut along the cutting line without the rotary blade provided in the cutting mechanism being displaced from the position of the cutting groove of the cutting jig 9.
  • Example 2 the first mark 18 was formed on the metal plate 10 of the cutting jig 9.
  • the metal plate 10 is easy to process the first mark, and the shape of the processed surface becomes sharp. Therefore, the outline of the first mark 18 formed on the metal plate 10 becomes clearer than that of the first mark 17 formed on the resin sheet 11. Thereby, the contrast of the first mark 18 by image recognition becomes clear. Therefore, the measurement accuracy of the coordinate position of the first mark 18 of the cutting jig 9 is improved, and the alignment accuracy is also improved.
  • the other effects are the same as those of the first embodiment, and thus the description thereof is omitted.
  • the cutting device 19 is a device that separates an object to be cut into a plurality of products.
  • the cutting device 19 includes a substrate supply module A, a substrate cutting module B, and an inspection module C as components.
  • Each component (each module A to C) is detachable and replaceable with respect to other components.
  • a substrate supply mechanism 20 that supplies a sealed substrate 1 corresponding to an object to be cut, a substrate placement unit 21 that delivers the sealed substrate 1, and a sealed substrate 1 are conveyed.
  • a transport mechanism 22 is provided. The transport mechanism 22 can move in the X direction, the Y direction, and the Z direction, and can rotate in the ⁇ direction.
  • the sealed substrate 1 is positioned in the substrate platform 21 and then transferred to the substrate cutting module B by the transfer mechanism 22.
  • the cutting device 19 shown in FIG. 4 is a single cut table type cutting device. Therefore, the substrate cutting module B is provided with one cutting table 8.
  • the cutting table 8 can be moved in the Y direction in the figure by the moving mechanism 23, and can be rotated in the ⁇ direction by the rotating mechanism 24.
  • a cutting jig 9 (see FIGS. 2A, 2B, 3A, and 3B) is attached to the cutting table 8, and the sealed substrate 1 is placed on the cutting jig 9 and sucked. .
  • the substrate cutting module B is provided with an alignment camera 25.
  • the camera 25 can move independently in the X direction. As the camera 25 moves in the X direction and the cutting table 8 moves in the Y direction, the coordinate position of the second mark 4 (see FIG. 1A) formed on the sealed substrate 1 is measured. . Thus, a plurality of first cutting lines 5 along the short direction of the sealed substrate 1 and a plurality of second cutting lines 6 along the longitudinal direction are virtually set (see FIG. 1A). .
  • the substrate cutting module B is provided with a spindle 26 as a cutting mechanism.
  • the cutting device 19 is a cutting device having a single spindle configuration in which one spindle 26 is provided.
  • the spindle 26 can move independently in the X direction and the Z direction.
  • a rotary blade 27 is attached to the spindle 26.
  • the spindle 26 is provided with a cutting water nozzle (not shown) for injecting cutting water in order to suppress frictional heat generated by the rotary blade 27 rotating at high speed.
  • the sealed substrate 1 is cut by relatively moving the cutting table 8 and the spindle 26.
  • the rotary blade 27 cuts the sealed substrate 1 by rotating in a plane including the Y direction and the Z direction.
  • the inspection module C is provided with an inspection table 28.
  • an assembly made up of a plurality of products P obtained by cutting the sealed substrate 1 into pieces, that is, a cut substrate 29 is placed.
  • the plurality of products P are inspected by a camera for inspection (not shown) and sorted into non-defective products and defective products. Non-defective products are stored in the tray 30.
  • control unit CTL for performing the above is provided in the substrate supply unit A. Not limited to this, the control unit CTL may be provided in another unit.
  • the single-cut table type cutting device 19 having a single spindle configuration has been described.
  • the present invention is not limited to this, and the cutting table 8 of the present invention can also be applied to a single-cut table type cutting device having a twin spindle configuration or a twin-cut table type cutting device having a twin spindle configuration.
  • the cutting table 8 is arranged such that the longitudinal direction is along the X direction. Therefore, the short side direction is arranged along the Y direction (in FIG. 5A, from the back of the drawing to the front).
  • the longitudinal direction of the cutting table 8 is arranged along the X direction.
  • a cutting jig 9 is attached to the cutting table 8.
  • First marks 18A, 18B,..., 18G, 18H are formed at the four corners of the metal plate 10 of the cutting jig 9.
  • first marks 18D and 18E are shown.
  • the cutting table 8 is moved to a predetermined position in the Y direction by the moving mechanism 23 (see FIG. 4), and the camera 25 for cutting is moved by moving the alignment camera 25 in the X direction. It stops on the specific first mark 18D in the tool 9.
  • the camera 25 captures the first mark 18D and acquires image data (first image data). By recognizing the image based on the image data, the coordinate position (first position information) of the first mark 18D is measured and stored. Further, the camera 25 is moved in the + X direction, and similarly, the coordinate position of the first mark 18E is measured and stored.
  • the coordinate position of the first mark 18 formed on the metal plate 10 of the cutting jig 9 by moving the cutting table 8 in the Y direction and moving the camera 25 in the X direction. can be measured and stored. If necessary, the required number of coordinate positions of the first marks 18 are measured and stored.
  • These coordinate positions are used as reference coordinate positions for alignment in the cutting table 8. In this case, for example, the coordinate positions of the two first marks 18D and 18E along the X direction and the coordinate positions of the two first marks 18B and 18C (see FIG. 3A) along the Y direction. taking measurement.
  • the measured coordinate position data of the first marks 18D, 18E, 18B, and 18C is sent to the control unit CTL (see FIG. 4) of the cutting device 19 and stored in advance.
  • the sealed substrate 1 is placed on the cutting jig 9 using the transport mechanism 22 (see FIG. 4). At this time, the sealed substrate 1 may be placed out of the predetermined position of the cutting jig 9.
  • the control unit CTL seals.
  • the cutting table 8 is moved in the + Y direction while the sealed substrate 1 is placed.
  • the sealed substrate 1 is cut along the cutting line using the spindle 26 (see FIG. 4).
  • the control unit CTL determines that a deviation has occurred in the sealed substrate 1
  • the sealed substrate 1 is placed on the cutting jig 9 as shown in FIG. 5D.
  • the transport mechanism 22 (see FIG. 4) lifts the sealed substrate 1 from the cutting jig 9 while maintaining the state when it is placed.
  • the transport mechanism 22 Based on the deviation amount calculated by the control unit CTL, the transport mechanism 22 corrects the deviation amounts of the sealed substrate 1 in the X direction, the Y direction, and the ⁇ direction, and cuts the sealed substrate 1 for cutting.
  • the tool 9 is moved above a predetermined position. Specifically, the transport mechanism 22 moves by an appropriate amount based on the shift amount along at least one of the X direction, the Y direction, and the ⁇ direction.
  • the transport mechanism 22 cuts the sealed substrate 1 for cutting at a position where the deviation amounts of the sealed substrate 1 in the X direction, the Y direction, and the ⁇ direction are corrected. Place it on the tool 9 again.
  • the sealed substrate 1 is placed in a state where the sealed substrate 1 is accurately aligned at a predetermined position of the cutting container 9. Therefore, the cutting line position of the sealed substrate 1 can be accurately aligned with the position of the cutting groove provided in the cutting jig 9.
  • the sealed substrate 1 can be cut in a state where the cutting line of the sealed substrate 1 is accurately aligned with the cutting groove of the cutting jig 9.
  • FIGS. 5A to 5E are plan views showing the operation of aligning the sealed substrate 1 shown in FIGS. 5A to 5E with a predetermined position of the cutting jig 9.
  • FIG. 6A in the state where the sealed substrate 1 is placed on the cutting table 8, the position of the sealed substrate 1 is shifted in the X direction, the Y direction, and the ⁇ direction.
  • a region SUB surrounded by a dotted line is a region where the sealed substrate 1 is placed on the cutting table 8.
  • the shift amount in the ⁇ direction is first calculated from the coordinate positions of the second marks 4D and 4E of the sealed substrate 1.
  • the longitudinal direction and the short direction of the sealed substrate 1 can be arranged in parallel to the long direction and the short direction of the cutting table 8. From this state, by correcting the deviation amounts between the X direction and the Y direction, the sealed substrate 1 can be disposed in the predetermined area SUB of the cutting table 8 as shown in FIG. 6B.
  • the transport mechanism 22 can be moved in the X direction, the Y direction, and the Z direction, and can be rotated in the ⁇ direction.
  • the displacement amount of the sealed substrate 1 can be corrected by the transport mechanism 22.
  • the sealed substrate 1 is lifted again by the transport mechanism 22 while the sealed substrate 1 is displaced from the predetermined position of the cutting jig 9. From this state, the transport mechanism 22 is moved by the amount of deviation of the sealed substrate 1 and stopped above a predetermined position of the cutting jig 9. Thereafter, the sealed substrate 1 is placed on the cutting jig 9.
  • the sealed substrate 1 can be placed at a predetermined position of the cutting jig 9, the position of the cutting line of the sealed substrate 1 can be accurately aligned with the position of the cutting groove of the cutting jig 9. it can.
  • the alignment of the sealed substrate 1 can be performed with high accuracy without adding new components and new functions to the existing cutting device 19.
  • the sealing substrate 1 can be accurately aligned without improving the cutting device 19 and without causing any cost. Therefore, it is possible to improve cutting accuracy and yield while suppressing the cost of the cutting device 19.
  • the sealed substrate 1 can be cut in a state where the position of the cutting line of the sealed substrate 1 is accurately aligned with the position of the cutting groove of the cutting jig 9. Therefore, it is possible to prevent the resin sheet 11 from being cut by the rotary blade. It is possible to prevent generation of dust from the cutting jig 9 and leakage from the suction hole 13 of the cutting jig 9. Since the rotary blade does not scrape the resin sheet 11, the life of the cutting jig 9 is extended, and the operating cost of the cutting device 19 can be reduced. Furthermore, the yield of the product can be improved and the quality of the product can be improved.
  • the transport mechanism 22 corrects the deviation amounts of the sealed substrate 1 in the X direction, the Y direction, and the ⁇ direction so that the sealed substrate 1 is placed at a predetermined position of the cutting jig 9. It was moved above and placed. Not limited to this, the transport mechanism 22 corrects the deviation amount of the sealed substrate 1 in the X direction, and the cutting table 8 corrects the deviation amounts of the Y direction and ⁇ direction to cut the sealed substrate 1.
  • the jig 9 can be placed at a predetermined position. In this case, the transport mechanism 22 may be configured to be movable only in the X direction.
  • Embodiment 4 of the cutting device according to the present invention will be described with reference to FIGS. 7A, 7B, and 8.
  • FIG. 8 a method of cutting and separating a large sealed substrate that cannot be mounted on the cutting table 8 of the existing cutting device 19 described so far will be described.
  • the large sealed substrate 31 has a size of 600 ⁇ 500 mm.
  • a large number of second marks 32 are formed on the sealed substrate 31 along the longitudinal direction and the short direction of the substrate. 7A, the eight second marks 32 formed at the four corners of the sealed substrate 31 are 32A, 32B,... Counterclockwise from the upper left of the sealed substrate 31, respectively. 32G and 32H.
  • many second marks 32 are formed in the longitudinal direction and the short direction.
  • a plurality of regions formed in each of the four divided portions (portions divided by a broken line and a two-dot chain line) in the sealed substrate 31 are a plurality of regions shown in FIGS. 1A and 1B. Have the same dimensions as the region 7.
  • the sealed substrate 31 is placed on the cutting table 8. I can't. Therefore, the sealed substrate 31 cannot be cut using the cutting device 19 as it is. Therefore, the sealed substrate 31 is divided into sizes that can be mounted on the cutting table 8. For example, in order to divide the sealed substrate 31 into four, a dividing line 33 along the short direction and a dividing line 34 along the longitudinal direction are set.
  • the sealed substrate 31 is cut along the dividing line 33 and the dividing line 34 by using means capable of dividing the large sealed substrate 31.
  • the sealed substrate 31 is divided into four, and is divided into sealed substrates 35 having a size of 300 ⁇ 250 mm.
  • the divided sealed substrates 35 ⁇ / b> A, 35 ⁇ / b> B, 35 ⁇ / b> C, and 35 ⁇ / b> D have a size that can be mounted on the cutting table 8 of the cutting device 19.
  • warpage, internal stress, and the like originally possessed by the sealed substrate 31 are reduced. Accordingly, the divided sealed substrates 35A, 35B, 35C, and 35D change in warpage, dimensions, and the like.
  • one sealed substrate 35 ⁇ / b> A divided into four parts is placed on the cutting table 8 by the transport mechanism 22.
  • a cutting jig 9 shown in FIGS. 3A and 3B is attached to the cutting table 8. Therefore, a large number of first marks 18 are formed on the metal table 10 of the cutting jig 9. Within the range of the predetermined area SUB of the cutting table 8, the sealed substrate 35A can be placed.
  • any one of the second marks 32 formed along the longitudinal direction is designated as 32I and one of the second marks 32 formed along the short direction. Any one of the second marks is 32J.
  • the alignment camera 25 By the alignment camera 25 (see FIG. 4), the second marks 32A and 32I formed along the longitudinal direction of the sealed substrate 35A and the second mark 32B formed along the short direction. , 32J coordinate position is measured.
  • the measured coordinate positions 32A, 32I and 32B, 32J of the second marks are compared with the coordinate positions of the first marks 18A, 18H, 18B, 18C stored in advance. Thereby, the shift amount of the sealed substrate 35A can be calculated.
  • the position of the second mark 32 of the sealed substrate 35A can be matched with the position of the first mark 18 of the cutting table 8. Therefore, the position of the cutting line set on the sealed substrate 35A can be accurately aligned with the position of the cutting groove provided in the cutting jig 9.
  • the divided sealed substrate 35A can be accurately cut along the cutting line without the rotary blade being displaced from the position of the cutting groove of the cutting jig 9.
  • the divided sealed substrates 35B, 35C, and 35D are placed on the cutting table 8 and cut.
  • the large sealed substrate 31 that cannot be mounted on the cutting table 8 of the existing cutting device 19 is divided to divide the sealed substrate 35 divided using the existing cutting device 19. Can be cut off.
  • This is made possible by adopting a positioning method in which the coordinate position is measured using the alignment camera 25 instead of the conventional positioning method using positioning pins. Accurate alignment can be achieved by comparing the coordinate position of the second mark 32 of the divided sealed substrate 35 with the coordinate position of the first mark 18 of the cutting table 8 stored in advance. it can. Therefore, by dividing a large sealed substrate that cannot be mounted on the cutting table 8, it is possible to cut using the existing cutting device 19.
  • the large sealed substrate 31 can be divided and the divided sealed substrate 35 can be cut.
  • warpage and internal stress of the sealed substrate 31 are reduced, so that the divided sealed substrate 35 changes in warpage, dimensions, and the like.
  • the coordinate position of the second mark 32 of the sealed substrate 35 is measured, so that the change in the dimension can be corrected. . Therefore, it is possible to accurately align the divided sealed substrate 35 and the cutting table 8.
  • the normal sealed substrate 1 and the divided sealed substrate 35 can be cut using the same cutting device 19 and the same cutting table 8. Therefore, it is possible to accurately align the sealed substrate 1 and the divided sealed substrate 35 without adding new components or new functions to the existing cutting device 19.
  • the sealing substrate can be accurately aligned without improving the cutting device 19 and without generating costs. Therefore, it is possible to cut the sealed substrates having various sizes while suppressing the cost of the cutting device 19.
  • a sealed substrate including a chip-like element (semiconductor chip or the like) as a workpiece is cut.
  • the present invention is not limited to this, and the present invention can be applied to a case where the next object to be cut is cut into pieces as the object to be cut other than the sealed substrate.
  • a semiconductor wafer semiconductor wafer made of silicon and a compound semiconductor and having functional elements such as circuit elements and MEMS (Micro Electro Mechanical Systems) is separated.
  • a chip resistor, a chip capacitor, a chip type sensor, a surface acoustic wave device are obtained by dividing a ceramic substrate, a glass substrate, etc.
  • a semiconductor wafer, a ceramic substrate, or the like corresponds to a substrate on which functional elements corresponding to a plurality of regions are formed.
  • the resin molded product is singulated to produce optical components such as lenses, optical modules, and light guide plates.
  • a general molded product is manufactured by dividing a resin molded product into individual pieces.
  • a glass plate used as a cover of various electronic devices The contents described so far can be applied to various cases including the above five cases.
  • the amount of deviation was calculated by comparing the coordinate position of the second mark formed on the sealed substrate with the first mark formed on the cutting jig 9.
  • patterns other than the second mark can be used as a plurality of alignment marks. Positioning can be performed using an actual circuit pattern formed on a semiconductor wafer, a pattern of terminals for external connection on a sealed substrate, a protruding electrode (bump, ball in BGA), or the like.
  • a cutting jig 9 having a metal plate 10 and a resin sheet 11 fixed on the metal plate was attached to the cutting table 8.
  • the cutting jig 9 comprised with 1 type or multiple types of metal, in other words, the metal cutting jig 9 can be used.
  • the cutting jig 9 main body may be moved directly by the moving mechanism 23 and the rotating mechanism 24 without using the cutting table 8.
  • a rotary blade was used as the cutting mechanism.
  • a wire saw, a band saw, a laser beam, a water jet, a blast, or the like may be used.
  • a through-hole as a space through which a blade (wire saw, band saw) that is a means contributing to cutting passes is provided in the cutting jig.
  • a through hole is provided in the cutting jig as a space through which those means contributing to cutting pass.
  • At least a part of the means (rotating blade, wire saw, band saw, etc.) contributing to cutting included in the cutting mechanism passes through the “cutting groove”. At least a part of the means (laser light, high-pressure jet water, abrasive grains, etc.) contributing to the cutting supplied from the cutting mechanism passes through the “cutting groove”.
  • the present invention is not limited to the above-described embodiments, and can be arbitrarily combined, modified, or selected and adopted as necessary within the scope not departing from the gist of the present invention. It is.
  • Substrate (Subject to be cut), 2. Substrate, 3. Sealing resin, 4, 4A, 4B,..., 4G, 4H, second mark, 5. First cutting line (cutting line), 5. 2 cutting lines (cutting lines), 7 areas (products), 8 cutting tables, 9 cutting jigs, 10 metal tables, 11 resin sheets, 12 protrusions, 13 suction holes, 14 spaces, 15 first cutting Groove (cutting groove), 16 Second cutting groove (cutting groove), 17, 17A, 17B, ..., 17G, 17H First mark, 18, 18A, 18B, ..., 18G, 18H First Mark, 19 cutting device, 20 substrate supply mechanism, 21 substrate mounting unit, 22 transport mechanism, 23 moving mechanism, 24 rotating mechanism, 25 alignment camera (imaging means), 26 spindle (cutting mechanism), 27 rotating blade , 28 Examination table, 29 cut substrate, 30 tray, 31 large sealed substrate, 32, 32A, 32B, ..., 32G, 32H, 32I, 32J second mark, 33 dividing line, 34 dividing line, 35

Landscapes

  • Engineering & Computer Science (AREA)
  • Physics & Mathematics (AREA)
  • Condensed Matter Physics & Semiconductors (AREA)
  • General Physics & Mathematics (AREA)
  • Computer Hardware Design (AREA)
  • Microelectronics & Electronic Packaging (AREA)
  • Power Engineering (AREA)
  • Manufacturing & Machinery (AREA)
  • Dicing (AREA)
PCT/JP2016/050202 2015-02-05 2016-01-06 切断装置及び切断方法 Ceased WO2016125518A1 (ja)

Priority Applications (2)

Application Number Priority Date Filing Date Title
KR1020177024358A KR102089098B1 (ko) 2015-02-05 2016-01-06 절단 장치 및 절단 방법
CN201680008290.1A CN107210206B (zh) 2015-02-05 2016-01-06 切断装置以及通过切断被切断物而制造多个产品的方法

Applications Claiming Priority (2)

Application Number Priority Date Filing Date Title
JP2015-021259 2015-02-05
JP2015021259A JP6212507B2 (ja) 2015-02-05 2015-02-05 切断装置及び切断方法

Publications (1)

Publication Number Publication Date
WO2016125518A1 true WO2016125518A1 (ja) 2016-08-11

Family

ID=56563870

Family Applications (1)

Application Number Title Priority Date Filing Date
PCT/JP2016/050202 Ceased WO2016125518A1 (ja) 2015-02-05 2016-01-06 切断装置及び切断方法

Country Status (5)

Country Link
JP (1) JP6212507B2 (enExample)
KR (1) KR102089098B1 (enExample)
CN (1) CN107210206B (enExample)
TW (1) TWI622090B (enExample)
WO (1) WO2016125518A1 (enExample)

Cited By (1)

* Cited by examiner, † Cited by third party
Publication number Priority date Publication date Assignee Title
CN114746232A (zh) * 2019-12-16 2022-07-12 Towa株式会社 统计数据生成方法、切割装置以及系统

Families Citing this family (18)

* Cited by examiner, † Cited by third party
Publication number Priority date Publication date Assignee Title
JP6483541B2 (ja) * 2015-06-16 2019-03-13 株式会社ディスコ パッケージ基板の加工方法
JP2018133432A (ja) * 2017-02-15 2018-08-23 株式会社ディスコ 切削装置
EP3795271B1 (en) * 2018-05-14 2023-05-24 FUJI Corporation Mounter provided with a lead wire cutting unit
EP3702831A1 (de) 2019-03-01 2020-09-02 Carl Zeiss Vision International GmbH Datensatz zur verwendung in einem verfahren zur herstellung eines brillenglases
JP6912745B1 (ja) * 2019-09-27 2021-08-04 株式会社東京精密 ダイシング装置及び方法
KR102411860B1 (ko) 2019-09-27 2022-06-23 가부시키가이샤 도교 세이미쓰 다이싱 장치 및 방법
JP7446169B2 (ja) * 2020-06-26 2024-03-08 キヤノントッキ株式会社 基板搬送装置、基板処理システム、基板搬送方法、電子デバイスの製造方法、プログラム及び記憶媒体
JP7440356B2 (ja) * 2020-06-26 2024-02-28 キヤノントッキ株式会社 アライメント装置、成膜装置、アライメント方法、電子デバイスの製造方法、プログラム及び記憶媒体
JP7440355B2 (ja) * 2020-06-26 2024-02-28 キヤノントッキ株式会社 アライメント装置、成膜装置、アライメント方法、電子デバイスの製造方法、プログラム及び記憶媒体
JP7438865B2 (ja) * 2020-06-26 2024-02-27 キヤノントッキ株式会社 アライメント装置、成膜装置、アライメント方法、電子デバイスの製造方法、プログラム及び記憶媒体
JP7613849B2 (ja) * 2020-06-26 2025-01-15 キヤノントッキ株式会社 アライメント装置、成膜装置、アライメント方法、電子デバイスの製造方法、プログラム及び記憶媒体
JP7423161B2 (ja) * 2020-06-30 2024-01-29 株式会社ディスコ チャックテーブル
KR102799609B1 (ko) * 2021-03-16 2025-04-29 한미반도체 주식회사 반도체 자재 절단장치의 절단 셋팅방법
JP7564747B2 (ja) * 2021-03-29 2024-10-09 Towa株式会社 加工装置、及び加工品の製造方法
KR102633129B1 (ko) * 2021-09-29 2024-02-06 한국생산기술연구원 다이 웨이퍼 간 본딩 시 정렬방법
CN114609711B (zh) * 2022-03-09 2023-07-18 业成科技(成都)有限公司 光学元件的制造方法、夹持装置、显示模组及电子设备
JP2024024364A (ja) * 2022-08-09 2024-02-22 Towa株式会社 切断装置、及び、切断品の製造方法
CN115815474B (zh) * 2022-12-01 2023-09-15 广东新亚光电缆股份有限公司 一种低压电线及其智能加工系统

Citations (2)

* Cited by examiner, † Cited by third party
Publication number Priority date Publication date Assignee Title
JP2005305573A (ja) * 2004-04-20 2005-11-04 Disco Abrasive Syst Ltd 被加工物保持治具
JP2009170501A (ja) * 2008-01-11 2009-07-30 Disco Abrasive Syst Ltd 切削装置

Family Cites Families (7)

* Cited by examiner, † Cited by third party
Publication number Priority date Publication date Assignee Title
JP2001156025A (ja) 1999-11-29 2001-06-08 Disco Abrasive Syst Ltd ペレットの分離方法
JP2005353723A (ja) 2004-06-09 2005-12-22 Apic Yamada Corp 切断装置、及び切断方法
JP5139852B2 (ja) 2008-03-17 2013-02-06 三星ダイヤモンド工業株式会社 スクライブ装置及びスクライブ方法
JP2012114126A (ja) * 2010-11-19 2012-06-14 Sharp Corp 基板分割装置および電子部品の製造方法
JP6232667B2 (ja) * 2013-06-25 2017-11-22 ボンドテック株式会社 基板接合方法
JP6218511B2 (ja) * 2013-09-02 2017-10-25 Towa株式会社 切断装置及び切断方法
JP6143668B2 (ja) * 2013-12-28 2017-06-07 Towa株式会社 電子部品製造用の切断装置及び切断方法

Patent Citations (2)

* Cited by examiner, † Cited by third party
Publication number Priority date Publication date Assignee Title
JP2005305573A (ja) * 2004-04-20 2005-11-04 Disco Abrasive Syst Ltd 被加工物保持治具
JP2009170501A (ja) * 2008-01-11 2009-07-30 Disco Abrasive Syst Ltd 切削装置

Cited By (2)

* Cited by examiner, † Cited by third party
Publication number Priority date Publication date Assignee Title
CN114746232A (zh) * 2019-12-16 2022-07-12 Towa株式会社 统计数据生成方法、切割装置以及系统
CN114746232B (zh) * 2019-12-16 2024-03-19 Towa株式会社 统计数据生成方法、切割装置以及系统

Also Published As

Publication number Publication date
TWI622090B (zh) 2018-04-21
KR20170110651A (ko) 2017-10-11
JP6212507B2 (ja) 2017-10-11
KR102089098B1 (ko) 2020-03-13
JP2016143861A (ja) 2016-08-08
TW201643951A (zh) 2016-12-16
CN107210206B (zh) 2020-09-22
CN107210206A (zh) 2017-09-26

Similar Documents

Publication Publication Date Title
JP6212507B2 (ja) 切断装置及び切断方法
JP6339514B2 (ja) 切断装置及び切断方法
TWI483340B (zh) 組件對準方法及裝置
CN1983539B (zh) 晶粒键合的方法
CN104103629B (zh) 板状物
KR102771049B1 (ko) 다이 부착 시스템, 및 이러한 시스템을 이용한 통합 정확도 검증 및 캘리브레이션을 위한 방법
JP2015050345A (ja) 切断装置及び切断方法
TWI758990B (zh) 黏晶裝置及半導體裝置的製造方法
KR20140022582A (ko) 플립칩 본딩장치 및 본딩장치의 교정방법
US20190200496A1 (en) Use of placeable marker components for a staged placement of components on a carrier
KR20110122447A (ko) 반도체 패키지 집합체 정렬방법
TWI575587B (zh) Substrate cutting device and substrate cutting method
JP6498073B2 (ja) 切削ブレードの位置ずれ検出方法
CN112331582A (zh) 芯片贴装装置以及半导体器件的制造方法
KR101372379B1 (ko) 반도체 패키지용 회로기판의 검사방법
KR102891548B1 (ko) 본딩장치 및 본딩장치의 보정방법
JP5855866B2 (ja) ダミーチップおよびそれを用いた部品装着精度検査方法
JP7627934B2 (ja) 半導体デバイスの実装装置及び実装方法
KR20080102061A (ko) 얼라인먼트 비전 방법 및 장치
TW201523783A (zh) 鐳射晶片焊接機的晶片定位裝置

Legal Events

Date Code Title Description
121 Ep: the epo has been informed by wipo that ep was designated in this application

Ref document number: 16746349

Country of ref document: EP

Kind code of ref document: A1

NENP Non-entry into the national phase

Ref country code: DE

ENP Entry into the national phase

Ref document number: 20177024358

Country of ref document: KR

Kind code of ref document: A

122 Ep: pct application non-entry in european phase

Ref document number: 16746349

Country of ref document: EP

Kind code of ref document: A1