WO2016052604A1 - ビーズ発泡成形体、樹脂発泡粒子、樹脂発泡粒子の製造方法、発泡性樹脂粒子、及び、ビーズ発泡成形体の製造方法 - Google Patents

ビーズ発泡成形体、樹脂発泡粒子、樹脂発泡粒子の製造方法、発泡性樹脂粒子、及び、ビーズ発泡成形体の製造方法 Download PDF

Info

Publication number
WO2016052604A1
WO2016052604A1 PCT/JP2015/077704 JP2015077704W WO2016052604A1 WO 2016052604 A1 WO2016052604 A1 WO 2016052604A1 JP 2015077704 W JP2015077704 W JP 2015077704W WO 2016052604 A1 WO2016052604 A1 WO 2016052604A1
Authority
WO
WIPO (PCT)
Prior art keywords
resin
particles
foaming agent
glass transition
foamed
Prior art date
Legal status (The legal status is an assumption and is not a legal conclusion. Google has not performed a legal analysis and makes no representation as to the accuracy of the status listed.)
Ceased
Application number
PCT/JP2015/077704
Other languages
English (en)
French (fr)
Japanese (ja)
Inventor
洋丸 山本
小林 弘典
春彦 松浦
Current Assignee (The listed assignees may be inaccurate. Google has not performed a legal analysis and makes no representation or warranty as to the accuracy of the list.)
Sekisui Kasei Co Ltd
Original Assignee
Sekisui Plastics Co Ltd
Priority date (The priority date is an assumption and is not a legal conclusion. Google has not performed a legal analysis and makes no representation as to the accuracy of the date listed.)
Filing date
Publication date
Application filed by Sekisui Plastics Co Ltd filed Critical Sekisui Plastics Co Ltd
Priority to US15/323,787 priority Critical patent/US10815354B2/en
Priority to EP15846822.3A priority patent/EP3202837B1/en
Priority to JP2016543238A priority patent/JP6064096B2/ja
Priority to CN201580045799.9A priority patent/CN106795313B/zh
Priority to KR1020177004985A priority patent/KR101954116B1/ko
Priority to EP19163447.6A priority patent/EP3527614B1/en
Priority to KR1020187023374A priority patent/KR101967142B1/ko
Publication of WO2016052604A1 publication Critical patent/WO2016052604A1/ja
Anticipated expiration legal-status Critical
Priority to US16/701,369 priority patent/US10947359B2/en
Ceased legal-status Critical Current

Links

Images

Classifications

    • CCHEMISTRY; METALLURGY
    • C08ORGANIC MACROMOLECULAR COMPOUNDS; THEIR PREPARATION OR CHEMICAL WORKING-UP; COMPOSITIONS BASED THEREON
    • C08JWORKING-UP; GENERAL PROCESSES OF COMPOUNDING; AFTER-TREATMENT NOT COVERED BY SUBCLASSES C08B, C08C, C08F, C08G or C08H
    • C08J9/00Working-up of macromolecular substances to porous or cellular articles or materials; After-treatment thereof
    • C08J9/16Making expandable particles
    • C08J9/18Making expandable particles by impregnating polymer particles with the blowing agent
    • BPERFORMING OPERATIONS; TRANSPORTING
    • B29WORKING OF PLASTICS; WORKING OF SUBSTANCES IN A PLASTIC STATE IN GENERAL
    • B29BPREPARATION OR PRETREATMENT OF THE MATERIAL TO BE SHAPED; MAKING GRANULES OR PREFORMS; RECOVERY OF PLASTICS OR OTHER CONSTITUENTS OF WASTE MATERIAL CONTAINING PLASTICS
    • B29B11/00Making preforms
    • B29B11/06Making preforms by moulding the material
    • B29B11/10Extrusion moulding
    • BPERFORMING OPERATIONS; TRANSPORTING
    • B29WORKING OF PLASTICS; WORKING OF SUBSTANCES IN A PLASTIC STATE IN GENERAL
    • B29BPREPARATION OR PRETREATMENT OF THE MATERIAL TO BE SHAPED; MAKING GRANULES OR PREFORMS; RECOVERY OF PLASTICS OR OTHER CONSTITUENTS OF WASTE MATERIAL CONTAINING PLASTICS
    • B29B9/00Making granules
    • B29B9/12Making granules characterised by structure or composition
    • CCHEMISTRY; METALLURGY
    • C08ORGANIC MACROMOLECULAR COMPOUNDS; THEIR PREPARATION OR CHEMICAL WORKING-UP; COMPOSITIONS BASED THEREON
    • C08JWORKING-UP; GENERAL PROCESSES OF COMPOUNDING; AFTER-TREATMENT NOT COVERED BY SUBCLASSES C08B, C08C, C08F, C08G or C08H
    • C08J9/00Working-up of macromolecular substances to porous or cellular articles or materials; After-treatment thereof
    • C08J9/04Working-up of macromolecular substances to porous or cellular articles or materials; After-treatment thereof using blowing gases generated by a previously added blowing agent
    • C08J9/12Working-up of macromolecular substances to porous or cellular articles or materials; After-treatment thereof using blowing gases generated by a previously added blowing agent by a physical blowing agent
    • C08J9/14Working-up of macromolecular substances to porous or cellular articles or materials; After-treatment thereof using blowing gases generated by a previously added blowing agent by a physical blowing agent organic
    • C08J9/142Compounds containing oxygen but no halogen atom
    • CCHEMISTRY; METALLURGY
    • C08ORGANIC MACROMOLECULAR COMPOUNDS; THEIR PREPARATION OR CHEMICAL WORKING-UP; COMPOSITIONS BASED THEREON
    • C08JWORKING-UP; GENERAL PROCESSES OF COMPOUNDING; AFTER-TREATMENT NOT COVERED BY SUBCLASSES C08B, C08C, C08F, C08G or C08H
    • C08J9/00Working-up of macromolecular substances to porous or cellular articles or materials; After-treatment thereof
    • C08J9/16Making expandable particles
    • CCHEMISTRY; METALLURGY
    • C08ORGANIC MACROMOLECULAR COMPOUNDS; THEIR PREPARATION OR CHEMICAL WORKING-UP; COMPOSITIONS BASED THEREON
    • C08JWORKING-UP; GENERAL PROCESSES OF COMPOUNDING; AFTER-TREATMENT NOT COVERED BY SUBCLASSES C08B, C08C, C08F, C08G or C08H
    • C08J9/00Working-up of macromolecular substances to porous or cellular articles or materials; After-treatment thereof
    • C08J9/22After-treatment of expandable particles; Forming foamed products
    • C08J9/228Forming foamed products
    • CCHEMISTRY; METALLURGY
    • C08ORGANIC MACROMOLECULAR COMPOUNDS; THEIR PREPARATION OR CHEMICAL WORKING-UP; COMPOSITIONS BASED THEREON
    • C08JWORKING-UP; GENERAL PROCESSES OF COMPOUNDING; AFTER-TREATMENT NOT COVERED BY SUBCLASSES C08B, C08C, C08F, C08G or C08H
    • C08J9/00Working-up of macromolecular substances to porous or cellular articles or materials; After-treatment thereof
    • C08J9/22After-treatment of expandable particles; Forming foamed products
    • C08J9/228Forming foamed products
    • C08J9/232Forming foamed products by sintering expandable particles
    • CCHEMISTRY; METALLURGY
    • C08ORGANIC MACROMOLECULAR COMPOUNDS; THEIR PREPARATION OR CHEMICAL WORKING-UP; COMPOSITIONS BASED THEREON
    • C08LCOMPOSITIONS OF MACROMOLECULAR COMPOUNDS
    • C08L79/00Compositions of macromolecular compounds obtained by reactions forming in the main chain of the macromolecule a linkage containing nitrogen with or without oxygen or carbon only, not provided for in groups C08L61/00 - C08L77/00
    • C08L79/04Polycondensates having nitrogen-containing heterocyclic rings in the main chain; Polyhydrazides; Polyamide acids or similar polyimide precursors
    • C08L79/08Polyimides; Polyester-imides; Polyamide-imides; Polyamide acids or similar polyimide precursors
    • CCHEMISTRY; METALLURGY
    • C08ORGANIC MACROMOLECULAR COMPOUNDS; THEIR PREPARATION OR CHEMICAL WORKING-UP; COMPOSITIONS BASED THEREON
    • C08LCOMPOSITIONS OF MACROMOLECULAR COMPOUNDS
    • C08L81/00Compositions of macromolecular compounds obtained by reactions forming in the main chain of the macromolecule a linkage containing sulfur with or without nitrogen, oxygen or carbon only; Compositions of polysulfones; Compositions of derivatives of such polymers
    • C08L81/06Polysulfones; Polyethersulfones
    • CCHEMISTRY; METALLURGY
    • C08ORGANIC MACROMOLECULAR COMPOUNDS; THEIR PREPARATION OR CHEMICAL WORKING-UP; COMPOSITIONS BASED THEREON
    • C08JWORKING-UP; GENERAL PROCESSES OF COMPOUNDING; AFTER-TREATMENT NOT COVERED BY SUBCLASSES C08B, C08C, C08F, C08G or C08H
    • C08J2201/00Foams characterised by the foaming process
    • C08J2201/02Foams characterised by the foaming process characterised by mechanical pre- or post-treatments
    • C08J2201/03Extrusion of the foamable blend
    • CCHEMISTRY; METALLURGY
    • C08ORGANIC MACROMOLECULAR COMPOUNDS; THEIR PREPARATION OR CHEMICAL WORKING-UP; COMPOSITIONS BASED THEREON
    • C08JWORKING-UP; GENERAL PROCESSES OF COMPOUNDING; AFTER-TREATMENT NOT COVERED BY SUBCLASSES C08B, C08C, C08F, C08G or C08H
    • C08J2203/00Foams characterized by the expanding agent
    • C08J2203/12Organic compounds only containing carbon, hydrogen and oxygen atoms, e.g. ketone or alcohol
    • CCHEMISTRY; METALLURGY
    • C08ORGANIC MACROMOLECULAR COMPOUNDS; THEIR PREPARATION OR CHEMICAL WORKING-UP; COMPOSITIONS BASED THEREON
    • C08JWORKING-UP; GENERAL PROCESSES OF COMPOUNDING; AFTER-TREATMENT NOT COVERED BY SUBCLASSES C08B, C08C, C08F, C08G or C08H
    • C08J2205/00Foams characterised by their properties
    • C08J2205/04Foams characterised by their properties characterised by the foam pores
    • C08J2205/052Closed cells, i.e. more than 50% of the pores are closed
    • CCHEMISTRY; METALLURGY
    • C08ORGANIC MACROMOLECULAR COMPOUNDS; THEIR PREPARATION OR CHEMICAL WORKING-UP; COMPOSITIONS BASED THEREON
    • C08JWORKING-UP; GENERAL PROCESSES OF COMPOUNDING; AFTER-TREATMENT NOT COVERED BY SUBCLASSES C08B, C08C, C08F, C08G or C08H
    • C08J2379/00Characterised by the use of macromolecular compounds obtained by reactions forming in the main chain of the macromolecule a linkage containing nitrogen with or without oxygen, or carbon only, not provided for in groups C08J2361/00 - C08J2377/00
    • C08J2379/04Polycondensates having nitrogen-containing heterocyclic rings in the main chain; Polyhydrazides; Polyamide acids or similar polyimide precursors
    • C08J2379/08Polyimides; Polyester-imides; Polyamide-imides; Polyamide acids or similar polyimide precursors
    • CCHEMISTRY; METALLURGY
    • C08ORGANIC MACROMOLECULAR COMPOUNDS; THEIR PREPARATION OR CHEMICAL WORKING-UP; COMPOSITIONS BASED THEREON
    • C08JWORKING-UP; GENERAL PROCESSES OF COMPOUNDING; AFTER-TREATMENT NOT COVERED BY SUBCLASSES C08B, C08C, C08F, C08G or C08H
    • C08J2381/00Characterised by the use of macromolecular compounds obtained by reactions forming in the main chain of the macromolecule a linkage containing sulfur with or without nitrogen, oxygen, or carbon only; Polysulfones; Derivatives of such polymers
    • C08J2381/06Polysulfones; Polyethersulfones

Definitions

  • the present invention relates to a bead foam molded product, resin foam particles, a method for producing resin foam particles, expandable resin particles, and a method for producing a bead foam molded product.
  • a bead foam molded product obtained by molding foamable polystyrene resin particles made of a polystyrene resin composition is called EPS and widely used as a heat insulating material or a buffer material.
  • the bead foam molded body is obtained by, for example, once foaming resin particles in a non-foamed state to produce resin foam particles (pre-foamed particles), and heating the resin foam particles in a mold to perform secondary foaming. And is widely used as a transport container for agricultural products and seafood (see Patent Document 1 below). That is, the conventional bead foam molded body is composed of resin foam particles (secondary foam particles) that are secondarily foamed, and is formed of a plurality of resin foam particles that are fused together.
  • the bead foam molded product has a high open cell ratio and does not exhibit sufficient strength unless manufacturing conditions suitable for the melting characteristics of the raw material resin are selected, it has a low foaming ratio and is excellent in light weight. It may not become a thing. For this reason, it is difficult to obtain a bead foam molded body having excellent heat resistance.
  • the present invention has an object to solve such problems, and an object of the present invention is to provide a bead foam molded body having excellent heat resistance.
  • the present invention is a bead foam molded body formed of a plurality of resin foam particles fused to each other, the resin foam particles mainly comprising a resin having a glass transition temperature of 180 ° C. or higher.
  • a bead foam molded article as a component is provided.
  • the bead foam molded body of the present invention is a bead foam molded body formed of a plurality of resin foam particles fused to each other.
  • the bead foam molded body of the present embodiment is prepared by producing expandable resin particles containing a foaming agent, and after producing the resin expanded particles (preliminarily expanded particles) obtained by first expanding the expandable resin particles. It is formed by secondary foaming in a mold.
  • the bead foam molded body of this embodiment is hot-cut while extruding a resin composition containing a foaming agent from an extruder, and secondarily foams resin foam particles (pre-foamed particles) foamed during the extrusion in a molding die. It may be formed.
  • the bead foam molded body of this embodiment is composed of resin foam particles (secondary foam particles) that have been secondarily foamed.
  • the bead foam molded body of this embodiment is mainly composed of a resin in which the resin foam particles have a glass transition temperature of 180 ° C. or higher.
  • foamable resin particles containing a foaming agent are prepared, and the foamable resin particles are first foamed to prepare prefoamed particles, and then the beads are foamed with the prefoamed particles.
  • a method for producing a body will be described.
  • the expandable resin particles of the present embodiment are non-expanded resin particles and are made of a resin composition containing a foaming agent together with a resin.
  • the resin composition constituting the expandable resin particles is mainly composed of a high heat resistance resin (hereinafter also referred to as “high heat resistance resin”) having a glass transition temperature of 180 ° C. or higher, and an organic type as the foaming agent. Contains a physical blowing agent.
  • the use of the expandable resin particle of the present embodiment is not particularly limited, but it should be used as a raw material particle for preparing pre-expanded particles used for forming a bead foam molded body by in-mold molding. Is preferred.
  • the expandable resin particles of the present embodiment can be primarily expanded and used for forming a bead foam molded article.
  • the expandable resin particles will be described while exemplifying the case where they are used as pre-expanded particles that are primarily expanded and used for forming a bead foam molded article.
  • the high heat-resistant resin does not need to contain one kind of foamed resin particles alone, and may contain two or more kinds of pre-foamed particles.
  • the “main component of the resin composition” means the resin having the largest mass ratio among the resins contained in the resin composition. To do.
  • the glass transition temperature of the resin contained in the expandable resin particles can be confirmed by the following method. (How to find glass transition temperature) The glass transition temperature is measured by the method described in JIS K7121: 1987 "Method for measuring plastic transition temperature". However, the sampling method and temperature conditions are as follows. Using a differential scanning calorimeter device DSC 6220 (made by SII Nano Technology), about 6 mg of a sample is filled in the bottom of an aluminum measurement container so that there is no gap, and a nitrogen gas flow rate of 20 mL / min is used at 20 ° C./min. The midpoint glass transition temperature is calculated from the DSC curve obtained when the temperature is raised from 30 ° C. to 300 ° C. using the analysis software attached to the apparatus. Alumina is used as the reference material at this time. The midpoint glass transition temperature is determined by the method described in the above-mentioned standard (9.3 “How to determine the glass transition temperature”).
  • the foamable resin particles may contain a resin having a glass transition temperature of less than 180 ° C. in addition to the high heat-resistant resin, but preferably contain 50% by mass or more of the high heat-resistant resin, The content is more preferably 75% by mass or more, and particularly preferably 90% by mass or more. It is particularly preferable that the expandable resin particles contain substantially only a high heat resistant resin.
  • Examples of the organic physical foaming agent contained in the expandable resin particles together with the resin include substances having a boiling point lower than the glass transition temperature of the high heat resistant resin (hydrocarbons, alcohols, diols, ketones). And ethers and their halides), specifically, butane, pentane, methanol, ethanol, acetone, methyl ethyl ketone, cyclohexanone, cyclononanone, methylene chloride, methyl acetate, ethyl acetate, butyl acetate, methyl chloride, ethyl Chloride, dichloromethane, dichloroethane, cyclohexanone, diacetone alcohol, propylene glycol monomethyl ether, propylene glycol monomethyl ether acetate, diethylene glycol dimethyl ether, dichlorodifluoromethane, di Lol tetrafluoroethane, trichloro fluoro methane, etc.
  • the organic physical foaming agent may be used alone or in combination of two or more.
  • the expandable resin particles include, for example, inorganic physical foaming agents such as argon and carbon dioxide, and thermal decomposition type such as azodicarbonamide, p-toluenesulfonyl semicarbazide, and 5-phenyltetrazole.
  • a chemical foaming agent may be included.
  • the term “foaming agent” is used as a term meaning “organic physical foaming agent” unless otherwise specified.
  • the foaming agent is preferably an organic compound having a carbonyl group such as acetone, methyl ethyl ketone, cyclohexanone, or cyclononanone, and is preferably an organic compound having a structure represented by the following formula (a).
  • R 1 and R 2 are each an alkyl group having 1 to 6 carbon atoms or an alkylene group having 1 to 6 carbon atoms that forms a ring with the carbon atoms that are bonded to each other to form a carbonyl group. 1 and R 2 may have the same or different carbon number.
  • acetone is suitable as a foaming agent in this embodiment.
  • the foaming agent is preferably contained in the foamable resin particles at a ratio of 6% by mass or more, and more preferably 7% by mass or more.
  • the foaming agent is preferably contained in the foamable resin particles in a proportion of 20% by mass or less, and more preferably in a proportion of 15% by mass or less.
  • the expandable resin particles of the present embodiment have an excessively large particle size, it is difficult to impregnate and support the foaming agent, which may make it difficult to manufacture.
  • the expandable resin particles of the present embodiment have an excessively large particle size, the appearance of the resulting bead foam molded article is deteriorated, and further, the expandable resin particles are filled into the details of the mold during molding. This makes it difficult to accurately reflect the shape of the mold on the bead foam molding. That is, in the present embodiment, it is possible to obtain prefoamed particles exhibiting good foamability for the foamable resin particles and exhibiting good secondary foamability, and bead foam molded products foamed at a high foaming ratio.
  • the foamable resin particles preferably have a particle shape having a maximum length of 3 mm or less.
  • the expandable resin particles preferably have a length of 0.3 mm or more.
  • the foamable resin particles when pre-foamed particles, the closer to the true sphere, the better the filling into the mold.
  • the thickness is 0.5. It is preferable to be set to be twice or more.
  • the maximum length of the expandable resin particles is determined by averaging the values obtained by individually measuring the maximum length for several tens of randomly selected expandable resin particles, and is determined as an arithmetic average value. Is.
  • the maximum length of the expandable resin particles means the length of the longest straight line connecting two different points on the outer surface of the expandable resin particles.
  • the resin composition constituting the expandable resin particles of the present embodiment can further contain a cell preparation agent, a plasticizer, and the like in addition to the foaming agent and the high heat resistance resin as described above.
  • Examples of the air conditioner include talc, mica, silica, diatomaceous earth, aluminum oxide, titanium oxide, zinc oxide, magnesium oxide, magnesium hydroxide, aluminum hydroxide, calcium hydroxide, potassium carbonate, calcium carbonate, magnesium carbonate, Examples thereof include fine particles made of an inorganic compound such as potassium sulfate, barium sulfate, and glass beads, and fine particles made of an organic compound such as polytetrafluoroethylene.
  • plasticizer examples include phthalic acid ester, adipic acid ester, trimellitic acid ester, phosphoric acid ester, citric acid ester, epoxidized vegetable oil, sebacic acid ester, azelaic acid ester, maleic acid ester, benzoic acid ester, sulfone. Acid ester etc. are mentioned.
  • phthalic acid ester examples include dioctyl phthalate, diisononyl phthalate, diisodecyl phthalate, and dibutyl phthalate.
  • Examples of the adipic acid ester include dioctyl adipate, diisononyl adipate, diisobutyl adipate, dibutyl adipate, and the like.
  • trimellitic acid ester, trimellitic acid trioctyl etc. are mentioned, for example.
  • Examples of the phosphate ester include tricresyl phosphate, triamyl phosphate, and tributyl phosphate.
  • Examples of the citric acid ester include tributyl acetyl citrate, triethyl citrate, and triethyl acetyl citrate.
  • Examples of the epoxidized vegetable oil include epoxidized soybean oil and epoxidized linseed oil.
  • Examples of the sulfonic acid ester include alkylsulfonic acid phenyl ester.
  • the foamable resin particles can be produced by, for example, a method in which resin particles are once formed with components other than the foaming agent among the components as described above, and then the resin particles are impregnated with the foaming agent.
  • the method of impregnating the resin particles with the foaming agent include a method of immersing the resin particles in the liquid foaming agent at a temperature lower than the boiling point of the foaming agent.
  • a method of impregnating the resin particles with the foaming agent for example, a method of immersing the resin particles in a foaming agent that is in a liquid state at a temperature higher than the boiling point of the foaming agent under a pressurized condition using a pressure vessel Is mentioned.
  • a method for impregnating the resin particles with the foaming agent there is a method in which the foaming agent in a gaseous state and the resin particles are brought into contact under pressure to impregnate the resin particles with the foaming agent gas.
  • foamable resin particles such as those described above are foamed
  • coarse bubbles are easily formed in the surface layer portion of the foamed particles obtained.
  • expandable resin particles it becomes difficult to obtain expanded particles or bead expanded molded articles having a dense expanded state with high closed cell properties.
  • a bead foam molded body is formed with foamed particles having coarse bubbles, the foam may be broken or contracted when the foamed particles are secondarily foamed, and the surface of the bead foam molded body may be roughened. There is.
  • Such a large difference between the concentration of the blowing agent in the surface layer portion and the concentration of the blowing agent in the central portion can be determined by performing differential scanning calorimetry on the expandable resin particles.
  • the apparent glass transition temperature usually obtained by differential scanning calorimetric analysis of the resin particles depends on the plasticizing effect of the resin exhibited by the foaming agent. The temperature is lower than the glass transition temperature obtained for the resin alone.
  • differential scanning calorimetry was performed on the resin particles containing the foaming agent, and the horizontal axis represents temperature and the vertical axis represents heat (upward is exothermic (exo) and downward is endothermic (endo)), and the results are expressed in DSC curves.
  • a shoulder that bends downward as the temperature rises appears at least twice in the DSC curve below the original glass transition temperature of the resin.
  • One of the shoulders appears at the apparent glass transition temperature, and the other shoulder is usually lower than the apparent glass transition temperature (slightly higher than the boiling point of the blowing agent). Appears on the side).
  • the amount of the foaming agent in the surface layer portion is reduced to contain the foaming agent in the center portion and the surface layer portion than in the first state.
  • the expandable resin particles in the second state in which the difference in the amount is reduced, the apparent glass transition temperature is high, and the endothermic reaction on the low temperature side that appears separately from this is also in comparison with that in the first state. Appear on the high temperature side.
  • the second state is more preferable than the first state in order to make the resin foam particles used for forming the bead foam molded body into a fine foamed state of bubbles. Therefore, in the foamable resin particles in the present embodiment, the DSC curve measured by a differential scanning calorimeter shows at least two endotherms when the DSC curve is equal to or lower than the glass transition temperature of the resin as the main component, and the glass transition temperature of the resin. Is the Tg (° C.) and the boiling point of the physical foaming agent is Tb (° C.), the first endothermic start temperature (T1) appearing on the low temperature side of the two endotherms is Tb ° C.
  • the expandable resin particles have a second endothermic start temperature (T2) appearing on a higher temperature side than the first endothermic start temperature, which is Tg ⁇ 150 ° C. or higher and Tg ⁇ 10 ° C. or lower, and
  • the difference (T2 ⁇ T1) in the starting temperature between the endotherm of 1 and the second endotherm is preferably 52 ° C. or less.
  • the temperature difference (T2-T1) is usually 1 ° C. or higher, and in many cases 10 ° C. or higher.
  • T1 is preferably 85 ° C. or higher and 105 ° C. or lower
  • T2 is preferably 130 ° C. or higher and 155 ° C. or lower
  • the temperature difference is It is preferable that it is 44 degreeC or more and 49 degrees C or less.
  • the first endothermic start temperature and the second endothermic start temperature can be measured using a differential scanning calorimeter (DSC).
  • DSC differential scanning calorimeter
  • the start temperature of the first endotherm and the start temperature of the second endotherm are usually based on the method described in JIS K7121: 1987 “Method for measuring plastic transition temperature” and “9.3 Glass transition temperature of the same standard”. It can be determined in accordance with the method for determining the extrapolated glass transition start temperature in “How to Obtain”.
  • the start temperature of the first endotherm and the start temperature of the second endotherm shown here are drawn at points where the gradient of the curve of the base line and the step-like change portion is almost parallel to the temperature axis of the DSC curve. Point of intersection with tangent.
  • sampling method and temperature conditions are as follows.
  • the start temperature of the first endotherm and the start temperature of the second endotherm are usually set so that there is no clearance at the bottom of the aluminum measurement container using a differential scanning calorimeter device (for example, DSC 6220, manufactured by SII Nano Technology).
  • a differential scanning calorimeter device for example, DSC 6220, manufactured by SII Nano Technology.
  • About 6 mg of the sample is packed, and the aluminum measurement container cover is crimped with a sealer, cooled from 30 ° C. to ⁇ 40 ° C. at a rate of 20 ° C./min under a nitrogen gas flow rate of 20 mL / min, held for 10 minutes, From the DSC curve obtained when the temperature is raised from ⁇ 40 ° C.
  • the starting temperature of the first endotherm is drawn at a point where the gradient of the curve of the step-like change portion is maximized with the straight line obtained by extending the lowest temperature side baseline of the DSC curve obtained by the above measurement to the high temperature side.
  • the start temperature of the second endotherm is a straight line obtained by extending the base line on the lowest temperature side, which is higher than the start temperature of the first endotherm obtained by the measurement, to the high temperature side, and the first endothermic temperature.
  • the temperature at the intersection with the tangent drawn at the point where the gradient of the curve of the step-like change part on the higher temperature side than the start temperature is maximized.
  • the specific heat capacity change in the endothermic direction of the DSC curve is 0.2 mJ. It is assumed that the above-described measurement is performed for a step-like change of / deg ⁇ mg or more.
  • the expandable resin particles from which the above DSC curve can be obtained when differential scanning calorimetry is measured can be obtained, for example, by the following three methods. That is, the expandable resin particles have a relatively low concentration of the foaming agent in contact with the resin particles, and when the foaming agent and the resin particles are contacted in a pressurized environment, the pressure is set to a relatively low pressure to the resin particles. It can be produced by a method of slowing impregnation of the foaming agent (first method). According to this method, the difference in the concentration of the foaming agent can be reduced between the center portion and the surface layer portion of the resin particles.
  • the foamable resin particles may be formed by surplus foaming agent from the surface of the foamable resin particles after impregnating the resin particles with an excessive foaming agent with a relatively high foaming agent in contact with the resin particles.
  • the pressure is set to a relatively high pressure so that the resin particles are impregnated sharply, and It can be produced by a method (third method) in which excess foaming agent is impregnated into resin particles and then surplus foaming agent is dissipated from the surface of the expandable resin particles.
  • the first method is a method of directly producing foamable resin particles having a relatively low concentration gradient of the foaming agent from the center portion to the surface layer portion
  • the second and third methods are the center portion.
  • This is a method in which the foaming resin particles having a relatively high concentration gradient of the foaming agent from the surface layer to the surface layer part are once produced and then the foaming agent is removed from the surface layer part to finally lower the concentration gradient of the foaming resin particles.
  • a method of dissipating and removing excess foaming agent from the surface of the foamable resin particles a method of simply holding the foamable resin particles in the atmosphere, a method of fluidly stirring in the atmosphere, or foamability
  • a method of applying cold air, hot air, hot air or the like to the resin particles can be employed.
  • a) is for expandable resin particles in which PEI resin particles are impregnated with excess blowing agent (acetone), and b) to d) are:
  • This a) is performed by dissipating the foaming agent from the surface of the expandable resin particles.
  • the foaming agent has a large amount of dissipation in the order of b), c), and d), and the foaming agent content of the expandable resin particles is as follows.
  • the expandable resin particles with which the DSC curve as described above can be obtained are obtained by impregnating the foaming agent from the surface of the resin particles and impregnating the resin particles with an excessive foaming agent, and then surplus from the surface of the expandable resin particles. It is desirable that the foaming agent be produced by a method that dissipates and removes the foaming agent to reduce the difference in the concentration of the foaming agent between the center portion and the surface layer portion.
  • the production method has an advantage that resin particles having a relatively uniform foaming agent concentration can be obtained in a relatively short time.
  • the foamable resin particles can be used, for example, as a material for forming a bead foam molded body after being heated and pre-foamed to obtain foamed particles (pre-foamed particles). That is, the bead foam molded body of the present embodiment includes a pre-foaming step in which the foamable resin particles are heated and foamed to obtain foamed particles, and the foamed particles are subjected to secondary foaming by heating the foamed particles in a mold. It can be obtained by carrying out an in-mold molding process in which the two are heat-sealed.
  • the expandable resin particles of the present embodiment are adjusted to draw a specific DSC curve, it is easy to obtain prefoamed particles in a well-foamed state in the prefoaming step, and the in-mold molding is performed. Good secondary foamability is also exhibited in the process. Therefore, the expandable resin particles of the present embodiment are suitable for forming a bead foam molded article having a good foamed state.
  • the pre-expanded particles preferably have a bulk density within a predetermined range so that in-mold molding for forming a bead foam molded body can be easily performed. If the pre-expanded particles have an excessively low bulk density, it may be difficult to make the bead-foamed molded article obtained by in-mold molding using the pre-expanded particles excellent in closed cell properties. On the other hand, when the pre-expanded particles have an excessively high bulk density, it becomes difficult to form a bead foam molded article having excellent lightness. Therefore, the pre-expanded particles preferably have a bulk density of 0.025 g / cm 3 or more, and more preferably 0.04 g / cm 3 or more. The bulk density of the pre-expanded particles is preferably 0.9 g / cm 3 or less, and more preferably 0.64 g / cm 3 or less.
  • the bulk density of the pre-expanded particles is the apparent density of the pre-expanded particles obtained by allowing the pre-expanded particles to fall naturally into the graduated cylinder, and reading the mass of the pre-expanded particles spontaneously dropped and the marked line of the graduated cylinder.
  • the upper volume can be obtained and calculated by the following formula.
  • Bulk density (g / cm 3 ) mass of pre-expanded particles (g) / volume of pre-expanded particles (cm 3 )
  • the pre-expanded particles preferably have an average cell diameter of 10 ⁇ m to 1200 ⁇ m.
  • the average cell diameter of the pre-expanded particles can be calculated as follows. That is, the average bubble diameter was obtained by cutting the pre-expanded particles by about half with a razor blade, expanding the pre-expanded particles by 18 times using a scanning electron microscope (“S-3000N” manufactured by Hitachi, Ltd.), and photographing the cut surface. The photographed image of the cut surface can be printed on A4 paper and calculated based on the image.
  • arbitrary line segments (length: 300 mm) are drawn at six locations on the paper on which the image is printed, and the average chord length for each line segment is calculated from the number of bubbles overlapping with the line segment (A) From the average chord length, the following (B) is calculated to obtain the bubble diameter (C), and the bubble diameters obtained for the six line segments can be averaged to obtain the average bubble diameter.
  • the line segment is drawn so as not to make point contact with the bubble as much as possible, and when it becomes point contact, the bubble is also included in the number of bubbles.
  • the said pre-expanded particle contains the said foaming agent more than fixed so that the in-mold shaping
  • the pre-expanded particles preferably exhibit a plasticizing effect by a foaming agent.
  • the above plasticizer may be used in combination.
  • the pre-foamed particles contain a foaming agent in a proportion of 0.1% by mass or more and 20% by mass or less.
  • the maximum temperature of the steam is limited by the pressure resistance of the molding machine. Therefore, in-mold molding is generally difficult at about 160 ° C. or higher, which is a saturated vapor equivalent to 0.5 MPa (gauge pressure).
  • the amount of impregnation of the foaming agent of the pre-foamed particles is 6% by mass or more so that the pre-foamed particles can be foamed well below this temperature range.
  • the impregnation amount (mass%) of the foaming agent can be calculated from the mass change when heated in an oven. Specifically, the impregnation amount (mass%) of the foaming resin particles and the pre-foamed particles with the foaming agent is about 1.5 g of the foamable resin particles or the pre-foamed particles, and this is used as a measurement sample.
  • the sample can be heated in an oven at 260 ° C. for 2 hours, and allowed to stand in an environment having an air temperature of 23 ° C. and a relative humidity of 50% for 2 hours.
  • Foaming agent impregnation amount (% by mass) (mass before heating (g) ⁇ mass after heating (g)) / mass before heating (g)
  • Foaming agent impregnation amount (% by mass) (mass before heating (g) ⁇ mass after heating (g)) / mass before heating (g)
  • the heating method is a heating method using oil, hot air, steam or the like as a heat medium, a radiant heating method using a heater, A microwave heating method, an electromagnetic induction heating method, or the like can be employed.
  • the process of producing the bead foam molded body by foaming the pre-foamed particles it is advantageous in terms of secondary foamability and fusion property between the secondary foam particles to use steam as a heat medium.
  • the method of using steam as a heat medium also has the advantage that existing equipment can be diverted.
  • the pre-foamed particles preferably contain 3% by mass or more, more preferably 6% by mass or more of the organic physical foaming agent in that the secondary foaming property and the fusibility between the secondary foamed particles are advantageous. It is more preferable.
  • the pre-expanded particles preferably exhibit a specific DSC curve when differential scanning calorimetry is performed.
  • the apparent glass transition temperature usually obtained by differential scanning calorimetric analysis of the pre-foamed particle depends on the effect of the plasticizing effect of the resin exhibited by the foaming agent. The temperature is lower than the glass transition temperature obtained for the original resin alone.
  • the pre-expanded particles that are advantageous for the secondary expandability and the fusion property between the secondary expanded particles preferably have a larger heat flow difference (Y difference) per unit mass in this endotherm.
  • Y difference heat flow difference
  • (Tg ⁇ 150 ° C.) is (Y1), from 67 ° C. to 207 ° C. (Tg ⁇ 10 ° C.)
  • the difference (Y1 ⁇ Y2) is preferably 0.170 mW / mg or more.
  • the difference in heat flow per unit mass can be measured using a differential scanning calorimeter (DSC).
  • DSC differential scanning calorimeter
  • the heat flow difference is measured based on the method described in JIS K7122: 2012 “Method for measuring the transition heat of plastic”. About 6 mg of the sample is filled in the bottom of the aluminum simple sealed measurement container that has been subjected to the allodynic treatment using a differential scanning calorimeter DSC 6220 (made by SII Nano Technology), and the nitrogen gas flow rate is 20 mL / min. From the DSC curve obtained when the temperature was raised from 30 ° C. to 290 ° C. at a rate of 20 ° C./min, the heat flow difference (mW) was calculated using analysis software attached to the apparatus.
  • Tg 217 ° C. to 67 ° C.
  • the heat flow difference per unit mass can be obtained from the heat flow difference and the mass of the measurement sample, and can be calculated by the following equation.
  • Heat flow difference per unit mass (mW / mg) Heat flow difference (mW) / Mass of measurement sample (mg)
  • acetone is employed as the foaming agent
  • the pre-expanded particles can be produced by heating the foamable resin particles with steam or hot air.
  • the steam is supplied to a mold filled with the pre-expanded particles, and a bead foam molded product in which the pre-expanded particles are well heat-sealed can be obtained.
  • the bead foam molded body preferably has an apparent density of 0.032 g / cm 3 or more and 0.64 g / cm 3 or less, and preferably has an average cell diameter of 10 ⁇ m or more and 1200 ⁇ m or less.
  • the bead foam molding exhibits excellent lightness by setting the apparent density to 0.032 g / cm 3 or more.
  • the bead foam molded article exhibits excellent mechanical strength when the apparent density is 0.64 g / cm 3 or less. Further, the bead foam molded product can suppress the formation of open cells even when the foaming ratio is improved by setting the average cell diameter to 10 ⁇ m or more. Furthermore, the bead foam molded product exhibits excellent mechanical strength and exhibits a good appearance when the average cell diameter is 1200 ⁇ m or less.
  • the bead foam molded article has a dimensional change rate of -1.5% to 1.5% by a heating test at 180 ° C. for 7 days, and can be easily used for various high heat resistant members and flame retardant members. It becomes.
  • the dimensional change rate by the heating test at 180 ° C. ⁇ 7 days can be obtained as follows. (How to obtain the dimensional change rate)
  • the heating dimensional change rate of the foamed molded product can be measured by the method B described in JIS K6767: 1999 “Foamed Plastics-Polyethylene Test Method”. Specifically, the heating dimensional change rate can be measured using a test piece obtained by cutting out a test piece whose planar shape is a square having a side of 150 mm and whose thickness is the thickness of the foam molded article from the foam molded article. First, three straight lines (length: 100 mm) parallel to each other in the vertical and horizontal directions are written at intervals of 50 mm in the center of the test piece.
  • the lengths of three straight lines are measured in the vertical and horizontal directions, respectively, and their arithmetic average value (L 0 ) is taken as the initial dimension.
  • the test piece is left in a 180 ° C. hot air circulating dryer for 168 hours to conduct a heating test, and then taken out, and the test piece is left at 25 ° C. for 1 hour.
  • the length of each of the three straight lines in the vertical and horizontal directions entered on the surface of the test piece is measured again, and the arithmetic average value (L 1 ) is taken as the dimension after heating, based on the following formula:
  • the heating dimensional change rate is calculated.
  • Dimensional change rate (%) (L 1 ⁇ L 0 ) / (L 0 ) ⁇ 100 (%)
  • expandable resin particles the pre-expanded particles, and the bead foam molded body are not limited to those illustrated above, and various modifications can be added to the above-described exemplary embodiments.
  • pre-expanded particles obtained by hot-cutting a resin composition containing a foaming agent from an extruder, and a method for producing a bead foam-molded body using the pre-expanded particles Will be described.
  • the pre-expanded particles of the present embodiment are pre-expanded particles used for forming a bead-foamed molded body by in-mold molding, and are resin particles containing an organic physical foaming agent together with a resin. It is foamed.
  • the pre-expanded particles in the present embodiment are hot cut while being extruded from an extruder, and are expanded into a granular foam during the extrusion.
  • the pre-expanded particles are resin particles that are made of a resin composition and have bubbles inside, mainly composed of a high heat-resistant resin having a glass transition temperature of 180 ° C. or higher, and a bulk density of 0.04 g / cm 3 or higher. 0.9 g / cm 3 or less.
  • the pre-expanded particles of the present embodiment When the bulk density of the pre-expanded particles of the present embodiment is less than 0.04 g / cm 3 , the bead foam-molded product obtained by in-mold molding using the pre-expanded particles is excellent in closed cell properties. Can be difficult. On the other hand, when the pre-expanded particles have a bulk density of more than 0.9 g / cm 3 , it becomes difficult to form a bead-foamed molded article having excellent lightness. That is, the pre-expanded particles of the present embodiment have a bulk density suitable for obtaining a bead foam molded article having a low density and excellent mechanical properties. Note that the bulk density of the pre-expanded particles can be obtained by the method described in the first embodiment.
  • the pre-expanded particles preferably have an average volume obtained by calculating the volume of each particle corresponding to the volume of a true sphere having a diameter of 1 mm to 15 mm. More preferably, it corresponds to the volume.
  • the pre-expanded particles preferably have an average particle diameter expressed by the diameter of a true sphere having the same volume as the average volume of 1 mm or more and 15 mm or less, and the average particle diameter of 1 mm or more and 10 mm or less. More preferred.
  • the glass transition temperature of the high heat-resistant resin that is the main component of the pre-expanded particles is preferably 300 ° C. or lower, and more preferably 260 ° C. or lower, common to the first embodiment.
  • the high heat-resistant resin does not need to contain one kind of pre-expanded particles alone, and two or more kinds of pre-expanded particles may be contained in the pre-expanded particles.
  • the pre-expanded particles may contain a resin having a glass transition temperature of less than 180 ° C. in addition to the high heat-resistant resin, but preferably contain 50% by mass or more of the high heat-resistant resin, 75 More preferably, it is contained in an amount of at least 90% by mass, particularly preferably at least 90% by mass. It is particularly preferable that the pre-expanded particles contain substantially only a high heat resistant resin.
  • the organic physical foaming agent When the organic physical foaming agent has an excessively low boiling point compared to the glass transition temperature of the high heat resistant resin, the prefoamed particles are sufficiently softened when the prefoamed particles are used to form the bead foam molded product. May volatilize before. Therefore, the said pre-expanded particle becomes suitable for formation of the bead foam molding which has favorable foamability by containing the organic type physical foaming agent which has a predetermined
  • the organic physical foaming agent is preferably an organic compound having a boiling point of 100 ° C. or higher, and is preferably an organic compound having a boiling point of 120 ° C. or higher.
  • the organic physical foaming agent preferably has a boiling point of 220 ° C. or lower because if it has an excessively high boiling point, it must be heated to an excessively high temperature in order to foam the pre-expanded particles in in-mold molding.
  • the organic physical foaming agent preferably has a plasticizing effect on the high heat resistant resin. That is, the organic physical foaming agent has an apparent glass transition temperature observed when the glass transition temperature of the resin composition constituting the pre-expanded particles is measured is higher than the glass transition temperature originally possessed by the high heat resistant resin. Also preferred are those that result in a low temperature.
  • the organic physical foaming agent is particularly preferably one that can make the apparent glass transition temperature lower than the boiling point of the organic physical foaming agent.
  • the pre-expanded particles of the present embodiment contain the organic physical foaming agent so that the glass transition temperature of the resin composition is lower than the glass transition temperature of the high heat resistant resin. preferable.
  • the pre-expanded particles have a glass transition temperature of the resin composition of Tg 1 (° C.), a glass transition temperature of the high heat resistance resin of Tg 2 (° C.), and a boiling point of the organic physical foaming agent of Tb (° C. ), It is preferable to have the relationship shown in the following (1). Tg 1 ⁇ Tb ⁇ Tg 2 (1)
  • a pre-expanded particle will be in the softened state in in-mold shaping
  • the pre-expanded particles of the present embodiment have an advantage in obtaining a bead-foamed molded product having excellent fusion properties between particles.
  • the pre-expanded particles can exert the foaming force by the organic physical foaming agent without being heated to an excessively high temperature in the in-mold molding. Therefore, it is possible to make it difficult for the bead foam molded body to be affected by thermal degradation or the like.
  • the pre-expanded particles are organic physical foaming agents that can lower the glass transition temperature (Tg 1 ) of the resin composition by 10 ° C. or more than the glass transition temperature (Tg 2 ) of the high heat resistant resin. It is preferable to contain, and it is preferable to have the relationship shown in the following (2). Tg 1 ⁇ Tb ⁇ (Tg 2 ⁇ 10 ° C.) (2)
  • the pre-expanded particles contain an organic physical foaming agent that can lower the glass transition temperature (Tg 1 ) of the resin composition by 20 ° C. or more than the glass transition temperature (Tg 2 ) of the high heat resistant resin. Is more preferable.
  • the organic physical foaming agent examples include hydrocarbons, alcohols, diols, ketones, ethers, and the like.
  • the organic physical foaming agent is preferably methylphenyl ether, ethylene glycol, propylene glycol or the like.
  • the organic physical foaming agent preferably has a content of 2% by mass or more in the pre-expanded particles in that the plasticizing effect as described above can be more reliably exhibited. It is preferable that In addition, the preferable content of the organic physical foaming agent in the pre-expanded particles is usually 10% by mass or less.
  • the content of the organic physical foaming agent in the pre-expanded particles can be measured by a known method such as a head space GC / MS method or a measurement of heat loss by a differential thermothermal mass simultaneous measurement device.
  • the pre-expanded particles may further contain, for example, a bubble regulator as exemplified in the first embodiment.
  • the air bubble adjusting agent is blended in an amount of 0.01 to 2 parts by mass with respect to 100 parts by mass of resin, for example.
  • the blending amount of the cell regulator with respect to 100 parts by mass of the resin is more preferably 0.02 to 1 part by mass.
  • the pre-expanded particles are preferably produced by an extruder as described above. More specifically, the pre-expanded particles use an extruder and a mold having one or more nozzles, and the resin and the organic physical foaming agent are used in the extruder while the mold is attached to the tip of the extruder.
  • An extrusion process in which the resin composition is melt-kneaded, and the resin composition is extruded and foamed from the nozzle to atmospheric pressure, and a granulation process in which the extruded and foamed resin composition is granulated. It is preferable to implement it.
  • the pre-expanded particles are formed into organic liquid physics that are in a liquid state at a temperature below the boiling point of the organic physical foaming agent after forming expanded resin particles that do not contain a foaming agent. Also by a method of immersing the resin particles in a foaming agent or a method in which the resin particles are present in the foaming agent gas at a temperature at which the resin particles are not thermally contracted and at a temperature equal to or higher than the boiling point of the organic physical foaming agent. Although it can be produced, it is preferable to produce by an extruder as described above in that the process can be simplified as compared with other methods.
  • the method of obtaining the pre-expanded particles (resin expanded particles) by forming the resin composition that has been extruded and foamed into particles a method of cutting and granulating the strand-shaped foam that has been extruded and foamed from the nozzle, or melting from the nozzle A method of granulating by hot cutting while extruding the resin composition in a state can be employed.
  • a cutter that rotates at a rotational speed of 2000 to 10000 rpm can be used.
  • a strand or sheet is formed with a resin composition, and the strand or sheet is sufficiently cooled and then cut to produce a granular material.
  • hot cutting is a method in which a molten resin composition is continuously extruded from a nozzle, and the molten resin composition is collected at the tip of the nozzle until it reaches a certain size and then cut with a cutter. It is.
  • This granulation method is called “hot cut” because the retained matter at the tip of the nozzle formed of the resin composition is cut before the retained matter has cooled down. For this reason, resin particles having a nearly spherical shape are easily obtained by the granulation method using hot cut.
  • the granulation method by hot cut has an advantage that resin particles having a uniform size can be easily obtained by adjusting the amount of the resin composition extruded from the nozzle per unit time and the timing of cutting by the cutter.
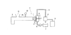
  • FIG. 2a is a diagram showing the apparatus configuration of the hot cut granulator
  • FIG. 2b is a schematic sectional view showing the internal structure of the hot cut granulator.
  • the hot cut granulator T includes an extruder 2 having a granulation mold 1 attached to the tip thereof, and a chamber 4 containing a cutter 3.
  • the extruder 2 is for melting and kneading a resin composition containing a foaming agent, and the cutter 3 periodically supplies a molten resin composition that is continuously discharged from the nozzle 15 of the mold 1. It is for cutting. That is, the hot cut granulator T is configured such that the resin composition is extruded and foamed and the resin composition is cut by the cutter 3 to produce resin foam particles.
  • the hot cut granulator T of the present embodiment is configured such that cooling water can be introduced into the chamber 4 to cool the resin foam particles to control the degree of foaming of the resin foam particles.
  • a pipe line 5 for flowing circulating water is connected to the chamber 4, and one end of the pipe line 5 (upstream side from the chamber 4) It is connected to a water tank 7 via a pump 6.
  • the other end (downstream side of the chamber 4) of the pipe 5 is provided with a dehydration processing unit 8 for separating the resin foam particles from the circulating water, and dehydrating and drying.
  • the foam beads separated and dehydrated and dried by the dehydration processing unit 8 are sent to the container 9, and the water is returned to the water tank 7.
  • the extruder 2 includes a hopper 21 for introducing a resin into the extruder, a foaming agent supply port 22 for introducing a foaming agent into the extruder, And a high-pressure pump 23 and the like.
  • the mold 1 includes a main body portion 10 and a holder 11 fixed to the distal end side (right side in the drawing) of the extruder 2, and the main body portion 10 is extruded through the holder 11. It is fixed to the machine 2.
  • the holder 11 includes resin flow paths 11 a and 11 b communicating with the cylinder of the extruder 2.
  • the holder 11 has an intermediate portion in the resin extrusion direction movable (movable up and down in FIG. 2b), and the movable portion blocks the flow of the resin to the main body 10 and discharges the resin to the outside. This is a valve 13 for this purpose.
  • the valve 13 has a first flow path 11c penetrating from the upstream side to the downstream side and a second flow path 11d extending from the upstream side to the side surface portion of the holder 11, and is configured to be able to switch between these flow paths. Yes.
  • the main body 10 is configured such that a molten resin composition supplied from the extruder 2 through the holder 11 can be discharged from a plurality of nozzles 15 that open to the front end surface of the main body 10 through a plurality of resin flow paths 14. It has become.
  • a plurality of nozzles 15 are arranged on the circumference, and the nozzles 15 are arranged at predetermined intervals in the circumferential direction.
  • the cutter 3 includes a substrate 3a arranged to face the front surface 10f of the main body 10, a rotating shaft 3b for rotating the substrate 3a, and a plurality of cutting blades 3c mounted on one side of the substrate 3a. It has.
  • the substrate 3a is arranged so that the surface facing the main body 10 is substantially parallel to the front surface 10f of the main body 10, and the cutting blade 3c is mounted on the main body 10 side.
  • the cutter 3 of the present embodiment is configured so that the substrate 3a can be rotated while maintaining a state parallel to the front surface 10f of the main body 10.
  • the plurality of cutting blades 3c are provided with their cutting edges directed toward the main body 10, and the substrate 3a is drawn so as to draw a circumference corresponding to the circumference where the nozzles 15 are arranged when the substrate 3a is rotated. It is attached to.
  • the cutter 3 of this embodiment is rotated to cut the resin composition discharged from the nozzle 15 and staying at the tip of the nozzle when the cutting edge of the cutting blade 3b passes in front of the nozzle 15.
  • Resin foam particles can be formed.
  • the resin expanded particles can be used as they are or as pre-expanded particles for forming a bead expanded molded body by further adjusting the expansion degree.
  • the pre-expanded particles are mainly composed of a high heat-resistant resin having a glass transition temperature of 180 ° C. or higher. Therefore, the method of heating the pre-expanded particles in the mold using steam used in general in-mold molding is difficult to apply to the pre-expanded particles of the present embodiment. That is, the pre-expanded particles of the present embodiment may not be sufficiently softened unless extremely high-pressure steam is used, and in in-mold molding, not by steam but by heat transfer or radiant heat from the mold. It is preferable to heat.
  • a method capable of heating the molding die to a high temperature a heating method using a heat medium such as oil, a heating method using a heater, an electromagnetic induction heating method, a microwave heating method, etc.
  • a heating method using a heat medium such as oil
  • a heating method using a heater an electromagnetic induction heating method, a microwave heating method, etc.
  • the mold filled with the pre-expanded particles is heated to a range of ⁇ 30 ° C.
  • the temperature of the mold is higher than (Tg 2 + 30 ° C.)
  • the pre-expanded particles near the inner wall surface of the mold are melted by heat before the pre-expanded particles in the center of the mold are sufficiently heated.
  • the temperature of the mold in the in-mold molding should be within a range of ⁇ 20 ° C. ([Tg 2 ⁇ 20 ° C.] to [Tg 2 + 20 ° C.]) of the glass transition temperature of the high heat resistant resin. Is preferred.
  • heating is performed so that the temperature rise rate inside the mold becomes 1 ° C./min or more in that the quality difference between the surface layer and the inside is small and it becomes easy to obtain a bead foam molded body as a whole. Preferably it is done.
  • the bead foam molded body obtained as described above is simply excellent in heat resistance. In addition, it can be excellent in closed cell properties and light weight.
  • the foaming molding employs a strand-like or sheet-like pre-foaming body. It is also possible to make it.
  • the strand-shaped pre-foamed body preferably has a thickness of 1 mm to 15 mm, more preferably 1 mm to 10 mm. The thickness of the strand-shaped pre-foamed body is obtained, for example, as the diameter of a circle having the same area as the average cross-sectional area by dividing the volume of the pre-foamed body by the length to obtain the average cross-sectional area.
  • the average thickness is preferably 1 mm to 15 mm, and more preferably 1 mm to 10 mm.
  • the thickness of the sheet-like preliminary foam is determined by dividing the volume of the preliminary foam by the area, for example.
  • the strand-shaped pre-foamed body or sheet-shaped pre-foamed body preferably has an apparent density required in accordance with JIS K7222 of 0.04 g / cm 3 or more and 1.2 g / cm 3 or less.
  • 05G / cm 3 or more more preferably 1.1 g / cm 3 or less, even more preferably at most 0.06 g / cm 3 or more 1.0 g / cm 3.
  • the pre-foamed body is filled in the mold with the molding space (product volume) in the mold as V (cm 3 ).
  • the mass of M is M (g)
  • a foam molded product having the same performance as a bead foam molded product obtained by in-mold molding of pre-expanded particles can be produced using a strand-shaped pre-foamed product or a sheet-shaped pre-foamed product.
  • pre-expanded particles and the bead-foamed molded body of the present embodiment are not limited to those illustrated above, Further, various changes can be added.
  • the bead foam molded body produced in the first embodiment or the second embodiment is excellent in strength and heat resistance. Moreover, since the bead foam molded body produced in these embodiments has a high glass transition temperature, high strength is maintained even at high temperatures. Therefore, while a general resin foam does not have a high closed cell ratio, it is difficult to exhibit excellent strength, whereas the bead foam molded body of the present embodiment has an open cell ratio of a certain level or more. Even if it is, it exhibits excellent strength. Moreover, the bead foam molded body of this embodiment is processed at a high temperature in the formation of expandable resin particles and the formation of pre-expanded particles, and in-mold molding using the pre-expanded particles is also performed at a high temperature. Low molecular weight components such as resin decomposition products may be present in the cell membrane. Moreover, the foaming agent may remain in the bead foam molded body of the present embodiment.
  • the polyetherimide (PEI) resin and the polyethersulfone (PESU) resin have a feature that they can exhibit high dimensional stability with respect to a resin molded product.
  • Polyethersulfone (PESU) resin is characterized by a low linear expansion coefficient compared to other resins. For this reason, molded articles made of these resins exhibit high dimensional stability even in places where environmental changes such as temperature and humidity are drastic.
  • the closed cell ratio of the bead foam molded product is high, the decomposition product of the foaming agent and the resin remaining in the cell membrane volatilizes when the bead foam molded product is brought into a heated state. By increasing the internal pressure, the bead foam molding is expanded in volume. Then, if the closed cell ratio of the bead foam molded product is high, the above-described characteristics of the PEI resin or PESU resin itself may not be sufficiently utilized.
  • the bead foam molded body of the present embodiment preferably has an open cell ratio of 10% or more and more preferably has an open cell ratio of 20% or more in order to quickly release the decomposition products and the foaming agent.
  • the open cell ratio is particularly preferably 30% or more.
  • the open cell ratio of the bead foam molded product is preferably 90% or less, and more preferably 85% or less.
  • the open cell rate of a bead foaming molding can be measured with the following method.
  • the dimensions of the test piece are measured to 1/100 mm using a measuring instrument (for example, trade name “Digimatic Caliper” manufactured by Mitutoyo Corporation), and the apparent volume (cm 3 ) is obtained.
  • the volume (cm 3 ) of the measurement sample is obtained by the 1-1 / 2-1 atmospheric pressure method using an air comparison type hydrometer (for example, “1000 type” manufactured by Tokyo Science Co., Ltd.). Note that the air-comparing hydrometer is corrected with a standard sphere (large 28.9 cc, small 8.5 cc).
  • the open cell ratio of the bead foam molded product is the arithmetic average value of the open cell ratios of the five test pieces.
  • the bead foam molded body produced in the first embodiment or the second embodiment has through-holes formed in the internal cell membrane at a certain ratio or more.
  • the bead foam molded body has a through-hole between one or more bubbles per 10 bubbles.
  • the ratio of the bubble which has a through-hole it can obtain
  • the sample cut surface was magnified 30 times and photographed, 100 bubbles were randomly selected on the photographed cut surface, and a through hole was formed in the bubble. The number of bubbles (n) is counted to determine the ratio of bubbles having through holes (n / 100).
  • Examples of the SEM used at this time include a product name “S-3000N” of Hitachi, Ltd.
  • the cut surface is observed with a magnification lower than 30 times. If the bubbles are so large that 100 bubbles cannot be confirmed even at the lowest magnification of the SEM, the ratio of bubbles having through holes is obtained from all the bubbles on the photographed cut surface.
  • FIG. 3 is a photograph taken by SEM of a cut surface of a bead foam molded body made of PEI resin produced by the method described in “Production Evaluation 1 of Bead Foam Molded Body 1” in Examples described later.
  • 4A and 4B are images obtained by enlarging the square boxes A and B in FIG.
  • FIG. 5 is an image of a cut surface of a PESU resin bead foam molded body produced by the method described in “Manufacturing evaluation 2 of bead foam molded body” in Examples to be described later.
  • 6A and 6B are images obtained by enlarging the square boxes A and B in FIG.
  • cracked through holes can be confirmed at the portions indicated by the block arrows in FIGS. 4 a and 4 b.
  • a round-hole-shaped through-hole can be confirmed in the part shown by the block arrow in FIG. 6a and FIG. 6b.
  • the open cell ratio of the bead foam molded body and the number of the through holes can be usually adjusted by the content of the foaming agent in the pre-foamed particles, the heating conditions when the pre-foamed particles are molded in the mold, and the like. it can.
  • the bead foam molded article thus produced is excellent in heat resistance, strength, light weight and the like.
  • the present invention is not limited to the above examples. That is, the present invention can add various changes to the matters exemplified above.
  • the dried resin is put into a single screw extruder ( ⁇ 40 mm, L / D40), melted under the following conditions, and the strand coming out from a mold (caliber ⁇ 1.5 mm, land length 1 mm) attached to the extruder
  • the non-foamed polyetherimide resin was cooled in a water tank and pelletized to produce resin pellets having a diameter of 1.0 mm and a length of 1.1 mm.
  • Pre-expanded particles having a bulk density of 0.106 g / cm 3 were obtained by applying hot air at 160 ° C. for 30 seconds to the expandable resin particles obtained in the above process.
  • the obtained pre-expanded particles had an average cell diameter of 300 ⁇ m.
  • Example 1-5 (Process for producing bead foam molding: in-mold molding)
  • the remaining amount of the foaming agent in the pre-expanded particles was 10.8% by mass.
  • the heat flow difference read from the DSC measurement result was 0.224 mW / mg (a in FIG. 7).
  • the pre-expanded particles are filled into a molding die having an internal volume of 300 mm ⁇ 400 mm ⁇ 30 mm, saturated steam of 0.32 MPa is applied to the pre-expanded particles under the conditions shown in Table 2, and the pre-expanded particles are heated to 2 by steam heating.
  • in-mold molding was performed for foaming.
  • PEI resin pellets having a diameter of 1.0 mm and a length of 1.1 mm were obtained in the same manner as in Example 1-4.
  • the PEI resin pellets were placed in a 300 cc pressure vessel and kept at 20 ° C. in a 3 MPa carbon dioxide atmosphere for 48 hours to impregnate carbon dioxide. Thereafter, after the pressure in the pressure vessel was lowered to normal pressure, the PEI resin pellets were taken out from the pressure vessel and pre-foamed by applying 60 ° C. hot air for 60 seconds to produce pre-foamed particles.
  • the obtained pre-expanded particles had a very fine average cell diameter of 13 ⁇ m, but the bulk density was as high as 0.363 g / cm 3 , making it difficult to achieve high foaming.
  • Example 1-7 (Process for producing bead foam molding: in-mold molding)
  • the remaining amount of the foaming agent in the pre-expanded particles was 5.5% by mass.
  • the heat flow difference read from the DSC measurement result was 0.162 mW / mg (b in FIG. 7).
  • In-mold molding was performed in the same manner as in Case 1-11 except that the pre-expanded particles in Case 1-7 were used. However, in the same method as in Case 1-11, the pre-expanded particles were not fused together and could not be molded.
  • the foamable resin particles of Examples 1-1 to 1-10 and Examples 1-16 and 17 are foamable resins comprising a resin composition containing a resin having a glass transition temperature of 180 ° C. or higher and an organic physical foaming agent. Particles.
  • the expandable resin particles of Case 1-18 are expandable resin particles made of a resin composition containing a resin having a glass transition temperature of 180 ° C. or higher and a physical foaming agent.
  • the expandable resin particles of Examples 1-1 to 1-10 have a DSC curve measured by a differential scanning calorimeter of at least two times below the glass transition temperature of the resin as the main component.
  • the glass transition temperature of the resin is Tg (° C.)
  • the boiling point of the organic physical foaming agent is Tb (° C.)
  • the first endothermic start temperature T1 of the two endotherms is (° C. )
  • Tb the start temperature of the second endotherm
  • all of the following conditions (x) to (z) are satisfied.
  • the expandable resin particles of Examples 1-16 to 1-18 do not satisfy all of these conditions. Therefore, in order to obtain a bead-foamed molded article having excellent heat resistance and a good foamed state, it is effective that the foamable resin particles satisfy all the above conditions (x) to (z). I understand that. Further, as can be seen from Table 2, the pre-expanded particles of Examples 1-11 to 1-15 have a residual amount of acetone as a foaming agent of 6% by mass or more, and the DSC measurement is measured by a differential scanning calorimeter. The heat flow difference read from the result is 0.170 mW / mg or more.
  • the residual amount of the foaming agent was less than 6% by mass, and the heat flow difference read from the DSC measurement result measured by the differential scanning calorimeter was less than 0.170 mW / mg. ing. From this, it can be seen that it is effective to leave 6% by mass or more of the foaming agent in the pre-expanded particles in order to obtain a foamed bead-molded article having a good foamed state from a resin having excellent heat resistance. It can also be seen that it is effective in obtaining a foamed bead foam molded article in which the heat flow difference of the pre-expanded particles read from the DSC measurement result is 0.170 mW / mg or more.
  • propylene glycol (boiling point: 189 ° C.) as an organic physical foaming agent is press-fitted so as to have a ratio of 4% by mass, further melt-kneaded, and the resin composition having foamability is extruded.
  • the resin composition was extruded and foamed to atmospheric pressure through the nozzle having a ⁇ 1.5 mm nozzle attached to the tip of the extruder and allowed to cool at the same time to obtain a strand-like foam.
  • This strand-like foam was cut directly through a pelletizer to obtain pre-expanded particles having a bulk density of 0.325 g / cm 3 .
  • the discharge rate was 4.5 kg / h, and the resin temperature during extrusion was 259 ° C.
  • the resin temperature during extrusion was 259 ° C.
  • the differential scanning calorimeter DSC
  • the apparent glass transition temperature of the resin composition which comprises pre-expanded particle is falling to 183 degreeC.
  • the pre-expanded particles were measured for heat loss by a thermal mass measurement / differential thermal analyzer (TG / DTA), it was found that the content of the organic physical foaming agent was 3.7% by mass.
  • the heating loss was measured using a differential thermothermal mass simultaneous measurement device, “TG / DTA6200 type (manufactured by SII Nano Technology)”.
  • the sampling method and temperature conditions are as follows. About 15 mg of the sample was filled so that there was no gap at the bottom of the platinum measurement container, and the measurement was performed using alumina as a reference substance at a nitrogen gas flow rate of 230 mL / min. The measurement was performed based on a TG / DTA curve when the temperature was raised from 30 ° C. to 400 ° C. at a rate of 10 ° C./min. From the obtained curve, using the analysis software attached to the apparatus, the heating residue at 400 ° C. was obtained, and the mass loss from the original mass was taken as the heating loss.
  • an aluminum mold having an inner size of 300 mm ⁇ 100 mm ⁇ 30 mm was prepared.
  • the mold was filled with pre-expanded particles and heated in a hot air oven (trade name “DRM420DA” manufactured by ADVANTEC Co., Ltd.) in which the internal temperature was set to 270 ° C.
  • a thermocouple was set so that the temperature of the inner wall of the mold and the center of the mold could be measured.
  • the mold was taken out from the hot air oven, allowed to cool and then taken out from the mold.
  • the inner wall of the mold was 240 ° C.
  • the bulk density made of a resin composition whose main component is a resin having a glass transition temperature of 180 ° C. or higher (PESU resin: glass transition temperature 225 ° C.) is 0.04 g / cm 3 or higher and 0.9 g / It can be seen that by forming a bead foam molded body with resin foam particles of cm 3 or less, a bead foam molded body having excellent heat resistance and a good foamed state can be obtained.

Landscapes

  • Chemical & Material Sciences (AREA)
  • Engineering & Computer Science (AREA)
  • Health & Medical Sciences (AREA)
  • Chemical Kinetics & Catalysis (AREA)
  • Medicinal Chemistry (AREA)
  • Polymers & Plastics (AREA)
  • Organic Chemistry (AREA)
  • Materials Engineering (AREA)
  • Mechanical Engineering (AREA)
  • Manufacture Of Porous Articles, And Recovery And Treatment Of Waste Products (AREA)
  • Processing And Handling Of Plastics And Other Materials For Molding In General (AREA)
  • Molding Of Porous Articles (AREA)
PCT/JP2015/077704 2014-09-30 2015-09-30 ビーズ発泡成形体、樹脂発泡粒子、樹脂発泡粒子の製造方法、発泡性樹脂粒子、及び、ビーズ発泡成形体の製造方法 Ceased WO2016052604A1 (ja)

Priority Applications (8)

Application Number Priority Date Filing Date Title
US15/323,787 US10815354B2 (en) 2014-09-30 2015-09-30 Bead expanded molded article, resin expanded particles, method for producing resin expanded particles, expandable resin particles and method for producing bead expanded molded article
EP15846822.3A EP3202837B1 (en) 2014-09-30 2015-09-30 Method for producing bead foam molded body
JP2016543238A JP6064096B2 (ja) 2014-09-30 2015-09-30 発泡性樹脂粒子、発泡性樹脂粒子の製造方法、及び、ビーズ発泡成形体の製造方法
CN201580045799.9A CN106795313B (zh) 2014-09-30 2015-09-30 珠粒发泡成型体及其制造方法、树脂发泡颗粒及其制造方法、发泡性树脂颗粒
KR1020177004985A KR101954116B1 (ko) 2014-09-30 2015-09-30 비즈 발포 성형체, 수지 발포 입자, 수지 발포 입자의 제조 방법, 발포성 수지 입자, 및 비즈 발포 성형체의 제조 방법
EP19163447.6A EP3527614B1 (en) 2014-09-30 2015-09-30 Method for producing resin expanded particles
KR1020187023374A KR101967142B1 (ko) 2014-09-30 2015-09-30 비즈 발포 성형체, 수지 발포 입자, 수지 발포 입자의 제조 방법, 발포성 수지 입자, 및 비즈 발포 성형체의 제조 방법
US16/701,369 US10947359B2 (en) 2014-09-30 2019-12-03 Bead expanded molded article, resin expanded particles, method for producing resin expanded particles, expandable resin particles and method for producing bead expanded molded article

Applications Claiming Priority (4)

Application Number Priority Date Filing Date Title
JP2014200892 2014-09-30
JP2014-200892 2014-09-30
JP2014-255231 2014-12-17
JP2014255231 2014-12-17

Related Child Applications (2)

Application Number Title Priority Date Filing Date
US15/323,787 A-371-Of-International US10815354B2 (en) 2014-09-30 2015-09-30 Bead expanded molded article, resin expanded particles, method for producing resin expanded particles, expandable resin particles and method for producing bead expanded molded article
US16/701,369 Division US10947359B2 (en) 2014-09-30 2019-12-03 Bead expanded molded article, resin expanded particles, method for producing resin expanded particles, expandable resin particles and method for producing bead expanded molded article

Publications (1)

Publication Number Publication Date
WO2016052604A1 true WO2016052604A1 (ja) 2016-04-07

Family

ID=55630629

Family Applications (1)

Application Number Title Priority Date Filing Date
PCT/JP2015/077704 Ceased WO2016052604A1 (ja) 2014-09-30 2015-09-30 ビーズ発泡成形体、樹脂発泡粒子、樹脂発泡粒子の製造方法、発泡性樹脂粒子、及び、ビーズ発泡成形体の製造方法

Country Status (7)

Country Link
US (2) US10815354B2 (enExample)
EP (2) EP3202837B1 (enExample)
JP (2) JP6064096B2 (enExample)
KR (2) KR101967142B1 (enExample)
CN (2) CN106795313B (enExample)
TW (2) TWI600688B (enExample)
WO (1) WO2016052604A1 (enExample)

Cited By (5)

* Cited by examiner, † Cited by third party
Publication number Priority date Publication date Assignee Title
JP2018053037A (ja) * 2016-09-27 2018-04-05 積水化成品工業株式会社 樹脂成形品、及び、ビーズ発泡体の製造方法
WO2019025245A1 (de) 2017-08-04 2019-02-07 Basf Se Expandierbare, treibmittelhaltige granulate auf basis von hochtemperaturthermoplasten
JP2020531648A (ja) * 2017-08-24 2020-11-05 エボニック オペレーションズ ゲーエムベーハー 航空機内装の用途向けのpei粒子発泡体
JP2021504523A (ja) * 2017-11-27 2021-02-15 エボニック オペレーションズ ゲーエムベーハー 航空機内装品において使用するためのpesuパーティクルフォーム
JP2023531118A (ja) * 2020-04-03 2023-07-21 エボニック オペレーションズ ゲーエムベーハー 軽量構造用途のpeiまたはpei-peek粒子発泡体

Families Citing this family (5)

* Cited by examiner, † Cited by third party
Publication number Priority date Publication date Assignee Title
JP7117829B2 (ja) * 2017-07-03 2022-08-15 株式会社ジェイエスピー オレフィン系熱可塑性エラストマー発泡粒子
US11485832B2 (en) * 2017-11-27 2022-11-01 Evonik Operations Gmbh High-temperature foams with reduced resin absorption for producing sandwich materials
US11780981B2 (en) 2018-12-06 2023-10-10 Exxonmobil Chemical Patents Inc. Foam beads and method of making the same
US20200247012A1 (en) * 2019-02-05 2020-08-06 Scott DeFelice Method for Grinding Materials for Additive Manufacturing
CN113416341B (zh) * 2021-06-01 2022-05-24 中山大学 一种聚酯发泡珠粒和聚酯发泡珠粒成型体及其制备方法

Citations (5)

* Cited by examiner, † Cited by third party
Publication number Priority date Publication date Assignee Title
JPS5936139A (ja) * 1982-08-24 1984-02-28 Toyobo Co Ltd 耐熱性発泡体
JPH03190939A (ja) * 1988-12-15 1991-08-20 General Electric Co <Ge> 発泡性ポリエーテルイミド樹脂
JPH03192135A (ja) * 1989-10-26 1991-08-22 General Electric Co <Ge> 超短波エネルギーによる熱可塑性樹脂ビーズの発泡方法
JPH06322168A (ja) * 1993-02-11 1994-11-22 Minnesota Mining & Mfg Co <3M> 熱可塑性発泡物品およびその製造方法
WO2013053851A1 (en) * 2011-10-12 2013-04-18 Solvay Specialty Polymers Usa, Llc Polyetherimide/ poly(biphenyl ether sulfone) foam materials

Family Cites Families (19)

* Cited by examiner, † Cited by third party
Publication number Priority date Publication date Assignee Title
GB8303111D0 (en) 1983-02-04 1983-03-09 Smith Tech Dev Foam production
US4532263A (en) * 1983-12-12 1985-07-30 Mobil Oil Corporation Expansible polymer molding process and the resultant product
EP0186308B1 (en) 1984-11-22 1992-01-29 Asahi Kasei Kogyo Kabushiki Kaisha Expandable polyetherimide compositions and foamed materials obtained therefrom
JPS63500457A (ja) 1985-07-24 1988-02-18 モ−ビル・オイル・コ−ポレ−シヨン ポリマ−発泡体、その熱成形体及びその成形方法
US4727093A (en) * 1986-10-27 1988-02-23 General Electric Company Low density particles of polyphenylene ether resins
DE3925740A1 (de) 1989-08-03 1991-02-07 Basf Ag Verfahren zur herstellung von expandierbarem granulat und schaumstoffen daraus
US5095041A (en) * 1989-12-27 1992-03-10 General Electric Company Simple process for imbibing blowing agents in thermoplastic resin granules
CN1060998C (zh) 1994-09-28 2001-01-24 松下电器产业株式会社 中空结构件的制造方法及中空结构件
DE19605359A1 (de) 1996-02-14 1997-08-21 Hoechst Ag Kunststoff-Schäume und Verfahren zu deren Herstellung
US6527993B1 (en) 1998-11-12 2003-03-04 Sekisui Plastics Co., Ltd. Method for producing foamed-in-mold product of aromatic polyester based resin
DE10162602A1 (de) 2001-12-20 2003-07-10 Basf Ag Verfahren zur Herstellung von Schaumstoffbahnen aus hochtemperaturbeständigen Polysulfonen oder Polyethersulfonen
DE10307736A1 (de) 2003-02-24 2004-09-02 Basf Ag Offenzelliger Schaumstoff aus hochschmelzenden Kunststoffen
DE10358801A1 (de) * 2003-12-12 2005-07-14 Basf Ag Partikelschaumformteile aus expandierbaren Styrolpolymeren und Mischungen mit thermoplastischen Polymeren
TW200530297A (en) * 2004-01-13 2005-09-16 Jsp Corp Thermoplastic resin pellet, process for preparing thermoplastic resin pellets and expanded thermoplastic resin bead
US20070149629A1 (en) 2005-12-22 2007-06-28 Michael Stephen Donovan Expanded and expandable high glass transition temperature polymers
JP5545988B2 (ja) 2010-06-23 2014-07-09 積水化成品工業株式会社 発泡性樹脂粒子及びその製造方法、予備発泡粒子ならびに発泡成形体
DE102011110216A1 (de) 2010-08-18 2012-02-23 Basf Se Partikelschaumstoffe mit verbesserter Steifigkeit
US20140227506A1 (en) 2011-08-29 2014-08-14 Yusuke Kuwabara Foamed aromatic polyester-based resin particles for in-mold foam molding and method of producing the same, in-mold foam molded product, composite structural component, and component for automobile
WO2015097058A1 (en) 2013-12-23 2015-07-02 Solvay Specialty Polymers Usa, Llc New foam materials

Patent Citations (5)

* Cited by examiner, † Cited by third party
Publication number Priority date Publication date Assignee Title
JPS5936139A (ja) * 1982-08-24 1984-02-28 Toyobo Co Ltd 耐熱性発泡体
JPH03190939A (ja) * 1988-12-15 1991-08-20 General Electric Co <Ge> 発泡性ポリエーテルイミド樹脂
JPH03192135A (ja) * 1989-10-26 1991-08-22 General Electric Co <Ge> 超短波エネルギーによる熱可塑性樹脂ビーズの発泡方法
JPH06322168A (ja) * 1993-02-11 1994-11-22 Minnesota Mining & Mfg Co <3M> 熱可塑性発泡物品およびその製造方法
WO2013053851A1 (en) * 2011-10-12 2013-04-18 Solvay Specialty Polymers Usa, Llc Polyetherimide/ poly(biphenyl ether sulfone) foam materials

Cited By (13)

* Cited by examiner, † Cited by third party
Publication number Priority date Publication date Assignee Title
JP2018053037A (ja) * 2016-09-27 2018-04-05 積水化成品工業株式会社 樹脂成形品、及び、ビーズ発泡体の製造方法
JP7216071B2 (ja) 2017-08-04 2023-01-31 ビーエーエスエフ ソシエタス・ヨーロピア 高温熱可塑性樹脂をベースとする発泡剤含有膨張性造粒体
WO2019025245A1 (de) 2017-08-04 2019-02-07 Basf Se Expandierbare, treibmittelhaltige granulate auf basis von hochtemperaturthermoplasten
KR20200039711A (ko) * 2017-08-04 2020-04-16 바스프 에스이 고온 열가소성 물질에 기반한 발포성, 발포제 함유 펠릿
JP2021503513A (ja) * 2017-08-04 2021-02-12 ビーエイエスエフ・ソシエタス・エウロパエアBasf Se 高温熱可塑性樹脂をベースとする発泡剤含有膨張性造粒体
KR102614476B1 (ko) 2017-08-04 2023-12-15 바스프 에스이 고온 열가소성 물질에 기반한 발포성, 발포제 함유 펠릿
US11499028B2 (en) 2017-08-04 2022-11-15 Basf Se Expandable, expanding-agent-containing granules based on high-temperature thermoplastics
JP2020531648A (ja) * 2017-08-24 2020-11-05 エボニック オペレーションズ ゲーエムベーハー 航空機内装の用途向けのpei粒子発泡体
JP7315534B2 (ja) 2017-08-24 2023-07-26 エボニック オペレーションズ ゲーエムベーハー 航空機内装の用途向けのpei粒子発泡体
IL272841B1 (en) * 2017-08-24 2026-02-01 Evonik Operations Gmbh PEI particle foams for aviation interior applications
JP2021504523A (ja) * 2017-11-27 2021-02-15 エボニック オペレーションズ ゲーエムベーハー 航空機内装品において使用するためのpesuパーティクルフォーム
JP2023531118A (ja) * 2020-04-03 2023-07-21 エボニック オペレーションズ ゲーエムベーハー 軽量構造用途のpeiまたはpei-peek粒子発泡体
JP2025023982A (ja) * 2020-04-03 2025-02-19 エボニック オペレーションズ ゲーエムベーハー 軽量構造用途のpeiまたはpei-peek粒子発泡体

Also Published As

Publication number Publication date
US10815354B2 (en) 2020-10-27
CN106795313B (zh) 2019-12-06
KR20170038007A (ko) 2017-04-05
US20200102439A1 (en) 2020-04-02
JP6473119B2 (ja) 2019-02-20
TWI564327B (zh) 2017-01-01
CN110922630A (zh) 2020-03-27
JPWO2016052604A1 (ja) 2017-04-27
EP3527614B1 (en) 2020-11-18
KR101967142B1 (ko) 2019-04-09
EP3202837A4 (en) 2018-05-02
KR101954116B1 (ko) 2019-03-05
US20180186958A1 (en) 2018-07-05
EP3527614A1 (en) 2019-08-21
JP2017025337A (ja) 2017-02-02
KR20180094139A (ko) 2018-08-22
TW201639907A (zh) 2016-11-16
EP3202837A1 (en) 2017-08-09
US10947359B2 (en) 2021-03-16
TWI600688B (zh) 2017-10-01
CN106795313A (zh) 2017-05-31
JP6064096B2 (ja) 2017-01-18
EP3202837B1 (en) 2019-12-11
TW201619257A (zh) 2016-06-01

Similar Documents

Publication Publication Date Title
JP6473119B2 (ja) ビーズ発泡成形体、樹脂発泡粒子、樹脂発泡粒子の製造方法、発泡性樹脂粒子、及び、ビーズ発泡成形体の製造方法
JP6632699B2 (ja) スチレン系樹脂発泡性粒子及びその製造方法、発泡粒子、発泡成形体並びにその用途
WO2011118706A1 (ja) 発泡性ポリスチレン系樹脂粒子とその製造方法、ポリスチレン系樹脂予備発泡粒子、ポリスチレン系樹脂発泡成形体、熱可塑性樹脂予備発泡粒子とその製造方法、及び熱可塑性樹脂発泡成形体
JP4933913B2 (ja) 発泡性スチレン系樹脂粒子とその製造方法、スチレン系樹脂発泡粒子及びスチレン系樹脂発泡成形品
TW201219468A (en) Expandable polystyrene resin bead and producing method thereof, polystyrene resin preliminary expanded bead, polystyrene resin foam and producing method thereof, heat insulating material and cushioning material
JP5603628B2 (ja) 発泡性ポリスチレン系樹脂粒子とその製造方法、ポリスチレン系樹脂予備発泡粒子の製造方法及びポリスチレン系樹脂発泡成形体の製造方法
JP7370722B2 (ja) 樹脂発泡粒子の製造方法
JP5027599B2 (ja) 発泡性ポリ乳酸系樹脂粒子の製造方法
JP5756003B2 (ja) 発泡性ポリスチレン系樹脂粒子とその製造方法、ポリスチレン系樹脂予備発泡粒子及びポリスチレン系樹脂発泡成形体
JP5492581B2 (ja) 熱可塑性樹脂発泡成形体
JP5704831B2 (ja) 気泡含有発泡性ポリスチレン系樹脂粒子とその製造方法、ポリスチレン系樹脂予備発泡粒子及びポリスチレン系樹脂発泡成形体の製造方法
JP2013072003A (ja) 発泡性ポリスチレン系樹脂粒子とその製造方法、ポリスチレン系樹脂予備発泡粒子及びポリスチレン系樹脂発泡成形体
JP7232690B2 (ja) 樹脂発泡成形体の製造方法
WO2023054542A1 (ja) ポリアミド系樹脂発泡粒子、ポリアミド系樹脂組成物、及び製造方法
JP5734611B2 (ja) 発泡性ポリスチレン系樹脂粒子とその製造方法、ポリスチレン系樹脂予備発泡粒子、ポリスチレン系樹脂発泡成形体
JP2013227537A (ja) 発泡性ポリスチレン系樹脂粒子とその製造方法、予備発泡粒子及び発泡成形体
JP2013203821A (ja) 発泡性ポリスチレン系樹脂粒子とその製造方法、予備発泡粒子及び発泡成形体
JP2012077115A (ja) 断熱材とその製造方法
JP2007262345A (ja) 発泡性スチレン系樹脂粒子、スチレン系樹脂発泡粒子及びスチレン系樹脂発泡成形品

Legal Events

Date Code Title Description
121 Ep: the epo has been informed by wipo that ep was designated in this application

Ref document number: 15846822

Country of ref document: EP

Kind code of ref document: A1

ENP Entry into the national phase

Ref document number: 2016543238

Country of ref document: JP

Kind code of ref document: A

REEP Request for entry into the european phase

Ref document number: 2015846822

Country of ref document: EP

WWE Wipo information: entry into national phase

Ref document number: 2015846822

Country of ref document: EP

ENP Entry into the national phase

Ref document number: 20177004985

Country of ref document: KR

Kind code of ref document: A

NENP Non-entry into the national phase

Ref country code: DE