WO2016047083A1 - 電子装置の製造方法、及び電子装置 - Google Patents

電子装置の製造方法、及び電子装置 Download PDF

Info

Publication number
WO2016047083A1
WO2016047083A1 PCT/JP2015/004655 JP2015004655W WO2016047083A1 WO 2016047083 A1 WO2016047083 A1 WO 2016047083A1 JP 2015004655 W JP2015004655 W JP 2015004655W WO 2016047083 A1 WO2016047083 A1 WO 2016047083A1
Authority
WO
WIPO (PCT)
Prior art keywords
circuit board
mold
hole
electronic device
substrate
Prior art date
Legal status (The legal status is an assumption and is not a legal conclusion. Google has not performed a legal analysis and makes no representation as to the accuracy of the status listed.)
Ceased
Application number
PCT/JP2015/004655
Other languages
English (en)
French (fr)
Japanese (ja)
Inventor
哲人 山岸
竹中 正幸
永谷 利博
真二 平光
Current Assignee (The listed assignees may be inaccurate. Google has not performed a legal analysis and makes no representation or warranty as to the accuracy of the list.)
Denso Corp
Original Assignee
Denso Corp
Priority date (The priority date is an assumption and is not a legal conclusion. Google has not performed a legal analysis and makes no representation as to the accuracy of the date listed.)
Filing date
Publication date
Application filed by Denso Corp filed Critical Denso Corp
Priority to US15/318,695 priority Critical patent/US9832872B2/en
Publication of WO2016047083A1 publication Critical patent/WO2016047083A1/ja
Anticipated expiration legal-status Critical
Ceased legal-status Critical Current

Links

Images

Classifications

    • HELECTRICITY
    • H05ELECTRIC TECHNIQUES NOT OTHERWISE PROVIDED FOR
    • H05KPRINTED CIRCUITS; CASINGS OR CONSTRUCTIONAL DETAILS OF ELECTRIC APPARATUS; MANUFACTURE OF ASSEMBLAGES OF ELECTRICAL COMPONENTS
    • H05K1/00Printed circuits
    • H05K1/02Details
    • H05K1/11Printed elements for providing electric connections to or between printed circuits
    • H05K1/115Via connections; Lands around holes or via connections
    • BPERFORMING OPERATIONS; TRANSPORTING
    • B29WORKING OF PLASTICS; WORKING OF SUBSTANCES IN A PLASTIC STATE IN GENERAL
    • B29CSHAPING OR JOINING OF PLASTICS; SHAPING OF MATERIAL IN A PLASTIC STATE, NOT OTHERWISE PROVIDED FOR; AFTER-TREATMENT OF THE SHAPED PRODUCTS, e.g. REPAIRING
    • B29C43/00Compression moulding, i.e. applying external pressure to flow the moulding material; Apparatus therefor
    • B29C43/02Compression moulding, i.e. applying external pressure to flow the moulding material; Apparatus therefor of articles of definite length, i.e. discrete articles
    • B29C43/18Compression moulding, i.e. applying external pressure to flow the moulding material; Apparatus therefor of articles of definite length, i.e. discrete articles incorporating preformed parts or layers, e.g. compression moulding around inserts or for coating articles
    • BPERFORMING OPERATIONS; TRANSPORTING
    • B29WORKING OF PLASTICS; WORKING OF SUBSTANCES IN A PLASTIC STATE IN GENERAL
    • B29CSHAPING OR JOINING OF PLASTICS; SHAPING OF MATERIAL IN A PLASTIC STATE, NOT OTHERWISE PROVIDED FOR; AFTER-TREATMENT OF THE SHAPED PRODUCTS, e.g. REPAIRING
    • B29C70/00Shaping composites, i.e. plastics material comprising reinforcements, fillers or preformed parts, e.g. inserts
    • B29C70/68Shaping composites, i.e. plastics material comprising reinforcements, fillers or preformed parts, e.g. inserts by incorporating or moulding on preformed parts, e.g. inserts or layers, e.g. foam blocks
    • B29C70/78Moulding material on one side only of the preformed part
    • HELECTRICITY
    • H01ELECTRIC ELEMENTS
    • H01LSEMICONDUCTOR DEVICES NOT COVERED BY CLASS H10
    • H01L21/00Processes or apparatus adapted for the manufacture or treatment of semiconductor or solid state devices or of parts thereof
    • H01L21/02Manufacture or treatment of semiconductor devices or of parts thereof
    • H01L21/04Manufacture or treatment of semiconductor devices or of parts thereof the devices having potential barriers, e.g. a PN junction, depletion layer or carrier concentration layer
    • H01L21/50Assembly of semiconductor devices using processes or apparatus not provided for in a single one of the groups H01L21/18 - H01L21/326 or H10D48/04 - H10D48/07 e.g. sealing of a cap to a base of a container
    • H01L21/56Encapsulations, e.g. encapsulation layers, coatings
    • H01L21/565Moulds
    • HELECTRICITY
    • H05ELECTRIC TECHNIQUES NOT OTHERWISE PROVIDED FOR
    • H05KPRINTED CIRCUITS; CASINGS OR CONSTRUCTIONAL DETAILS OF ELECTRIC APPARATUS; MANUFACTURE OF ASSEMBLAGES OF ELECTRICAL COMPONENTS
    • H05K1/00Printed circuits
    • H05K1/18Printed circuits structurally associated with non-printed electric components
    • H05K1/181Printed circuits structurally associated with non-printed electric components associated with surface mounted components
    • HELECTRICITY
    • H05ELECTRIC TECHNIQUES NOT OTHERWISE PROVIDED FOR
    • H05KPRINTED CIRCUITS; CASINGS OR CONSTRUCTIONAL DETAILS OF ELECTRIC APPARATUS; MANUFACTURE OF ASSEMBLAGES OF ELECTRICAL COMPONENTS
    • H05K3/00Apparatus or processes for manufacturing printed circuits
    • H05K3/22Secondary treatment of printed circuits
    • H05K3/28Applying non-metallic protective coatings
    • HELECTRICITY
    • H05ELECTRIC TECHNIQUES NOT OTHERWISE PROVIDED FOR
    • H05KPRINTED CIRCUITS; CASINGS OR CONSTRUCTIONAL DETAILS OF ELECTRIC APPARATUS; MANUFACTURE OF ASSEMBLAGES OF ELECTRICAL COMPONENTS
    • H05K3/00Apparatus or processes for manufacturing printed circuits
    • H05K3/22Secondary treatment of printed circuits
    • H05K3/28Applying non-metallic protective coatings
    • H05K3/284Applying non-metallic protective coatings for encapsulating mounted components
    • BPERFORMING OPERATIONS; TRANSPORTING
    • B29WORKING OF PLASTICS; WORKING OF SUBSTANCES IN A PLASTIC STATE IN GENERAL
    • B29CSHAPING OR JOINING OF PLASTICS; SHAPING OF MATERIAL IN A PLASTIC STATE, NOT OTHERWISE PROVIDED FOR; AFTER-TREATMENT OF THE SHAPED PRODUCTS, e.g. REPAIRING
    • B29C70/00Shaping composites, i.e. plastics material comprising reinforcements, fillers or preformed parts, e.g. inserts
    • B29C70/88Shaping composites, i.e. plastics material comprising reinforcements, fillers or preformed parts, e.g. inserts characterised primarily by possessing specific properties, e.g. electrically conductive or locally reinforced
    • BPERFORMING OPERATIONS; TRANSPORTING
    • B29WORKING OF PLASTICS; WORKING OF SUBSTANCES IN A PLASTIC STATE IN GENERAL
    • B29LINDEXING SCHEME ASSOCIATED WITH SUBCLASS B29C, RELATING TO PARTICULAR ARTICLES
    • B29L2031/00Other particular articles
    • B29L2031/34Electrical apparatus, e.g. sparking plugs or parts thereof
    • B29L2031/3425Printed circuits
    • HELECTRICITY
    • H01ELECTRIC ELEMENTS
    • H01LSEMICONDUCTOR DEVICES NOT COVERED BY CLASS H10
    • H01L23/00Details of semiconductor or other solid state devices
    • H01L23/28Encapsulations, e.g. encapsulating layers, coatings, e.g. for protection
    • H01L23/31Encapsulations, e.g. encapsulating layers, coatings, e.g. for protection characterised by the arrangement or shape
    • H01L23/3107Encapsulations, e.g. encapsulating layers, coatings, e.g. for protection characterised by the arrangement or shape the device being completely enclosed
    • H01L23/3121Encapsulations, e.g. encapsulating layers, coatings, e.g. for protection characterised by the arrangement or shape the device being completely enclosed a substrate forming part of the encapsulation
    • HELECTRICITY
    • H01ELECTRIC ELEMENTS
    • H01LSEMICONDUCTOR DEVICES NOT COVERED BY CLASS H10
    • H01L2924/00Indexing scheme for arrangements or methods for connecting or disconnecting semiconductor or solid-state bodies as covered by H01L24/00
    • H01L2924/0001Technical content checked by a classifier
    • H01L2924/0002Not covered by any one of groups H01L24/00, H01L24/00 and H01L2224/00
    • HELECTRICITY
    • H05ELECTRIC TECHNIQUES NOT OTHERWISE PROVIDED FOR
    • H05KPRINTED CIRCUITS; CASINGS OR CONSTRUCTIONAL DETAILS OF ELECTRIC APPARATUS; MANUFACTURE OF ASSEMBLAGES OF ELECTRICAL COMPONENTS
    • H05K2201/00Indexing scheme relating to printed circuits covered by H05K1/00
    • H05K2201/09Shape and layout
    • H05K2201/09818Shape or layout details not covered by a single group of H05K2201/09009 - H05K2201/09809
    • H05K2201/09827Tapered, e.g. tapered hole, via or groove
    • HELECTRICITY
    • H05ELECTRIC TECHNIQUES NOT OTHERWISE PROVIDED FOR
    • H05KPRINTED CIRCUITS; CASINGS OR CONSTRUCTIONAL DETAILS OF ELECTRIC APPARATUS; MANUFACTURE OF ASSEMBLAGES OF ELECTRICAL COMPONENTS
    • H05K2201/00Indexing scheme relating to printed circuits covered by H05K1/00
    • H05K2201/10Details of components or other objects attached to or integrated in a printed circuit board
    • H05K2201/10227Other objects, e.g. metallic pieces
    • H05K2201/10409Screws
    • HELECTRICITY
    • H05ELECTRIC TECHNIQUES NOT OTHERWISE PROVIDED FOR
    • H05KPRINTED CIRCUITS; CASINGS OR CONSTRUCTIONAL DETAILS OF ELECTRIC APPARATUS; MANUFACTURE OF ASSEMBLAGES OF ELECTRICAL COMPONENTS
    • H05K2203/00Indexing scheme relating to apparatus or processes for manufacturing printed circuits covered by H05K3/00
    • H05K2203/13Moulding and encapsulation; Deposition techniques; Protective layers
    • H05K2203/1305Moulding and encapsulation
    • H05K2203/1316Moulded encapsulation of mounted components
    • HELECTRICITY
    • H05ELECTRIC TECHNIQUES NOT OTHERWISE PROVIDED FOR
    • H05KPRINTED CIRCUITS; CASINGS OR CONSTRUCTIONAL DETAILS OF ELECTRIC APPARATUS; MANUFACTURE OF ASSEMBLAGES OF ELECTRICAL COMPONENTS
    • H05K2203/00Indexing scheme relating to apparatus or processes for manufacturing printed circuits covered by H05K3/00
    • H05K2203/13Moulding and encapsulation; Deposition techniques; Protective layers
    • H05K2203/1305Moulding and encapsulation
    • H05K2203/1327Moulding over PCB locally or completely
    • HELECTRICITY
    • H05ELECTRIC TECHNIQUES NOT OTHERWISE PROVIDED FOR
    • H05KPRINTED CIRCUITS; CASINGS OR CONSTRUCTIONAL DETAILS OF ELECTRIC APPARATUS; MANUFACTURE OF ASSEMBLAGES OF ELECTRICAL COMPONENTS
    • H05K3/00Apparatus or processes for manufacturing printed circuits
    • H05K3/30Assembling printed circuits with electric components, e.g. with resistor
    • H05K3/32Assembling printed circuits with electric components, e.g. with resistor electrically connecting electric components or wires to printed circuits
    • H05K3/34Assembling printed circuits with electric components, e.g. with resistor electrically connecting electric components or wires to printed circuits by soldering
    • H05K3/3447Lead-in-hole components

Definitions

  • the present disclosure relates to an electronic device manufacturing method and an electronic device.
  • the component mounting board includes a board composed of a plurality of conductive plates, an internal electrical component electrically connected to the board, and a resin sealing portion that seals the board and the internal electrical component. Yes.
  • the component mounting board has an opening formed in the sealing portion, and a terminal hole located in the opening is formed in the substrate.
  • the component mounting board is provided with a sealing portion in a state where the surface of the board around the terminal hole is exposed.
  • the component mounting board when providing a sealing part with respect to a board
  • the component mounting board is manufactured by molding the sealing portion while closing the terminal hole by bringing the pressing member into contact with the surface of the substrate in order to prevent the resin constituting the sealing portion from entering the terminal hole. it can.
  • the contact area between the pressing member and the substrate needs to be large enough to prevent the resin from leaking out between the pressing member and the substrate.
  • the component mounting board may have a larger physique in the planar direction corresponding to the area where the pressing member is in contact with the surface of the board.
  • This disclosure is intended to provide a method for manufacturing an electronic device capable of suppressing an increase in physique. Another object of the present disclosure is to provide an electronic device having a reduced physique.
  • a circuit board having wiring formed on a resin base material, a circuit element mounted on one surface of the circuit board, and the circuit element provided on the one surface of the circuit board, A mold through hole that penetrates the circuit board in the thickness direction, and a mold penetration that communicates with the board through hole and penetrates the mold resin in the thickness direction.
  • a method of manufacturing an electronic device in which a hole is formed, a first mold to which the circuit board is fixed, a second mold having a concave cavity in which a constituent material of the mold resin is disposed A method of manufacturing an electronic device using a pressing member that protrudes from a bottom surface of a cavity and presses the circuit board, wherein the circuit board on which the circuit element is mounted is attached to the first mold.
  • the pressing member is pressed from the one surface side to close the opening on the one surface side in the substrate through hole, and the second mold is the one surface or the first metal so that the cavity faces the one surface.
  • the component material is solidified while covering the one surface and the circuit element with the component material in the cavity in a state where the opening is closed by the pressing member and the cavity is sealed. Forming the mold resin.
  • a part of the pressing member is pressed against the circuit board in a state where the pressing member is inserted into the substrate through hole, so that the opening area of the substrate through hole is changed from the opening end on the one surface side to the back surface side.
  • the opening is closed in a state where the circuit board is deformed into an inclined shape so as to become narrower.
  • the pressing member is provided so as to protrude from the bottom surface of the second mold, and the molding process is performed in a state where the pressing member is inserted into the substrate through hole. It is possible to manufacture an electronic device having a mold resin on which is formed.
  • the electronic device manufacturing method described above closes the substrate through hole with the pressing member, it is possible to prevent the constituent material from entering the substrate through hole. Furthermore, since the method for manufacturing the electronic device is formed in a state where the pressing member is pressed against the circuit board so that the circuit board is deformed, it is possible to further suppress the constituent material from entering the through hole of the board. .
  • the pressing member is in contact with the portion of the circuit board that is deformed into an inclined shape. That is, the substrate through-hole is sealed by the pressing member being in close contact with the portion deformed into an inclined shape.
  • at least a part of the seal surface for suppressing the constituent material from entering the substrate through hole can be inclined.
  • the electronic device manufacturing method described above can tilt at least a part of the seal surface, and therefore, the size in the planar direction is larger than the case where a seal surface equivalent to the area of the seal surface is formed on one surface of the circuit board. The electronic device can be manufactured while suppressing the increase in the size.
  • the electronic device is provided on a circuit board on which a wiring is formed on a resin base, a circuit element mounted on one surface of the circuit board, and the one surface of the circuit board. And a mold resin that seals the circuit element.
  • the circuit board has a substrate through hole penetrating in the thickness direction of the circuit board, and an opening area of the substrate through hole is narrowed from an opening end on the one surface side to a back surface side opposite to the one surface. It has a substrate inclined portion having a shape inclined.
  • the mold resin penetrates in the thickness direction of the mold resin and has a mold through hole communicating with the substrate through hole.
  • the substrate inclined portion is a portion deformed by a pressing member that closes the substrate through hole while providing the mold through hole during molding of the mold resin.
  • the substrate inclined portion is a portion deformed by a pressing member that closes the substrate through hole while forming the mold through hole during molding of the mold resin. Therefore, the surface of the substrate inclined portion becomes a seal surface. For this reason, the electronic device described above can be reduced in size in the planar direction as compared with the case where a sealing surface equivalent to the area of the sealing surface is formed on one surface of the circuit board.
  • FIG. 1 is a plan view illustrating a schematic configuration of an electronic device according to an embodiment.
  • FIG. 2 is a sectional view taken along line II-II in FIG.
  • FIG. 3 is a block diagram illustrating a schematic configuration of the navigation device according to the embodiment.
  • FIG. 4 is a block diagram illustrating a schematic configuration of the navigation device according to the embodiment.
  • FIG. 5 is a cross-sectional view showing a fixing process of the manufacturing method in the embodiment
  • FIG. 6 is a cross-sectional view illustrating a resin-sintering process of the manufacturing method according to the embodiment.
  • FIG. 1 is a plan view illustrating a schematic configuration of an electronic device according to an embodiment.
  • FIG. 2 is a sectional view taken along line II-II in FIG.
  • FIG. 3 is a block diagram illustrating a schematic configuration of the navigation device according to the embodiment.
  • FIG. 4 is a block diagram illustrating a schematic configuration of the navigation device according to the embodiment.
  • FIG. 5 is
  • FIG. 7 is a cross-sectional view showing a first ascending step of the manufacturing method in the embodiment
  • FIG. 8 is a cross-sectional view showing a second ascending step of the manufacturing method in the embodiment
  • FIG. 9 is a cross-sectional view illustrating a pressure-holding step of the manufacturing method according to the embodiment
  • FIG. 10 is a cross-sectional view illustrating a first release step of the manufacturing method according to the embodiment.
  • FIG. 11 is a cross-sectional view illustrating a second release step of the manufacturing method according to the embodiment.
  • FIG. 12 is a perspective view illustrating a schematic configuration of a pin in the embodiment.
  • FIG. 13 is an enlarged cross-sectional view of the substrate through-hole portion at the time of the first ascent process, FIG.
  • FIG. 14 is an enlarged cross-sectional view of the substrate through-hole portion at the time of the second ascending step
  • FIG. 15 is an enlarged cross-sectional view of the substrate through-hole portion at the time of the second mold release step
  • FIG. 16 is a plan view illustrating a schematic configuration of the mold package structure according to the embodiment.
  • FIG. 17 is a cross-sectional view illustrating a schematic configuration of a circuit board and a mold resin in Modification Example 1
  • FIG. 18 is a cross-sectional view illustrating a schematic configuration of the circuit board before the conductive portion in the first modification is deformed.
  • FIG. 19 is a cross-sectional view showing a schematic configuration of a circuit board before the resin base material in Modification 1 is deformed
  • FIG. 20 is a cross-sectional view illustrating a schematic configuration of the circuit board in a state where the resin base material and the conductive portion in Modification 1 are deformed
  • FIG. 21 is a cross-sectional view showing a schematic configuration of a circuit board and a mold resin in Modification 2.
  • FIG. 22 is a cross-sectional view illustrating a schematic configuration of a circuit board and a mold resin in Modification 3.
  • FIG. 23 is a cross-sectional view illustrating a schematic configuration of a circuit board in Modification 4.
  • FIG. 24 is a cross-sectional view showing a schematic configuration of a circuit board and a mold resin in Modification 5.
  • FIG. 25 is a cross-sectional view showing a schematic configuration of a circuit board in Modification 6.
  • FIG. 26 is a cross-sectional view illustrating a schematic configuration of a circuit board in Modification 7.
  • FIG. 27 is a cross-sectional view showing a schematic configuration of a circuit board in Modification 8.
  • FIG. 28 is a cross-sectional view showing a schematic configuration of a circuit board in Modification 9.
  • FIG. 29 is a cross-sectional view illustrating a schematic configuration of an electronic device according to the tenth modification.
  • the electronic device 100 includes a circuit board 10, a heating element 21 as a circuit element mounted on one surface S ⁇ b> 1 of the circuit board 10, and a heating element 21 provided on the one surface S ⁇ b> 1 of the circuit board 10.
  • the mold resin 40 is sealed.
  • an example in which the electronic device 100 is applied to an in-vehicle electronic device mounted in an engine room of a vehicle is employed.
  • the electronic device 100 can be applied to an inverter device as an example of an in-vehicle electronic device.
  • the electronic device 100 can also be applied to a device different from the in-vehicle electronic device.
  • in-mold elements 22 and 23 are mounted on one surface S ⁇ b> 1 of the circuit board 10 via solder 32 and solder 33 in addition to the heat generating element 21, and the mold resin 40. It may be sealed with.
  • the in-mold elements 22 and 23 are circuit elements such as a chip capacitor and a diode.
  • the electronic device 100 may include a heating element 21 and in-mold elements 22 and 23 in the mold resin 40 as part of circuit elements constituting the inverter.
  • the circuit board 10 is obtained by forming a wiring 13 made of a conductive member on an insulating resin base material.
  • a so-called build-up board including a core layer and a build-up layer laminated on the core layer can be adopted.
  • the circuit board 10 may be a so-called any layer board in which a core layer is not provided and a plurality of buildup layers are laminated.
  • the circuit board 10 is provided with a land on which the heating element 21 and the in-mold elements 22 and 23 are mounted on one surface S1. This land is electrically connected to the wiring 13.
  • the circuit board 10 can be rephrased as a printed board.
  • the circuit board 10 has, for example, a rectangular parallelepiped shape. That is, the circuit board 10 has one surface S1 and a back surface S2 having a rectangular shape, and has four side surfaces 12 provided continuously on the one surface S1 and the back surface S2.
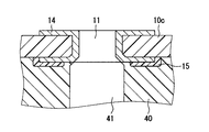
  • the circuit board 10 is provided with a substrate through hole 11 penetrating in its thickness direction.
  • the substrate through hole 11 is a hole that reaches the back surface S2 from the one surface S1. It can be said that the substrate through-hole 11 is a space surrounded by the wall surface of the resin base material. This wall surface can also be said to be the inner wall surface of the circuit board 10.
  • the substrate through hole 11 is a hole into which the screw 300 is inserted.
  • the circuit board 10 has, for example, substrate through holes 11 at four corners in a plane horizontal in the thickness direction of the circuit board 10.
  • the screw 300 has a screw head 310 and a screw groove portion 320 formed on the tip side of a portion provided protruding from the screw head 310.
  • the heating element 21 is a circuit element mounted on one surface S1 of the circuit board 10, and generates heat when it operates.
  • a MOSFET or IGBT can be used as the heating element 21.
  • the heating element 21 is a switching element provided as a part of the inverter in the inverter device.
  • the heating element 21 can also be called a power element.
  • the heating element 21 is, for example, a bare-chip semiconductor element having electrodes formed on both sides.
  • the heating element 21 is mounted on the circuit board 10 via the solder 31 with its mounting surface facing the one surface S1 of the circuit board 10. That is, the heating element 21 is mounted on the circuit board 10 with the mounting surface side electrode electrically and mechanically connected to the solder 31.
  • the heating element 21 is mounted on a land provided on the one surface S ⁇ b> 1 of the circuit board 10 via the solder 31. Note that the heating element 21 may be mounted on the circuit board 10 via a conductive adhesive different from the solder 31.
  • the heat generating element 21 has a clip 34 mechanically and electrically connected to a non-mounting surface that is the opposite surface of the mounting surface to the circuit board 10.
  • the clip 34 is a member mainly composed of a metal such as copper.
  • the clip 34 includes an element side portion facing the non-mounting surface of the heat generating element 21, a substrate side portion facing the one surface S ⁇ b> 1 of the circuit board 10, and a connection portion connecting the element side portion and the substrate side portion. It is a member provided integrally.
  • the clip 34 is electrically and mechanically connected to the electrode on the non-mounting surface side of the heating element 21, and the board side portion is electrically and mechanically connected to the land of the circuit board 10. .
  • the clip 34 is electrically and mechanically connected to the heating element 21 and the circuit board 10 via a conductive connection member such as solder.
  • the clip 34 has a function as a heat sink for radiating heat generated from the heat generating element 21 in addition to a function as a terminal for electrically connecting the heat generating element 21 and the circuit board 10. .
  • the heating element 21 has the clip 34 electrically and mechanically connected to the non-mounting surface. For this reason, the heat generated from the heating element 21 is transmitted from the non-mounting surface to the element side portion of the clip 34. Therefore, it can be said that the clip 34 is provided so that the heat generated from the heating element 21 is easily radiated from the non-mounting surface side.
  • the clip 34 is electrically and mechanically connected to the electrode on the non-mounting surface side while the element side portion faces the entire area of the non-mounting surface of the heat generating element 21. By doing in this way, the clip 34 can improve heat dissipation rather than the case where the element side site
  • the clip 34 may be electrically and mechanically connected to the electrode on the non-mounting surface side while the element side portion faces only a part of the non-mounting surface. Further, the present disclosure can achieve the object even if the clip 34 is not provided.
  • the mold resin 40 is made of, for example, an epoxy resin or the like mixed with a filler such as AL 2 O 3 .
  • the mold resin 40 is provided on one surface S1 and seals the heating element 21.
  • the mold resin 40 integrally seals a connection portion between the heat generating element 21 and the circuit board 10, that is, a land or solder 31.
  • the mold resin 40 integrally seals the clip 34, the connection portion between the clip 34 and the heating element, and the connection portion between the clip 34 and the circuit board 10 together with the heating element 21.
  • the mold resin 40 of the present embodiment integrally forms the elements 22 and 23 in the mold and the connection parts between the elements 22 and 23 in the mold and the circuit board 10, that is, lands and solders 32 and 33, together with the heat generating element 21. It is sealed.
  • the mold resin 40 seals the heating element 21 and the like while being in close contact with at least a part of the one surface S1 of the circuit board 10.
  • the mold resin 40 provided in close contact with the entire area of the one surface S1 of the circuit board 10 is employed. That is, the circuit board 10 is sealed with the mold resin 40 on the entire surface S1.
  • the mold resin 40 is also provided on the element side portion of the clip 34 as described above. That is, the mold resin 40 is also provided on the side opposite to the side where the heat generating element 21 is connected in the element side portion.
  • the thickness of the mold resin 40 provided on the opposite side is preferably as thin as possible so that the insulation of the clip 34 can be secured. This is because the electronic device 100 radiates heat generated from the heating element 21 via the clip 34 and the mold resin 40.
  • the electronic device 100 seals the heat generating element 21 and the in-mold elements 22 and 23 with the mold resin 40, it is possible to suppress dust and the like from adhering to these elements.
  • the electronic device 100 seals the connection part between the heating element 21 and the circuit board 10 and the connection part between the in-mold elements 22 and 23 and the circuit board 10, the heating element 21 and the in-mold element 22 are sealed. , 23 etc. and the circuit board 10 can be secured.
  • the electronic device 100 only the one surface S1 side of the circuit board 10 is sealed with the mold resin 40. Therefore, the electronic device 100 can also be called a half mold package.
  • the mold resin 40 can be formed by compression molding.
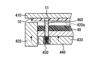
  • the mold resin 40 is provided with side surfaces 42 along the side surfaces 12 of the circuit board 10. Therefore, each side surface 12 and each side surface 42 are provided flush with each other.
  • the mold resin 40 has a flat surface opposite to the surface in contact with the one surface S1. Therefore, the resin structure in which the mold resin 40 is formed on the circuit board 10 has a rectangular parallelepiped shape.
  • the surface opposite to the surface in contact with the first surface S1 in the mold resin 40 is referred to as a mold opposite surface.
  • the mold resin 40 is provided with a mold through hole 41 penetrating in its own thickness direction at a position facing the substrate through hole 11 of the circuit board 10.
  • the mold through hole 41 is provided in communication with the substrate through hole 11. Therefore, it can be said that the resin structure is provided with a through hole penetrating from the back surface S2 to the opposite surface of the mold. It can also be said that the mold through hole 41 is a space surrounded by the wall surface of the mold resin 40. This wall surface can also be referred to as the inner wall surface of the mold resin 40.
  • the through hole including the substrate through hole 11 and the mold through hole 41 communicating with the substrate through hole 11 is also referred to as a device through hole.
  • the circuit board 10 is formed with a resin inclined portion 11a having an inclined shape so that the opening area of the substrate through hole 11 becomes narrower from the opening end on the one surface S1 side toward the back surface S2 side. ing. Therefore, the substrate through-hole 11 has a structure that expands from the back surface S2 side toward the one surface S1 side.
  • the resin inclined part 11a is a part of the resin base material.
  • the resin inclined portion 11a corresponds to a substrate inclined portion.
  • the circuit board 10 has a resin inclined portion 11a formed without reaching the back surface S2 from the one surface S1.
  • the resin inclined portion 11 a is a portion deformed by a pin 460 that closes the substrate through-hole 11 while forming the mold through-hole 41 during molding of the mold resin 40.
  • the mold resin 40 is formed with a mold inclined portion 41 a having a shape that is inclined so that the opening area of the mold through hole 41 becomes wider from the opening end on the one surface S ⁇ b> 1 side toward the mold opposite surface side.
  • the mold through-hole 41 has a structure that widens from the one surface S1 side toward the mold opposite surface side.
  • the surface of the mold inclined part 41a is formed flush with the surface of the resin inclined part 11a.
  • the mold inclined portion 41a is formed without reaching the mold opposite surface from the one surface S1.
  • FIG. 4 when the resin structure is viewed from the direction of arrow IV, the mold inclined portion 41a and the resin inclined portion 11a can be seen.
  • the mold through hole 41 is a portion where the pin 460 is disposed when the mold resin 40 is molded. Further, the mold inclined portion 41 a is a portion where the peak portion 462 of the pin 460 is disposed when the mold resin 40 is molded.
  • the pin 460 will be described later.
  • the electronic device 100 configured as described above is mounted on a metal base 200 as shown in FIGS.
  • the electronic device 100 is mounted on the metal base 200 with the back surface S ⁇ b> 2 of the circuit board 10 being thermally connected to the metal base 200. Therefore, the electronic device 100 can radiate the heat generated by the electronic device 100 to the metal base 200.
  • the metal base 200 is a member whose main component is a metal such as aluminum or copper.
  • the metal base 200 is, for example, a part of a case for housing the electronic device 100 or a part of a mounted device on which the electronic device 100 is mounted.
  • a mounted device a vehicle driving motor, an engine, or the like can be adopted.
  • the electronic device 100 is fixed to the metal base 200 by inserting the screw 300 into the device through hole and fastening the screw groove 320 to the screw hole of the metal base 200. That is, the electronic device 100 is screwed to the metal base 200 with the screw 300. In other words, the electronic device 100 is fixed to the metal base 200 by tightening the screw 300.
  • the electronic device 100 Since the electronic device 100 has the screws 300 inserted into the device through holes at the four corners and is fixed to the metal base 200 by the screws 300, it can be prevented from coming off the metal base 200 due to vibration or the like. Similarly, the electronic device 100 can suppress the back surface S ⁇ b> 2 from floating from the metal base 200. In other words, the vehicle may vibrate greatly or continue to vibrate depending on the road conditions on which it is traveling. However, even in this case, the electronic device 100 can suppress the separation from the metal base 200 and the back surface S2 from floating from the metal base 200. For this reason, the electronic device 100 can suppress that it remove
  • the electronic device 100 stress is applied to the circuit board 10 and the mold resin 40 from the screw head 310. That is, in the electronic device 100, the rigidity of the portion to which the stress from the screw head 310 is applied is increased. Therefore, the electronic device 100 can withstand the stress from the screw head 310 even when the electronic device 100 is assembled to the metal base 200 with the screw 300 without providing a reinforcing member.
  • an electronic device 100 that is fixed to the metal base 200 with four screws 300 is employed.
  • the present disclosure may be fixed to the metal base 200 with a fixing member different from the screw 300.
  • the fixing member for example, a head that is in contact with the opposite surface of the mold, a deformable portion that is elastically deformed by being inserted into the metal base 200, and a portion that connects the head and the deformable portion, which penetrates the device
  • a fixing pin having a columnar portion disposed in the hole can be employed.
  • the metal base 200 is mounted with the electronic device 100, and thus can be rephrased as a mounted member.
  • the electronic device 100 may be attached to the metal base 200 via a heat conductive member such as heat radiation grease between the circuit board 10 and the metal base 200.
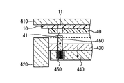
  • this manufacturing method includes a compression molding machine configured to include an upper mold 410, a clamp mold 420, a first lower mold 430, a second lower mold 440, a spring 450, and a pin 460.
  • the electronic device 100 is manufactured using
  • the upper mold 410 corresponds to a first mold and has a flat surface to which the circuit board 10 is fixed.
  • the upper mold 410 is disposed in parallel with the ground, for example.
  • the upper mold 410 has a flat surface on the ground side.
  • the circuit board 10 is fixed to the flat surface with the back surface S2 facing the flat surface of the upper mold 410.
  • the circuit board 10 is fixed to the upper mold 410 by, for example, a vacuum clamp or a mechanical clamp.
  • the method for fixing the circuit board 10 to the upper mold 410 is not particularly limited. In the following description, the direction of gravity is set downward and the direction opposite to the direction of gravity is set upward.
  • the clamp mold 420, the first lower mold 430, and the second lower mold 440 correspond to the second mold.
  • the clamp mold 420, the first lower mold 430, and the second lower mold 440 are lower molds with respect to the upper mold 410.
  • the clamp mold 420, the first lower mold 430, and the second lower mold 440 may be collectively referred to as a lower mold.
  • the lower mold and the upper mold 410 are a pair of molds that are part of a compression molding machine. Moreover, the lower mold
  • the lower mold is disposed on the lower side of the upper mold 410 so as to face the upper mold 410.
  • the clamp mold 420 is provided with a hole surrounded by an annular wall surface. Reference numeral 420a in FIG. 5 and the like indicates a front end surface of the wall surface. When the mold resin 40 is molded, the clamp mold 420 comes into close contact with the one surface S ⁇ b> 1 of the circuit board 10.
  • a first lower mold 430 and a second lower mold 440 are arranged so as to be movable upward and downward along the hole. That is, the first lower mold 430 and the second lower mold 440 are configured so as to be movable upward and downward within a range between the lowest position and the highest position.
  • a concave cavity in which the constituent material of the mold resin 40 is disposed is formed by the wall surface of the clamp mold 420 and the upper surface of the first lower mold 430. That is, the upper surface of the first lower mold 430 becomes the bottom surface of the cavity.
  • the first lower mold 430 and the second lower mold 440 are fixed to each other. Therefore, the first lower mold 430 has a top surface that faces the circuit board 10 and a bottom surface that is fixed to the second lower mold 440.
  • the first lower mold 430 is provided with a hole in which the pin 460 is disposed.
  • the second lower mold 440 is provided with a recess in which a spring 450 that applies an upward force to the pin 460 is disposed.
  • the pin 460 corresponds to a pressing member. As shown in FIG. 5 and the like, the pin 460 is a member that protrudes from the bottom surface of the cavity and presses the circuit board 10. Further, as shown in FIG. 12, the pin 460 is provided with a columnar portion 461 protruding from the bottom surface of the cavity and a peak portion 462 provided at the tip of the columnar portion 461 opposite to the bottom surface. The peak portion 462 has a shape whose diameter decreases as the distance from the bottom portion increases. In this embodiment, a pin 460 provided with a columnar portion 461 having a cylindrical shape and a mountain portion 462 having a truncated cone shape is employed. A part of the peak portion 462 is a portion for closing the substrate through hole 11 and deforming the circuit board 10 to form the resin inclined portion 11a. Moreover, the other part of the peak part 462 is a part for forming the mold inclination part 41a.
  • the circuit board 10 of the upper mold 410 is fixed as shown in FIG.
  • the back surface S2 of the circuit board 10 is fixed in a state of facing the flat surface of the upper mold 410.
  • the circuit board 10 is in a state where the substrate through hole 11 is formed and the heating element 21 and the clip 34 are mounted.
  • the circuit board 10 is not formed with the resin inclined portion 11a.
  • the mold resin 40 is not formed on the circuit board 10.
  • the clamp mold 420 is not in contact with the circuit board 10, and the first lower mold 430 and the second lower mold 440 are arranged at the lowest position.
  • the pin 460 is disposed at a position facing the substrate through hole 11. The pin 460 is provided so as to protrude from the front end surface 420a in a state where the first lower mold 430 and the second lower mold 440 are disposed at the lowest position.
  • the constituent material of the mold resin 40 is put into the cavity.
  • the constituent material of the mold resin 40 that is granular is distributed into the cavity.
  • the same reference numeral 40 as that of the mold resin 40 is given to the constituent materials for convenience.
  • FIG. 13 is an enlarged view of the substrate through-hole 11 portion at the time of the first ascending step.
  • the pin 460 rises together with the lower mold. And since the pin 460 protrudes from the front end surface 420a, it contacts the circuit board 10 before the front end surface 420a.
  • the pins 460 are raised, so that the pins 460 are pressed against the circuit board 10 from the one surface S1 side to close the opening on the one surface S1 side in the substrate through hole 11. Therefore, the substrate through hole 11 is closed by the pin 460 as shown by a two-dot chain line in FIG.
  • the stress is not applied to the extent that the resin inclined portion 11a is formed. That is, the stress from the pin 460 to the circuit board 10 is not so great that the circuit board 10 is deformed and the resin inclined portion 11a is formed. Further, the pin 460 is not applied with the elastic force from the spring 450.
  • FIG. 14 is an enlarged view of the substrate through-hole 11 portion at the time of the second raising step.
  • the mold resin 40 is also illustrated, but the mold resin 40 is not formed in the second raising step.
  • the pin 460 is pressed against the circuit board 10 in a state where a part of the pin 460 is inserted into the board through hole 11 by raising the lower mold.
  • the pin 460 is pressed against the circuit board 10 in a state where a part of the peak portion 462 is inserted into the board through hole 11.
  • the pin 460 is pressed against the circuit board 10 with a pressing force enough to deform the circuit board 10.
  • the pin 460 is pressed against the circuit board 10 by applying an elastic force from the spring 450. Therefore, the pin 460 receives a reaction force in the downward arrow direction in FIG.
  • the circuit has a shape that is inclined so that the opening area of the substrate through-hole 11 becomes narrower from the opening end on the one surface S1 side toward the back surface S2 side.
  • the substrate 10 is deformed. That is, the circuit board 10 is formed with the resin inclined portion 11a in the second ascending step.
  • the opening of the substrate through hole 11 is closed with the pin 460 deforming the circuit substrate 10.
  • the second ascending step corresponds to a closing step.
  • the substrate through hole 11 is closed by the pin 460 and the front end surface 420a of the clamp die 420 is pressed against the circuit board 10, so that the clamp die 420 and the first lower die 430 are used.
  • the pin 460 and the circuit board 10 form a sealed space. That is, the cavity is sealed.
  • only a part of the peak portion 462 is inserted into the substrate through hole 11. Therefore, the remaining portion of the peak portion 462 is disposed outside the substrate through hole 11 and in the facing region of the entire surface S1.
  • the first lower mold 430 and the second lower mold 440 are raised upward in the hole of the clamp mold 420 in order to apply a molding pressure to the constituent material.
  • the pressure holding process corresponds to a molding process.
  • the pin 460 is pressed against the circuit board 10 by raising the lower mold in a state where the spring 450 is completely contracted by the pin 460.
  • the first lower mold 430 and the second lower mold 440 are raised to the uppermost position.
  • the clamp mold 420 presses the circuit board 10 in the direction of the arrow in FIG. 9 so that a gap is formed between the tip surface 420a and the circuit board 10 and the constituent material does not leak out. That is, the front end surface 420a is in close contact with the entire surface.
  • the lower mold is fixed to the circuit board 10 so that the cavity faces the one surface S1.
  • the clamp mold 420 may have a tip surface 420 a that is in close contact with the upper mold 410.
  • the mountain portion 462 presses the circuit board 10 so that a gap is formed between itself and the circuit board 10 so that the constituent material does not leak out. More specifically, the peak portion 462 closes the substrate through hole 11 in a state where the circuit board 10 is crushed to form the resin inclined portion 11a. Therefore, the surface of the resin inclined portion 11a can be said to be a sealing surface that closes the substrate through-hole 11 because the peak portion 462 is in close contact so that the constituent material does not leak out. As described above, the substrate through hole 11 is in a state of being blocked by the pin 460.
  • the mold resin 40 is molded in a state where the lower mold is fixed to the circuit board 10 and the substrate through hole 11 is closed by the pin 460 and the cavity is sealed. That is, in the pressure holding process, the molding resin 40 is molded by solidifying the constituent material while covering the surface S1 and the heating element 21 with the constituent material in the cavity. More specifically, in the pressure-holding step, the mold resin 40 is molded by applying molding pressure to the constituent material with the first lower mold 430 while applying heat to the constituent material. As a result, the mold resin 40 is formed on one surface S1 of the circuit board 10. However, as shown in FIG. 9, the mold resin 40 is in a state in which the pins 460 are inserted.
  • the first lower mold 430 and the second lower mold 440 are lowered in the hole of the clamp mold 420.
  • the pin 460 is lowered together with the first lower mold 430 and the second lower mold 440 while the elastic force from the spring 450 is applied in the upward arrow direction.
  • FIG. 15 is an enlarged view of the substrate through-hole 11 portion at the time of the second mold release step.
  • the pin 460 is extracted from the mold resin 40 by lowering the lower mold.
  • the mold resin 40 has a mold through hole 41 formed by extracting the pin 460. That is, in the mold resin 40, the region where the pin 460 is inserted becomes the mold through hole 41 in the pressure holding step. Further, in the present embodiment, since an example in which only a part of the peak portion 462 is inserted into the substrate through hole 11 is adopted, a mold inclined portion 41a is formed in the mold resin 40 as shown in FIG. The
  • this indication employ
  • a base substrate on which a plurality of circuit boards 10 are integrally provided is employed.
  • This base substrate is formed with a plurality of substrate regions to be a plurality of circuit substrates 10, substrate through holes 11 are formed in each substrate region, and a heating element 21 and the like are mounted.
  • the upper mold 410 has a flat surface that is the same as or wider than the entire area of the back surface S2 of the base substrate.
  • a lower mold is used that has a cavity having a size that can cover the entire back surface S2 of the base substrate.
  • the steps after the fixing step are the same as described above except that the base substrate is fixed to the upper mold 410. And this mold manufacturing method can manufacture a mold package structure by performing to a 2nd mold release process.
  • the dicing process is executed.
  • the mold package structure shown in FIG. 16 is diced along the dicing line 100a.
  • the mold package structure is divided into a plurality of electronic devices 100 by this dicing process. With this manufacturing method, it is possible to easily manufacture the electronic device 100 in which the mold resin 40 is provided over the entire surface S1 of the circuit board 10.
  • the electronic device 100 is manufactured using the pins 460 that press the circuit board 10.
  • the pin 460 is provided so as to protrude from the bottom surface of the cavity in the lower mold.
  • the circuit board 10 is fixed to the upper mold 410 with the back surface S2 of the circuit board 10 facing the flat surface of the upper mold 410. Further, in this manufacturing method, the pin 460 is pressed against the circuit board 10 from the one surface S1 side to close the opening on the one surface S1 side in the substrate through hole 11.
  • the pin 460 is pressed against the circuit board 10 in a state where a part of the pin 460 is inserted into the board through hole 11, thereby The opening on the surface S1 side is closed in the deformed state.
  • the circuit board 10 is deformed into an inclined shape so that the opening area of the substrate through hole 11 becomes narrower from the one surface S1 side to the back surface S2 side. That is, the circuit board 10 is formed with the resin inclined portion 11a.
  • the mold resin is formed in a state in which the tip surface 420a is fixed to the one surface S1 so that the cavity faces one surface, and the opening on the one surface S1 side is closed by the pin 460 and the cavity is sealed. Is molded. That is, in this manufacturing method, the molding resin 40 is molded by solidifying the constituent material while covering the surface S1 and the heating element 21 with the constituent material in the cavity. In this way, the manufacturing method can manufacture the electronic device 100. Further, in the present manufacturing method, the mold holding resin is formed in which the pin 460 protrudes from the bottom surface of the cavity and the pressure holding step is performed in a state where the pin 460 is inserted into the substrate through hole 11. 40 can be manufactured.
  • the substrate through hole 11 is closed with the pin 460, it is possible to prevent the constituent material from entering the substrate through hole 11. Furthermore, in this manufacturing method, since the pins 460 are pressed against the circuit board 10 so that the circuit board 10 is deformed, the constituent material can be further prevented from entering the board through holes 11. In other words, the crest 462 is pressed against the seal surface with a force sufficient to deform the circuit board 10. Therefore, this manufacturing method can improve the sealing performance between the peak portion 462 and the circuit board 10 as compared with the case where the jig for closing the substrate through hole 11 is pressed to the extent that the circuit board 10 is not deformed.
  • the crest 462 is pressed against the circuit board 10 to deform the circuit board 10, so that the sealing surface that closes the substrate through-hole 11 is not directed along the one surface S 1 but on the one surface S 1. It can be formed along an inclined direction. Therefore, this manufacturing method can manufacture the electronic device 100, suppressing that the physique of a planar direction becomes larger than the case where the sealing surface equivalent to the area of a sealing surface is formed in one surface S1 of the circuit board 10.
  • the electronic device 100 can be made smaller in size in the planar direction than an electronic device in which a sealing surface equivalent to the area of the sealing surface is formed on one surface of the circuit board.
  • the plane direction is a direction along a plane orthogonal to the thickness direction of the electronic device 100.
  • a screw 300 is inserted from the mold opposite surface side, that is, from the one surface S1 side. Since the electronic device 100 is provided with the resin inclined portion 11 a, the screw 300 can be easily inserted into the substrate through hole 11. Further, since the electronic device 100 is provided with the mold inclined portion 41a, the screw 300 can be more easily inserted. That is, the resin inclined portion 11a and the mold inclined portion 41a function as a guide when the screw 300 is inserted.
  • the mold resin 40 is formed by the compression molding method.
  • the present disclosure is not limited to this.
  • the mold resin 40 may be formed by compression molding.
  • the electronic device of Modification 1 includes a circuit board 10a. As shown in FIG. 17, the circuit board 10 a is provided with a conductive portion 14 on the inner wall surface of the through hole of the resin base material. That is, the circuit board 10 a is provided with the substrate through holes 11 between the conductive portions 14.
  • the conductive portion 14 is made of a metal such as copper and corresponds to a conductive member.
  • the conductive portion 14 is provided in an annular shape over the entire circumference of the through hole of the resin base material, and is also provided on a part of the one surface S1 and a part of the back surface S2. That is, in the circuit board 10 a, the area surrounded by the portion disposed in the through hole of the resin base material in the conductive portion 14 is the board through hole 11.
  • the inner wall surface is a surface exposed to the through hole in the resin base material in which the conductive portion 14 is not provided and the through hole is provided.
  • the conductive portion 14 is electrically connected to the wiring 13 through a via or the like.
  • the circuit board 10a has a conductive inclined portion 14a as a substrate inclined portion. That is, it can be said that the board inclined portion of the circuit board 10 a is a part of the conductive portion 14. Further, the resin base material of the circuit board 10a is formed with a resin inclined portion 11a which is deformed when the conductive inclined portion 14a is formed.
  • the terminal 500 is inserted into the board through hole 11, and the terminal 500 and the conductive portion 14 are electrically and mechanically connected via the solder 600.
  • the terminal 500 is a terminal of a circuit element mounted on the back surface S2 of the circuit board 10a, a terminal of an external device on which the electronic device of Modification 1 is mounted, or the like.
  • the external device for example, the above-described mounted device can be adopted.
  • the terminal 500 and the conductive portion 14 may be electrically and mechanically connected via a conductive connection member different from the solder 600.
  • the solder 600 is formed on the conductive portion.
  • the angle ⁇ between the inner wall surface of the conductive portion 14 and the conductive inclined portion 14 a is preferably large in order to form a fillet of the solder 600.
  • the circuit board 10a preferably has a larger angle ⁇ in order to ensure the mechanical connection reliability between the conductive portion 14 and the solder 60. It can be said that the angle ⁇ is an angle that deforms the conductive portion 14.
  • the inner wall surface of the conductive portion 14 is a surface exposed to the substrate through hole 11 in the conductive portion 14 in a state where the solder 600 is not provided.
  • a circuit board 10a on which a conductive portion 14 is formed is prepared. Thereafter, as shown in FIGS. 19 and 20, a closing step is performed.
  • the closing step as shown in FIG. 19, the conductive portion 14 is deformed by pressing the circuit board 10 a with a pin 460. Further, in the closing process, as shown in FIG. 20, the circuit board 10a is pressed by the pins 460, and the conductive portion 14 and the resin base material are deformed.
  • the conductive inclined portion 14a and the resin inclined portion 11a are formed by deforming the conductive portion 14 and the resin base material. That is, the electronic device of Modification 1 can be manufactured by the same manufacturing method as the electronic device 100 as long as the conductive portion 14 is formed on the circuit board 10a in advance.
  • Modification 1 can achieve the same effect as the above embodiment.
  • the electronic device of Modification 1 may be provided with a device through hole into which the screw 300 described in the above embodiment is inserted, in addition to the device through hole into which the terminal 500 is inserted.
  • the electronic device of Modification 2 includes a circuit board 10b. As shown in FIG. 21, the circuit board 10 b is provided with a conductive portion 141 on the inner wall surface of the through hole of the resin base material. The conductive portion 141 is different in shape from the conductive portion 14. And the circuit board 10b is formed with the conductive inclined part 14a and the resin inclined part 11a in the same manner as the circuit board 10a.
  • the conductive portion 141 is formed with a conductive flat portion 14b parallel to the thickness direction of the circuit board 10b.
  • the circuit board 10b has a conductive flat portion 14b formed on the back surface S2 side of the conductive inclined portion 14a.
  • the conductive flat part 14b is continuously formed with the conductive inclination part 14a via the site
  • the resin base material of the circuit board 10b is formed with a resin flat portion 11b that is deformed when the conductive flat portion 14b is formed.
  • the resin flat portion 11b is a portion parallel to the thickness direction of the circuit board 10b.
  • the electronic device of Modification 2 can be manufactured by a manufacturing method similar to that of the electronic device 100 by using a pin having a shape different from that of the pin 460.
  • a pin used when manufacturing the electronic device according to the modified example 2 for example, a pin formed with a small-diameter columnar portion having a smaller diameter than the columnar portion 461 at the tip of the peak portion 462 of the pin 460 is employed.
  • the circuit board 10b is pressed and deformed by the small-diameter columnar portion, whereby the conductive flat portion 14b and the resin flat portion 11b are formed.
  • Modification 2 can provide the same effects as Modification 1. Further, since the electronic device according to the second modification includes the circuit board 10b on which the conductive flat portion 14b is formed, the solder 600 is disposed on the conductive flat portion 14b, so that the solder 600 and the conductive portion 141 are connected. Good connectivity.
  • the electronic device of Modification 3 includes a circuit board 10 c in which a dam portion 15 is provided on the surface of the conductive portion 14.
  • the dam portion 15 is formed in an annular shape on the conductive portion 14 and is sealed with a mold resin 40.
  • the dam part 15 is formed in the conductive part 14 before the molding resin 40 is formed.
  • the electronic device of the modification 3 can be manufactured by the same manufacturing method as the electronic device of the modification 1 by providing the dam part 15 in the circuit board 10c in advance.
  • Modification 3 can achieve the same effect as the above embodiment. Furthermore, when the interface between the conductive portion 14 and the mold resin 40 is peeled off, the electronic device of Modification 3 can suppress the peeling from proceeding. That is, in the electronic device of Modification 3, there is a possibility that peeling occurs from a portion exposed to the device through hole at the interface between the conductive portion 14 and the mold resin 40. However, the electronic device of Modification 3 can stop the progress at the dam portion 15 even if this separation occurs.
  • the circuit board 10c may not be provided with the conductive portion 14.
  • the dam portion 15 is provided on the one surface S ⁇ b> 1 and can suppress the progress of peeling at the interface between the circuit board 10 c and the mold resin 40.
  • the electronic device of Modification 4 includes a circuit board 10d provided with a guide portion 14c on the back surface S2 side. Note that, in the electronic device of Modification Example 4, as with the electronic device 100, the mold resin 40 is formed on the one surface S1 of the circuit board 10d.
  • a back surface side inclined portion 16 having a shape inclined so that the opening area of the substrate through hole 11 becomes narrower from the back surface S2 side toward the one surface S1 side is formed on the resin base material.
  • the conductive portion 142 is formed with a guide portion 14 c that is a portion inclined along the back side inclined portion 16.
  • the upper mold 410 is provided with convex portions for deforming the resin base material and the conductive portion 142 to form the guide portion 14c and the back-side inclined portion 16, whereby the electronic device 100 The same manufacturing method can be used.
  • Modification 4 can achieve the same effects as the above embodiment. Furthermore, in the electronic device of Modification 4, when a terminal, a screw, or the like is inserted into the substrate through hole 11 from the back surface S2 side, the terminal or the screw can be easily inserted into the substrate through hole 11.
  • the circuit board 10d may not include the conductive portion 142. In this case, in the circuit board 10d, the back side inclined portion 16 functions as a guide portion.
  • the electronic device of Modification 5 includes a mold resin 40a that is not provided with a mold inclined portion.
  • the pin 460 is indicated by a two-dot chain line in order to make the positional relationship between the pin 460 and the circuit board 10 easy to understand.
  • the opening area of the mold through hole 41 is the same as the opening area of the opening end on the one surface S1 side in the substrate through hole 11. That is, the mold resin 40a is provided so as to reach a corner portion between the substrate through hole 11 and the one surface S1, and has a wall surface perpendicular to the one surface S1 from the corner portion. This wall surface is the inner wall of the mold through hole 41. Therefore, the mold through hole 41 is provided perpendicular to the one surface S1 from the opening end on the one surface S1 side of the substrate through hole 11.
  • the circuit board 10 may be provided with the conductive portion 14.
  • the electronic device of Modification 5 can be manufactured as follows.
  • the closing step as shown by a two-dot chain line in FIG. 24, the entire peak portion 462 is inserted into the substrate through hole 11, and the boundary between the columnar portion 461 and the peak portion 462 is arranged on a virtual plane along the one surface S1.
  • the substrate through hole 11 is closed.
  • the molding step the mold resin 40a is molded in such a state that the substrate through hole 11 is closed.
  • the electronic device of the modification 5 can be manufactured. That is, the electronic device of Modification 5 can be manufactured by a manufacturing method similar to that of the electronic device 100 by using a pin having a shape different from that of the pin 460.
  • Modification 5 can achieve the same effect as the above embodiment. Furthermore, since the opening area of the mold through hole 41 can be made smaller than that of the electronic device 100, the size in the planar direction can be reduced.
  • the circuit board 10 may be provided with a conductive portion as in the first modification.
  • the substrate through-hole 11 can be employed even if it has a shape as shown in the following modified examples 6 to 9.
  • the electronic device according to the modified example 6 includes a circuit board 10e. As shown in FIG. 25, the circuit board 10e is provided with a resin inclined portion 11c as a substrate inclined portion. Note that, in the electronic device of Modification Example 6, like the electronic device 100, the mold resin 40 is formed on the one surface S1 of the circuit board 10e.
  • the resin inclined portion 11c is inclined in a curved surface shape. Further, it can be said that the circuit board 10e is provided with a convex curved resin inclined portion 11c.
  • the electronic device of Modification 6 can be manufactured by a manufacturing method similar to that of the electronic device 100 by using a pin having a shape different from that of the pin 460.
  • Modification 6 can achieve the same effect as the above embodiment.
  • the circuit board 10e may be provided with a conductive portion as in the first modification.
  • the conductive portion includes a portion that is inclined along the resin inclined portion 11c.
  • the electronic device of Modification 7 includes a circuit board 10f. As shown in FIG. 26, the circuit board 10f is provided with a resin inclined portion 11d as a substrate inclined portion. Note that, in the electronic device according to the modified example 7, like the electronic device 100, the mold resin 40 is formed on the one surface S1 of the circuit board 10f.
  • the resin inclined portion 11d is inclined in a curved surface shape. Further, it can be said that the circuit board 10f is provided with a concavely curved resin inclined portion 11d.
  • the electronic device of the modification 7 can be manufactured by the same manufacturing method as the electronic device 100 by using a pin having a shape different from that of the pin 460.
  • the circuit board 10f may be provided with a conductive portion as in the first modification.
  • the conductive portion includes a portion that is inclined along the resin inclined portion 11d.
  • the electronic device of Modification 8 includes a circuit board 10g. As shown in FIG. 27, the circuit board 10g is provided with a first resin inclined portion 11e1 and a second resin inclined portion 11e2 as substrate inclined portions.
  • the electronic device of the modification 8 can be manufactured by the same manufacturing method as the electronic device 100 by using a pin having a different shape from the pin 460. Note that, in the electronic device according to the modified example 8, like the electronic device 100, the mold resin 40 is formed on the one surface S1 of the circuit board 10g.
  • Modification 8 can achieve the same effect as the above embodiment.
  • the circuit board 10g may be provided with a conductive portion as in the first modification.
  • the conductive portion includes a portion that is inclined along the first resin inclined portion 11e1 and the second resin inclined portion 11e2.
  • the electronic device according to the modified example 9 includes a circuit board 10h. As shown in FIG. 28, the circuit board 10h is provided with a first resin inclined portion 11f1, a second resin inclined portion 11f2, and a third resin inclined portion 11f3 as substrate inclined portions.
  • the electronic device of Modification 9 can be manufactured by a manufacturing method similar to that of the electronic device 100 by using a pin having a shape different from that of the pin 460. Note that, in the electronic device of the modification 9, as with the electronic device 100, the mold resin 40 is formed on the one surface S1 of the circuit board 10h.
  • the circuit board 10h may be provided with a conductive portion as in the first modification.
  • the conductive portion includes a portion inclined along the first resin inclined portion 11f1, the second resin inclined portion 11f2, and the third resin inclined portion 11f3.
  • the out-mold elements 51 and 52 as circuit elements are mounted on the back surface S2 of the circuit board 10i.
  • the out-of-mold elements 51 and 52 are, for example, capacitors and coils, and are electrically and mechanically connected to the lands of the circuit board 10 via conductive connection members such as solder.
  • the out-of-mold elements 51 and 52 are electrically connected to the wiring 13 through the conductive connection member and the land.
  • the electronic device 110 includes the circuit board 10i that is a resin substrate that can be mounted on both sides.
  • the electronic device 110 since the electronic device 110 includes the circuit board 10i that is a double-sided mounting board, the physique can be made smaller than when a single-sided mounting board is employed.
  • the physique here is the size in the plane direction perpendicular to the direction of the thickness of the electronic device 100.
  • the electronic device 110 is attached to the metal base 200 with the mold resin 40 facing the metal base 200 as shown in FIG. Specifically, the electronic device 110 is attached to the metal base 200 with the mold resin 40 in contact with the metal base 200. By doing in this way, the electronic device 110 can be easily attached to the metal base 200 even if the electronic device 110 includes the circuit board 10i on which the out-mold elements 51 and 52 are mounted on the back surface S2.
  • the electronic device 110 can be manufactured by the same manufacturing method as the electronic device 100.
  • the electronic device 110 may be attached to the metal base 200 between the mold resin 40 and the metal base 200 via a heat conductive member such as heat radiation grease.
  • Modification 10 can achieve the same effect as the above embodiment. Note that the present disclosure can be implemented by combining the tenth modification and at least one of the first to ninth modifications.

Landscapes

  • Engineering & Computer Science (AREA)
  • Microelectronics & Electronic Packaging (AREA)
  • Manufacturing & Machinery (AREA)
  • Mechanical Engineering (AREA)
  • Physics & Mathematics (AREA)
  • Condensed Matter Physics & Semiconductors (AREA)
  • General Physics & Mathematics (AREA)
  • Computer Hardware Design (AREA)
  • Power Engineering (AREA)
  • Composite Materials (AREA)
  • Chemical & Material Sciences (AREA)
  • Encapsulation Of And Coatings For Semiconductor Or Solid State Devices (AREA)
  • Non-Metallic Protective Coatings For Printed Circuits (AREA)
  • Structures Or Materials For Encapsulating Or Coating Semiconductor Devices Or Solid State Devices (AREA)
  • Casting Or Compression Moulding Of Plastics Or The Like (AREA)
PCT/JP2015/004655 2014-09-22 2015-09-14 電子装置の製造方法、及び電子装置 Ceased WO2016047083A1 (ja)

Priority Applications (1)

Application Number Priority Date Filing Date Title
US15/318,695 US9832872B2 (en) 2014-09-22 2015-09-14 Method for manufacturing electronic device, and electronic device

Applications Claiming Priority (2)

Application Number Priority Date Filing Date Title
JP2014192746A JP6233260B2 (ja) 2014-09-22 2014-09-22 電子装置の製造方法、及び電子装置
JP2014-192746 2014-09-22

Related Child Applications (2)

Application Number Title Priority Date Filing Date
US16/067,219 A-371-Of-International US20190013630A1 (en) 2016-01-15 2016-10-21 Cable
US16/682,858 Continuation US10916900B2 (en) 2016-01-15 2019-11-13 Cable

Publications (1)

Publication Number Publication Date
WO2016047083A1 true WO2016047083A1 (ja) 2016-03-31

Family

ID=55580634

Family Applications (1)

Application Number Title Priority Date Filing Date
PCT/JP2015/004655 Ceased WO2016047083A1 (ja) 2014-09-22 2015-09-14 電子装置の製造方法、及び電子装置

Country Status (3)

Country Link
US (1) US9832872B2 (enExample)
JP (1) JP6233260B2 (enExample)
WO (1) WO2016047083A1 (enExample)

Families Citing this family (7)

* Cited by examiner, † Cited by third party
Publication number Priority date Publication date Assignee Title
JP6327140B2 (ja) 2014-12-15 2018-05-23 株式会社デンソー 電子装置
JP6322663B2 (ja) 2016-03-28 2018-05-09 株式会社Subaru 樹脂組成物の成形品の接合構造
JP6604263B2 (ja) * 2016-05-10 2019-11-13 株式会社デンソー 固定構造
JP6668973B2 (ja) * 2016-06-28 2020-03-18 株式会社デンソー 電子装置、及び、電子装置の製造方法
DE102019132314B4 (de) * 2019-11-28 2022-03-03 Infineon Technologies Ag Package mit Einkapselung unter Kompressionsbelastung
CN111952206B (zh) * 2020-08-14 2022-09-13 深圳市天成照明有限公司 一种电子元器件生产用封装装置
CN119943680A (zh) * 2023-11-02 2025-05-06 台达电子工业股份有限公司 半导体封装结构及其制造方法

Citations (7)

* Cited by examiner, † Cited by third party
Publication number Priority date Publication date Assignee Title
JPS54106871A (en) * 1978-02-09 1979-08-22 Matsushita Electric Works Ltd Method of producing embedded terminal for circuit board
JPS5725812U (enExample) * 1980-07-19 1982-02-10
JPS5961151A (ja) * 1982-09-30 1984-04-07 Nec Home Electronics Ltd 絶縁型半導体装置
JPS62254483A (ja) * 1986-04-26 1987-11-06 東洋通信機株式会社 プリント基板
JPH0360146A (ja) * 1989-07-28 1991-03-15 Nec Kansai Ltd 樹脂モールド型半導体装置及び樹脂モールド装置
JP2010129868A (ja) * 2008-11-28 2010-06-10 Mitsubishi Electric Corp 電力用半導体モジュール及びその製造方法
JP2014150128A (ja) * 2013-01-31 2014-08-21 Denso Corp 電子装置

Family Cites Families (17)

* Cited by examiner, † Cited by third party
Publication number Priority date Publication date Assignee Title
JPS5967931U (ja) * 1982-10-28 1984-05-08 日本電気ホームエレクトロニクス株式会社 樹脂モ−ルド装置
JP2532826B2 (ja) * 1984-02-21 1996-09-11 三洋電機株式会社 樹脂封止型半導体装置の製造方法
JPH02164044A (ja) * 1988-12-19 1990-06-25 Nec Kansai Ltd 絶縁型樹脂封止半導体装置の成形装置
US5044912A (en) * 1989-12-11 1991-09-03 Motorola, Inc. Mold assembly having positioning means
US5237132A (en) * 1991-06-17 1993-08-17 Nhk Spring Co., Ltd. Metallic printed circuit board with countersunk mounting hole
JP2927660B2 (ja) * 1993-01-25 1999-07-28 シャープ株式会社 樹脂封止型半導体装置の製造方法
JPH09232473A (ja) * 1996-02-21 1997-09-05 Toshiba Corp 半導体パッケージとその製造方法およびプリント基板
JP3740329B2 (ja) * 1999-09-02 2006-02-01 株式会社東芝 部品実装基板
JP3646665B2 (ja) 2001-04-17 2005-05-11 株式会社日立製作所 インバータ装置
DE102006021412B3 (de) * 2006-05-09 2007-11-15 Semikron Elektronik Gmbh & Co. Kg Leistungshalbleitermodul
JP4579259B2 (ja) 2007-02-08 2010-11-10 三菱電機株式会社 半導体装置
KR101391925B1 (ko) * 2007-02-28 2014-05-07 페어차일드코리아반도체 주식회사 반도체 패키지 및 이를 제조하기 위한 반도체 패키지 금형
CN102522375B (zh) * 2008-07-30 2015-04-08 三洋电机株式会社 半导体装置、半导体装置的制造方法及引线框
KR101711479B1 (ko) * 2010-10-06 2017-03-03 삼성전자 주식회사 반도체 패키지 장치 및 그의 검사 시스템
JP6321482B2 (ja) * 2013-09-26 2018-05-09 エイブリック株式会社 半導体製造装置
JP6311568B2 (ja) 2014-10-21 2018-04-18 株式会社デンソー 電子装置
JP6327140B2 (ja) 2014-12-15 2018-05-23 株式会社デンソー 電子装置

Patent Citations (7)

* Cited by examiner, † Cited by third party
Publication number Priority date Publication date Assignee Title
JPS54106871A (en) * 1978-02-09 1979-08-22 Matsushita Electric Works Ltd Method of producing embedded terminal for circuit board
JPS5725812U (enExample) * 1980-07-19 1982-02-10
JPS5961151A (ja) * 1982-09-30 1984-04-07 Nec Home Electronics Ltd 絶縁型半導体装置
JPS62254483A (ja) * 1986-04-26 1987-11-06 東洋通信機株式会社 プリント基板
JPH0360146A (ja) * 1989-07-28 1991-03-15 Nec Kansai Ltd 樹脂モールド型半導体装置及び樹脂モールド装置
JP2010129868A (ja) * 2008-11-28 2010-06-10 Mitsubishi Electric Corp 電力用半導体モジュール及びその製造方法
JP2014150128A (ja) * 2013-01-31 2014-08-21 Denso Corp 電子装置

Also Published As

Publication number Publication date
JP2016063203A (ja) 2016-04-25
JP6233260B2 (ja) 2017-11-22
US20170135210A1 (en) 2017-05-11
US9832872B2 (en) 2017-11-28

Similar Documents

Publication Publication Date Title
JP6233260B2 (ja) 電子装置の製造方法、及び電子装置
JP5415823B2 (ja) 電子回路装置及びその製造方法
CN103515340B (zh) 电源模块封装和用于制造电源模块封装的方法
CN105684147A (zh) 半导体模块及其制造方法
JP7172338B2 (ja) 半導体装置及び半導体装置の製造方法
KR20150108683A (ko) 반도체모듈 패키지 및 그 제조 방법
US9691697B2 (en) Semiconductor device and method of manufacturing semiconductor device
WO2016166834A1 (ja) 半導体装置
KR20160035916A (ko) 전력 모듈 패키지 및 그 제조방법
JP4549171B2 (ja) 混成集積回路装置
JP6766744B2 (ja) 半導体モジュール
JP6668973B2 (ja) 電子装置、及び、電子装置の製造方法
US20150084174A1 (en) Semiconductor device leadframe
JP6488938B2 (ja) 電子装置の製造方法
US9397015B2 (en) Semiconductor device and semiconductor device casing
CN204558442U (zh) 半导体装置以及半导体装置用外壳
JP7237214B2 (ja) 半導体パワーモジュールのための金属基板構造および金属基板構造の製造方法ならびに半導体パワーモジュール
JP6432461B2 (ja) 電子装置
CN112310006A (zh) 具有承载件、层压体和位于两者间的构件的包封的封装体
JP2015012161A (ja) 電子装置
JP6536356B2 (ja) 電子装置の製造方法
JP2014110249A (ja) 半導体装置の埋設構造、及び半導体装置の埋設方法
WO2014208006A1 (ja) 電子装置およびその電子装置の製造方法
JP2016119347A (ja) 電子装置の取り付け構造
US20150084175A1 (en) Semiconductor device leadframe

Legal Events

Date Code Title Description
121 Ep: the epo has been informed by wipo that ep was designated in this application

Ref document number: 15845355

Country of ref document: EP

Kind code of ref document: A1

WWE Wipo information: entry into national phase

Ref document number: 15318695

Country of ref document: US

NENP Non-entry into the national phase

Ref country code: DE

122 Ep: pct application non-entry in european phase

Ref document number: 15845355

Country of ref document: EP

Kind code of ref document: A1