WO2014208739A1 - 燃料電池及びその製造方法 - Google Patents

燃料電池及びその製造方法 Download PDF

Info

Publication number
WO2014208739A1
WO2014208739A1 PCT/JP2014/067219 JP2014067219W WO2014208739A1 WO 2014208739 A1 WO2014208739 A1 WO 2014208739A1 JP 2014067219 W JP2014067219 W JP 2014067219W WO 2014208739 A1 WO2014208739 A1 WO 2014208739A1
Authority
WO
WIPO (PCT)
Prior art keywords
fuel cell
fuel
glass
manifold
sealing material
Prior art date
Legal status (The legal status is an assumption and is not a legal conclusion. Google has not performed a legal analysis and makes no representation as to the accuracy of the status listed.)
Ceased
Application number
PCT/JP2014/067219
Other languages
English (en)
French (fr)
Japanese (ja)
Inventor
堀田 信行
哲也 森川
隼人 勝田
墨 泰志
Current Assignee (The listed assignees may be inaccurate. Google has not performed a legal analysis and makes no representation or warranty as to the accuracy of the list.)
Niterra Co Ltd
Original Assignee
NGK Spark Plug Co Ltd
Priority date (The priority date is an assumption and is not a legal conclusion. Google has not performed a legal analysis and makes no representation as to the accuracy of the date listed.)
Filing date
Publication date
Application filed by NGK Spark Plug Co Ltd filed Critical NGK Spark Plug Co Ltd
Priority to EP14816720.8A priority Critical patent/EP3016192B1/en
Priority to CA2916417A priority patent/CA2916417C/en
Priority to US14/901,292 priority patent/US10693174B2/en
Priority to DK14816720.8T priority patent/DK3016192T3/en
Priority to CN201480037221.4A priority patent/CN105340116B/zh
Priority to KR1020167002327A priority patent/KR101903863B1/ko
Publication of WO2014208739A1 publication Critical patent/WO2014208739A1/ja
Anticipated expiration legal-status Critical
Ceased legal-status Critical Current

Links

Images

Classifications

    • HELECTRICITY
    • H01ELECTRIC ELEMENTS
    • H01MPROCESSES OR MEANS, e.g. BATTERIES, FOR THE DIRECT CONVERSION OF CHEMICAL ENERGY INTO ELECTRICAL ENERGY
    • H01M8/00Fuel cells; Manufacture thereof
    • H01M8/24Grouping of fuel cells, e.g. stacking of fuel cells
    • H01M8/2465Details of groupings of fuel cells
    • H01M8/2483Details of groupings of fuel cells characterised by internal manifolds
    • HELECTRICITY
    • H01ELECTRIC ELEMENTS
    • H01MPROCESSES OR MEANS, e.g. BATTERIES, FOR THE DIRECT CONVERSION OF CHEMICAL ENERGY INTO ELECTRICAL ENERGY
    • H01M8/00Fuel cells; Manufacture thereof
    • H01M8/02Details
    • H01M8/0271Sealing or supporting means around electrodes, matrices or membranes
    • HELECTRICITY
    • H01ELECTRIC ELEMENTS
    • H01MPROCESSES OR MEANS, e.g. BATTERIES, FOR THE DIRECT CONVERSION OF CHEMICAL ENERGY INTO ELECTRICAL ENERGY
    • H01M8/00Fuel cells; Manufacture thereof
    • H01M8/02Details
    • H01M8/0271Sealing or supporting means around electrodes, matrices or membranes
    • H01M8/028Sealing means characterised by their material
    • H01M8/0282Inorganic material
    • HELECTRICITY
    • H01ELECTRIC ELEMENTS
    • H01MPROCESSES OR MEANS, e.g. BATTERIES, FOR THE DIRECT CONVERSION OF CHEMICAL ENERGY INTO ELECTRICAL ENERGY
    • H01M8/00Fuel cells; Manufacture thereof
    • H01M8/04Auxiliary arrangements, e.g. for control of pressure or for circulation of fluids
    • H01M8/04082Arrangements for control of reactant parameters, e.g. pressure or concentration
    • H01M8/04201Reactant storage and supply, e.g. means for feeding, pipes
    • HELECTRICITY
    • H01ELECTRIC ELEMENTS
    • H01MPROCESSES OR MEANS, e.g. BATTERIES, FOR THE DIRECT CONVERSION OF CHEMICAL ENERGY INTO ELECTRICAL ENERGY
    • H01M8/00Fuel cells; Manufacture thereof
    • H01M8/10Fuel cells with solid electrolytes
    • H01M8/12Fuel cells with solid electrolytes operating at high temperature, e.g. with stabilised ZrO2 electrolyte
    • H01M8/124Fuel cells with solid electrolytes operating at high temperature, e.g. with stabilised ZrO2 electrolyte characterised by the process of manufacturing or by the material of the electrolyte
    • H01M8/1246Fuel cells with solid electrolytes operating at high temperature, e.g. with stabilised ZrO2 electrolyte characterised by the process of manufacturing or by the material of the electrolyte the electrolyte consisting of oxides
    • HELECTRICITY
    • H01ELECTRIC ELEMENTS
    • H01MPROCESSES OR MEANS, e.g. BATTERIES, FOR THE DIRECT CONVERSION OF CHEMICAL ENERGY INTO ELECTRICAL ENERGY
    • H01M8/00Fuel cells; Manufacture thereof
    • H01M8/24Grouping of fuel cells, e.g. stacking of fuel cells
    • H01M8/241Grouping of fuel cells, e.g. stacking of fuel cells with solid or matrix-supported electrolytes
    • H01M8/2425High-temperature cells with solid electrolytes
    • H01M8/2432Grouping of unit cells of planar configuration
    • HELECTRICITY
    • H01ELECTRIC ELEMENTS
    • H01MPROCESSES OR MEANS, e.g. BATTERIES, FOR THE DIRECT CONVERSION OF CHEMICAL ENERGY INTO ELECTRICAL ENERGY
    • H01M8/00Fuel cells; Manufacture thereof
    • H01M8/10Fuel cells with solid electrolytes
    • H01M8/12Fuel cells with solid electrolytes operating at high temperature, e.g. with stabilised ZrO2 electrolyte
    • H01M2008/1293Fuel cells with solid oxide electrolytes
    • YGENERAL TAGGING OF NEW TECHNOLOGICAL DEVELOPMENTS; GENERAL TAGGING OF CROSS-SECTIONAL TECHNOLOGIES SPANNING OVER SEVERAL SECTIONS OF THE IPC; TECHNICAL SUBJECTS COVERED BY FORMER USPC CROSS-REFERENCE ART COLLECTIONS [XRACs] AND DIGESTS
    • Y02TECHNOLOGIES OR APPLICATIONS FOR MITIGATION OR ADAPTATION AGAINST CLIMATE CHANGE
    • Y02EREDUCTION OF GREENHOUSE GAS [GHG] EMISSIONS, RELATED TO ENERGY GENERATION, TRANSMISSION OR DISTRIBUTION
    • Y02E60/00Enabling technologies; Technologies with a potential or indirect contribution to GHG emissions mitigation
    • Y02E60/30Hydrogen technology
    • Y02E60/50Fuel cells
    • YGENERAL TAGGING OF NEW TECHNOLOGICAL DEVELOPMENTS; GENERAL TAGGING OF CROSS-SECTIONAL TECHNOLOGIES SPANNING OVER SEVERAL SECTIONS OF THE IPC; TECHNICAL SUBJECTS COVERED BY FORMER USPC CROSS-REFERENCE ART COLLECTIONS [XRACs] AND DIGESTS
    • Y02TECHNOLOGIES OR APPLICATIONS FOR MITIGATION OR ADAPTATION AGAINST CLIMATE CHANGE
    • Y02PCLIMATE CHANGE MITIGATION TECHNOLOGIES IN THE PRODUCTION OR PROCESSING OF GOODS
    • Y02P70/00Climate change mitigation technologies in the production process for final industrial or consumer products
    • Y02P70/50Manufacturing or production processes characterised by the final manufactured product

Definitions

  • the present invention relates to a gas seal for a fuel cell such as a solid oxide fuel cell, and a fuel that generates power by introducing two types of gas (oxidant gas such as fuel gas and air) into the fuel cell in a separated state.
  • the present invention relates to a battery and a manufacturing method thereof.
  • a fuel electrode in contact with a fuel gas is provided on one side of a flat solid oxide layer (solid electrolyte layer), for example, and air in contact with an oxidant gas is provided on the other side.
  • a fuel cell is constructed by providing a pole and further providing a flow path (fuel flow path, air flow path) etc. to the fuel electrode and the air electrode, and the fuel battery cell and the interconnector plate are laminated alternately.
  • a stack fuel cell stack
  • the fuel cell for example, a single cell including a solid oxide layer including a fuel electrode and an air electrode, and a flow path of the fuel gas and the oxidant gas that are joined to the solid oxide layer are separated. Consists of a separator, a fuel electrode frame disposed around the fuel electrode, an air electrode frame disposed around the air electrode, and an interconnector disposed outside the fuel cell in the plate thickness direction. It has been known.
  • fuel gas or air is supplied to the fuel flow path or air flow path of the stacked fuel battery cells, or from the fuel flow path or air flow path of the fuel cell (after the reaction).
  • a fuel gas manifold and an air manifold are provided at the outer edge portion (frame portion) of the fuel cell stack so as to penetrate the fuel cell stack in the stacking direction. It has been known.
  • the members constituting the fuel cell stack for example, interconnectors
  • a technology has been developed in which a sealing material is disposed so as to surround the outer periphery of a single cell in a frame shape and between the periphery of the manifold in the space between the separator and the like.
  • Patent Document 1 As a technique for gas sealing using the above-described sealing material, a technique using a compression sealing material (see, for example, pressure sealing) such as mica (see Patent Document 1), or a sealing material containing glass or glass ceramic is used.
  • a technique using a ceramic sealing material surrounding the manifold concentrically see Patent Document 4
  • JP 2012-124020 A JP 2009-43550 A JP 2002-141083 A JP 2005-294153 A
  • the sealing performance is high, but when a strong force is applied, a glass crack may occur.
  • the glass in a high temperature environment where the glass is softened, the glass is deformed and spreads around, causing a thickness change in the stacking direction. In that case, glass breakage may occur in the subsequent thermal cycle, and further, for example, electrical connection between fuel cells may not be maintained.
  • the fuel cell according to the first aspect of the present invention includes an electrolyte layer, a fuel electrode provided on one surface of the electrolyte layer and in contact with the fuel gas, and an oxidant provided on the other surface of the electrolyte layer.
  • a flat plate type fuel cell in which a plurality of plate-like fuel cells having an air electrode in contact with a gas are stacked and assembled in a state where the fuel cells are pressed from the stacking direction. Is provided with at least one of a fuel manifold communicating with the space on the fuel electrode side and an oxidant manifold communicating with the space on the air electrode side so as to extend in the stacking direction.
  • At least one of the oxidant manifolds is sandwiched around the manifold extending in the stacking direction from the stacking direction by members constituting the fuel cell, and the front So as to surround at least one of the manifold, the fuel cell cells along a plane spread, the compression seal member and the glass sealing material is arranged in parallel.
  • the fuel manifold and the oxidant manifold are sandwiched from the stacking direction by members (for example, a separator, an interconnector, an end plate, etc.) constituting the fuel cell, and the manifold is A compression seal material and a glass seal material are arranged in parallel along a plane in which the fuel cells extend (that is, an outer peripheral direction with respect to the axial direction in which the manifold extends: radial direction) so as to surround.
  • the compression seal material and the glass seal material (especially by the glass seal material that is in close contact with the surroundings) can suitably prevent gas leakage from or to each manifold between the members constituting the fuel cell.
  • prevention includes not only the meaning of complete prevention but also the meaning that leakage can be reduced as compared with the conventional case (the same applies hereinafter).
  • the compression sealing material can suppress excessive force from being applied to the glass sealing material, so that the glass sealing material can be prevented from cracking. Leakage can be prevented.
  • the compression sealant suppresses excessive deformation of the glass sealant, so that the thickness in the stacking direction can be maintained, and a thermal cycle is added. Even glass cracks can be suppressed. Also, stable electrical connection is possible.
  • the occurrence of gas leakage can be suitably prevented, so that the power generation efficiency is high and there is no need for post-processing of the leaked gas (or post-processing). Is easy to achieve).
  • the manifold is a flow path of gas (fuel gas or oxidant gas) extending in the stacking direction, and the gas flow path is branched in the middle of the flow path.
  • gas fuel gas or oxidant gas
  • the glass sealing material is annularly disposed around the at least one manifold extending in the stacking direction, and on the outer peripheral side of the glass sealing material, The compression seal material may be disposed.
  • a compression seal material may be disposed so as to surround the outer peripheral side of the glass seal material. According to this, even when the glass is softened, there is an advantage that the glass hardly spreads around.
  • the compression seal material is annularly disposed around the at least one manifold extending in the stacking direction, and on the outer peripheral side of the compression seal material, The glass sealing material may be disposed.
  • a glass sealing material may be arranged so as to surround the outside of the compression sealing material. According to this, since the area of a glass sealing material can fully be ensured, there exists an advantage that the gas-sealing property by glass is high.
  • the fuel cell may be assembled by being pressed in the stacking direction by bolting.
  • the fuel cell since the fuel cell is fastened and pressed by a bolt (and a nut screwed to the bolt), there is an advantage that the fixing is easy and the fixing can be surely performed.
  • the members constituting the fuel cell are a separator that separates the space on the fuel electrode side and the space on the air electrode side, and the fuel cell unit.
  • the above description exemplifies members constituting the fuel cell.
  • a separator that separates a space on the fuel electrode side (fuel flow path) and a space on the air electrode side (air flow path) and a fuel cell that is a constituent unit of the fuel cell are classified.
  • an interconnector that ensures conduction between the fuel cells and an end plate that is a member that constitutes an end portion of the fuel cell in the stacking direction.
  • the compression seal material and the glass seal material are disposed at an end of the interconnector or the stack side of the fuel cell that separates the fuel cells. You may arrange
  • a method for manufacturing a fuel cell according to a seventh aspect of the present invention is the method for manufacturing a fuel cell according to any one of the first to sixth aspects, wherein the fuel cell is manufactured by a member constituting the fuel cell.
  • the compression sealant and the glass material to be the glass sealant are sandwiched in the stacking direction and surround at least one of the fuel manifold and the oxidant manifold provided along the stacking direction.
  • the glass sealing material is formed by heating at a temperature higher than the temperature at which the glass material softens and then cooling, and the glass seal And having a third step of bonding the members constituting the fuel cell.
  • the compression sealing material and the glass material to be the glass sealing material are arranged so as to be sandwiched in the stacking direction by the members constituting the fuel cell, and the fuel manifold and the oxidant manifold provided along the stacking direction are arranged. Place it on the same plane (for example, on the surface of a separator, etc.) so as to surround at least one of the surroundings, and then apply pressure from the stacking direction of the fuel cell to press the compression seal material, and then the glass material softens It is heated above the temperature at which it is heated and then cooled (ie, the softened glass material is cooled and solidified). Thereby, while forming a glass sealing material, a glass sealing material is joined to the member (for example, separator and interconnector) which comprises a fuel cell.
  • the member for example, separator and interconnector
  • the above-described fuel cell can be preferably manufactured.
  • the fuel cell include a solid oxide fuel cell (SOFC).
  • the compression seal material is a member that performs gas sealing by being deformed by pressing (in the stacking direction) and in close contact with the surrounding structure (in the stacking direction).
  • a sheet-like member containing mica or vermiculite can be used as the compression seal material.
  • this compression sealing material in addition to gas sealing properties, a material having a function as an elastic stopper that is not compressed more than a certain amount, an electrical insulating property, or the like can be adopted.
  • the glass sealing material normal glass (for example, non-crystallized glass) can be used.
  • crystallized glass and partially crystallized glass can be used.
  • various materials such as ceramics may be added.
  • composition of the glass is not particularly limited, and can be appropriately selected from known materials that can be softened by heating and gas-sealed in close contact with members in the stacking direction when the fuel cell is manufactured.
  • a method of arranging a preform (calcined glass) or a sheet-like glass material, printing with a glass paste, or applying with a glass material dispenser can be employed.
  • the glass seal material may be disposed only around the fuel manifold.
  • the thermal expansion coefficient of the bolt is larger than the thermal expansion coefficient of the glass sealing material.
  • the glass seal in order to apply a sufficient compressive force to the glass sealing material, when the nut is projected along the axial direction of the bolt (screwed into the bolt), that is, when the nut is projected along the axial direction of the bolt, the glass seal It is desirable to arrange the material so that part or all of the material exists. In addition, it is preferable that the glass sealing material exists within the range of twice the outer diameter of the nut (twice the dimension in the radial direction of the nut).
  • the fuel manifold and air manifold extending in the stacking direction and the bolts inserted into these manifolds can be arranged coaxially.
  • FIG. 1A is a plan view of a solid oxide fuel cell of Example 1, and FIG. 1B is a side view of the solid oxide fuel cell. It is explanatory drawing which shows the state which fractured
  • 6B is an explanatory view showing a flow path of air. It is explanatory drawing which shows the manufacture procedure of a solid oxide fuel cell. It is explanatory drawing which shows the state (formation procedure) of the seal
  • 3 is a plan view showing a gas seal part of a solid oxide fuel cell of Example 2.
  • FIG. 6 is a perspective view showing an air electrode frame used in the solid oxide fuel cell of Example 2.
  • FIG. 6 is a plan view showing a gas seal portion of a solid oxide fuel cell of Example 3.
  • FIG. 6 is a plan view showing a gas seal portion around a nut of a solid oxide fuel cell of Example 4.
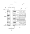
  • the fuel cell 1 is a device that generates power by receiving supply of a fuel gas (for example, hydrogen) and an oxidant gas (for example, air).
  • the fuel cell 1 includes a fuel cell stack 5 in which a plurality of (for example, 24 stages) flat plate fuel cell cells 3 as power generation units (power generation cells) are stacked, and the fuel cell stack 5 in a stacking direction (in FIG. 1B).
  • a plurality of bolts 11 to 18 penetrating in the vertical direction and nuts 19 (generic names) screwed to ends (here, upper portions) of the bolts 11 to 18 are provided.
  • the fuel cell stack 5 has a plurality of fuel cells 3 electrically connected in series.
  • a nut 19 that is screwed into the second bolt 12 among the bolts 11 to 18 is provided with a fuel gas introduction pipe 21 that supplies fuel gas to the fuel cell 1.
  • the nut 19 that is screwed to the bolt 14 is provided with an air introduction pipe 23 that supplies an oxidant gas (hereinafter simply referred to as air) to the fuel cell 1, and the nut 19 that is screwed to the sixth bolt 16 is A fuel gas discharge pipe 25 that discharges the fuel gas after power generation from the fuel cell 1 is provided, and an air discharge pipe 27 that discharges the air after power generation from the fuel cell 1 to the nut 19 that is screwed into the eighth bolt 18. Is provided.
  • each fuel cell 3 constituting the fuel cell stack 5 is a so-called fuel electrode support membrane type plate-like fuel cell 3, and the fuel cell 3 includes a pair of upper and lower fuel cells 3.
  • the fuel flow path 31 in which the fuel gas flows and the air flow path 33 in which the air flows are provided separately between the interconnectors 43 and 43 (having conductivity).
  • the fuel cell 3 has a plate-shaped fuel electrode (anode) 35 disposed on the fuel flow path 31 side, and a thin solid electrolyte layer on the surface of the fuel electrode 35 (upper side in FIG. 2).
  • a solid oxide layer 37 is formed.
  • a thin air electrode (cathode) 39 is formed on the surface of the solid oxide layer 37 (upper side in FIG. 2).
  • the fuel electrode 35, the solid oxide layer 37, and the air electrode 39 are referred to as a cell body (single cell) 41.
  • a fuel electrode side current collector 53 (having air permeability made of a metal mesh or the like) is disposed in the fuel cell 3 between the fuel electrode 35 and the interconnector 43 on the lower side of FIG.
  • a large number of block-shaped convex portions serving as the air electrode side current collector 55 are integrally formed.
  • the fuel cell 3 includes a sheet-like gas seal portion 45 on the air electrode 39 side and an outer edge portion (specifically, solid oxidation) of the cell body (single cell) 41 so as to surround the cell body (single cell) 41.
  • a separator 47 joined to the upper surface of the outer edge of the material layer 37 and blocking between the air flow path 33 and the fuel flow path 31, and a fuel electrode frame 49 disposed on the fuel flow path 31 side. These are laminated to form a single unit.
  • the plate members (having the same conductivity as the interconnector 43) at both ends in the stacking direction of the fuel cell 1 are referred to as end plates 51.
  • the solid oxide layer 37 materials such as YSZ, ScSZ, SDC, GDC, and perovskite oxide can be used.
  • the fuel electrode 35 Ni and a cermet of Ni and ceramic can be used, and as the air electrode 39, a perovskite oxide, various noble metals and cermets of noble metal and ceramic can be used.
  • the interconnector 43, the end plate 51, the separator 47, and the fuel electrode frame 49 for example, a metal plate made of ferritic stainless steel such as SUS430 and SUS444 can be used.
  • a metal plate made of ferritic stainless steel such as SUS430 and SUS444 can be used.
  • Each of the bolts 11 to 18 and the nut 19 can be a metal member made of, for example, Inconel (registered trademark).
  • thermal expansion coefficient of each metal plate a range of 8 to 14 ⁇ 10 ⁇ 6 / K (20 to 300 ° C.) can be adopted, and the thermal expansion coefficients of the bolts 11 to 18 and the nut 19 are For example, 16 ⁇ 10 ⁇ 6 / K (20 to 300 ° C.) having a large thermal expansion coefficient can be employed.
  • each member which comprises the fuel cell 3 is demonstrated in detail. Since the planar shape of the fuel battery cell 3 is square, the planar shape of each member constituting the fuel battery cell 3 is also square.
  • the interconnector 43 on which the fuel electrode side current collector 53 is placed, the fuel electrode frame 49, and the separator 47 joined to the cell body (single cell) 41 are the same.
  • the fuel cell cassette 57 is laminated in the vertical direction in the figure and integrated (by laser welding described later).
  • the interconnector 43 is a square plate member, and through holes (first to eighth insertion holes) 61 to 68 through which the bolts 11 to 18 are inserted are formed at substantially equal intervals.
  • insertion holes 61 to 68 (the same numbers are assigned to the insertion holes in each member) are formed at eight positions at positions corresponding to the four corners of the interconnector 43 and the midpoint of each side.
  • the first, third, fifth, and seventh insertion holes 61, 63, 65, and 67 at the four corners are round holes that are not used as gas flow paths for fuel gas or air.
  • the second and sixth insertion holes 62 and 66 provided on the opposite sides are oval having a long dimension along the side.
  • the second insertion hole 62 transmits the fuel gas to the fuel cell 3.
  • This is a fuel gas introduction path (fuel manifold on the fuel gas introduction side) to be introduced into the internal fuel flow path 31.
  • the sixth insertion hole 66 is a fuel gas discharge path (fuel manifold on the fuel gas discharge side) for discharging the fuel gas from the fuel flow path 31 in the fuel cell 3.
  • the fourth and eighth insertion holes 64 and 68 provided on the other opposing sides are round holes, and among these, the fourth insertion hole 64 allows air to enter the air flow path 33 in the fuel cell 3.
  • the eighth insertion hole 68 is an air discharge path (air manifold on the air discharge side) for discharging air from the air flow path 33 in the fuel cell 3.
  • the fuel manifolds and air manifolds and the bolts 11 to 18 inserted through the fuel manifolds and air manifolds are arranged coaxially.
  • the fuel electrode frame 49 is a square frame-shaped plate member, and the first to eighth insertion holes 61 to 68 through which the bolts 11 to 18 are inserted are formed on the outer edge portion thereof.
  • the second and sixth insertion holes 62 and 66 are formed with slits 71 and 73 (through holes) in the longitudinal direction, and the interconnector 43 side (lower side in the figure) of the fuel electrode frame 49.
  • a plurality of grooves 77 and 79 (which serve as fuel gas flow paths) are formed so that the slits 71 and 73 communicate with the opening 75 in the frame.
  • the separator 47 is a square frame-shaped plate material, and the first to eighth insertion holes 61 to 68 through which the bolts 11 to 18 are inserted are formed on the outer edge portion thereof. And the cassette 57 of the structure mentioned above is laminated
  • the gas seal portion 45 in the first embodiment includes a sheet-like compression seal material 91 made of mica and a glass seal material 93 made of glass. Note that the compression seal material 91 and the glass seal material 93 have electrical insulation.
  • an interconnector 43 or end plate 51 or a separator 47 constituting the fuel cell stack 5 is provided.
  • the glass sealing material 93 and the compression sealing material 91 are seen from the inside along a plane (plane on which the paper surface spreads) in which the fuel cells 3 extend so as to be sandwiched from the stacking direction and surround the fuel manifold from the outer side (outer peripheral side). They are arranged in parallel in order.
  • the fuel manifold when viewed from the axial direction of the bolts 12 and 16, and hence the second and sixth insertion holes 62 and 66, which are fuel manifolds (in plan view), the fuel manifold is surrounded from a radial direction perpendicular to the axial direction. Further, the glass sealing material 93 and the compression sealing material 91 are arranged concentrically. That is, the annular glass seal material 93 is disposed on the inner side, and the compression seal material 91 is disposed so as to surround the entire outer peripheral side thereof.
  • the compression seal material 91 is a square frame-shaped member, and the first to eighth insertion holes 61 to 68 through which the bolts 11 to 18 are inserted are formed on the outer edge portion thereof.
  • the compression seal material 91 has a thickness of 0.40 mm before assembling and 0.36 mm after assembling.
  • first, third, fifth, and seventh insertion holes 61, 63, 65, and 67 are round holes
  • fourth and eighth insertion holes 64 and 68 are round holes having a larger diameter
  • the second and sixth insertion holes 62 and 66 are oval long holes.
  • the compression seal material 91 is provided with communication passages 95 and 97 as air flow paths so as to communicate with the fourth and eighth insertion holes 64 and 68 and the opening 99 in the frame, respectively. .
  • annular glass sealing material 93 having a thickness of 0.3 mm and a width of 3.0 mm is disposed so as to surround it.
  • the glass sealing material 93 is a gas sealing material containing glass (for example, containing glass as a main component).
  • a gas sealing material containing glass for example, containing glass as a main component.
  • a commercially available crystallized glass preform preliminary sintered body
  • its softening point is, for example, 770 ° C.
  • the glass sealing material 93 has a thermal expansion coefficient close to that of the surrounding metal plate (for example, ferritic stainless steel), for example, a thermal expansion coefficient of 8 to 14 ⁇ 10 ⁇ 6 / K (20 to 300 ° C.) is desirable (for example, 11 ⁇ 10 ⁇ 6 / K (20 to 300 ° C.)).
  • a thermal expansion coefficient close to that of the surrounding metal plate for example, ferritic stainless steel
  • a thermal expansion coefficient of 8 to 14 ⁇ 10 ⁇ 6 / K (20 to 300 ° C.) is desirable (for example, 11 ⁇ 10 ⁇ 6 / K (20 to 300 ° C.)).
  • G018-311 manufactured by SCHOTT can be used.
  • the operating temperature of the fuel cell 1 is, for example, 700 ° C., but is approximately 650 ° C. in the vicinity of the gas seal portion 45. Therefore, as the glass seal material 93, the softening point is higher than the temperature of the gas seal portion 45 during operation. Higher ones are used.
  • a groove (not shown) is formed in the axial direction at the tip of the second bolt 12 (upward in the figure), and the space in the fuel gas introduction pipe 21 and the second insertion hole 62 are formed through this groove.
  • the inside communicates (the fuel gas discharge side, the air introduction side and the discharge side have the same structure).
  • This fuel gas is introduced into the fuel flow path 31 inside the fuel cell 3 from the second insertion hole 62 via the groove 77 of the fuel electrode frame 49 of each fuel cell 3. Thereafter, the remaining fuel gas that has contributed to power generation in the fuel cell 3 is inserted through the other groove 79 of the fuel electrode frame 49 through the sixth bolt 16 (which is a discharge-side fuel manifold). The fuel gas is discharged from the fuel gas discharge pipe 25 to the outside of the fuel cell stack 5 through the six insertion holes 66.
  • Air flow path> As shown in FIG. 6B, the air introduced into the fuel cell stack 5 from the air introduction pipe 23 is introduced into the fourth insertion hole 64 through which the fourth bolt 14 is inserted (which is an air manifold on the introduction side). .
  • This air is introduced from the fourth insertion hole 64 into the air flow path 33 inside the fuel cell 3 through the communication passage 95 of the compression seal material 91 of each fuel cell 3. Thereafter, the remaining air that has contributed to power generation in the fuel cell 3 is inserted into the eighth bolt 18 through the other communication passage 97 of the compression seal material 91 (which is an air manifold on the discharge side). The air is discharged from the air discharge pipe 27 to the outside of the fuel cell stack 5 through the eight insertion holes 68.
  • a method for manufacturing the fuel cell 1 will be described.
  • a cell body (single cell) 41 in which a fuel electrode 35, a solid oxide layer 37, and an air electrode 39 are integrated is manufactured according to a conventional method.
  • a frame-like separator 47 is brazed to the outer edge of the (single cell) 41.
  • the fuel electrode frame 49 is sandwiched between the separator 47 and the interconnector 43 (or end plate 51), and the fuel electrode frame 49, the separator 47, and the interconnector 43 (or end plate) are laser-welded. 51) are integrally joined to produce a fuel cell cassette 57.
  • the periphery of the second and sixth insertion holes 62 and 66 that are fuel manifolds and the fourth and eighth insertion holes 64 and 68 that are air manifolds are joined in an annular shape by laser welding, and the separator 47. And the outer edge of the interconnector 43 (or the end plate 51) are joined in an annular shape.
  • the gas seal portion 45 (the material to be formed) made of the compression seal material 91 and the glass seal material 93 (to be the glass material) is disposed between the cassettes 57 of the fuel cell.
  • the annular glass sealing material 93 (and so on) is provided so as to completely surround the fuel manifold (second and sixth insertion holes 62 and 66) on the same plane of the surface of each separator 47.
  • the compression sealing material 91 is disposed so as to completely surround the periphery of the glass sealing material 93 (becoming glass material).
  • the bolts 11 to 18 are inserted into the insertion holes 61 to 68, and the bolts 11 to 18 and the nut 19 are tightened, so that the fuel cell stack 5 is stacked in the stacking direction (up and down in FIG.
  • the fuel cell stack 5 is integrated.
  • the thickness of the compression sealant 91 is 0.36 mm, and the thickness of the glass sealant 93 (before softening) is larger than 0.30 mm. 43 (or end plate 51) has a slight gap.
  • the fuel cell stack 5 (specifically, the glass sealing material 93 (becoming glass material)) is heated to, for example, 850 ° C. above the crystallization temperature of the glass for 2 hours to crystallize the glass.
  • the glass sealing material 93 softens and becomes rounded by its surface tension as shown in FIG.
  • the upper interconnector 43 (or the end plate 51) is contacted. Further, the glass is crystallized by heating at 850 ° C. for 2 hours.
  • the glass sealing material 93 is firmly bonded to the separator 47 and the interconnector 43 (or the end plate 51).
  • the glass sealing material 93 is softened when the glass is heated, as described above, the thermal expansion coefficients of the bolts 11 to 18 are arranged in the stacking direction such as the separator 47, the interconnector 43, and the fuel electrode frame 49.
  • the fuel cell stack 5 Since the thermal expansion coefficient of the metal plate and the thermal expansion coefficient of the glass seal material 93 are larger than each other, the fuel cell stack 5 is loosened when the glass is heated (the pressing force of the bolts 11 to 18 is reduced, It ’s not lost.) Thereafter, when cooled, the bolts 11 to 18 and the like shrink in the stacking direction (return to the original) to form a compression field, so that the glass seal material 93 is sealed in a compressed state (that is, by glass). Sealed).
  • annular glass sealing material 93 is disposed along a plane (that is, a radial direction of each manifold) in which the fuel cells 3 spread so as to surround each manifold (for example, in a plan view shown in FIG. 5).
  • Compression sealing materials 91 are arranged in parallel so as to surround the glass sealing material 93 from the radial direction on the same plane.
  • the compression seal material 91 can suppress an excessive force from being applied to the glass seal material 93, so that the glass seal material 93 can be prevented from cracking. Gas leakage can be suitably prevented.
  • the compression seal material 91 suppresses excessive deformation of the glass seal material 93, so that the glass spreads around and the electrical connectivity is reduced. Can be prevented.
  • the occurrence of gas leakage of the fuel gas can be suitably prevented, so that the power generation efficiency is high and there is no need for post-processing of the leaked gas (or post-processing is easy). Has an effect.
  • the fuel cell stack 5 is fastened and fixed by the bolts 11 to 18 and the nut 19, so that there is an advantage that the fixing is easy and can be surely fixed.
  • the temperature of the fuel cell 1 varies according to the operation (ON) and stop (OFF) of the fuel cell 1, but in the first embodiment, the above-described configuration (relation of the thermal expansion coefficient of each part). Even if the temperature fluctuates, the glass sealing material 93 and the like can always be pressed, so that there is an advantage that gas leakage can be prevented. [Example 2] Next, the second embodiment will be described, but the description of the same contents as the first embodiment will be omitted.
  • the second embodiment is different from the first embodiment in the configuration of the gas seal portion of the fuel cell, so the gas seal portion will be described.
  • the same number as the said Example 1 is used.
  • the second and sixth insertion holes 62 and 66 that are fuel manifolds are surrounded by annular glass seal materials 103 and 105.
  • the periphery of the fourth and eighth insertion holes 64 and 68 that are air manifolds is also surrounded by the annular glass seal materials 107 and 109.
  • the compression seal material 111 has a rectangular frame shape as in the first embodiment, and is disposed so as to surround the outer periphery of each glass seal material 103, 105, 107, 109. Further, in the second embodiment, as shown in FIG. 10, the gap between the gas seal portion 101 and the separator 47 is the same as that of the frame-shaped fuel electrode frame 49 of the first embodiment (however, the direction is 90 degrees in plan view). An air electrode frame 118 (which is different) is disposed (the same applies to the third embodiment).
  • the air electrode frame 118 includes slits 113 and 114 which are through holes extending along the sides from the fourth and eighth insertion holes 64 and 68 and grooves 116 and 117 extending from the slits 113 and 114 to the air electrode 39 side. It is a frame-like member, and communicates the fourth and eighth insertion holes 64 and 68 and the air electrode 39 side through the slits 113 and 114 and the grooves 116 and 117 of the air electrode frame 118.
  • the second embodiment has the same effects as the first embodiment and can prevent not only fuel gas leak but also air leak. Therefore, since the gas flow rate can be adjusted with high accuracy, there is an advantage that the fuel cell 1 can be operated more precisely.
  • Example 3 Next, the third embodiment will be described, but the description of the same contents as the first embodiment will be omitted.
  • the third embodiment is different from the first embodiment in the configuration of the gas seal portion of the fuel cell, so the gas seal portion will be described.
  • the same number as the said Example 1 is used.
  • the gas seal portion 121 of the fuel cell 1 of the third embodiment is composed of compression seal materials 123 and 125 and a glass seal material 127 made of the same material as in the first embodiment. The arrangement is reversed.
  • annular compression seal materials 123 and 125 are disposed around the place where the glass seal material is used in the first embodiment, that is, around the second and sixth insertion holes 62 and 66 that are fuel manifolds.
  • a rectangular frame-shaped glass seal material 127 is disposed at a place where the compression seal material is used in the first embodiment, that is, surrounding the compression seal materials 123 and 125.
  • the third embodiment has the same effect as the first embodiment, and has many advantages such as excellent gas sealability since there are many glass sealing portions.
  • the fourth embodiment will be described, but the description of the same contents as the first embodiment will be omitted.
  • a plurality of bolts are provided so as to penetrate the fuel cell stack 5 having the same configuration as that of the first embodiment in the stacking direction. 131 is arranged.
  • annular first gas seal portion 137 is provided between a nut 133 screwed into the bolt 131 and one end plate 135 (upper side in the figure).
  • An annular second gas seal portion 143 (similar to the first gas seal portion 137) is provided between the head 139 and the other end plate 141 (downward in the figure).
  • the members constituting the fuel cell of the present invention include the bolt 131 (including the head 139), the nut 133, the end plates 135 and 141, and the like.
  • the insertion hole 145 through which the bolt 131 is inserted is the same fuel manifold as in the first embodiment, but both the fuel manifold and the air manifold may be used as in the second embodiment.
  • the first gas seal portion 137 surrounds the periphery of the compression seal member 147 and the annular compression seal member 147 arranged so as to surround the bolt 131 (and the insertion hole 145), and also includes the nut 133 and the end.
  • An annular glass sealing material 149 joined to the plate 135.
  • the second gas seal portion 143 includes an annular compression seal material 151 disposed so as to surround the bolt 131 (and the second and sixth insertion holes 62 and 66), and the periphery of the compression seal material 151.
  • An annular glass sealing material 153 which is enclosed and joined to the head 139 of the bolt 131 and the end plate 141 is formed.
  • the glass sealing materials 149 and 153 for example, the same material as the glass sealing material 93 of the first embodiment can be used.
  • the 1st gas seal part 137 and the 2nd gas seal part 143 which are the principal parts of the present Example 4 are demonstrated in detail.
  • one of the second insertion hole 62 and the sixth insertion hole 66 (upper part in the drawing) constituting the fuel manifold is open ends (openings) 62a, 66a.
  • the first gas seal portion 137 is provided for gas sealing
  • the second gas seal portion 143 is provided for gas sealing the other open ends (opening portions) 62b and 66b. Yes.
  • the first gas seal portion 137 is disposed on one end plate 135 on the upper side of FIG. 13 (on one opening 62a, 66a side of the second and sixth insertion holes 62, 66 which are fuel manifolds). ) Between each nut 133, that is, between the upper surface 135 a of one end plate 135 and the lower surface 133 a of each nut 133, a gas seal is provided.
  • the nut 133 is provided so as to cover the openings 62a and 66a on one side (upper side of FIG. 13) of the fuel manifold when viewed from the upper side of FIG. 13 (in plan view).
  • the second gas seal portion 143 is disposed on the other end plate 141 in the lower part of FIG. 13 (on the other opening portions 62b and 66b side of the second and sixth insertion holes 62 and 66 which are fuel manifolds).
  • a gas seal is provided between the heads 139 of the bolts 131, that is, between the lower surface 141b of the other end plate 141 and the upper surface 139b of the heads 139 of the bolts 131.
  • the head portion 139 of the bolt 131 is provided so as to cover the openings 62b and 66b on the other side (lower side in FIG. 13) of the fuel manifold as viewed from the lower side in FIG. 13 (in plan view).
  • the 1st gas seal part 137 is the circumference
  • the end plate 135 and the periphery of the portion of the bolt 131 that protrudes from the fuel cell stack 5 (upward in FIG. 13) in the radial direction are surrounded by the outer side (outer peripheral side).
  • the compression seal material 147 and the glass seal material are sandwiched by the nut 133 from the stacking direction of the fuel cells 3 (up and down direction in FIG. 13) and along the plane in which the fuel cells 3 spread (a plane perpendicular to the stacking direction). 149 are arranged in parallel in order.
  • FIG. 14 when viewed from the axial direction of the bolt 131 (in a plan view), it surrounds the periphery of the axial portion 150 of the bolt 131, that is, the axial direction of the axial portion 150 is perpendicular to the axial direction.
  • the compression sealing material 147 and the glass sealing material 149 are arranged concentrically so as to surround from. That is, an annular compression seal material 147 is disposed on the inner side, and an annular glass seal material 149 is disposed so as to surround the entire outer peripheral side thereof.
  • the second gas seal portion 143 is arranged on the same plane (viewed from the vertical direction in FIG. 13: in plan view), and the shaft portion 150 of each bolt 131 (and each insertion hole 62, 66) and an annular compression seal material 151 arranged so as to surround the periphery of the compression seal material 151, and arranged so as to surround the periphery of the compression seal material 151 (joined to the head 139 and the end plate 141 of each bolt 131). It is comprised from the cyclic
  • the end plate 141 and the periphery of the portion of the bolt 131 that protrudes from the fuel cell stack 5 (downward in FIG. 13) in the radial direction are surrounded by the end plate 141 and the outer periphery.
  • the compression seal material 151 and the glass seal material 153 are arranged in parallel in order along the plane in which the fuel cell 3 spreads while being sandwiched by the heads 139 of the bolts 131 from the stacking direction of the fuel cells 3. .
  • FIG. 14 when viewed from the axial direction of the bolt 131 (in plan view), it surrounds the periphery of the axial portion 150 of the bolt 131, that is, the diameter of the axial portion 150 is perpendicular to the axial direction.
  • the compression seal material 151 and the glass seal material 153 are arranged concentrically so as to surround from the direction. That is, an annular compression seal material 151 is disposed on the inner side, and an annular glass seal material 153 is disposed so as to surround the entire outer periphery thereof.
  • the compression seal materials 147 and 151 are sheet-like members made of mica, like the gas seal portion 45, and the glass seal materials 149 and 153 are It is composed of glass. Both compression sealing materials 147 and 151 and the glass sealing materials 149 and 153 also have electrical insulation.
  • each compression seal material 147, 151 is a ring with an outer diameter of 17 mm ⁇ an inner diameter of 11 mm), the thickness before assembly is 0.5 mm, and the thickness after assembly (after compression) is 0.4 mm. .
  • each glass sealing material 149,153 is a gas sealing material containing glass (for example, glass is the main component).
  • a gas sealing material containing glass for example, glass is the main component.
  • a commercially available crystallized glass preform preliminarily sintered body
  • its softening point is, for example, 770 ° C.
  • glass sealing materials 149 and 153 those having a thermal expansion coefficient close to that of a surrounding metal plate (for example, made of ferritic stainless steel), for example, a thermal expansion coefficient of 8 to 14 ⁇ 10 ⁇ 6 / K ( 20 to 300 ° C.) is desirable (for example, 11 ⁇ 10 ⁇ 6 / K (20 to 300 ° C.)).
  • a thermal expansion coefficient of 8 to 14 ⁇ 10 ⁇ 6 / K 20 to 300 ° C.
  • 11 ⁇ 10 ⁇ 6 / K (20 to 300 ° C.
  • G018-311 manufactured by SCHOTT can be used.
  • the operating temperature of the fuel cell 1 is, for example, 700 ° C., but is around 640 ° C. in the vicinity of the first and second gas seal portions 137, 143. Therefore, as the glass seal materials 149, 153, Those having a softening point higher than the temperature of the first and second gas seal portions 137 and 143 are used. Further, different materials (for example, materials having different softening points) may be used as the glass seal material 93 of the gas seal portion 45 and the glass seal materials 149 and 153 of the first and second gas seal portions 137 and 143.
  • the first, third, fourth, fifth, seventh, and eighth insertion holes 61, 63, 64, 65, 67, and 68 through which the fuel gas does not flow are screwed into these bolts 131. Since there is no need to gas seal the nut 133 to be used, only a compression seal material (not shown) made of the same annular mica as that used in the first and second gas seal portions 137 and 143 is used as a spacer. Is used.
  • the gas having the same configuration as the first and second gas seal portions 137 and 143 so that the openings of the fourth and eighth insertion holes 64 and 68 corresponding to the air manifold are gas-sealed in the same manner as the fuel manifold.
  • a seal portion (not shown) may be provided.
  • a gas seal portion (not shown) having the same configuration as the first and second gas seal portions 137 and 143 is provided so that all the openings of the first to eighth insertion holes 61 to 68 are gas-sealed. It may be provided.
  • the first gas seal portion 137 is formed, as shown in FIG. 14, an annular compression seal material 147 is arranged around the bolt 131, and an annular compression seal material 147 is arranged around A glass sealing material 149 (becoming glass material) is disposed.
  • the glass sealing materials 149 and 153 are softened by heating, joined to surrounding members, and then cooled.
  • the fourth embodiment has the same effect as the first embodiment, and has the advantage that gas can be effectively prevented from leaking from the gap between the fuel cell stack 5 and the head 139 of the nut 133 or the bolt 131. is there.
  • Example of this invention is not limited to the said Example, A various aspect can be taken.
  • a method of pressing the fuel cell stack in the stacking direction in addition to the tightening by screwing of the bolt and nut described above, for example, a method of putting a weight so as to apply a load in the stacking direction, a spring is used. Examples include a method of pressing in the stacking direction.
  • each fuel manifold or air manifold and each bolt inserted through each fuel manifold or air manifold may not be arranged coaxially (not shown).
  • Each bolt may be arranged outside each fuel manifold or air manifold (not shown).
  • the present invention is not limited to a solid oxide fuel cell (SOFC), but is applied to a high-temperature type fuel cell having an operating temperature range of about 600 ° C. or more, such as a molten carbonate fuel cell (MCFC). Is possible.
  • SOFC solid oxide fuel cell
  • MCFC molten carbonate fuel cell

Landscapes

  • Chemical & Material Sciences (AREA)
  • Engineering & Computer Science (AREA)
  • Manufacturing & Machinery (AREA)
  • Life Sciences & Earth Sciences (AREA)
  • Sustainable Development (AREA)
  • Sustainable Energy (AREA)
  • Chemical Kinetics & Catalysis (AREA)
  • Electrochemistry (AREA)
  • General Chemical & Material Sciences (AREA)
  • Inorganic Chemistry (AREA)
  • Fuel Cell (AREA)
PCT/JP2014/067219 2013-06-28 2014-06-27 燃料電池及びその製造方法 Ceased WO2014208739A1 (ja)

Priority Applications (6)

Application Number Priority Date Filing Date Title
EP14816720.8A EP3016192B1 (en) 2013-06-28 2014-06-27 Fuel cell and method for manufacturing same
CA2916417A CA2916417C (en) 2013-06-28 2014-06-27 Fuel cell and method for manufacturing same
US14/901,292 US10693174B2 (en) 2013-06-28 2014-06-27 Fuel cell stack and method of producing the same
DK14816720.8T DK3016192T3 (en) 2013-06-28 2014-06-27 Fuel Cell and its Process
CN201480037221.4A CN105340116B (zh) 2013-06-28 2014-06-27 燃料电池和其制造方法
KR1020167002327A KR101903863B1 (ko) 2013-06-28 2014-06-27 연료 전지 및 그 제조 방법

Applications Claiming Priority (4)

Application Number Priority Date Filing Date Title
JP2013136710 2013-06-28
JP2013-136710 2013-06-28
JP2014-005312 2014-01-15
JP2014005312 2014-01-15

Publications (1)

Publication Number Publication Date
WO2014208739A1 true WO2014208739A1 (ja) 2014-12-31

Family

ID=52142062

Family Applications (1)

Application Number Title Priority Date Filing Date
PCT/JP2014/067219 Ceased WO2014208739A1 (ja) 2013-06-28 2014-06-27 燃料電池及びその製造方法

Country Status (8)

Country Link
US (1) US10693174B2 (enExample)
EP (1) EP3016192B1 (enExample)
JP (1) JP6175410B2 (enExample)
KR (1) KR101903863B1 (enExample)
CN (1) CN105340116B (enExample)
CA (1) CA2916417C (enExample)
DK (1) DK3016192T3 (enExample)
WO (1) WO2014208739A1 (enExample)

Cited By (6)

* Cited by examiner, † Cited by third party
Publication number Priority date Publication date Assignee Title
WO2016031517A1 (ja) * 2014-08-27 2016-03-03 株式会社 村田製作所 燃料電池ユニット
JP2016170939A (ja) * 2015-03-12 2016-09-23 日本特殊陶業株式会社 燃料電池スタック
WO2016175231A1 (ja) * 2015-04-30 2016-11-03 日本特殊陶業株式会社 燃料電池スタック
JP2016225078A (ja) * 2015-05-28 2016-12-28 日本特殊陶業株式会社 燃料電池構造体
JP2017010804A (ja) * 2015-06-23 2017-01-12 日本特殊陶業株式会社 電気化学反応セルスタックの製造方法および電気化学反応セルスタック
JP2021111473A (ja) * 2020-01-07 2021-08-02 東芝エネルギーシステムズ株式会社 固体酸化物形電気化学スタック

Families Citing this family (21)

* Cited by examiner, † Cited by third party
Publication number Priority date Publication date Assignee Title
JP6236103B2 (ja) * 2016-03-01 2017-11-22 本田技研工業株式会社 燃料電池スタック
KR102123715B1 (ko) * 2016-08-16 2020-06-16 주식회사 엘지화학 고체 산화물 연료전지
US11394039B2 (en) 2016-11-22 2022-07-19 Morimura Sofc Technology Co., Ltd. Electro-chemical reaction unit having glass seal member composed of vertically long crystal grains, and electro-chemical reaction cell stack, and electro-chemical reaction unit production method comprising same
JP6818870B2 (ja) * 2017-03-22 2021-01-20 株式会社東芝 電気化学セルスタック
JP6893127B2 (ja) * 2017-06-14 2021-06-23 森村Sofcテクノロジー株式会社 電気化学反応単位および電気化学反応セルスタック
KR102148066B1 (ko) 2017-07-13 2020-08-25 주식회사 엘지화학 연료전지 스택
KR102017578B1 (ko) * 2017-09-19 2019-09-03 주식회사 미코 연료전지 구조체
JP6607977B2 (ja) * 2018-01-17 2019-11-20 本田技研工業株式会社 水電解装置
EP3783711A4 (en) 2018-03-30 2022-03-16 Osaka Gas Co., Ltd. STACKED BODY OF ELECTROCHEMICAL ELEMENTS, ELECTROCHEMICAL ELEMENT, ELECTROCHEMICAL MODULE, ELECTROCHEMICAL DEVICE AND POWER SYSTEM
CN208444898U (zh) * 2018-06-13 2019-01-29 宁波索福人能源技术有限公司 一种平板式固体氧化物燃料电池堆
KR102658974B1 (ko) * 2018-06-29 2024-04-22 주식회사 미코파워 연료전지 구조체
JP7241588B2 (ja) 2019-03-29 2023-03-17 大阪瓦斯株式会社 電気化学素子、電気化学モジュール、電気化学装置及びエネルギーシステム
JP7345267B2 (ja) 2019-03-29 2023-09-15 大阪瓦斯株式会社 電気化学素子、電気化学モジュール、電気化学装置及びエネルギーシステム
WO2020250722A1 (ja) * 2019-06-13 2020-12-17 パナソニックIpマネジメント株式会社 電気化学セルユニット、電気化学セルスタック、電気化学セルユニットの製造方法及び電気化学セルスタックの製造方法
US11322771B2 (en) * 2019-12-30 2022-05-03 Hyaxiom, Inc. Fuel cell tie rod isolator
DK3893300T3 (da) * 2020-04-07 2023-11-06 Korea Inst Energy Res Flad, rørformet fastoxid-brændselscelle eller vandelektrolysecelle med integreret strømkollektor og fremstillingsfremgangsmåde dertil
CN114079061B (zh) * 2020-08-20 2023-04-25 国家能源投资集团有限责任公司 用于电池的密封结构和电池
CN115224301A (zh) * 2021-04-15 2022-10-21 国家能源投资集团有限责任公司 电堆单元及燃料电池堆
US11784325B2 (en) 2021-09-30 2023-10-10 Nissan North America, Inc. Frameless fuel cell stack having hollow fasteners
JP2023080457A (ja) * 2021-11-30 2023-06-09 森村Sofcテクノロジー株式会社 電気化学反応単位および電気化学反応セルスタック
FR3145840B1 (fr) * 2023-02-10 2025-02-07 Commissariat Energie Atomique Ensemble de distribution de gaz notamment pour électrolyseurs ou piles à combustible à oxydes solides à haute température

Citations (8)

* Cited by examiner, † Cited by third party
Publication number Priority date Publication date Assignee Title
JP2002141083A (ja) 2000-10-31 2002-05-17 Mitsubishi Materials Corp 固体酸化物型燃料電池
JP2005294153A (ja) 2004-04-02 2005-10-20 Mitsubishi Materials Corp 燃料電池のマニホールド機構
JP2006049195A (ja) * 2004-08-06 2006-02-16 Nissan Motor Co Ltd 絶縁シール構造および燃料電池
JP2009043550A (ja) 2007-08-08 2009-02-26 Ngk Spark Plug Co Ltd 固体電解質型燃料電池
JP2012007727A (ja) * 2010-05-21 2012-01-12 Ngk Spark Plug Co Ltd ガスシール複合体及び該ガスシール複合体を備えた装置
JP2012119164A (ja) * 2010-12-01 2012-06-21 Honda Motor Co Ltd 燃料電池スタック
JP2012124020A (ja) 2010-12-08 2012-06-28 Honda Motor Co Ltd 固体電解質燃料電池
JP2013051128A (ja) * 2011-08-31 2013-03-14 Aisin Seiki Co Ltd 固体酸化物形燃料電池装置

Family Cites Families (11)

* Cited by examiner, † Cited by third party
Publication number Priority date Publication date Assignee Title
JPH1092450A (ja) * 1996-09-17 1998-04-10 Chubu Electric Power Co Inc シール材及びこのシール材を備えた固体電解質型燃料電池
DE10044703B4 (de) 2000-09-09 2013-10-17 Elringklinger Ag Brennstoffzelleneinheit, Brennstoffzellenblockverbund und Verfahren zum Herstellen eines Brennstoffzellenblockverbunds
US20030096147A1 (en) 2001-11-21 2003-05-22 Badding Michael E. Solid oxide fuel cell stack and packet designs
US20060166053A1 (en) 2001-11-21 2006-07-27 Badding Michael E Solid oxide fuel cell assembly with replaceable stack and packet modules
US7258942B2 (en) 2002-04-26 2007-08-21 Battelle Memorial Institute Multilayer compressive seal for sealing in high temperature devices
US20060188649A1 (en) 2005-02-22 2006-08-24 General Electric Company Methods of sealing solid oxide fuel cells
KR20110005818A (ko) 2008-04-18 2011-01-19 더 리전트 오브 더 유니버시티 오브 캘리포니아 고온 전기화학적 장치를 위한 일체형 밀봉재
EP2297807A1 (en) 2008-06-17 2011-03-23 Battelle Memorial Institute Sofc double seal with dimensional control for superior thermal cycle stability
CN102449830A (zh) * 2009-04-30 2012-05-09 Fdi能源有限公司 大批量制造的燃料电池布置及其生产方法
KR101135367B1 (ko) * 2010-04-09 2012-04-16 포항공과대학교 산학협력단 평관형 고체산화물 연료전지용 거대 스택 및 그 제작 방법
EP2946427B1 (en) 2013-01-21 2017-04-26 Flexitallic Investments, Inc. Gasket for fuel cells

Patent Citations (8)

* Cited by examiner, † Cited by third party
Publication number Priority date Publication date Assignee Title
JP2002141083A (ja) 2000-10-31 2002-05-17 Mitsubishi Materials Corp 固体酸化物型燃料電池
JP2005294153A (ja) 2004-04-02 2005-10-20 Mitsubishi Materials Corp 燃料電池のマニホールド機構
JP2006049195A (ja) * 2004-08-06 2006-02-16 Nissan Motor Co Ltd 絶縁シール構造および燃料電池
JP2009043550A (ja) 2007-08-08 2009-02-26 Ngk Spark Plug Co Ltd 固体電解質型燃料電池
JP2012007727A (ja) * 2010-05-21 2012-01-12 Ngk Spark Plug Co Ltd ガスシール複合体及び該ガスシール複合体を備えた装置
JP2012119164A (ja) * 2010-12-01 2012-06-21 Honda Motor Co Ltd 燃料電池スタック
JP2012124020A (ja) 2010-12-08 2012-06-28 Honda Motor Co Ltd 固体電解質燃料電池
JP2013051128A (ja) * 2011-08-31 2013-03-14 Aisin Seiki Co Ltd 固体酸化物形燃料電池装置

Non-Patent Citations (1)

* Cited by examiner, † Cited by third party
Title
See also references of EP3016192A4

Cited By (9)

* Cited by examiner, † Cited by third party
Publication number Priority date Publication date Assignee Title
WO2016031517A1 (ja) * 2014-08-27 2016-03-03 株式会社 村田製作所 燃料電池ユニット
JP2016048626A (ja) * 2014-08-27 2016-04-07 株式会社村田製作所 燃料電池ユニット
US10497944B2 (en) 2014-08-27 2019-12-03 Murata Manufacturing Co., Ltd. Fuel cell unit
JP2016170939A (ja) * 2015-03-12 2016-09-23 日本特殊陶業株式会社 燃料電池スタック
WO2016175231A1 (ja) * 2015-04-30 2016-11-03 日本特殊陶業株式会社 燃料電池スタック
JP2016225078A (ja) * 2015-05-28 2016-12-28 日本特殊陶業株式会社 燃料電池構造体
JP2017010804A (ja) * 2015-06-23 2017-01-12 日本特殊陶業株式会社 電気化学反応セルスタックの製造方法および電気化学反応セルスタック
JP2021111473A (ja) * 2020-01-07 2021-08-02 東芝エネルギーシステムズ株式会社 固体酸化物形電気化学スタック
JP7263269B2 (ja) 2020-01-07 2023-04-24 東芝エネルギーシステムズ株式会社 固体酸化物形電気化学スタック

Also Published As

Publication number Publication date
US20160372778A1 (en) 2016-12-22
EP3016192A1 (en) 2016-05-04
CN105340116B (zh) 2018-05-29
KR20160025014A (ko) 2016-03-07
CA2916417A1 (en) 2014-12-31
CN105340116A (zh) 2016-02-17
DK3016192T3 (en) 2019-04-23
JP2015156352A (ja) 2015-08-27
KR101903863B1 (ko) 2018-10-02
CA2916417C (en) 2019-06-11
JP6175410B2 (ja) 2017-08-02
EP3016192A4 (en) 2016-11-16
EP3016192B1 (en) 2019-03-20
US10693174B2 (en) 2020-06-23

Similar Documents

Publication Publication Date Title
JP6175410B2 (ja) 燃料電池及びその製造方法
JP6054912B2 (ja) 燃料電池及びその製造方法
JP5330532B2 (ja) 固体酸化物形燃料電池
JP6118230B2 (ja) 燃料電池スタック
CN104081571A (zh) 燃料电池
CN107636876A (zh) 电化学反应单元和燃料电池堆
JP2009217959A (ja) 平板型固体酸化物形燃料電池スタック
CN101855768B (zh) 高温燃料电池堆及其制造
JP6199697B2 (ja) セパレータ付燃料電池単セル,燃料電池スタック,およびその製造方法
JP5727428B2 (ja) セパレータ付燃料電池セル,および燃料電池
JP6452809B2 (ja) 燃料電池発電単位および燃料電池スタック
JP6339495B2 (ja) インターコネクタ−燃料電池単セル複合体及び燃料電池スタック
JP5881594B2 (ja) 燃料電池スタック及びその製造方法
JP6273233B2 (ja) 電気化学反応セルスタックの製造方法
JP5113350B2 (ja) Sofc用ガスシール方法及び構造
JP5283210B2 (ja) 燃料電池
JPWO2018154629A1 (ja) 電気化学セル
JP2019003795A (ja) 電気化学反応単位および電気化学反応セルスタック
JP2014049325A (ja) セパレータ付燃料電池セル,その製造方法,および燃料電池スタック
JP7757221B2 (ja) 複合体
JP5727429B2 (ja) セパレータ付燃料電池セル,および燃料電池
WO2016175231A1 (ja) 燃料電池スタック
JPH09180742A (ja) 燃料電池
WO2016204017A1 (ja) 燃料電池スタックおよび燃料電池スタックの製造方法

Legal Events

Date Code Title Description
WWE Wipo information: entry into national phase

Ref document number: 201480037221.4

Country of ref document: CN

121 Ep: the epo has been informed by wipo that ep was designated in this application

Ref document number: 14816720

Country of ref document: EP

Kind code of ref document: A1

ENP Entry into the national phase

Ref document number: 2916417

Country of ref document: CA

NENP Non-entry into the national phase

Ref country code: DE

WWE Wipo information: entry into national phase

Ref document number: 14901292

Country of ref document: US

Ref document number: 2014816720

Country of ref document: EP

ENP Entry into the national phase

Ref document number: 20167002327

Country of ref document: KR

Kind code of ref document: A