WO2013125539A1 - 発光装置および照明装置 - Google Patents

発光装置および照明装置 Download PDF

Info

Publication number
WO2013125539A1
WO2013125539A1 PCT/JP2013/054045 JP2013054045W WO2013125539A1 WO 2013125539 A1 WO2013125539 A1 WO 2013125539A1 JP 2013054045 W JP2013054045 W JP 2013054045W WO 2013125539 A1 WO2013125539 A1 WO 2013125539A1
Authority
WO
WIPO (PCT)
Prior art keywords
electrode
light emitting
emitting device
layer
insulating substrate
Prior art date
Legal status (The legal status is an assumption and is not a legal conclusion. Google has not performed a legal analysis and makes no representation as to the accuracy of the status listed.)
Ceased
Application number
PCT/JP2013/054045
Other languages
English (en)
French (fr)
Japanese (ja)
Inventor
英賀谷 誠
松田 誠
Current Assignee (The listed assignees may be inaccurate. Google has not performed a legal analysis and makes no representation or warranty as to the accuracy of the list.)
Sharp Corp
Original Assignee
Sharp Corp
Priority date (The priority date is an assumption and is not a legal conclusion. Google has not performed a legal analysis and makes no representation as to the accuracy of the date listed.)
Filing date
Publication date
Application filed by Sharp Corp filed Critical Sharp Corp
Priority to US14/376,578 priority Critical patent/US9577153B2/en
Priority to CN201380007510.5A priority patent/CN104081548B/zh
Priority to EP13751422.0A priority patent/EP2819191A4/en
Publication of WO2013125539A1 publication Critical patent/WO2013125539A1/ja
Anticipated expiration legal-status Critical
Ceased legal-status Critical Current

Links

Images

Classifications

    • HELECTRICITY
    • H10SEMICONDUCTOR DEVICES; ELECTRIC SOLID-STATE DEVICES NOT OTHERWISE PROVIDED FOR
    • H10HINORGANIC LIGHT-EMITTING SEMICONDUCTOR DEVICES HAVING POTENTIAL BARRIERS
    • H10H20/00Individual inorganic light-emitting semiconductor devices having potential barriers, e.g. light-emitting diodes [LED]
    • H10H20/80Constructional details
    • H10H20/83Electrodes
    • H10H20/832Electrodes characterised by their material
    • HELECTRICITY
    • H10SEMICONDUCTOR DEVICES; ELECTRIC SOLID-STATE DEVICES NOT OTHERWISE PROVIDED FOR
    • H10HINORGANIC LIGHT-EMITTING SEMICONDUCTOR DEVICES HAVING POTENTIAL BARRIERS
    • H10H20/00Individual inorganic light-emitting semiconductor devices having potential barriers, e.g. light-emitting diodes [LED]
    • H10H20/80Constructional details
    • H10H20/85Packages
    • H10H20/857Interconnections, e.g. lead-frames, bond wires or solder balls
    • HELECTRICITY
    • H01ELECTRIC ELEMENTS
    • H01LSEMICONDUCTOR DEVICES NOT COVERED BY CLASS H10
    • H01L25/00Assemblies consisting of a plurality of semiconductor or other solid state devices
    • H01L25/03Assemblies consisting of a plurality of semiconductor or other solid state devices all the devices being of a type provided for in a single subclass of subclasses H10B, H10D, H10F, H10H, H10K or H10N, e.g. assemblies of rectifier diodes
    • H01L25/04Assemblies consisting of a plurality of semiconductor or other solid state devices all the devices being of a type provided for in a single subclass of subclasses H10B, H10D, H10F, H10H, H10K or H10N, e.g. assemblies of rectifier diodes the devices not having separate containers
    • H01L25/075Assemblies consisting of a plurality of semiconductor or other solid state devices all the devices being of a type provided for in a single subclass of subclasses H10B, H10D, H10F, H10H, H10K or H10N, e.g. assemblies of rectifier diodes the devices not having separate containers the devices being of a type provided for in group H10H20/00
    • H01L25/0753Assemblies consisting of a plurality of semiconductor or other solid state devices all the devices being of a type provided for in a single subclass of subclasses H10B, H10D, H10F, H10H, H10K or H10N, e.g. assemblies of rectifier diodes the devices not having separate containers the devices being of a type provided for in group H10H20/00 the devices being arranged next to each other
    • HELECTRICITY
    • H01ELECTRIC ELEMENTS
    • H01LSEMICONDUCTOR DEVICES NOT COVERED BY CLASS H10
    • H01L2924/00Indexing scheme for arrangements or methods for connecting or disconnecting semiconductor or solid-state bodies as covered by H01L24/00
    • H01L2924/0001Technical content checked by a classifier
    • H01L2924/0002Not covered by any one of groups H01L24/00, H01L24/00 and H01L2224/00
    • HELECTRICITY
    • H10SEMICONDUCTOR DEVICES; ELECTRIC SOLID-STATE DEVICES NOT OTHERWISE PROVIDED FOR
    • H10HINORGANIC LIGHT-EMITTING SEMICONDUCTOR DEVICES HAVING POTENTIAL BARRIERS
    • H10H20/00Individual inorganic light-emitting semiconductor devices having potential barriers, e.g. light-emitting diodes [LED]
    • H10H20/01Manufacture or treatment
    • H10H20/032Manufacture or treatment of electrodes

Definitions

  • the present invention relates to a light emitting device in which a light emitting portion including a semiconductor light emitting element such as an LED and an electrode for electrical connection to the semiconductor light emitting element are formed on a substrate.
  • a light emitting portion including a semiconductor light emitting element such as an LED and an electrode for electrical connection to the semiconductor light emitting element are formed on a substrate.
  • illumination devices in which a semiconductor light emitting element such as an LED having a long life and low power consumption is mounted as a light source have become widespread.
  • Such illumination devices include a type of illumination device that uses a light emitting device in which a plurality of LED chips are mounted on a substrate such as an insulating and high heat dissipation ceramic substrate.
  • Such a light-emitting device has a positive electrode and a negative electrode for supplying power to each LED chip. These electrodes are usually formed in the vicinity of the light emitting portion on which the LED chip is mounted on the substrate so that electrical connection with the outside is possible.
  • Au or AgPt has been used as a material for such an electrode.
  • Patent Document 1 discloses a light emitting device in which the above electrodes are formed of Au on a substrate by plating.
  • the electrode forming method by printing is easy to introduce because the printing equipment is not as large as the plating equipment and the number of processes is small. Therefore, the replacement from electrode formation by plating to electrode formation by printing is progressing.
  • connection between the electrode of the light emitting device and the external wiring is generally performed by soldering.
  • electrical connection between the electrode of the light emitting device and the external wiring can be easily performed by using a connector for connection.
  • a connector has a main body having a structure that exposes the light emitting part but covers the substrate around the light emitting part.
  • the main body has a leaf spring-shaped terminal that comes into contact with the electrode of the light emitting device.
  • the electrode and the connector of the light emitting device are caused by the vibration.
  • the other terminals rub against each other.
  • the electrodes of the light emitting device are made of Au having low hardness, they are easily damaged such as scratches, cracks, and peeling due to friction with the connector terminals.
  • the electrode is formed by plating, the degree of damage may be small because the tissue is dense.
  • the electrode is formed by printing, the degree of damage is large because the tissue is sparse. Such a problem similarly occurs when the electrode is made of AgPt.
  • Au is expensive, it is not suitable as an electrode material from the viewpoint of cost to form an electrode having a film thickness.
  • the electrode formed of AgPt has a problem that it is inferior in corrosion resistance as compared with an electrode formed of Au which is not easily sulfided because AgPt contains Ag which is easily sulfided. For this reason, when the surface of the electrode formed of AgPt reacts with the sulfur component gas contained in the air, sulfide is generated and the electrode deteriorates. In particular, this phenomenon is likely to occur when the light emitting device is used in a place where a gas containing a sulfur component is likely to be generated, such as around a road with heavy traffic, a livestock farmhouse, a hot spring area, or a mine.
  • the present invention has been made in view of the above problems, and an object of the present invention is to provide a highly reliable light-emitting device by improving the corrosion resistance and strength of an electrode.
  • the light emitting device is a light emitting device in which a semiconductor light emitting element is mounted on an insulating substrate and an electrode for supplying power to the semiconductor light emitting element is formed. Further, at least a part of the electrode including the surface is formed of a conductive material having a hardness higher than Au and Ag and having a resistance to sulfidation such that conduction of the electrode can be ensured in a working current range. It is said.
  • the illumination device includes the light-emitting device as a light source.
  • the light emitting device according to the present invention can improve the corrosion resistance and strength of the electrode by being configured as described above. Therefore, by adopting the present invention, it is possible to provide a highly reliable light emitting device.
  • (A) is a top view which shows the structure of the light-emitting device which concerns on one Embodiment of this invention
  • (b) is AA arrow sectional drawing of (a).
  • It is a circuit diagram which shows the connection structure of the LED chip mounted in the said light-emitting device.
  • It is a longitudinal cross-sectional view which expands and shows the formation part of the land electrode and extraction wiring in the said light-emitting device.
  • It is a longitudinal cross-sectional view which shows the structure of the said land electrode.
  • It is a longitudinal cross-sectional view which shows the other structure of the said land electrode.
  • It is a longitudinal cross-sectional view which shows the structure of an LED bulb provided with the said light-emitting device.
  • It is a top view which shows the structure of the mounting part of the said light-emitting device in the said LED bulb.
  • FIG. 1A is a plan view showing a configuration of the light emitting device 1 according to the present embodiment, and FIG. 1A is a cross-sectional view taken along line AA in FIG. 1B.
  • the light-emitting device 1 includes an insulating substrate 2, a light-emitting unit 3, a land electrode 4, and a lead-out wiring 5.
  • the insulating substrate 2 has a square shape and is formed of an insulating material.
  • the material for forming the insulating substrate 2 may be insulative, but a white ceramic substrate is particularly preferable.
  • the white ceramic substrate is suitable as a substrate for forming the light emitting unit 3 because of its low thermal expansion, high thermal conductivity, and high light reflectance.
  • the insulating substrate 2 as a whole has an insulating property, but the insulating substrate 2 is not limited to this, and a part of the region that needs to ensure the insulating property to form the light emitting portion 3 and the land electrode 4 is insulated. Other regions may be non-insulating as long as they have properties.
  • the LED chip 32 to be described later can be secured by using an insulating die-bonding material to ensure insulation between the LED chip 32 and the surface of the insulating substrate 2. In such a case, the mounting area of the LED chip 32 may not have insulation. However, since the land electrode 4 is directly formed on the insulating substrate 2, at least the region where the land electrode 4 is formed needs to have insulating properties.
  • the LED chip 32 when the LED chip 32 is mounted using a non-insulating die-bonding material, it is necessary that the mounting region of the LED chip 32 also has an insulating property. In such a case, it is preferable that a relatively wide area, for example, the entire surface on which the LED chip 32 of the insulating substrate 2 is mounted and the land electrode 4 is formed has an insulating property. Thereby, the insulating substrate 2 can be formed at low cost.
  • a light emitting portion 3 is formed at the center of the upper surface of the insulating substrate 2.
  • two (a pair of) land electrodes 4 (electrodes) and two lead-out wirings 5 are formed in a region outside the light emitting unit 3 on the upper surface of the insulating substrate 2.
  • the land electrode 4 is an electrode for supplying power to the LED chip 32 to be described later, and is disposed at a position facing the light emitting unit 3 therebetween.
  • One land electrode 4 is a positive electrode (positive electrode), and the other land electrode 4 is a negative electrode (negative electrode).
  • the land electrode 4 is formed in an oval shape, but the shape is not limited to this.
  • the number of land electrodes 4 is not limited to two, and a plurality of (multiple pairs) may be provided according to the connection configuration of LED chips 32, spare use, and the like.
  • the land electrodes 4 are preferably formed by printing as described later, but it is not necessary that all the land electrodes 4 are formed by printing. For example, when the light emitting device 1 includes a pair of normally used land electrodes 4 and a pair of spare land electrodes 4, at least a pair of normally used land electrodes 4 may be formed by printing.
  • the lead-out wiring 5 is a wiring for connecting the LED chip 32 and the land electrode 4. For this reason, one end of the lead-out wiring 5 is connected to a later-described wiring pattern in the light emitting unit 3, and the other end is connected to the corresponding land electrode 4.
  • FIG. 2 is a circuit diagram showing a connection configuration of the LED chip 32.
  • the light emitting unit 3 includes a frame 31, a plurality of LED chips 32, and a sealing resin layer 33.
  • the frame body 31 is formed in a wall shape with resin and defines a light emitting region in the light emitting unit 3.
  • the frame 31 is formed in a circular shape, but the shape is not limited and may be a shape such as a square.
  • the LED chip 32 (semiconductor light emitting element) is mounted inside the frame 31 on the insulating substrate 2.
  • the LED chips 32 are connected to each other by a wiring pattern (not shown) formed on the insulating substrate 2.
  • the LED chips 32 are connected in series, for example, two by two to form an LED chip array, and these connection points are also connected. Further, the anode of one LED chip 32 in each LED chip row is connected to the land electrode 4 (anode side, + electrode), and the cathode of the other LED chip 32 is connected to the land electrode 4 (cathode side, ⁇ electrode). ing. Further, two protection elements 34 connected in series are commonly connected in parallel with each LED chip example. The protection element 34 is composed of a resistor or the like, and is mounted inside the frame 31 on the insulating substrate 2, as is the case with the LED chip 32, although not shown.
  • connection configuration of the LED chip 32 is not limited to the example shown in FIG. 2, and various connection configurations can be adopted according to the specifications.
  • an LED chip having a color corresponding to a desired emission color is used as the LED chip 32.
  • a desired emission color may be obtained by mixing the emitted light of the LED chip and the light emitted from the phosphor excited by the emitted light.
  • a desired light emission color may be obtained by a light emission color of the LED chip alone or a color mixture obtained by combining LED chips of different light emission colors.
  • the sealing resin layer 33 seals the LED chip 32 and is formed by filling the resin material inside the frame 31 on the insulating substrate 2 and curing it.
  • this resin material what is necessary is just to have translucency, and a silicone resin etc. are used. Further, the phosphor is dispersed in the sealing resin layer 33 as necessary as described above.
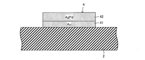
  • FIG. 3 is an enlarged longitudinal sectional view showing a portion where the land electrode 4 and the lead-out wiring 5 are formed in the light emitting device 1.
  • FIG. 4 is a longitudinal sectional view showing the structure of the land electrode 4.
  • FIG. 5 is a longitudinal sectional view showing another structure of the land electrode 4.
  • the land electrode 4 is configured by a first layer 41 (underlayer) formed on the insulating substrate 2 and a second layer 42 (surface layer) formed on the first layer 41. ing.
  • the first layer 41 is formed integrally with the lead-out wiring 5, and is formed simultaneously with the lead-out wiring 5 by printing (screen printing or the like).
  • the first layer 41 and the lead-out wiring 5 are preferably formed of a low-resistance conductive material in order to ensure good conductivity, for example, Au or Ag.
  • the second layer 42 is made of a conductive material that is harder (has higher hardness than Au and Ag) and has higher corrosion resistance (sulfuration resistance) than the first layer 41.
  • the second layer 42 is formed of a conductive material having a hardness higher than Au and Ag and having a resistance to sulfidation to the extent that the conduction of the land electrode 4 can be ensured in the operating current range.
  • Such a material preferably has a hardness of 100 Hv or more with respect to the Vickers hardness of Au of 22 Hv and the Vickers hardness of Ag of 26 Hv.
  • AgPd silver-palladium alloy
  • AgPd is generally used as a wiring material.
  • AgPd is hard and has a characteristic of becoming harder as it contains more Pd.
  • the content rate of Pd in AgPd is 30% or more and 80% or less by weight ratio.
  • a sulfide film is formed on the surface of the land electrode 4 with a thickness of about 100 mm.
  • the land electrode 4 becomes conductive due to a dielectric breakdown caused by a current in a current range (about 10 mA to 1 A) that is normally used.
  • a sulfide film may cause resistance without breakdown in a minute current region (about 1 ⁇ A to 10 mA).
  • the sulfide film formed on the surface of the land electrode 4 is a thin film having a thickness of 10 mm or less.
  • the Pd content is preferably 30% or more at which the sulfide film becomes thinner than about 100%.
  • the content of Pd in AgPd is preferably 30% or more and 40% or less by weight, and most preferably 40%, from the viewpoint of hardness, sulfidation resistance and cost effectiveness. Further, the maximum content of Pd in AgPd is preferably practically suppressed to 80% or less in consideration of the resistance value and cost.
  • Other conductive materials for forming the second layer 42 include AgZn (silver-zinc alloy), AgSn (silver-tin alloy), AgCu (silver-copper alloy), ITO (indium tin oxide), SnO 2 (oxidation). Tin), BiSn (bismuth-tin alloy), or the like can be used. These materials satisfy the above conditions in both hardness and corrosion resistance. Moreover, since these materials are provided as pastes, they can be easily used for screen printing. In particular, the formation of the electrode by ITO is generally performed by a photo process, but it can also be performed by printing and baking an ITO paste by screen printing. Therefore, an electrode can be formed of ITO without using a large facility such as a film forming apparatus or an etching apparatus necessary for the photo process.
  • a metal nanoparticle paste using the low-temperature sinterability of nanosized metal particles can also be used.
  • the conventional high-temperature firing type conductive paste has a sintering temperature of several hundred degrees, but the metal nanoparticle paste has an advantage that it can be fired at a low temperature of 100 ° C. to 250 ° C.
  • the metal nanoparticle paste has good dimensional accuracy and can be easily formed on the side surface, and can reduce step breakage on the side surface and generation of an unformed part.
  • the metal nanoparticle paste has a particle size of several nanometers to several tens of nanometers, a dense formation layer can be formed and it is suitable for blocking sulfur component gas contained in the air.
  • Au is used as a material for forming the first layer 41
  • AgPd Pd weight ratio 40%
  • the first layer 41 and the second layer 42 are formed with a thickness of 2 ⁇ m or more and 8 ⁇ m or less, more preferably 3 ⁇ m or more and 8 ⁇ m or less.
  • the first layer 41 is made of Au having low resistance and high corrosion resistance
  • the conductivity and corrosion resistance of the land electrode 4 can be improved.
  • the second layer 42 is made of AgPd having high hardness and high corrosion resistance, the hardness and corrosion resistance of the surface of the land electrode 4 can be increased.
  • the first layer 41 is formed of low-resistance Au, so that the increase in overall resistance of the land electrode 4 can be suppressed.
  • the second layer 42 since the second layer 42 has a rough structure when formed by printing, the second layer 42 is formed with a thickness of 2 ⁇ m or more, more preferably 3 ⁇ m or more. Can be prevented from being damaged by vibration. In addition, since the current flows in the thickness direction of the second layer 42, the second layer 42 is formed with a thickness of 8 ⁇ m or less, so that the power loss due to the land electrode 4 is suppressed to an extent that there is no practical problem. Can do.
  • the first layer 41 and the second layer 42 are formed with a thickness of 2 ⁇ m or more and 8 ⁇ m or less, more preferably 3 ⁇ m or more and 8 ⁇ m or less, similarly to the structure shown in FIG.
  • the first layer 41 is formed of Ag having low resistance and low corrosion resistance, so that the conductivity of the land electrode 4 can be increased. Further, since the second layer 42 is made of AgPd having high hardness and high corrosion resistance, the hardness and corrosion resistance of the surface of the land electrode 4 can be increased. Furthermore, even if the second layer 42 is formed of high-resistance AgPd, the first layer 41 is formed of low-resistance Ag, so that the increase in overall resistance of the land electrode 4 can be suppressed.
  • the first layer 41 is made of Ag, the exposed portion of the side surface of the first layer 41 is easily sulfided. Therefore, this exposed portion is covered with AgPd that forms the second layer 42. Thereby, since the 1st layer 41 is intercepted from outside air, sulfidation of the 1st layer 41 can be prevented. Therefore, the overall corrosion resistance of the land electrode 4 can be improved.
  • the lead-out wiring 5 formed of the same material integrally with the first layer 41 is also covered with AgPd so as to be shielded from the outside air like the first layer 41.
  • a conductive material in the form of a paste is placed on a screen on which printed patterns of land electrodes 4 and lead-out wirings 5 are formed, and the conductive material is pressed with a squeegee and extruded under the screen, thereby insulating substrate 2. Apply and print on top. Thereafter, the conductive material is fired for a predetermined time.
  • the conductive material printed on the insulating substrate 2 is baked at a predetermined temperature for a predetermined time to solidify the conductive material.
  • the firing temperature and time are appropriately set according to the conductive material. In this way, the first layer 41 is formed.
  • the conductive material is printed in the same manner as described above, and then fired in the same manner to form the second layer 42.
  • the formation of the land electrode 4 by printing does not require large-scale equipment as compared with the electrode formation by plating, and can be introduced relatively easily.
  • the land electrode 4 is at least partially harder than Au and Ag, and has a sulfidation resistance enough to ensure the conduction of the land electrode 4 in the operating current range. It is formed with the electrically-conductive material which has. As a result, even if the land electrode 4 vibrates in contact with the terminal of the connector described above and is electrically connected, the land electrode 4 is damaged as compared with a conventional electrode formed of Au or Ag. It becomes difficult. In particular, when the electrode material has a Vickers hardness of 100 Hv or more, the above damage is hardly caused.
  • the land electrode 4 is formed of a conductive material having a resistance to sulfidation that can ensure the conduction of the land electrode 4 in the operating current range, even if a sulfide film is formed on the surface of the land electrode 4 by the sulfur component gas. The inconvenience that the land electrode 4 becomes non-conductive does not occur. Thus, since the strength and corrosion resistance of the land electrode 4 are superior to those of the conventional electrode, the reliability of the light emitting device 1 can be improved.
  • the land electrode 4 is formed by printing. Thereby, the land electrode 4 can be formed without requiring a large-scale apparatus. Further, when the land electrode 4 is formed so as to leave only a small area after forming a metal on the entire surface or a large area on the surface of the insulating substrate 2, the land electrode 4 can be easily formed by printing. This is particularly effective when the land electrode 4 having a small area is formed on the large insulating substrate 2. Furthermore, since the land electrode 4 formed by printing has a rough structure, when AgPd is used as the conductive material for forming the land electrode 4, the amount of Pd used can be reduced.
  • the land electrode 4 is composed of a first layer 41 and a second layer 42.
  • the first layer 41 can be formed of low resistance Au or Ag
  • the second layer 42 can be formed of AgPd having high hardness and high corrosion resistance.
  • AgPd here contains Pd at a weight ratio of at least 40% so as not to be sulfided. Therefore, the overall resistance of the land electrode 4 can be suppressed, and the amount of Pd that is a rare metal can be reduced.
  • the land electrode 4 in two layers, the overall resistance of the land electrode 4 and the amount of the conductive material used in each layer can be adjusted.
  • Pd is a general material that is also used as a resistance material, there is no problem with reliability. Therefore, it is not necessary to perform a test for evaluating the reliability of the land electrode 4 formed of AgPd.
  • the second layer 42 is preferably formed to a thickness of 2 ⁇ m or more and 8 ⁇ m or less.
  • the land electrode 4 has a minimum mechanical strength that does not cause damage, and can suppress power loss due to high resistance to a level that does not impede practical use.
  • the land electrode 4 includes the first layer 41 and the second layer 42 .
  • the land electrode 4 may be formed as a single layer.
  • the land electrode 4 has a structure having the second layer 42 as a single layer.
  • the land electrode 4 is formed by printing.
  • the present invention is not limited to this, and the land electrode 4 may be formed by plating.
  • the land electrode 4 is preferably formed by printing from the viewpoint of cost reduction.
  • the land electrode 4 and the LED chip 32 are formed on the same surface of the insulating substrate 2.
  • the land electrode 4 may be formed on the surface of the insulating substrate 2 facing the mounting surface (front surface) of the LED chip 32, in other words, on the back surface of the insulating substrate 2.
  • power may be supplied from the land electrode 4 to the LED chip 32 through the through-hole by providing a through-hole formed with metal so as to penetrate the insulating substrate 2.
  • the connector terminal and the land electrode are in contact with each other on the back surface of the insulating substrate 2.
  • a land electrode for solder connection may be provided on the insulating substrate 2 in addition to the land electrode 4 that contacts the terminal of the connector.
  • connector connection can also be used, and solder connection can also be used.
  • FIG. 6 is a longitudinal sectional view showing the configuration of the LED bulb 11 including the light emitting device 1.
  • FIG. 7 is a top view illustrating a configuration of a mounting portion of the light emitting device 1 in the LED bulb 11.
  • the LED bulb 11 (illumination device) includes the light-emitting device 1, the globe 12, the housing 13, the base 14, the mounting substrate 15, and the external terminal holder 16. .
  • the globe 12 covers and protects the light emitting device 1 and transmits light from the light emitting device 1.
  • the globe 12 has a spherical shape or other shapes, and is formed of a translucent resin or glass.
  • the housing 13 accommodates a plurality of drive circuit components (not shown) for driving the light emitting device 1 and a power source (not shown) for generating a DC voltage applied to the drive circuit components.
  • a mounting substrate 15 is fixed to a portion of the housing 13 where the light emitting device 1 is mounted.
  • the base 14 is electrically connected to the drive circuit components and has a screw structure that is screwed into a socket connected to an external power source.
  • the base 14 is attached to one end side (the side that is thinly formed) of the housing 13.
  • the mounting substrate 15 has a square fixing hole 15 a formed in the central portion for mounting the light emitting device 1.
  • the insulating substrate 2 is fitted into the fixing hole 15a and fixed by adhesion or the like.
  • the mounting substrate 15 also serves as a heat sink, and emits heat conducted from the light emitting unit 3 through the insulating substrate 2 in the light emitting device 1.
  • the external terminal holder 16 is a member for holding the land electrode 4 and is fixed so as to cover a part of the surface of the insulating substrate 2 including the land electrode 4 and the surface of the peripheral mounting substrate 15. .
  • the external terminal holder 16 holds the insulating substrate 2 so as to prevent floating, and is formed of a conductive material so as to be electrically connected to the drive circuit component inside the housing 13. Yes.
  • the LED bulb 11 configured as described above is mounted with the light emitting device 1 including the land electrode 4 formed as described in the first embodiment as a light source.
  • the LED bulb 11 even if the LED bulb 11 is used in a place with a lot of vibration, it is possible to suppress or avoid damage to the contact portion with the connector terminal on the surface of the land electrode 4 due to vibration. Further, since the land electrode 4 is not sulfided, it is possible to avoid a problem that the light amount of the light emitting device 1 is reduced due to contact failure due to deterioration of the surface of the land electrode 4. Therefore, the reliability of the LED bulb 11 can be improved.
  • the example in which the light-emitting device 1 is applied to the LED bulb 11 has been described.
  • the light-emitting device 1 is applied to other lighting devices as long as the light-emitting device 1 can be mounted. Of course it is possible.
  • the light emitting device is a light emitting device in which a semiconductor light emitting element is mounted on an insulating substrate and an electrode for supplying power to the semiconductor light emitting element is formed.
  • a part including at least the surface of the electrode is formed of a conductive material having a hardness higher than that of Au and Ag and having a resistance to sulfidation to such an extent that the conduction of the electrode can be ensured in a working current range.
  • the portion formed of the conductive material has high hardness and is not sulfided. Therefore, even if the electrode is vibrated in contact with the terminal of the connector as described above and maintained in electrical connection, it is less susceptible to damage compared to the conventional electrode formed of Au or Ag. . Further, the surface of the electrode is not deteriorated by sulfuration which causes a practical problem. Therefore, it is possible to suppress deterioration of the conductive characteristics of the electrode.
  • the entire electrode may be formed of the conductive material.
  • the conductive material preferably has a Vickers hardness of 100 Hv or more. Thereby, the surface of the electrode is hardly damaged as described above.
  • the electrode is preferably formed by printing.
  • an electrode can be formed without requiring a large-scale apparatus.
  • the electrode can be easily formed by printing. This is particularly effective when an electrode having a small area is formed on a large insulating substrate.
  • the electrode formed by printing has a rough structure, when an alloy containing Pd or the like, which is a rare metal, is used as the conductive material, the amount of such material used can be reduced.
  • a plurality of the electrodes are provided, and at least one pair may be formed by printing.
  • the electrode includes a first layer formed on the insulating substrate and a second layer formed of the conductive material on the first layer.
  • the first layer is made of Au and the second layer is made of AgPd containing Pd at a weight ratio of at least 30% and not more than 80%.
  • the first layer is exposed by AgPd in which the first layer is formed of Ag and the second layer contains Pd in a weight ratio of 30% to 80%. It is preferable to be formed so as to cover the part.
  • the first layer is formed of low resistance Au or Ag
  • the second layer is formed of AgPd having high hardness and high corrosion resistance, so that the overall resistance of the land electrode 4 is suppressed.
  • the corrosion resistance of the electrode can be improved.
  • the second layer is formed of AgPd containing Pd at a weight ratio of 30% or more and 40% or less.
  • the usage-amount of Pd which is a rare metal can be suppressed, and the cost reduction of a light-emitting device can be aimed at.
  • the second layer is preferably formed to a thickness of 2 ⁇ m or more and 8 ⁇ m or less.
  • the electrode has a minimum strength that does not cause damage, and can suppress power loss due to the increase in resistance to a level that does not impede practical use.
  • At least a region where the electrode is formed has an insulating property on the surface of the insulating substrate on which the semiconductor light emitting element is mounted and the electrode is formed.
  • at least the entire surface of the insulating substrate has an insulating property.
  • the illuminating device according to the present invention is characterized by including any of the light emitting devices described above as a light source.
  • the light emitting device according to the present invention can be improved in reliability by including an electrode with improved strength and corrosion resistance, it can be suitably used for an application for connecting to an external wiring by a connector.

Landscapes

  • Led Device Packages (AREA)
  • Led Devices (AREA)
PCT/JP2013/054045 2012-02-20 2013-02-19 発光装置および照明装置 Ceased WO2013125539A1 (ja)

Priority Applications (3)

Application Number Priority Date Filing Date Title
US14/376,578 US9577153B2 (en) 2012-02-20 2013-02-19 Light emission device and illumination device
CN201380007510.5A CN104081548B (zh) 2012-02-20 2013-02-19 发光装置以及照明装置
EP13751422.0A EP2819191A4 (en) 2012-02-20 2013-02-19 LIGHT EMISSIONING DEVICE AND LIGHTING DEVICE

Applications Claiming Priority (2)

Application Number Priority Date Filing Date Title
JP2012034517A JP5985201B2 (ja) 2012-02-20 2012-02-20 発光装置および照明装置
JP2012-034517 2012-02-20

Publications (1)

Publication Number Publication Date
WO2013125539A1 true WO2013125539A1 (ja) 2013-08-29

Family

ID=49005724

Family Applications (1)

Application Number Title Priority Date Filing Date
PCT/JP2013/054045 Ceased WO2013125539A1 (ja) 2012-02-20 2013-02-19 発光装置および照明装置

Country Status (5)

Country Link
US (1) US9577153B2 (enExample)
EP (1) EP2819191A4 (enExample)
JP (1) JP5985201B2 (enExample)
CN (1) CN104081548B (enExample)
WO (1) WO2013125539A1 (enExample)

Families Citing this family (8)

* Cited by examiner, † Cited by third party
Publication number Priority date Publication date Assignee Title
USD791089S1 (en) * 2015-10-23 2017-07-04 Citizen Electronics Co., Ltd. Light-emitting diode
JP6520663B2 (ja) * 2015-11-27 2019-05-29 日亜化学工業株式会社 素子載置用基板及び発光装置
EP3491679B1 (en) 2016-07-26 2023-02-22 CreeLED, Inc. Light emitting diodes, components and related methods
US11024785B2 (en) * 2018-05-25 2021-06-01 Creeled, Inc. Light-emitting diode packages
USD902448S1 (en) 2018-08-31 2020-11-17 Cree, Inc. Light emitting diode package
US11335833B2 (en) 2018-08-31 2022-05-17 Creeled, Inc. Light-emitting diodes, light-emitting diode arrays and related devices
US11233183B2 (en) 2018-08-31 2022-01-25 Creeled, Inc. Light-emitting diodes, light-emitting diode arrays and related devices
US11101411B2 (en) 2019-06-26 2021-08-24 Creeled, Inc. Solid-state light emitting devices including light emitting diodes in package structures

Citations (5)

* Cited by examiner, † Cited by third party
Publication number Priority date Publication date Assignee Title
JPS62161281U (enExample) * 1986-04-02 1987-10-14
JP2004047247A (ja) * 2002-07-11 2004-02-12 Canon Inc 電極構造、加熱体、加熱装置、及び画像形成装置
JP2004183077A (ja) * 2002-12-05 2004-07-02 Matsushita Electric Ind Co Ltd 電気摺動接点材料およびそれを有する小型直流モータ
JP2007188971A (ja) * 2006-01-11 2007-07-26 Taiyosha Electric Co Ltd ジャンパーチップ部品
JP3164276U (ja) 2010-09-10 2010-11-18 日亜化学工業株式会社 半導体発光装置

Family Cites Families (20)

* Cited by examiner, † Cited by third party
Publication number Priority date Publication date Assignee Title
JPH05243420A (ja) * 1992-02-28 1993-09-21 Nippondenso Co Ltd 厚膜回路基板およびこれを用いた半導体装置
JPH05243240A (ja) 1992-02-28 1993-09-21 Nec Corp 熱処理装置
JP2797951B2 (ja) 1994-02-22 1998-09-17 住友金属工業株式会社 銀−パラジウム合金めっき方法およびめっき浴
JP3164276B2 (ja) 1995-08-02 2001-05-08 スズキ株式会社 スキーキャリア取付構造
JP4873963B2 (ja) 2006-02-27 2012-02-08 京セラ株式会社 発光装置およびそれを用いた照明装置
JP5233087B2 (ja) 2006-06-28 2013-07-10 日亜化学工業株式会社 発光装置およびその製造方法、パッケージ、発光素子実装用の基板
JP5084324B2 (ja) 2007-03-29 2012-11-28 シャープ株式会社 発光装置および照明装置
JP4758976B2 (ja) * 2007-12-03 2011-08-31 日立ケーブルプレシジョン株式会社 半導体発光素子搭載用リードフレーム及びその製造方法並びに発光装置
JP5289835B2 (ja) * 2008-06-25 2013-09-11 シャープ株式会社 発光装置およびその製造方法
CN102257647B (zh) 2008-12-19 2014-07-23 古河电气工业株式会社 光半导体装置用引线框及其制造方法
KR101586523B1 (ko) * 2008-12-26 2016-01-18 후루카와 덴키 고교 가부시키가이샤 광반도체 장치용 리드 프레임, 그 제조방법 및 광반도체 장치
JP5623062B2 (ja) 2009-11-13 2014-11-12 シャープ株式会社 発光装置およびその製造方法
JP2011151268A (ja) 2010-01-22 2011-08-04 Sharp Corp 発光装置
US9263315B2 (en) * 2010-03-30 2016-02-16 Dai Nippon Printing Co., Ltd. LED leadframe or LED substrate, semiconductor device, and method for manufacturing LED leadframe or LED substrate
JP5481277B2 (ja) * 2010-06-04 2014-04-23 シャープ株式会社 発光装置
JP5442534B2 (ja) 2010-06-04 2014-03-12 シャープ株式会社 発光装置
JP2012023078A (ja) 2010-07-12 2012-02-02 Toshiba Lighting & Technology Corp 発光装置および照明装置
JP2012028130A (ja) 2010-07-22 2012-02-09 Hirose Electric Co Ltd 照明装置用コネクタ
CN107087343B (zh) * 2011-05-27 2019-04-19 夏普株式会社 发光装置以及照明装置
JP5730711B2 (ja) 2011-08-25 2015-06-10 シャープ株式会社 発光装置

Patent Citations (5)

* Cited by examiner, † Cited by third party
Publication number Priority date Publication date Assignee Title
JPS62161281U (enExample) * 1986-04-02 1987-10-14
JP2004047247A (ja) * 2002-07-11 2004-02-12 Canon Inc 電極構造、加熱体、加熱装置、及び画像形成装置
JP2004183077A (ja) * 2002-12-05 2004-07-02 Matsushita Electric Ind Co Ltd 電気摺動接点材料およびそれを有する小型直流モータ
JP2007188971A (ja) * 2006-01-11 2007-07-26 Taiyosha Electric Co Ltd ジャンパーチップ部品
JP3164276U (ja) 2010-09-10 2010-11-18 日亜化学工業株式会社 半導体発光装置

Non-Patent Citations (1)

* Cited by examiner, † Cited by third party
Title
See also references of EP2819191A4

Also Published As

Publication number Publication date
US9577153B2 (en) 2017-02-21
CN104081548B (zh) 2017-08-29
EP2819191A4 (en) 2015-10-21
US20150048409A1 (en) 2015-02-19
JP5985201B2 (ja) 2016-09-06
JP2013171952A (ja) 2013-09-02
EP2819191A1 (en) 2014-12-31
CN104081548A (zh) 2014-10-01

Similar Documents

Publication Publication Date Title
JP5985201B2 (ja) 発光装置および照明装置
JP4932064B2 (ja) 発光モジュール、光源装置、液晶表示装置および発光モジュールの製造方法
JP4928046B2 (ja) 光電素子
JP5236837B2 (ja) 照明光源及び照明装置
JP2011146353A (ja) 照明装置
JP2015111620A (ja) 発光デバイス及びその製造方法
CN101176216B (zh) 发光元件安装用珐琅基板、发光元件模块、照明装置、显示装置及交通信号机
CN100583472C (zh) 发光元件安装用基板、发光模块及照明装置
JP2011134912A (ja) 照明装置
JP2008091459A (ja) Led照明装置及びその製造方法
JP6104946B2 (ja) 発光装置およびその製造方法
JP6411320B2 (ja) 発光装置および照明装置
KR101363980B1 (ko) 광 모듈 및 그 제조 방법
CN106465537B (zh) 印刷电路板和包括该印刷电路板的光发射器件
CN204387719U (zh) 灯泡形灯以及照明装置
JP2009289441A (ja) Ledランプおよびその製造方法
JP2018507566A (ja) リードフレーム及びこれを含む半導体パッケージ
CN101752471A (zh) 光电元件
CN210778590U (zh) 一种无极性插脚式led灯珠
JP2013149636A (ja) Led実装基板およびその製造方法
TWM495004U (zh) 一種整合式led發光元件
CN107146837B (zh) 一种双面侧发光的led光源单元及其制造方法
CN110649141A (zh) 一种led封装结构
TWI420959B (zh) 發光二極體模組
CN101000939A (zh) 发光二极管模组

Legal Events

Date Code Title Description
121 Ep: the epo has been informed by wipo that ep was designated in this application

Ref document number: 13751422

Country of ref document: EP

Kind code of ref document: A1

WWE Wipo information: entry into national phase

Ref document number: 14376578

Country of ref document: US

Ref document number: 2013751422

Country of ref document: EP

NENP Non-entry into the national phase

Ref country code: DE