WO2011155315A1 - 振れ補正機能付き光学ユニット - Google Patents

振れ補正機能付き光学ユニット Download PDF

Info

Publication number
WO2011155315A1
WO2011155315A1 PCT/JP2011/061815 JP2011061815W WO2011155315A1 WO 2011155315 A1 WO2011155315 A1 WO 2011155315A1 JP 2011061815 W JP2011061815 W JP 2011061815W WO 2011155315 A1 WO2011155315 A1 WO 2011155315A1
Authority
WO
WIPO (PCT)
Prior art keywords
photo reflector
optical
optical axis
axis direction
shake correction
Prior art date
Legal status (The legal status is an assumption and is not a legal conclusion. Google has not performed a legal analysis and makes no representation as to the accuracy of the status listed.)
Ceased
Application number
PCT/JP2011/061815
Other languages
English (en)
French (fr)
Japanese (ja)
Inventor
和出達貴
浅川新六
南澤伸司
唐澤敏行
柳澤克重
濱田吉博
内藤速人
小松亮二
石原久寛
Current Assignee (The listed assignees may be inaccurate. Google has not performed a legal analysis and makes no representation or warranty as to the accuracy of the list.)
Nidec Instruments Corp
Original Assignee
Nidec Sankyo Corp
Priority date (The priority date is an assumption and is not a legal conclusion. Google has not performed a legal analysis and makes no representation as to the accuracy of the date listed.)
Filing date
Publication date
Application filed by Nidec Sankyo Corp filed Critical Nidec Sankyo Corp
Priority to US13/702,426 priority Critical patent/US9049375B2/en
Priority to CN201180026452.1A priority patent/CN102918457B/zh
Publication of WO2011155315A1 publication Critical patent/WO2011155315A1/ja
Anticipated expiration legal-status Critical
Priority to US14/590,268 priority patent/US9185296B2/en
Ceased legal-status Critical Current

Links

Images

Classifications

    • GPHYSICS
    • G03PHOTOGRAPHY; CINEMATOGRAPHY; ANALOGOUS TECHNIQUES USING WAVES OTHER THAN OPTICAL WAVES; ELECTROGRAPHY; HOLOGRAPHY
    • G03BAPPARATUS OR ARRANGEMENTS FOR TAKING PHOTOGRAPHS OR FOR PROJECTING OR VIEWING THEM; APPARATUS OR ARRANGEMENTS EMPLOYING ANALOGOUS TECHNIQUES USING WAVES OTHER THAN OPTICAL WAVES; ACCESSORIES THEREFOR
    • G03B5/00Adjustment of optical system relative to image or object surface other than for focusing
    • HELECTRICITY
    • H04ELECTRIC COMMUNICATION TECHNIQUE
    • H04NPICTORIAL COMMUNICATION, e.g. TELEVISION
    • H04N23/00Cameras or camera modules comprising electronic image sensors; Control thereof
    • H04N23/60Control of cameras or camera modules
    • H04N23/68Control of cameras or camera modules for stable pick-up of the scene, e.g. compensating for camera body vibrations
    • H04N23/682Vibration or motion blur correction
    • GPHYSICS
    • G02OPTICS
    • G02BOPTICAL ELEMENTS, SYSTEMS OR APPARATUS
    • G02B27/00Optical systems or apparatus not provided for by any of the groups G02B1/00 - G02B26/00, G02B30/00
    • G02B27/64Imaging systems using optical elements for stabilisation of the lateral and angular position of the image
    • G02B27/646Imaging systems using optical elements for stabilisation of the lateral and angular position of the image compensating for small deviations, e.g. due to vibration or shake
    • HELECTRICITY
    • H04ELECTRIC COMMUNICATION TECHNIQUE
    • H04NPICTORIAL COMMUNICATION, e.g. TELEVISION
    • H04N23/00Cameras or camera modules comprising electronic image sensors; Control thereof
    • H04N23/60Control of cameras or camera modules
    • H04N23/68Control of cameras or camera modules for stable pick-up of the scene, e.g. compensating for camera body vibrations
    • H04N23/682Vibration or motion blur correction
    • H04N23/685Vibration or motion blur correction performed by mechanical compensation
    • H04N23/687Vibration or motion blur correction performed by mechanical compensation by shifting the lens or sensor position
    • GPHYSICS
    • G03PHOTOGRAPHY; CINEMATOGRAPHY; ANALOGOUS TECHNIQUES USING WAVES OTHER THAN OPTICAL WAVES; ELECTROGRAPHY; HOLOGRAPHY
    • G03BAPPARATUS OR ARRANGEMENTS FOR TAKING PHOTOGRAPHS OR FOR PROJECTING OR VIEWING THEM; APPARATUS OR ARRANGEMENTS EMPLOYING ANALOGOUS TECHNIQUES USING WAVES OTHER THAN OPTICAL WAVES; ACCESSORIES THEREFOR
    • G03B2205/00Adjustment of optical system relative to image or object surface other than for focusing
    • G03B2205/0007Movement of one or more optical elements for control of motion blur
    • G03B2205/0023Movement of one or more optical elements for control of motion blur by tilting or inclining one or more optical elements with respect to the optical axis
    • GPHYSICS
    • G03PHOTOGRAPHY; CINEMATOGRAPHY; ANALOGOUS TECHNIQUES USING WAVES OTHER THAN OPTICAL WAVES; ELECTROGRAPHY; HOLOGRAPHY
    • G03BAPPARATUS OR ARRANGEMENTS FOR TAKING PHOTOGRAPHS OR FOR PROJECTING OR VIEWING THEM; APPARATUS OR ARRANGEMENTS EMPLOYING ANALOGOUS TECHNIQUES USING WAVES OTHER THAN OPTICAL WAVES; ACCESSORIES THEREFOR
    • G03B2205/00Adjustment of optical system relative to image or object surface other than for focusing
    • G03B2205/0053Driving means for the movement of one or more optical element
    • G03B2205/0069Driving means for the movement of one or more optical element using electromagnetic actuators, e.g. voice coils
    • HELECTRICITY
    • H04ELECTRIC COMMUNICATION TECHNIQUE
    • H04NPICTORIAL COMMUNICATION, e.g. TELEVISION
    • H04N23/00Cameras or camera modules comprising electronic image sensors; Control thereof
    • H04N23/60Control of cameras or camera modules
    • H04N23/68Control of cameras or camera modules for stable pick-up of the scene, e.g. compensating for camera body vibrations
    • H04N23/681Motion detection
    • H04N23/6812Motion detection based on additional sensors, e.g. acceleration sensors

Definitions

  • the present invention relates to an optical unit with a shake correction function mounted on a mobile phone with a camera or the like.
  • an object of the present invention is to intersect the optical axis direction and the optical axis direction even when a photoreflector or a shake correction drive mechanism is provided for a movable module including an optical element.
  • An object of the present invention is to provide an optical unit with a shake correction function that can suppress an increase in the size of the direction.
  • a fixed body a movable module that holds an optical element
  • a swing that supports the movable module in a swingable manner between the bottom of the movable module and the fixed body.
  • the movable unit is located between the bottom of the movable module and the fixed body at a position overlapping one of the two axes in the optical axis direction.
  • a first photo reflector for detecting the displacement of the module and a second photo detector for detecting the displacement of the movable module at a position overlapping the other of the two axes in the optical axis direction. Characterized in that the reflector is provided.
  • a shake correction drive mechanism that swings the movable module is provided. Therefore, when shake such as camera shake occurs in the optical unit, the shake is canceled out. Thus, the movable module can be swung. For this reason, the inclination of the optical axis can be corrected even if the optical unit is shaken.
  • the first photo reflector is provided at a position overlapping one of the two axes when the movable module swings in the optical axis direction, and the second photo reflector is disposed at a position overlapping the other axis in the optical axis direction.
  • the first photo reflector and the second photo reflector can monitor and control the shake of the movable module every two axes.
  • the shake correction drive mechanism is provided between the outer peripheral surface of the movable module and the fixed body, while the first photo reflector and the second photo reflector are provided at the bottom of the movable module provided with the swing fulcrum. Between the optical axis direction and the direction that intersects the optical axis direction even when a photo reflector or shake correction drive mechanism is provided for the movable module. Can be suppressed.
  • the extending direction is parallel to the extending direction of the flexible wiring board. According to such a configuration, since the area occupied by the first photoreflector and the second photoreflector is narrow in the width direction of the flexible wiring board, the flexible wiring board can be extended with a wide width dimension.
  • the first photo reflector and the second photo reflector are arranged in a direction in which the light emitting parts approach each other or in a direction in which the light receiving parts approach each other. According to this configuration, a sufficient distance is ensured between the light emitting part of the first photo reflector and the light receiving part of the second photo reflector, and between the light emitting part of the second photo reflector and the light receiving part of the first photo reflector. Therefore, crosstalk between the first photo reflector and the second photo reflector can be prevented.
  • a light shielding layer is provided on at least two side surfaces facing the side where the second photo reflector is located among the four side surface portions facing the direction intersecting the optical axis direction in the first photo reflector, Of the four side surfaces facing the direction intersecting the optical axis direction in the second photo reflector, it is preferable that a light shielding layer is provided on at least two side surfaces facing the side where the first photo reflector is located.
  • the first photo reflector and the second photo reflector are provided at a bottom portion of the movable module, and the fixed body overlaps the first photo reflector in the optical axis direction, and the fixed body.
  • the second reflecting portion that overlaps the second photo reflector in the optical axis direction of the movable module is more than the portion of the fixed body located around the first reflecting portion and the portion located around the second reflecting portion. It is preferable that it is dented in the direction away from the bottom. According to such a configuration, even when it is necessary to secure a sufficient distance between the first photo reflector and the first reflecting portion and between the second photo reflector and the second reflecting portion, the fixed body is movable.
  • a portion close to the bottom of the module can be provided, and if a swing fulcrum is provided in such a close portion, the area occupied by the swing fulcrum can be reduced. Therefore, a space for arranging the first photo reflector and the second photo reflector can be secured between the bottom of the movable module and the fixed body.
  • the first photo reflector and the second photo reflector are provided at a bottom portion of the movable module, and the fixed body overlaps the first photo reflector in the optical axis direction, and the fixed body.
  • the second reflecting portion that overlaps the second photo reflector in the optical axis direction is flush with a portion located around the first reflecting portion and a portion located around the second reflecting portion in the fixed body. A certain configuration may be adopted.
  • the portion of the fixed body that faces the bottom of the movable module is made of a metal part that has been made non-magnetic by heat treatment.
  • it may become magnetic when machined on a metal material such as SUS304, but if it is made non-magnetic by heat treatment, when assembling the optical unit, Adsorption with a permanent magnet can be prevented.
  • heat treatment is performed on a metal material such as SUS304, the reflectance is increased, so that the first reflecting portion and the second reflecting portion having a high reflectance can be provided.
  • the bottom of the movable module includes a substrate on which the first photoreflector and the second photoreflector are mounted, and a surface of the substrate on which the first photoreflector and the second photoreflector are mounted; It is preferable that an image sensor is mounted on the opposite surface. According to such a configuration, the first photo reflector and the second photo reflector can be mounted on the same substrate as the imaging device, so that the number of components can be reduced.
  • the shake that swings the movable module around two axes intersecting the optical axis direction using the space between the outer peripheral surface of the movable module and the fixed body. Since the correction drive mechanism is provided, the movable module can be swung when a shake such as a hand shake occurs in the optical unit. For this reason, the inclination of the optical axis can be corrected even if the optical unit is shaken. Further, a first photo reflector is provided at a position overlapping one of the two axes when the movable module swings in the optical axis direction, and the position of the movable module is overlapped with the other axis in the optical axis direction.
  • the second photo reflector for detecting the displacement is provided, it is possible to control the shake of the movable module for each of the two axes.
  • the shake correction drive mechanism is provided between the outer peripheral surface of the movable module and the fixed body, while the first photo reflector and the second photo reflector are provided at the bottom of the movable module provided with the swing fulcrum. Between the optical axis direction and the direction that intersects the optical axis direction even when a photo reflector or shake correction drive mechanism is provided for the movable module. Can be suppressed.
  • Imaging unit movable module
  • Lens optical element
  • Image sensor optical element
  • Lens drive mechanism 15
  • Substrate 100
  • Optical unit 180 Oscillation fulcrum 200
  • Fixed body 250
  • Shake correction drive mechanism 500x X side shake correction drive mechanism 500y Y side shake correction drive mechanism
  • Permanent magnet 550
  • Sheet coil 560 Coil portion 580
  • Spring Member 700
  • rotation around the X axis corresponds to so-called pitching (pitch)
  • rotation around the Y axis corresponds to so-called yawing (roll)
  • Z axis The rotation around corresponds to so-called rolling.
  • + X is attached to one side of the X axis
  • -X is attached to the other side
  • + Y is attached to one side of the Y axis
  • -Y is attached to the other side
  • one side of the Z axis is attached.
  • + Z is attached to the side (opposite the subject side)
  • -Z is attached to the other side (subject side).
  • FIG. 1 is an explanatory view schematically showing a state in which an optical unit with a shake correction function according to Embodiment 1 of the present invention is mounted on an optical device such as a mobile phone.
  • FIG. 2 is a perspective view showing an appearance and the like of the optical unit with a shake correction function according to the first embodiment of the present invention.
  • FIGS. 2A and 2B are views when the optical unit is viewed from the subject side. It is a perspective view and a perspective view when the optical unit is viewed from the opposite side to the subject side.
  • An optical unit 100 (an optical unit with a shake correction function) illustrated in FIG. 1 is a thin camera used for an optical device 1000 such as a mobile phone with a camera, and is supported by a chassis 1100 (device main body) of the optical device 1000. It is mounted with.
  • a shake such as a hand shake occurs in the optical apparatus 1000 during shooting, the captured image is disturbed. Therefore, in the optical unit 100 of the present embodiment, as will be described later, a movable module including the imaging unit 1 is supported so as to be swingable within the fixed body 200, and a gyroscope (not shown) mounted on the optical unit 100 is supported.
  • a shake correction drive mechanism see FIG. 1) Not shown).
  • flexible wiring boards 410 and 420 for feeding power to the imaging unit 1 and the shake correction drive mechanism are drawn out to the optical unit 100.
  • Reference numeral 420 is electrically connected to an upper control unit or the like provided on the main body side of the optical apparatus 1000 via a common connector 490 or the like.
  • the flexible wiring board 410 also has a function of outputting a signal from the imaging unit 1. For this reason, since the flexible wiring board 410 has a large number of wires, a flexible wiring board 410 having a relatively wide width is used.
  • FIG. 3 is a cross-sectional view schematically showing the configuration of the imaging unit 1 mounted on the optical unit 100 with a shake correction function according to Embodiment 1 of the present invention.
  • FIG. 4 is an exploded perspective view of the imaging unit 1 mounted on the optical unit 100 with a shake correction function according to Embodiment 1 of the present invention.
  • the imaging unit 1 includes, for example, a plurality of lenses 1a (see FIG. 1) as optical elements in the A direction (front side) approaching the subject (object side) along the optical axis L direction. ), And an optical element unit that moves in both directions in the B direction (rear side) approaching the side opposite to the subject (imaging element side / image side), and has a substantially rectangular parallelepiped shape.
  • the imaging unit 1 generally includes a movable body 3 that holds a plurality of lenses 1a (see FIG. 1) and an optical element such as a fixed aperture inside, and a lens drive that moves the movable body 3 along the optical axis L direction.
  • the moving body 3 includes a cylindrical lens holder 12 that holds a lens 1 a and a fixed diaphragm (not shown), and a coil holder 13 that holds the lens holder 12 on the inner side.
  • the lens driving coils 30s and 30t constituting the lens driving mechanism 5 are held.
  • the support 2 is positioned on the side opposite to the subject side ( ⁇ Z side), and a spring holder 19 that holds a spring described later, and the substrate 15 is positioned on the side opposite to the subject side ( ⁇ Z side) with respect to the spring holder 19.
  • a rectangular plate-shaped substrate holder 16, a box-shaped case 18 that covers the spring holder 19 on the subject side, and a rectangular plate-shaped spacer 11 that is disposed inside the case 18 are provided.
  • the image pickup device 1b is mounted on the substrate surface 152 facing the surface.
  • the spring holder 19 holds a filter 1c such as an infrared filter.
  • incident windows 11a and 18a for taking in light from the subject into the lens 1a are formed.
  • windows 16a and 19a for guiding incident light to the image sensor 1b are formed in the center of the substrate holder 16 and the spring holder 19.
  • the case 18 is made of a ferromagnetic plate such as a steel plate and also functions as a yoke. For this reason, the case 18 constitutes a linkage magnetic field generator that generates a magnetic field interlinking the lens drive coils 30s and 30t together with the lens drive magnet 17 described later.
  • the lens driving mechanism 5 is configured together with the lens driving coils 30 s and 30 t wound around the outer peripheral surface of the coil holder 13.
  • the support body 2 and the moving body 3 are connected to each other via a spring member 14t and a metal spring member 14s provided at positions separated in the optical axis direction.
  • a spring member 14s is used on the imaging element 1b side
  • a spring member 14t is used on the subject side.
  • the spring members 14 s and 14 t have the same basic configuration, and an outer peripheral side connecting portion 141 held on the support body 2 side, an annular inner peripheral side connecting portion 142 held on the movable body 3 side, A narrow arm portion 143 that connects the outer peripheral side connecting portion 141 and the inner peripheral side connecting portion 142 is provided.
  • the outer peripheral side connecting part 141 is held by the spring holder 19, and the inner peripheral side connecting part 142 is connected to the imaging element side end of the coil holder 13 of the moving body 3.
  • the arm portion 143 extends in an arc shape in the circumferential direction.
  • the outer peripheral side connecting portion 141 is held by the spacer 11, and the inner peripheral side connecting portion 142 is connected to the subject side end of the coil holder 13 of the moving body 3.
  • the arm portion 143 extends in an arc shape in the circumferential direction while meandering in the radial direction.
  • the moving body 3 is supported by the support body 2 via the spring members 14s and 14t so as to be movable in the direction of the optical axis.
  • the spring members 14s and 14t are both made of nonmagnetic metal such as beryllium copper or nonmagnetic SUS steel, and are formed by pressing a thin plate having a predetermined thickness or etching using a photolithography technique. is there.
  • the spring member 14s is divided into two spring pieces, and each end of the lens driving coils 30s and 30t is connected to the spring piece.
  • terminals 14a and 14b are connected to the two spring pieces, respectively, and the spring member 14s also functions as a power supply member for the lens driving coils 30s and 30t.
  • a ring-shaped magnetic piece 61 is held at the subject side end of the coil holder 13, and the position of the magnetic piece 61 is a position on the subject side with respect to the lens driving magnet 17. For this reason, the magnetic piece 61 applies a biasing force in the direction of the optical axis L to the moving body 3 by an attractive force acting between the magnetic piece 61 and the lens driving magnet 17. For this reason, at the time of non-energization (origin position), the lens holder 12 can be placed still on the image sensor 1b side by the attractive force of the lens driving magnet 17 and the magnetic piece 61.
  • the magnetic piece 61 acts as a kind of yoke, and can reduce leakage magnetic flux from a magnetic path formed between the lens driving magnet 17 and the lens driving coils 30s and 30t.
  • a rod-like or spherical magnetic body may be used as the magnetic piece 61. If the magnetic piece 61 is formed in a ring shape, there is an effect that the attractive force attracting the lens driving magnet 17 when the lens holder 12 moves in the optical axis direction is isotropic. Further, when the lens driving coils 30 s and 30 t are energized, the magnetic piece 61 moves in a direction away from the lens driving magnet 17, so that an extra force that presses the lens holder 12 against the image sensor 1 b does not work. Therefore, the lens holder 12 can be moved in the optical axis direction with a small amount of electric power.
  • the lens 1a when viewed from the direction of the optical axis L, the lens 1a (see FIG. 1) is circular, but the case 18 used for the support 2 has a rectangular box shape. Accordingly, the case 18 includes a rectangular tube-shaped body portion 18c, and an upper plate portion 18b having an incident window 18a formed on the upper surface side of the rectangular tube-shaped body portion 18c.
  • a lens driving magnet 17 is fixed to a side surface corresponding to a square corner inside the rectangular cylindrical body portion 18c, and each of the lens driving magnets 17 is composed of a triangular prism-like permanent magnet.
  • Each of the four lens driving magnets 17 is divided into two in the direction of the optical axis, and in any case, the inner surface and the outer surface are magnetized to different poles. For this reason, the winding directions of the two lens driving coils 30 s and 30 t are opposite to each other around the coil holder 13.
  • the moving body 3 configured as described above is disposed inside the case 18.
  • the lens driving coils 30 s and 30 t each constitute the lens driving mechanism 5 so as to face the lens driving magnet 17 fixed to the inner surface of the rectangular tubular body 18 c of the case 18.
  • the moving body 3 is normally located on the imaging element side (one side in the Z-axis direction). In such a state, the moving body 3 is directed to the lens driving coils 30s and 30t in a predetermined direction.
  • the lens driving coils 30s and 30t each receive an electromagnetic force directed toward the subject side (the other side in the Z-axis direction). Accordingly, the moving body 3 to which the lens driving coils 30s and 30t are fixed starts to move toward the subject side (front side). At this time, an elastic force that restricts the movement of the moving body 3 is generated between the spring member 14 t and the front end of the moving body 3 and between the spring member 14 s and the rear end of the moving body 3.
  • the moving body 3 stops. At this time, the moving body 3 can be stopped at a desired position by adjusting the amount of current flowing through the lens driving coils 30 s and 30 t according to the elastic force acting on the moving body 3 by the spring members 14 s and 14 t. .
  • FIG. 5 is a cross-sectional view showing the internal structure of the optical unit 100 with a shake correction function according to the first embodiment of the present invention
  • FIGS. 5 (a) and 5 (b) are YZ cross-sectional views of the optical unit 100.
  • 2 is an XZ sectional view of the optical unit 100.
  • 6 is an exploded perspective view of the optical unit 100 with a shake correction function according to the first embodiment of the present invention when viewed from the subject side
  • FIG. 7 is a shake correction function according to the first embodiment of the present invention. It is a disassembled perspective view when the attached optical unit 100 is seen from the object opposite side.
  • the optical unit 100 includes a fixed body 200, an imaging unit 1, a spring member 600 that is supported by the fixed body 200 so as to be displaceable, and an imaging unit.
  • a shake correction drive mechanism 500 that generates a magnetic drive force that causes the imaging unit 1 to be displaced relative to the fixed body 200 between the unit 1 and the fixed body 200 is provided.
  • the outer peripheral portion of the imaging unit 1 is composed of a case 18 (see FIG. 4) used for the support 2 in the imaging unit 1.
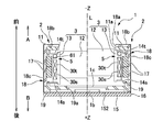
  • the fixed body 200 includes an upper cover 250, a spacer 280, and a lower cover 700, and the upper cover 250 includes a rectangular tubular body 210 surrounding the imaging unit 1 and an opening on the subject side of the rectangular tubular body 210. And an end plate part 220 for closing the part.
  • the end plate 220 is formed with a window 220a through which light from the subject enters.
  • the end of the rectangular tubular body 210 opposite to the subject (+ Z side
  • a cutout 219 is formed at two locations facing each other in the Y-axis direction in the rectangular tubular body 210, and one of the two cutouts 219 in the Y-axis direction + Y cutout 219. Is used when the flexible wiring board 420 is connected to a terminal portion of a sheet coil 550 described later. Further, notches 218 used for engagement with a spacer 280 described later are formed on the four surfaces of the rectangular tube-shaped body portion 210, and two of the notches 218 located in the Y-axis direction are formed. The notch 218 is connected to the notch 219 to form an integral notch.
  • a notch 217 connected to the notch 218 is formed on the lower end side of two locations facing each other in the Y-axis direction.
  • the Y-axis The notch 217 on one side + Y in the direction is used to pull out the flexible wiring board 410 to the outside.
  • the spacer 280 includes a rectangular frame portion 281 that is sandwiched between the rectangular tubular body 210 of the upper cover 250 and the lower cover 700, and a columnar portion 283 that protrudes from the corner portion of the frame portion 281 toward the subject. , And an engaging protrusion 285 that protrudes outward at the side portion of the frame portion 281.
  • the engaging protrusion 285 is engaged with the notch 218 cut out in a square shape in the rectangular tube-shaped body 210 of the upper cover 250, and the spacer 280 and the Positioning with the cover 250 is performed.
  • the lower cover 700 is a press-processed product for a metal plate, and includes a substantially rectangular bottom plate portion 710 and four side plate portions 720 that stand from the outer peripheral edge of the bottom plate portion 710 toward the subject.
  • the side plate part 720 sandwiches the frame part 281 of the spacer 280 between the square cylindrical body part 210 of the upper cover 250.
  • a notch 728 is formed in the side plate portion 720 located on one side + Y in the Y-axis direction, and the center portion of the notch 728 has the side plate portion 720. A part is left as a plate-like protrusion 729.
  • a window-shaped notch 726 is also formed in the side plate portion 720 located on the other side ⁇ Y in the Y-axis direction of the side plate portion 720, and the side plate portion 720 is formed at the center of the notch 726. Is left as a crosspiece 727.
  • the cutout 728 is used to pull out the flexible wiring substrate 410 to the outside, as will be described later.
  • the cutout 726 interferes with the side plate portion 720 of the lower cover 700. It is used to prevent from doing.
  • the bottom plate portion 710 of the lower cover 700 has a hole 711 formed at the center thereof, and is positioned adjacent to the hole 711 on the other side ⁇ X in the X-axis direction and to the hole 711 in the Y-axis direction.
  • Concave portions 716 and 717 that are recessed in a rectangular shape are formed at adjacent positions on the other side.
  • the inner surfaces of the bottom portions 716a and 717a of the recesses 716 and 717 are substantially mirror surfaces, and the bottom portions 716a and 717a are mounted on the substrate surface 151 on the substrate 15 opposite to the subject side. This is used as a reflection surface for the reflector 580 and the second photo reflector 590.
  • the lower cover 700 is made of a metal part that has been made nonmagnetic by heat treatment. More specifically, the lower cover 700 is made of a metal part obtained by bending or drawing a metal material such as SUS304 into a predetermined shape.
  • a metal material such as SUS304 or the like
  • a part of austenite is transferred to martensite and has magnetism, but in this embodiment, the lower cover is subjected to heat treatment after bending or drawing and the like. 700 is earned. For this reason, when the optical unit 100 is assembled, it is possible to prevent the permanent magnet 520 and the lower cover 700 from being attracted.
  • heat treatment is performed on a metal material such as SUS304, the reflectance increases, so the lower cover 700 has sufficient reflectance to be used as a reflective surface for the first photoreflector 580 and the second photoreflector 590. ing.
  • a swing fulcrum for swinging the imaging unit 1 between the imaging unit 1 and the lower cover 700 of the fixed body 200 180 is provided, and the imaging unit 1 is biased toward the lower cover 700 by the spring member 600 via the swing fulcrum 180.
  • the swing fulcrum 180 is constituted by a steel ball 181 positioned in a hole 711 formed in the bottom plate portion 710 of the lower cover 700 and a support plate 183 fixed to the substrate surface 151 of the substrate 15.
  • the imaging unit 1 can swing about the contact position between the steel ball 181 and the support plate 183 as a swing center.
  • the spring member 600 includes a fixed-side connection portion 620 that is sandwiched between the side plate portion 720 of the lower cover 700 and the frame portion 281 of the spacer 280 in the fixed body 200, and a movable-side connection portion 610 that is connected to the imaging unit 1.
  • the plate-like spring member includes a plurality of arm portions 630 extending between the movable side connecting portion 610 and the fixed side connecting portion 620, and both ends of the arm portion 630 are respectively connected to the movable side connecting portion 610 and the fixed portion. It is connected to the side connecting part 620.
  • the movable side connecting portion 610 of the spring member 600 is fixed to a step portion 168 formed on the outer peripheral side of the substrate holder 16 on the rear end side of the imaging unit 1.
  • the spring member 600 is made of a nonmagnetic metal such as beryllium copper or a nonmagnetic SUS steel material, and is formed by pressing a thin plate having a predetermined thickness or etching using a photolithography technique.
  • the imaging unit 1 is closer to the subject side than the steel ball 181. Is placed, the imaging unit 1 is pushed up to the subject side by the steel ball 181. Therefore, in the spring member 600, the movable side connecting portion 610 is pushed up to the subject side relative to the fixed side connecting portion 620, and the arm portion 630 of the spring member 600 moves the imaging unit 1 to the opposite side to the subject side. Energize.
  • the imaging unit 1 is biased toward the bottom plate portion 710 of the lower cover 700 by the spring member 600 via the swing fulcrum 180, and the imaging unit 1 can swing by the swing fulcrum 180. It will be in the state supported by the fixed body 200 in the state.
  • a shake correction drive mechanism 500 is configured by the coil unit 560 and the permanent magnet 520 that generates a magnetic field linked to the coil unit 560.
  • flat permanent magnets 520 are respectively fixed to the four outer surfaces 18 e, 18 f, 18 g, and 18 h of the rectangular cylindrical body portion 18 c of the case 18.
  • Coil portions 560 are disposed on the inner surfaces 211, 212, 213, and 214 of the cylindrical body portion 210.
  • Permanent magnet 520 is magnetized with different poles on the outer surface side and inner surface side.
  • the permanent magnet 520 is composed of two magnet pieces arranged in the direction of the optical axis L, and the magnet pieces are magnetized to poles having different surfaces on the side facing the coil portion 560. Moreover, the coil part 560 is formed in the square frame shape, and an upper and lower long side part is utilized as an effective side.
  • the permanent magnets 520 and the coil portions 560 disposed at two positions sandwiching the imaging unit 1 on both sides in the Y-axis direction constitute a Y-side shake correction drive mechanism 500y.
  • the imaging unit 1 is swung about an axis line X0 extending in the X-axis direction through the swinging fulcrum 180.
  • the permanent magnet 520 and the coil portion 560 disposed at two positions sandwiching the imaging unit 1 on both sides in the X-axis direction constitute an X-side shake correction drive mechanism 500x, and an arrow Y1 in FIG.
  • the imaging unit 1 is swung around an axis Y0 extending in the Y-axis direction through the swing fulcrum 180.
  • sheet coils extending along the four inner surfaces 211, 212, 213, and 214 of the upper cover 250 are used.
  • 550 is used, and in the sheet-like coil 550, four coil portions 560 are integrally formed with a predetermined interval.
  • the sheet-like coil 550 has a shape extending in a band shape when unfolded, and is folded along the four inner surfaces 211, 212, 213, and 214 of the upper cover 250, and the inner surface 211 of the upper cover 250. To 214 by surface bonding or the like. In this state, both end portions 551 and 552 of the sheet coil 550 are close to each other through the slit 555.
  • the sheet-like coil 550 has a structure in which a coil portion 560 made of fine copper wiring is formed on a printed circuit board using a conductive wiring technique, and a plurality of layers of copper wiring (coil portion 560) is an insulating film. Are formed in multiple layers. The surface of the copper wiring (coil portion 560) is also covered with an insulating film.
  • an FP coil Fe Pattern Coil (registered trademark) manufactured by Asahi Kasei Electronics Corporation can be exemplified.
  • one end portion 551 of the sheet-like coil 550 is formed with a protruding portion 553 that protrudes in a rectangular shape on the opposite side to the subject side, and the protruding portion 553 includes four coil portions 560.
  • a plurality of terminal portions 565 are formed by the extending conductive layer.
  • the terminal portion 565 faces the outer side opposite to the inner side facing the permanent magnet 520 in the sheet-like coil 550.
  • a notch 219 is formed in the upper cover 250 at a portion overlapping the terminal portion 565.
  • the terminal part 565 (projection part 553) of the sheet-like coil 550 is exposed on the outer surface, the sheet-like coil 550 and the flexible wiring board 420 are directed toward the optical axis L in the notch 219.
  • the bent end portion 425 is electrically connected by solder or the like.
  • the imaging unit 1 is supported by the fixed body 200 so as to be swingable by the swing support point 180. Accordingly, when a large force is applied from the outside and the imaging unit 1 swings greatly, the arm portion 630 of the spring member 600 may be plastically deformed.
  • the sheet coil 550 and the permanent magnet 520 are opposed to each other through a narrow gap. In the case of the sheet-like coil 550, unlike the air-core coil, the winding cannot be unwound even if it contacts the permanent magnet 520.
  • the movable range in the X-axis direction and the Y-axis direction intersecting the optical axis L of the imaging unit 1 is regulated by the contact between the sheet-like coil 550 and the permanent magnet 520, No other stopper mechanism is provided to prevent the imaging unit 1 from swinging.
  • the sheet-like coil 550 since the sheet-like coil 550 is used, the distance between the imaging unit 1 and the fixed body 200 can be reduced as compared with the case where a single air-core coil is used. The size of 100 can be reduced. Further, in the case of the sheet-like coil 550, since the plurality of coil portions 560 are integrally provided with the terminal portion 565, even when the coil portions 560 are arranged at a plurality of locations around the optical axis L, the sheet-like coil 550 is optically connected. What is necessary is just to make it extend around the axis L.
  • the terminal portion 565 faces the outer side opposite to the side facing the permanent magnet 520. Therefore, electrical connection to the coil portion 560, that is, a flexible wiring board to the terminal portion 565 is provided. 420 can be easily connected.
  • the Y-side shake correction drive mechanism 500 y swings the imaging unit 1 around the X axis about the swing fulcrum 180. Further, if the swinging of the imaging unit 1 around the X axis and the swinging around the Y axis are combined, the imaging unit 1 can be displaced with respect to the entire XY plane. Therefore, all shakes assumed in the optical unit 100 can be reliably corrected.
  • the displacement of the image pickup unit 1 is monitored by a first photo reflector 580 and a second photo reflector 590 as described later with reference to FIGS. 8 and 9.
  • one end of the flexible wiring board 410 is connected to the substrate 15 of the imaging unit 1, and when the imaging unit 1 is swung, the flexible wiring board 410 is moved to the imaging unit 1.
  • the imaging unit 1 When a load is applied to the imaging unit 1, there is a problem in properly swinging the imaging unit 1.
  • the flexible wiring board 410 has a main body portion 415 positioned outside the optical unit 100 so that the connector 490 can be mounted and the flexible wiring board 420 can be connected, but the flexible wiring board 410 is positioned inside the optical unit 100.
  • the portion is a belt-like portion 411 having a narrower width dimension than the main body portion 415. Further, the belt-like portion 411 extends from one side + Y in the Y-axis direction toward the other side ⁇ Y, and then is folded back toward the one side + Y. After that, the end portion extends along the edge of the substrate 15. Is folded and fixed toward the substrate surface on the subject side.
  • the flexible wiring substrate 410 has a long dimension because the folded portion 413 is provided between the external main body portion 415 and the portion fixed to the substrate 15. Accordingly, the strip-like portion of the flexible wiring board 410 smoothly follows the shake of the imaging unit 1, so that a large load is not applied to the imaging unit 1.
  • the strip-shaped portion 411 of the flexible wiring board 410 is formed with a slit 418 extending along the extending direction (Y-axis direction) of the strip-shaped portion 411 in the middle of the length direction.
  • the middle portion is divided into two narrow portions 416 and 417 in the width direction. For this reason, the rigidity of the strip-shaped portion 411 is relaxed. Accordingly, the strip-like portion of the flexible wiring board 410 smoothly follows the shake of the imaging unit 1, so that a large load is not applied to the imaging unit 1.
  • the band-like portion 411 of the flexible wiring board 420 overlaps with the imaging unit 1 in the optical axis L direction, but the portion overlapping the swing fulcrum 180 is a circular hole 414 connected to the slit 418. For this reason, even if the belt-like portion 411 of the flexible wiring board 420 is arranged at a position overlapping the imaging unit 1 in the optical axis L direction, there is no problem in providing the swing fulcrum 180.
  • the side plate portion 720 positioned on one side + Y in the Y-axis direction among the side plate portions 720 of the lower cover 700 is formed with a notch 728 for pulling out the belt-like portion 411 of the flexible wiring board 420.
  • a part of the side plate portion 720 is left as a plate-like protrusion 729 at the center portion.
  • an elliptical hole 419 is formed in a portion of the belt-like portion 411 of the flexible wiring board 420 that overlaps with the plate-like protrusion 729. Therefore, when the strip-like portion 411 of the flexible wiring board 420 is pulled out from the notch 728 of the side plate portion 720, the plate-like protrusion 729 can be passed through the hole 419. There is no hindrance to pull out. Further, since the plate-like protrusion 729 is fitted into the hole 419, the band-like portion 411 of the flexible wiring board 420 can be positioned.
  • a window-shaped notch 726 is formed in the side plate portion 720 located on the other side ⁇ Y in the Y-axis direction among the side plate portions 720 of the lower cover 700.
  • the folded portion 413 of the flexible wiring board 410 is at the same height as the swing center of the imaging unit 1 at the swing fulcrum 180 (contact position between the steel ball 181 and the support plate 183). For this reason, the displacement of the belt-like portion 411 when the imaging unit 1 swings can be suppressed to a small value. Accordingly, since the influence of the flexible wiring board 410 on the imaging unit 1 can be reduced, the imaging unit 1 can be rocked with high accuracy.
  • FIGS. 8A and 8B are explanatory diagrams of a photo reflector provided in the optical unit 100 with a shake correction function according to the first embodiment of the present invention.
  • FIGS. FIG. 4 is an exploded perspective view of the opposite side portion and an explanatory view showing the positional relationship between the photo reflector and the reflecting surface.
  • FIG. 9 is an explanatory diagram showing the positional relationship between the photo reflector and the flexible wiring board in the optical unit 100 with a shake correction function according to the first embodiment of the present invention.
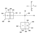
  • FIG. 10 is an explanatory diagram showing the layout of two photo reflectors in the optical unit 100 with a shake correction function according to the first embodiment of the present invention.
  • the light emission center and the light reception center of the photo reflector are indicated by small circles, and in FIG. 10, the light emission center and the light reception center of the photo reflector are indicated by “+”.
  • a fulcrum 180 is configured, and a first photo reflector 580 and a second photo reflector 590 are mounted on the substrate surface 151 of the substrate 15 facing the lower cover 700.
  • two concave portions 716 and 717 are formed in the bottom plate portion 710 of the lower cover 700, and the inner surfaces of the bottom portions 716 a and 717 a of the concave portions 716 and 717 correspond to the first photo reflector 580 and the second photo reflector 590.
  • a first reflecting portion 716c and a second reflecting portion 717c are provided.
  • each of the first photo reflector 580 and the second photo reflector 590 has a rectangular planar shape when viewed from the optical axis L direction, and as shown in FIG. Short sides 581, 582, 591, 592 and long sides 583, 584, 593, 594 are provided.
  • Each of the first photo reflector 580 and the second photo reflector 590 includes light emitting portions 586 and 596 at one end portion in the longitudinal direction, and light receiving portions 587 and 597 at the other end portion in the longitudinal direction. .
  • light shielding portions 585 and 595 are formed between the light emitting portions 586 and 596 and the light receiving portions 587 and 597, respectively.
  • the first photo reflector 580 is arranged at a position overlapping the axis X0 described with reference to FIG. 5B in the optical axis L direction, and the light emission center and the light reception center of the first photo reflector 580 are Are arranged in a direction perpendicular to the optical axis L at positions symmetrical to the axis X0.
  • the second photo reflector 590 is disposed at a position overlapping the axis Y0 described with reference to FIG. 5A in the direction of the optical axis L.
  • the light emission center and the light reception center of the second photo reflector 590 are arranged on the axis line. It overlaps Y0 in the optical axis L direction.
  • the first photo reflector 580 and the second photo reflector 590 are arranged so that the long sides 583, 584, 593, and 594 extend in the Y-axis direction, and the extension of the belt-like portion 411 of the flexible wiring board 410. Parallel to the direction. Accordingly, the first photo reflector 580 and the second photo reflector 590 have short sides 581, 582, 591, 592 extending in the width direction of the flexible wiring board 410. For this reason, even when the second photo reflector 590 is arranged at a position overlapping the slit 418 of the flexible wiring board 410 so that the second photo reflector 590 and the flexible wiring board 410 do not overlap in the optical axis L direction.
  • the width dimension of the slit 418 can be narrowed. Further, in the belt-like portion 411 of the flexible wiring substrate 410, a notch 416a is formed in the outer edge portion of the narrow width portion 416, and the first photo reflector 580 is disposed at a position overlapping the notch 416a, and the first photo reflector 580 and Even when the flexible wiring board 410 is arranged so as not to overlap with the optical axis L direction, the width dimension of the notch 416a can be narrowed. Therefore, a position that overlaps the first photo reflector 580 and the second photo reflector 590 in the optical axis L direction between the bottom (substrate 15) of the imaging unit 1 and the lower cover 700 of the fixed body 200 is avoided. Even when the belt-like portion 411 of the flexible wiring board 410 is extended in the Y-axis direction, the width of the belt-like portion 411 is relatively large.
  • the light emitting units 586 and 596 are positioned on one side + Y in the Y axis direction, and the light receiving units 587 and 597 are positioned on the other side ⁇ Y in the Y axis direction. Is arranged.
  • the first photoreflector 580 and the second photoreflector 590 configured as described above, when the substrate 15 and the bottom plate portion 710 of the lower cover 700 are parallel to each other, as shown in FIG.
  • the light emitted from the light emitting unit 586 is reflected by the first reflecting unit 716c, received by the light receiving unit 587 of the first photo reflector 580 with high intensity, and the light emitted from the light emitting unit 596 of the second photo reflector 590 is The light is reflected by the second reflecting portion 717c and received by the light receiving portion 597 of the second photo reflector 590 with high intensity.
  • the light receiving intensity at the light receiving portion 587 of the first photo reflector 580 and the light receiving portion 597 at the second photo reflector 590 are received. Strength decreases.
  • the light receiving intensity at the light receiving unit 587 of the first photo reflector 580 and the light receiving intensity at the light receiving unit 597 of the second photo reflector 590 vary depending on the inclination direction of the imaging unit 1 with respect to the fixed body 200.
  • the shake correction drive The imaging unit 1 can be properly swung by the mechanism 500.
  • the first photo reflector 580 is disposed at a position overlapping the axis X0 in the optical axis L direction
  • the second photo reflector 590 is disposed at a position overlapping the axis Y0 in the optical axis L direction. Therefore, according to the detection result of the first photo reflector 580, it is possible to monitor the displacement of the imaging unit 1 in the X-axis direction when the imaging unit 1 rotates around the axis Y0. Further, according to the detection result of the second photo reflector 590, the displacement of the imaging unit 1 in the Y-axis direction when the imaging unit 1 rotates around the axis X0 can be monitored.
  • the shake correction drive mechanism 500 that swings the imaging unit 1 as a movable module is provided, and thus when the shake such as hand shake occurs in the optical unit 100.
  • the imaging unit 1 can be swung so as to cancel out such a shake. For this reason, even if the optical unit 100 is shaken, the inclination of the optical axis L can be corrected.
  • a first photo reflector 580 is provided at a position that overlaps the axis X0 in the optical axis L direction, and overlaps the axis Y0 in the optical axis L direction, of the two axis lines X0 and Y0 when the imaging unit 1 swings. Since the second photo reflector 590 is provided at the position, the first photo reflector 580 and the second photo reflector 590 independently monitor and control the shake of the imaging unit 1 for each of the two axes X0 and Y0. be able to.
  • the shake correction drive mechanism 500 is provided between the outer peripheral surface of the imaging unit 1 and the fixed body 200 (upper cover 250), while the first photo reflector 580 and the second photo reflector 590 are swung.
  • the fulcrum 180 is provided using a space between the bottom (substrate 15) of the imaging unit 1 and the fixed body 200 (lower cover 700). For this reason, even when a photo reflector (first photo reflector 580 and second photo reflector 590), a swing fulcrum 180, and a shake correction drive mechanism 500 are provided for the imaging unit 1, the optical axis L direction and the optical axis direction are provided. Can be prevented from increasing in size in the direction intersecting (X-axis direction and Y-axis direction).
  • the flexible wiring board 410 is arranged in the Y-axis direction so as to avoid a position overlapping the first photo reflector 580 and the second photo reflector 590 in the optical axis L direction.
  • the extending directions of the long sides 583, 584, 593, 594 in the first photo reflector 580 and the second photo reflector 590 are parallel to the extending direction of the flexible wiring board 410.
  • the flexible wiring board 410 can be extended with a wide width dimension. Therefore, a large number of wiring patterns can be provided in the belt-like portion 411.
  • the first photo reflector 580 and the second photo reflector 590 are provided at the bottom of the imaging unit 1, while the first reflecting portion 716 c and the second reflecting portion 717 c with respect to the first photo reflector 580 and the second photo reflector 590 are provided. Is composed of inner bottom surfaces of recesses 716 and 717 provided in the bottom plate portion 710 of the lower cover 700 facing the bottom portion of the imaging unit 1. According to such a configuration, the first reflecting portion 716c and the second reflecting portion 717c are recessed in a direction away from the bottom portion of the imaging unit 1 from the portion located around.
  • a space for arranging the first photo reflector 580 and the second photo reflector 590 can be secured between the bottom of the imaging unit 1 and the lower cover 700. Even when a protrusion is used instead of the steel ball 181 in configuring the swing fulcrum 180, the height of the protrusion can be reduced if the lower cover 700 and the bottom of the imaging unit 1 are close to each other. The area occupied by the protrusions can be narrowed. Therefore, a space for arranging the first photo reflector 580 and the second photo reflector 590 can be secured between the bottom of the imaging unit 1 and the lower cover 700.
  • the lower cover 700 is made of a metal part obtained by bending or drawing a metal material such as SUS304 into a predetermined shape, but is nonmagnetic due to heat treatment. For this reason, when the optical unit 100 is assembled, it is possible to prevent the permanent magnet 520 and the lower cover 700 from being attracted. Further, when heat treatment is performed on a metal material such as SUS304, the reflectance increases, so the lower cover 700 has sufficient reflectance to be used as a reflective surface for the first photoreflector 580 and the second photoreflector 590. ing. Therefore, there is an advantage that it is not necessary to apply a reflective tape to the lower cover 700 when providing the first reflective portion 716c and the second reflective portion 717c for the first photo reflector 580 and the second photo reflector 590.
  • the bottom of the image pickup unit 1 includes the substrate 15 on which the first photo reflector 580 and the second photo reflector 590 are mounted on the substrate surface 151, and the image sensor 1 b is mounted on the opposite substrate surface 152 of the substrate 15. Has been. For this reason, since the first photo reflector 580 and the second photo reflector 590 can be mounted on the same substrate 15 as the imaging device 1b, the number of components can be reduced.
  • FIG. 11 is an explanatory diagram showing the layout and the like of two photo reflectors in the optical unit 100 with a shake correction function according to the second embodiment of the present invention. Since the basic configuration of this embodiment is the same as that of Embodiment 1, common portions are denoted by the same reference numerals and description thereof is omitted.
  • the first photo reflector 580 is arranged at a position overlapping the axis X0 in the optical axis L direction, as in the first embodiment.
  • the second photo reflector 590 is disposed at a position overlapping the axis Y0 in the optical axis L direction.
  • the first photo reflector 580 and the second photo reflector 590 are arranged so that the long sides 583, 584, 593, and 594 extend in the Y-axis direction, and have been described with reference to FIGS. Thus, it is parallel to the extending direction of the strip-shaped portion 411 of the flexible wiring board 410. Further, in the first photo reflector 580 and the second photo reflector 590, the light emitting units 586 and 596 are positioned on one side + Y in the Y axis direction, and the light receiving units 587 and 597 are positioned on the other side ⁇ Y in the Y axis direction. Is arranged.
  • the space between the first photoreflector 580 and the second photoreflector 590 is the light emitted from the light emitting unit 596 of the second photoreflector 590. May enter the first photo reflector 580. Further, when the substrate 15 has translucency like a glass-epoxy substrate, the light emitted from the light emitting portion 596 of the second photo reflector 590 passes through the substrate 15 and the first photo reflector 580. May enter.
  • the light shielding layers 588 and 589 are disposed on the two side surfaces facing the side where the second photo reflector 590 is located among the four side surfaces facing the direction intersecting the optical axis L direction in the first photo reflector 580.
  • the light shielding layers 598 and 599 are provided on the two side surfaces facing the side where the first photo reflector 580 is located. It has been.
  • first photo reflector 580 light-shielding layers 588 and 589 are provided on side surfaces corresponding to the short side 582 and the long side 583 facing the side where the second photo reflector 590 is located, and the second photo reflector 590 is provided.
  • Light shielding layers 598 and 599 are provided on the side surfaces corresponding to the short side 591 and the long side 594 facing the side where the first photo reflector 580 is located. For this reason, the light emitted from the light emitting unit 596 of the second photo reflector 590 does not enter the light receiving unit 587 of the first photo reflector 580.
  • the distance between the light emitting portion 586 of the first photo reflector 580 and the light receiving portion 597 of the second photo reflector 590 is the distance between the light receiving portion 587 of the first photo reflector 580 and the light emitting portion 596 of the second photo reflector 590. Therefore, the light emitted from the light emitting unit 586 of the first photo reflector 580 is unlikely to enter the light receiving unit 597 of the second photo reflector 590.
  • the light shielding layers 588 and 589 are formed on the entire two side surfaces of the first photo reflector 580 facing the side where the second photo reflector 590 is located, and the first photo reflector 580 is positioned in the second photo reflector 590.
  • the light-shielding layers 598 and 599 are provided on the entire two side surfaces facing the light-emitting side, the light emitted from the light emitting unit 586 of the first photo reflector 580 may enter the light receiving unit 597 of the second photo reflector 590. It can be surely prevented.
  • FIG. 12 is an explanatory diagram showing the layout of two photo reflectors in the optical unit 100 with a shake correction function according to Embodiment 3 of the present invention.
  • FIGS. It is explanatory drawing of the form made to adjoin, and explanatory drawing of the form which made light-receiving parts adjoin. Since the basic configuration of this embodiment is the same as that of Embodiment 1, common portions are denoted by the same reference numerals and description thereof is omitted.
  • the first photo reflector 580 is arranged at a position overlapping the axis X0 in the optical axis L direction as in the first embodiment.
  • the second photo reflector 590 is disposed at a position overlapping the axis Y0 in the direction of the optical axis L.
  • the first photo reflector 580 and the second photo reflector 590 are arranged so that the long sides 583, 584, 593, and 594 extend in the Y-axis direction, and have been described with reference to FIGS. Thus, it is parallel to the extending direction of the strip-shaped portion 411 of the flexible wiring board 410.
  • the first photo reflector 580 and the second photo reflector 590 are arranged in a direction in which the light emitting units 586 and 596 approach each other and the light receiving units 587 and 597 separate from each other. That is, the light emitting portion 586 of the first photo reflector 580 faces the side where the second photo reflector 590 is located, and the light emitting portion 596 of the second photo reflector 590 faces the side where the first photo reflector 580 is located. Yes.
  • the light receiving portion 587 of the first photo reflector 580 faces the side opposite to the side where the second photo reflector 590 is located, and the light receiving portion 597 of the second photo reflector 590 is located where the first photo reflector 580 is located. It faces the other side.
  • the first photo reflector 580 and the second photo reflector 590 configured as described above, the light emitted from the light emitting unit 596 of the second photo reflector 590 is incident on the first photo reflector 580 and the light emitted from the second photo reflector 590. There is a possibility that light emitted from the unit 596 may enter the first photo reflector 580.
  • the first photo reflector 580 and the second photo reflector 590 are arranged in a direction in which the light emitting units 586 and 596 approach each other and the light receiving units 587 and 597 separate from each other.
  • the distance from the light emitting unit 596 of the second photo reflector 590 to the light receiving unit 587 of the first photo reflector 580 is longer than that of the embodiment described with reference to FIG. Therefore, even if the light emitted from the light emitting unit 586 of the first photo reflector 580 travels toward the second photo reflector 590 as indicated by the arrow S1, it enters the light receiving unit 597 of the second photo reflector 590. Hard to do. Further, as shown by the arrow S2, the light emitted from the light emitting unit 596 of the second photo reflector 590 is incident on the light receiving unit 597 of the first photo reflector 580 even when traveling toward the first photo reflector 580. Hateful.
  • FIGS. 13A and 13B are explanatory diagrams showing the layout and the like of two photo reflectors in the optical unit 100 with a shake correction function according to the fourth embodiment of the present invention.
  • FIGS. It is explanatory drawing of the form which made it adjoin, and explanatory drawing of the form which made light-receiving parts adjoin. Since the basic configuration of this embodiment is the same as that of Embodiment 1, common portions are denoted by the same reference numerals and description thereof is omitted. As shown in FIG.
  • the first photo reflector 580 is arranged at a position overlapping the axis X0 in the optical axis L direction as in the first embodiment.
  • the second photo reflector 590 is disposed at a position overlapping the axis Y0 in the direction of the optical axis L.
  • the first photo reflector 580 and the second photo reflector 590 are arranged so that the long sides 583, 584, 593, and 594 extend in the Y-axis direction, and have been described with reference to FIGS. Thus, it is parallel to the extending direction of the strip-shaped portion 411 of the flexible wiring board 410.
  • the first photo reflector 580 and the second photo reflector 590 are similar to the third embodiment in that the light emitting units 586 and 596 are close to each other and the light receiving units 587 and 597 are in close proximity. It is arranged in a direction away from each other.
  • light shielding layers 588 and 589 are provided on two side surfaces of the four side surfaces of the first photo reflector 580 that face the side where the second photo reflector 590 is located.
  • light shielding layers 598 and 599 are provided on two side surfaces facing the side where the first photo reflector 580 is located. Therefore, light emitted from the light emitting unit 586 of the first photo reflector 580 does not enter the light receiving unit 597 of the second photo reflector 590. Further, the light emitted from the light emitting unit 596 of the second photo reflector 590 does not enter the light receiving unit 587 of the first photo reflector 580.
  • the positions where the light shielding layers 588, 589, 598, and 599 are provided in the first photo reflector 580 and the second photo reflector 590 are point-symmetric. Therefore, photoreflectors having the same configuration can be used as the first photoreflector 580 and the second photoreflector 590, and parts can be shared.
  • the first reflecting portion 716 c and the second reflecting portion 717 c for the first photo reflector 580 and the second photo reflector 590 are formed from the inner bottom surfaces of the recesses 716 and 717 provided in the bottom plate portion 710 of the lower cover 700.
  • the configuration is such that the first reflecting portion and the second reflecting portion are on the same plane as the portion located around the first reflecting portion and the portion located around the second reflecting portion in the lower cover 700. It may be adopted. Even when such a configuration is employed, the lower cover 700 is closer to the bottom of the imaging unit 1 than when a configuration in which the first reflecting portion and the second reflecting portion protrude toward the bottom of the imaging unit 1 is employed. And a swing fulcrum 180 can be provided in the adjacent portion. Therefore, since the area occupied by the oscillating fulcrum 180 is narrow, a space for arranging the first photo reflector 580 and the second photo reflector 590 can be secured.
  • the second photo reflector 590 among the four side surfaces of the first photo reflector 580.
  • the light shielding layer is provided on the two side surfaces facing the side where the first photo reflector 580 is located, and the light shielding layer is provided on the two side surfaces facing the side where the first photo reflector 580 is located.
  • a light shielding layer may be provided on all four side portions of the first photo reflector 580 and the second photo reflector 590.
  • the light shielding layers are provided on the side surfaces of both the first photo reflector 580 and the second photo reflector 590.
  • the first photo reflector 580 and the second photo reflector 590 From the viewpoint of preventing crosstalk, the light shielding layer may be provided only on the side surface of one of the first photo reflector 580 and the second photo reflector 590.
  • the present invention may be applied to the optical unit 100 used in the camera-equipped mobile phone.
  • the present invention may be applied to the optical unit 100 used in a thin digital camera or the like.
  • the lens drive mechanism 5 which magnetically drives the moving body 3 containing the lens 1a to an optical axis direction is supported on the support body 2 in the imaging unit 1.
  • the present invention may be applied to a fixed focus type optical unit in which the lens driving mechanism 5 is not mounted on the imaging unit 1.
  • the optical unit 100 with a shake correction function to which the present invention is applied is fixed in a device having vibrations at regular intervals, such as a refrigerator or the like, in addition to a mobile phone, a digital camera, etc. It can also be used for a service that can obtain information inside the refrigerator when going out, for example, when shopping. In such a service, since it is a camera system with a posture stabilization device, a stable image can be transmitted even if the refrigerator vibrates. Further, the present apparatus may be fixed to a device worn at the time of attending school, such as a child, a student's bag, a school bag or a hat.
  • the guardian or the like can observe the image in a remote place to ensure the safety of the child.
  • a clear image can be taken even if there is vibration during movement without being aware of the camera.
  • a GPS is installed in addition to the camera module, the location of the target person can be acquired at the same time. In the event of an accident, the location and situation can be confirmed instantly.
  • the optical unit 100 with a shake correction function to which the present invention is applied is mounted at a position where the front can be photographed in an automobile, it can be used as a drive recorder.
  • the optical unit 100 with a shake correction function to which the present invention is applied is mounted at a position where the front of the vehicle can be photographed, and peripheral images are automatically photographed at regular intervals and automatically transferred to a predetermined server. Also good. Further, by distributing this image in conjunction with traffic jam information such as car navigation VICS (Vehicle Information and Communication System), it is possible to provide a more detailed traffic situation. According to such a service, it is possible to record the situation at the time of an accident or the like by an unintended third party and use it for inspection of the situation as in the case of a drive recorder mounted on a car. In addition, a clear image can be acquired without being affected by the vibration of the automobile. In such an application, when the power is turned on, a command signal is output to the control unit, and shake control is started based on the command signal.
  • VICS Vehicle Information and Communication System
  • the optical unit 100 with a shake correction function to which the present invention is applied may be applied to shake correction of an optical device that emits light, such as a laser pointer, a portable or vehicle-mounted projection display device, or a direct-view display device. Good. Further, it may be used for observation without using an auxiliary fixing device such as a tripod for observation at a high magnification such as an astronomical telescope system or a binoculars system. In addition, by using a sniper rifle or a gun barrel such as a tank, the posture can be stabilized against vibration at the time of triggering, so that the accuracy of hitting can be improved.

Landscapes

  • Physics & Mathematics (AREA)
  • General Physics & Mathematics (AREA)
  • Engineering & Computer Science (AREA)
  • Multimedia (AREA)
  • Signal Processing (AREA)
  • Optics & Photonics (AREA)
  • Adjustment Of Camera Lenses (AREA)
  • Studio Devices (AREA)
PCT/JP2011/061815 2010-06-08 2011-05-24 振れ補正機能付き光学ユニット Ceased WO2011155315A1 (ja)

Priority Applications (3)

Application Number Priority Date Filing Date Title
US13/702,426 US9049375B2 (en) 2010-06-08 2011-05-24 Optical unit with shake correcting function
CN201180026452.1A CN102918457B (zh) 2010-06-08 2011-05-24 带抖动修正功能的光学单元
US14/590,268 US9185296B2 (en) 2010-06-08 2015-01-06 Optical unit with shake correcting function

Applications Claiming Priority (2)

Application Number Priority Date Filing Date Title
JP2010131389A JP5622443B2 (ja) 2010-06-08 2010-06-08 振れ補正機能付き光学ユニット
JP2010-131389 2010-06-08

Related Child Applications (2)

Application Number Title Priority Date Filing Date
US13/702,426 A-371-Of-International US9049375B2 (en) 2010-06-08 2011-05-24 Optical unit with shake correcting function
US14/590,268 Division US9185296B2 (en) 2010-06-08 2015-01-06 Optical unit with shake correcting function

Publications (1)

Publication Number Publication Date
WO2011155315A1 true WO2011155315A1 (ja) 2011-12-15

Family

ID=45097923

Family Applications (1)

Application Number Title Priority Date Filing Date
PCT/JP2011/061815 Ceased WO2011155315A1 (ja) 2010-06-08 2011-05-24 振れ補正機能付き光学ユニット

Country Status (4)

Country Link
US (2) US9049375B2 (enExample)
JP (1) JP5622443B2 (enExample)
CN (1) CN102918457B (enExample)
WO (1) WO2011155315A1 (enExample)

Cited By (3)

* Cited by examiner, † Cited by third party
Publication number Priority date Publication date Assignee Title
US20150201127A1 (en) * 2012-06-28 2015-07-16 Lg Innoteck Co., Ltd. Camera module
WO2015104960A1 (ja) * 2014-01-09 2015-07-16 富士フイルム株式会社 撮像モジュール、撮像モジュールの製造方法、電子機器
US20160231641A1 (en) * 2013-09-25 2016-08-11 Nidec Sankyo Corporation Optical unit with shake correction function

Families Citing this family (33)

* Cited by examiner, † Cited by third party
Publication number Priority date Publication date Assignee Title
CN102445810A (zh) * 2010-10-09 2012-05-09 致伸科技股份有限公司 光学影像系统
JP6129513B2 (ja) * 2011-11-08 2017-05-17 シャープ株式会社 手振れ補正機能付きカメラモジュールおよびこれを搭載した電子機器
JP2014013336A (ja) * 2012-07-05 2014-01-23 Nidec Sankyo Corp 撮影用光学装置の調整方法および撮影用光学装置
US9398264B2 (en) 2012-10-19 2016-07-19 Qualcomm Incorporated Multi-camera system using folded optics
JP6108801B2 (ja) * 2012-12-06 2017-04-05 キヤノン株式会社 補正光学装置、画像振れ補正装置、及び撮像装置
US10178373B2 (en) 2013-08-16 2019-01-08 Qualcomm Incorporated Stereo yaw correction using autofocus feedback
CN110838775B (zh) * 2014-02-27 2021-11-19 Lg伊诺特有限公司 镜头驱动马达
US9383550B2 (en) 2014-04-04 2016-07-05 Qualcomm Incorporated Auto-focus in low-profile folded optics multi-camera system
US9374516B2 (en) 2014-04-04 2016-06-21 Qualcomm Incorporated Auto-focus in low-profile folded optics multi-camera system
US10013764B2 (en) 2014-06-19 2018-07-03 Qualcomm Incorporated Local adaptive histogram equalization
US9541740B2 (en) 2014-06-20 2017-01-10 Qualcomm Incorporated Folded optic array camera using refractive prisms
US9386222B2 (en) 2014-06-20 2016-07-05 Qualcomm Incorporated Multi-camera system using folded optics free from parallax artifacts
US9819863B2 (en) 2014-06-20 2017-11-14 Qualcomm Incorporated Wide field of view array camera for hemispheric and spherical imaging
US9294672B2 (en) 2014-06-20 2016-03-22 Qualcomm Incorporated Multi-camera system using folded optics free from parallax and tilt artifacts
US9832381B2 (en) * 2014-10-31 2017-11-28 Qualcomm Incorporated Optical image stabilization for thin cameras
EP3101890B1 (en) * 2015-06-03 2017-11-22 Axis AB A mechanism and a method for optical image stabilization
CN106324941B (zh) * 2015-07-02 2019-08-27 日本电产三协株式会社 带抖动校正功能光学单元
KR102348365B1 (ko) * 2016-05-03 2022-01-10 삼성전자주식회사 카메라 모듈을 포함하는 전자 장치
DE102017200817A1 (de) * 2017-01-19 2018-07-19 Conti Temic Microelectronic Gmbh Flexible leiterbahn zur verbindung elektronischer module, insbesondere von modulen einer für den einbau in ein fahrzeug vorgesehenen kamera
JP6983550B2 (ja) * 2017-06-29 2021-12-17 日本電産サンキョー株式会社 振れ補正機能付き光学ユニットおよび振れ補正機能付き光学ユニットの製造方法
KR102378472B1 (ko) 2017-08-10 2022-03-25 삼성전자주식회사 미러를 회전 시킬수 있는 구동 장치를 포함하는 카메라를 이용하여 이미지를 획득하는 방법 및 전자 장치
JP6845942B2 (ja) * 2017-09-27 2021-03-24 富士フイルム株式会社 可動支援装置、像ぶれ補正装置、及び撮像装置
JP2019200360A (ja) * 2018-05-17 2019-11-21 日本電産サンキョー株式会社 振れ補正機能付き光学ユニット及びその製造方法
JP7154891B2 (ja) * 2018-08-31 2022-10-18 キヤノン株式会社 像振れ補正装置、レンズ装置およびカメラシステム
CN111624781A (zh) * 2019-02-28 2020-09-04 三赢科技(深圳)有限公司 结构光发射模组及应用其的3d结构光感测器和电子装置
WO2020243869A1 (zh) * 2019-06-01 2020-12-10 瑞声光学解决方案私人有限公司 应用于潜望式镜头模组的棱镜装置和潜望式镜头模组
JP7270502B2 (ja) * 2019-08-09 2023-05-10 ニデックインスツルメンツ株式会社 振れ補正機能付き光学ユニット
CN113840060B (zh) * 2020-06-24 2023-01-20 华为技术有限公司 摄像模组及电子设备
TWI743898B (zh) 2020-07-22 2021-10-21 大陽科技股份有限公司 可達成影像穩定的反射模組、相機模組與電子裝置
JP7615577B2 (ja) * 2020-09-14 2025-01-17 ニデック株式会社 光学ユニット
US12323704B2 (en) * 2020-12-18 2025-06-03 Tdk Taiwan Corp. Optical element driving mechanism
US12206974B2 (en) * 2021-08-25 2025-01-21 Tdk Taiwan Corp. Optical element driving mechanism
KR102597171B1 (ko) * 2021-11-18 2023-11-02 삼성전기주식회사 센서 시프트 모듈 및 이를 포함하는 카메라 모듈

Citations (5)

* Cited by examiner, † Cited by third party
Publication number Priority date Publication date Assignee Title
JPH04211230A (ja) * 1989-10-20 1992-08-03 Fuji Photo Film Co Ltd 手振れ補正装置
JPH11289105A (ja) * 1998-04-03 1999-10-19 Citizen Electronics Co Ltd フォトリフレクタとその製造方法
JPH11352544A (ja) * 1998-06-05 1999-12-24 Nippon Densan Copal Kk フォーカルプレンシャッタを内蔵したカメラ
WO2009133690A1 (ja) * 2008-04-30 2009-11-05 日本電産サンキョー株式会社 振れ補正機能付き光学ユニット及び撮影用光学装置
JP2010072563A (ja) * 2008-09-22 2010-04-02 Canon Inc 振れ補正装置および撮像装置

Family Cites Families (11)

* Cited by examiner, † Cited by third party
Publication number Priority date Publication date Assignee Title
JP4706105B2 (ja) 2001-01-09 2011-06-22 株式会社ニコン 撮影装置
JP2003110929A (ja) * 2001-10-01 2003-04-11 Minolta Co Ltd 手振れ補正撮像装置
JP2006058555A (ja) * 2004-08-19 2006-03-02 Canon Inc 光学シフト装置
JP4529810B2 (ja) * 2005-06-15 2010-08-25 コニカミノルタオプト株式会社 光学装置及び撮像装置
JP2007043129A (ja) * 2005-07-08 2007-02-15 Konica Minolta Opto Inc プリント基板及び撮像装置並びにカメラ
DE102006032215A1 (de) * 2006-07-12 2008-01-24 Robert Bosch Gmbh Rotor für eine elektrische Maschine
JP2008197209A (ja) * 2007-02-09 2008-08-28 Nikon Corp カメラ
JP2009088433A (ja) 2007-10-03 2009-04-23 Citizen Electronics Co Ltd フォトリフレクタ
CN102016709B (zh) * 2008-04-30 2014-04-09 日本电产三协株式会社 带抖动修正功能的光学单元及摄影用光学装置
JP5351483B2 (ja) * 2008-10-14 2013-11-27 日本電産サンキョー株式会社 振れ補正機能付き光学ユニット
TWI409577B (zh) * 2010-08-20 2013-09-21 Primax Electronics Ltd 光學影像系統

Patent Citations (5)

* Cited by examiner, † Cited by third party
Publication number Priority date Publication date Assignee Title
JPH04211230A (ja) * 1989-10-20 1992-08-03 Fuji Photo Film Co Ltd 手振れ補正装置
JPH11289105A (ja) * 1998-04-03 1999-10-19 Citizen Electronics Co Ltd フォトリフレクタとその製造方法
JPH11352544A (ja) * 1998-06-05 1999-12-24 Nippon Densan Copal Kk フォーカルプレンシャッタを内蔵したカメラ
WO2009133690A1 (ja) * 2008-04-30 2009-11-05 日本電産サンキョー株式会社 振れ補正機能付き光学ユニット及び撮影用光学装置
JP2010072563A (ja) * 2008-09-22 2010-04-02 Canon Inc 振れ補正装置および撮像装置

Cited By (6)

* Cited by examiner, † Cited by third party
Publication number Priority date Publication date Assignee Title
US20150201127A1 (en) * 2012-06-28 2015-07-16 Lg Innoteck Co., Ltd. Camera module
US9420184B2 (en) * 2012-06-28 2016-08-16 Lg Innotek Co., Ltd. Camera module having a handshake correction function
US20160231641A1 (en) * 2013-09-25 2016-08-11 Nidec Sankyo Corporation Optical unit with shake correction function
US9989832B2 (en) * 2013-09-25 2018-06-05 Nidec Sankyo Corporation Optical unit with shake correction function
WO2015104960A1 (ja) * 2014-01-09 2015-07-16 富士フイルム株式会社 撮像モジュール、撮像モジュールの製造方法、電子機器
JP5990655B2 (ja) * 2014-01-09 2016-09-14 富士フイルム株式会社 撮像モジュール、撮像モジュールの製造方法、電子機器

Also Published As

Publication number Publication date
JP5622443B2 (ja) 2014-11-12
US20130100304A1 (en) 2013-04-25
US9185296B2 (en) 2015-11-10
CN102918457B (zh) 2016-04-13
US9049375B2 (en) 2015-06-02
US20150124108A1 (en) 2015-05-07
CN102918457A (zh) 2013-02-06
JP2011257556A (ja) 2011-12-22

Similar Documents

Publication Publication Date Title
JP5622443B2 (ja) 振れ補正機能付き光学ユニット
JP5771373B2 (ja) 振れ補正機能付き光学ユニット
JP5755414B2 (ja) 振れ補正機能付き光学ユニット
JP2011257556A5 (enExample)
JP5762087B2 (ja) 振れ補正機能付き光学ユニット
JP5848052B2 (ja) 振れ補正機能付き光学ユニット
JP5828686B2 (ja) 振れ補正機能付き光学ユニット
JP5828660B2 (ja) 振れ補正機能付き光学ユニット
JP5893363B2 (ja) 振れ補正機能付き光学ユニット
WO2014192539A1 (ja) 振れ補正機能付き光学ユニット
JP5612390B2 (ja) 光学ユニット
JP5698939B2 (ja) 振れ補正機能付き光学ユニット
JP5755476B2 (ja) 振れ補正機能付き光学ユニット
JP5519390B2 (ja) 振れ補正機能付き光学ユニット
JP5604237B2 (ja) 振れ補正機能付き光学ユニット
JP5752978B2 (ja) 振れ補正機能付き光学ユニット

Legal Events

Date Code Title Description
WWE Wipo information: entry into national phase

Ref document number: 201180026452.1

Country of ref document: CN

121 Ep: the epo has been informed by wipo that ep was designated in this application

Ref document number: 11792272

Country of ref document: EP

Kind code of ref document: A1

WWE Wipo information: entry into national phase

Ref document number: 13702426

Country of ref document: US

NENP Non-entry into the national phase

Ref country code: DE

122 Ep: pct application non-entry in european phase

Ref document number: 11792272

Country of ref document: EP

Kind code of ref document: A1