WO2011030802A1 - レーザ加工方法及びレーザ加工装置 - Google Patents
レーザ加工方法及びレーザ加工装置 Download PDFInfo
- Publication number
- WO2011030802A1 WO2011030802A1 PCT/JP2010/065448 JP2010065448W WO2011030802A1 WO 2011030802 A1 WO2011030802 A1 WO 2011030802A1 JP 2010065448 W JP2010065448 W JP 2010065448W WO 2011030802 A1 WO2011030802 A1 WO 2011030802A1
- Authority
- WO
- WIPO (PCT)
- Prior art keywords
- cross
- cleaved
- depth
- line
- laser processing
- Prior art date
- Legal status (The legal status is an assumption and is not a legal conclusion. Google has not performed a legal analysis and makes no representation as to the accuracy of the status listed.)
- Ceased
Links
Images
Classifications
-
- B—PERFORMING OPERATIONS; TRANSPORTING
- B23—MACHINE TOOLS; METAL-WORKING NOT OTHERWISE PROVIDED FOR
- B23K—SOLDERING OR UNSOLDERING; WELDING; CLADDING OR PLATING BY SOLDERING OR WELDING; CUTTING BY APPLYING HEAT LOCALLY, e.g. FLAME CUTTING; WORKING BY LASER BEAM
- B23K26/00—Working by laser beam, e.g. welding, cutting or boring
- B23K26/36—Removing material
- B23K26/38—Removing material by boring or cutting
-
- B—PERFORMING OPERATIONS; TRANSPORTING
- B28—WORKING CEMENT, CLAY, OR STONE
- B28D—WORKING STONE OR STONE-LIKE MATERIALS
- B28D5/00—Fine working of gems, jewels, crystals, e.g. of semiconductor material; apparatus or devices therefor
-
- B—PERFORMING OPERATIONS; TRANSPORTING
- B23—MACHINE TOOLS; METAL-WORKING NOT OTHERWISE PROVIDED FOR
- B23K—SOLDERING OR UNSOLDERING; WELDING; CLADDING OR PLATING BY SOLDERING OR WELDING; CUTTING BY APPLYING HEAT LOCALLY, e.g. FLAME CUTTING; WORKING BY LASER BEAM
- B23K26/00—Working by laser beam, e.g. welding, cutting or boring
- B23K26/02—Positioning or observing the workpiece, e.g. with respect to the point of impact; Aligning, aiming or focusing the laser beam
- B23K26/04—Automatically aligning, aiming or focusing the laser beam, e.g. using the back-scattered light
-
- B—PERFORMING OPERATIONS; TRANSPORTING
- B23—MACHINE TOOLS; METAL-WORKING NOT OTHERWISE PROVIDED FOR
- B23K—SOLDERING OR UNSOLDERING; WELDING; CLADDING OR PLATING BY SOLDERING OR WELDING; CUTTING BY APPLYING HEAT LOCALLY, e.g. FLAME CUTTING; WORKING BY LASER BEAM
- B23K26/00—Working by laser beam, e.g. welding, cutting or boring
- B23K26/02—Positioning or observing the workpiece, e.g. with respect to the point of impact; Aligning, aiming or focusing the laser beam
- B23K26/06—Shaping the laser beam, e.g. by masks or multi-focusing
- B23K26/0604—Shaping the laser beam, e.g. by masks or multi-focusing by a combination of beams
- B23K26/0608—Shaping the laser beam, e.g. by masks or multi-focusing by a combination of beams in the same heat affected zone [HAZ]
-
- B—PERFORMING OPERATIONS; TRANSPORTING
- B23—MACHINE TOOLS; METAL-WORKING NOT OTHERWISE PROVIDED FOR
- B23K—SOLDERING OR UNSOLDERING; WELDING; CLADDING OR PLATING BY SOLDERING OR WELDING; CUTTING BY APPLYING HEAT LOCALLY, e.g. FLAME CUTTING; WORKING BY LASER BEAM
- B23K26/00—Working by laser beam, e.g. welding, cutting or boring
- B23K26/02—Positioning or observing the workpiece, e.g. with respect to the point of impact; Aligning, aiming or focusing the laser beam
- B23K26/06—Shaping the laser beam, e.g. by masks or multi-focusing
- B23K26/0604—Shaping the laser beam, e.g. by masks or multi-focusing by a combination of beams
- B23K26/0613—Shaping the laser beam, e.g. by masks or multi-focusing by a combination of beams having a common axis
- B23K26/0617—Shaping the laser beam, e.g. by masks or multi-focusing by a combination of beams having a common axis and with spots spaced along the common axis
-
- B—PERFORMING OPERATIONS; TRANSPORTING
- B23—MACHINE TOOLS; METAL-WORKING NOT OTHERWISE PROVIDED FOR
- B23K—SOLDERING OR UNSOLDERING; WELDING; CLADDING OR PLATING BY SOLDERING OR WELDING; CUTTING BY APPLYING HEAT LOCALLY, e.g. FLAME CUTTING; WORKING BY LASER BEAM
- B23K26/00—Working by laser beam, e.g. welding, cutting or boring
- B23K26/02—Positioning or observing the workpiece, e.g. with respect to the point of impact; Aligning, aiming or focusing the laser beam
- B23K26/06—Shaping the laser beam, e.g. by masks or multi-focusing
- B23K26/064—Shaping the laser beam, e.g. by masks or multi-focusing by means of optical elements, e.g. lenses, mirrors or prisms
- B23K26/0648—Shaping the laser beam, e.g. by masks or multi-focusing by means of optical elements, e.g. lenses, mirrors or prisms comprising lenses
-
- B—PERFORMING OPERATIONS; TRANSPORTING
- B23—MACHINE TOOLS; METAL-WORKING NOT OTHERWISE PROVIDED FOR
- B23K—SOLDERING OR UNSOLDERING; WELDING; CLADDING OR PLATING BY SOLDERING OR WELDING; CUTTING BY APPLYING HEAT LOCALLY, e.g. FLAME CUTTING; WORKING BY LASER BEAM
- B23K26/00—Working by laser beam, e.g. welding, cutting or boring
- B23K26/02—Positioning or observing the workpiece, e.g. with respect to the point of impact; Aligning, aiming or focusing the laser beam
- B23K26/06—Shaping the laser beam, e.g. by masks or multi-focusing
- B23K26/064—Shaping the laser beam, e.g. by masks or multi-focusing by means of optical elements, e.g. lenses, mirrors or prisms
- B23K26/0652—Shaping the laser beam, e.g. by masks or multi-focusing by means of optical elements, e.g. lenses, mirrors or prisms comprising prisms
-
- B—PERFORMING OPERATIONS; TRANSPORTING
- B23—MACHINE TOOLS; METAL-WORKING NOT OTHERWISE PROVIDED FOR
- B23K—SOLDERING OR UNSOLDERING; WELDING; CLADDING OR PLATING BY SOLDERING OR WELDING; CUTTING BY APPLYING HEAT LOCALLY, e.g. FLAME CUTTING; WORKING BY LASER BEAM
- B23K26/00—Working by laser beam, e.g. welding, cutting or boring
- B23K26/02—Positioning or observing the workpiece, e.g. with respect to the point of impact; Aligning, aiming or focusing the laser beam
- B23K26/06—Shaping the laser beam, e.g. by masks or multi-focusing
- B23K26/067—Dividing the beam into multiple beams, e.g. multifocusing
- B23K26/0676—Dividing the beam into multiple beams, e.g. multifocusing into dependently operating sub-beams, e.g. an array of spots with fixed spatial relationship or for performing simultaneously identical operations
-
- B—PERFORMING OPERATIONS; TRANSPORTING
- B23—MACHINE TOOLS; METAL-WORKING NOT OTHERWISE PROVIDED FOR
- B23K—SOLDERING OR UNSOLDERING; WELDING; CLADDING OR PLATING BY SOLDERING OR WELDING; CUTTING BY APPLYING HEAT LOCALLY, e.g. FLAME CUTTING; WORKING BY LASER BEAM
- B23K26/00—Working by laser beam, e.g. welding, cutting or boring
- B23K26/36—Removing material
- B23K26/40—Removing material taking account of the properties of the material involved
-
- B—PERFORMING OPERATIONS; TRANSPORTING
- B23—MACHINE TOOLS; METAL-WORKING NOT OTHERWISE PROVIDED FOR
- B23K—SOLDERING OR UNSOLDERING; WELDING; CLADDING OR PLATING BY SOLDERING OR WELDING; CUTTING BY APPLYING HEAT LOCALLY, e.g. FLAME CUTTING; WORKING BY LASER BEAM
- B23K26/00—Working by laser beam, e.g. welding, cutting or boring
- B23K26/50—Working by transmitting the laser beam through or within the workpiece
- B23K26/53—Working by transmitting the laser beam through or within the workpiece for modifying or reforming the material inside the workpiece, e.g. for producing break initiation cracks
-
- C—CHEMISTRY; METALLURGY
- C03—GLASS; MINERAL OR SLAG WOOL
- C03B—MANUFACTURE, SHAPING, OR SUPPLEMENTARY PROCESSES
- C03B33/00—Severing cooled glass
- C03B33/09—Severing cooled glass by thermal shock
- C03B33/091—Severing cooled glass by thermal shock using at least one focussed radiation beam, e.g. laser beam
- C03B33/093—Severing cooled glass by thermal shock using at least one focussed radiation beam, e.g. laser beam using two or more focussed radiation beams
-
- B—PERFORMING OPERATIONS; TRANSPORTING
- B23—MACHINE TOOLS; METAL-WORKING NOT OTHERWISE PROVIDED FOR
- B23K—SOLDERING OR UNSOLDERING; WELDING; CLADDING OR PLATING BY SOLDERING OR WELDING; CUTTING BY APPLYING HEAT LOCALLY, e.g. FLAME CUTTING; WORKING BY LASER BEAM
- B23K2103/00—Materials to be soldered, welded or cut
- B23K2103/50—Inorganic material, e.g. metals, not provided for in B23K2103/02 – B23K2103/26
Definitions
- the present invention relates to a laser processing method and a laser processing apparatus for forming a modified region that is a starting point of cleaving by condensing and irradiating laser light along a cleaving line of a cleaved member.
- the processing method of dividing one pulse laser beam into three parts, adding a time difference, and then shifting the position to focus and irradiate is formed by connecting three spots in the direction of the planned cutting line, It is expected that the processing speed (relative movement speed of the optical axis of the condenser lens) can be increased. In addition, it is expected that the amount of shifting the focal position in the thickness direction can be increased by forming three spots connected in the thickness direction, and the processing speed in the thickness direction (relative movement speed in the thickness direction of the condenser lens) can be increased.
- the subsequent pulsed light depends on the pulsed light that was irradiated earlier. It is affected by the heat caused.
- the brittle material that is a member to be cut becomes a ductile material when heated to a temperature at which amorphous transition occurs, so even if the subsequent pulse light is irradiated in the vicinity of the region heated by the previous pulse light, the temperature Stress generation due to the difference is less likely to occur, and cracks are less likely to grow due to changes in material properties (for example, dissolution). As a result, the processing speed is not as high as expected.
- the laser light is collected even if the subsequent pulse light is irradiated in the vicinity of the region heated by the previous pulse light.
- the light is absorbed before reaching the light spot, and that sufficient energy does not reach the light condensing point, and that the position of the light condensing point is shifted. If the position of the focal point is shifted, the three spots are not connected in the thickness direction, and the amount by which the focal position is shifted in the thickness direction cannot be increased. As a result, the processing speed in the thickness direction (relative movement speed in the thickness direction of the condenser lens) decreases.
- This invention is made
- the laser processing method of the present invention made to solve the above-described problem is to focus the laser beam on the member to be cut by relatively moving the optical axis of the condenser lens along the planned cutting line of the member to be cut.
- Irradiation is a laser processing method for forming a modified region, which is a starting point of cleaving, in the cleaved member so as to follow the cleaved planned line, at a predetermined depth position from the surface of the cleaved member And simultaneously forming a plurality of cross-sectional focused spots at positions on a cross-section perpendicular to the optical axis of the condensing lens and parallel to the surface.
- One or a plurality of the internal modified regions having a desired shape are formed by forming a spot on a projected line of the planned cutting line to the cross section.
- another laser processing method of the present invention made to solve the above-mentioned problem is to cut the laser beam by relatively moving the optical axis of the condenser lens along the planned cutting line of the member to be cut.
- a laser processing method for forming a modified region which is a starting point of cleaving, on the inside of the cleaved member along the planned cleaving line by condensing and irradiating the member, and is formed from a surface of the cleaved member.
- a plurality of depth focused spots are simultaneously formed in the depth direction at the depth position, and at this time, at least one depth focused spot is selected from the plurality of depth focused spots.
- One or a plurality of the internal reforming regions having a desired shape are formed on the top.
- another laser processing method of the present invention made to solve the above-mentioned problem is to cut the laser beam by relatively moving the optical axis of the condenser lens along the planned cutting line of the member to be cut.
- a laser processing method for forming a modified region which is a starting point of cleaving, on the inside of the cleaved member along the planned cleaving line by condensing and irradiating the member, and is formed from a surface of the cleaved member.
- a plurality of cross-sectional focused spots are simultaneously formed at a position on the cross-section perpendicular to the optical axis of the condensing lens and parallel to the surface at a depth position of at least one of the plurality of cross-sectional focused spots.
- the depth of the light spot Characterized in that at least one depth focused spots formed on the optical axis of the condenser lens the desired shape internal reforming region one or more forms.
- the laser beam is preferably an ultrashort pulse laser beam.
- the figure connecting the plurality of cross-sectional focused spots is a triangle.
- the figure connecting the plurality of depth condensing spots may be a triangle.
- the figure connecting the plurality of cross-section focused spots is a parallelogram, and that two vertices forming an acute angle of the parallelogram are positioned on the projection line of the cleaved line to the cross section.
- the figure connecting the plurality of depth condensing spots may be a parallelogram, and two apexes forming an acute angle of the parallelogram may be positioned on the optical axis of the condensing lens.
- the internal modified region having the desired shape may be formed by using a combination of a spatial position on the cross section of the plurality of cross-section focused spots and an energy density of the focused spot.
- the inner modified region having the desired shape is formed by using a combination of a spatial position in a plane including the planned cutting line of the plurality of depth focused spots and an energy density of the focused spot. It is good to do so.
- the laser processing apparatus according to the present invention which has been made to solve the above-described problems, condenses the laser beam on the member to be cut by relatively moving the optical axis of the condenser lens along the planned cutting line of the member to be cut.
- Irradiation is a laser processing apparatus that forms a modified region that becomes a starting point of cleaving inside the cleaved member so as to follow the cleaved line, and a predetermined depth position from the surface of the cleaved member And simultaneously forming a plurality of cross-sectional focused spots at positions on a cross-section perpendicular to the optical axis of the condensing lens and parallel to the surface. At this time, at least one cross-sectional focused spot among the plurality of cross-sectional focused spots An optical system is provided for forming a spot on a projected line to the cross section of the line to be cut, and one or a plurality of the internal modified regions having a desired shape are formed.
- Another laser processing apparatus of the present invention which has been made to solve the above-described problems, is configured to cut the laser beam by relatively moving the optical axis of the condenser lens along the planned cutting line of the member to be cut.
- a laser processing apparatus that forms a modified region, which is a starting point of cleaving, on the inside of the cleaved member along the planned cleaving line by condensing and irradiating the member, and is predetermined from the surface of the cleaved member
- a plurality of depth focused spots are simultaneously formed in the depth direction at the depth position, and at this time, at least one depth focused spot is selected from the plurality of depth focused spots.
- An optical system is formed on the substrate, and one or a plurality of the internal modified regions having a desired shape are formed.
- Another laser processing apparatus of the present invention which has been made to solve the above-described problems, is configured to cut the laser beam by relatively moving the optical axis of the condenser lens along the planned cutting line of the member to be cut.
- a laser processing apparatus that forms a modified region, which is a starting point of cleaving, on the inside of the cleaved member along the planned cleaving line by condensing and irradiating the member, and is predetermined from the surface of the cleaved member
- a plurality of cross-sectional focused spots are simultaneously formed at a position on the cross-section perpendicular to the optical axis of the condensing lens and parallel to the surface at a depth position of at least one of the plurality of cross-sectional focused spots.
- the depth of the light spot At least one depth focused spots with an optical system for forming on the optical axis of the condenser lens, characterized by one or more forms the internal reforming area of the desired shape.
- a plurality of cross-section focused spots are simultaneously formed at positions on the cross-section that are perpendicular to the optical axis of the condenser lens and parallel to the surface at a predetermined depth position from the surface of the member to be cut, and the depth at the predetermined depth position. Since a plurality of depth condensing spots are also formed in the vertical direction at the same time, it is possible to increase both the processing speed in the cleaving line direction and the processing speed in the thickness direction. If the laser beam is an ultrashort pulse laser beam, the peak peak value of each laser beam pulse is sufficient for a certain threshold necessary for the amorphous phase transition even if one laser beam is split into multiple laser beams. There is.
- pulse irradiation is completed by the time a heat source is generated, and the pulse itself can be stably controlled by a desired heat source without being affected by heat. Since the figure connecting the plurality of cross-section focused spots is a triangle, the wedge effect works in one direction in the planned cutting line direction, and the processing speed in the planned cutting line direction can be further increased. Since the figure connecting the plurality of depth condensing spots is a triangle, the wedge effect works in one direction in the thickness direction, and the processing speed in the thickness direction can be further increased.
- a figure connecting a plurality of cross-section focused spots is a parallelogram, and two vertices forming an acute angle of the parallelogram are positioned on the projection line to the cross section of the planned cutting line, so both directions of the planned cutting line direction
- the wedge effect acts on the chamfer and can further increase the processing speed in the direction of the planned cutting line.
- the figure connecting a plurality of depth condensing spots is a parallelogram, and the two vertices forming the acute angle of the parallelogram are positioned on the optical axis of the condenser lens, so that the wedge effect is generated in both directions in the thickness direction.
- the working speed in the thickness direction can be further increased.
- the internal modified region having the desired shape can be formed.
- the wedge effect can be controlled freely.
- the internal modified region of the desired shape is formed, The wedge effect in the thickness direction can be freely controlled.
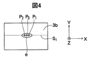
- FIG. 1 is a schematic configuration diagram of the laser processing apparatus according to the first embodiment of the present invention.
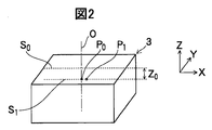
- FIG. 2 is a perspective view of the member to be cut 3 of FIG. 3 is a cross-sectional view taken along line AA in FIG.
- FIG. 4 is a cross-sectional view taken along line AA of FIG. 1 for explaining a modification of the first embodiment.
- FIG. 5 is a cross-sectional view taken along the line AA of FIG. 1 for explaining another modification of the first embodiment.
- FIG. 6 is a diagram illustrating an example of an optical system in the laser processing apparatus according to the first embodiment.
- FIG. 7 is a diagram showing a modification of the optical system of FIG.
- FIG. 8 is a schematic configuration diagram of a laser processing apparatus according to the second embodiment.
- FIG. 1 is a schematic configuration diagram of the laser processing apparatus according to the first embodiment of the present invention.
- FIG. 2 is a perspective view of the member to be cut 3 of FIG. 3 is a cross-sectional view taken along line
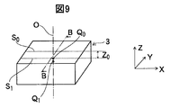
- FIG. 9 is a perspective view of the split member 3 of FIG. 10 is a cross-sectional view taken along line BB in FIG.
- FIG. 11 is a cross-sectional view taken along line BB in FIG. 9 for describing a modification of the second embodiment.
- FIG. 12 is a cross-sectional view taken along the line BB of FIG. 9 for explaining another modification of the second embodiment.
- FIG. 13 is a diagram illustrating an example of an optical system in the laser processing apparatus according to the second embodiment.
- FIG. 14 is a diagram showing a modification of the optical system of FIG.
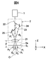
- FIG. 15 is a schematic configuration diagram of a laser processing apparatus according to the third embodiment.
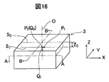
- FIG. 16 is a perspective view of the split member 3 of FIG.
- FIG. 17 is a cross-sectional view taken along line AA and a cross-sectional view taken along line BB in FIG.
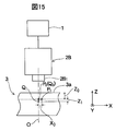
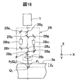
- FIG. 18 is a diagram illustrating an example of an optical system in the laser processing apparatus according to the third embodiment.
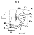
- FIG. 19 is a diagram showing a modification of the optical system of FIG.
- FIG. 20 is a diagram showing another modification of the optical system of FIG.
- FIG. 21 is a diagram showing another modification of the optical system of FIG.
- FIG. 22 is a heat source temperature distribution pattern immediately after the formation of two focused spots.
- FIG. 23 is a heat source temperature distribution pattern after 10 nsec when three focused spots are formed by changing the time difference ⁇ .
- FIG. 24 shows a heat source temperature distribution pattern and a stress distribution pattern when the interval between two focused spots (spot diameter: 2 ⁇ m) is 2 ⁇ m.
- FIG. 25 shows a heat source temperature distribution pattern and a stress distribution pattern when the interval between two focused spots (spot diameter: 2 ⁇ m) is 4 ⁇ m.
- FIG. 26 is a graph showing the relationship between the focused spot interval and the stress.
- FIG. 27 is a graph showing changes in stress over time.
- FIG. 28 is a diagram for explaining the spatial arrangement of the focused spots in the example and a transmission photograph of sapphire after laser processing.
- FIG. 29 is a diagram for explaining the spatial arrangement of focused spots in a comparative example, and a transmission photograph of sapphire after laser processing.
- FIG. 1 is a schematic configuration diagram of a laser processing apparatus according to the first embodiment.
- 2 is a perspective view of the member to be cut 3 of FIG. 1
- FIG. 3 is a cross-sectional view taken along line AA of FIG.
- the laser processing apparatus according to the present embodiment is orthogonal to the optical axis O of the condenser lens 21 and parallel to the surface 3a at a predetermined depth position Z0 from the surface 3a of the member 3 to be cut.
- a plurality of cross-section focused spots P0 and P1 are simultaneously formed on the cross-section 3b, and at this time, at least one of the plurality of cross-section focused spots P0 and P1 is cut into the section 3b of the planned cutting line S0.
- An optical system 2 formed on the projection line S1 is provided.
- Reference numeral 1 denotes a light source that repeatedly generates ultrashort pulse laser light having a wavelength transparent to the member 3 to be cut.
- the laser beam is absorbed by multiphotons at the condensing spot position of the member 3 to be cut such as silicon to form an internal modified region.
- the two focused spots P0 and P1 are formed on the projection line S1 onto the cross section 3b of the planned cutting line S0.
- a moving stage (not shown) in the X direction, two condensing spots P0 and P1 are sequentially formed on S1.
- the two focused spots P0 and P1 are in contact with each other or close to each other, as shown in FIG. 3A, they are merged within a short time into an elliptical heat source temperature distribution pattern e. Since the two focused spots P0 and P1 are on the projection line S1, the major axis of the elliptical heat source temperature distribution pattern e is also on the projection line S1. As a result, stress anisotropy, that is, stress that causes cracks to grow in the major axis direction is generated in the member to be cut 3, so that the interval between the next two spots P0 and P1 can be increased. That is, the feed speed in the X-axis direction of the moving stage (processing speed in the cleaving direction) can be increased.
- the interval between the two focused spots P0 and P1 may be widened to be a predetermined interval. Then, the two focused spots P0 and P1 are no longer merged, and become independent circular heat source temperature distribution patterns ⁇ 0 and ⁇ 1. A tensile stress acts between the independent circular heat source temperature distribution patterns ⁇ 0 and ⁇ 1, and the extension of cracks in the projection line S1 direction (cleaving direction) is promoted. Moreover, as shown in FIG.
- the figure connecting the four focused spots P0, P1, P2, and P3 draws a parallelogram, and the two vertices P0 and P3 forming the acute angle of the parallelogram are represented. It may be positioned on the projection line S1.
- the four focused spots P0, P1, P2, and P3 are fused to form a parallelogram heat source temperature distribution pattern g, the wedge effect acts on the left and right, and the processing speed in the cleaving direction can be further increased.
- “simultaneous” in the matter of simultaneously forming a plurality of focused spots in the present invention will be described.
- the melting region is local, the range for forming a ductile material is narrow, and the surrounding brittleness is maintained. As a result, the crack extends well when thermal stress is applied.
- the pulse width is long, the melting range is widened, so that crack extension due to ductile material is suppressed.
- the peak power is high, the temperature gradient becomes steep. Therefore, a large thermal stress is generated.
- the pulse width is long, the peak power is small, so that the temperature gradient becomes gentle and the heat input continues while diffusing heat, the temperature gradient becomes gentler, and thermal stress is less likely to occur.
- FIG. 22 and 23 are beam splitters, and 24 and 25 are mirrors.
- the laser light emitted from the light source 1 is divided into two by the beam splitter 22.
- the laser beam reflected by the beam splitter 22 is reflected by the mirror 24 and is incident on the condenser lens 21 with the optical axis O and ⁇ 0.
- the laser beam transmitted through the beam splitter 22 is further divided into two by the next beam splitter 23.
- the laser beam reflected by the beam splitter 23 is reflected by the mirror 25 and is incident on the condenser lens 21 with the optical axis O and ⁇ 1.
- the laser light transmitted through the beam splitter 22 travels on the optical axis O and enters the condenser lens 21.
- the laser beam incident on the optical axis O is condensed at the intersection of the projection line S1 and the optical axis O to become a condensing spot P0.
- the laser beam incident on the optical axis O and ⁇ 0 is condensed at a position X0 away from the condensing spot P0 on the projection line S1, and becomes a condensing spot P2.
- the laser beam incident on the optical axis O and ⁇ 1 is condensed at a position X1 away from the condensing spot P0 on the projection line S1 to become a condensing spot P1.
- the focal length of the condenser lens 21 is F
- X0 Ftan ⁇ 0
- X1 Ftan ⁇ 1 Therefore, by changing ⁇ , the intervals between the three focused spots P0, P1, and P2 can be changed.
- the optical system 2 of FIG. 6 although the optical paths of the laser beams forming the three focused spots P0, P1, and P2 are different, it is necessary to reduce the optical path difference so as to satisfy the above simultaneously. The optical path difference can be adjusted by using the optical delay medium. Next, modifications of the optical system 2 will be described. As the optical system 2, an optical system 20 shown in FIG. 7 can be used.
- a beam (first-order light) that has undergone wavelength shift and a beam (zero-order light) that does not cause wavelength shift are generated by an AOM (acousto-optic modulator) 202 and inserted into the grating pair 203.
- the optical path difference between the two beams is adjusted so as to satisfy the simultaneous conditions by the grating pair 203.
- the angle of incidence on the condenser lens 201 is changed by changing ⁇ by changing the sonic vibration frequency of the AOM 202, or by adjusting the number (pitch) and the order of the grating of the grating pair 203, and the X of the condensed spot. Change the position of the direction.
- FIG. 8 is a schematic configuration diagram of a laser processing apparatus according to the second embodiment.
- 9 is a perspective view of the member 3 to be cut in FIG. 8
- FIG. 10 is a cross-sectional view taken along the line BB in FIG.
- the laser processing apparatus of this embodiment simultaneously forms a plurality of depth focused spots Q0 and Q1 in the depth direction at a predetermined depth Z0 position from the surface 3a of the member 3 to be cut.
- an optical system 2A that forms at least one depth condensing spot among the plurality of depth condensing spots Q0, Q1 on the optical axis O of the condensing lens 2A1.
- the condensed spot Q0 is formed at a depth of Z0 from the surface 3a on the optical axis O, and the condensed spot Q1 is deeper in the depth direction (Z direction) than the condensed spot Q0 on the optical axis O. Formed in position.
- a moving stage (not shown) in the X direction, two focused spots Q0 and Q1 are sequentially formed in the X direction.
- the two focused spots Q0 and Q1 Since the two focused spots Q0 and Q1 partially overlap, touch, or are close to each other, they are merged into an elliptical spot e as shown in FIG. Since the two focused spots Q0 and Q1 are on the optical axis O, the major axis of the elliptical spot e is also on the optical axis O. As a result, stress anisotropy, that is, stress that causes cracks to grow in the major axis direction (depth direction) is generated, and the distance in the depth direction for simultaneously forming different spots Q0 and Q1 in the depth direction is increased. can do. That is, the feed speed (processing speed in the thickness direction) of the moving stage in the Z-axis direction can be increased.
- the two focused spots Q0 and Q1 may be formed at a predetermined interval or more. Then, the two focused spots Q0 and Q1 are no longer merged, and become independent circular heat source temperature distribution patterns ⁇ 0 and ⁇ 1. A tensile stress acts between the independent circular heat source temperature distribution patterns ⁇ 0 and ⁇ 1, and the extension of cracks in the optical axis O direction (thickness direction) is promoted. Moreover, as shown in FIG. 11, you may form three condensing spots Q0, Q1, Q2 simultaneously.
- the energy density injected into Q0, Q1, and Q2 is set to E0, E1, and E2, and by satisfying E0> E1, E0> E2, the anisotropy of stress (wedge effect) is increased.
- the processing speed can be increased.
- FIG. 12A it is preferable that the figure connecting the three focused spots Q0, Q1, and Q2 draws a triangle.
- the three focused spots Q0, Q1, and Q2 are fused to form a triangular heat source temperature distribution pattern f, and the wedge effect can be applied upward. Further, as shown in FIG.
- FIG. 12B the figure connecting the four focused spots Q0, Q1, Q2, and Q3 draws a parallelogram, and two vertices Q0 and Q3 forming an acute angle of the parallelogram are obtained. It may be positioned on the optical axis O. Four condensing spots Q0, Q1, Q2, and Q3 are fused to form a parallelogram-shaped heat source temperature distribution pattern g, the wedge effect acts up and down, and the processing speed in the thickness direction can be further increased.
- An example of the optical system 2A in the laser processing apparatus of this embodiment is shown in FIG. In the figure, 2A2 and 2A3 are beam splitters, and 2A4 and 2A5 are mirrors. 2A6 is a relay lens.
- the laser light emitted from the light source 1 is divided into two by the beam splitter 2A2.
- the laser beam that has passed through the beam splitter 2A2 passes through the beam splitter 2A3 and enters the condenser lens 2A1.
- the laser beam reflected by the beam splitter 2A2 is converted into a laser beam having a divergence angle ⁇ by the relay optical system 2A6, then reflected by the beam splitter 2A3 and incident on the condenser lens 2A1.
- the laser light transmitted through the beam splitter 2A3 is condensed at the focal position of the condenser lens 2A1 as shown in FIG. 13B, and becomes a condensed spot Q0.
- the laser beam reflected by the beam splitter 2A3 is condensed below the condensed spot Q0 by Z1 and becomes a condensed spot Q1.
- the optical system 2A of FIG. 13 although the optical paths of the laser beams forming the two focused spots Q0 and Q1 are different, it is necessary to reduce the optical path difference by using an optical delay medium or the like so as to satisfy the above simultaneously. is there. Next, modifications of the optical system 2A will be described.
- optical systems 20A and 20B shown in FIG. 14 can be used.
- the condensing spot can be separated by using the multifocal lens 20A1 having different curvatures in the central portion and the peripheral portion.
- the method of separating the condensed spot in the Z direction is illustrated, but the condensed spot in the X direction can also be separated.
- the condensed spot in the Z direction can be separated by using a diffraction lens (Fresnel lens) 20B1.
- Resnel lens diffraction lens
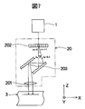
- FIG. 15 is a schematic configuration diagram of a laser processing apparatus according to the third embodiment.
- 16 is a perspective view of the member 3 to be cut in FIG. 15
- FIG. 17A is a cross-sectional view taken along the line AA in FIG. 16
- FIG. 17B is a cross-sectional view taken along the line BB in FIG. .
- the laser processing apparatus of the present embodiment has a cross section perpendicular to the optical axis O of the condenser lens 2B1 and parallel to the surface 3a at a predetermined depth position Z0 from the surface 3a of the member 3 to be cut.
- a plurality of cross-sectional focused spots P0 and P1 are simultaneously formed on 3b, and at that time, at least one of the cross-sectional focused spots P0 and P1 is projected onto the cross-section 3b of the planned cutting line S0.
- a plurality of depth condensing spots Q0 and Q1 are simultaneously formed in the depth direction at a predetermined depth position Z0 on the line S1, and at this time, at least of the plurality of depth condensing spots Q0 and Q1
- An optical system 2B is provided that forms one depth condensing spot on the optical axis O of the condensing lens 2B1.
- the two condensing spots P0 and P1 are formed on the projection line S1 to the cross section (XY plane) 3b of the planned cutting line S0, and the condensing spot Q0 is from the surface 3a to Z0 on the optical axis O. It is formed at a depth, and the focused spot Q1 is formed on the optical axis O at a position deeper than the focused spot Q0 (from the surface 3a to (Z0 + Z1)). Since the two focused spots P0 and P1 are in contact with each other or close to each other, as shown in FIG. 17A, they are merged into an elliptical spot e1 within a short time.
- the major axis of the elliptical heat source temperature distribution pattern e1 is also on the projection line S1.
- stress anisotropy that is, stress that causes cracks to grow in the major axis direction is generated, and the interval between the next two spots P0 and P1 can be increased. Therefore, the feed speed (processing speed in the cleaving direction) of the moving stage in the X-axis direction can be increased.
- the two focused spots Q0 and Q1 partially overlap, touch, or are close to each other, as shown in FIG. 17B, they are merged within a short time to become an elliptical spot e2.
- the major axis of the elliptical heat source temperature distribution pattern e2 is also on the optical axis O.
- stress anisotropy that is, stress that causes cracks to grow in the major axis direction (depth direction) is generated, and the distance in the depth direction for simultaneously forming different spots Q0 and Q1 in the depth direction is increased. can do. That is, the amount by which the focal position is shifted in the thickness direction can be increased, and the processing speed in the thickness direction (relative movement speed in the thickness direction of the condenser lens) can be increased.
- An example of the optical system 2B in the laser processing apparatus of the present embodiment is shown in FIG.
- 2B2, 2B3, 2B4 and 2B5 are beam splitters
- 2B6, 2B7, 2B8 and 2B9 are mirrors
- 2B10 and 2B11 are relay lenses.
- the laser light emitted from the light source 1 is divided into two by the beam splitter 2B2, and one laser light is further divided by the beam splitter 2B3.
- the laser beam that has passed through the beam splitter 2B2 passes through the beam splitters 2B3, 2B4, and 2B5 and is incident on the condenser lens 2B1 to form a condensed spot P0 (Qo).
- the laser light reflected by the beam splitter 2B2 is converted into laser light having a divergence angle ⁇ by the relay lens 2B10.
- the light is reflected by the beam splitter 2B4 and is incident on the condensing lens 2B1 to form a condensing spot Q1.
- the divergence angle can be changed by changing the lens interval (distance in the Z direction) of the relay lens 2B10.
- the propagation direction of the laser light reflected by the beam splitter 2B3 is changed by the relay lens 2B11.
- the light beam is reflected by the beam splitter 2B5 and is incident on the condensing lens 2B1 from the direction that forms the optical axis O and ⁇ , thereby forming a condensing spot P1.
- the propagation direction can be changed by changing the tilt angle of the relay lens 2B11.
- the optical system 2B may be an optical system 2C as shown in FIG. Multiple-order diffracted light obtained by the diffraction grating 2C2 is independently reflected by the mirrors 2C3 to 2C7, and the return light is collected by the condenser lens 2C1.
- ⁇ i is an incident angle to the diffraction grating 2C2
- ⁇ t is an emission angle from the diffraction grating 2C2.
- the curvature of the reflecting surface of each of the mirrors 2C3 to 2C7 it becomes possible to change the divergence angle (or the constriction angle) when the return light is incident on the condenser lens 2C1, respectively.
- a desired spatially separated focused spot can be formed with respect to the direction.
- the intensity of each n-order light can be optimized to a desired intensity.
- the optical system 2B may be an optical system 2D as shown in FIG.
- One beam emitted from the light source 1 is expanded by the beam expander 2D2, and is incident on the glass rods 2D6 to 2D8 attached to the multiple apertures 2D3 to 2D5.
- the angle of the beam incident on the condensing lens 2D1 can be changed, and the position of the condensing spot in the X direction can be changed.
- the divergence angle (or the squeeze angle) when entering the condenser lens 2D1 is changed, and the position in the Z direction is changed. Can do.
- the divergence angle (or stenosis) when entering the condenser lens 2D1 is used.
- the angle can be changed, and the position in the Z direction can be changed.
- stacking hexagonal glass to form a fly-eye lens eliminates vignetting, which is more desirable because loss is suppressed.
- the intensity distribution between the focal points after the separation also conforms to that of Gaussian.
- the optical system 2B may be an optical system 2E as shown in FIG. Using a perforated axicon mirror pair 2E2, the beam emitted from the light source 1 is separated into a small beam at the center and a donut-shaped beam and collected by a condenser lens 2E1.
- the length of the delay medium 2E3 is set to be the same as that in the axicon mirror pair 2E2.
- the return optical path length is adjusted so that the effective optical path length in the delay medium 2E3 is aligned.
- [Simulation 1] A state in which a plurality of condensing spots formed simultaneously and in a short time by the laser processing apparatus of Embodiment 1 are merged within a short period of time to form one elliptical heat source temperature distribution pattern is “a numerical value of heat conduction by an internal cylindrical heat source array”. Simulation using "analysis model”. The main simulation conditions are as follows. Material to be cut: Sapphire Condensing spot formation depth Z0: 20 ⁇ m Condensing spot diameter: 2 ⁇ m Focus spot center interval: 2 ⁇ m Number of focused spots: 3 Laser pulse energy per focused spot: 0.25 ⁇ J The simulation result is shown in FIG. When about 10 ps passed after the laser pulse irradiation, an elliptical heat source temperature distribution pattern shown in FIG.
- FIG. 22B shows an elliptical heat source temperature distribution pattern that has passed 10 ns from FIG. The darkest area at the center was about 4000 ° K, the outer whitish area was about 1500 ° K, and the middle area was 2500 to 3000 ° K. From this simulation, it can be seen that when a plurality of laser pulses are focused and irradiated simultaneously, an elliptical heat source temperature distribution pattern appears almost instantaneously (after about 10 ps).
- FIG. 23 is a temperature distribution pattern of the heat source 10 nsec after the formation of the three condensing spots.
- FIG. 23A is a temperature distribution pattern of the heat source when the three condensing spots are formed with zero time difference.
- the temperature distribution pattern of the heat source when formed (d) is the temperature distribution pattern of the heat source when the center focused spot is delayed by 0.03 nsec from the focused spot on both sides, and (e) is the focused spot on both sides.
- FIGS. 24 and 25 respectively show the heat source temperature distribution pattern and the stress distribution pattern when the focused spot center interval is 2 ⁇ m and 4 ⁇ m (omitted when the focused spot center interval is 6 ⁇ m).
- FIG. 26 is a graph in which the maximum stress of the stress distribution pattern in FIG.
- 24 and the like is plotted on the vertical axis and the focused spot interval is plotted on the horizontal axis.
- 24 and 25 when the spot interval is 2 ⁇ m, it merges 20 ns after the heat source develops to become an elliptical heat source temperature distribution pattern, but when the spot interval is at least 4 ⁇ m, it is no longer fused. I understand.
- the spot interval is 2 ⁇ m, tensile stress is generated only outside the heat source, whereas when the spot interval is at least 4 ⁇ m or more, it is understood that tensile stress acts between the two circular heat sources.
- Curve A shows the stress in the Y direction and curve I shows the stress in the X direction.
- the tensile stress in the direction (Y direction) perpendicular to the major axis of the elliptical heat source temperature distribution pattern is in the major axis direction (X It can be seen that it is larger than the tensile stress in the direction).
- FIG. 27 also shows a stress curve C of the circular heat source. From this, it can be seen that immediately after the generation of the elliptical heat source temperature distribution pattern, a larger tensile stress acts than the circular heat source, but since the cooling speed is faster than the circular heat source, the tensile stress becomes smaller than the circular heat source after a predetermined time.
- Light source 1 Mode-locked fiber laser with the following specifications and performance (US Imra, model D1000) Center wavelength: 1045 nm Beam diameter: 4 mm Mode: Single (Gaussian) Pulse width: 700 fs Pulse energy: 10 ⁇ J (maximum) Repetition frequency: 100 kHz (maximum) Average power: 1000 mW (maximum) Condensing lens 21: objective lens for microscope (focal length: 4 mm, numerical aperture: 0.65) Condensing spot diameter: 2 ⁇ m Material to be cut 3: Sapphire Number of simultaneous focusing spots: 2 Focus spot center interval: 2 ⁇ m Stage scanning speed: 1000 mm / s (the interval between two converging spots adjacent to each other is 10 ⁇ m, see FIG.
- FIG. 28B is a transmission image obtained by internally processing sapphire. It can be seen that cracks extend cleanly in the cleaving direction from the two simultaneous focused spots.
- the processing conditions of the above example are the same as those of the above example except that the number of simultaneously focused spots is set to 1 and the stage scanning speed is set to 500 mm / s (spot interval is 5 ⁇ m, see FIG. 29A). The same processing conditions.
- FIG. 29B is a transmission image obtained by internally processing sapphire. It can be seen that an extra crack that does not contribute to cleaving occurs in a direction (crystal orientation) different from the direction in which the focused spots are connected.
Landscapes
- Physics & Mathematics (AREA)
- Optics & Photonics (AREA)
- Engineering & Computer Science (AREA)
- Mechanical Engineering (AREA)
- Plasma & Fusion (AREA)
- Chemical & Material Sciences (AREA)
- Health & Medical Sciences (AREA)
- Toxicology (AREA)
- Materials Engineering (AREA)
- Thermal Sciences (AREA)
- Organic Chemistry (AREA)
- Oil, Petroleum & Natural Gas (AREA)
- General Chemical & Material Sciences (AREA)
- Chemical Kinetics & Catalysis (AREA)
- Laser Beam Processing (AREA)
- Processing Of Stones Or Stones Resemblance Materials (AREA)
- Re-Forming, After-Treatment, Cutting And Transporting Of Glass Products (AREA)
- Dicing (AREA)
Priority Applications (4)
| Application Number | Priority Date | Filing Date | Title |
|---|---|---|---|
| KR1020127009116A KR101364384B1 (ko) | 2009-09-10 | 2010-09-01 | 레이저 가공 방법 및 레이저 가공 장치 |
| EP10815397.4A EP2476505B1 (en) | 2009-09-10 | 2010-09-01 | Laser processing method and laser processing device |
| US13/395,342 US20120223061A1 (en) | 2009-09-10 | 2010-09-01 | Laser processing method and laser processing device |
| CN201080045690.2A CN102574245B (zh) | 2009-09-10 | 2010-09-01 | 激光加工方法以及激光加工装置 |
Applications Claiming Priority (2)
| Application Number | Priority Date | Filing Date | Title |
|---|---|---|---|
| JP2009-208789 | 2009-09-10 | ||
| JP2009208789A JP5446631B2 (ja) | 2009-09-10 | 2009-09-10 | レーザ加工方法及びレーザ加工装置 |
Publications (1)
| Publication Number | Publication Date |
|---|---|
| WO2011030802A1 true WO2011030802A1 (ja) | 2011-03-17 |
Family
ID=43732471
Family Applications (1)
| Application Number | Title | Priority Date | Filing Date |
|---|---|---|---|
| PCT/JP2010/065448 Ceased WO2011030802A1 (ja) | 2009-09-10 | 2010-09-01 | レーザ加工方法及びレーザ加工装置 |
Country Status (7)
| Country | Link |
|---|---|
| US (1) | US20120223061A1 (enExample) |
| EP (1) | EP2476505B1 (enExample) |
| JP (1) | JP5446631B2 (enExample) |
| KR (1) | KR101364384B1 (enExample) |
| CN (1) | CN102574245B (enExample) |
| TW (1) | TWI465309B (enExample) |
| WO (1) | WO2011030802A1 (enExample) |
Cited By (12)
| Publication number | Priority date | Publication date | Assignee | Title |
|---|---|---|---|---|
| KR101309805B1 (ko) * | 2011-12-28 | 2013-09-23 | 주식회사 이오테크닉스 | 인고트 절단 방법 |
| KR101345229B1 (ko) * | 2012-03-02 | 2013-12-26 | 마이크로 인스펙션 주식회사 | 기판의 절단장치 |
| US20140150953A1 (en) * | 2011-07-25 | 2014-06-05 | Lpkf Laser & Electronics Ag | Device and method for performing and monitoring a plastic laser transmission welding process |
| US20140251963A1 (en) * | 2011-09-16 | 2014-09-11 | Hamamatsu Photonics K.K. | Laser machining method and laser machining device |
| JP2020069530A (ja) * | 2018-10-30 | 2020-05-07 | 浜松ホトニクス株式会社 | レーザ加工装置及びレーザ加工方法 |
| WO2020090905A1 (ja) * | 2018-10-30 | 2020-05-07 | 浜松ホトニクス株式会社 | レーザ加工装置及びレーザ加工方法 |
| WO2020090894A1 (ja) * | 2018-10-30 | 2020-05-07 | 浜松ホトニクス株式会社 | レーザ加工装置及びレーザ加工方法 |
| CN112838053A (zh) * | 2019-11-25 | 2021-05-25 | 三星电子株式会社 | 基板切割方法和制造半导体器件的方法 |
| JP2022099659A (ja) * | 2020-12-23 | 2022-07-05 | Dgshape株式会社 | 歯冠補綴物の製造方法 |
| CN115302101A (zh) * | 2022-08-31 | 2022-11-08 | 厦门通富微电子有限公司 | 晶圆切割方法及装置、电子设备、存储介质 |
| CN117921213A (zh) * | 2024-03-24 | 2024-04-26 | 成都沃特塞恩电子技术有限公司 | 控制切缝宽度的激光切割方法、装置及计算机设备 |
| US12275091B2 (en) | 2018-10-30 | 2025-04-15 | Hamamatsu Photonics K.K. | Laser processing apparatus and laser processing method |
Families Citing this family (64)
| Publication number | Priority date | Publication date | Assignee | Title |
|---|---|---|---|---|
| JP2012223783A (ja) * | 2011-04-18 | 2012-11-15 | Panasonic Corp | レーザ加工方法及びレーザ加工装置 |
| JP2013063454A (ja) * | 2011-09-16 | 2013-04-11 | Hamamatsu Photonics Kk | レーザ加工方法及びレーザ加工装置 |
| JP5966468B2 (ja) * | 2012-03-15 | 2016-08-10 | 三星ダイヤモンド工業株式会社 | レーザー加工装置 |
| KR101582632B1 (ko) * | 2012-08-07 | 2016-01-05 | 한국기계연구원 | 프레넬 영역 소자를 이용한 기판 절단 방법 |
| JP6034097B2 (ja) * | 2012-08-28 | 2016-11-30 | 株式会社ディスコ | レーザー加工装置 |
| JP2016513016A (ja) * | 2013-02-04 | 2016-05-12 | ニューポート コーポレーション | 透明及び半透明な基板をレーザ切断する方法及び装置 |
| JP6161188B2 (ja) * | 2013-02-05 | 2017-07-12 | 株式会社ブイ・テクノロジー | レーザ加工装置、レーザ加工方法 |
| KR102226808B1 (ko) | 2013-03-27 | 2021-03-11 | 하마마츠 포토닉스 가부시키가이샤 | 레이저 가공 장치 및 레이저 가공 방법 |
| JP6062315B2 (ja) * | 2013-04-24 | 2017-01-18 | 株式会社ディスコ | ウエーハの加工方法 |
| FR3007678B1 (fr) * | 2013-06-28 | 2015-07-31 | Essilor Int | Procede de fabrication d'une lentille ophtalmique comportant une etape de marquage laser pour realiser des gravures permanentes sur une surface de ladite lentille ophtalmique |
| JP6531885B2 (ja) * | 2013-10-07 | 2019-06-19 | 信越ポリマー株式会社 | 内部加工層形成単結晶部材およびその製造方法 |
| KR101511646B1 (ko) * | 2013-12-17 | 2015-04-13 | 주식회사 엘티에스 | 기판 절단장치 |
| WO2015119459A1 (ko) * | 2014-02-07 | 2015-08-13 | 한국기계연구원 | 위조방지 패턴 생성 장치 및 그 방법, 위조방지 패턴 감지 장치 및 그 방법 |
| KR101659857B1 (ko) * | 2014-02-10 | 2016-09-26 | 주식회사 이오테크닉스 | 레이저 가공 방법 및 이를 적용하는 레이저 시스템 |
| LT2965853T (lt) * | 2014-07-09 | 2016-11-25 | High Q Laser Gmbh | Medžiagos apdorojimas, naudojant pailgintuosius lazerio spindulius |
| PT2974822T (pt) * | 2014-07-14 | 2017-11-14 | Asm Tech Singapore Pte Ltd | Método de divisão de substratos semicondutores finos |
| CN106471414B (zh) * | 2014-08-28 | 2019-06-07 | 大族激光科技产业集团股份有限公司 | 光学镜头 |
| JP5902281B2 (ja) * | 2014-11-19 | 2016-04-13 | 三星ダイヤモンド工業株式会社 | レーザー加工装置 |
| US10921255B2 (en) * | 2014-12-09 | 2021-02-16 | Bioaxial Sas | Optical measuring device and process |
| JP6785238B2 (ja) * | 2015-02-27 | 2020-11-18 | エレクトロ サイエンティフィック インダストリーズ インコーポレーテッド | クロス軸微細加工のための高速ビーム操作 |
| CN104801851B (zh) * | 2015-03-31 | 2019-01-18 | 山西南烨立碁光电有限公司 | 硅基led芯片切割方法及其切割用分光器 |
| JP6521711B2 (ja) * | 2015-04-20 | 2019-05-29 | 株式会社ディスコ | ウエーハの加工方法 |
| JP6680494B2 (ja) * | 2015-09-15 | 2020-04-15 | 浜松ホトニクス株式会社 | レーザ加工方法及びレーザ加工装置 |
| JP6715632B2 (ja) * | 2016-03-23 | 2020-07-01 | 浜松ホトニクス株式会社 | レーザ加工方法及びレーザ加工装置 |
| JP6625928B2 (ja) * | 2016-04-27 | 2019-12-25 | 株式会社ディスコ | レーザー加工装置 |
| JP6632467B2 (ja) * | 2016-05-18 | 2020-01-22 | 株式会社ディスコ | レーザー加工装置及びレーザー加工方法 |
| WO2017216603A1 (en) * | 2016-06-14 | 2017-12-21 | Evana Technologies, Uab | Laser processing method and a system for wafer dicing or cutting by use of a multi-segment focusing lens |
| FR3054151B1 (fr) * | 2016-07-25 | 2018-07-13 | Amplitude Systemes | Procede et appareil pour la decoupe de materiaux par multi-faisceaux laser femtoseconde |
| KR102363273B1 (ko) * | 2016-07-25 | 2022-02-15 | 엠플리튜드 | 다중 빔 펨토초 레이저에 의해 재료를 절단하는 방법 및 장치 |
| FR3054152B1 (fr) * | 2016-07-25 | 2018-11-09 | Amplitude Systemes | Appareil et procede de decoupe de materiau par faisceau laser allonge non diffractif |
| CN106271046B (zh) * | 2016-09-30 | 2019-08-23 | 纳晶科技股份有限公司 | 激光刻蚀方法和装置、衬底电极及电致发光器件 |
| DE102016120244A1 (de) | 2016-10-24 | 2018-04-26 | Cl Schutzrechtsverwaltungs Gmbh | Vorrichtung zur additiven Herstellung dreidimensionaler Objekte |
| TWI630974B (zh) * | 2016-11-02 | 2018-08-01 | 財團法人工業技術研究院 | 雷射系統及雷射炫彩加工方法 |
| KR20180055293A (ko) * | 2016-11-16 | 2018-05-25 | 주식회사 이오테크닉스 | 레이저 가공 장치 및 방법 |
| CA3055275A1 (en) * | 2017-03-03 | 2018-09-07 | Furukawa Electric Co., Ltd. | Welding method and welding apparatus |
| EP3412400A1 (en) * | 2017-06-09 | 2018-12-12 | Bystronic Laser AG | Beam shaper and use thereof, device for laser beam treatment of a workpiece and use thereof, method for laser beam treatment of a workpiece |
| US11289621B2 (en) * | 2017-11-29 | 2022-03-29 | Nichia Corporation | Method for producing semiconductor light emitting element |
| DE102018126381A1 (de) * | 2018-02-15 | 2019-08-22 | Schott Ag | Verfahren und Vorrichtung zum Einfügen einer Trennlinie in ein transparentes sprödbrüchiges Material, sowie verfahrensgemäß herstellbares, mit einer Trennlinie versehenes Element |
| JP7123652B2 (ja) * | 2018-06-20 | 2022-08-23 | 株式会社ディスコ | レーザー加工装置 |
| JP7184455B2 (ja) * | 2018-06-27 | 2022-12-06 | 株式会社ディスコ | ウェーハの加工方法 |
| US10814433B2 (en) * | 2018-11-13 | 2020-10-27 | Vertiled Co. Limited | Laser based system for cutting transparent and semi-transparent substrates |
| CN109536948A (zh) * | 2018-12-05 | 2019-03-29 | 攀枝花市三圣机械制造有限责任公司 | 一种基于激光熔覆的半导体激光器系统 |
| WO2020129732A1 (ja) * | 2018-12-21 | 2020-06-25 | 東京エレクトロン株式会社 | 基板処理装置及び基板処理方法 |
| CN109663915B (zh) * | 2018-12-28 | 2024-03-26 | 淮阴工学院 | 一种激光增材制造防裂的方法 |
| JP6712746B2 (ja) * | 2019-05-07 | 2020-06-24 | 信越ポリマー株式会社 | 内部加工層形成単結晶部材およびその製造方法 |
| JP6712747B2 (ja) * | 2019-05-07 | 2020-06-24 | 信越ポリマー株式会社 | 内部加工層形成単結晶部材の製造方法 |
| EP4477350A3 (en) * | 2019-06-28 | 2025-01-15 | Micro-Lam, Inc. | Optomechanical tooling |
| TWI857094B (zh) * | 2019-07-18 | 2024-10-01 | 日商東京威力科創股份有限公司 | 處理裝置及處理方法 |
| US11011424B2 (en) * | 2019-08-06 | 2021-05-18 | Applied Materials, Inc. | Hybrid wafer dicing approach using a spatially multi-focused laser beam laser scribing process and plasma etch process |
| JP7303080B2 (ja) * | 2019-09-11 | 2023-07-04 | 浜松ホトニクス株式会社 | レーザ加工装置及びレーザ加工方法 |
| DE102019217021A1 (de) * | 2019-11-05 | 2021-05-06 | Photon Energy Gmbh | Laserschneidverfahren und zugehörige Laserschneidvorrichtung |
| JP7418139B2 (ja) * | 2019-12-03 | 2024-01-19 | 株式会社ディスコ | 被加工物の加工方法 |
| JP7386075B2 (ja) * | 2019-12-25 | 2023-11-24 | 東京エレクトロン株式会社 | 基板処理方法及び基板処理システム |
| JP7479755B2 (ja) * | 2020-02-25 | 2024-05-09 | 株式会社ディスコ | チップの製造方法 |
| CN113059274A (zh) * | 2020-11-26 | 2021-07-02 | 武汉帝尔激光科技股份有限公司 | 一种激光加工装置、加工方法和加工设备 |
| DE102021102387A1 (de) | 2021-02-02 | 2022-08-04 | Trumpf Laser- Und Systemtechnik Gmbh | Vorrichtung und Verfahren zur Laserbearbeitung eines Werkstücks |
| US12313856B2 (en) * | 2021-04-08 | 2025-05-27 | Corning Incorporated | Real-time modification of line focus intensity distribution |
| CN112975113B (zh) * | 2021-04-20 | 2021-08-10 | 苏州德龙激光股份有限公司 | 非对称分束激光加工透明材料的装置及其方法 |
| DE102021120648B4 (de) * | 2021-08-09 | 2025-03-13 | Precitec Gmbh & Co. Kg | Optimierung des Schneidprozesses beim Laserschneiden eines Werkstücks |
| CN114406462B (zh) * | 2022-02-18 | 2024-08-13 | 江苏星链激光科技有限责任公司 | 一种激光焊接系统及其光斑轨迹控制方法 |
| DE102022114637A1 (de) | 2022-06-10 | 2023-12-21 | Trumpf Laser Gmbh | Verfahren und Vorrichtung zum Verarbeiten mindestens eines Teilbereichs eines Schichtsystems |
| CN114879295B (zh) * | 2022-06-24 | 2023-12-29 | 清华大学 | 一种二维光栅加工方法与二维光栅 |
| DE102023121144A1 (de) | 2023-08-08 | 2025-02-13 | Trumpf Laser Gmbh | Verfahren zum Trennen eines transparenten Werkstücks |
| CN119658175B (zh) * | 2025-02-20 | 2025-05-13 | 中国科学技术大学 | 适用于透明材料弧形边缘激光切割的光场生成方法、装置及设备 |
Citations (8)
| Publication number | Priority date | Publication date | Assignee | Title |
|---|---|---|---|---|
| JP2004111946A (ja) * | 2002-08-30 | 2004-04-08 | Tokyo Seimitsu Co Ltd | レーザーダイシング装置及びダイシング方法 |
| JP2005271563A (ja) | 2004-03-26 | 2005-10-06 | Daitron Technology Co Ltd | 硬脆材料板体の分割加工方法及び装置 |
| JP2006167804A (ja) | 2004-11-19 | 2006-06-29 | Canon Inc | レーザ割断方法およびレーザ割断装置 |
| JP2006187783A (ja) * | 2005-01-05 | 2006-07-20 | Disco Abrasive Syst Ltd | レーザー加工装置 |
| JP2007142000A (ja) * | 2005-11-16 | 2007-06-07 | Denso Corp | レーザ加工装置およびレーザ加工方法 |
| JP2008080346A (ja) * | 2006-09-26 | 2008-04-10 | Sony Corp | レーザ加工装置及び加工方法 |
| JP2009021597A (ja) * | 2007-07-10 | 2009-01-29 | Samsung Electro Mech Co Ltd | 多重ビームレーザー装置 |
| JP2009125777A (ja) * | 2007-11-26 | 2009-06-11 | Hitachi Via Mechanics Ltd | レーザ加工装置 |
Family Cites Families (27)
| Publication number | Priority date | Publication date | Assignee | Title |
|---|---|---|---|---|
| JPH08108289A (ja) * | 1994-10-07 | 1996-04-30 | Sumitomo Electric Ind Ltd | レーザ加工用光学装置 |
| US5883357A (en) * | 1996-03-25 | 1999-03-16 | Case Western Reserve University | Selective vacuum gripper |
| JPH10242617A (ja) * | 1997-02-28 | 1998-09-11 | Murata Mfg Co Ltd | セラミックグリーンシートの加工方法及びレーザ加工装置 |
| US6191382B1 (en) * | 1998-04-02 | 2001-02-20 | Avery Dennison Corporation | Dynamic laser cutting apparatus |
| US6413839B1 (en) * | 1998-10-23 | 2002-07-02 | Emcore Corporation | Semiconductor device separation using a patterned laser projection |
| JP4659300B2 (ja) * | 2000-09-13 | 2011-03-30 | 浜松ホトニクス株式会社 | レーザ加工方法及び半導体チップの製造方法 |
| US6676878B2 (en) * | 2001-01-31 | 2004-01-13 | Electro Scientific Industries, Inc. | Laser segmented cutting |
| US20040195221A1 (en) * | 2001-05-10 | 2004-10-07 | Haglund Jr Richard F. | Method and apparatus for laser ablative modification of dielectric surfaces |
| JP2003200279A (ja) * | 2001-10-24 | 2003-07-15 | Seiko Epson Corp | 基板の電気配線切断方法及びその装置、並びに電子デバイスの製造方法及びその装置 |
| US6720519B2 (en) * | 2001-11-30 | 2004-04-13 | Matsushita Electric Industrial Co., Ltd. | System and method of laser drilling |
| AU2003211581A1 (en) * | 2002-03-12 | 2003-09-22 | Hamamatsu Photonics K.K. | Method of cutting processed object |
| EP2332687B1 (en) * | 2003-07-18 | 2015-02-18 | Hamamatsu Photonics K.K. | Method of laser beam machining a machining target using pulsed laser beam and expanded tape for cutting a machining target |
| WO2005008474A1 (en) * | 2003-07-23 | 2005-01-27 | Koninklijke Philips Electronics N.V. | Device and method for composing codes |
| JP2005086175A (ja) * | 2003-09-11 | 2005-03-31 | Hamamatsu Photonics Kk | 半導体薄膜の製造方法、半導体薄膜、半導体薄膜チップ、電子管、及び光検出素子 |
| JP4471627B2 (ja) * | 2003-11-06 | 2010-06-02 | 株式会社ディスコ | ウエーハの分割方法 |
| EP1721695A4 (en) * | 2004-03-05 | 2009-04-01 | Olympus Corp | LASER PROCESSING FACILITY |
| JP4716663B2 (ja) * | 2004-03-19 | 2011-07-06 | 株式会社リコー | レーザ加工装置、レーザ加工方法、及び該加工装置又は加工方法により作製された構造体 |
| CA2479986A1 (fr) * | 2004-09-14 | 2006-03-14 | Vincent F. Treanton | Fabrication de guides d`onde optique par ablation laser |
| JP2006123228A (ja) * | 2004-10-27 | 2006-05-18 | Disco Abrasive Syst Ltd | レーザ加工方法およびレーザ加工装置 |
| US8093530B2 (en) * | 2004-11-19 | 2012-01-10 | Canon Kabushiki Kaisha | Laser cutting apparatus and laser cutting method |
| US7508853B2 (en) * | 2004-12-07 | 2009-03-24 | Imra, America, Inc. | Yb: and Nd: mode-locked oscillators and fiber systems incorporated in solid-state short pulse laser systems |
| US20070196048A1 (en) * | 2006-01-12 | 2007-08-23 | Almantas Galvanauskas | Optical waveform shaping |
| CN101121220A (zh) * | 2006-08-11 | 2008-02-13 | 富士迈半导体精密工业(上海)有限公司 | 脆性材料基板切割方法 |
| US7674999B2 (en) * | 2006-08-23 | 2010-03-09 | Applied Materials, Inc. | Fast axis beam profile shaping by collimation lenslets for high power laser diode based annealing system |
| KR100899659B1 (ko) * | 2006-12-01 | 2009-05-27 | 한국전자통신연구원 | 패킷 스케줄러 및 패킷 스케줄링 방법 |
| JP5103054B2 (ja) * | 2007-04-27 | 2012-12-19 | サイバーレーザー株式会社 | レーザによる加工方法およびレーザ加工装置 |
| WO2009084489A1 (ja) * | 2007-12-28 | 2009-07-09 | Mitsuboshi Diamond Industrial Co., Ltd. | レーザ加工装置およびレーザ加工方法 |
-
2009
- 2009-09-10 JP JP2009208789A patent/JP5446631B2/ja not_active Expired - Fee Related
-
2010
- 2010-09-01 EP EP10815397.4A patent/EP2476505B1/en not_active Not-in-force
- 2010-09-01 KR KR1020127009116A patent/KR101364384B1/ko not_active Expired - Fee Related
- 2010-09-01 WO PCT/JP2010/065448 patent/WO2011030802A1/ja not_active Ceased
- 2010-09-01 US US13/395,342 patent/US20120223061A1/en not_active Abandoned
- 2010-09-01 CN CN201080045690.2A patent/CN102574245B/zh not_active Expired - Fee Related
- 2010-09-09 TW TW099130502A patent/TWI465309B/zh not_active IP Right Cessation
Patent Citations (8)
| Publication number | Priority date | Publication date | Assignee | Title |
|---|---|---|---|---|
| JP2004111946A (ja) * | 2002-08-30 | 2004-04-08 | Tokyo Seimitsu Co Ltd | レーザーダイシング装置及びダイシング方法 |
| JP2005271563A (ja) | 2004-03-26 | 2005-10-06 | Daitron Technology Co Ltd | 硬脆材料板体の分割加工方法及び装置 |
| JP2006167804A (ja) | 2004-11-19 | 2006-06-29 | Canon Inc | レーザ割断方法およびレーザ割断装置 |
| JP2006187783A (ja) * | 2005-01-05 | 2006-07-20 | Disco Abrasive Syst Ltd | レーザー加工装置 |
| JP2007142000A (ja) * | 2005-11-16 | 2007-06-07 | Denso Corp | レーザ加工装置およびレーザ加工方法 |
| JP2008080346A (ja) * | 2006-09-26 | 2008-04-10 | Sony Corp | レーザ加工装置及び加工方法 |
| JP2009021597A (ja) * | 2007-07-10 | 2009-01-29 | Samsung Electro Mech Co Ltd | 多重ビームレーザー装置 |
| JP2009125777A (ja) * | 2007-11-26 | 2009-06-11 | Hitachi Via Mechanics Ltd | レーザ加工装置 |
Non-Patent Citations (1)
| Title |
|---|
| See also references of EP2476505A4 * |
Cited By (21)
| Publication number | Priority date | Publication date | Assignee | Title |
|---|---|---|---|---|
| US20140150953A1 (en) * | 2011-07-25 | 2014-06-05 | Lpkf Laser & Electronics Ag | Device and method for performing and monitoring a plastic laser transmission welding process |
| US9610729B2 (en) * | 2011-07-25 | 2017-04-04 | Lpkf Laser & Electronics Ag | Device and method for performing and monitoring a plastic laser transmission welding process |
| US20140251963A1 (en) * | 2011-09-16 | 2014-09-11 | Hamamatsu Photonics K.K. | Laser machining method and laser machining device |
| US9821408B2 (en) * | 2011-09-16 | 2017-11-21 | Hamamatsu Photonics K.K. | Laser machining method and laser machining device |
| KR101309805B1 (ko) * | 2011-12-28 | 2013-09-23 | 주식회사 이오테크닉스 | 인고트 절단 방법 |
| KR101345229B1 (ko) * | 2012-03-02 | 2013-12-26 | 마이크로 인스펙션 주식회사 | 기판의 절단장치 |
| US11833611B2 (en) | 2018-10-30 | 2023-12-05 | Hamamatsu Photonics K.K. | Laser machining device |
| US11897056B2 (en) | 2018-10-30 | 2024-02-13 | Hamamatsu Photonics K.K. | Laser processing device and laser processing method |
| WO2020090905A1 (ja) * | 2018-10-30 | 2020-05-07 | 浜松ホトニクス株式会社 | レーザ加工装置及びレーザ加工方法 |
| WO2020090894A1 (ja) * | 2018-10-30 | 2020-05-07 | 浜松ホトニクス株式会社 | レーザ加工装置及びレーザ加工方法 |
| US12275091B2 (en) | 2018-10-30 | 2025-04-15 | Hamamatsu Photonics K.K. | Laser processing apparatus and laser processing method |
| TWI861024B (zh) * | 2018-10-30 | 2024-11-11 | 日商濱松赫德尼古斯股份有限公司 | 雷射加工裝置及雷射加工方法 |
| JP7120903B2 (ja) | 2018-10-30 | 2022-08-17 | 浜松ホトニクス株式会社 | レーザ加工装置及びレーザ加工方法 |
| JP7120904B2 (ja) | 2018-10-30 | 2022-08-17 | 浜松ホトニクス株式会社 | レーザ加工装置及びレーザ加工方法 |
| TWI837205B (zh) * | 2018-10-30 | 2024-04-01 | 日商濱松赫德尼古斯股份有限公司 | 雷射加工裝置及雷射加工方法 |
| JP2020069530A (ja) * | 2018-10-30 | 2020-05-07 | 浜松ホトニクス株式会社 | レーザ加工装置及びレーザ加工方法 |
| JP2020069531A (ja) * | 2018-10-30 | 2020-05-07 | 浜松ホトニクス株式会社 | レーザ加工装置及びレーザ加工方法 |
| CN112838053A (zh) * | 2019-11-25 | 2021-05-25 | 三星电子株式会社 | 基板切割方法和制造半导体器件的方法 |
| JP2022099659A (ja) * | 2020-12-23 | 2022-07-05 | Dgshape株式会社 | 歯冠補綴物の製造方法 |
| CN115302101A (zh) * | 2022-08-31 | 2022-11-08 | 厦门通富微电子有限公司 | 晶圆切割方法及装置、电子设备、存储介质 |
| CN117921213A (zh) * | 2024-03-24 | 2024-04-26 | 成都沃特塞恩电子技术有限公司 | 控制切缝宽度的激光切割方法、装置及计算机设备 |
Also Published As
| Publication number | Publication date |
|---|---|
| US20120223061A1 (en) | 2012-09-06 |
| EP2476505B1 (en) | 2016-11-16 |
| TWI465309B (zh) | 2014-12-21 |
| KR20120050521A (ko) | 2012-05-18 |
| EP2476505A1 (en) | 2012-07-18 |
| JP2011056544A (ja) | 2011-03-24 |
| CN102574245A (zh) | 2012-07-11 |
| KR101364384B1 (ko) | 2014-02-19 |
| TW201134592A (en) | 2011-10-16 |
| JP5446631B2 (ja) | 2014-03-19 |
| EP2476505A4 (en) | 2012-07-18 |
| CN102574245B (zh) | 2014-11-12 |
Similar Documents
| Publication | Publication Date | Title |
|---|---|---|
| JP5446631B2 (ja) | レーザ加工方法及びレーザ加工装置 | |
| JP7495471B2 (ja) | 透明な脆性材料に分割線を挿入するための方法および装置、ならびに本方法によって製造可能な、分割線が設けられた要素 | |
| CN114728371B (zh) | 用于工件的激光加工的方法、加工光具和激光加工设备 | |
| CN107003531B (zh) | 用于非对称光学射束成形的系统 | |
| CN107073655B (zh) | 基于激光加工平面晶体衬底的方法和设备 | |
| TWI573649B (zh) | Laser processing method, laser processing device | |
| JP7188886B2 (ja) | 加工装置 | |
| KR20120005507A (ko) | 레이저 스크라이브 가공 방법 | |
| WO2018011618A1 (en) | Method and system for cleaving a substrate with a focused converging ring-shaped laser beam | |
| JP4736633B2 (ja) | レーザ照射装置 | |
| CN118043161A (zh) | 用于加工工件的装置和方法 | |
| JP2024504842A (ja) | ワークピースをレーザ加工するための装置及び方法 | |
| JP2004223796A (ja) | 脆性材料の割断加工方法 | |
| JP2014013833A (ja) | レーザ光整形装置およびレーザ光整形方法ならびにレーザ処理装置およびレーザ処理方法 | |
| JP7644828B2 (ja) | ワークピースをレーザ加工するための装置及び方法 | |
| JP5106130B2 (ja) | レーザビーム照射方法およびレーザビーム照射装置 | |
| KR101271104B1 (ko) | 다중 빔 사이에서 발생되는 v-형상의 미세-크랙을 이용한 레이저 스크라이빙 장치 및 레이저 스크라이빙 방법 | |
| JP7634683B2 (ja) | 材料を分離して面取りするデバイス及び方法 | |
| JP7634684B2 (ja) | 材料を分離するためのデバイス及び方法 | |
| CN109773330B (zh) | 基于匀化装置的激光输出系统及计算方法 | |
| JP2020021968A (ja) | 半導体加工対象物のスクライブ方法 | |
| JP2025537283A (ja) | ワークピースをレーザ加工するための方法及びデバイス | |
| JP2025186461A (ja) | ワークピースをレーザ加工するための装置及び方法 | |
| CN116829295A (zh) | 用于对工件进行激光加工的设备和方法 | |
| CN116867598A (zh) | 用于激光加工工件的设备和方法 |
Legal Events
| Date | Code | Title | Description |
|---|---|---|---|
| WWE | Wipo information: entry into national phase |
Ref document number: 201080045690.2 Country of ref document: CN |
|
| 121 | Ep: the epo has been informed by wipo that ep was designated in this application |
Ref document number: 10815397 Country of ref document: EP Kind code of ref document: A1 |
|
| NENP | Non-entry into the national phase |
Ref country code: DE |
|
| REEP | Request for entry into the european phase |
Ref document number: 2010815397 Country of ref document: EP |
|
| WWE | Wipo information: entry into national phase |
Ref document number: 2010815397 Country of ref document: EP |
|
| ENP | Entry into the national phase |
Ref document number: 20127009116 Country of ref document: KR Kind code of ref document: A |
|
| WWE | Wipo information: entry into national phase |
Ref document number: 13395342 Country of ref document: US |