WO2010058780A1 - 筒状部材の製造方法 - Google Patents
筒状部材の製造方法 Download PDFInfo
- Publication number
- WO2010058780A1 WO2010058780A1 PCT/JP2009/069529 JP2009069529W WO2010058780A1 WO 2010058780 A1 WO2010058780 A1 WO 2010058780A1 JP 2009069529 W JP2009069529 W JP 2009069529W WO 2010058780 A1 WO2010058780 A1 WO 2010058780A1
- Authority
- WO
- WIPO (PCT)
- Prior art keywords
- die
- cylindrical
- punch
- ironing
- cylindrical member
- Prior art date
- Legal status (The legal status is an assumption and is not a legal conclusion. Google has not performed a legal analysis and makes no representation as to the accuracy of the status listed.)
- Ceased
Links
Images
Classifications
-
- B—PERFORMING OPERATIONS; TRANSPORTING
- B21—MECHANICAL METAL-WORKING WITHOUT ESSENTIALLY REMOVING MATERIAL; PUNCHING METAL
- B21D—WORKING OR PROCESSING OF SHEET METAL OR METAL TUBES, RODS OR PROFILES WITHOUT ESSENTIALLY REMOVING MATERIAL; PUNCHING METAL
- B21D53/00—Making other particular articles
- B21D53/26—Making other particular articles wheels or the like
- B21D53/30—Making other particular articles wheels or the like wheel rims
-
- B—PERFORMING OPERATIONS; TRANSPORTING
- B21—MECHANICAL METAL-WORKING WITHOUT ESSENTIALLY REMOVING MATERIAL; PUNCHING METAL
- B21D—WORKING OR PROCESSING OF SHEET METAL OR METAL TUBES, RODS OR PROFILES WITHOUT ESSENTIALLY REMOVING MATERIAL; PUNCHING METAL
- B21D22/00—Shaping without cutting, by stamping, spinning, or deep-drawing
- B21D22/02—Stamping using rigid devices or tools
- B21D22/025—Stamping using rigid devices or tools for tubular articles
-
- B—PERFORMING OPERATIONS; TRANSPORTING
- B21—MECHANICAL METAL-WORKING WITHOUT ESSENTIALLY REMOVING MATERIAL; PUNCHING METAL
- B21D—WORKING OR PROCESSING OF SHEET METAL OR METAL TUBES, RODS OR PROFILES WITHOUT ESSENTIALLY REMOVING MATERIAL; PUNCHING METAL
- B21D45/00—Ejecting or stripping-off devices arranged in machines or tools dealt with in this subclass
- B21D45/003—Ejecting or stripping-off devices arranged in machines or tools dealt with in this subclass in punching machines or punching tools
Definitions
- the present invention relates to a method for manufacturing a cylindrical member, and more particularly, to a method for manufacturing a cylindrical member that manufactures a cylindrical member having an unequal thickness from a cylindrical material.
- Patent Document 1 discloses a cylindrical member used for an unequal thickness wheel rim for automobiles as an example of an unequal thickness cylindrical member manufactured from a plate material having a constant thickness.
- a cylindrical material having a constant thickness is produced from a plate material having a constant thickness, and the cylindrical material is unequal in thickness by flow forming (floating, spinning, etc.).
- a non-uniform thickness rim for automobiles is manufactured by rolling the non-uniform thickness cylindrical member to obtain a rim shape.
- the manufacturing method of the unequal thickness tubular member using flow forming has the following problems.
- the object of the present invention is that (i) equipment cost can be reduced, (ii) productivity can be improved, and (iii) external appearance quality can be improved compared to conventional unequal thickness molding by flow forming. It is in providing the manufacturing method of the cylindrical member which can achieve at least 1 of what it can do.
- the present invention for achieving the above object is as follows. (1) Using an ironing apparatus provided with a punch and a die having a concave and convex surface on the side facing the punch, ironing is performed on a cylindrical material to produce an unequal thickness cylindrical member. The manufacturing method of a cylindrical member which has a process. (2) In the ironing process, the cylindrical material is set on the die, the ironing device is operated to move the punch relative to the die, and the die is formed by the uneven surface of the die and the punch. The method for manufacturing a cylindrical member according to (1), wherein the cylindrical material is processed by ironing the cylindrical material while changing the diameter and the plate thickness of the cylindrical material.
- the concave / convex surface is an axial direction of a side surface of the die facing the punch, and has at least one convex portion that makes a space between the die and the punch narrower than a plate thickness of the cylindrical material.
- the manufacturing method of the cylindrical member as described in (1) currently formed by providing one.
- (4) In the ironing process after producing a cylindrical member of unequal thickness, an axial force is applied to the cylindrical member to deform the cylindrical member in the radial direction, and from the die to the cylinder The method for producing a cylindrical member according to (1), wherein the cylindrical member is removed.
- the concavo-convex surface is a circumferential direction of a side surface of the die facing the punch, and a convex portion that makes a space between the die and the punch narrower than a plate thickness of the cylindrical material is at least 1 in the die.
- the manufacturing method of the cylindrical member as described in (1) currently formed by providing one.
- the method includes a step of bending one end portion in the axial direction of the tubular material in a direction intersecting the axial direction of the tubular material to form a bent portion in the tubular material, The method for manufacturing a cylindrical member according to (1), wherein the ironing process is performed by hooking the bent portion on the die in an axial direction in an ironing process.
- the bent portion of the tubular material is axially hooked to the die and is sandwiched between the die and the pressing member, and at least other than the bent portion of the tubular material.
- the method for manufacturing a tubular member according to (1) further including a roll forming step of forming the unequal thickness tubular member into an automobile wheel rim shape after the ironing step.
- the punch is moved relative to the die in the axial direction, and the cylindrical material is ironed to produce an unequal thickness cylindrical member.
- Relative movement with respect to the die is only axial movement with no radial movement, and the ironing device can be used for one-way stroke movement of the punch with respect to the die.
- the molding time can be shortened and the cost of the molding equipment can be reduced.
- the convex and concave portions have an uneven surface in the axial direction of the side surface facing the die punch, and the distance between the die and the punch is made smaller than the plate thickness of the cylindrical material. Is formed by providing at least one on the die, so that a cylindrical member whose thickness changes in the axial direction can be produced.
- an axial force is applied to the cylindrical member to deform the cylindrical member in the radial direction. Since the cylindrical member is removed from the die, it is not necessary to divide the die in the circumferential direction, and an integral die can be used. As a result, a mechanism for moving the divided dies in the radial direction is not necessary as compared with the case where dies divided in the circumferential direction are used, and the equipment cost can be kept low. In addition, there is no need for a deburring process because the cylindrical member after the ironing process does not leave a beam which is difficult to fit the split die.
- the convex and concave portions have a concave and convex surface in the circumferential direction of the side facing the die punch, and the distance between the die and the punch is made smaller than the plate thickness of the cylindrical material. Is formed by providing at least one die on the die, so that a cylindrical member whose thickness changes in the circumferential direction can be produced.
- FIG. 1A shows a cylindrical material.
- FIG.1 (b) shows the cylindrical raw material in which the bending part was formed.
- the left half shows a cross section and the right half shows the appearance.
- FIG. 1C shows the ironing process.
- the left half shows before ironing, and the right half shows after ironing.
- FIG.1 (d) shows the cylindrical member of unequal thickness after a ironing process.
- the left half shows a cross section and the right half shows the appearance.
- FIG. 2A shows a manufacturing process of a tubular material in which a plate material having a constant thickness is wound into a tubular shape and the winding ends are welded.
- FIG. 2B shows a manufacturing process of a cylindrical material obtained by cutting a pipe-shaped material into a predetermined length. It is process drawing which shows the roll forming process of the manufacturing method of the cylindrical member of Example 1 of this invention. However, this figure is also applicable to the second embodiment of the present invention.
- FIG.3 (a) shows the side view of the state which pinched
- FIG.3 (b) shows the front view of the state which pinched
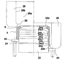
- FIG.3 (c) shows the cylindrical member which became a rim shape after roll forming. It is sectional drawing which shows the ironing apparatus of the manufacturing method of the cylindrical member of Example 1 of this invention. This figure can also be applied to the second embodiment of the present invention by changing the relationship among the die, punch and pressing member.
- the left half of FIG. 4 shows a state where a cylindrical material is inserted into a die before ironing, and the right half of FIG.
- FIG. 4 shows after ironing. It is a fragmentary sectional view which shows a punch, die
- the left half of FIG. 5 shows before ironing, and the right half of FIG. 5 shows after ironing.
- the left half of FIG. 7 shows before ironing, and the right half of FIG. 7 shows after ironing. It is sectional drawing which looked at the die
- FIGS. 1 to 6 are applicable to the first embodiment of the present invention
- FIGS. 7 and 8 are applicable to the second embodiment of the present invention.
- FIGS. 1 and 4 can be applied to the second embodiment of the present invention by changing the relationship between the die, the punch, and the pressing member
- FIGS. 2 and 3 are also applied to the second embodiment of the present invention. Applicable. Portions common to all the embodiments of the present invention are denoted by the same reference numerals throughout the embodiments of the present invention.
- the manufacturing method of the cylindrical member 10 of this invention is a method of manufacturing the cylindrical member 10 (10A, 10B) of unequal thickness from the cylindrical raw material 4, as shown in FIG.
- the material of the cylindrical material 4 is a metal, and the metal is, for example, steel, non-ferrous metal (including aluminum, magnesium, titanium, and an alloy thereof).
- the unequal thickness tubular member 10 may be a member 10A having a straight wall in which one of the inner peripheral surface and the outer peripheral surface is an uneven surface and the other surface is parallel to the axial center. As shown in FIG.
- the member 10B may be a member 10B having a wall curved in the direction perpendicular to the axis by further roll-forming the unequal thickness tubular member 10A.
- the unequal thickness cylindrical member 10A is an unequal thickness cylindrical member in which a portion (inner peripheral surface or outer peripheral surface) excluding the bent portion 8 after ironing is parallel to the axis, for example.
- the member 10B is, for example, a wheel rim for passenger cars, trucks / buses, and industrial vehicles.
- the unequal thickness tubular member 10B is not limited to the wheel rim.
- the unequal thickness tubular member 10 (10A, 10B) is not limited to a member having a circular cross section, and may be a cylindrical member having a polygonal cross section or a cylindrical member having an elliptical cross section, for example.
- the manufacturing method of the tubular member 10 of the present invention includes: (a) a bent portion forming step in which one end portion in the axial direction of the tubular material 4 is bent to form a bent portion 8 in the tubular material 4; (B) Using the ironing device 20 provided with a punch 26, a die 22 having a concave-convex surface 24 on the side facing the punch 26, and a pressing member 23, the tubular material 4 is formed into a bent portion 8. Then, the die 22 is hooked (hooked) in the axial direction, and then the pressing member 23 is moved relative to the die 22 to clamp the bent portion 8 of the tubular material 4 between the pressing member 23 and the die 22.
- FIG. 1 (c) showing the ironing process
- the left half shows a state in which the bent portion 8 of the tubular material 4 before ironing is clamped between the pressing member 23 and the die 22, and the right half is The cylindrical material 4 is ironed by moving the punch 26 relative to the die 22 so that the cylindrical material 4 becomes a cylindrical member 10 (10A) of unequal thickness. If the tubular material 4 has a shape that can be locked to the die 22 corresponding to the folded portion 8 from the beginning, such as when the tubular material 4 is a cast product, the folded portion forming step is unnecessary.
- a cylindrical material manufacturing process for manufacturing a cylindrical material 4 with a constant thickness from a flat material 2 with a constant thickness as shown in FIG. 2 may be provided.
- a flat plate material (rectangular material) 2 having a constant thickness is formed, for example, from a belt member having a constant thickness wound in a coil shape. It is sequentially manufactured by drawing out and cutting every predetermined length.
- the flat plate material 2 is wound into a cylindrical shape, both ends of the winding are butted against each other and welded by flash butt welding, butt welding, arc welding, etc., and the bulge and burrs of the welded portion 6 are trimmed to obtain a constant thickness.
- a cylindrical material 4 is prepared.
- the pipe-shaped material 2 ′ may be cut into a predetermined length to manufacture a cylindrical material 4 having a constant thickness.
- the bent portion 8 forming step is inserted before the ironing process.
- the bent portion 8 positions the tubular material 4 having a constant thickness on the die 22 in the axial direction so that the tubular material 4 does not shift in the axial direction with respect to the die 22 during ironing.
- the angle of the bent portion 8 can be processed from 0 to 180 degrees inward or outward from the axial direction of the tubular material 4, and the axis of the tubular material 4 with respect to the die 22 during the ironing process increases as the angle increases. Directional deviation can be prevented.
- the cylindrical material 4 having a certain thickness may be directly sent to the ironing process without forming the bent portion 8.
- the tubular material 4 having a certain thickness (the tubular material 4 having the bent portion 8) is hooked in the axial direction on the die 22 at the bent portion 8 and set in the die 22. Thereafter, the ironing device 20 is operated so that the pressing member 23 and the punch 26 are relatively moved (approached) relative to the die 22 only in the axial direction of the tubular material 4.
- the holding member 23 and the punch 26 are moved relative to the die 22, the holding member 23 hits the bent portion 8 of the tubular material 4 set on the die 22, and the holding member 23 and the die 22 form the tubular material 4.
- the bent portion 8 is clamped (the bent portion 8 of the tubular material 4 is pressed against the die 22 by the pressing member 23), and the pressing member 23 stops.
- the punch 26 is further moved (approached) relative to the die 22 only in the axial direction of the tubular material 4, and a portion other than the bent portion 8 of the tubular material 4 is formed by the concave / convex surface 24 of the die 22 and the punch 26. Ironing is performed with changes in the diameter and thickness of the material 4. When the tubular material 4 is ironed, the axial length of the tubular material 4 gradually increases (extends) in the moving direction of the punch 26. In addition, when the force required for ironing is small, the pressing member 23 may not be provided.
- the ironing device 20 includes a press machine 30 as shown in FIG.
- the press machine 30 is connected to the gantry 32, the ram driving means 34 attached to the gantry 32, the ram 36 moved up and down by the ram driving means 34, the bolster 38, the material holding / discharging plate 40, and the material holding / discharging plate 40.
- a material holding and discharging plate driving means 42 for applying a material discharging load to the discharging plate 40 is provided.
- the die 22 is fixed to the bolster 38 or a fixing member fixed to the bolster 38, and the punch 26 is fixed to the ram 36 or a fixing member fixed to the ram 36.
- the press machine 30 may be a hydraulic press in which the ram driving means 34 is a hydraulic cylinder
- the ram driving means 34 may be a mechanical press comprising a motor, a crankshaft, a connecting rod or the like, or the ram driving means 34.
- the material holding / discharging plate driving means 42 may be a hydraulic cylinder or a pneumatic cylinder, or may be an elevating mechanism using an electric motor or the like.
- the fixed side is a die 22 and the movable side is a punch 26.
- the side surface of the die 22 on the side facing the protruding portion 28 of the punch 26 is an uneven surface 24.
- the concavo-convex surface 24 is a surface in which the distance between the protrusions 28 of the punch 26 (the distance in the direction of the plate thickness of the cylindrical material 4 having a certain thickness) is not uniform and has different portions.
- the concave / convex surface 24 of the die 22 is formed so that the distance between the side surface of the punch 26 facing the protruding portion 28 and the protruding portion 28 of the punch 26 is narrower than the plate thickness of the cylindrical material 4 having a certain thickness. As shown in FIG.
- the protruding amount of the convex portion 24a is determined by the target plate thickness of each portion of the cylindrical member 10, and may be constant or different in one convex portion 24a.
- the protrusion amount of each protrusion 24a is determined by the target plate thickness of each part of the tubular member 10, and the protrusion amount of each protrusion 24a is the same. May be different.
- the convex portion 24a may be formed on at least a part of the side surface of the die 22 on the side facing the protruding portion 28 of the punch 26. As shown in FIG.
- a concave portion 24b adjacent to the one convex portion 24a on the side is connected by a second inclined surface 24c2 formed of an inclined surface that is not a surface orthogonal to the axis of the side surface of the die 22.
- the angle between the first inclined surface 24c1 and the second inclined surface 24c2 with respect to the axial direction of the side surface of the die 22 is preferably made moderate to 60 degrees or less, and further made gentle to 45 degrees or less. It is desirable.
- each first inclined surface 24c1 may be constant or may gradually change. Further, the inclination angle of each second inclined surface 24c2 may be constant or may gradually change.
- the punch 26 has a projecting portion 28 projecting toward the die 22 in the vicinity of the tip when moved toward the die 22, and the projecting portion 28 squeezes the tubular material 4.
- the material holding / discharging plate 40 is assumed to have an end surface on the side opposite to the bent portion 8 of the cylindrical material 4 that is assumed by the ironing process when the cylindrical material 4 having a certain thickness is ironed (during the ironing process).
- the cylindrical material 4 is moved from the direction opposite to the direction in which the punch 26 moves during the ironing process (direction in which the cylindrical material 4 is pressed) (in the axial direction of the cylindrical material 4).
- Push (support) Note that the axial length of the cylindrical material 4 gradually increases when the cylindrical material 4 is being ironed, but the position of the material holding discharge plate 40 is controlled by the material holding discharge plate driving means 42.
- the material holding / discharging plate 40 moves backward, and the material holding / discharging plate 40 keeps the cylindrical material 4 axially pressed at a constant load or a substantially constant load during the ironing process. Be able to. Further, the load acting on the material holding / discharging plate 40 may be controlled, or the amount displaced in the axial direction may be controlled.
- the punch 26 is removed from the die 22 or while being removed.
- An axial force from the material holding and discharging plate 40 is applied to the cylindrical member 10 (10A) to deform the cylindrical member 10 (10A) in the radial direction and remove the cylindrical member 10 (10A) from the die 22.
- the rate of change of the diameter of the cylindrical member 10 (10A) required when removing the cylindrical member 10 (10A) from the die 22 is 1.2 at the maximum.
- the cylindrical member 10 (10A) is elastic in the radial direction (plate thickness direction of the cylindrical member 10 (10A)) by the axial force from the material holding discharge plate 40. It can be deformed and removed from the die 22. Further, even when the cylindrical member 10 (10A) is a member for a wheel rim, the cylindrical member 10 (10A) is plastically deformed in the radial direction by an axial force from the material holding / discharging plate 40 to form a die. You may remove from 22. The material holding / discharging plate 40 pushes the tubular member 10 (10A) in the direction opposite to the direction in which the punch 26 moves during the ironing process (the direction in which the tubular material 4 is pushed).
- the axial force by which the material holding discharge plate 40 pushes the tubular member 10 (10A) is the tubular member 10 when the tubular member 10 (10A) is pushed in the axial direction.
- (10A) is more than the force necessary to deform the radial direction of the cylindrical member 10 (10A), and this force is more than the force by which the punch 26 presses the cylindrical material 4 in the axial direction. Much smaller. Since it is not necessary to divide the die 22 in the circumferential direction in order to remove the tubular member 10 (10A), the die 22 is not divided and is an integrated die.
- the thick-walled portion (the portion where the plate thickness is not reduced) in the unequal-thickness cylindrical member 10 corresponds to the portion where a large force is applied in the state of use of the final product (in the case of a wheel rim, a bent portion, a flange portion).
- the thin-walled portion (the portion where the plate thickness is thinned) in the unequal thickness tubular member 10 is a portion where a small force works in the state of use of the final product (in the case of a wheel rim, a portion other than a bent portion or a flange portion) It corresponds to.
- the manufacturing method of the cylindrical member 10 of the present invention includes a roll forming step of roll-forming the unequal thickness cylindrical member 10 (10A) into an automobile wheel rim shape as shown in FIG. 3 after the ironing step. You may have.
- the unequal thickness automobile wheel rim is an example 10 (10B) of the unequal thickness cylindrical member.
- the roll forming step is performed after the axially opposite ends of the unequal thickness tubular member 10A are flared (not shown) and expanded.
- the cylindrical member 10A is sandwiched between the lower roll 31 and the upper roll 32, the roll is rotated, the cylindrical member 10A is formed into the cylindrical member 10B, and a rim shape is obtained.
- sizing processing to make it close to a perfect circle and shaping of the rim cross-sectional shape
- the rim formed of the cylindrical member 10 (10B) after molding is, in order from one end in the axial direction toward the other end, a flange portion 10a, a bead sheet portion 10b, a side wall portion 10c, a drop portion 10d, a side wall portion 10e, and a bead. It has a seat portion 10f and a flange portion 10g.
- a disc (not shown) is fitted into the rim and welded to form a welding type wheel. There is a bend between each part. It is desirable that the bent portion and the flange portions 10a and 10g have a large stress generated during normal use and are thicker than the other portions.
- the unequal thickness is not reduced by ironing the straight cylindrical material with a constant thickness. Even if it is sent to the rim shape forming process by, or even if the thickness of a straight cylindrical material with a certain thickness is made unequal, the application of methods other than spinning processing was unthinkable as explained in the prior art. Not actually used.
- the ironing process is inserted between the manufacturing process of the cylindrical material 4 and the roll processing process of the cylindrical member 10 (10A), and the cylindrical material 4 is unequal regardless of the spinning process. It is getting thicker.
- the equipment cost can be reduced as compared with the prior art.
- the conventional flow forming process is replaced by the squeezing process by the ironing device 20 (press machine 30) in the present invention.
- the time to do can be shortened to about 1/3 compared with flow forming, and productivity can be improved.
- the ironing apparatus 20 (press machine 30) is used for ironing, one conventional rim production is performed.
- the relative movement of the punch 26 relative to the die 22 is the radial movement. Only the axial movement is involved, and the press machine 30 can be used for the one-way stroke movement of the punch 26 with respect to the die 22. As a result, the molding time can be shortened and the cost of the molding equipment can be reduced.
- an axial force is applied to the tubular member 10 (10A) to deform the tubular member 10 (10A) in the radial direction so that the cylindrical member 10 (10A) Since the shaped member 10 (10A) is removed, an integral die that is not divided in the circumferential direction can be used as the die 22. As a result, a mechanism for moving the divided dies in the radial direction is not necessary as compared with the case where dies divided in the circumferential direction are used, and the equipment cost can be kept low. In addition, there is no need for the deburring process to be left in the tubular member 10 (10A) after the ironing process, so that the burrs which are difficult to fit the split dies do not remain.
- the bent portion 8 is hooked on the die 22 in the axial direction to perform ironing, so that the entire tubular material 4 is prevented from shifting in the axial direction in which the punch 26 is pressed, and high-precision molding is possible. Become.
- tubular material 4 Since the tubular material 4 is ironed while the other end in the axial direction of the tubular material 4 is pressed by the material holding discharge plate 40, the entire tubular material 4 is further axially pressed by the punch 26 during the ironing process. Shifting is suppressed. Moreover, it becomes easy to control the amount of elongation of the cylindrical material 4 by ironing.
- the concave / convex surface 24 is formed by providing at least one convex portion 24a in the axial direction of the side surface of the die 22 so that the distance between the die 22 and the punch 26 is narrower than the plate thickness of the cylindrical material 4 having a certain thickness. Therefore, the cylindrical member 10A whose thickness changes in the axial direction can be manufactured.
- the concave / convex surface 24 is formed by providing at least one convex portion 24a in the circumferential direction of the side surface of the die 22 so that the distance between the die 22 and the punch 26 is narrower than the plate thickness of the cylindrical material 4 having a certain thickness. Therefore, the cylindrical member 10A whose thickness changes in the circumferential direction can be manufactured.
- the die 22 is composed of an outer die having a cylindrical hole 22a and an inner peripheral side surface 22b.
- the side surface 22 b is an uneven surface 24.
- the punch 26 is an inner punch that enters and exits the cylindrical hole 22a of the outer die 22 in the axial direction, and a protruding portion 28 is formed on the outer peripheral side surface 26e thereof.
- a flange receiving portion 22 c that holds the bent portion 8 of the tubular material 4 is formed at the upper end portion of the inner peripheral side surface 22 b of the outer die 22.
- the tubular material 4 is set on the outer die 22 with the bent portion 8 brought into contact with the flange receiving portion 22 c and hooked.
- the inner diameter of the portion of the outer die 22 where the convex portion 24a is provided is larger than the outer diameter of the portion other than the bent portion 8 of the tubular material 4 before ironing. Therefore, the tubular material 4 before ironing can be easily set on the outer die 22.
- the outer diameter of the protruding portion 28 of the inner punch 26 is larger than the inner diameter of the portion other than the bent portion 8 of the tubular material 4 before ironing. Therefore, the uneven shape of the uneven surface 24 of the die 22 can be transferred to the tubular material 4 by pressing the tubular material 4 against the die 22 by ironing.
- the difference between the outer radius of the protruding portion 28 of the inner punch 26 and the inner radius of the portion where the convex portion 24a of the outer die 22 is provided is smaller than the plate thickness of the tubular material 4 before ironing. Therefore, the plate
- the punch 26 is pushed into the cylindrical hole 22a of the outer die 22 by the ironing device 20 (press machine 30)
- the projecting portion 28 of the punch 26 irons the cylindrical material 4 and expands the diameter of the cylindrical material 4. Further, the thickness of the tubular material 4 is reduced at the portion where the convex portion 24a of the outer die 22 is provided.
- the difference between the inner radius of the portion of the outer die 22 where the convex portion 24a is not provided and the outer radius of the protruding portion 28 of the inner punch 26 is equal to or greater than the plate thickness of the tubular material 4 before ironing. In this case, the thickness of the cylindrical material 4 is not reduced by ironing. It is also possible to make it thicker than the plate thickness of the cylindrical material 4, and it can be made thicker by controlling to press the cylindrical material 4 of the material holding discharge plate 40.
- the tubular material 4 When the tubular material 4 is ironed, the tubular material 4 tends to be displaced entirely in the axial direction pressed by the inner punch 26, but the bent portion 8 of the tubular material 4 is received by the flange receiver of the outer die 22. That the bent portion 8 of the tubular material 4 is clamped by the holding member 23 and the die 22; and the material holding discharge plate 40 pushes the tubular material 4 in the direction in which the inner punch 26 is pushed. As a result, the tubular material 4 is suppressed from being displaced in the axial direction by the inner punch 26.
- a roll-formed wheel rim 10 (10B) using the tubular member 10 (10A) is a light-weight wheel rim 10 (10B) in which a portion requiring thickness is thick and a portion not requiring thickness is thin. .
- the die 22 is an outer die having a cylindrical hole 22a and an inner peripheral side surface 22b, and the inner peripheral side surface 22b of the outer die 22 is an uneven surface 24.
- the punch 26 is an inner punch that enters and exits the cylindrical hole 22a of the outer die 22 in the axial direction
- the outer die 22 is fixed to the lower bolster 38 side of the ironing device 20 (press machine 30)
- the inner punch 26 is fixed to the upper ram 36 side of the ironing device 20 (press machine 30)
- the inner punch 26 is moved up and down with respect to the outer die 22 to manufacture the tubular member 10 (10A). (Press machine 30) can be used.
- the die 22 is formed of an inner die having an outer peripheral surface 22 e, and the outer peripheral side surface 22 e of the inner die 22 is an uneven surface 24. It is said that.
- the punch 26 is an outer punch having a cylindrical hole 26a and an inner peripheral side surface 26b, and a protruding portion 28 is formed on the inner peripheral side surface 26b.
- a flange receiving portion 22d that holds the bent portion 8 of the tubular material 4 is formed.
- the tubular material 4 is set on the inner die 22 with the bent portion 8 brought into contact with the flange receiving portion 22 d and hooked.
- the outer diameter of the portion of the inner die 22 where the convex portion 24a is provided is smaller than the inner diameter of the portion other than the bent portion 8 of the tubular material 4 before ironing. Therefore, the cylindrical material 4 before ironing can be easily set on the inner die 22.
- the inner diameter of the protruding portion 28 of the outer punch 26 is smaller than the outer diameter of the portion other than the bent portion 8 of the tubular material 4 before ironing. Therefore, the cylindrical material 4 is pressed against the die 22 by ironing so that the cylindrical material 4 is uneven.
- the difference between the inner radius of the protruding portion 28 of the outer punch 26 and the outer radius of the portion where the convex portion 24a of the inner die 22 is provided is smaller than the plate thickness of the tubular material 4 before ironing.
- board thickness of the cylindrical raw material 4 can be made thin by the convex part 24a part by ironing.
- the outer punch 26 is moved to the inner die 22 side by the ironing device 20 (press machine 30) and the inner die 22 enters the cylindrical hole 26a of the outer punch 26, the protruding portion 28 of the outer punch 26 becomes the tubular material 4.
- the diameter of the tubular material 4 is reduced and the thickness of the tubular material 4 is reduced at the portion where the convex portion 24a of the inner die 22 is provided.
- the difference between the outer radius of the portion of the inner die 22 where the convex portion 24a is not provided and the inner radius of the protruding portion 28 of the outer punch 26 is equal to or greater than the plate thickness of the tubular material 4 before ironing. In this case, the plate thickness of the tubular material 4 is not reduced by ironing, and may be thicker than the plate thickness of the tubular material 4 in some cases.
- the tubular material 4 When the tubular material 4 is ironed, the tubular material 4 tends to be displaced entirely in the axial direction pressed by the outer punch 26, but the bent portion 8 of the tubular material 4 is received by the flange receiver of the inner die 22. It is hooked on the portion 22d, the pressing member 23 (not shown in FIG. 7) and the die 22 clamp the bent portion 8 of the tubular material 4, and the material holding discharge plate 40 holds the tubular material 4 together. Due to the pressing from the direction opposite to the pressing direction of the outer punch 26, the entire tubular material 4 is suppressed from being displaced in the axial direction by the outer punch 26.
- a roll-formed wheel rim 10 (10B) using the tubular member 10 (10A) is a light-weight wheel rim 10 (10B) in which a portion requiring thickness is thick and a portion not requiring thickness is thin. .
- the die 22 is formed of an inner die having an outer peripheral side surface, the outer peripheral side surface of the inner die 22 is an uneven surface 24, and the punch 26 is a cylindrical hole 26a.
- the inner die 22 is fixed to the lower bolster 38 side of the ironing device 20 (press machine 30), and the outer punch 26 is fixed to the upper side of the ironing device 20 (press machine 30).
- the ironing device 20 (press machine 30) can be used to manufacture the cylindrical member 10 (10A) by fixing the ram 36 side and making the outer punch 26 make a vertical stroke with respect to the inner die 22.
Landscapes
- Engineering & Computer Science (AREA)
- Mechanical Engineering (AREA)
- Shaping Metal By Deep-Drawing, Or The Like (AREA)
- Forging (AREA)
Priority Applications (4)
| Application Number | Priority Date | Filing Date | Title |
|---|---|---|---|
| DE112009003609T DE112009003609T5 (de) | 2008-11-18 | 2009-11-18 | Verfahren zum herstellen eines rohrförmigen bauteils |
| KR1020137026827A KR101489268B1 (ko) | 2008-11-18 | 2009-11-18 | 통 형상 부재의 제조 방법 |
| CN200980146003.3A CN102215997B (zh) | 2008-11-18 | 2009-11-18 | 筒状部件的制造方法 |
| US13/108,660 US9085027B2 (en) | 2008-11-18 | 2011-05-16 | Method of manufacturing a tubular member |
Applications Claiming Priority (4)
| Application Number | Priority Date | Filing Date | Title |
|---|---|---|---|
| JP2008294272 | 2008-11-18 | ||
| JP2008-294272 | 2008-11-18 | ||
| JP2009-262425 | 2009-11-18 | ||
| JP2009262425A JP5244075B2 (ja) | 2008-11-18 | 2009-11-18 | 筒状部材の製造方法 |
Related Child Applications (1)
| Application Number | Title | Priority Date | Filing Date |
|---|---|---|---|
| US13/108,660 Continuation US9085027B2 (en) | 2008-11-18 | 2011-05-16 | Method of manufacturing a tubular member |
Publications (1)
| Publication Number | Publication Date |
|---|---|
| WO2010058780A1 true WO2010058780A1 (ja) | 2010-05-27 |
Family
ID=42198219
Family Applications (1)
| Application Number | Title | Priority Date | Filing Date |
|---|---|---|---|
| PCT/JP2009/069529 Ceased WO2010058780A1 (ja) | 2008-11-18 | 2009-11-18 | 筒状部材の製造方法 |
Country Status (6)
| Country | Link |
|---|---|
| US (1) | US9085027B2 (enExample) |
| JP (1) | JP5244075B2 (enExample) |
| KR (2) | KR101489268B1 (enExample) |
| CN (1) | CN102215997B (enExample) |
| DE (1) | DE112009003609T5 (enExample) |
| WO (1) | WO2010058780A1 (enExample) |
Cited By (2)
| Publication number | Priority date | Publication date | Assignee | Title |
|---|---|---|---|---|
| JP2015522772A (ja) * | 2012-07-04 | 2015-08-06 | ティッセンクルップ スチール ヨーロッパ アーゲーThyssenkrupp Steel Europe Ag | 回転運動を伝達するための連結要素を製造する方法、および当該方法により製造された連結要素 |
| CN107179656A (zh) * | 2016-03-11 | 2017-09-19 | 富士施乐株式会社 | 金属圆筒、基底及电子照相感光体的制造方法、金属块 |
Families Citing this family (16)
| Publication number | Priority date | Publication date | Assignee | Title |
|---|---|---|---|---|
| JPH0732965B2 (ja) | 1992-12-29 | 1995-04-12 | 天龍製鋸株式会社 | 回転鋸の製造方法 |
| JP5191613B2 (ja) * | 2010-02-17 | 2013-05-08 | トピー工業株式会社 | 車両用ホイールリムの製造方法 |
| KR101077634B1 (ko) | 2011-01-17 | 2011-10-27 | 김원도 | 댐퍼의 스프링캡 제작방법 |
| US8756814B2 (en) * | 2011-02-01 | 2014-06-24 | Shimano Inc. | Method of manufacturing a bicycle rim |
| JP6009266B2 (ja) * | 2011-08-10 | 2016-10-19 | トピー工業株式会社 | 車両用ホイールリムの製造方法 |
| CN103945954B (zh) * | 2011-11-11 | 2017-03-29 | 爱迪生麦基公司 | 用于管端部成形设备的伺服电机控制的液压泵单元 |
| KR101644282B1 (ko) * | 2012-10-23 | 2016-07-29 | 신닛테츠스미킨 카부시키카이샤 | 프레스 가공 방법 및 바닥이 있는 용기 |
| JP6224620B2 (ja) * | 2012-12-11 | 2017-11-01 | トピー工業株式会社 | 大中型ホイールディスクの製造方法とその成形品 |
| KR101428663B1 (ko) | 2013-05-14 | 2014-08-08 | 주식회사 효림 에이치 에프 | 서포트 링 제조방법 |
| JP6095477B2 (ja) | 2013-05-16 | 2017-03-15 | かがつう株式会社 | 鍛造装置、および、鍛造方法 |
| KR101502825B1 (ko) | 2014-02-27 | 2015-03-18 | 송문상 | 머플러 제조용 금형장치 |
| KR101502971B1 (ko) | 2015-02-09 | 2015-03-17 | 송문상 | 머플러 제조방법 |
| CN105215635A (zh) * | 2015-10-16 | 2016-01-06 | 江苏新创雄铝制品有限公司 | 一种冷加工无缝铝合金轮毂的制备方法 |
| CN106077220A (zh) * | 2016-07-08 | 2016-11-09 | 枣庄运达机床有限公司 | 复合立式轮辋滚型机 |
| CN106180507B (zh) * | 2016-07-28 | 2018-06-19 | 江苏太平洋精锻科技股份有限公司 | 薄壁筒内壁第二道径向内环成形工艺 |
| EP3345694B1 (de) * | 2017-01-05 | 2024-05-22 | FELSS Systems GmbH | Verfahren und vorrichtung zum insbesondere abschnittweisen verdicken einer plastisch verformbaren hohlkörperwand eines hohlkörpers sowie fertigungsverfahren und maschine zum fertigen eines hohlkörpers |
Citations (2)
| Publication number | Priority date | Publication date | Assignee | Title |
|---|---|---|---|---|
| JPS56131033A (en) * | 1980-03-19 | 1981-10-14 | Nippon Light Metal Co Ltd | Production of aluminum wheel rim |
| JPH10160376A (ja) * | 1996-11-28 | 1998-06-19 | Hidaka Seiki Kk | 熱交換器用フィンおよびその製造金型 |
Family Cites Families (41)
| Publication number | Priority date | Publication date | Assignee | Title |
|---|---|---|---|---|
| DE1152086B (de) | 1960-12-15 | 1963-08-01 | Kronprinz Ag | Verfahren zum Herstellen von Felgen fuer luftbereifte Fahrzeugraeder |
| US3438111A (en) * | 1966-05-03 | 1969-04-15 | Motor Wheel Corp | Method of making a vehicle wheel rim |
| JPS5659555A (en) * | 1979-10-18 | 1981-05-23 | Komatsu Ltd | Production of joint |
| FR2478499A1 (fr) * | 1980-03-19 | 1981-09-25 | Nippon Light Metal Co | Procede de fabrication d'une jante de roue en aluminium |
| JPS5816751A (ja) * | 1981-07-21 | 1983-01-31 | Nippon Light Metal Co Ltd | アルミホイ−ル用リムの製造法 |
| JPS6142430A (ja) | 1984-08-03 | 1986-02-28 | Hiroo Tada | パイプの製法 |
| US4769292A (en) * | 1987-03-02 | 1988-09-06 | Eastman Kodak Company | Electroluminescent device with modified thin film luminescent zone |
| JPH0724871B2 (ja) | 1988-03-31 | 1995-03-22 | 松下電器産業株式会社 | 熱交換器用フィンのカラー成形法及び金型 |
| JPH02123327U (enExample) * | 1989-03-16 | 1990-10-11 | ||
| GB8909011D0 (en) * | 1989-04-20 | 1989-06-07 | Friend Richard H | Electroluminescent devices |
| KR940001384B1 (ko) | 1991-06-28 | 1994-02-21 | 포항종합제철 주식회사 | 제강공정의 전송데이타 이상유무 체크시스템 |
| JPH0788583A (ja) | 1993-09-17 | 1995-04-04 | Topy Ind Ltd | ツーピースアルミホイールの製造方法 |
| JP3373018B2 (ja) * | 1993-12-09 | 2003-02-04 | トピー工業株式会社 | 自動車ホイール用リムの製造方法 |
| US5703436A (en) * | 1994-12-13 | 1997-12-30 | The Trustees Of Princeton University | Transparent contacts for organic devices |
| US5707745A (en) * | 1994-12-13 | 1998-01-13 | The Trustees Of Princeton University | Multicolor organic light emitting devices |
| JP3669751B2 (ja) * | 1996-01-25 | 2005-07-13 | トピー工業株式会社 | 片側フランジレスホイールリムの製造方法とその装置 |
| US5844363A (en) * | 1997-01-23 | 1998-12-01 | The Trustees Of Princeton Univ. | Vacuum deposited, non-polymeric flexible organic light emitting devices |
| JPH10166102A (ja) * | 1996-12-03 | 1998-06-23 | Aisin Seiki Co Ltd | 鍛造方法及び鍛造装置 |
| US5834893A (en) * | 1996-12-23 | 1998-11-10 | The Trustees Of Princeton University | High efficiency organic light emitting devices with light directing structures |
| US6091195A (en) * | 1997-02-03 | 2000-07-18 | The Trustees Of Princeton University | Displays having mesa pixel configuration |
| US6013982A (en) * | 1996-12-23 | 2000-01-11 | The Trustees Of Princeton University | Multicolor display devices |
| US6303238B1 (en) * | 1997-12-01 | 2001-10-16 | The Trustees Of Princeton University | OLEDs doped with phosphorescent compounds |
| US6087196A (en) * | 1998-01-30 | 2000-07-11 | The Trustees Of Princeton University | Fabrication of organic semiconductor devices using ink jet printing |
| US6097147A (en) * | 1998-09-14 | 2000-08-01 | The Trustees Of Princeton University | Structure for high efficiency electroluminescent device |
| KR100432616B1 (ko) | 1998-12-29 | 2004-09-13 | 주식회사 포스코 | 드로잉-아이어닝복합가공법에의한2피이스캔제조방법 |
| JP3929200B2 (ja) | 1999-04-09 | 2007-06-13 | トピー工業株式会社 | 不等厚リムの製造方法とその装置 |
| US6294398B1 (en) * | 1999-11-23 | 2001-09-25 | The Trustees Of Princeton University | Method for patterning devices |
| FR2816532B1 (fr) | 2000-11-13 | 2003-01-24 | Michelin Soc Tech | Procede de fabrication d'une jante de roue de vehicule |
| US6505492B2 (en) | 2001-04-11 | 2003-01-14 | Bethlehem Steel Corporation | Method and apparatus for forming deep-drawn articles |
| US7071615B2 (en) * | 2001-08-20 | 2006-07-04 | Universal Display Corporation | Transparent electrodes |
| US6771021B2 (en) * | 2002-05-28 | 2004-08-03 | Eastman Kodak Company | Lighting apparatus with flexible OLED area illumination light source and fixture |
| US20030230980A1 (en) * | 2002-06-18 | 2003-12-18 | Forrest Stephen R | Very low voltage, high efficiency phosphorescent oled in a p-i-n structure |
| US7049757B2 (en) * | 2002-08-05 | 2006-05-23 | General Electric Company | Series connected OLED structure and fabrication method |
| JP4076451B2 (ja) | 2003-01-28 | 2008-04-16 | トピー工業株式会社 | 不等厚リム用リム素材、不等厚リム、不等厚リムの製造方法 |
| JP4425569B2 (ja) * | 2003-06-09 | 2010-03-03 | 株式会社幸伸技研 | 厚肉縁付薄肉筒状製品の成形方法及び装置 |
| US6978649B1 (en) * | 2003-10-10 | 2005-12-27 | Hayes Lemmerz International, Inc. | Method and apparatus for producing a vehicle wheel rim |
| US7279704B2 (en) * | 2004-05-18 | 2007-10-09 | The University Of Southern California | Complexes with tridentate ligands |
| US9070884B2 (en) * | 2005-04-13 | 2015-06-30 | Universal Display Corporation | Hybrid OLED having phosphorescent and fluorescent emitters |
| US7434968B2 (en) * | 2005-12-21 | 2008-10-14 | Leotek Electronics Corporation | Traffic signal lamp assembly and method of replacing same |
| US8586203B2 (en) * | 2009-05-20 | 2013-11-19 | Universal Display Corporation | Metal complexes with boron-nitrogen heterocycle containing ligands |
| US8400064B2 (en) * | 2009-09-09 | 2013-03-19 | Koninklijke Philips Electronics N.V. | Zener diode protection network in submount for LEDs connected in series |
-
2009
- 2009-11-18 CN CN200980146003.3A patent/CN102215997B/zh active Active
- 2009-11-18 JP JP2009262425A patent/JP5244075B2/ja active Active
- 2009-11-18 DE DE112009003609T patent/DE112009003609T5/de active Granted
- 2009-11-18 KR KR1020137026827A patent/KR101489268B1/ko not_active Expired - Fee Related
- 2009-11-18 KR KR1020117003605A patent/KR20110053224A/ko not_active Ceased
- 2009-11-18 WO PCT/JP2009/069529 patent/WO2010058780A1/ja not_active Ceased
-
2011
- 2011-05-16 US US13/108,660 patent/US9085027B2/en active Active
Patent Citations (2)
| Publication number | Priority date | Publication date | Assignee | Title |
|---|---|---|---|---|
| JPS56131033A (en) * | 1980-03-19 | 1981-10-14 | Nippon Light Metal Co Ltd | Production of aluminum wheel rim |
| JPH10160376A (ja) * | 1996-11-28 | 1998-06-19 | Hidaka Seiki Kk | 熱交換器用フィンおよびその製造金型 |
Cited By (4)
| Publication number | Priority date | Publication date | Assignee | Title |
|---|---|---|---|---|
| JP2015522772A (ja) * | 2012-07-04 | 2015-08-06 | ティッセンクルップ スチール ヨーロッパ アーゲーThyssenkrupp Steel Europe Ag | 回転運動を伝達するための連結要素を製造する方法、および当該方法により製造された連結要素 |
| US10343203B2 (en) | 2012-07-04 | 2019-07-09 | Thyssenkrupp Steel Europe Ag | Method for producing a connecting element for transmitting rotational movements |
| CN107179656A (zh) * | 2016-03-11 | 2017-09-19 | 富士施乐株式会社 | 金属圆筒、基底及电子照相感光体的制造方法、金属块 |
| CN107179656B (zh) * | 2016-03-11 | 2022-02-25 | 富士胶片商业创新有限公司 | 金属圆筒、基底及电子照相感光体的制造方法、金属块 |
Also Published As
| Publication number | Publication date |
|---|---|
| US9085027B2 (en) | 2015-07-21 |
| DE112009003609T5 (de) | 2012-07-05 |
| CN102215997B (zh) | 2016-08-31 |
| JP5244075B2 (ja) | 2013-07-24 |
| KR20130116961A (ko) | 2013-10-24 |
| CN102215997A (zh) | 2011-10-12 |
| KR20110053224A (ko) | 2011-05-19 |
| JP2010149182A (ja) | 2010-07-08 |
| KR101489268B1 (ko) | 2015-02-04 |
| US20110214474A1 (en) | 2011-09-08 |
Similar Documents
| Publication | Publication Date | Title |
|---|---|---|
| JP5244075B2 (ja) | 筒状部材の製造方法 | |
| JP2010149182A5 (enExample) | ||
| JP5191613B2 (ja) | 車両用ホイールリムの製造方法 | |
| CN108463296B (zh) | 旋压装置以及旋压方法 | |
| US3262191A (en) | Method of forming wheel disks | |
| US20110005292A1 (en) | Method of forming curled portion | |
| KR101865733B1 (ko) | 브래킷 일체형 너트 및 그 제조방법 | |
| JP5559591B2 (ja) | 車両用ホイールの製造方法及び車両用ホイール | |
| JP5814628B2 (ja) | リム成形方法 | |
| JP3403762B2 (ja) | 車体構造用筒状部材の製造方法 | |
| JP5749708B2 (ja) | 車両用ホイールリムの製造方法 | |
| JP6009266B2 (ja) | 車両用ホイールリムの製造方法 | |
| CN104540612A (zh) | 车辆用车轮轮辋的制造方法 | |
| JP2008509005A (ja) | 冷間成形によるリムベッドの製造方法および装置 | |
| JP4429117B2 (ja) | アルミニウム合金製自動車用ホイールリムの製造方法 | |
| JP6187213B2 (ja) | 自動車用ホイールリムの製造方法 | |
| JP5478876B2 (ja) | ホイール用ディスクの製造方法 | |
| JP2003236636A (ja) | 2ピースホイールの製造方法 | |
| JP2011183443A (ja) | 不等厚部材の製造方法および不等厚部材の製造装置 | |
| CN104797353A (zh) | 用于生产不同壁厚的容器管的方法 |
Legal Events
| Date | Code | Title | Description |
|---|---|---|---|
| WWE | Wipo information: entry into national phase |
Ref document number: 200980146003.3 Country of ref document: CN |
|
| 121 | Ep: the epo has been informed by wipo that ep was designated in this application |
Ref document number: 09827561 Country of ref document: EP Kind code of ref document: A1 |
|
| DPE2 | Request for preliminary examination filed before expiration of 19th month from priority date (pct application filed from 20040101) | ||
| ENP | Entry into the national phase |
Ref document number: 20117003605 Country of ref document: KR Kind code of ref document: A |
|
| WWE | Wipo information: entry into national phase |
Ref document number: 3659/DELNP/2011 Country of ref document: IN |
|
| 122 | Ep: pct application non-entry in european phase |
Ref document number: 09827561 Country of ref document: EP Kind code of ref document: A1 |