JP7131663B1 - エレベーターのコンペンロープ引き上げ装置及びエレベーターのコンペンロープ引き上げ方法 - Google Patents
エレベーターのコンペンロープ引き上げ装置及びエレベーターのコンペンロープ引き上げ方法 Download PDFInfo
- Publication number
- JP7131663B1 JP7131663B1 JP2021111712A JP2021111712A JP7131663B1 JP 7131663 B1 JP7131663 B1 JP 7131663B1 JP 2021111712 A JP2021111712 A JP 2021111712A JP 2021111712 A JP2021111712 A JP 2021111712A JP 7131663 B1 JP7131663 B1 JP 7131663B1
- Authority
- JP
- Japan
- Prior art keywords
- compensating
- rope
- nut
- counterweight
- elevator
- Prior art date
- Legal status (The legal status is an assumption and is not a legal conclusion. Google has not performed a legal analysis and makes no representation as to the accuracy of the status listed.)
- Active
Links
Images
Classifications
-
- B—PERFORMING OPERATIONS; TRANSPORTING
- B66—HOISTING; LIFTING; HAULING
- B66B—ELEVATORS; ESCALATORS OR MOVING WALKWAYS
- B66B7/00—Other common features of elevators
- B66B7/06—Arrangements of ropes or cables
-
- B—PERFORMING OPERATIONS; TRANSPORTING
- B66—HOISTING; LIFTING; HAULING
- B66B—ELEVATORS; ESCALATORS OR MOVING WALKWAYS
- B66B11/00—Main component parts of lifts in, or associated with, buildings or other structures
- B66B11/0065—Roping
-
- B—PERFORMING OPERATIONS; TRANSPORTING
- B66—HOISTING; LIFTING; HAULING
- B66B—ELEVATORS; ESCALATORS OR MOVING WALKWAYS
- B66B5/00—Applications of checking, fault-correcting, or safety devices in elevators
-
- F—MECHANICAL ENGINEERING; LIGHTING; HEATING; WEAPONS; BLASTING
- F16—ENGINEERING ELEMENTS AND UNITS; GENERAL MEASURES FOR PRODUCING AND MAINTAINING EFFECTIVE FUNCTIONING OF MACHINES OR INSTALLATIONS; THERMAL INSULATION IN GENERAL
- F16B—DEVICES FOR FASTENING OR SECURING CONSTRUCTIONAL ELEMENTS OR MACHINE PARTS TOGETHER, e.g. NAILS, BOLTS, CIRCLIPS, CLAMPS, CLIPS OR WEDGES; JOINTS OR JOINTING
- F16B39/00—Locking of screws, bolts or nuts
- F16B39/02—Locking of screws, bolts or nuts in which the locking takes place after screwing down
- F16B39/12—Locking of screws, bolts or nuts in which the locking takes place after screwing down by means of locknuts
Landscapes
- Engineering & Computer Science (AREA)
- General Engineering & Computer Science (AREA)
- Mechanical Engineering (AREA)
- Civil Engineering (AREA)
- Structural Engineering (AREA)
- Lift-Guide Devices, And Elevator Ropes And Cables (AREA)
- Maintenance And Inspection Apparatuses For Elevators (AREA)
Abstract
【解決手段】コンペンロープの端部にはコンペンシャックルロッドが接続され、コンペンシャックルロッドをつり合いおもりの取り付け部の貫通孔に下側から挿通して調整ナットを取り付け部の上側から締結することにより、コンペンロープがつり合いおもりに吊り下げられている。コンペンロープ引き上げ装置は、一端にコンペンシャックルロッドの先端に螺合させるナット部が設けられ、他端に引っ掛け部が設けられた接続工具と、引っ掛け部に接続されるホイストと、つり合いおもりの矩形枠からホイストを接続工具よりも上方に吊るすロープと、を備える。
【選択図】図4
Description
1.実施の形態のエレベーター装置の構成
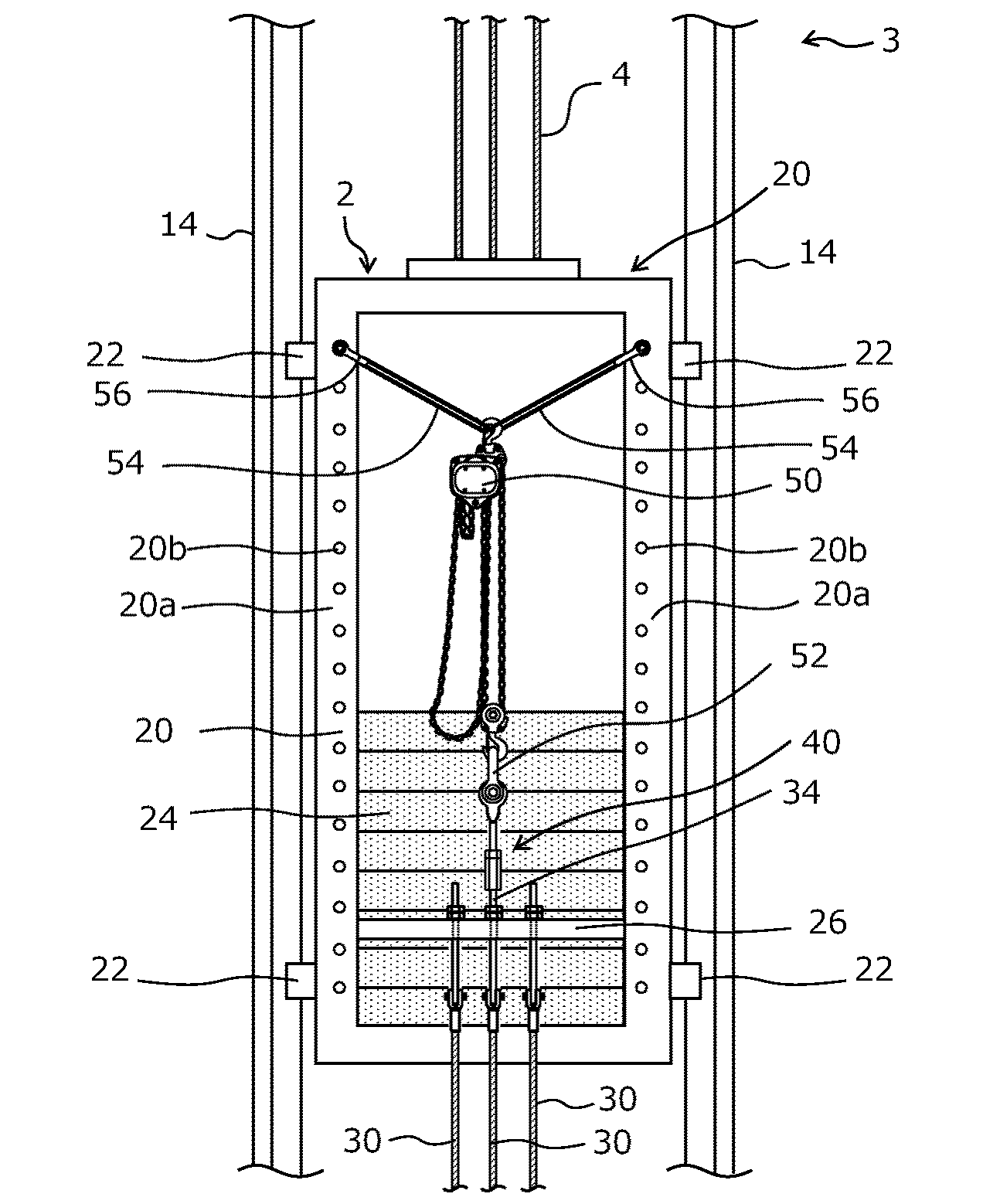
図1は、実施の形態におけるエレベーター装置の例を示す図である。図2は、図1のA-A方向からエレベーター装置を見た図である。エレベーター装置は、かご1及びつり合いおもり2を備える。かご1は、複数のパネル部材を互いに接続して内部空間を形成している。かご1は、昇降路3を上下に移動する。つり合いおもり2は、昇降路3におけるかご1の背面側を上下に移動する。かご1及びつり合いおもり2は、主ロープ4によって昇降路3に吊り下げられる。
エレベーターの主ロープ4及びコンペンロープ30は、経時的に伸びが発生する。主ロープ4及びコンペンロープ30に伸びが発生すると、コンペンシーブ32の位置が下がることとなる。コンペンシーブ32の下部とピット3aの床面とのクリアランスを確保するため、コンペンシャックルロッド34の調整ナット36を締め込む作業が定期的に行われる。
次に、実施の形態のコンペンロープ引き上げ装置を用いたコンペンロープ30の引き上げ方法の手順について詳細に説明する。以下、3本のコンペンロープ30のうちの中央のコンペンロープ30の引き上げ作業について図示するが、左側及び右側のコンペンロープ30についても同様である。
エレベーター装置にコンペンシーブ32の跳ね上がりを抑えるためのロックダウンと呼ばれる安全装置が搭載されている場合、作業員は、事前準備として、当該ロックダウンを取り外しておく。
作業の第一工程では、作業員は、U字環56を用いて、2本ロープ54のループの一端をそれぞれ矩形枠20の左右の孔20bに固定する。この際、作業員は、ロープ54に吊り下げられるホイスト50を後工程で取り付けられる接続工具40よりも上方に配置可能な孔20bを選択する。作業員は、2本のロープ54のループの他端をホイスト50の本体フックに引っ掛ける。これにより、ホイスト50は、2本のロープ54によって接続工具40よりも上方の位置に吊り下げられる。
作業の第二工程では、作業員は、接続工具40をコンペンシャックルロッド34の先端に固定する。図6及び図7は、接続工具の取り付け工程を説明するための図であり、図2のB部を拡大した部分拡大図である。作業員は、コンペンシャックルロッド34に取り付けられている図示しない割りピンを取り外す。次に、作業員は、図6に示すように、本体部42のネジ部42aに固定ナット46及び高ナット44を順に螺合させてネジ部42aの先端部を外部に露出させる。そして、作業員は、接続工具40のネジ部42aの先端をコンペンシャックルロッド34の先端に密着させる。
作業の第三工程では、作業員は、コンペンシャックルロッド34及びコンペンロープ30を引き上げる。図8及び図9は、コンペンロープの引き上げ工程を説明するための図であり、図2のB部を拡大した部分拡大図である。作業員は、コンペンロープ30を引き上げた際にコンペンシャックルロッド34が回転しないように、図示しない廻り止め装置をコンペンシャックルロッド34に取り付ける。廻り止め装置の種類に限定はない。次に、作業員は、接続工具40の引っ掛け部42bにU字環52を取り付ける。次に作業員は、ホイスト50のフック50aをU字環52に引っ掛ける。
以上のようなコンペンロープ引き上げ装置及び引き上げ方法によれば、以下の作用及び効果が得られる。
実施の形態のコンペンロープ引き上げ装置は、以下のように変形した態様を適用してもよい。
Claims (7)
- エレベーターの昇降路内においてつり合いおもりから吊り下げられるコンペンロープを引き上げるためのエレベーターのコンペンロープ引き上げ装置において、
前記コンペンロープの端部にはコンペンシャックルロッドが接続され、前記コンペンシャックルロッドを前記つり合いおもりの取り付け部の貫通孔に下側から挿通して調整ナットを前記取り付け部の上側から締結することにより、前記コンペンロープが前記つり合いおもりに吊り下げられ、
前記コンペンロープ引き上げ装置は、
一端に前記コンペンシャックルロッドの先端に螺合させるナット部が設けられ、他端に引っ掛け部が設けられた接続工具と、
前記引っ掛け部に接続されるホイストと、
前記つり合いおもりの矩形枠から前記ホイストを前記接続工具よりも上方に吊るすロープと、
を備えるエレベーターのコンペンロープ引き上げ装置。 - 前記ナット部は、高ナットであり、
前記接続工具の前記一端は、前記高ナットと螺合するためのネジ山が形成されている
請求項1に記載のエレベーターのコンペンロープ引き上げ装置。 - 前記コンペンシャックルロッドに螺合した前記高ナットを固定するための固定ナットを備える
請求項2に記載のエレベーターのコンペンロープ引き上げ装置。 - 前記接続工具の前記ネジ山には、前記高ナットの適正位置の目安を示す目印が記されている
請求項2又は請求項3に記載のエレベーターのコンペンロープ引き上げ装置。 - 前記ロープは、前記矩形枠の左右の縦はりのそれぞれから前記ホイストを固定するように取り付けられる
請求項1から請求項4の何れか1項に記載のエレベーターのコンペンロープ引き上げ装置。 - 前記引っ掛け部は、円形の孔である
請求項1から請求項5の何れか1項に記載のエレベーターのコンペンロープ引き上げ装置。 - エレベーターの昇降路内においてつり合いおもりから吊り下げられるコンペンロープを引き上げるためのエレベーターのコンペンロープ引き上げ方法において、
前記コンペンロープの端部にはコンペンシャックルロッドが接続され、前記コンペンシャックルロッドを前記つり合いおもりの取り付け部の貫通孔に下側から挿通して調整ナットを前記取り付け部の上側から締結することにより、前記コンペンロープが前記つり合いおもりに吊り下げられ、
前記コンペンロープ引き上げ方法は、
一端にナット部が設けられ、他端に引っ掛け部が設けられた接続工具の前記ナット部を、前記コンペンシャックルロッドの先端に螺合させる工程と、
ホイストを前記つり合いおもりの矩形枠から吊り下げる工程と、
前記ホイストのフックを前記引っ掛け部に引っ掛ける工程と、
前記ホイストを操作して前記接続工具を引き上げる工程と、
前記調整ナットを締め込む工程と、
を備えるエレベーターのコンペンロープ引き上げ方法。
Priority Applications (4)
| Application Number | Priority Date | Filing Date | Title |
|---|---|---|---|
| JP2021111712A JP7131663B1 (ja) | 2021-07-05 | 2021-07-05 | エレベーターのコンペンロープ引き上げ装置及びエレベーターのコンペンロープ引き上げ方法 |
| CN202280007293.9A CN116472243B (zh) | 2021-07-05 | 2022-06-17 | 电梯的补偿绳索上拉装置以及电梯的补偿绳索上拉方法 |
| PCT/JP2022/024358 WO2023282029A1 (ja) | 2021-07-05 | 2022-06-17 | エレベーターのコンペンロープ引き上げ装置及びエレベーターのコンペンロープ引き上げ方法 |
| KR1020237010653A KR102539705B1 (ko) | 2021-07-05 | 2022-06-17 | 엘리베이터의 보상 로프 인상 장치 및 엘리베이터의 보상 로프 인상 방법 |
Applications Claiming Priority (1)
| Application Number | Priority Date | Filing Date | Title |
|---|---|---|---|
| JP2021111712A JP7131663B1 (ja) | 2021-07-05 | 2021-07-05 | エレベーターのコンペンロープ引き上げ装置及びエレベーターのコンペンロープ引き上げ方法 |
Publications (2)
| Publication Number | Publication Date |
|---|---|
| JP7131663B1 true JP7131663B1 (ja) | 2022-09-06 |
| JP2023008280A JP2023008280A (ja) | 2023-01-19 |
Family
ID=83188052
Family Applications (1)
| Application Number | Title | Priority Date | Filing Date |
|---|---|---|---|
| JP2021111712A Active JP7131663B1 (ja) | 2021-07-05 | 2021-07-05 | エレベーターのコンペンロープ引き上げ装置及びエレベーターのコンペンロープ引き上げ方法 |
Country Status (4)
| Country | Link |
|---|---|
| JP (1) | JP7131663B1 (ja) |
| KR (1) | KR102539705B1 (ja) |
| CN (1) | CN116472243B (ja) |
| WO (1) | WO2023282029A1 (ja) |
Citations (5)
| Publication number | Priority date | Publication date | Assignee | Title |
|---|---|---|---|---|
| JPH06239564A (ja) * | 1993-02-15 | 1994-08-30 | Hitachi Building Syst Eng & Service Co Ltd | エレベータの主索取外し用補助装置 |
| JPH0881155A (ja) * | 1994-09-12 | 1996-03-26 | Hitachi Building Syst Eng & Service Co Ltd | 油圧エレベータの主ロープ長さ調整装置 |
| JP2017001778A (ja) * | 2015-06-05 | 2017-01-05 | 三菱電機ビルテクノサービス株式会社 | 調速機用張り車の位置調整方法及び支持アーム |
| JP2017165578A (ja) * | 2016-03-18 | 2017-09-21 | 株式会社日立ビルシステム | エレベーターのコンペンロープ引き上げ装置 |
| KR101980055B1 (ko) * | 2018-11-13 | 2019-05-17 | 권차연 | 엘리베이터케이블 교체장치 |
Family Cites Families (8)
| Publication number | Priority date | Publication date | Assignee | Title |
|---|---|---|---|---|
| JP2857507B2 (ja) * | 1991-03-26 | 1999-02-17 | 株式会社日立ビルシステム | エレベータの主ロープの張力調整装置 |
| JP2000309478A (ja) * | 1999-04-23 | 2000-11-07 | Hitachi Building Systems Co Ltd | エレベータのコンペンロープ引き上げ装置 |
| JP3994631B2 (ja) | 2000-05-26 | 2007-10-24 | フジテック株式会社 | エレベータの主ロープ伸び調整方法 |
| JP2003137484A (ja) * | 2001-10-30 | 2003-05-14 | Hitachi Building Systems Co Ltd | エレベーターの主ロープの張力調整装置 |
| JP2006124064A (ja) * | 2004-10-27 | 2006-05-18 | Hitachi Building Systems Co Ltd | エレベータの主ロープ張力調整装置 |
| WO2013118167A1 (ja) * | 2012-02-08 | 2013-08-15 | 株式会社 日立製作所 | ダブルデッキエレベーター |
| CN106966281A (zh) * | 2017-05-09 | 2017-07-21 | 重庆迈高电梯有限公司 | 一种电梯自适应补偿链装置 |
| JP6673612B2 (ja) * | 2018-07-10 | 2020-03-25 | 東芝エレベータ株式会社 | コンペンシーブ下クリアランスの調整方法および装置 |
-
2021
- 2021-07-05 JP JP2021111712A patent/JP7131663B1/ja active Active
-
2022
- 2022-06-17 CN CN202280007293.9A patent/CN116472243B/zh active Active
- 2022-06-17 KR KR1020237010653A patent/KR102539705B1/ko active Active
- 2022-06-17 WO PCT/JP2022/024358 patent/WO2023282029A1/ja not_active Ceased
Patent Citations (5)
| Publication number | Priority date | Publication date | Assignee | Title |
|---|---|---|---|---|
| JPH06239564A (ja) * | 1993-02-15 | 1994-08-30 | Hitachi Building Syst Eng & Service Co Ltd | エレベータの主索取外し用補助装置 |
| JPH0881155A (ja) * | 1994-09-12 | 1996-03-26 | Hitachi Building Syst Eng & Service Co Ltd | 油圧エレベータの主ロープ長さ調整装置 |
| JP2017001778A (ja) * | 2015-06-05 | 2017-01-05 | 三菱電機ビルテクノサービス株式会社 | 調速機用張り車の位置調整方法及び支持アーム |
| JP2017165578A (ja) * | 2016-03-18 | 2017-09-21 | 株式会社日立ビルシステム | エレベーターのコンペンロープ引き上げ装置 |
| KR101980055B1 (ko) * | 2018-11-13 | 2019-05-17 | 권차연 | 엘리베이터케이블 교체장치 |
Also Published As
| Publication number | Publication date |
|---|---|
| KR102539705B1 (ko) | 2023-06-02 |
| KR20230045110A (ko) | 2023-04-04 |
| CN116472243A (zh) | 2023-07-21 |
| JP2023008280A (ja) | 2023-01-19 |
| WO2023282029A1 (ja) | 2023-01-12 |
| CN116472243B (zh) | 2023-12-01 |
Similar Documents
| Publication | Publication Date | Title |
|---|---|---|
| JP7131663B1 (ja) | エレベーターのコンペンロープ引き上げ装置及びエレベーターのコンペンロープ引き上げ方法 | |
| JP4089986B2 (ja) | 油圧エレベータの主ロープ取り替え工法 | |
| JPH08133622A (ja) | チェーンブロック用ロープクランプ装置 | |
| US20250083928A1 (en) | Construction lifting device and leaping methods for construction lifting devices | |
| JPH09240957A (ja) | エレベーターの主索案内装置 | |
| JP2865540B2 (ja) | エレベーターの乗りかご吊上げ装置 | |
| JP6272406B2 (ja) | エレベーター調速機ロープの保持具及びエレベーター調速機の取り替え方法 | |
| JP2003128359A (ja) | エレベータのロープ掛け方法 | |
| KR100365315B1 (ko) | 엘리베이터 하중측정장치 | |
| JP2000143122A (ja) | サイドフォーク式エレベータの主ロープ取替方法 | |
| JP2000309478A (ja) | エレベータのコンペンロープ引き上げ装置 | |
| JP7436126B1 (ja) | エレベーターのゴンドラ設置方法、及びゴンドラ装置 | |
| JP2912989B2 (ja) | エレベーターの主ロープ掛け工法 | |
| JPH0881155A (ja) | 油圧エレベータの主ロープ長さ調整装置 | |
| JP2601921B2 (ja) | つり合いおもりの支持方法および装置 | |
| JP2002265164A (ja) | 2対1ローピングエレベータの主ロープ交換方法およびその主ロープ交換用装置 | |
| JPH11189378A (ja) | 2:1ローピングエレベータの主ロープ装着治具 | |
| JP3464395B2 (ja) | エレベータの主索交換方法 | |
| JP2001335258A (ja) | エレベータの主ロープ伸び調整装置及び方法 | |
| JPH0741746Y2 (ja) | エレベ−タの据付装置 | |
| JP2024170952A (ja) | アタッチメント、吊り上げ補助治具および吊り上げ補助装置 | |
| JP4652850B2 (ja) | トラクション方式かつ下部懸架方式エレベータの主ロープ取り替え方法 | |
| JPH0530754B2 (ja) | ||
| WO2025115247A1 (ja) | エレベーターの固定ロッド把持装置及びメインロープ交換方法 | |
| JP3471232B2 (ja) | エレベータ主索の交換方法 |
Legal Events
| Date | Code | Title | Description |
|---|---|---|---|
| A621 | Written request for application examination |
Free format text: JAPANESE INTERMEDIATE CODE: A621 Effective date: 20220602 |
|
| A521 | Request for written amendment filed |
Free format text: JAPANESE INTERMEDIATE CODE: A523 Effective date: 20220617 |
|
| TRDD | Decision of grant or rejection written | ||
| A01 | Written decision to grant a patent or to grant a registration (utility model) |
Free format text: JAPANESE INTERMEDIATE CODE: A01 Effective date: 20220726 |
|
| A61 | First payment of annual fees (during grant procedure) |
Free format text: JAPANESE INTERMEDIATE CODE: A61 Effective date: 20220808 |
|
| R150 | Certificate of patent or registration of utility model |
Ref document number: 7131663 Country of ref document: JP Free format text: JAPANESE INTERMEDIATE CODE: R150 |
|
| R250 | Receipt of annual fees |
Free format text: JAPANESE INTERMEDIATE CODE: R250 |
