JP6923402B2 - モノリスニチノール合金 - Google Patents
モノリスニチノール合金 Download PDFInfo
- Publication number
- JP6923402B2 JP6923402B2 JP2017179861A JP2017179861A JP6923402B2 JP 6923402 B2 JP6923402 B2 JP 6923402B2 JP 2017179861 A JP2017179861 A JP 2017179861A JP 2017179861 A JP2017179861 A JP 2017179861A JP 6923402 B2 JP6923402 B2 JP 6923402B2
- Authority
- JP
- Japan
- Prior art keywords
- nitinol
- weld
- laser
- shape memory
- monolith
- Prior art date
- Legal status (The legal status is an assumption and is not a legal conclusion. Google has not performed a legal analysis and makes no representation as to the accuracy of the status listed.)
- Active
Links
Images
Classifications
-
- C—CHEMISTRY; METALLURGY
- C22—METALLURGY; FERROUS OR NON-FERROUS ALLOYS; TREATMENT OF ALLOYS OR NON-FERROUS METALS
- C22F—CHANGING THE PHYSICAL STRUCTURE OF NON-FERROUS METALS AND NON-FERROUS ALLOYS
- C22F1/00—Changing the physical structure of non-ferrous metals or alloys by heat treatment or by hot or cold working
- C22F1/006—Resulting in heat recoverable alloys with a memory effect
-
- B—PERFORMING OPERATIONS; TRANSPORTING
- B23—MACHINE TOOLS; METAL-WORKING NOT OTHERWISE PROVIDED FOR
- B23K—SOLDERING OR UNSOLDERING; WELDING; CLADDING OR PLATING BY SOLDERING OR WELDING; CUTTING BY APPLYING HEAT LOCALLY, e.g. FLAME CUTTING; WORKING BY LASER BEAM
- B23K26/00—Working by laser beam, e.g. welding, cutting or boring
- B23K26/0006—Working by laser beam, e.g. welding, cutting or boring taking account of the properties of the material involved
-
- B—PERFORMING OPERATIONS; TRANSPORTING
- B23—MACHINE TOOLS; METAL-WORKING NOT OTHERWISE PROVIDED FOR
- B23K—SOLDERING OR UNSOLDERING; WELDING; CLADDING OR PLATING BY SOLDERING OR WELDING; CUTTING BY APPLYING HEAT LOCALLY, e.g. FLAME CUTTING; WORKING BY LASER BEAM
- B23K26/00—Working by laser beam, e.g. welding, cutting or boring
- B23K26/02—Positioning or observing the workpiece, e.g. with respect to the point of impact; Aligning, aiming or focusing the laser beam
- B23K26/06—Shaping the laser beam, e.g. by masks or multi-focusing
- B23K26/062—Shaping the laser beam, e.g. by masks or multi-focusing by direct control of the laser beam
-
- B—PERFORMING OPERATIONS; TRANSPORTING
- B23—MACHINE TOOLS; METAL-WORKING NOT OTHERWISE PROVIDED FOR
- B23K—SOLDERING OR UNSOLDERING; WELDING; CLADDING OR PLATING BY SOLDERING OR WELDING; CUTTING BY APPLYING HEAT LOCALLY, e.g. FLAME CUTTING; WORKING BY LASER BEAM
- B23K26/00—Working by laser beam, e.g. welding, cutting or boring
- B23K26/02—Positioning or observing the workpiece, e.g. with respect to the point of impact; Aligning, aiming or focusing the laser beam
- B23K26/06—Shaping the laser beam, e.g. by masks or multi-focusing
- B23K26/062—Shaping the laser beam, e.g. by masks or multi-focusing by direct control of the laser beam
- B23K26/0622—Shaping the laser beam, e.g. by masks or multi-focusing by direct control of the laser beam by shaping pulses
-
- B—PERFORMING OPERATIONS; TRANSPORTING
- B23—MACHINE TOOLS; METAL-WORKING NOT OTHERWISE PROVIDED FOR
- B23K—SOLDERING OR UNSOLDERING; WELDING; CLADDING OR PLATING BY SOLDERING OR WELDING; CUTTING BY APPLYING HEAT LOCALLY, e.g. FLAME CUTTING; WORKING BY LASER BEAM
- B23K26/00—Working by laser beam, e.g. welding, cutting or boring
- B23K26/352—Working by laser beam, e.g. welding, cutting or boring for surface treatment
- B23K26/355—Texturing
-
- B—PERFORMING OPERATIONS; TRANSPORTING
- B23—MACHINE TOOLS; METAL-WORKING NOT OTHERWISE PROVIDED FOR
- B23K—SOLDERING OR UNSOLDERING; WELDING; CLADDING OR PLATING BY SOLDERING OR WELDING; CUTTING BY APPLYING HEAT LOCALLY, e.g. FLAME CUTTING; WORKING BY LASER BEAM
- B23K26/00—Working by laser beam, e.g. welding, cutting or boring
- B23K26/36—Removing material
- B23K26/40—Removing material taking account of the properties of the material involved
-
- B—PERFORMING OPERATIONS; TRANSPORTING
- B23—MACHINE TOOLS; METAL-WORKING NOT OTHERWISE PROVIDED FOR
- B23K—SOLDERING OR UNSOLDERING; WELDING; CLADDING OR PLATING BY SOLDERING OR WELDING; CUTTING BY APPLYING HEAT LOCALLY, e.g. FLAME CUTTING; WORKING BY LASER BEAM
- B23K26/00—Working by laser beam, e.g. welding, cutting or boring
- B23K26/36—Removing material
- B23K26/40—Removing material taking account of the properties of the material involved
- B23K26/402—Removing material taking account of the properties of the material involved involving non-metallic material, e.g. isolators
-
- B—PERFORMING OPERATIONS; TRANSPORTING
- B23—MACHINE TOOLS; METAL-WORKING NOT OTHERWISE PROVIDED FOR
- B23K—SOLDERING OR UNSOLDERING; WELDING; CLADDING OR PLATING BY SOLDERING OR WELDING; CUTTING BY APPLYING HEAT LOCALLY, e.g. FLAME CUTTING; WORKING BY LASER BEAM
- B23K26/00—Working by laser beam, e.g. welding, cutting or boring
- B23K26/50—Working by transmitting the laser beam through or within the workpiece
-
- B—PERFORMING OPERATIONS; TRANSPORTING
- B23—MACHINE TOOLS; METAL-WORKING NOT OTHERWISE PROVIDED FOR
- B23K—SOLDERING OR UNSOLDERING; WELDING; CLADDING OR PLATING BY SOLDERING OR WELDING; CUTTING BY APPLYING HEAT LOCALLY, e.g. FLAME CUTTING; WORKING BY LASER BEAM
- B23K26/00—Working by laser beam, e.g. welding, cutting or boring
- B23K26/50—Working by transmitting the laser beam through or within the workpiece
- B23K26/53—Working by transmitting the laser beam through or within the workpiece for modifying or reforming the material inside the workpiece, e.g. for producing break initiation cracks
-
- B—PERFORMING OPERATIONS; TRANSPORTING
- B23—MACHINE TOOLS; METAL-WORKING NOT OTHERWISE PROVIDED FOR
- B23K—SOLDERING OR UNSOLDERING; WELDING; CLADDING OR PLATING BY SOLDERING OR WELDING; CUTTING BY APPLYING HEAT LOCALLY, e.g. FLAME CUTTING; WORKING BY LASER BEAM
- B23K26/00—Working by laser beam, e.g. welding, cutting or boring
- B23K26/60—Preliminary treatment
-
- B—PERFORMING OPERATIONS; TRANSPORTING
- B29—WORKING OF PLASTICS; WORKING OF SUBSTANCES IN A PLASTIC STATE IN GENERAL
- B29C—SHAPING OR JOINING OF PLASTICS; SHAPING OF MATERIAL IN A PLASTIC STATE, NOT OTHERWISE PROVIDED FOR; AFTER-TREATMENT OF THE SHAPED PRODUCTS, e.g. REPAIRING
- B29C71/00—After-treatment of articles without altering their shape; Apparatus therefor
- B29C71/04—After-treatment of articles without altering their shape; Apparatus therefor by wave energy or particle radiation, e.g. for curing or vulcanising preformed articles
-
- C—CHEMISTRY; METALLURGY
- C22—METALLURGY; FERROUS OR NON-FERROUS ALLOYS; TREATMENT OF ALLOYS OR NON-FERROUS METALS
- C22C—ALLOYS
- C22C19/00—Alloys based on nickel or cobalt
- C22C19/007—Alloys based on nickel or cobalt with a light metal (alkali metal Li, Na, K, Rb, Cs; earth alkali metal Be, Mg, Ca, Sr, Ba, Al Ga, Ge, Ti) or B, Si, Zr, Hf, Sc, Y, lanthanides, actinides, as the next major constituent
-
- C—CHEMISTRY; METALLURGY
- C22—METALLURGY; FERROUS OR NON-FERROUS ALLOYS; TREATMENT OF ALLOYS OR NON-FERROUS METALS
- C22F—CHANGING THE PHYSICAL STRUCTURE OF NON-FERROUS METALS AND NON-FERROUS ALLOYS
- C22F1/00—Changing the physical structure of non-ferrous metals or alloys by heat treatment or by hot or cold working
- C22F1/10—Changing the physical structure of non-ferrous metals or alloys by heat treatment or by hot or cold working of nickel or cobalt or alloys based thereon
-
- B—PERFORMING OPERATIONS; TRANSPORTING
- B23—MACHINE TOOLS; METAL-WORKING NOT OTHERWISE PROVIDED FOR
- B23K—SOLDERING OR UNSOLDERING; WELDING; CLADDING OR PLATING BY SOLDERING OR WELDING; CUTTING BY APPLYING HEAT LOCALLY, e.g. FLAME CUTTING; WORKING BY LASER BEAM
- B23K2103/00—Materials to be soldered, welded or cut
- B23K2103/30—Organic material
- B23K2103/42—Plastics
-
- B—PERFORMING OPERATIONS; TRANSPORTING
- B23—MACHINE TOOLS; METAL-WORKING NOT OTHERWISE PROVIDED FOR
- B23K—SOLDERING OR UNSOLDERING; WELDING; CLADDING OR PLATING BY SOLDERING OR WELDING; CUTTING BY APPLYING HEAT LOCALLY, e.g. FLAME CUTTING; WORKING BY LASER BEAM
- B23K2103/00—Materials to be soldered, welded or cut
- B23K2103/50—Inorganic material, e.g. metals, not provided for in B23K2103/02 – B23K2103/26
-
- B—PERFORMING OPERATIONS; TRANSPORTING
- B29—WORKING OF PLASTICS; WORKING OF SUBSTANCES IN A PLASTIC STATE IN GENERAL
- B29C—SHAPING OR JOINING OF PLASTICS; SHAPING OF MATERIAL IN A PLASTIC STATE, NOT OTHERWISE PROVIDED FOR; AFTER-TREATMENT OF THE SHAPED PRODUCTS, e.g. REPAIRING
- B29C35/00—Heating, cooling or curing, e.g. crosslinking or vulcanising; Apparatus therefor
- B29C35/02—Heating or curing, e.g. crosslinking or vulcanizing during moulding, e.g. in a mould
- B29C35/08—Heating or curing, e.g. crosslinking or vulcanizing during moulding, e.g. in a mould by wave energy or particle radiation
- B29C35/0805—Heating or curing, e.g. crosslinking or vulcanizing during moulding, e.g. in a mould by wave energy or particle radiation using electromagnetic radiation
- B29C2035/0838—Heating or curing, e.g. crosslinking or vulcanizing during moulding, e.g. in a mould by wave energy or particle radiation using electromagnetic radiation using laser
-
- B—PERFORMING OPERATIONS; TRANSPORTING
- B29—WORKING OF PLASTICS; WORKING OF SUBSTANCES IN A PLASTIC STATE IN GENERAL
- B29C—SHAPING OR JOINING OF PLASTICS; SHAPING OF MATERIAL IN A PLASTIC STATE, NOT OTHERWISE PROVIDED FOR; AFTER-TREATMENT OF THE SHAPED PRODUCTS, e.g. REPAIRING
- B29C35/00—Heating, cooling or curing, e.g. crosslinking or vulcanising; Apparatus therefor
- B29C35/02—Heating or curing, e.g. crosslinking or vulcanizing during moulding, e.g. in a mould
- B29C35/0266—Local curing
-
- C—CHEMISTRY; METALLURGY
- C21—METALLURGY OF IRON
- C21D—MODIFYING THE PHYSICAL STRUCTURE OF FERROUS METALS; GENERAL DEVICES FOR HEAT TREATMENT OF FERROUS OR NON-FERROUS METALS OR ALLOYS; MAKING METAL MALLEABLE, e.g. BY DECARBURISATION OR TEMPERING
- C21D2201/00—Treatment for obtaining particular effects
- C21D2201/01—Shape memory effect
-
- C—CHEMISTRY; METALLURGY
- C22—METALLURGY; FERROUS OR NON-FERROUS ALLOYS; TREATMENT OF ALLOYS OR NON-FERROUS METALS
- C22B—PRODUCTION AND REFINING OF METALS; PRETREATMENT OF RAW MATERIALS
- C22B9/00—General processes of refining or remelting of metals; Apparatus for electroslag or arc remelting of metals
- C22B9/16—Remelting metals
- C22B9/22—Remelting metals with heating by wave energy or particle radiation
- C22B9/221—Remelting metals with heating by wave energy or particle radiation by electromagnetic waves, e.g. by gas discharge lamps
- C22B9/223—Remelting metals with heating by wave energy or particle radiation by electromagnetic waves, e.g. by gas discharge lamps by laser beams
Landscapes
- Engineering & Computer Science (AREA)
- Physics & Mathematics (AREA)
- Optics & Photonics (AREA)
- Mechanical Engineering (AREA)
- Chemical & Material Sciences (AREA)
- Plasma & Fusion (AREA)
- Materials Engineering (AREA)
- Metallurgy (AREA)
- Organic Chemistry (AREA)
- Thermal Sciences (AREA)
- Crystallography & Structural Chemistry (AREA)
- General Chemical & Material Sciences (AREA)
- Chemical Kinetics & Catalysis (AREA)
- Oil, Petroleum & Natural Gas (AREA)
- Health & Medical Sciences (AREA)
- Oral & Maxillofacial Surgery (AREA)
- Electromagnetism (AREA)
- Manufacturing & Machinery (AREA)
- Laser Beam Processing (AREA)
- Physical Or Chemical Processes And Apparatus (AREA)
- Cleaning In General (AREA)
- Cleaning And De-Greasing Of Metallic Materials By Chemical Methods (AREA)
- Powder Metallurgy (AREA)
- Glass Compositions (AREA)
- Moulds For Moulding Plastics Or The Like (AREA)
Description
f=100V/(ds)(100−%OL) 〔1〕
η=E2/(E2+E1) 〔2〕
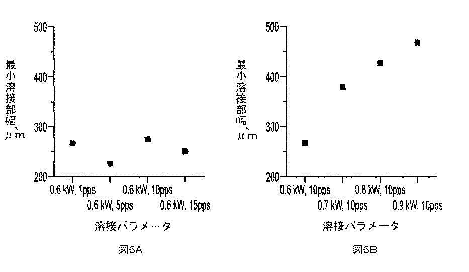
結合方法としては、固相拡散結合/ろう付け、レーザ溶接、アーク溶接、抵抗溶接などが挙げられる。ある場合には、エネルギを添加して(例えば、本明細書に記載のプロセスを用いて)、異なる変態点を有する形状記憶材料を互いに結合し、例えば、結合部位に第3の変態点を有するモノリスな形状記憶成分を生成することも期待される。
Claims (4)
- 少なくとも2つの変態点を有するモノリスニチノール合金であって、
前記モノリスニチノール合金の固有の性質に基づく第1の変態点を有し、
前記モノリスニチノール合金の残りの第1の変態点と異なる少なくとも第2の変態点を有し、前記少なくとも第2の変態点は、前記モノリスニチノール合金の所定部分のニチノールが相変化し、前記所定部分の局所の組成が変化していることによって付加されていることを特徴とするモノリスニチノール合金。 - 前記モノリスニチノール合金の前記所定部分が、変化した表面テクスチャを含む請求項1に記載のモノリスニチノール合金。
- 前記所定部分の前記モノリスニチノール合金の表面上に耐食性の酸化物層をさらに含む請求項1に記載のモノリスニチノール合金。
- 前記モノリスニチノール合金の前記所定部分の擬弾性特性が変化している請求項1に記載のモノリスニチノール合金。
Applications Claiming Priority (5)
| Application Number | Priority Date | Filing Date | Title |
|---|---|---|---|
| US23224309P | 2009-08-07 | 2009-08-07 | |
| US61/232,243 | 2009-08-07 | ||
| US29236710P | 2010-01-05 | 2010-01-05 | |
| US61/292,367 | 2010-01-05 | ||
| JP2012523172A JP6245805B2 (ja) | 2009-08-07 | 2010-08-06 | 形状記憶材料の処理方法および形状記憶材料の処理装置 |
Related Parent Applications (1)
| Application Number | Title | Priority Date | Filing Date |
|---|---|---|---|
| JP2012523172A Division JP6245805B2 (ja) | 2009-08-07 | 2010-08-06 | 形状記憶材料の処理方法および形状記憶材料の処理装置 |
Related Child Applications (1)
| Application Number | Title | Priority Date | Filing Date |
|---|---|---|---|
| JP2020016009A Division JP2020097790A (ja) | 2009-08-07 | 2020-02-03 | 形状記憶材料 |
Publications (2)
| Publication Number | Publication Date |
|---|---|
| JP2018053362A JP2018053362A (ja) | 2018-04-05 |
| JP6923402B2 true JP6923402B2 (ja) | 2021-08-18 |
Family
ID=43543852
Family Applications (4)
| Application Number | Title | Priority Date | Filing Date |
|---|---|---|---|
| JP2012523172A Active JP6245805B2 (ja) | 2009-08-07 | 2010-08-06 | 形状記憶材料の処理方法および形状記憶材料の処理装置 |
| JP2015156747A Active JP6527780B2 (ja) | 2009-08-07 | 2015-08-07 | 一体の形状記憶材料の処理方法、材料の処理装置および材料の処理方法 |
| JP2017179861A Active JP6923402B2 (ja) | 2009-08-07 | 2017-09-20 | モノリスニチノール合金 |
| JP2020016009A Pending JP2020097790A (ja) | 2009-08-07 | 2020-02-03 | 形状記憶材料 |
Family Applications Before (2)
| Application Number | Title | Priority Date | Filing Date |
|---|---|---|---|
| JP2012523172A Active JP6245805B2 (ja) | 2009-08-07 | 2010-08-06 | 形状記憶材料の処理方法および形状記憶材料の処理装置 |
| JP2015156747A Active JP6527780B2 (ja) | 2009-08-07 | 2015-08-07 | 一体の形状記憶材料の処理方法、材料の処理装置および材料の処理方法 |
Family Applications After (1)
| Application Number | Title | Priority Date | Filing Date |
|---|---|---|---|
| JP2020016009A Pending JP2020097790A (ja) | 2009-08-07 | 2020-02-03 | 形状記憶材料 |
Country Status (8)
| Country | Link |
|---|---|
| US (3) | US9186853B2 (ja) |
| EP (1) | EP2461900A4 (ja) |
| JP (4) | JP6245805B2 (ja) |
| CN (1) | CN102665891B (ja) |
| CA (2) | CA3016976C (ja) |
| IL (4) | IL217973A (ja) |
| IN (1) | IN2012DN01421A (ja) |
| WO (1) | WO2011014962A1 (ja) |
Families Citing this family (57)
| Publication number | Priority date | Publication date | Assignee | Title |
|---|---|---|---|---|
| ES2725721T3 (es) | 2004-02-03 | 2019-09-26 | V Wave Ltd | Dispositivo y método para controlar la presión in vivo |
| US9681948B2 (en) | 2006-01-23 | 2017-06-20 | V-Wave Ltd. | Heart anchor device |
| US12453626B2 (en) | 2009-05-04 | 2025-10-28 | V-Wave Ltd. | Shunt for redistributing atrial blood volume |
| US12186176B2 (en) | 2009-05-04 | 2025-01-07 | V-Wave Ltd. | Shunt for redistributing atrial blood volume |
| EP2427143B1 (en) | 2009-05-04 | 2017-08-02 | V-Wave Ltd. | Device for regulating pressure in a heart chamber |
| US9034034B2 (en) | 2010-12-22 | 2015-05-19 | V-Wave Ltd. | Devices for reducing left atrial pressure, and methods of making and using same |
| US9186853B2 (en) * | 2009-08-07 | 2015-11-17 | Smarter Alloys Inc. | Methods and systems for processing materials, including shape memory materials |
| US11135054B2 (en) | 2011-07-28 | 2021-10-05 | V-Wave Ltd. | Interatrial shunts having biodegradable material, and methods of making and using same |
| JP5910036B2 (ja) * | 2011-11-30 | 2016-04-27 | 株式会社ジェイテクト | 回転機用ロータの製造方法 |
| DE102011121545B4 (de) * | 2011-12-20 | 2013-07-11 | Eads Deutschland Gmbh | Verfahren zur Strukturierung und chemischen Modifikation einer Oberfläche eines Werkstücks |
| US20130240096A1 (en) * | 2012-03-16 | 2013-09-19 | Gm Global Technology Operations Llc. | Phase change graded sma actuators |
| US9095891B2 (en) | 2013-02-21 | 2015-08-04 | Dusan Milicevic | Method of eliminating the heat affected zone in a welded crankshaft |
| DE102013008396B4 (de) * | 2013-05-17 | 2015-04-02 | G. Rau Gmbh & Co. Kg | Verfahren und Vorrichtung zum Umschmelzen und/oder Umschmelzlegieren metallischer Werkstoffe, insbesondere von Nitinol |
| ES2800029T3 (es) | 2013-05-21 | 2020-12-23 | V Wave Ltd | Aparato para aplicar dispositivos para reducir la presión atrial izquierda |
| US10463453B2 (en) * | 2013-09-06 | 2019-11-05 | Ormco Corporation | Orthodontic appliances and methods of making and using same |
| JP2017527694A (ja) * | 2014-07-14 | 2017-09-21 | スマーター アロイズ インコーポレーテッド | 複記憶材料、システム、方法及びその応用 |
| JP5911939B1 (ja) * | 2014-10-14 | 2016-04-27 | ファナック株式会社 | 共通加減速制御部による任意ブロック間のオーバラップ機能を備えた数値制御装置 |
| CA2905856A1 (en) * | 2015-02-10 | 2016-08-10 | Bauer Hockey Corp. | Footbed and other wearable articles |
| US20170224444A1 (en) * | 2015-04-06 | 2017-08-10 | Smarter Alloys Inc. | Systems and methods for orthodontic archwires for malocclusions |
| US10940296B2 (en) | 2015-05-07 | 2021-03-09 | The Medical Research, Infrastructure and Health Services Fund of the Tel Aviv Medical Center | Temporary interatrial shunts |
| US20160368078A1 (en) * | 2015-06-18 | 2016-12-22 | Ford Global Technologies, Llc | Method of welding workpieces together while minimizing distortion |
| US10835394B2 (en) | 2016-05-31 | 2020-11-17 | V-Wave, Ltd. | Systems and methods for making encapsulated hourglass shaped stents |
| US20170340460A1 (en) | 2016-05-31 | 2017-11-30 | V-Wave Ltd. | Systems and methods for making encapsulated hourglass shaped stents |
| CN106191480B (zh) * | 2016-07-05 | 2018-05-04 | 大连大学 | 一种NiMnGa多晶合金表面改性的方法 |
| US10426267B2 (en) | 2016-09-09 | 2019-10-01 | Steelcase Inc. | Office systems with shape memory materials |
| EP3513490B1 (en) * | 2016-09-14 | 2024-12-11 | Smarter Alloys Inc. | Shape memory alloy actuator with strain gauge sensor and position estimation and method for manufacturing same |
| EP3343078A1 (en) | 2016-12-29 | 2018-07-04 | L&P Property Management Company | Valve with shape memory alloy wire |
| US11291807B2 (en) | 2017-03-03 | 2022-04-05 | V-Wave Ltd. | Asymmetric shunt for redistributing atrial blood volume |
| CN110536657B (zh) | 2017-03-03 | 2022-03-11 | V-波有限责任公司 | 用于重新分配心房血量的分流器 |
| US20220211523A1 (en) * | 2017-03-23 | 2022-07-07 | University Of North Texas | Laser dimpled stent for prevention of restenosis |
| US10596016B2 (en) | 2017-09-08 | 2020-03-24 | Cook Medical Technologies Llc | Endovascular device configured for sequenced shape memory deployment in a body vessel |
| RU2677033C1 (ru) * | 2017-12-27 | 2019-01-15 | Станислав Викторович Евсеев | Способ обработки поверхности сплава никелида титана |
| EP3740163A1 (en) | 2018-01-20 | 2020-11-25 | V-Wave Ltd. | Devices and methods for providing passage between heart chambers |
| US10898698B1 (en) | 2020-05-04 | 2021-01-26 | V-Wave Ltd. | Devices with dimensions that can be reduced and increased in vivo, and methods of making and using the same |
| US11458287B2 (en) | 2018-01-20 | 2022-10-04 | V-Wave Ltd. | Devices with dimensions that can be reduced and increased in vivo, and methods of making and using the same |
| WO2019154927A1 (en) | 2018-02-09 | 2019-08-15 | The Provost, Fellows, Foundation Scholars, And The Other Members Of Board, Of The College Of The Holy And Undivided Trinity Of Queen Elizabeth Near Dublin | A heart valve therapeutic device |
| CA3100228A1 (en) | 2018-05-16 | 2019-11-21 | Smarter Alloys Inc. | Shape memory alloy valve and method for fabrication thereof |
| DE102018133553A1 (de) * | 2018-12-21 | 2020-06-25 | Fraunhofer-Gesellschaft zur Förderung der angewandten Forschung eingetragener Verein | Gegenstand mit einem Metallsubstrat und einem Kanal im Metallsubstrat sowie Verfahren zu dessen Herstellung |
| CN109648082B (zh) * | 2019-01-24 | 2021-08-06 | 华南理工大学 | 一种钛镍形状记忆合金的4d打印方法及应用 |
| EP3699466B1 (en) | 2019-02-19 | 2022-07-13 | Schukra Gerätebau GmbH | Fluid valve system with modules and method of producing the same |
| US11612385B2 (en) | 2019-04-03 | 2023-03-28 | V-Wave Ltd. | Systems and methods for delivering implantable devices across an atrial septum |
| US12226602B2 (en) | 2019-04-03 | 2025-02-18 | V-Wave Ltd. | Systems for delivering implantable devices across an atrial septum |
| US11865282B2 (en) | 2019-05-20 | 2024-01-09 | V-Wave Ltd. | Systems and methods for creating an interatrial shunt |
| EP3990813A4 (en) | 2019-06-28 | 2023-08-02 | Leggett & Platt Canada Co. | FLUID MANAGEMENT SYSTEM |
| CA3148739A1 (en) | 2019-08-05 | 2021-02-11 | Croivalve Ltd. | Apparatus and methods for treating a defective cardiac valve |
| US12146583B2 (en) | 2019-08-09 | 2024-11-19 | Leggett & Platt Canada Co. | Latching valve |
| US12338812B2 (en) | 2019-11-01 | 2025-06-24 | Leggett & Platt Canada Co. | Pump noise attenuator and method thereof |
| US12247562B2 (en) | 2019-11-01 | 2025-03-11 | Leggett & Platt Canada Co. | Pump noise attenuator and method thereof |
| EP3869074B1 (en) | 2020-02-24 | 2023-06-21 | Schukra Berndorf GmbH | Electrically actuated valves |
| US11234702B1 (en) | 2020-11-13 | 2022-02-01 | V-Wave Ltd. | Interatrial shunt having physiologic sensor |
| US11808374B2 (en) | 2020-12-30 | 2023-11-07 | Leggett & Platt Canada Co. | Fluid management system |
| US20240254975A1 (en) | 2021-05-07 | 2024-08-01 | Smarter Alloys Inc. | Heat engine system and method |
| CA3220387A1 (en) * | 2021-05-28 | 2022-12-01 | Mohammad Ibrahem KHAN | Surgical devices using shape memory materials |
| CN115703153B (zh) * | 2021-08-17 | 2024-10-01 | 中国科学院福建物质结构研究所 | 一种基于激光选区熔化方法优化镍钛合金性能的方法 |
| US20230233834A1 (en) * | 2021-11-16 | 2023-07-27 | Theodosios Alexander | Collapsing and expanding structures with shape memory materials at multiple temperatures |
| JP2025512028A (ja) | 2022-04-14 | 2025-04-16 | ブイ-ウェーブ リミテッド | 拡張された縮径部領域を伴う心房間シャント |
| US12296122B2 (en) | 2023-10-18 | 2025-05-13 | V-Wave Ltd. | Hybrid devices with dimensions that can be adjusted in vivo and methods of manufacturing thereof |
Family Cites Families (68)
| Publication number | Priority date | Publication date | Assignee | Title |
|---|---|---|---|---|
| US3615345A (en) * | 1968-08-28 | 1971-10-26 | Westinghouse Electric Corp | Method for producing ultra-high purity metal |
| US3909246A (en) * | 1972-12-20 | 1975-09-30 | Hughes Aircraft Co | Process for removing impurities from zone refined materials |
| JPS58151445A (ja) * | 1982-02-27 | 1983-09-08 | Tohoku Metal Ind Ltd | 可逆形状記憶効果を有するチタンニツケル合金およびその製造方法 |
| JPS6059054A (ja) | 1983-09-13 | 1985-04-05 | Toshiba Corp | 熱応動素子 |
| JPS6146201A (ja) | 1984-08-13 | 1986-03-06 | Mitsubishi Heavy Ind Ltd | 蒸気再圧縮式蒸発装置 |
| JPS6196025A (ja) | 1984-10-15 | 1986-05-14 | Mitsubishi Heavy Ind Ltd | 部材の非鋭敏化法 |
| US5171383A (en) | 1987-01-07 | 1992-12-15 | Terumo Kabushiki Kaisha | Method of manufacturing a differentially heat treated catheter guide wire |
| US4857699A (en) * | 1987-01-30 | 1989-08-15 | Duley Walter W | Means of enhancing laser processing efficiency of metals |
| JPS63212083A (ja) * | 1987-02-27 | 1988-09-05 | Toshiba Corp | 形状記憶合金製部材の溶接方法および形状記憶合金製部材の溶接品 |
| JP2640461B2 (ja) * | 1987-03-12 | 1997-08-13 | 株式会社トーキン | 医療用ガイドワイヤ及び医療用カテーテル |
| US4777799A (en) * | 1987-10-02 | 1988-10-18 | Catheter Research, Inc. | Memory element |
| US4888051A (en) * | 1988-08-19 | 1989-12-19 | Cominco Ltd. | Method for the zone refining of gallium |
| US4984581A (en) * | 1988-10-12 | 1991-01-15 | Flexmedics Corporation | Flexible guide having two-way shape memory alloy |
| US5061914A (en) * | 1989-06-27 | 1991-10-29 | Tini Alloy Company | Shape-memory alloy micro-actuator |
| JPH0368721A (ja) * | 1989-08-08 | 1991-03-25 | Mitsubishi Heavy Ind Ltd | 傾斜材料製造方法 |
| EP0585782A3 (en) * | 1992-08-31 | 1994-05-18 | Aichi Steel Works Ltd | Composite magnetic component and method of manufacturing the same |
| US5449536A (en) * | 1992-12-18 | 1995-09-12 | United Technologies Corporation | Method for the application of coatings of oxide dispersion strengthened metals by laser powder injection |
| RU2083272C1 (ru) * | 1995-06-07 | 1997-07-10 | Физический институт им.П.Н.Лебедева РАН | Способ выращивания алмаза из графита |
| JP2724815B2 (ja) * | 1996-03-25 | 1998-03-09 | 株式会社トーキン | 形状記憶合金コイルばね及びその製造方法 |
| JP3691579B2 (ja) * | 1996-04-26 | 2005-09-07 | 古河電気工業株式会社 | 形状記憶合金部材及びその製造方法 |
| JPH1017960A (ja) * | 1996-07-01 | 1998-01-20 | Fujikura Ltd | 超弾性合金テープ |
| US5846247A (en) | 1996-11-15 | 1998-12-08 | Unsworth; John D. | Shape memory tubular deployment system |
| JP2799992B2 (ja) * | 1996-12-13 | 1998-09-21 | 株式会社トーキン | 衣料品用形状記憶合金線 |
| JPH1179791A (ja) * | 1997-09-01 | 1999-03-23 | Ngk Insulators Ltd | ガラス基板のレーザテクスチャ処理方法 |
| JPH11197498A (ja) * | 1998-01-13 | 1999-07-27 | Japan Science & Technology Corp | 無機材料内部の選択的改質方法及び内部が選択的に改質された無機材料 |
| JPH11329141A (ja) * | 1998-05-15 | 1999-11-30 | Omron Corp | 接点用酸化被膜の形成方法 |
| JP2000088146A (ja) * | 1998-09-18 | 2000-03-31 | Aichi Prefecture | 送液用配管及び管部材 |
| FR2786790B1 (fr) * | 1998-12-04 | 2001-02-23 | Ecole Polytech | Procede de traitement par laser d'un objet en materiau a memoire de forme |
| US6427712B1 (en) * | 1999-06-09 | 2002-08-06 | Robertshaw Controls Company | Ambient temperature shape memory alloy actuator |
| US6485507B1 (en) | 1999-07-28 | 2002-11-26 | Scimed Life Systems | Multi-property nitinol by heat treatment |
| JP2001157765A (ja) | 1999-12-02 | 2001-06-12 | Kyoraku Sangyo | パチンコ機における制御回路基板用ケース |
| WO2001053559A1 (en) | 2000-01-24 | 2001-07-26 | Smart Therapeutics, Inc. | Thin-film shape memory alloy device and method |
| JP2002151773A (ja) | 2000-06-29 | 2002-05-24 | General Electric Co <Ge> | レーザー及び材料処理方法 |
| US6548013B2 (en) | 2001-01-24 | 2003-04-15 | Scimed Life Systems, Inc. | Processing of particulate Ni-Ti alloy to achieve desired shape and properties |
| JP2003068721A (ja) | 2001-08-29 | 2003-03-07 | Sekisui Chem Co Ltd | 放電プラズマ処理装置 |
| US6923829B2 (en) | 2002-11-25 | 2005-08-02 | Advanced Bio Prosthetic Surfaces, Ltd. | Implantable expandable medical devices having regions of differential mechanical properties and methods of making same |
| JP2004311906A (ja) * | 2003-04-10 | 2004-11-04 | Phoeton Corp | レーザ処理装置及びレーザ処理方法 |
| US7192496B2 (en) * | 2003-05-01 | 2007-03-20 | Ati Properties, Inc. | Methods of processing nickel-titanium alloys |
| US7301123B2 (en) | 2004-04-29 | 2007-11-27 | U.I.T., L.L.C. | Method for modifying or producing materials and joints with specific properties by generating and applying adaptive impulses a normalizing energy thereof and pauses therebetween |
| US7803234B2 (en) * | 2005-01-13 | 2010-09-28 | Versitech Limited | Surface treated shape memory materials and methods for making same |
| US7357815B2 (en) * | 2005-04-21 | 2008-04-15 | Micardia Corporation | Dynamically adjustable implants and methods for reshaping tissue |
| JP4737518B2 (ja) * | 2005-05-23 | 2011-08-03 | Necトーキン株式会社 | Ti−Ni−Nb合金素子 |
| DE102005024812A1 (de) * | 2005-05-27 | 2006-11-30 | Emag Laser Tec Gmbh | Verfahren und Vorrichtung zur Behandlung von Werkstückoberflächen mittels Laserstrahlung |
| TWI310326B (en) * | 2005-10-11 | 2009-06-01 | Gsi Group Corp | Optical metrological scale and laser-based manufacturing method therefor |
| US20070079911A1 (en) * | 2005-10-12 | 2007-04-12 | Browne Alan L | Method for erasing stored data and restoring data |
| US20070118243A1 (en) * | 2005-10-14 | 2007-05-24 | Vantus Technology Corporation | Personal fit medical implants and orthopedic surgical instruments and methods for making |
| CN101054467B (zh) * | 2006-04-14 | 2010-05-26 | 清华大学 | 碳纳米管复合材料及其制备方法 |
| JP2008119735A (ja) * | 2006-11-14 | 2008-05-29 | Nagaoka Univ Of Technology | 高硬度材料加工方法 |
| ATE499912T1 (de) * | 2006-12-04 | 2011-03-15 | Cook Inc | Verfahren zum einsetzen eines medizinprodukts in ein freisetzungssystem |
| WO2008070710A1 (en) * | 2006-12-05 | 2008-06-12 | Noble Advanced Technologies | Method of manufacturing a welded metal panel having a high quality surface finish |
| JP2008156706A (ja) * | 2006-12-25 | 2008-07-10 | Nissan Motor Co Ltd | 形状記憶部材の製造方法 |
| US7599048B2 (en) * | 2007-02-09 | 2009-10-06 | Wafermasters, Inc. | Optical emission spectroscopy process monitoring and material characterization |
| JP2008232054A (ja) | 2007-03-22 | 2008-10-02 | Denso Corp | 内燃機関の自動始動装置 |
| US20080304998A1 (en) * | 2007-06-05 | 2008-12-11 | Goodman Christopher R | Method of hardening titanium and titanium alloys |
| US20090043228A1 (en) * | 2007-08-06 | 2009-02-12 | Boston Scientific Scimed, Inc. | Laser shock peening of medical devices |
| US8231612B2 (en) * | 2007-11-19 | 2012-07-31 | Amo Development Llc. | Method of making sub-surface photoalterations in a material |
| US8398789B2 (en) * | 2007-11-30 | 2013-03-19 | Abbott Laboratories | Fatigue-resistant nickel-titanium alloys and medical devices using same |
| JP2009291347A (ja) | 2008-06-04 | 2009-12-17 | Fujifilm Corp | 光源装置およびこれを用いた内視鏡装置 |
| JP5315823B2 (ja) | 2008-07-11 | 2013-10-16 | 岩崎電気株式会社 | 紫外線照射器 |
| US8808294B2 (en) * | 2008-09-09 | 2014-08-19 | William Casey Fox | Method and apparatus for a multiple transition temperature implant |
| US8480654B2 (en) * | 2009-05-26 | 2013-07-09 | Cook Medical Technologies Llc | Catheter with expandable flow area |
| US9186853B2 (en) * | 2009-08-07 | 2015-11-17 | Smarter Alloys Inc. | Methods and systems for processing materials, including shape memory materials |
| US8266938B2 (en) * | 2009-08-25 | 2012-09-18 | GM Global Technology Operations LLC | Embossed shape memory sheet metal article |
| JP2011079791A (ja) | 2009-10-09 | 2011-04-21 | Fujifilm Corp | 皮膚消毒用外用剤 |
| US11211741B2 (en) * | 2011-06-03 | 2021-12-28 | Greatbatch Ltd. | Removable terminal pin connector for an active electronics circuit board for use in an implantable medical device |
| WO2015168311A1 (en) * | 2011-09-22 | 2015-11-05 | Mx Orthopedics, Corp | Controlling the unloading stress of nitinol devices and/or other shape memory material devices |
| JP6551317B2 (ja) * | 2016-06-14 | 2019-07-31 | トヨタ自動車株式会社 | 内燃機関の排気温度推定装置 |
| US11672883B2 (en) * | 2017-04-28 | 2023-06-13 | Medtronic, Inc. | Shape memory articles and methods for controlling properties |
-
2010
- 2010-08-06 US US13/389,335 patent/US9186853B2/en active Active
- 2010-08-06 WO PCT/CA2010/001219 patent/WO2011014962A1/en not_active Ceased
- 2010-08-06 CN CN201080039151.8A patent/CN102665891B/zh active Active
- 2010-08-06 CA CA3016976A patent/CA3016976C/en active Active
- 2010-08-06 IN IN1421DEN2012 patent/IN2012DN01421A/en unknown
- 2010-08-06 JP JP2012523172A patent/JP6245805B2/ja active Active
- 2010-08-06 CA CA2770122A patent/CA2770122C/en active Active
- 2010-08-06 EP EP10805921.3A patent/EP2461900A4/en active Pending
-
2012
- 2012-02-06 IL IL217973A patent/IL217973A/en active IP Right Grant
-
2015
- 2015-08-07 JP JP2015156747A patent/JP6527780B2/ja active Active
- 2015-11-13 US US14/940,351 patent/US10047421B2/en active Active
-
2017
- 2017-09-20 JP JP2017179861A patent/JP6923402B2/ja active Active
- 2017-09-28 IL IL254789A patent/IL254789B/en active IP Right Grant
-
2018
- 2018-08-07 US US16/056,760 patent/US12305268B2/en active Active
- 2018-12-02 IL IL263408A patent/IL263408B/en active IP Right Grant
-
2020
- 2020-02-03 JP JP2020016009A patent/JP2020097790A/ja active Pending
- 2020-08-27 IL IL276967A patent/IL276967B/en unknown
Also Published As
| Publication number | Publication date |
|---|---|
| US12305268B2 (en) | 2025-05-20 |
| CA3016976C (en) | 2021-05-25 |
| EP2461900A4 (en) | 2017-08-02 |
| US9186853B2 (en) | 2015-11-17 |
| JP2013500864A (ja) | 2013-01-10 |
| US10047421B2 (en) | 2018-08-14 |
| IN2012DN01421A (ja) | 2015-06-05 |
| US20120192999A1 (en) | 2012-08-02 |
| EP2461900A1 (en) | 2012-06-13 |
| US20180347020A1 (en) | 2018-12-06 |
| WO2011014962A1 (en) | 2011-02-10 |
| IL254789B (en) | 2018-12-31 |
| JP6527780B2 (ja) | 2019-06-05 |
| JP6245805B2 (ja) | 2017-12-13 |
| JP2018053362A (ja) | 2018-04-05 |
| CA2770122A1 (en) | 2011-02-10 |
| IL254789A0 (en) | 2017-12-31 |
| CN102665891B (zh) | 2015-11-25 |
| CN102665891A (zh) | 2012-09-12 |
| IL276967B (en) | 2022-05-01 |
| IL263408A (en) | 2018-12-31 |
| IL276967A (en) | 2020-10-29 |
| JP2016028175A (ja) | 2016-02-25 |
| IL263408B (en) | 2020-09-30 |
| JP2020097790A (ja) | 2020-06-25 |
| CA3016976A1 (en) | 2011-02-10 |
| IL217973A0 (en) | 2012-03-29 |
| US20160068938A1 (en) | 2016-03-10 |
| CA2770122C (en) | 2021-06-29 |
| IL217973A (en) | 2017-10-31 |
Similar Documents
| Publication | Publication Date | Title |
|---|---|---|
| JP6923402B2 (ja) | モノリスニチノール合金 | |
| Saedi et al. | The influence of heat treatment on the thermomechanical response of Ni-rich NiTi alloys manufactured by selective laser melting | |
| Zeng et al. | Laser welding of NiTi shape memory alloy wires and tubes for multi-functional design applications | |
| Mohamed et al. | Nickel-titanium shape memory alloys made by selective laser melting: a review on process optimisation | |
| Zeng et al. | Functional fatigue behavior of NiTi-Cu dissimilar laser welds | |
| Mehrpouya et al. | Laser welding of NiTi shape memory sheets using a diode laser | |
| Tam et al. | Mechanical and functional properties of laser-welded Ti-55.8 Wt Pct Ni nitinol wires | |
| Deepan Bharathi Kannan et al. | A review of similar and dissimilar micro-joining of nitinol | |
| Dong et al. | Microstructural characterization of laser micro-welded Nitinol wires | |
| Panton et al. | Thermomechanical fatigue of post-weld heat treated NiTi shape memory alloy wires | |
| Bahador et al. | Mechanical and superelastic properties of laser welded Ti–Ni shape-memory alloys produced by powder metallurgy | |
| Rasouli et al. | The effect of Nd: YAG laser pulse duration and post-weld heat treatment on the microstructure and mechanical properties of laser-welded NiTi shape memory alloy | |
| Mehrpouya | Laser welding of NiTi shape memory sheets: experimental analysis and numerical modeling | |
| Mehrpouya et al. | Laser welding of nickel-titanium (NiTi) shape memory alloys | |
| Ge et al. | Study on the effect of double-sided laser welding of NiTi shape memory alloys wire | |
| US20250277293A1 (en) | Methods and systems for processing materials, including shape memory materials | |
| Panton | Laser processing, thermomechanical processing, and thermomechanical fatigue of NiTi shape memory alloys | |
| Khan | Pulsed Nd: YAG laser processing of nitinol | |
| Kannan et al. | 23 Laser Welding of NiTinol Shape Memory Alloy | |
| Wang | Multiple memory material processing for augmentation of local pseudoelasticity and corrosion resistance of niti-based shape memory alloys | |
| Satoh | Modification and integration of shape memory alloys through thermal treatments and dissimilar metal joining | |
| Michael | Laser processing and modelling of multiple memory shape memory alloys | |
| Agarwal | Additive manufacturing of Ni-rich nitinol for superelastic properties for stent application | |
| de Oliveira Araújo et al. | Four-Point Bending Cyclic Behavior of NiTi Superelastic Wires Micro-Welded by GTAW Double Pulses | |
| Maximiuk | Reactive eutectic brazing of high temperature shape memory alloy Nickel-Titanium-Hafnium |
Legal Events
| Date | Code | Title | Description |
|---|---|---|---|
| A621 | Written request for application examination |
Free format text: JAPANESE INTERMEDIATE CODE: A621 Effective date: 20171005 |
|
| A977 | Report on retrieval |
Free format text: JAPANESE INTERMEDIATE CODE: A971007 Effective date: 20181012 |
|
| A131 | Notification of reasons for refusal |
Free format text: JAPANESE INTERMEDIATE CODE: A131 Effective date: 20181023 |
|
| A601 | Written request for extension of time |
Free format text: JAPANESE INTERMEDIATE CODE: A601 Effective date: 20190121 |
|
| A521 | Request for written amendment filed |
Free format text: JAPANESE INTERMEDIATE CODE: A523 Effective date: 20190419 |
|
| A02 | Decision of refusal |
Free format text: JAPANESE INTERMEDIATE CODE: A02 Effective date: 20191001 |
|
| A521 | Request for written amendment filed |
Free format text: JAPANESE INTERMEDIATE CODE: A523 Effective date: 20200203 |
|
| C60 | Trial request (containing other claim documents, opposition documents) |
Free format text: JAPANESE INTERMEDIATE CODE: C60 Effective date: 20200203 |
|
| A911 | Transfer to examiner for re-examination before appeal (zenchi) |
Free format text: JAPANESE INTERMEDIATE CODE: A911 Effective date: 20200210 |
|
| C21 | Notice of transfer of a case for reconsideration by examiners before appeal proceedings |
Free format text: JAPANESE INTERMEDIATE CODE: C21 Effective date: 20200212 |
|
| A912 | Re-examination (zenchi) completed and case transferred to appeal board |
Free format text: JAPANESE INTERMEDIATE CODE: A912 Effective date: 20200410 |
|
| C211 | Notice of termination of reconsideration by examiners before appeal proceedings |
Free format text: JAPANESE INTERMEDIATE CODE: C211 Effective date: 20200414 |
|
| C22 | Notice of designation (change) of administrative judge |
Free format text: JAPANESE INTERMEDIATE CODE: C22 Effective date: 20201208 |
|
| C13 | Notice of reasons for refusal |
Free format text: JAPANESE INTERMEDIATE CODE: C13 Effective date: 20210202 |
|
| C22 | Notice of designation (change) of administrative judge |
Free format text: JAPANESE INTERMEDIATE CODE: C22 Effective date: 20210406 |
|
| A521 | Request for written amendment filed |
Free format text: JAPANESE INTERMEDIATE CODE: A523 Effective date: 20210426 |
|
| C23 | Notice of termination of proceedings |
Free format text: JAPANESE INTERMEDIATE CODE: C23 Effective date: 20210608 |
|
| C03 | Trial/appeal decision taken |
Free format text: JAPANESE INTERMEDIATE CODE: C03 Effective date: 20210706 |
|
| C30A | Notification sent |
Free format text: JAPANESE INTERMEDIATE CODE: C3012 Effective date: 20210706 |
|
| A61 | First payment of annual fees (during grant procedure) |
Free format text: JAPANESE INTERMEDIATE CODE: A61 Effective date: 20210729 |
|
| R150 | Certificate of patent or registration of utility model |
Ref document number: 6923402 Country of ref document: JP Free format text: JAPANESE INTERMEDIATE CODE: R150 |
|
| R250 | Receipt of annual fees |
Free format text: JAPANESE INTERMEDIATE CODE: R250 |
|
| R250 | Receipt of annual fees |
Free format text: JAPANESE INTERMEDIATE CODE: R250 |
