JP6689340B2 - 半導体装置 - Google Patents
半導体装置 Download PDFInfo
- Publication number
- JP6689340B2 JP6689340B2 JP2018175836A JP2018175836A JP6689340B2 JP 6689340 B2 JP6689340 B2 JP 6689340B2 JP 2018175836 A JP2018175836 A JP 2018175836A JP 2018175836 A JP2018175836 A JP 2018175836A JP 6689340 B2 JP6689340 B2 JP 6689340B2
- Authority
- JP
- Japan
- Prior art keywords
- layer
- transistor
- oxide semiconductor
- insulating layer
- oxide
- Prior art date
- Legal status (The legal status is an assumption and is not a legal conclusion. Google has not performed a legal analysis and makes no representation as to the accuracy of the status listed.)
- Active
Links
Images
Classifications
-
- H—ELECTRICITY
- H10—SEMICONDUCTOR DEVICES; ELECTRIC SOLID-STATE DEVICES NOT OTHERWISE PROVIDED FOR
- H10D—INORGANIC ELECTRIC SEMICONDUCTOR DEVICES
- H10D30/00—Field-effect transistors [FET]
- H10D30/60—Insulated-gate field-effect transistors [IGFET]
- H10D30/67—Thin-film transistors [TFT]
- H10D30/6729—Thin-film transistors [TFT] characterised by the electrodes
-
- H—ELECTRICITY
- H10—SEMICONDUCTOR DEVICES; ELECTRIC SOLID-STATE DEVICES NOT OTHERWISE PROVIDED FOR
- H10D—INORGANIC ELECTRIC SEMICONDUCTOR DEVICES
- H10D30/00—Field-effect transistors [FET]
- H10D30/60—Insulated-gate field-effect transistors [IGFET]
- H10D30/67—Thin-film transistors [TFT]
- H10D30/6729—Thin-film transistors [TFT] characterised by the electrodes
- H10D30/673—Thin-film transistors [TFT] characterised by the electrodes characterised by the shapes, relative sizes or dispositions of the gate electrodes
- H10D30/6733—Multi-gate TFTs
-
- H—ELECTRICITY
- H10—SEMICONDUCTOR DEVICES; ELECTRIC SOLID-STATE DEVICES NOT OTHERWISE PROVIDED FOR
- H10D—INORGANIC ELECTRIC SEMICONDUCTOR DEVICES
- H10D30/00—Field-effect transistors [FET]
- H10D30/60—Insulated-gate field-effect transistors [IGFET]
- H10D30/67—Thin-film transistors [TFT]
- H10D30/6704—Thin-film transistors [TFT] having supplementary regions or layers in the thin films or in the insulated bulk substrates for controlling properties of the device
- H10D30/6713—Thin-film transistors [TFT] having supplementary regions or layers in the thin films or in the insulated bulk substrates for controlling properties of the device characterised by the properties of the source or drain regions, e.g. compositions or sectional shapes
-
- H—ELECTRICITY
- H10—SEMICONDUCTOR DEVICES; ELECTRIC SOLID-STATE DEVICES NOT OTHERWISE PROVIDED FOR
- H10D—INORGANIC ELECTRIC SEMICONDUCTOR DEVICES
- H10D30/00—Field-effect transistors [FET]
- H10D30/60—Insulated-gate field-effect transistors [IGFET]
- H10D30/67—Thin-film transistors [TFT]
- H10D30/6729—Thin-film transistors [TFT] characterised by the electrodes
- H10D30/673—Thin-film transistors [TFT] characterised by the electrodes characterised by the shapes, relative sizes or dispositions of the gate electrodes
-
- H—ELECTRICITY
- H10—SEMICONDUCTOR DEVICES; ELECTRIC SOLID-STATE DEVICES NOT OTHERWISE PROVIDED FOR
- H10D—INORGANIC ELECTRIC SEMICONDUCTOR DEVICES
- H10D30/00—Field-effect transistors [FET]
- H10D30/60—Insulated-gate field-effect transistors [IGFET]
- H10D30/67—Thin-film transistors [TFT]
- H10D30/674—Thin-film transistors [TFT] characterised by the active materials
- H10D30/6755—Oxide semiconductors, e.g. zinc oxide, copper aluminium oxide or cadmium stannate
Landscapes
- Thin Film Transistor (AREA)
- Electrodes Of Semiconductors (AREA)
- Semiconductor Memories (AREA)
- Metal-Oxide And Bipolar Metal-Oxide Semiconductor Integrated Circuits (AREA)
- Non-Volatile Memory (AREA)
- Electroluminescent Light Sources (AREA)
- Physical Vapour Deposition (AREA)
Description
全般を指し、電気光学装置、半導体回路および電子機器は全て半導体装置である。
タ(TFT)ともいう)を構成する技術が注目されている。該トランジスタは集積回路(
IC)や画像表示装置(表示装置)のような電子デバイスに広く応用されている。トラン
ジスタに適用可能な半導体薄膜としてシリコン系半導体材料が広く知られているが、その
他の材料として酸化物半導体が注目されている。
鉛(Zn)を含む非晶質酸化物を用いたトップゲート型でコプレナー型(Coplane
r Type)のトランジスタが開示されている(特許文献1参照)。
置の高速応答、高速駆動を実現するためには、活性層のチャネル形成領域となる領域に対
して、ゲート電極を確実に重畳させる構造が好適である。該構造により、ゲート電圧をソ
ース、ドレイン間にあるチャネル形成領域に確実に印加することができ、ソース、ドレイ
ン間の抵抗を低減することができる。
及びドレイン電極を設ける場合、上面または断面を見た際、ゲート電極と、ソース電極及
びドレイン電極との間で間隙が形成されることとなる。該間隙は、トランジスタを動作さ
せる際に抵抗になる。
間隙の領域の低抵抗化を図ることで、活性層のチャネル形成領域となる領域に対して、ゲ
ート電極を確実に重畳させ、オン特性の向上を図る構成がとられている。一方、酸化物半
導体を半導体材料に用いる場合は、該領域の低抵抗化を図るために、活性層のチャネル形
成領域となる領域に対して、ソース電極及びドレイン電極の端部と、ゲート電極の端部と
を一致または重畳して設ける構造が好適である。
端部と、ゲート電極の端部とを一致又は重畳する構成では、該電極間の短絡が問題となる
。この電極間の短絡は、ゲート絶縁層の、ソース電極及びドレイン電極、及び酸化物半導
体層に対するカバレッジ不良に起因する。特にトランジスタの微細化に伴うゲート絶縁層
の薄膜化時においては、カバレッジ不良が顕在化しやすい。
にチャネル形成領域となる酸化物半導体層と接する領域において、カバレッジ不良などに
より短絡を生じやすくなってしまう。ソース電極及びドレイン電極は、オン特性の向上を
図るために、ゲート絶縁層と比べて厚膜化して設けることが多い。そのため、ゲート絶縁
層を薄膜化して形成する場合には、ソース電極及びドレイン電極の厚膜化に伴い、ソース
電極及びドレイン電極の端部におけるカバレッジ不良をさらに増加させてしまう。その結
果、電極間の短絡を生じやすくなり、信頼性の低下に繋がることとなる。
答、高速駆動を実現する際に、信頼性の高い構成を提供することを課題の一つとする。
成されるソース電極層又はドレイン電極層、ゲート絶縁層、及びゲート電極層が順に積層
されたトランジスタにおいて、ゲート電極層は、第1の導電層とゲート絶縁層を介して重
畳し、第2の導電層とゲート絶縁層を介して非重畳とする半導体装置とする。
体層上に部分的に設けられた第1の導電層と、第1の導電層上に部分的に設けられた第2
の導電層と、酸化物半導体層上、第1の導電層上及び第2の導電層上に設けられたゲート
絶縁層と、ゲート絶縁層を介して酸化物半導体層上に設けられたゲート電極層と、を有し
、ゲート電極層は、第1の導電層とゲート絶縁層を介して重畳し、第2の導電層とゲート
絶縁層を介して非重畳とする半導体装置である。
体層上に部分的に設けられた第1の導電層と、第1の導電層上に部分的に設けられた第2
の導電層と、第2の導電層上に設けられた絶縁層と、酸化物半導体層上、第1の導電層上
、第2の導電層上及び絶縁層上に設けられたゲート絶縁層と、ゲート絶縁層を介して酸化
物半導体層上に設けられたゲート電極層と、を有し、ゲート電極層は、第1の導電層とゲ
ート絶縁層を介して重畳し、第2の導電層とゲート絶縁層を介して非重畳とする半導体装
置である。
体層上に部分的に設けられた第1の導電層と、第1の導電層上に部分的に設けられた絶縁
層と、絶縁層上に部分的に設けられ、絶縁層の開口部において第1の導電層に接して設け
られた第2の導電層と、酸化物半導体層上、第1の導電層上、第2の導電層上及び絶縁層
上に設けられたゲート絶縁層と、ゲート絶縁層を介して酸化物半導体層上に設けられたゲ
ート電極層と、を有し、ゲート電極層は、第1の導電層とゲート絶縁層を介して重畳し、
第2の導電層とゲート絶縁層を介して非重畳とする半導体装置である。
上に設けられた酸化物半導体層と、酸化物半導体層上に部分的に設けられた第1の導電層
と、第1の導電層上に部分的に設けられた第2の導電層と、酸化物半導体層上、第1の導
電層上及び第2の導電層上に設けられたゲート絶縁層と、ゲート絶縁層を介して酸化物半
導体層上に設けられたゲート電極層と、を有し、ゲート電極層は、第1の導電層とゲート
絶縁層を介して重畳し、第2の導電層とゲート絶縁層を介して非重畳とする半導体装置で
ある。
開口部において、埋め込み導電層が第1の導電層に接して設けられている半導体装置が好
ましい。
に、埋め込み酸化物半導体層を有する半導体装置が好ましい。
絶縁層は、酸化物半導体層の開口部において、埋め込み酸化物半導体層が第1の導電層に
接して設けられている半導体装置が好ましい。
装置が好ましい。
体装置が好ましい。
体装置が好ましい。
導体装置が好ましい。
ニウム、又は希土類元素から選択された一以上の元素の酸化物を含む層である半導体装置
が好ましい。
しい。
電界効果移動度)を向上させて、半導体装置の高速応答、高速駆動を実現する際に、信頼
性の高い構成を提供することができる。
多くの異なる態様で実施することが可能であり、本発明の趣旨及びその範囲から逸脱する
ことなくその形態及び詳細を様々に変更し得ることは当業者であれば容易に理解される。
したがって本実施の形態の記載内容に限定して解釈されるものではない。
明瞭化のために誇張されて表記している場合がある。よって、必ずしもそのスケールに限
定されない。
要素の混同を避けるために付したものであり、数的に限定するものではないことを付記す
る。
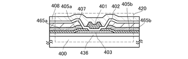
本実施の形態では、開示する発明の一態様にかかる半導体装置及び半導体装置の作製方法
について、図1乃至図4を用いて説明する。
ジスタ420はチャネル形成領域が1つ形成されるシングルゲート構造を示すが、チャネ
ル形成領域が2つ形成されるダブルゲート構造もしくは3つ形成されるトリプルゲート構
造であってもよい。
半導体層403と、第1の導電層405a、405bと、第2の導電層465a、465
bと、絶縁層407と、ゲート絶縁層402と、ゲート電極層401と、層間絶縁層40
8と、を有する(図1参照)。
極として機能する第1の導電層405a、405bを、酸化物半導体層403と重畳する
領域において、ゲート絶縁層402を介してゲート電極層401と重畳させる。また本実
施の形態で開示する図1の構造は、トランジスタ420のソース電極及びドレイン電極と
して機能する第2の導電層465a、465bを、酸化物半導体層403と重畳する領域
において、ゲート絶縁層402を介してゲート電極層401と重畳させない。
極となる第1の導電層405a、405bの端部と、ゲート電極となるゲート電極層40
1の端部とを重畳して設けることができる。そのため、トランジスタのオン特性(例えば
、オン電流や電界効果移動度)を向上させて、半導体装置の高速応答、高速駆動を実現す
ることができる。
となる第1の導電層405a、405bを薄膜化することができる。第1の導電層405
a、405bを薄膜化することで、特に酸化物半導体層403のチャネル形成領域周辺で
の、ゲート絶縁層402を形成する際の表面の段差を小さくすることができる。従って、
ゲート絶縁層402は、カバレッジを良好にして形成することができる。カバレッジ不良
を低減することで、電極間の短絡の発生を抑制し、信頼性の向上を図ることができる。加
えて、本実施の形態で開示する図1の構造は、トランジスタのソース電極及びドレイン電
極となる第2の導電層465a、465bの端部と、ゲート電極となるゲート電極層40
1の端部とを重畳させないで設けることができる。そのため、第1の導電層405a、4
05bに比べて第2の導電層465a、465bを厚膜化しても、電極間の短絡がない。
したがって、第2の導電層465a、465bを厚膜化することで、電極間での短絡を引
き起こすことなく、ソース電極及びドレイン電極を流れる電流を大きくすることができる
。
ることで、エッチング等の工程により第1の導電層405a、405bを加工する際の所
要期間を短くすることができる。そのため第1の導電層405a、405bをエッチング
等の工程で加工する際に生じる、酸化物半導体層403へのダメージを低減することがで
きる。そのため、信頼性の向上を図ることができる。
構造とすることができ、平坦性を高めたバッファ層436上に、酸化物半導体層403を
薄膜化して形成することができる。ゲート絶縁層402及び酸化物半導体層403を薄膜
化することで、オン特性の向上が図れるとともに、トランジスタを完全空乏型で動作させ
ることも可能である。トランジスタを完全空乏型で動作させることで、高集積化、高速駆
動化、低消費電力化を図ることができる。
407とを重畳して設け、側面をエッチング等の加工によりテーパー状とすることができ
る。そのため第2の導電層465a、465bを厚膜化しても、カバレッジを良好にする
ことができる。
極及びドレイン電極を流れる電流を低減させることなく、トランジスタのソース電極及び
ドレイン電極と、ゲート電極とを重畳して設けることができ、オン特性を向上させること
ができる。さらに本実施の形態で開示する図1の構成では、ゲート絶縁層のカバレッジ不
良を低減することで、酸化物半導体層及びゲート絶縁層を薄膜化することができる。この
場合、酸化物半導体をチャネル形成領域に設けるトランジスタを微細化して形成すること
ができ好適である。
示す。
は、バッファ層436上に形成される酸化物半導体層403と絶縁表面を有する基板40
0との反応を抑制するための層である。
とも、後の熱処理に耐えうる程度の耐熱性を有していることが必要となる。例えば、バリ
ウムホウケイ酸ガラスやアルミノホウケイ酸ガラスなどのガラス基板、セラミック基板、
石英基板、サファイア基板などを用いることができる。また、シリコンや炭化シリコンな
どの単結晶半導体基板、多結晶半導体基板、シリコンゲルマニウムなどの化合物半導体基
板、SOI基板などを適用することもでき、これらの基板上に半導体素子が設けられたも
のを、基板400として用いてもよい。
3と同種の成分でなる酸化物を用いるのが好ましい。具体的には、アルミニウム(Al)
、ガリウム(Ga)、ジルコニウム(Zr)、ハフニウム(Hf)等の酸化物半導体層4
03の構成元素、または、アルミニウム、ガリウム等と同族の元素である希土類元素、か
ら選択された一以上の元素の酸化物を含む層とするのが好ましい。また、これらの元素の
うち、III族元素であるアルミニウム、ガリウム、または希土類元素の酸化物を用いる
のがより好ましい。また、希土類元素としてはスカンジウム(Sc)、イットリウム(Y
)、セリウム(Ce)、サマリウム(Sm)またはガドリニウム(Gd)を用いるのが好
ましい。このような材料は、酸化物半導体層403と相性がよく、これをバッファ層43
6に用いることで、酸化物半導体層403との界面の状態を良好にすることができる。ま
た、酸化物半導体層403の結晶性を向上させることができる。
層436のエネルギーギャップは酸化物半導体層403よりも大きいことが求められ、バ
ッファ層436は絶縁性を有するのが好ましい。
ング法等を用いて形成することができる。
されないが、研磨処理(例えば、化学的機械研磨(Chemical Mechanic
al Polishing:CMP)法)、ドライエッチング処理、プラズマ処理を用い
ることができる。
度を低減させることが好ましい。水素濃度を低減させるには、例えば、スパッタリング法
を用いて成膜を行う場合には、スパッタリング装置の処理室内に供給する雰囲気ガスとし
て、水素、水、水酸基または水素化物などの不純物が除去された高純度の希ガス(代表的
にはアルゴン)、酸素、および希ガスと酸素との混合ガスを適宜用いる。
とが好ましい。酸化物半導体層403、バッファ層436を大気に曝露せずに連続して形
成すると、これらの界面に水素や水分などの不純物が吸着することを防止することができ
る。
物半導体層403中に含まれうる不純物濃度を低減するのに有効である。基板400を加
熱する温度としては、150℃以上450℃以下とすればよく、好ましくは基板温度が2
00℃以上350℃以下とすればよい。また、酸化物半導体層403の形成時に基板40
0を高温で加熱することで、結晶性を有する酸化物半導体層を形成することができる。
るいは亜鉛(Zn)を含むことが好ましい。特にInとZnを含むことが好ましい。また
、該酸化物半導体を用いたトランジスタの電気特性のばらつきを減らすためのスタビライ
ザーとして、それらに加えてガリウム(Ga)を有することが好ましい。また、スタビラ
イザーとしてスズ(Sn)を有することが好ましい。また、スタビライザーとしてハフニ
ウム(Hf)を有することが好ましい。また、スタビライザーとしてアルミニウム(Al
)を有することが好ましい。また、スタビライザーとしてジルコニウム(Zr)を有する
ことが好ましい。
Ce)、プラセオジム(Pr)、ネオジム(Nd)、サマリウム(Sm)、ユウロピウム
(Eu)、ガドリニウム(Gd)、テルビウム(Tb)、ジスプロシウム(Dy)、ホル
ミウム(Ho)、エルビウム(Er)、ツリウム(Tm)、イッテルビウム(Yb)、ル
テチウム(Lu)のいずれか一種あるいは複数種を有してもよい。
物であるIn−Zn系酸化物、Sn−Zn系酸化物、Al−Zn系酸化物、Zn−Mg系
酸化物、Sn−Mg系酸化物、In−Mg系酸化物、In−Ga系酸化物、三元系金属の
酸化物であるIn−Ga−Zn系酸化物(IGZOとも表記する)、In−Al−Zn系
酸化物、In−Sn−Zn系酸化物、Sn−Ga−Zn系酸化物、Al−Ga−Zn系酸
化物、Sn−Al−Zn系酸化物、In−Hf−Zn系酸化物、In−La−Zn系酸化
物、In−Ce−Zn系酸化物、In−Pr−Zn系酸化物、In−Nd−Zn系酸化物
、In−Sm−Zn系酸化物、In−Eu−Zn系酸化物、In−Gd−Zn系酸化物、
In−Tb−Zn系酸化物、In−Dy−Zn系酸化物、In−Ho−Zn系酸化物、I
n−Er−Zn系酸化物、In−Tm−Zn系酸化物、In−Yb−Zn系酸化物、In
−Lu−Zn系酸化物、四元系金属の酸化物であるIn−Sn−Ga−Zn系酸化物、I
n−Hf−Ga−Zn系酸化物、In−Al−Ga−Zn系酸化物、In−Sn−Al−
Zn系酸化物、In−Sn−Hf−Zn系酸化物、In−Hf−Al−Zn系酸化物を用
いることができる。
物という意味であり、InとGaとZnの比率は問わない。また、InとGaとZn以外
の金属元素が入っていてもよい。
100%の雰囲気下でスパッタリング法で形成するなど)で形成し、酸素を多く含む(好
ましくは酸化物半導体が結晶状態における化学量論的組成に対し、酸素の含有量が過剰な
領域が含まれている)ことが好ましい。
水素化物などの不純物が除去された高純度ガスを用いることが好ましい。
素欠損が低減されることにより高純度化された酸化物半導体(purified Oxi
de Semiconductor)は、i型(真性半導体)又はi型に限りなく近い。
そのため、上記酸化物半導体を用いたトランジスタは、オフ電流が著しく低いという特性
を有する。また、酸化物半導体のバンドギャップは、2eV以上、好ましくは2.5eV
以上、より好ましくは3eV以上である。水分または水素などの不純物濃度が十分に低減
され、なおかつ酸素欠損が低減されることにより高純度化された酸化物半導体層を用いる
ことにより、トランジスタのオフ電流を下げることができる。
ては、ドレイン端子をソース端子とゲートよりも高い電位とした状態において、ソース端
子の電位を基準としたときのゲートの電位が0以下であるときに、ソース端子とドレイン
端子の間に流れる電流のことを意味する。
状態を採ることができる。特に酸化物半導体層403として用いる酸化物半導体は、結晶
領域及びアモルファス領域を含む混合層であり、結晶性を有する酸化物半導体とすること
が好ましい。
性を高めればより高い移動度を得ることができる。表面の平坦性を高めるためには、平坦
な表面上に酸化物半導体を形成することが好ましく、具体的には、平均面粗さ(Ra)が
1nm以下、好ましくは0.3nm以下、より好ましくは0.1nm以下の表面上に形成
するとよい。
れている算術平均粗さを曲面に対して適用できるよう三次元に拡張したものであり、「基
準面から指定面までの偏差の絶対値を平均した値」と表現でき、以下の式にて定義される
。
y1))(x1,y2,f(x1,y2))(x2,y1,f(x2,y1))(x2,
y2,f(x2,y2))の4点で表される四角形の領域とし、指定面をxy平面に投影
した長方形の面積をS0、基準面の高さ(指定面の平均の高さ)をZ0とする。Raは原
子間力顕微鏡(AFM:Atomic Force Microscope)にて評価可
能である。
ned Crystalline Oxide Semiconductor)とする。
非晶質相に数nmから数十nmの結晶部及び非晶質を有する結晶−非晶質混相構造の酸化
物半導体である。なお、透過型電子顕微鏡(TEM:Transmission Ele
ctron Microscope)によるCAAC−OSに含まれる非晶質部と結晶部
との境界は明確ではない。また、CAAC−OSには粒界(グレインバウンダリーともい
う。)は確認できない。CAAC−OSが粒界を有さないため、粒界に起因する電子移動
度の低下が起こりにくい。
な方向に揃い、かつab面に垂直な方向から見て三角形状または六角形状の原子配列を有
し、c軸に垂直な方向から見て金属原子が層状または金属原子と酸素原子とが層状に配列
している。なお、結晶部同士は、それぞれa軸およびb軸の向きが異なっていてもよい。
例えば、CAAC−OSの表面側から結晶成長させる場合、CAAC−OSの表面の近傍
は結晶部の占める割合が高くなり、被形成面の近傍は非晶質部の占める割合が高くなるこ
とがある。
な方向に揃うため、CAAC−OS形状(被形成面の断面形状または表面の断面形状)に
よって、結晶部同士のc軸の方向が異なることがある。なお、結晶部のc軸の方向は、C
AAC−OSが形成されたときの被形成面または表面に垂直な方向となる。結晶部は、成
膜後または成膜後に加熱処理などの結晶化処理を行うことで形成される。
変動が低減されるため、信頼性の高いトランジスタを得ることができる。
、及びZn(亜鉛)を含むターゲットを用いたスパッタリング法で形成したIn−Ga−
Zn系酸化物があげられる。酸化物半導体層403は、1nm以上30nm以下(好まし
くは5nm以上20nm以下)として形成することができる。
グ用ターゲットを用い、スパッタリング法によって成膜する。当該スパッタリング用ター
ゲットにイオンが衝突すると、スパッタリング用ターゲットに含まれる結晶領域がa−b
面から劈開し、a−b面に平行な面を有する平板状またはペレット状のスパッタリング粒
子として剥離することがある。この場合、当該平板状のスパッタリング粒子が、結晶状態
を維持したまま基板に到達することで、CAAC−OSを成膜することができる。
In:Ga:Zn=1:1:1、4:2:3、3:1:2、1:1:2、2:1:3、ま
たは3:1:4で示されるIn−Ga−Zn系酸化物のターゲットを用いる。前述の原子
数比を有するIn−Ga−Zn系酸化物のターゲットを用いて酸化物半導体層を形成する
ことで、多結晶またはCAAC−OSが形成されやすくなる。また、In、Ga、及びZ
nを含むターゲットの充填率は90%以上100%以下、好ましくは95%以上100%
未満である。充填率の高いターゲットを用いることにより、形成した酸化物半導体層は緻
密な層となる。
留水分を除去しつつ水素及び水分が除去されたスパッタガスを導入し、上記ターゲットを
用いて形成すればよい。形成時に、基板温度を100℃以上600℃以下、好ましくは2
00℃以上400℃以下としても良い。基板を加熱しながら形成することにより、形成し
た酸化物半導体層に含まれる不純物濃度を低減することができる。また、スパッタリング
による損傷が軽減される。処理室内の残留水分を除去するためには、吸着型の真空ポンプ
を用いることが好ましい。例えば、クライオポンプ、イオンポンプ、チタンサブリメーシ
ョンポンプを用いることが好ましい。また、排気手段としては、ターボポンプにコールド
トラップを加えたものであってもよい。クライオポンプを用いて形成室を排気すると、例
えば、水素原子、水(H2O)など水素原子を含む化合物(より好ましくは炭素原子を含
む化合物も)等が排気されるため、当該処理室で形成した酸化物半導体層に含まれる不純
物の濃度を低減できる。
は水素(水酸基を含む)が多量に含まれていることがある。そのため酸化物半導体層中の
水分または水素などの不純物を低減(脱水化または脱水素化)するために、酸化物半導体
層に対して、減圧雰囲気下、窒素や希ガスなどの不活性ガス雰囲気下、酸素ガス雰囲気下
、または超乾燥エア(CRDS(キャビティリングダウンレーザー分光法)方式の露点計
を用いて測定した場合の水分量が20ppm(露点換算で−55℃)以下、好ましくは1
ppm以下、好ましくは10ppb以下の空気)雰囲気下で、加熱処理を施す。
ることができる。具体的には、250℃以上750℃以下、好ましくは400℃以上基板
の歪み点未満の温度で加熱処理を行えば良い。例えば、500℃、3分間以上6分間以下
程度で行えばよい。加熱処理にRTA法を用いれば、短時間に脱水化または脱水素化が行
えるため、ガラス基板の歪点を超える温度でも処理することができる。
403の形成後であって後に形成する層間絶縁層408の形成前であれば、トランジスタ
420の作製工程においてどのタイミングで行ってもよい。また、脱水化又は脱水素化の
ための熱処理は、複数回行ってもよく、他の加熱処理と兼ねてもよい。
欠損が形成される場合がある。よって、後の工程で酸化物半導体層と接するゲート絶縁層
として、酸素を含むゲート絶縁層を用いることが好ましい。そして、酸素を含むゲート絶
縁層を形成した後、加熱処理を施すことで、上記ゲート絶縁層から酸化物半導体層に酸素
が供与されるようにする。上記構成により、ドナーとなる酸素欠損を低減し、酸化物半導
体層に含まれる酸化物半導体の、化学量論的組成を満たすことができる。その結果、酸化
物半導体層をi型に近づけることができ、酸素欠損によるトランジスタの電気的特性のば
らつきを軽減し、電気的特性の向上を実現することができる。
ガス(アルゴン、ヘリウムなど)の雰囲気下において、好ましくは200℃以上400℃
以下、例えば250℃以上350℃以下で行う。上記ガスは、水の含有量が20ppm以
下、好ましくは1ppm以下、より好ましくは10ppb以下であることが望ましい。
カル、酸素原子、酸素イオン、のいずれかを含む)を導入して層内に酸素を供給してもよ
い。
導入することによって、酸化物半導体層403を高純度化、及びi型化することができる
。高純度化し、i型化した酸化物半導体層403を有するトランジスタは、電気特性変動
が抑制されており、電気的に安定である。
オンインプランテーション法、プラズマ処理などを用いることができる。
酸化物半導体層403に加工して形成することができる。
でもよく、両方を用いてもよい。例えば、酸化物半導体層403のウェットエッチングに
用いるエッチング液としては、燐酸と酢酸と硝酸を混ぜた溶液などを用いることができる
。また、ITO07N(関東化学社製)を用いてもよい。
を有している。端部が垂直であると酸素が抜けやすく酸素欠陥を生じやすいが、端部にテ
ーパーを有することで酸素欠陥を抑制することができる。該酸素欠陥の抑制により、トラ
ンジスタ420のリーク電流(寄生チャネル)の発生を低減することができる。
電極層(これと同じ層で形成される配線を含む)となる第1の導電層405を形成する。
レイン電極層に用いる第1の導電層405としては、例えば、Al、Cr、Cu、Ta、
Ti、Mo、Wから選ばれた元素を含む金属膜、又は上述した元素を成分とする金属窒化
物膜(窒化チタン膜、窒化モリブデン膜、窒化タングステン膜)等を用いることができる
。
下側又は上側の一方又は双方にTi、Mo、Wなどの高融点金属膜又はそれらの金属窒化
物膜(窒化チタン膜、窒化モリブデン膜、窒化タングステン膜)を積層させた構成とする
ことが好ましい。
の金属酸化物で形成しても良い。導電性の金属酸化物としては酸化インジウム(In2O
3)、酸化スズ(SnO2)、酸化亜鉛(ZnO)、酸化インジウム酸化スズ(In2O
3―SnO2、ITOと略記する)、酸化インジウム酸化亜鉛(In2O3―ZnO)又
はこれらの金属酸化物材料に酸化シリコンを含ませたものを用いることができる。
ことが好ましい。具体的には、後に形成するゲート絶縁層402がカバレッジ不良を起こ
さない程度に薄膜化しておくことが好ましく、1nm以上30nm以下(好ましくは10
nm以上20nm以下)として形成すればよい。
成される配線を含む)となる第2の導電層465を形成する。
レイン電極層に用いる第2の導電層465としては、例えば、Al、Cr、Cu、Ta、
Ti、Mo、Wから選ばれた元素を含む金属膜、又は上述した元素を成分とする金属窒化
物膜(窒化チタン膜、窒化モリブデン膜、窒化タングステン膜)等を用いることができる
。
融点金属膜又はそれらの金属窒化物膜(窒化チタン膜、窒化モリブデン膜、窒化タングス
テン膜)を積層させた構成としても良い。
の金属酸化物で形成しても良い。導電性の金属酸化物としては酸化インジウム(In2O
3)、酸化スズ(SnO2)、酸化亜鉛(ZnO)、酸化インジウム酸化スズ(In2O
3―SnO2、ITOと略記する)、酸化インジウム酸化亜鉛(In2O3―ZnO)又
はこれらの金属酸化物材料に酸化シリコンを含ませたものを用いることができる。
の導電層405には、Ti、Mo、Wなどの高融点金属膜又はそれらの金属窒化物膜(窒
化チタン膜、窒化モリブデン膜、窒化タングステン膜)を用いる構成が好ましい。該構成
により、第2の導電層465にAl、Cuを用いることで配線抵抗を低減することができ
るとともに、酸化物半導体層とAl、Cuとが直接接触することでAl、Cuが酸化して
しまい抵抗が増加するといった不具合を低減することができる。また第2の導電層465
は、後の工程(図2(B)での工程)でエッチングを行う際、第1の導電層405より選
択比が高い条件となる材料を選択しておくことが好ましい。
い。具体的には第2の導電層465は、ソース電極またはドレイン電極として機能する際
、配線抵抗が大きくならない程度として形成すればよく、厚さは特に限定されない。
構成要素ではないが、後の工程で第1の導電層405及び第2の導電層465を加工する
際のマスクとして、またはソース電極またはドレイン電極の上面を保護する保護層として
有効である。
絶縁層407は、酸化珪素、窒化珪素、酸化窒化珪素、窒化酸化珪素、酸化アルミニウム
、酸化ハフニウム、酸化タンタルなどを含むように成膜するのが好適である。なお、絶縁
層407は、単層構造としても良いし、積層構造としても良い。なお、絶縁層407の厚
さは特に限定されない。
の導電層465及び絶縁層407に対し、部分的にエッチング処理を行って第2の導電層
465a、465bを形成した後、レジストマスクを除去する。該エッチング処理により
、第2の導電層465及び絶縁層407が酸化物半導体層403上で分離される。分離さ
れた第2の導電層465a、465bは、トランジスタ420のソース電極層、ドレイン
電極層となる。
、部分的にエッチング処理を行って第1の導電層405a、405bを形成した後、レジ
ストマスクを除去する。該エッチング処理により、第1の導電層405が酸化物半導体層
403上で分離される。分離された第1の導電層405a、405bは、トランジスタ4
20のソース電極層、ドレイン電極層となる。
化物半導体層403上に形成された第1の導電層405の厚さを均一にしておくことが可
能になる。また第1の導電層405を薄膜化して形成しておくことで、前述のエッチング
工程により第1の導電層405を加工する際の所要期間を短くすることができる。そのた
め第1の導電層405を加工する際に生じる、酸化物半導体層403へのダメージを低減
することができる。そのため、信頼性の向上を図ることができる。
a、465b及び絶縁層407を覆うゲート絶縁層402を形成する。
以下の厚さとし、スパッタリング法、MBE法、CVD法、パルスレーザ堆積法、ALD
法等を適宜用いて形成することができる。また、ゲート絶縁層402は、スパッタリング
ターゲット表面に対し、概略垂直に複数の基板表面がセットされた状態で成膜を行うスパ
ッタ装置を用いて形成してもよい。
ム膜、窒化シリコン膜、酸化窒化シリコン膜、酸化窒化アルミニウム膜、又は窒化酸化シ
リコン膜を用いて形成することができる。
ましい。特に、ゲート絶縁層402は、層内(バルク中)に少なくとも化学量論的組成を
超える量の酸素が存在することが好ましく、例えば、ゲート絶縁層402として、酸化シ
リコンを用いる場合には、SiO2+α(ただし、α>0)とする。
酸化シリコンを用いる。この酸化シリコンをゲート絶縁層402として用いることで、酸
化物半導体層403に酸素を供給することができ、特性を良好にすることができる。
シリケート(HfSixOyx>0、y>0))、窒素が添加されたハフニウムシリケー
ト(HfSiOxNy(x>0、y>0))、ハフニウムアルミネート(HfAlxOy
(x>0、y>0))、酸化ランタンなどのhigh−k材料を用いることでゲートリー
ク電流を低減できる。さらに、ゲート絶縁層402は、単層構造としても良いし、積層構
造としても良い。
絶縁層402上に形成する。
ウム、銅、クロム、ネオジム、スカンジウム等の金属材料又はこれらを主成分とする合金
材料を用いて形成することができる。また、ゲート電極層401としてリン等の不純物元
素をドーピングした多結晶シリコン膜に代表される半導体膜、ニッケルシリサイドなどの
シリサイド膜を用いてもよい。ゲート電極層401は、単層構造としてもよいし、積層構
造としてもよい。
ジウム酸化物、酸化タングステンを含むインジウム亜鉛酸化物、酸化チタンを含むインジ
ウム酸化物、酸化チタンを含むインジウム錫酸化物、インジウム亜鉛酸化物、酸化シリコ
ンを添加したインジウム錫酸化物などの導電性材料を適用することもできる。また、上記
導電性材料と、上記金属材料の積層構造とすることもできる。
化物、具体的には、窒素を含むIn−Ga−Zn−O膜や、窒素を含むIn−Sn−O膜
や、窒素を含むIn−Ga−O膜や、窒素を含むIn−Zn−O膜や、窒素を含むSn−
O膜や、窒素を含むIn−O膜や、金属窒化膜(InN、SnNなど)を用いることがで
きる。これらの膜は5eV(電子ボルト)、好ましくは5.5eV(電子ボルト)以上の
仕事関数を有し、ゲート電極層として用いた場合、トランジスタの電気特性のしきい値電
圧をプラスにすることができ、所謂ノーマリーオフのスイッチング素子を実現できる。
2(E)参照)。
ることができる。層間絶縁層408は、代表的には酸化シリコン、酸化窒化シリコン、酸
化窒化アルミニウム、又は酸化ガリウムなどの無機絶縁層などを用いることができる。
、酸化ジルコニウム、酸化ランタン、酸化バリウム、又は金属窒化物(例えば、窒化アル
ミニウム膜)も用いることができる。
ム膜の積層を用いることができる。
混入させない方法を適宜用いて形成することが好ましい。また、層間絶縁層408は、酸
素を過剰に含む膜とすると、酸化物半導体層403に接するゲート絶縁層402を介した
酸化物半導体層403への酸素の供給源となるために好ましい。
タリング法を用いて成膜する。酸化シリコン膜のスパッタリング法による成膜は、希ガス
(代表的にはアルゴン)雰囲気下、酸素雰囲気下、又は希ガスと酸素の混合雰囲気下にお
いて行うことができる。
めには、吸着型の真空ポンプ(クライオポンプなど)を用いることが好ましい。クライオ
ポンプを用いて排気した成膜室で成膜した層間絶縁層408に含まれる不純物の濃度を低
減できる。また、層間絶縁層408の成膜室内の残留水分を除去するための排気手段とし
ては、ターボ分子ポンプにコールドトラップを加えたものであってもよい。
水素化物などの不純物が除去された高純度ガスを用いることが好ましい。
ルミニウム膜は、水素、水分などの不純物、及び酸素の両方に対して膜を通過させない遮
断効果(ブロック効果)が高い。
水分などの不純物の酸化物半導体層403への混入、及び酸化物半導体を構成する主成分
材料である酸素の酸化物半導体層403からの放出を防止する保護膜として機能する。
坦化絶縁膜としては、ポリイミド、アクリル、ベンゾシクロブテン系樹脂、等の有機材料
を用いることができる。また上記有機材料の他に、低誘電率材料(low−k材料)等を
用いることができる。なお、これらの材料で形成される絶縁膜を複数積層させることで、
平坦化絶縁膜を形成してもよい。
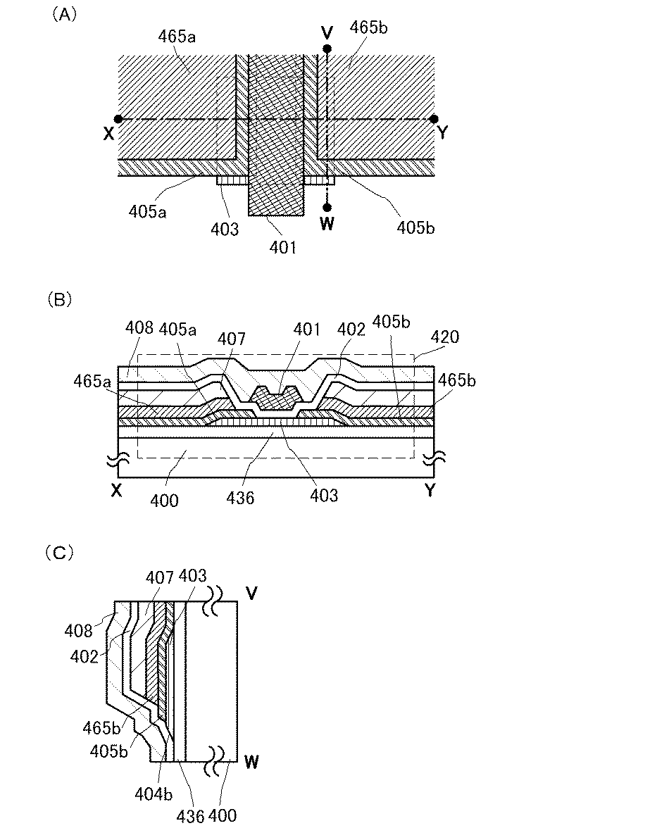
る第1の導電層405a及び第1の導電層405b間の距離Lcがトランジスタ420の
チャネル長となる。本実施の形態で開示する構造において、ゲート電極層401のチャネ
ル長方向の長さをLgとし、チャネル長をLcとすると、図3(A)に示すように同じ長
さとなるか、若しくは図3(B)に示すようにLgがLcより長くなるように設けること
ができる。つまり、本実施の形態で開示するトランジスタの構造は、トランジスタのソー
ス電極及びドレイン電極となる第1の導電層405a、405bの端部と、ゲート電極と
なるゲート電極層401の端部とを重畳して設けることができる構造である。そのため、
トランジスタのオン特性(例えば、オン電流や電界効果移動度)を向上させて、半導体装
置の高速応答、高速駆動を実現することができる。
ンジウム、亜鉛、及び酸素を少なくとも含む酸化物半導体層403を用い、トランジスタ
のソース電極及びドレイン電極と、ゲート電極とを重畳して設け、且つカバレッジを良好
にしたトランジスタを実現できる。そして、トランジスタのオン特性を向上させて、半導
体装置の高速応答、高速駆動を実現する際に、信頼性の高い構成を提供することができる
。
4の説明において、図1と同一部分又は同様な機能を有する部分については、繰り返しの
説明は省略する。また同じ箇所の詳細な説明は省略する。
トランジスタの構造と異なり、第1の導電層と第2の導電層との間に絶縁層を設ける構造
である。
面図である。
半導体層403と、第1の導電層405a、405bと、第2の導電層465a、465
bと、絶縁層417と、ゲート絶縁層402と、ゲート電極層401と、層間絶縁層40
8と、を有する(図4参照)。
として機能する第1の導電層405a、405bを、酸化物半導体層403と重畳する領
域において、ゲート絶縁層402を介してゲート電極層401と重畳させている。また図
4の構造は、図1の構造と同様に、トランジスタ430のソース電極及びドレイン電極と
して機能する第2の導電層465a、465bを、酸化物半導体層403と重畳する領域
において、ゲート絶縁層402を介してゲート電極層401と重畳させない。
させることなく、トランジスタのソース電極及びドレイン電極と、ゲート電極とを重畳し
て設けることができ、オン特性を向上させることができる。さらに図4の構成では、ゲー
ト絶縁層のカバレッジ不良を低減することで、酸化物半導体層及びゲート絶縁層を薄膜化
することができる。
65bとの間に絶縁層417を設け、開口部418において直接接続している。当該構造
とすることで、トランジスタ430を作製する際、第1の導電層と第2の導電層とのエッ
チングの選択比が小さくても所定の形状に加工することができる。そのため、第1の導電
層と第2の導電層に同じ材料を用いる構成とすることも可能である。
ドレイン電極を流れる電流を低減させることなく、トランジスタのソース電極及びドレイ
ン電極と、ゲート電極とを重畳して設けることができ、オン特性を向上させることができ
る。さらに本実施の形態で開示する構成では、ゲート絶縁層のカバレッジ不良を低減する
ことで、酸化物半導体層及びゲート絶縁層を薄膜化することができる。この場合、酸化物
半導体をチャネル形成領域に設けるトランジスタを微細化して形成することができ好適で
ある。
本実施の形態では、半導体装置の他の一形態を、図5及び図6を用いて説明する。上記実
施の形態と同一部分又は同様な機能を有する部分、及び工程は、上記実施の形態と同様に
行うことができ、繰り返しの説明は省略する。また同じ箇所の詳細な説明は省略する。
タ440の断面図である。
81bが設けられた絶縁層491と、酸化物半導体層403と、第1の導電層405a、
405bと、第2の導電層465a、465bと、ゲート絶縁層402と、ゲート電極層
401と、層間絶縁層408と、を有する(図5(A)参照)。
ン電極として機能する第1の導電層405a、405bを、酸化物半導体層403と重畳
する領域において、ゲート絶縁層402を介してゲート電極層401と重畳させている。
また図5(A)の構造は、図1の構造と同様に、トランジスタ440のソース電極及びド
レイン電極として機能する第2の導電層465a、465bを、酸化物半導体層403と
重畳する領域において、ゲート絶縁層402を介してゲート電極層401と重畳させない
。
を低減させることなく、トランジスタのソース電極及びドレイン電極と、ゲート電極とを
重畳して設けることができ、オン特性を向上させることができる。さらに図5(A)の構
成では、ゲート絶縁層のカバレッジ不良を低減することで、酸化物半導体層及びゲート絶
縁層を薄膜化することができる。
め込み導電層481a、481bが設けられた絶縁層491を設け、埋め込み導電層48
1a、481bが、酸化物半導体層403を介して、第1の導電層405a、405bと
、第2の導電層465a、465bとに重畳して設けられている。トランジスタ440の
下部に埋め込み導電層481a、481bを設ける構成とすることで、ゲート絶縁層40
2及び層間絶縁層408に開口部を設けることなく、トランジスタ間及び外部に設けられ
た制御回路と接続することができる。埋め込み導電層481a、481bは、トランジス
タ440との接触面積を大きくとることができるため、コンタクト抵抗を低減することが
できる。
該開口部を埋めるように埋め込み導電層を設けた後に、表面にCMP法による研磨を行っ
て形成すればよい。
Mo、Wから選ばれた元素を含む金属膜、又は上述した元素を成分とする金属窒化物膜(
窒化チタン膜、窒化モリブデン膜、窒化タングステン膜)等を用いることができる。
は、該金属膜の下側又は上側の一方又は双方にTi、Mo、Wなどの高融点金属膜又はそ
れらの金属窒化物膜(窒化チタン膜、窒化モリブデン膜、窒化タングステン膜)を積層さ
せた構成とすることが好ましい。
い。導電性の金属酸化物としては酸化インジウム(In2O3)、酸化スズ(SnO2)
、酸化亜鉛(ZnO)、酸化インジウム酸化スズ(In2O3―SnO2、ITOと略記
する)、酸化インジウム酸化亜鉛(In2O3―ZnO)又はこれらの金属酸化物材料に
酸化シリコンを含ませたものを用いることができる。
絶縁層491は、酸化シリコン、窒化シリコン、酸化窒化シリコン、窒化酸化シリコン、
酸化アルミニウム、酸化ハフニウム、酸化タンタルなどを含むように成膜するのが好適で
ある。なお、絶縁層491は、単層構造としても良いし、積層構造としても良い。
。
81b及び埋め込み酸化物半導体層482a、482bが設けられた絶縁層491と、酸
化物半導体層403と、第1の導電層405a、405bと、第2の導電層465a、4
65bと、ゲート絶縁層402と、ゲート電極層401と、層間絶縁層408と、を有す
る(図5(B)参照)。
ン電極として機能する第1の導電層405a、405bを、酸化物半導体層403と重畳
する領域において、ゲート絶縁層402を介してゲート電極層401と重畳させている。
また図5(B)の構造は、図1の構造と同様に、トランジスタ450のソース電極及びド
レイン電極として機能する第2の導電層465a、465bを、酸化物半導体層403と
重畳する領域において、ゲート絶縁層402を介してゲート電極層401と重畳させない
。
を低減させることなく、トランジスタのソース電極及びドレイン電極と、ゲート電極とを
重畳して設けることができ、オン特性を向上させることができる。さらに図5(B)の構
成では、ゲート絶縁層のカバレッジ不良を低減することで、酸化物半導体層及びゲート絶
縁層を薄膜化することができる。
め込み導電層481a、481b及び埋め込み酸化物半導体層482a、482bが設け
られた絶縁層491を設け、埋め込み導電層481a、481b及び埋め込み酸化物半導
体層482a、482bが、酸化物半導体層403を介して、第1の導電層405a、4
05bと、第2の導電層465a、465bとに重畳して設けられている。トランジスタ
450の下部に埋め込み導電層481a、481bを設ける構成とすることで、ゲート絶
縁層402及び層間絶縁層408に開口部を設けることなく、トランジスタ間及び外部に
設けられた制御回路と接続することができる。また埋め込み導電層481a、481bと
トランジスタ450との間に埋め込み酸化物半導体層482a、482bを設ける構成と
することで、埋め込み導電層481a、481bとトランジスタ450との接続を良好な
ものとすることができる。埋め込み導電層481a、481bは、トランジスタ450と
の接触面積を大きくとることができ、加えて埋め込み酸化物半導体層482a、482b
はトランジスタ450との接続を良好なものとすることができるため、コンタクト抵抗を
低減することができる。
るいは亜鉛(Zn)を含むことが好ましい。特にInとZnを含むことが好ましい。また
、該酸化物半導体を用いたトランジスタの電気特性のばらつきを減らすためのスタビライ
ザーとして、それらに加えてガリウム(Ga)を有することが好ましい。また、スタビラ
イザーとしてスズ(Sn)を有することが好ましい。また、スタビライザーとしてハフニ
ウム(Hf)を有することが好ましい。また、スタビライザーとしてアルミニウム(Al
)を有することが好ましい。また、スタビライザーとしてジルコニウム(Zr)を有する
ことが好ましい。
付与した金属酸化物で形成しても良い。導電性の金属酸化物としては酸化インジウム(I
n2O3)、酸化スズ(SnO2)、酸化亜鉛(ZnO)、酸化インジウム酸化スズ(I
n2O3―SnO2、ITOと略記する)、酸化インジウム酸化亜鉛(In2O3―Zn
O)又はこれらの金属酸化物材料に酸化シリコンを含ませたものを用いることができる。
タ460の断面図である。
81bが設けられた絶縁層491と、酸化物半導体層403と、第1の導電層405a、
405bと、第2の導電層465a、465bと、ゲート絶縁層402と、ゲート電極層
401と、層間絶縁層408と、を有する(図6(A)参照)。
ン電極として機能する第1の導電層405a、405bを、酸化物半導体層403と重畳
する領域において、ゲート絶縁層402を介してゲート電極層401と重畳させている。
また図6(A)の構造は、図1の構造と同様に、トランジスタ460のソース電極及びド
レイン電極として機能する第2の導電層465a、465bを、酸化物半導体層403と
重畳する領域において、ゲート絶縁層402を介してゲート電極層401と重畳させない
。
を低減させることなく、トランジスタのソース電極及びドレイン電極と、ゲート電極とを
重畳して設けることができ、オン特性を向上させることができる。さらに図6(A)の構
成では、ゲート絶縁層のカバレッジ不良を低減することで、酸化物半導体層及びゲート絶
縁層を薄膜化することができる。
ランジスタ460の下部に埋め込み導電層481a、481bが設けられた絶縁層491
を設け、埋め込み導電層481a、481bが、酸化物半導体層403を介して、第1の
導電層405a、405bと、第2の導電層465a、465bとに重畳して設けられて
いる。トランジスタ460の下部に埋め込み導電層481a、481bを設ける構成とす
ることで、ゲート絶縁層402及び層間絶縁層408に開口部を設けることなく、トラン
ジスタ間及び外部に設けられた制御回路とを接続することができる。埋め込み導電層48
1a、481bは、トランジスタ460との接触面積を大きくとることができるため、コ
ンタクト抵抗を低減することができる。
485を設け、第1の導電層405a、405bと、埋め込み導電層481a、481b
とを直接接続する構造としている。該構造とすることにより、トランジスタのソース電極
及びドレイン電極となる第1の導電層、第2の導電層及び埋め込み導電層を流れる電流を
大きくすることができる。
。
81b及び埋め込み酸化物半導体層482a、482bが設けられた絶縁層491と、酸
化物半導体層403と、第1の導電層405a、405bと、第2の導電層465a、4
65bと、ゲート絶縁層402と、ゲート電極層401と、層間絶縁層408と、を有す
る(図6(B)参照)。
ン電極として機能する第1の導電層405a、405bを、酸化物半導体層403と重畳
する領域において、ゲート絶縁層402を介してゲート電極層401と重畳させる。また
図6(B)の構造は図1の構造と同様に、トランジスタ470のソース電極及びドレイン
電極として機能する第2の導電層465a、465bを、酸化物半導体層403と重畳す
る領域において、ゲート絶縁層402を介してゲート電極層401と重畳させない。
を低減させることなく、トランジスタのソース電極及びドレイン電極と、ゲート電極とを
重畳して設けることができ、オン特性を向上させることができる。さらに図6(B)の構
成では、ゲート絶縁層のカバレッジ不良を低減することで、酸化物半導体層及びゲート絶
縁層を薄膜化することができる。
め込み導電層481a、481b及び埋め込み酸化物半導体層482a、482bが設け
られた絶縁層491を設け、埋め込み導電層481a、481b及び埋め込み酸化物半導
体層482a、482bが、酸化物半導体層403を介して、第1の導電層405a、4
05bと、第2の導電層465a、465bとに重畳して設けられている。トランジスタ
470の下部に埋め込み導電層481a、481bを設ける構成とすることで、ゲート絶
縁層402及び層間絶縁層408に開口部を設けることなく、トランジスタ間及び外部に
設けられる制御回路と接続することができる。また埋め込み導電層481a、481bと
トランジスタ470との間に埋め込み酸化物半導体層482a、482bを設ける構成と
することで、埋め込み導電層481a、481bとトランジスタ470との接続を良好な
ものとすることができる。埋め込み導電層481a、481bは、トランジスタ470と
の接触面積を大きくとることができ、加えて埋め込み酸化物半導体層482a、482b
はトランジスタ470との接続を良好なものとすることができるため、コンタクト抵抗を
低減することができる。
85を設け、第1の導電層405a、405bと、埋め込み酸化物半導体層482a、4
82bとを直接接続する構造としている。該構造とすることにより、トランジスタのソー
ス電極及びドレイン電極となる第1の導電層、第2の導電層、埋め込み酸化物半導体層及
び埋め込み導電層を流れる電流を大きくすることができる。
タのソース電極及びドレイン電極を流れる電流を低減させることなく、トランジスタのソ
ース電極及びドレイン電極と、ゲート電極とを重畳して設けることができ、オン特性を向
上させることができる。さらに本実施の形態の構成では、ゲート絶縁層のカバレッジ不良
を低減することで、酸化物半導体層及びゲート絶縁層を薄膜化することができる。この場
合、酸化物半導体をチャネル形成領域に設けるトランジスタを微細化して形成することが
でき好適である。また、特に本実施の形態の構成では、埋め込み導電層を設け、トランジ
スタとのコンタクト抵抗を低減することができる。
本実施の形態では、半導体装置の他の一形態を、図7を用いて説明する。上記実施の形態
と同一部分又は同様な機能を有する部分、及び工程は、上記実施の形態と同様に行うこと
ができ、繰り返しの説明は省略する。また同じ箇所の詳細な説明は省略する。
0の平面図であり、図7(B)は、図7(A)のX−Yにおける断面図であり、図7(C
)は、図7(A)のV−Wにおける断面図である。
する基板400上に、バッファ層436と、酸化物半導体層403と、第1の導電層40
5a、405bと、第2の導電層465a、465bと、絶縁層407と、ゲート絶縁層
402と、ゲート電極層401と、層間絶縁層408と、を有する。
20のソース電極及びドレイン電極として機能する第1の導電層405a、405bを、
酸化物半導体層403と重畳する領域において、ゲート絶縁層402を介してゲート電極
層401と重畳させている。また本実施の形態で開示する図7(A)乃至(C)の構造は
、トランジスタ420のソース電極及びドレイン電極として機能する第2の導電層465
a、465bを、酸化物半導体層403と重畳する領域において、ゲート絶縁層402を
介してゲート電極層401と重畳させない。
ドレイン電極となる第1の導電層405a、405bの端部と、ゲート電極となるゲート
電極層401の端部とを重畳して設けることができる。そのため、トランジスタのオン特
性(例えば、オン電流や電界効果移動度)を向上させて、半導体装置の高速応答、高速駆
動を実現することができる。
及びドレイン電極となる第1の導電層405a、405bを薄膜化することができる。第
1の導電層405a、405bを薄膜化することで、特に酸化物半導体層403のチャネ
ル形成領域周辺での、ゲート絶縁層402を形成する際の表面の段差を小さくすることが
できる。従って、ゲート絶縁層402は、カバレッジを良好にして形成することができる
。カバレッジ不良を低減することで、電極間の短絡の発生を抑制し、信頼性の向上を図る
ことができる。
形成された第1の導電層405の厚さを均一にしておくことが可能になる。また第1の導
電層405を薄膜化して形成しておくことで、エッチング等の工程により第1の導電層4
05a、405bを加工する際の所要期間を短くすることができる。そのため第1の導電
層405a、405bをエッチング等の工程で加工する際に生じる、酸化物半導体層40
3へのダメージを低減することができる。そのため、信頼性の向上を図ることができる。
化するとともに、酸化物半導体層403を薄膜化することができる。ゲート絶縁層402
及び酸化物半導体層403を薄膜化することで、オン特性の向上が図れるとともに、トラ
ンジスタを完全空乏型で動作させることも可能である。トランジスタを完全空乏型で動作
させることで、高集積化、高速駆動化、低消費電力化を図ることができる。
電極及びドレイン電極となる第2の導電層465a、465bの端部と、ゲート電極とな
るゲート電極層401の端部とを重畳させないで設けることができる。そのため、第1の
導電層405a、405bに比べて第2の導電層465a、465bを厚膜化しても、電
極間の短絡がない。したがって、第2の導電層465a、465bを厚膜化することで、
電極間での短絡を引き起こすことなく、ソース電極及びドレイン電極を流れる電流を大き
くすることができる。
65bと絶縁層407とを重畳して設け、側面をエッチング等の加工によりテーパー状と
することができる。そのため第2の導電層465a、465bを厚膜化しても、カバレッ
ジを良好にすることができる。
ジスタのソース電極及びドレイン電極を流れる電流を低減させることなく、トランジスタ
のソース電極及びドレイン電極と、ゲート電極とを重畳して設けることができ、オン特性
を向上させることができる。さらに本実施の形態で開示する図7(A)乃至(C)の構成
では、ゲート絶縁層のカバレッジ不良を低減することで、酸化物半導体層及びゲート絶縁
層を薄膜化することができる。この場合、酸化物半導体をチャネル形成領域に設けるトラ
ンジスタを微細化して形成することができ好適である。
本実施の形態では、実施の形態1乃至3に示すトランジスタを使用し、電力が供給されな
い状況でも記憶内容の保持が可能で、かつ、書き込み回数にも制限が無い半導体装置の一
例を、図面を用いて説明する。なお、本実施の形態の半導体装置は、トランジスタ162
として実施の形態1乃至3に記載のトランジスタを適用して構成される。
憶内容を保持することが可能である。つまり、リフレッシュ動作を必要としない、或いは
、リフレッシュ動作の頻度が極めて少ない半導体記憶装置とすることが可能となるため、
消費電力を十分に低減することができる。
B)に半導体装置の平面図を、図8(C)に半導体装置の回路図をそれぞれ示す。ここで
、図8(A)は、図8(B)のC1−C2、及びD1−D2における断面に相当する。
ジスタ160を有し、上部に第2の半導体材料を用いたトランジスタ162を有するもの
である。トランジスタ162は、実施の形態1乃至3で示した構成と同一の構成とするこ
とができる。
望ましい。例えば、第1の半導体材料を酸化物半導体以外の半導体材料(シリコンなど)
とし、第2の半導体材料を酸化物半導体とすることができる。酸化物半導体以外の材料を
用いたトランジスタは、高速動作が容易である。一方で、酸化物半導体を用いたトランジ
スタは、その特性により長時間の電荷保持を可能とする。
るが、pチャネル型トランジスタを用いることができるのはいうまでもない。また、開示
する発明の技術的な本質は、情報を保持するために酸化物半導体をトランジスタ162に
用いる点にあるから、半導体装置に用いられる材料や半導体装置の構造など、半導体装置
の具体的な構成をここで示すものに限定する必要はない。
基板100に設けられたチャネル形成領域116と、チャネル形成領域116を挟むよう
に設けられた不純物領域120と、不純物領域120に接する金属間化合物領域124と
、チャネル形成領域116上に設けられたゲート絶縁層108と、ゲート絶縁層108上
に設けられたゲート電極層110と、を有する。
り、トランジスタ160を覆うように絶縁層128及び層間絶縁層130が設けられてい
る。なお、高集積化を実現するためには、図8(A)に示すようにトランジスタ160が
サイドウォール絶縁層を有しない構成とすることが望ましい。一方で、トランジスタ16
0の特性を重視する場合には、ゲート電極層110の側面にサイドウォール絶縁層を設け
、不純物濃度が異なる領域を含む不純物領域120としてもよい。
ンジスタである。ここで、トランジスタ162に含まれる酸化物半導体層144は、高純
度化されたものであることが望ましい。高純度化された酸化物半導体を用いることで、極
めて優れたオフ特性のトランジスタ162を得ることができる。
層150を介して、トランジスタ162の電極層となる第1の導電層140a及び第2の
導電層141aと重畳する領域には、導電層148bが設けられており、第1の導電層1
40a及び第2の導電層141aと、絶縁層142及び絶縁層150と、導電層148b
とによって、容量素子164が構成される。すなわち、トランジスタ162の第1の導電
層140a及び第2の導電層141aは、容量素子164の一方の電極として機能し、導
電層148bは、容量素子164の他方の電極として機能する。なお、容量が不要の場合
には、容量素子164を設けない構成とすることもできる。また、容量素子164は、別
途、トランジスタ162の上方に設けてもよい。
て、絶縁層152上にはトランジスタ162と、他のトランジスタを接続するための配線
156が設けられている。図8(A)には図示しないが、配線156は、絶縁層150、
絶縁層152及びゲート絶縁層146などに形成された開口に形成された電極を介して第
2の導電層141a及び第2の導電層141bに接続される。
うに、トランジスタ162のゲート電極となる導電層148aの一部と重畳するように設
ける。また第2の導電層141a及び第2の導電層141bは、実施の形態1で説明した
ように、トランジスタ162のゲート電極となる導電層148aの一部と重畳しないよう
に設ける。その結果、トランジスタのソース電極及びドレイン電極を流れる電流を低減さ
せることなく、トランジスタのソース電極及びドレイン電極と、ゲート電極とを重畳して
設けることができ、オン特性を向上させることができる。また、ゲート絶縁層のカバレッ
ジ不良を低減することで、酸化物半導体層及びゲート絶縁層を薄膜化することができ、ト
ランジスタを微細化して形成することができる。
少なくとも一部が重畳するように設けられており、トランジスタ160のソース領域又は
ドレイン領域と酸化物半導体層144の一部が重畳するように設けられているのが好まし
い。また、トランジスタ162及び容量素子164が、トランジスタ160の少なくとも
一部と重畳するように設けられている。例えば、容量素子164の一方の電極である第1
の導電層140aは、トランジスタ160のゲート電極層110と少なくとも一部が重畳
して設けられている。このような平面レイアウトを採用することにより、半導体装置の占
有面積の低減を図ることができるため、高集積化を図ることができる。
電極に接続されている。また第2の配線(2nd Line)は、トランジスタ160の
ドレイン電極に接続されている。また、第3の配線(3rd Line)は、トランジス
タ162のソース電極又はドレイン電極の一方に接続されている。また第4の配線(4t
h Line)は、トランジスタ162のゲート電極に接続されている。またトランジス
タ160のゲート電極は、トランジスタ162のソース電極又はドレイン電極の一方と、
容量素子164の電極の一方とに接続されている。また第5の配線(5th Line)
は、容量素子164の電極の他方に接続されている。
いう特徴を生かすことで、次のように、情報の書き込み、保持、読み出しが可能である。
162がオン状態となる電位にして、トランジスタ162をオン状態とする。これにより
、第3の配線の電位が、トランジスタ160のゲート電極、および容量素子164の一方
の電極に与えられる。すなわち、トランジスタ160のゲート電極には、所定の電荷が与
えられる(書き込み)。ここでは、異なる二つの電位レベル(Hレベル、Lレベル)のい
ずれかが与えられるものとする。その後、第4の配線の電位を、トランジスタ162がオ
フ状態となる電位にして、トランジスタ162をオフ状態とすることにより、トランジス
タ160のゲート電極に与えられた電位が保持される(保持)。
電荷は長時間にわたって保持される。
で、第5の配線に適切な電位(読み出し電位)を与えると、トランジスタ160のゲート
電極の電位に応じて、第2の配線は異なる電位をとる。該異なる電位は、トランジスタ1
60をnチャネル型とすると、トランジスタ160のゲート電極にHレベルが与えられて
いる場合の見かけのしきい値電圧Vth_Hが、トランジスタ160のゲート電極にLレ
ベルが与えられている場合の見かけのしきい値電圧Vth_Lより低くなるためである。
ここで、見かけのしきい値電圧とは、トランジスタ160を「オン状態」とするために必
要な第5の配線の電位をいうものとする。したがって、第5の配線の電位をVth_Hと
Vth_Lの間の電位V0とすることにより、トランジスタ160のゲート電極に与えら
れた電荷を判別できる。例えば、書き込みにおいて、Hレベルが与えられていた場合には
、第5の配線の電位がV0(>Vth_H)となれば、トランジスタ160は「オン状態
」となる。Lレベルが与えられていた場合には、第5の配線の電位がV0(<Vth_L
)となっても、トランジスタ160は「オフ状態」のままである。このため、第2の配線
の電位を見ることで、保持されている情報を読み出すことができる。
出せることが必要になる。このように情報を読み出さない場合には、ゲート電極の状態に
かかわらずトランジスタ160が「オフ状態」となるような電位、つまり、Vth_Hよ
り小さい電位を第5の配線に与えればよい。又は、ゲート電極の状態にかかわらずトラン
ジスタ160が「オン状態」となるような電位、つまり、Vth_Lより大きい電位を第
5の配線に与えればよい。
の極めて小さいトランジスタを適用することで、極めて長期にわたり記憶内容を保持する
ことが可能である。つまり、リフレッシュ動作が不要となるか、又は、リフレッシュ動作
の頻度を極めて低くすることが可能となるため、消費電力を十分に低減することができる
。また、電力の供給がない場合(ただし、電位は固定されていることが望ましい)であっ
ても、長期にわたって記憶内容を保持することが可能である。
子の劣化の問題もない。例えば、従来の不揮発性メモリのように、フローティングゲート
への電子の注入や、フローティングゲートからの電子の引き抜きを行う必要がないため、
ゲート絶縁層の劣化といった問題が全く生じない。すなわち、開示する発明に係る半導体
装置では、従来の不揮発性メモリで問題となっている書き換え可能回数に制限はなく、信
頼性が飛躍的に向上する。さらに、トランジスタのオン状態、オフ状態によって、情報の
書き込みが行われるため、高速な動作も容易に実現しうる。
本実施の形態においては、実施の形態1乃至3に示すトランジスタを使用し、電力が供給
されない状況でも記憶内容の保持が可能で、かつ、書き込み回数にも制限が無い半導体装
置について、実施の形態4に示した構成と異なる構成を図9及び図10を用いて説明する
。なお、本実施の形態の半導体装置は、トランジスタ162として実施の形態1乃至3に
記載のトランジスタを適用して構成される。
す概念図である。まず、図9(A)に示す半導体装置について説明を行い、続けて図9(
B)に示す半導体装置について、以下説明を行う。
極又はドレイン電極となる一方の電極に接続される。ワード線WLは、トランジスタ16
2のゲート電極に接続される。トランジスタ162のソース電極又はドレイン電極となる
他方の電極は、容量素子254の一方の電極に接続される。
ている。このため、トランジスタ162をオフ状態とすることで、容量素子254の一方
の電極の電位(あるいは、容量素子254に蓄積された電荷)を極めて長時間にわたって
保持することが可能である。
を行う場合について説明する。
ジスタ162をオン状態とする。これにより、ビット線BLの電位が、容量素子254の
一方の電極に与えられる(書き込み)。その後、ワード線WLの電位を、トランジスタ1
62がオフ状態となる電位として、トランジスタ162をオフ状態とすることにより、容
量素子254の一方の電極の電位が保持される(保持)。
(あるいは容量素子に蓄積された電荷)は長時間にわたって保持することができる。
状態であるビット線BLと容量素子254の一方の電極とが導通し、ビット線BLと容量
素子254の一方の電極の間で電荷が再分配される。その結果、ビット線BLの電位が変
化する。ビット線BLの電位の変化量は、容量素子254の一方の電極の電位(あるいは
容量素子254に蓄積された電荷)によって、異なる値をとる。
ト線BLが有する静電容量成分(以下、ビット線容量とも呼ぶ)をCB、電荷が再分配さ
れる前のビット線BLの電位をVB0とすると、電荷が再分配された後のビット線BLの
電位は、(CB×VB0+C×V)/(CB+C)となる。したがって、メモリセル25
0の状態として、容量素子254の一方の電極の電位がV1とV0(V1>V0)の2状
態をとるとすると、電位V1を保持している場合のビット線BLの電位(=CB×VB0
+C×V1)/(CB+C))は、電位V0を保持している場合のビット線BLの電位(
=CB×VB0+C×V0)/(CB+C))よりも高くなることがわかる。
る。
さいという特徴から、容量素子254に蓄積された電荷は長時間にわたって保持すること
ができる。つまり、リフレッシュ動作が不要となるか、又は、リフレッシュ動作の頻度を
極めて低くすることが可能となるため、消費電力を十分に低減することができる。また、
電力の供給がない場合であっても、長期にわたって記憶内容を保持することが可能である
。
50を複数有するメモリセルアレイ251a及び251bを有し、下部に、メモリセルア
レイ251a及びメモリセルアレイ251bを動作させるために必要な周辺回路253を
有する。なお、周辺回路253は、メモリセルアレイ251(メモリセルアレイ251a
及び251b)に接続されている。
直下に設けることができるため半導体装置の小型化を図ることができる。
を用いるのがより好ましい。例えば、シリコン、ゲルマニウム、シリコンゲルマニウム、
炭化シリコン、又はガリウムヒ素等を用いることができ、単結晶半導体を用いることが好
ましい。他に、有機半導体材料などを用いてもよい。このような半導体材料を用いたトラ
ンジスタは、十分な高速動作が可能である。したがって、該トランジスタにより、高速動
作が要求される各種回路(論理回路、駆動回路など)を好適に実現することが可能である
。
251aと、メモリセルアレイ251b)が積層された構成を例示したが、積層するメモ
リセルアレイの数はこれに限定されない。3つ以上のメモリセルアレイを積層する構成と
しても良い。
を行う。
平面図を、図10(B)に図10(A)の線分A−Bにおける断面図をそれぞれ示す。
たトランジスタの構成と同一の構成とすることができる。
ジスタ162が設けられている。埋め込み導電層502は、図10(A)におけるビット
線BLとして機能する配線であり、トランジスタ162の第1の導電層145aと接して
設けられている。また、埋め込み導電層504は、図10(A)における容量素子254
の一方の電極として機能し、トランジスタ162の第1の導電層145bと接して設けら
れている。また、トランジスタ162の第1の導電層145a上には、第2の導電層14
6aが接して設けられている。また、トランジスタ162の第1の導電層145b上には
、第2の導電層146bが接して設けられている。またトランジスタ162上において、
第2の導電層146bは、容量素子254の一方の電極として機能する。またトランジス
タ162上において、第2の導電層146bと重畳する領域に設けられた導電層506は
、容量素子254の他方の電極として機能する。
8に接続される。ゲート絶縁層147を介して酸化物半導体層144上に設けられたゲー
ト電極として機能する導電層148aは、ワード線509に接続される。
を示す。周辺回路は、例えばnチャネル型トランジスタ510及びpチャネル型トランジ
スタ512を含む構成とすることができる。nチャネル型トランジスタ510及びpチャ
ネル型トランジスタ512に用いる半導体材料としては、酸化物半導体以外の半導体材料
(シリコンなど)を用いるのが好ましい。このような材料を用いることで、周辺回路に含
まれるトランジスタの高速動作を図ることができる。
を図ることができるため、高集積化を図ることができる。
ンジスタにより形成されている。インジウム、亜鉛、及び酸素を少なくとも含む非単結晶
の酸化物半導体を用いたトランジスタは、オフ電流が小さいため、これを用いることによ
り長期にわたり記憶内容を保持することが可能である。つまり、リフレッシュ動作の頻度
を極めて低くすることが可能となるため、消費電力を十分に低減することができる。また
、容量素子254は、図10(B)で示すように埋め込み導電層504、酸化物半導体層
144、ゲート絶縁層147、導電層506が積層されることによって形成される。
半導体を用いたトランジスタを用いた記憶回路とを一体に備えることで、これまでにない
特徴を有する半導体装置を実現することができる。また、周辺回路と記憶回路を積層構造
とすることにより、半導体装置の集積化を図ることができる。
本実施の形態では、先の実施の形態で示した半導体装置を携帯電話、スマートフォン、電
子書籍などの携帯機器に応用した場合の例を図11乃至図14を用いて説明する。
などにSRAM又はDRAMが使用されている。SRAM又はDRAMが使用される理由
としてはフラッシュメモリでは応答が遅く、画像処理では不向きであるためである。一方
で、SRAM又はDRAMを画像データの一時記憶に用いた場合、以下の特徴がある。
806の6個のトランジスタで構成されており、それをXデコーダー807、Yデコーダ
ー808にて駆動している。トランジスタ803とトランジスタ805、トランジスタ8
04とトランジスタ806はインバータを構成し、高速駆動を可能としている。しかし1
つのメモリセルが6トランジスタで構成されているため、セル面積が大きいという欠点が
ある。デザインルールの最小寸法をFとしたときにSRAMのメモリセル面積は通常10
0〜150F2である。このためSRAMはビットあたりの単価が各種メモリの中で最も
高い。
保持容量812によって構成され、それをXデコーダー813、Yデコーダー814にて
駆動している。1つのセルが1トランジスタ1容量の構成になっており、面積が小さい。
DRAMのメモリセル面積は通常10F2以下である。ただし、DRAMは常にリフレッ
シュが必要であり、書き換えをおこなわない場合でも電力を消費する。
、且つ頻繁なリフレッシュは不要である。したがって、メモリセル面積が縮小され、且つ
消費電力が低減することができる。
グベースバンド回路902、デジタルベースバンド回路903、バッテリー904、電源
回路905、アプリケーションプロセッサ906、フラッシュメモリ910、ディスプレ
イコントローラ911、メモリ回路912、ディスプレイ913、タッチセンサ919、
音声回路917、キーボード918などより構成されている。ディスプレイ913は表示
部914、ソースドライバ915、ゲートドライバ916によって構成されている。アプ
リケーションプロセッサ906はCPU907、DSP908、インターフェイス909
を有している。一般にメモリ回路912はSRAM又はDRAMで構成されており、この
部分に先の実施の形態で説明した半導体装置を採用することによって、情報の書き込みお
よび読み出しが高速で、長期間の記憶保持が可能で、且つ消費電力が十分に低減すること
ができる。
用した例を示す。図13に示すメモリ回路950は、メモリ952、メモリ953、スイ
ッチ954、スイッチ955およびメモリコントローラ951により構成されている。ま
た、メモリ回路は、画像データ(入力画像データ)を送る 信号線、メモリ952、及び
メモリ953に記憶されたデータ(記憶画像データ)を読み出し、及び制御を行うディス
プレイコントローラ956と、ディスプレイコントローラ956からの信号により表示す
るディスプレイ957が接続されている。
る(入力画像データA)。入力画像データAは、スイッチ954を介してメモリ952に
記憶される。そしてメモリ952に記憶された画像データ(記憶画像データA)は、スイ
ッチ955、及びディスプレイコントローラ956を介してディスプレイ957に送られ
、表示される。
期でメモリ952からスイッチ955を介して、ディスプレイコントローラ956から読
み出される。
に変更が有る場合)、アプリケーションプロセッサは新たな画像データ(入力画像データ
B)を形成する。入力画像データBはスイッチ954を介してメモリ953に記憶される
。この間も定期的にメモリ952からスイッチ955を介して記憶画像データAは読み出
されている。メモリ953に新たな画像データ(記憶画像データB)が記憶し終わると、
ディスプレイ957の次のフレームより、記憶画像データBは読み出され、スイッチ95
5、及びディスプレイコントローラ956を介して、ディスプレイ957に記憶画像デー
タBが送られ、表示がおこなわれる。この読み出しはさらに次に新たな画像データがメモ
リ952に記憶されるまで継続される。
の読み出しを行うことによって、ディスプレイ957の表示をおこなう。なお、メモリ9
52及びメモリ953はそれぞれ別のメモリには限定されず、1つのメモリを分割して使
用してもよい。先の実施の形態で説明した半導体装置をメモリ952及びメモリ953に
採用することによって、情報の書き込みおよび読み出しが高速で、長期間の記憶保持が可
能で、且つ消費電力が十分に低減することができる。
源回路1002、マイクロプロセッサ1003、フラッシュメモリ1004、音声回路1
005、キーボード1006、メモリ回路1007、タッチパネル1008、ディスプレ
イ1009、ディスプレイコントローラ1010によって構成される。
ることができる。メモリ回路1007の役割は書籍の内容を一時的に保持する機能を持つ
。機能の例としては、ユーザーがハイライト機能を使用する場合などがある。ユーザーが
電子書籍を読んでいるときに、特定の箇所にマーキングをしたい場合がある。このマーキ
ング機能をハイライト機能と言い、表示の色を変える、アンダーラインを引く、文字を太
くする、文字の書体を変えるなどによって、周囲との違いを示すことである。ユーザーが
指定した箇所の情報を記憶し、保持する機能である。この情報を長期に保存する場合には
フラッシュメモリ1004にコピーしても良い。このような場合においても、先の実施の
形態で説明した半導体装置を採用することによって、情報の書き込みおよび読み出しが高
速で、長期間の記憶保持が可能で、且つ消費電力が十分に低減することができる。
載されている。このため、読み出しが高速で、長期間の記憶保持が可能で、且つ消費電力
を低減した携帯機器が実現される。
本発明の一態様に係る半導体装置は、表示機器、パーソナルコンピュータ、記録媒体を備
えた画像再生装置(代表的にはDVD:Digital Versatile Disc
等の記録媒体を再生し、その画像を表示しうるディスプレイを有する装置)に用いること
ができる。その他に、本発明の一態様に係る半導体装置を用いることができる電子機器と
して、携帯電話、携帯型を含むゲーム機、携帯情報端末、電子書籍、ビデオカメラやデジ
タルスチルカメラ等のカメラ、ゴーグル型ディスプレイ(ヘッドマウントディスプレイ)
、ナビゲーションシステム、音響再生装置(カーオーディオ、デジタルオーディオプレイ
ヤー等)、複写機、ファクシミリ、プリンター、プリンター複合機、現金自動預け入れ払
い機(ATM)、自動販売機などが挙げられる。これら電子機器の具体例を図15に示す
。
表示部5004、マイクロホン5005、スピーカー5006、操作キー5007、スタ
イラス5008等を有する。携帯型ゲーム機の駆動回路に、本発明の一態様に係る半導体
装置を用いることで、動作速度の速い携帯型ゲーム機を提供することができる。或いは、
本発明の一態様に係る半導体装置を用いることで、携帯型ゲーム機の小型化を実現するこ
とができる。なお、図15(A)に示した携帯型ゲーム機は、2つの表示部5003と表
示部5004とを有しているが、携帯型ゲーム機が有する表示部の数は、これに限定され
ない。
する。表示機器の駆動回路に、本発明の一態様に係る半導体装置を用いることで、動作速
度の速い表示機器を提供することができる。或いは、本発明の一態様に係る半導体装置を
用いることで、表示機器の小型化を実現することができる。なお、表示機器には、パーソ
ナルコンピュータ用、TV放送受信用、広告表示用などの全ての情報表示用表示機器が含
まれる。
、キーボード5403、ポインティングデバイス5404等を有する。ノート型パーソナ
ルコンピュータの駆動回路に、本発明の一態様に係る半導体装置を用いることで、動作速
度の速いノート型パーソナルコンピュータを提供することができる。或いは、本発明の一
態様に係る半導体装置を用いることで、ノート型パーソナルコンピュータの小型化を実現
することができる。
5603、第2表示部5604、接続部5605、操作キー5606等を有する。第1表
示部5603は第1筐体5601に設けられており、第2表示部5604は第2筐体56
02に設けられている。そして、第1筐体5601と第2筐体5602とは、接続部56
05により接続されており、第1筐体5601と第2筐体5602の間の角度は、接続部
5605により可動となっている。第1表示部5603における映像の切り替えを、接続
部5605における第1筐体5601と第2筐体5602との間の角度に従って、切り替
える構成としても良い。また、第1表示部5603及び第2表示部5604の少なくとも
一方に、位置入力装置としての機能が付加された半導体表示装置を用いるようにしても良
い。なお、位置入力装置としての機能は、半導体表示装置にタッチパネルを設けることで
付加することができる。或いは、位置入力装置としての機能は、フォトセンサとも呼ばれ
る光電変換素子を半導体表示装置の画素部に設けることでも、付加することができる。携
帯情報端末の駆動回路に、本発明の一態様に係る半導体装置を用いることで、動作速度の
速い携帯情報端末を提供することができる。或いは、本発明の一態様に係る半導体装置を
用いることで、携帯情報端末の小型化を実現することができる。
音声出力部5804、操作キー5805、受光部5806等を有する。受光部5806に
おいて受信した光を電気信号に変換することで、外部の画像を取り込むことができる。携
帯電話の駆動回路に、本発明の一態様に係る半導体装置を用いることで、動作速度の速い
携帯電話を提供することができる。或いは、本発明の一態様に係る半導体装置を用いるこ
とで、携帯電話の小型化を実現することができる。
106 素子分離絶縁層
108 ゲート絶縁層
110 ゲート電極層
116 チャネル形成領域
120 不純物領域
124 金属間化合物領域
128 絶縁層
130 層間絶縁層
140a 導電層
140b 導電層
141a 導電層
141b 導電層
142 絶縁層
144 酸化物半導体層
145a 導電層
145b 導電層
146 ゲート絶縁層
148a 導電層
148b 導電層
150 絶縁層
152 絶縁層
153 導電層
156 配線
160 トランジスタ
162 トランジスタ
164 容量素子
250 メモリセル
251 メモリセルアレイ
251a メモリセルアレイ
251b メモリセルアレイ
253 周辺回路
254 容量素子
400 基板
401 ゲート電極層
402 ゲート絶縁層
403 酸化物半導体層
405 導電層
405a 導電層
405b 導電層
407 絶縁層
408 層間絶縁層
417 絶縁層
418 開口部
420 トランジスタ
430 トランジスタ
436 バッファ層
440 トランジスタ
450 トランジスタ
460 トランジスタ
465 導電層
465a 導電層
465b 導電層
470 トランジスタ
481a 埋め込み導電層
481b 埋め込み導電層
482a 酸化物半導体層
482b 酸化物半導体層
485 開口部
491 絶縁層
502 埋め込み導電層
504 埋め込み導電層
506 導電層
508 容量線
509 ワード線
510 nチャネル型トランジスタ
512 pチャネル型トランジスタ
801 トランジスタ
803 トランジスタ
804 トランジスタ
805 トランジスタ
806 トランジスタ
807 Xデコーダー
808 Yデコーダー
811 トランジスタ
812 保持容量
813 Xデコーダー
814 Yデコーダー
901 RF回路
902 アナログベースバンド回路
903 デジタルベースバンド回路
904 バッテリー
905 電源回路
906 アプリケーションプロセッサ
907 CPU
908 DSP
909 インターフェイス
910 フラッシュメモリ
911 ディスプレイコントローラ
912 メモリ回路
913 ディスプレイ
914 表示部
915 ソースドライバ
916 ゲートドライバ
917 音声回路
918 キーボード
919 タッチセンサ
950 メモリ回路
951 メモリコントローラ
952 メモリ
953 メモリ
954 スイッチ
955 スイッチ
956 ディスプレイコントローラ
957 ディスプレイ
1001 バッテリー
1002 電源回路
1003 マイクロプロセッサ
1004 フラッシュメモリ
1005 音声回路
1006 キーボード
1007 メモリ回路
1008 タッチパネル
1009 ディスプレイ
1010 ディスプレイコントローラ
5001 筐体
5002 筐体
5003 表示部
5004 表示部
5005 マイクロホン
5006 スピーカー
5007 操作キー
5008 スタイラス
5201 筐体
5202 表示部
5203 支持台
5401 筐体
5402 表示部
5403 キーボード
5404 ポインティングデバイス
5601 筐体
5602 筐体
5603 表示部
5604 表示部
5605 接続部
5606 操作キー
5801 筐体
5802 表示部
5803 音声入力部
5804 音声出力部
5805 操作キー
5806 受光部
Claims (1)
- トランジスタを有し、
前記トランジスタは、島状の酸化物半導体層を有し、
前記島状の酸化物半導体層は、開口部を有し、
前記島状の酸化物半導体層は、上面及び前記開口部の側面で、第1の導電層と接し、
前記第1の導電層は、前記開口部の底部で第2の導電層と接し、
前記島状の酸化物半導体層上及び前記第1の導電層上にゲート絶縁膜を有する半導体装置。
Priority Applications (2)
| Application Number | Priority Date | Filing Date | Title |
|---|---|---|---|
| JP2020069021A JP6972219B2 (ja) | 2011-09-23 | 2020-04-07 | 半導体装置 |
| JP2021179180A JP2022009873A (ja) | 2011-09-23 | 2021-11-02 | 半導体装置 |
Applications Claiming Priority (2)
| Application Number | Priority Date | Filing Date | Title |
|---|---|---|---|
| JP2011208232 | 2011-09-23 | ||
| JP2011208232 | 2011-09-23 |
Related Parent Applications (1)
| Application Number | Title | Priority Date | Filing Date |
|---|---|---|---|
| JP2017086244A Division JP6408640B2 (ja) | 2011-09-23 | 2017-04-25 | 半導体装置 |
Related Child Applications (1)
| Application Number | Title | Priority Date | Filing Date |
|---|---|---|---|
| JP2020069021A Division JP6972219B2 (ja) | 2011-09-23 | 2020-04-07 | 半導体装置 |
Publications (2)
| Publication Number | Publication Date |
|---|---|
| JP2019016803A JP2019016803A (ja) | 2019-01-31 |
| JP6689340B2 true JP6689340B2 (ja) | 2020-04-28 |
Family
ID=47910261
Family Applications (5)
| Application Number | Title | Priority Date | Filing Date |
|---|---|---|---|
| JP2012205883A Expired - Fee Related JP6137797B2 (ja) | 2011-09-23 | 2012-09-19 | 半導体装置 |
| JP2017086244A Expired - Fee Related JP6408640B2 (ja) | 2011-09-23 | 2017-04-25 | 半導体装置 |
| JP2018175836A Active JP6689340B2 (ja) | 2011-09-23 | 2018-09-20 | 半導体装置 |
| JP2020069021A Active JP6972219B2 (ja) | 2011-09-23 | 2020-04-07 | 半導体装置 |
| JP2021179180A Withdrawn JP2022009873A (ja) | 2011-09-23 | 2021-11-02 | 半導体装置 |
Family Applications Before (2)
| Application Number | Title | Priority Date | Filing Date |
|---|---|---|---|
| JP2012205883A Expired - Fee Related JP6137797B2 (ja) | 2011-09-23 | 2012-09-19 | 半導体装置 |
| JP2017086244A Expired - Fee Related JP6408640B2 (ja) | 2011-09-23 | 2017-04-25 | 半導体装置 |
Family Applications After (2)
| Application Number | Title | Priority Date | Filing Date |
|---|---|---|---|
| JP2020069021A Active JP6972219B2 (ja) | 2011-09-23 | 2020-04-07 | 半導体装置 |
| JP2021179180A Withdrawn JP2022009873A (ja) | 2011-09-23 | 2021-11-02 | 半導体装置 |
Country Status (5)
| Country | Link |
|---|---|
| US (1) | US20130075722A1 (ja) |
| JP (5) | JP6137797B2 (ja) |
| KR (1) | KR102089505B1 (ja) |
| TW (1) | TWI570923B (ja) |
| WO (1) | WO2013042696A1 (ja) |
Families Citing this family (27)
| Publication number | Priority date | Publication date | Assignee | Title |
|---|---|---|---|---|
| JP5806905B2 (ja) | 2011-09-30 | 2015-11-10 | 株式会社半導体エネルギー研究所 | 半導体装置 |
| JP5912394B2 (ja) | 2011-10-13 | 2016-04-27 | 株式会社半導体エネルギー研究所 | 半導体装置 |
| KR102290801B1 (ko) * | 2013-06-21 | 2021-08-17 | 가부시키가이샤 한도오따이 에네루기 켄큐쇼 | 반도체 장치 및 그 제작 방법 |
| US10042504B2 (en) | 2013-08-13 | 2018-08-07 | Samsung Electronics Company, Ltd. | Interaction sensing |
| US10042446B2 (en) | 2013-08-13 | 2018-08-07 | Samsung Electronics Company, Ltd. | Interaction modes for object-device interactions |
| US9607991B2 (en) | 2013-09-05 | 2017-03-28 | Semiconductor Energy Laboratory Co., Ltd. | Semiconductor device |
| KR102294507B1 (ko) * | 2013-09-06 | 2021-08-30 | 가부시키가이샤 한도오따이 에네루기 켄큐쇼 | 반도체 장치 |
| TWI663733B (zh) * | 2014-06-18 | 2019-06-21 | 日商半導體能源研究所股份有限公司 | 電晶體及半導體裝置 |
| CN110112297B (zh) * | 2014-07-17 | 2022-11-18 | 索尼公司 | 光电转换元件及其制造方法、成像装置、光学传感器 |
| KR102373434B1 (ko) * | 2014-11-07 | 2022-03-14 | 삼성디스플레이 주식회사 | 박막 트랜지스터 어레이 기판, 이를 포함하는 유기 발광 표시 장치 및 그 제조 방법 |
| TWI581317B (zh) * | 2014-11-14 | 2017-05-01 | 群創光電股份有限公司 | 薄膜電晶體基板及具備該薄膜電晶體基板之顯示面板 |
| US9954112B2 (en) | 2015-01-26 | 2018-04-24 | Semiconductor Energy Laboratory Co., Ltd. | Semiconductor device and manufacturing method thereof |
| CN104576759A (zh) * | 2015-01-27 | 2015-04-29 | 北京大学 | 一种金属氧化物半导体薄膜晶体管及其制备方法 |
| US9653613B2 (en) * | 2015-02-27 | 2017-05-16 | Semiconductor Energy Laboratory Co., Ltd. | Semiconductor device and manufacturing method thereof |
| US20160308067A1 (en) * | 2015-04-17 | 2016-10-20 | Ishiang Shih | Metal oxynitride transistor devices |
| US9825177B2 (en) * | 2015-07-30 | 2017-11-21 | Semiconductor Energy Laboratory Co., Ltd. | Manufacturing method of a semiconductor device using multiple etching mask |
| JP6850096B2 (ja) * | 2015-09-24 | 2021-03-31 | 株式会社半導体エネルギー研究所 | 半導体装置の作製方法及び電子機器の作製方法 |
| WO2017175095A1 (en) * | 2016-04-08 | 2017-10-12 | Semiconductor Energy Laboratory Co., Ltd. | Semiconductor device and manufacturing method thereof |
| KR101914835B1 (ko) * | 2016-11-18 | 2018-11-02 | 아주대학교산학협력단 | 금속산화물 이종 접합 구조, 이의 제조방법 및 이를 포함하는 박막트랜지스터 |
| RU2646545C1 (ru) * | 2016-12-14 | 2018-03-05 | ООО "Тонкопленочные технологии" | Полупроводниковый резистор |
| US10490130B2 (en) * | 2017-02-10 | 2019-11-26 | Semiconductor Energy Laboratory Co., Ltd. | Display system comprising controller which process data |
| CN118102714A (zh) | 2017-03-13 | 2024-05-28 | 株式会社半导体能源研究所 | 半导体装置及半导体装置的制造方法 |
| US10084074B1 (en) * | 2017-03-24 | 2018-09-25 | Qualcomm Incorporated | Compound semiconductor field effect transistor gate length scaling |
| WO2018197994A1 (en) | 2017-04-28 | 2018-11-01 | Semiconductor Energy Laboratory Co., Ltd. | Semiconductor device and manufacturing method of semiconductor device |
| WO2019041248A1 (en) * | 2017-08-31 | 2019-03-07 | Boe Technology Group Co., Ltd. | THIN FILM TRANSISTOR, NETWORK SUBSTRATE, DISPLAY APPARATUS, AND METHOD FOR MANUFACTURING THIN FILM TRANSISTOR |
| US11289475B2 (en) | 2019-01-25 | 2022-03-29 | Semiconductor Energy Laboratory Co., Ltd. | Semiconductor device and manufacturing method of semiconductor device |
| DE102021107060A1 (de) | 2020-04-03 | 2021-10-07 | Semiconductor Energy Laboratory Co., Ltd. | Arylamin-Verbindung, Material für Lochtransportschicht, Material für Lochinjektionsschicht, Licht emittierende Vorrichtung, Licht emittierendes Gerät, elektronisches Gerät und Beleuchtungsvorrichtung |
Family Cites Families (36)
| Publication number | Priority date | Publication date | Assignee | Title |
|---|---|---|---|---|
| JPH01136373A (ja) * | 1987-11-24 | 1989-05-29 | Nippon Telegr & Teleph Corp <Ntt> | 薄膜型半導体装置の製法 |
| US5270567A (en) * | 1989-09-06 | 1993-12-14 | Casio Computer Co., Ltd. | Thin film transistors without capacitances between electrodes thereof |
| JPH03185840A (ja) * | 1989-12-15 | 1991-08-13 | Casio Comput Co Ltd | 薄膜トランジスタ |
| JPH0471237A (ja) * | 1990-07-11 | 1992-03-05 | Nippon Soken Inc | 半導体装置の製造方法 |
| JPH05206166A (ja) * | 1991-12-26 | 1993-08-13 | Fuji Xerox Co Ltd | 薄膜トランジスタ |
| JPH08330593A (ja) * | 1995-05-31 | 1996-12-13 | Sharp Corp | 薄膜トランジスタの製造方法 |
| JP3986767B2 (ja) * | 2001-06-05 | 2007-10-03 | 株式会社半導体エネルギー研究所 | スタティックram及び半導体集積回路 |
| JP2003110108A (ja) * | 2001-09-28 | 2003-04-11 | Mitsubishi Electric Corp | 半導体装置の製造方法及びその構造 |
| JP2003258259A (ja) * | 2002-02-28 | 2003-09-12 | Advanced Lcd Technologies Development Center Co Ltd | 電極構造、薄膜トランジスタおよびそれらの製造方法 |
| JP4356309B2 (ja) * | 2002-12-03 | 2009-11-04 | セイコーエプソン株式会社 | トランジスタ、集積回路、電気光学装置、電子機器 |
| JP5126729B2 (ja) | 2004-11-10 | 2013-01-23 | キヤノン株式会社 | 画像表示装置 |
| JP4435057B2 (ja) * | 2004-12-08 | 2010-03-17 | セイコーエプソン株式会社 | 半導体装置およびその製造方法 |
| JP2007013091A (ja) * | 2005-05-31 | 2007-01-18 | Mitsubishi Electric Corp | 半導体装置およびその製造方法 |
| JP5078246B2 (ja) * | 2005-09-29 | 2012-11-21 | 株式会社半導体エネルギー研究所 | 半導体装置、及び半導体装置の作製方法 |
| JP2007299850A (ja) * | 2006-04-28 | 2007-11-15 | Seiko Epson Corp | 半導体装置の製造方法、電子機器の製造方法、半導体装置および電子機器 |
| JP5413549B2 (ja) * | 2006-11-28 | 2014-02-12 | カシオ計算機株式会社 | 薄膜トランジスタパネルおよびその製造方法 |
| KR20080052107A (ko) * | 2006-12-07 | 2008-06-11 | 엘지전자 주식회사 | 산화물 반도체층을 구비한 박막 트랜지스터 |
| JP2008205333A (ja) * | 2007-02-22 | 2008-09-04 | Toshiba Matsushita Display Technology Co Ltd | 薄膜トランジスタ及びその製造方法 |
| JP2008218468A (ja) * | 2007-02-28 | 2008-09-18 | Univ Of Ryukyus | 3次元集積回路装置及びその製造方法 |
| KR101453829B1 (ko) * | 2007-03-23 | 2014-10-22 | 가부시키가이샤 한도오따이 에네루기 켄큐쇼 | 반도체장치 및 그 제조 방법 |
| JP5512930B2 (ja) * | 2007-03-26 | 2014-06-04 | 株式会社半導体エネルギー研究所 | 半導体装置の作製方法 |
| US8044464B2 (en) * | 2007-09-21 | 2011-10-25 | Semiconductor Energy Laboratory Co., Ltd. | Semiconductor device |
| US20100224878A1 (en) * | 2009-03-05 | 2010-09-09 | Semiconductor Energy Laboratory Co., Ltd. | Semiconductor device |
| JP2010212326A (ja) * | 2009-03-09 | 2010-09-24 | Seiko Epson Corp | 半導体装置 |
| US8927981B2 (en) * | 2009-03-30 | 2015-01-06 | Semiconductor Energy Laboratory Co., Ltd. | Semiconductor device and method for manufacturing the same |
| JP2010272706A (ja) * | 2009-05-21 | 2010-12-02 | Videocon Global Ltd | 薄膜トランジスタ、液晶表示装置及びこれらの製造方法 |
| WO2011004723A1 (en) * | 2009-07-10 | 2011-01-13 | Semiconductor Energy Laboratory Co., Ltd. | Semiconductor device and manufacturing method the same |
| WO2011027656A1 (en) * | 2009-09-04 | 2011-03-10 | Semiconductor Energy Laboratory Co., Ltd. | Transistor and display device |
| KR20170046186A (ko) * | 2009-09-16 | 2017-04-28 | 가부시키가이샤 한도오따이 에네루기 켄큐쇼 | 반도체 장치 및 전자 기기 |
| WO2011036999A1 (en) * | 2009-09-24 | 2011-03-31 | Semiconductor Energy Laboratory Co., Ltd. | Oxide semiconductor film and semiconductor device |
| KR102019239B1 (ko) * | 2009-10-30 | 2019-09-06 | 가부시키가이샤 한도오따이 에네루기 켄큐쇼 | 반도체 장치 |
| WO2011058913A1 (en) * | 2009-11-13 | 2011-05-19 | Semiconductor Energy Laboratory Co., Ltd. | Semiconductor device and manufacturing method thereof |
| KR102241766B1 (ko) * | 2009-12-04 | 2021-04-19 | 가부시키가이샤 한도오따이 에네루기 켄큐쇼 | 반도체 장치 및 그 제조 방법 |
| KR101804589B1 (ko) * | 2009-12-11 | 2018-01-10 | 가부시키가이샤 한도오따이 에네루기 켄큐쇼 | 반도체 장치 및 그 제조 방법 |
| KR20170142998A (ko) * | 2009-12-25 | 2017-12-28 | 가부시키가이샤 한도오따이 에네루기 켄큐쇼 | 반도체 장치 제작 방법 |
| WO2013042562A1 (en) * | 2011-09-22 | 2013-03-28 | Semiconductor Energy Laboratory Co., Ltd. | Semiconductor device |
-
2012
- 2012-09-12 WO PCT/JP2012/073965 patent/WO2013042696A1/en not_active Ceased
- 2012-09-12 KR KR1020147010202A patent/KR102089505B1/ko not_active Expired - Fee Related
- 2012-09-13 US US13/613,192 patent/US20130075722A1/en not_active Abandoned
- 2012-09-19 JP JP2012205883A patent/JP6137797B2/ja not_active Expired - Fee Related
- 2012-09-20 TW TW101134471A patent/TWI570923B/zh active
-
2017
- 2017-04-25 JP JP2017086244A patent/JP6408640B2/ja not_active Expired - Fee Related
-
2018
- 2018-09-20 JP JP2018175836A patent/JP6689340B2/ja active Active
-
2020
- 2020-04-07 JP JP2020069021A patent/JP6972219B2/ja active Active
-
2021
- 2021-11-02 JP JP2021179180A patent/JP2022009873A/ja not_active Withdrawn
Also Published As
| Publication number | Publication date |
|---|---|
| WO2013042696A1 (en) | 2013-03-28 |
| JP2022009873A (ja) | 2022-01-14 |
| JP2020129665A (ja) | 2020-08-27 |
| KR102089505B1 (ko) | 2020-03-16 |
| US20130075722A1 (en) | 2013-03-28 |
| KR20140063832A (ko) | 2014-05-27 |
| JP6408640B2 (ja) | 2018-10-17 |
| JP6137797B2 (ja) | 2017-05-31 |
| TWI570923B (zh) | 2017-02-11 |
| JP2017152725A (ja) | 2017-08-31 |
| TW201320341A (zh) | 2013-05-16 |
| JP2019016803A (ja) | 2019-01-31 |
| JP2013080918A (ja) | 2013-05-02 |
| JP6972219B2 (ja) | 2021-11-24 |
Similar Documents
| Publication | Publication Date | Title |
|---|---|---|
| JP6689340B2 (ja) | 半導体装置 | |
| US11393918B2 (en) | Semiconductor device and method for manufacturing semiconductor device | |
| JP6097037B2 (ja) | 半導体装置 | |
| US8637864B2 (en) | Semiconductor device and method of manufacturing the same | |
| US9614062B2 (en) | Semiconductor device and method for manufacturing thereof | |
| JP5806905B2 (ja) | 半導体装置 | |
| JP6026839B2 (ja) | 半導体装置 | |
| JP2020036025A (ja) | 半導体装置 | |
| JP6022880B2 (ja) | 半導体装置及び半導体装置の作製方法 | |
| JP6628838B2 (ja) | 記憶装置 | |
| JP6283710B2 (ja) | 半導体装置の作製方法 |
Legal Events
| Date | Code | Title | Description |
|---|---|---|---|
| A621 | Written request for application examination |
Free format text: JAPANESE INTERMEDIATE CODE: A621 Effective date: 20181018 |
|
| A131 | Notification of reasons for refusal |
Free format text: JAPANESE INTERMEDIATE CODE: A131 Effective date: 20190730 |
|
| A977 | Report on retrieval |
Free format text: JAPANESE INTERMEDIATE CODE: A971007 Effective date: 20190731 |
|
| A601 | Written request for extension of time |
Free format text: JAPANESE INTERMEDIATE CODE: A601 Effective date: 20190925 |
|
| A131 | Notification of reasons for refusal |
Free format text: JAPANESE INTERMEDIATE CODE: A131 Effective date: 20191217 |
|
| A521 | Request for written amendment filed |
Free format text: JAPANESE INTERMEDIATE CODE: A523 Effective date: 20200210 |
|
| TRDD | Decision of grant or rejection written | ||
| A01 | Written decision to grant a patent or to grant a registration (utility model) |
Free format text: JAPANESE INTERMEDIATE CODE: A01 Effective date: 20200317 |
|
| A61 | First payment of annual fees (during grant procedure) |
Free format text: JAPANESE INTERMEDIATE CODE: A61 Effective date: 20200407 |
|
| R150 | Certificate of patent or registration of utility model |
Ref document number: 6689340 Country of ref document: JP Free format text: JAPANESE INTERMEDIATE CODE: R150 |
|
| R250 | Receipt of annual fees |
Free format text: JAPANESE INTERMEDIATE CODE: R250 |
|
| R250 | Receipt of annual fees |
Free format text: JAPANESE INTERMEDIATE CODE: R250 |
|
| R250 | Receipt of annual fees |
Free format text: JAPANESE INTERMEDIATE CODE: R250 |
