JP6476744B2 - 搬送装置 - Google Patents

搬送装置 Download PDF

Info

Publication number
JP6476744B2
JP6476744B2 JP2014217391A JP2014217391A JP6476744B2 JP 6476744 B2 JP6476744 B2 JP 6476744B2 JP 2014217391 A JP2014217391 A JP 2014217391A JP 2014217391 A JP2014217391 A JP 2014217391A JP 6476744 B2 JP6476744 B2 JP 6476744B2
Authority
JP
Japan
Prior art keywords
article
unit
transport
processing
unloading
Prior art date
Legal status (The legal status is an assumption and is not a legal conclusion. Google has not performed a legal analysis and makes no representation as to the accuracy of the status listed.)
Expired - Fee Related
Application number
JP2014217391A
Other languages
English (en)
Other versions
JP2016083719A (ja
Inventor
克美 杉浦
克美 杉浦
Current Assignee (The listed assignees may be inaccurate. Google has not performed a legal analysis and makes no representation or warranty as to the accuracy of the list.)
JTEKT Corp
Original Assignee
JTEKT Corp
Priority date (The priority date is an assumption and is not a legal conclusion. Google has not performed a legal analysis and makes no representation as to the accuracy of the date listed.)
Filing date
Publication date
Application filed by JTEKT Corp filed Critical JTEKT Corp
Priority to JP2014217391A priority Critical patent/JP6476744B2/ja
Priority to CN201510652620.8A priority patent/CN105538027B/zh
Publication of JP2016083719A publication Critical patent/JP2016083719A/ja
Application granted granted Critical
Publication of JP6476744B2 publication Critical patent/JP6476744B2/ja
Expired - Fee Related legal-status Critical Current
Anticipated expiration legal-status Critical

Links

Images

Classifications

    • BPERFORMING OPERATIONS; TRANSPORTING
    • B23MACHINE TOOLS; METAL-WORKING NOT OTHERWISE PROVIDED FOR
    • B23QDETAILS, COMPONENTS, OR ACCESSORIES FOR MACHINE TOOLS, e.g. ARRANGEMENTS FOR COPYING OR CONTROLLING; MACHINE TOOLS IN GENERAL CHARACTERISED BY THE CONSTRUCTION OF PARTICULAR DETAILS OR COMPONENTS; COMBINATIONS OR ASSOCIATIONS OF METAL-WORKING MACHINES, NOT DIRECTED TO A PARTICULAR RESULT
    • B23Q7/00Arrangements for handling work specially combined with or arranged in, or specially adapted for use in connection with, machine tools, e.g. for conveying, loading, positioning, discharging, sorting
    • B23Q7/14Arrangements for handling work specially combined with or arranged in, or specially adapted for use in connection with, machine tools, e.g. for conveying, loading, positioning, discharging, sorting co-ordinated in production lines
    • B23Q7/1426Arrangements for handling work specially combined with or arranged in, or specially adapted for use in connection with, machine tools, e.g. for conveying, loading, positioning, discharging, sorting co-ordinated in production lines with work holders not rigidly fixed to the transport devices
    • B23Q7/1463Arrangements for handling work specially combined with or arranged in, or specially adapted for use in connection with, machine tools, e.g. for conveying, loading, positioning, discharging, sorting co-ordinated in production lines with work holders not rigidly fixed to the transport devices using rotary driving means
    • BPERFORMING OPERATIONS; TRANSPORTING
    • B23MACHINE TOOLS; METAL-WORKING NOT OTHERWISE PROVIDED FOR
    • B23QDETAILS, COMPONENTS, OR ACCESSORIES FOR MACHINE TOOLS, e.g. ARRANGEMENTS FOR COPYING OR CONTROLLING; MACHINE TOOLS IN GENERAL CHARACTERISED BY THE CONSTRUCTION OF PARTICULAR DETAILS OR COMPONENTS; COMBINATIONS OR ASSOCIATIONS OF METAL-WORKING MACHINES, NOT DIRECTED TO A PARTICULAR RESULT
    • B23Q41/00Combinations or associations of metal-working machines not directed to a particular result according to classes B21, B23, or B24
    • B23Q41/02Features relating to transfer of work between machines
    • BPERFORMING OPERATIONS; TRANSPORTING
    • B23MACHINE TOOLS; METAL-WORKING NOT OTHERWISE PROVIDED FOR
    • B23QDETAILS, COMPONENTS, OR ACCESSORIES FOR MACHINE TOOLS, e.g. ARRANGEMENTS FOR COPYING OR CONTROLLING; MACHINE TOOLS IN GENERAL CHARACTERISED BY THE CONSTRUCTION OF PARTICULAR DETAILS OR COMPONENTS; COMBINATIONS OR ASSOCIATIONS OF METAL-WORKING MACHINES, NOT DIRECTED TO A PARTICULAR RESULT
    • B23Q7/00Arrangements for handling work specially combined with or arranged in, or specially adapted for use in connection with, machine tools, e.g. for conveying, loading, positioning, discharging, sorting
    • B23Q7/14Arrangements for handling work specially combined with or arranged in, or specially adapted for use in connection with, machine tools, e.g. for conveying, loading, positioning, discharging, sorting co-ordinated in production lines
    • B23Q7/1426Arrangements for handling work specially combined with or arranged in, or specially adapted for use in connection with, machine tools, e.g. for conveying, loading, positioning, discharging, sorting co-ordinated in production lines with work holders not rigidly fixed to the transport devices
    • B23Q7/1463Arrangements for handling work specially combined with or arranged in, or specially adapted for use in connection with, machine tools, e.g. for conveying, loading, positioning, discharging, sorting co-ordinated in production lines with work holders not rigidly fixed to the transport devices using rotary driving means
    • B23Q7/1468Arrangements for handling work specially combined with or arranged in, or specially adapted for use in connection with, machine tools, e.g. for conveying, loading, positioning, discharging, sorting co-ordinated in production lines with work holders not rigidly fixed to the transport devices using rotary driving means comprising rollers or cogwheels, or pinions or the like

Landscapes

  • Engineering & Computer Science (AREA)
  • Mechanical Engineering (AREA)
  • Feeding Of Workpieces (AREA)
  • Multi-Process Working Machines And Systems (AREA)
  • Specific Conveyance Elements (AREA)

Description

本発明は、物品に対して所定の処理を施す複数の処理装置により構成される生産ラインに用いられ、搬送路上の物品を搬送する搬送装置に関するものである。
搬送装置は、例えば特許文献1,2に示すように、加工処理を施す工作機械に対して工作物の搬入および搬出を行うとともに、工作機械間の工作物の搬送に用いられる。このような搬送装置は、例えば特許文献1の図2、および特許文献2の図10に示すように、工作物を搬送方向の両側から把持する把持部材と、当該把持部材を搬送方向に移動させる駆動装置とを備える。また、複数の工作機械により生産ラインが構成される場合には、複数の搬送装置を連携して動作可能な搬送システムが当該生産ラインに用いられる。
特開平06−106460号公報 特開2001−162481号公報
工作機械間に配置される搬送装置は、特許文献1のように工作機械間をベルトコンベアにより工作物を搬送する構成では、上流側の工作機械から工作物を搬出するユニットと、下流側の工作機械に工作物を搬入するユニットが干渉しないように配置する必要がある。そのため、搬送装置が全体として搬送方向に大型化し、搬送路により連結される工作機械間の距離が大きくなる。そうすると、工場内における工作機械のレイアウトの設定自由度が低下する。
本発明は、このような事情に鑑みてなされたものであり、装置の小型化を図ることにより、処理装置間の距離を小さくすることが可能な搬送装置を提供することを目的とする。
(請求項1)本発明に係る搬送装置は、搬送路上に載置された物品に対して所定の処理を施す第一処理装置および第二処理装置が前記物品の搬送方向に並んで設置されることにより構成される生産ラインに用いられ、前記搬送路上の前記物品を搬送する。搬送装置は、前記第一処理装置の機内から前記物品を機外まで搬出する搬出ユニットと、前記第二処理装置の機外から前記物品を機内まで搬入する搬入ユニットと、を備える。前記搬出ユニットおよび前記搬入ユニットは、搬送方向に重複した位置に配置され、且つ前記物品を搬送方向に移動可能とするそれぞれの搬送領域が搬送方向に連続する位置にそれぞれ配置される。前記搬出ユニットおよび前記搬入ユニットは、前記搬送路の上方に配置され、前記搬送路の上面から所定の高さにおいて前記物品に係止して当該物品に搬送方向の外力を付与する係止部材と、前記係止部材を支持するとともに、当該係止部材を搬送方向に移動させる駆動装置と、をそれぞれ有する。前記搬出ユニットおよび前記搬入ユニットの各前記係止部材は、前記搬送路の幅方向の一方側および他方側に互いに離間して配置され、前記駆動装置に支持される基端部と、前記基端部よりも前記搬送路の幅方向中央側に配置され前記物品に係止する爪部と、前記基端部と前記爪部を連結する連結部と、をそれぞれ有する。
(請求項2)本発明に係る搬送装置は、搬送路上に載置された物品に対して所定の処理を施す第一処理装置および第二処理装置が前記物品の搬送方向に並んで設置されることにより構成される生産ラインに用いられ、前記搬送路上の前記物品を搬送する。搬送装置は、前記第一処理装置の機内から前記物品を機外まで搬出する搬出ユニットと、前記第二処理装置の機外から前記物品を機内まで搬入する搬入ユニットと、を備える。前記搬出ユニットおよび前記搬入ユニットは、搬送方向に重複した位置に配置され、且つ前記物品を搬送方向に移動可能とするそれぞれの搬送領域が搬送方向に連続する位置にそれぞれ配置される。前記搬送装置は、前記搬入ユニットであって前記第一処理装置の機外から前記物品を機内まで搬入する第一搬入ユニットと、前記搬出ユニットであって前記第一処理装置の機内から前記物品を機外まで搬出する第一搬出ユニットと、前記搬入ユニットであって前記第二処理装置の機外から前記物品を機内まで搬入する第二搬入ユニットと、を備える。前記第一搬入ユニットは、前記第一処理装置の機外から前記搬送路上の規定位置まで処理前の前記物品を搬入するとともに、当該搬入動作において前記規定位置に載置された処理後の前記物品に処理前の前記物品を押し付けることによって、処理後の前記物品を前記搬送路上の搬出待機位置まで移動させる。前記第一搬出ユニットは、前記搬出待機位置に載置された処理後の前記物品を前記第一処理装置の機外まで搬出する。
請求項1に記載の本発明によると、搬出ユニットおよび搬入ユニットは、隣り合う第一処理装置と第二処理装置との間に搬送方向に並列に配置される。これにより、各ユニットを搬送方向に直列に配置する構成と比較して、両ユニットの配置に要する搬送方向幅を短縮できる。よって、搬送装置全体として小型化を図ることにより、処理装置間の距離を小さくすることが可能となる。
実施形態における搬送装置の平面図である。 図1に示す搬送装置の正面図である。 図2における搬出ユニットの正面図である。 図3における係止部材を示す拡大図である。 図1のV方向から見た搬入ユニットおよび搬出ユニットを示す図である。 搬送装置とワークの搬送状態との関係を示す図である。 図6の次の搬送装置とワークの搬送状態との関係を示す図である。 図7の次の搬送装置とワークの搬送状態との関係を示す図である。 図8の次の搬送装置とワークの搬送状態との関係を示す図である。
以下、本発明の搬送装置を具体化した実施形態について図面を参照して説明する。搬送装置は、搬送路上の物品を搬送する装置であって、物品に対して処理を施す処理装置に用いられる。なお、実施形態においては、処理装置は工作機械であり、所定の加工処理としてワーク(物品)に対して加工処理を行う態様を例示する。また、搬送装置は、複数の工作機械により構成される生産ラインに用いられる。
<実施形態>
(1.生産ライン10および搬送装置30の全体構成)
生産ライン10および搬送装置30の全体構成について、図1および図2を参照して説明する。生産ライン10は、図1に示すように、3台の工作機械11〜13と、搬送装置30とを備える。工作機械11〜13は、同種の工作機械であって、搬送路70上の規定位置Ppに載置されたワークW(本発明の「物品」に相当する)をクランプして、切削加工などの加工処理を施す処理装置である。3台の工作機械11〜13は、所定の間隔を空けて、搬送方向に並んで設置され、生産ライン10を構成する。
ここで、3台の工作機械11〜13のうち生産ライン10の最上流側に設置された工作機械を第一工作機械11(本発明の「第一処理装置」に相当する)とする。第一工作機械11は、ベッド21に対してX軸方向(図1の左右方向)に移動可能にコラム22を有する。コラム22の前面には、当該コラム22に対してY軸方向(図1の前後方向)に移動可能にサドル23が設けられる。サドル23の前面には、当該サドルに対してZ軸方向(図1の上下方向)に移動可能な回転主軸24に回転工具25が保持される。
第一工作機械11は、搬送路70上の規定位置Ppに載置されたワークWを、リフタ26により昇降させる。リフタ26は、加工処理前のワークWを搬送路70の下方に移動させてチルト装置27の上面のクランプ位置に載置する。第一工作機械11は、図略のクランプ装置によりワークWを位置決め固定する。第一工作機械11は、コラム22やサドル2、チルト装置27などの動作により、ワークWに対して回転工具25を相対移動させて加工処理を行う。リフタ26は、チルト装置27に対してアンクランプされた加工処理後のワークWを上方に移動させて、搬送路70上の規定位置Ppに戻す。
また、3台の工作機械11〜13のうち第一工作機械11に対して生産ライン10の下流側に順に設置された2台の工作機械を第二工作機械12(本発明の「第二処理装置」に相当する)および第三工作機械13とする。第二工作機械12および第三工作機械13は、第一工作機械11と同様に、搬送路70上の規定位置Ppに載置されたワークWをそれぞれのリフタ26により搬送路70に対して昇降させる。第二工作機械12および第三工作機械13は、それぞれのチルト装置27に位置決め固定されたワークWに対して加工処理を行う。
ここで、上記の「規定位置」とは、工作機械の機内において、各工作機械が加工処理を行うために搬送装置30との間でワークWの受け渡し可能な搬送路上の位置に相当する。つまり、工作機械が、例えばリフタ26に換えてパレットチェンジャにより搬送路上のワークWをクランプ位置に移動させる場合には、搬送路上の「規定位置」は、パレットチェンジャと搬送装置30がワークWを受け渡し可能な位置に相当する。また、搬送路上の規定位置においてワークWをクランプして加工処理を実行する場合には、搬送路上の「規定位置」は、ワークWのクランプ位置に相当する。
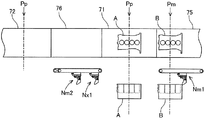
搬送装置30は、複数の搬入ユニットNmと、複数の搬出ユニットNxと、複数の機内搬送台71〜73と、複数の機外搬送台75〜77と、回転テーブル80とを備える。複数の搬入ユニットNmは、生産ライン10の上流側から順に第一搬入ユニットNm1、第二搬入ユニットNm2、および第三搬入ユニットNm3とする。また、複数の搬出ユニットNxは、生産ライン10の上流側から順に第一搬出ユニットNx1、第二搬出ユニットNx2、第三搬出ユニットNx3とする。
第一搬入ユニットNm1は、第一工作機械11に対してワークWを搬入する。第一搬出ユニットNx1は、第一工作機械11により加工処理されたワークWを搬出する。第二搬入ユニットNm2は、第二工作機械12に対してワークWを搬入する。第二搬出ユニットNx2は、第二工作機械12により加工処理されたワークWを搬出する。第三搬入ユニットNm3は、第三工作機械13に対してワークWを搬入する。第三搬出ユニットNx3は、第三工作機械13により加工処理されたワークWを搬出する。搬入ユニットNm1〜Nm3および搬出ユニットNx1〜Nx3の詳細構成については後述する。
複数の機内搬送台71〜73は、対応する第一工作機械11、第二工作機械12、および第三工作機械13の機内にそれぞれ設けられる。複数の機外搬送台75〜77は、図1に示すように、第一工作機械11、第二工作機械12、および第三工作機械13の上流側または下流側にそれぞれ設けられる。回転テーブル80は、第二工作機械12と第三工作機械13との間に配置される。
複数の機内搬送台71〜73、複数の機外搬送台75〜77、および回転テーブル80は、上面にワーク搬送面を備え、搬送路70の一部をそれぞれ構成する。ワーク搬送面には、図示しない摺動ガイドまたは転動ガイドが設けられる。これにより、搬送路70は、各ワーク搬送面におけるワークWの手動搬送を可能とする。
また、回転テーブル80は、図1および図2に示すように、転動ガイド81と、引出機構82と、回転機構83とを有する。転動ガイド81は、搬送方向に並んで配置された複数のローラ部材により構成される。引出機構82は、回転テーブル80の本体部に対して転動ガイド81を搬送路70に直交する水平方向に移動可能とする機構である。回転機構83は、回転テーブル80の本体部に対して転動ガイド81を鉛直な中心軸周りに回転可能とする機構である。
このような構成により、回転テーブル80は、転動ガイド81にワークWが載置された状態で、当該ワークWを搬送路70から側方に移動させ、その位置でワークWを鉛直な中心軸周りに回転させることができる。これにより、回転テーブル80よりも上流側に設置された第一工作機械11および第二工作機械12により加工処理されたワークWについて、搬送路70の側方からワークWの全周に亘る視認が可能となる。また、回転機構83の回転により転動ガイド81によるワークWの案内方向が変更され、搬送路70の外部へのワークWの持ち出しが容易となる。
(2.搬入ユニットNm1〜Nm3および搬出ユニットNx1〜Nx3の詳細構成)
本実施形態において、各搬入ユニットNm1〜Nm3および各搬出ユニットNx1〜Nx3は、同種の搬送用ユニットである。ここでは、第一搬出ユニットNx1の構成について説明する。
(2−1.第一搬出ユニットNx1について)
第一搬出ユニットNx1は、搬送路70上に載置されたワークWを搬送方向に沿って移動させる。第一搬出ユニットNx1は、図3に示すように、アンチバック機構40および駆動装置50を備える。アンチバック機構40は、搬送方向のうち搬出側(図3の左側)へのワークWの移動を許容し、且つ搬入側(図3の右側)へのワークWの移動を規制する。駆動装置50は、第一工作機械11の機外に設けられ、後述するアンチバック機構40の係止部材42を搬送方向に移動させる。
より具体的には、アンチバック機構40は、図4に示すように、本体部41と、係止部材42と、ストッパー部材43と、調整機構44とを有する。本体部41は、駆動装置50に固定され、当該駆動装置50の動作により搬送方向に移動する。係止部材42は、搬送路70の上方に配置され、搬送路70の上面から所定の高さにおいてワークWに係止してワークWに搬送方向の外力を付与する。係止部材42は、本体部41に対して搬送方向に直交し且つ水平な回転軸線周りに回転可能に支持される。
また、本実施形態において、係止部材42は、図5に示すように、基端部42aと、爪部42bと、連結部42cとを有する。基端部42aは、係止部材42における駆動装置50側の端部であって、本体部41を介して駆動装置50に間接的に支持される部位である。爪部42bは、基端部42aよりも搬送路70の幅方向(図5の左右方向)中央側に配置され、ワークWに係止する部位である。
連結部42cは、基端部42aと爪部42bを連結する部位である。このような構成により、係止部材42は、上端側から下端側にかけて全体として屈曲した形状を呈する。つまり、係止部材42は、本体部41に支持される基端部42aよりも、搬送路70の幅方向中央側においてワークWに搬送方向の外力を付与可能に構成される。
ストッパー部材43は、係止部材42が下向きにある初期状態(図4の実線で示される係止部材42の状態)において、係止部材42の反搬送方向(図4の反時計回り)の回転を規制する。このような構成によると、アンチバック機構40がワークWに対して搬入側に移動する場合には、係止部材42が回転した状態(図4の破線で示される係止部材42の状態)となる。よって、係止部材42がワークWに係止せず、アンチバック機構40は、ワークWに対する搬入方向への相対移動を許容する。
一方で、アンチバック機構40がワークWに対して搬出側に移動する場合には、係止部材42がストッパー部材43により回転を規制された状態となる。よって、係止部材42がワークWにおける所定の係止位置に係止し、アンチバック機構40は、ワークWに対する搬出方向への相対移動を規制する。従って、アンチバック機構40が搬出方向に移動される場合には、当該移動に伴ってワークWが係止部材42より外力を受けて搬出方向に移動される。
調整機構44は、駆動装置50に対する係止部材42の搬送方向位置を調整可能とする機構である。本実施形態において、調整機構44は、本体部41において駆動装置50に固定される固定部材と、係止部材42を回転可能に支持する支持部材とを、所定の搬送方向範囲において連結可能としている。このような構成により、本体部41において固定部材に対する支持部材の連結位置が調整可能となる。当該調整により、搬送路70において、第一搬出ユニットNx1がワークWを搬送方向に移動可能な搬送領域Rxが設定される。
駆動装置50は、アンチバック機構40を搬送方向に沿って移動させる。本実施形態において、駆動装置50は、倍速機構を用いてアンチバック機構40を搬送方向に移動させる。より具体的には、駆動装置50は、図3に示すように、フレーム51と、シリンダ部材52と、シリンダロッド53と、第一可動体54と、無端ベルト55と、第二可動体56とを有する。
フレーム51は、第一工作機械11に対して相対移動不能に固定される。シリンダ部材52は、フレーム51に設けられ、例えば供給される油圧によりシリンダロッド53を搬送方向に移動させる。第一可動体54は、シリンダロッド53に一体的に設けられ、シリンダロッド53の移動に伴いフレーム51に対して搬送方向に移動可能に構成されている。無端ベルト55は、第一可動体54に設けられた2つのプーリに懸架され、外周面の一部(図3の斜線部)をフレーム51に固定されている。
第二可動体56は、無端ベルト55の外周面の一部に固定されている。また、第二可動体56の下部には、アンチバック機構40の本体部41が連結される。このような構成によると、シリンダ部材52の動作によりシリンダロッド53が搬出方向に移動すると、先ず第一可動体54がフレーム51に対して搬出方向に移動する。そうすると、無端ベルト55は、全体として搬出方向に移動する。このとき、無端ベルト55は、一部(図3の斜線部)をフレーム51に固定されているため、第一可動体54の移動距離に応じて固定された一部を基点に回転する。
無端ベルト55に固定されている第二可動体56は、無端ベルト55の回転によって第一可動体54に対して搬出方向に移動する。つまり、第二可動体56は、第一可動体54の搬送方向の一方側(搬出方向)への移動距離に応じて第一可動体54に対して搬送方向の一方側(搬出方向)に相対移動する。そのため、フレーム51に対する第二可動体56の移動距離は、フレーム51に対する第一可動体54の移動距離の2倍となる。第二可動体56の移動距離は、第一可動体54が搬送方向の他方側(搬入方向)に移動する場合も同様に、第一可動体54の移動距離の2倍となる。
上記のような構成からなる倍速機構を用いた駆動装置50は、シリンダ部材52のストロークに対して2倍の移動距離、およびシリンダロッド53の動作に対して2倍の速度で第二可動体56を移動可能とする。駆動装置50は、搬送装置30の制御装置62の指令に従って、シリンダ部材52を動作させる。これにより、駆動装置50は、第二可動体56と一体的に移動するアンチバック機構40の係止部材42を、搬送方向の所定位置に移動させる。
(2−2.第一搬入ユニットNm1について)
ここで、搬送装置30の第一搬入ユニットNm1は、上述したように、第一搬出ユニットNx1と同種の搬送用ユニットである。第一搬入ユニットNm1は、第一搬出ユニットNx1が搬送路70の一方側(図1の下側)に配置されるのに対して、搬送路70の他方側(図1の上側)に配置される。第一搬入ユニットNm1の駆動装置50および第一搬出ユニットNx1の駆動装置50は、第一工作機械11が加工処理している場合に、係止部材42を含むアンチバック機構40を第一工作機械11の機外に退避させる。
また、第一搬入ユニットNm1は、第一工作機械11の機外から第一工作機械11の機内の規定位置Ppまで加工処理前のワークWを搬送する。第一搬入ユニットNm1は、当該搬入動作において規定位置Ppに載置された加工処理後のワークWに加工処理前のワークWを押し付けることによって、加工処理後のワークWを搬送路70上の搬出待機位置Pxまで移動させる。第一搬出ユニットNx1は、搬出待機位置Pxに載置された加工処理後のワークWを第一工作機械11の機外まで搬出する。
搬送装置30は、図2に示すように、検出部61および制御装置62を備える。検出部61は、加工処理後のワークWが搬出待機位置Pxまで移動されたか否かを検出する。制御装置62は、検出部61による検出結果に基づいて第一搬出ユニットNx1を動作させて、搬出待機位置Pxに載置されたワークWを第一工作機械11の機外に搬出させる。
本実施形態において、第一搬入ユニットNm1は、ワークWに係止部材42を係止させた状態で第一工作機械11の機内にワークWを押し込んで搬入する。一方で、第一搬出ユニットNx1は、本実施形態において、ワークWの係止部材42を係止させた状態で第一工作機械11の機外にワークWをかき出して搬出する。つまり、同種の搬送用ユニットである第一搬入ユニットNm1および第一搬出ユニットNx1のそれぞれの係止部材42は、ワークWの押し込みにもかき出しにも適用可能に構成される。
また、第一搬入ユニットNm1および第一搬出ユニットNx1は、駆動装置50の固定位置および駆動装置50に対する係止部材42の搬送方向位置により、ワークWを搬送方向に移動可能な搬送領域Rm,Rxがそれぞれ設定される。具体的には、第一搬入ユニットNm1の搬送領域Rmは、駆動装置50によるアンチバック機構40の可動範囲に応じた領域(搬入待機位置Pmから規定位置Ppまでの領域)に、加工処理前のワークWの押し付けによる加工処理後のワークWの移動領域(規定位置Ppから搬出待機位置Pxまでの領域)を加えた領域に相当する。第一搬出ユニットNx1の搬送領域Rxは、搬送路70上の搬出待機位置Pxから第二工作機械12に対する搬入待機位置Pmまでの領域である。
なお、上記の規定位置Ppから搬出待機位置Pxまでの領域に対応するワークWの移動量は、当該ワークWの搬送方向の長さ(以下、「ワーク長Lc」と称する)に相当する。第一搬入ユニットNm1は、加工処理前のワークWの前面部が加工処理後のワークWの背面部に接触された状態で、加工処理後のワークWを規定位置Ppから搬出待機位置Pxまで移動させる。つまり、上記のワーク長Lcは、本実施形態において、ワークWの前面部のうち下流側のワークWの背面部に接触する前側接触部から、ワークWの背面部のうち上流側のワークWの前側接触部と接触する後側接触部までの搬送方向長さに相当する。
また、第一搬入ユニットNm1により加工処理後のワークWが搬出待機位置Pxまで移動される際に、加工処理前のワークWの前面部が加工処理後のワークWの背面部に直接的に接触する態様においては、前面部または背面部が加工面である場合には、当該接触に伴って加工面に傷が生じるおそれがある。そこで、ワークWの前面部または背面部には、接触に伴う傷の発生を防止可能な手段を設けることが好ましい。
(2−3.第一搬出ユニットNx1と第二搬入ユニットNm2の関係)
搬送装置30は、上述したように、第一搬入ユニットNm1と同種の搬送用ユニットである第二搬入ユニットNm2を備える。第二搬入ユニットNm2は、第二工作機械12の機外から当該第二工作機械12における規定位置PpまでワークWを搬入する。第一搬出ユニットNx1および第二搬入ユニットNm2は、図1に示すように、搬送方向に重複した位置に配置される。
第二搬入ユニットNm2は、第一搬出ユニットNx1により第二工作機械12に対する搬入待機位置Pmまで搬送されたワークWを、第二工作機械12の機内における規定位置Ppまで搬入可能に搬送領域Rmを設定される。第一搬出ユニットNx1および第二搬入ユニットNm2は、図1に示すように、それぞれの搬送領域Rx,Rmが搬送方向に連続する位置にそれぞれ配置される。
このような構成において、第二搬入ユニットNm2は、上流側の第一工作機械11において加工処理後のワークWが第一搬出ユニットNx1により搬送路70上の搬入待機位置Pmまで搬送される場合に、係止部材42を搬送領域Rmの上流側端部に位置決めされる。第二搬入ユニットNm2は、アンチバック機構40が搬送方向下流側へのワークWの移動を許容し、ワークWが第二工作機械12に対する搬入待機位置Pmまで搬送されると当該ワークWの背面部に係止部材42が係止可能な状態となる。つまり、第二搬入ユニットNm2は、第一搬出ユニットNx1の搬送によって、ワークWを下流側の第二工作機械12に搬入可能な状態とされる。
このとき、第一搬出ユニットNx1および第二搬入ユニットNm2は、図5に示すように、それぞれの係止部材42が搬送路70の幅方向の一方側および他方側に互いに離間して配置される。これにより、第一搬出ユニットNx1および第二搬入ユニットNm2は、搬送路70の幅方向において、それぞれの係止部材42の爪部42bが異なる位置でワークWに係止可能となる。より詳細には、それぞれの係止部材42の爪部42b同士が離間する搬送路70の幅方向の距離Dtは、基端部42a同士が離間する搬送路70の幅方向の距離Drよりも短くなるように設定される。これにより、第一搬出ユニットNx1および第二搬入ユニットNm2は、それぞれの係止部材42の干渉を防止しつつ、搬送路70の幅方向においてワークWの重心により近い部位にそれぞれの係止部材42が係止するように構成されている。
(3.搬送装置30による搬送処理)
次に、生産ライン10における搬送装置30によるワークWの搬送処理について、図6〜図9を参照して説明する。なお、図6〜図9は、各図の上段において生産ライン10を上方から見た場合の搬送路70とワークWの位置関係を示し、各図の下段において生産ライン10を正面から見た場合のワークWと搬送装置30の位置関係を上段に対応させて示している。
ここで、搬送装置30は、同種のワークWを順に搬送するものとし、生産ライン10の下流側から順に第一ワークA、第二ワークBとする。第一ワークAおよび第二ワークBは、図6に示すように、例えばエンジンのシリンダブロックであり、搬送方向(図6の左右方向)に所定のピッチで4つのボアが形成されている。
第一ワークAは、図6に示すように、第一工作機械11により加工処理された加工処理後のワークWであり、搬送路70上の規定位置Ppに載置された状態にある。第二ワークBは、第一工作機械11には加工処理されていない加工処理前のワークWであり、搬送路70上の搬入待機位置Pmに載置された状態にある。
第一搬入ユニットNm1は、係止部材42を搬送領域Rmの上流側端部に位置決めして、第二ワークBの背面部に係止部材42が係止可能な状態とする。次に、第一搬入ユニットNm1の駆動装置50の動作によってアンチバック機構40が搬送方向に移動されると、係止部材42が第二ワークBの背面部に係止して搬送方向の外力を付与する。第二ワークBが搬送路70上の押込開始位置Psまで移動されると、図7に示すように、第二ワークBの前面部が第一ワークAの背面部に接触する。
さらに、第一搬入ユニットNm1は、第二ワークBの背面部に係止部材42を係止させた状態で第一工作機械11の機内に第二ワークBを押し込んで搬入する。第二ワークBが第一工作機械11の規定位置Ppまで搬入されると、図8に示すように、当該搬入動作によって第一ワークAが第一工作機械11における搬出待機位置Pxまで移動される。このとき、第一搬出ユニットNx1が係止部材42を搬送領域Rxの上流側端部に位置決めされており、第一ワークAは、第一搬出ユニットNx1のアンチバック機構40に対して搬送方向下流側へ移動を許容される。
第一ワークAが搬出待機位置Pxまで移動すると、第一ワークAの搬送方向前側の一部は、第一工作機械11の機外に露出した状態にある。そして、第一搬出ユニットNx1の係止部材42は、第一ワークAに形成されたボアに挿入され、当該ボアの内壁に係止可能となる。また、搬送装置30は、第一ワークAが搬出待機位置Pxまで移動されたことを検出部61により検出する。搬送装置30の制御装置62は、この検出結果に基づいて第一搬出ユニットNx1を動作させる。これにより、第一搬出ユニットNx1は、第一ワークAに係止部材42を係止させた状態で第一工作機械11の機内から当該第一ワークAをかき出して搬出する。
第一搬出ユニットNx1は、図9に示すように、第一ワークAが搬送路70上の第二工作機械12に対する搬入待機位置Pmまで移動する。このとき、第二搬入ユニットNm2は、係止部材42を搬送領域Rmの上流側端部に位置決めされている。これにより、第二搬入ユニットNm2は、第一工作機械11において加工処理後の第一ワークAが第一搬出ユニットNx1により搬送路70上の搬入待機位置Pmまで搬出されることによって、第一ワークAを第二工作機械12に搬入可能な状態とされる。
加工処理前の第二ワークBを搬入された第一工作機械11は、リフタ26により第二ワークBを搬送路70から下降させてチルト装置27の上面に第二ワークBを載置する。そして、第一工作機械11は、チルト装置27に第二ワークBを位置決め固定した後に、第二ワークBの加工処理に移行する。このとき、第一工作機械11は、機内搬送台71と、この機内搬送台71に搬送方向に隣接する機外搬送台75,76との各境界部に設けられた図略のシャッター装置を閉じる。
第一搬入ユニットNm1および第一搬出ユニットNx1は、それぞれの駆動装置50が第一工作機械11の機外に設けられ、且つ第一工作機械11の加工処理に際して係止部材42を含むアンチバック機構40を第一工作機械11の機外に退避させる。これにより、第一搬入ユニットNm1および第一搬出ユニットNx1は、第一工作機械11のシャッター装置によって加工処理が行われる機内と遮断される。
(4.実施形態の構成による効果)
本実施形態において、第一搬入ユニットNm1は、第一工作機械11の機外から規定位置Ppまで第二ワークBを搬入するとともに、当該搬入動作において規定位置Ppに載置された第一ワークAに第二ワークBを押し付けることによって、第一ワークAを搬送路70上の搬出待機位置Pxまで移動させる。
このような構成によると、第一搬入ユニットNm1によりワークWを搬送可能な搬送領域Rmには、加工処理前の第二ワークBの搬入に伴って押し出された加工処理後の第一ワークAの移動量(規定位置Ppから搬出待機位置Pxまでの距離であって、ワークWのワーク長Lcに相当する)が含まれる。これにより、搬送装置30においてワークWの移動可能な搬送領域Rmが好適に確保される。よって、搬送装置30全体として小型化が可能となるので、第一工作機械11と第二工作機械12との間の距離を短くでき、工場内における工作機械のレイアウトの設定自由度が向上する。
また、加工処理前の第二ワークBの搬入により加工処理後の第一ワークAが搬出され始めるため、搬送処理に要する時間が短縮される。本実施形態において、第一搬入ユニットNm1は、加工処理後の第一ワークAが第一工作機械11の機外に搬出されるのを待つことなく、加工処理前の第二ワークBを搬送対象として第一工作機械11の機内への搬入動作を開始する。そのため、搬送装置30は、第一搬入ユニットNm1による搬入動作中であっても、第一搬出ユニットNx1を動作させて、例えば第一ワークAよりも先に加工処理されたワークWを下流側に搬送させることができる。このように、搬送装置30は、第一搬出ユニットNx1による搬出動作の状態によらず、第一搬入ユニットNm1により加工処理前の第二ワークBを搬入することができる。従って、搬送装置30による搬送処理に要する時間が短縮される。
また、第一搬入ユニットNm1および第一搬出ユニットNx1は、駆動装置50による制御によって、第一工作機械11が加工処理している場合に、係止部材42を第一工作機械11の機外に退避させる。
このような構成によると、第一搬入ユニットNm1および第一搬出ユニットNx1に加工処理に伴って機内で発生する切り粉などが付着することを防止できるので、搬送装置30のメンテナンス性が向上する。また、本実施形態のように第一工作機械11がシャッター装置を備える構成において、第一搬入ユニットNm1および第一搬出ユニットNx1が第一工作機械11の機外に退避するので、シャッター装置に搬送装置との干渉を防止する機構を設けた専用のシャッター装置とする必要がない。よって、第一工作機械11は、汎用的なシャッター装置を適用することが可能となる。
また、第一搬入ユニットNm1は、ワークWに係止部材42を係止させた状態で第一工作機械11の機内にワークWを押し込んで搬入する。また、第一搬出ユニットNx1は、ワークWに係止部材42を係止させた状態で第一工作機械11の機内からワークWをかき出して搬出する。
このような構成によると、第一搬入ユニットNm1および第一搬出ユニットNx1は、係止部材42によりワークWを押し込み、またワークWをかき出すことが可能である。係止部材42は、第一搬入ユニットNm1および第一搬出ユニットNx1において押し込みとかき出しの両方に対応した部材とすることができる。
また、第一搬入ユニットNm1および第一搬出ユニットNx1は、駆動装置50に対する係止部材42の搬送方向位置を調整可能な調整機構44を有する。
本実施形態において、第一搬入ユニットNm1の搬送領域Rmには、第二ワークBの押し付けによって第一ワークAが押し出されて移動した移動量が含まれる。そして、当該移動量がワーク長Lcに相当することから、例えばワーク長Lcが異なる他種のワークが搬送対象となった場合には、搬送領域Rmを適宜変更する必要が生じる。そこで、本実施形態のように、第一搬入ユニットNm1および第一搬出ユニットNx1が調整機構44をそれぞれ有する構成とすることにより、ワーク長Lcの異なる種々のワークWに対応した搬送が可能となる。
また、搬送装置30は、検出部61による検出結果に基づいて第一搬出ユニットNx1を動作させて、搬出待機位置Pxに載置されたワークWを第一工作機械11の機外に搬出させる制御装置62を備える。
このような構成によると、搬送装置30は、検出部61により加工処理後の第一ワークAが搬出待機位置Pxまで移動されたか否かに係る情報を取得できる。また、搬送装置30は、制御装置62により第一搬出ユニットNx1の動作を制御することにより、搬出待機位置Pxまで移動された加工処理後の第一ワークAを適宜のタイミングで第一工作機械11の機外に搬出可能となる。これにより、搬送動作の効率が向上する。
また、搬送路70には、当該搬送路70を構成し、且つワークWが載置された状態で鉛直な中心軸周りに回転可能な回転テーブル80が設けられる。
生産ライン10においては、例えば、第一工作機械11および第二工作機械12による加工処理されたワークWに対して品質チェックを行うことがある。しかしながら、ベルトコンベアのように駆動機構を有する装置により搬送路が構成されている場合には、ベルトコンベアに鉛直な中心軸周りに回転する機構を設けることが容易ではない。そのため、品質チェックにおいては、作業者がワークWにおける品質チェックの対象部位を視認できる位置まで移動する必要がある。また、工作機械や搬送装置の位置関係によっては品質チェックが容易でない場合もある。
これに対して、搬送路70の一部を回転テーブル80により構成することにより、ワークWを載置された回転テーブル80を中心軸周りに回転できるので、品質チェックの作業性が向上する。その他、ワークWを搬送路70の外部に持ち出す場合に、回転テーブル80により搬送方向を変更できるので、搬送路70から搬送台車へのワークWの乗せ替えが容易となる。
また、第一搬出ユニットNx1および第一搬入ユニットNm1は、搬送方向に重複した位置に配置され、且つワークWを搬送方向に移動可能とする搬送領域Rx,Rmが搬送方向に連続する位置にそれぞれ配置される。
このような構成によると、第一搬出ユニットNx1および第二搬入ユニットNm2は、隣り合う第一工作機械11および第二工作機械12の間に搬送方向に並列に配置される。これにより、各ユニットNx,Nmを搬送方向に直列に配置する構成と比較して、両ユニットNx,Nmの配置に要する搬送方向幅を短縮できる。よって、搬送装置30全体として小型化を図ることにより、工作機械間の距離が短縮される。
また、第二搬入ユニットNm2は、上流側の第一工作機械11において加工処理後の第一ワークAが第一搬入ユニットNm1により搬入待機位置Pmまで搬出されることによって、この第一ワークAを下流側の第二工作機械12に搬入可能な状態とされる。
このような構成によると、第二搬入ユニットNm2は、第一搬入ユニットNm1と連携して動作し、隣り合う第一工作機械11から第二工作機械12へとワークWを確実に搬送できる。これにより、搬送装置30の搬送動作の効率が向上する。
また、第一搬入ユニットNm1の係止部材42、および第二搬入ユニットNm2の係止部材42は、ワークWに係止する爪部42bが基端部42aよりも搬送路70の幅方向中央側に配置される。
このような構成によると、それぞれの係止部材42の爪部42b同士が離間する搬送路70の幅方向の距離Dtは、基端部42a同士が離間する搬送路70の幅方向の距離Drよりも短くなるように設定される(Dt<Dr)。これにより、2つの係止部材42はともに、搬送路70の幅方向中央付近においてワークWに外力を付与することが可能となり、ワークWに発生するモーメントを低減できる。これにより、搬送装置30の動作安定性が向上する。
<実施形態の変形態様>
上述したように、各搬入ユニットNm1〜Nm3の搬送領域Rmには加工処理前のワークWの押し付けによる加工処理後のワークWの移動量が含まれる。このとき、実施形態においては、ワークW同士が直接的に接触するため、ワークWの移動量は、ワーク長Lcに相当する。ここで、搬送装置30が搬送の対象とする物品には、実施形態で例示したワークW単体の他に、ワークWが治具や搬送トレイなどの他部材を組み付けられた状態のものが含まれる。このような物品が搬送の対象とされる場合には、ワークW同士が間接的に接触することになり、当該他部材を含めた物品同士が接触した状態で、各物品の搬送方向の中心間距離が上記の移動量に相当する。
また、実施形態において、処理装置は工作機械11〜13であり、搬送装置30が搬送の対象とする物品はワークWである。これに対して、処理装置としては、種々の加工装置や組立装置、熱処理装置、表面処理装置などが含まれ、その場合に搬送の対象とする物品は被加工物や組立本体、種々の部品、要素などが想定される。このような態様においても、実施形態と同様の構成とすることにより、同様の効果を奏する。
<付記>
搬送装置30は、搬送路70上に載置された物品(ワークW)に対して所定の処理を施す第一処理装置(第一工作機械11)および第二処理装置(第二工作機械12)が物品(ワークW)の搬送方向に並んで設置されることにより構成される生産ライン10に用いられ、搬送路70上の物品(ワークW)を搬送する。搬送装置30は、第一処理装置の機内から物品を機外まで搬出する搬出ユニット(Nx1)と、第二処理装置(第二工作機械12)の機外から物品(ワークW)を機内まで搬入する搬入ユニット(Nm1〜Nm3)と、を備える。搬出ユニットおよび搬入ユニットは、搬送方向に重複した位置に配置され、且つ物品を搬送方向に移動可能とするそれぞれの搬送領域Rx,Rmが搬送方向に連続する位置にそれぞれ配置される。
搬入ユニット(Nm1)は、第一処理装置(第一工作機械11)において処理後の物品(ワークW)が搬出ユニット(Nx1)により第二処理装置(第二工作機械12)に対する搬送路70上の搬入待機位置Pmまで搬出されることによって、当該物品を第二処理装置に搬入可能な状態とされる。
搬出ユニット(Nx1)および搬入ユニット(Nm1)は、搬送路70の上方に配置され、搬送路70の上面から所定の高さにおいて物品(ワークW)に係止して当該物品に搬送方向の外力を付与する係止部材42と、係止部材42を支持するとともに、当該係止部材42を搬送方向に移動させる駆動装置50と、をそれぞれ有する。搬出ユニット(Nx1)および搬入ユニット(Nm1)の各係止部材42は、搬送路70の幅方向の一方側および他方側に互いに離間して配置され、駆動装置50に支持される基端部42aと、基端部42aよりも搬送路70の幅方向中央側に配置され物品(ワークW)に係止する爪部42bと、基端部42aと爪部42bを連結する連結部42cと、をそれぞれ有する。
搬送装置30は、搬入ユニットであって第一処理装置(第一工作機械11)の機外から物品(ワークW)を機内まで搬入する第一搬入ユニットNm1と、搬出ユニットであって第一処理装置(第一工作機械11)の機内から物品を機外まで搬出する第一搬出ユニットNx1と、搬入ユニットであって第二処理装置(第二工作機械12)の機外から物品を機内まで搬入する第二搬入ユニットNm2と、を備える。第一搬入ユニットNm1は、第一処理装置の機外から搬送路70上の規定位置Ppまで処理前の物品を搬入するとともに、当該搬入動作において規定位置Ppに載置された処理後の物品に処理前の物品を押し付けることによって、処理後の物品(ワークW)を搬送路70上の搬出待機位置Pxまで移動させる。第一搬出ユニットNx1は、搬出待機位置Pxに載置された処理後の物品を処理装置の機外まで搬出する。
第一搬入ユニットNm1および第一搬出ユニットNx1は、物品(ワークW)に係止して当該物品に搬送方向の外力を付与する係止部材42と、第一処理装置(第一工作機械11)の機外に設けられ、係止部材42を搬送方向に移動させる駆動装置50と、をそれぞれ有する。駆動装置50は、第一処理装置が処理している場合に、係止部材42を第一処理装置の機外に退避させる。
第一搬入ユニットNm1は、物品(ワークW)に係止部材42を係止させた状態で第一処理装置(第一工作機械11)の機内に当該物品を押し込んで搬入する。第一搬出ユニットNx1は、物品に係止部材42を係止させた状態で第一処理装置(第一工作機械11)の機内から当該物品(ワークW)をかき出して搬出する。
第一搬入ユニットNm1および第一搬出ユニットNx1の少なくとも一方は、駆動装置50に対する係止部材42の搬送方向位置を調整可能な調整機構を有する。
搬送装置30は、処理後の物品(ワークW)が搬出待機位置Pxまで移動されたか否かを検出する検出部61と、検出部61による検出結果に基づいて第一搬出ユニットNx1を動作させて、搬出待機位置Pxに載置された物品(ワークW)を第一処理装置(第一工作機械11)の機外に搬出させる制御装置62と、をさらに備える。
搬送路70には、当該搬送路70を構成し、且つ物品(ワークW)が載置された状態で鉛直な中心軸周りに回転可能な回転テーブル80が設けられる。
10:生産ライン、 11:第一工作機械、 12:第二工作機械、 30:搬送装置、 Nm1〜Nm3:搬入ユニット、 Nx1〜Nx3:搬出ユニット、 42:係止部材、 42a:基端部、 42b:爪部、 42c:連結部、 44:調整機構、 50:駆動装置、 61:検出部、 62:制御装置、 70:搬送路、 80:回転テーブル、 W,A,B:ワーク(物品)、 Pp:規定位置、 Px:搬出待機位置、 Pm:搬入待機位置

Claims (9)

  1. 搬送路上に載置された物品に対して所定の処理を施す第一処理装置および第二処理装置が前記物品の搬送方向に並んで設置されることにより構成される生産ラインに用いられ、前記搬送路上の前記物品を搬送する搬送装置であって、
    前記第一処理装置の機内から前記物品を機外まで搬出する搬出ユニットと、
    前記第二処理装置の機外から前記物品を機内まで搬入する搬入ユニットと、を備え、
    前記搬出ユニットおよび前記搬入ユニットは、搬送方向に重複した位置に配置され、且つ前記物品を搬送方向に移動可能とするそれぞれの搬送領域が搬送方向に連続する位置にそれぞれ配置され
    前記搬出ユニットおよび前記搬入ユニットは、
    前記搬送路の上方に配置され、前記搬送路の上面から所定の高さにおいて前記物品に係止して当該物品に搬送方向の外力を付与する係止部材と、
    前記係止部材を支持するとともに、当該係止部材を搬送方向に移動させる駆動装置と、をそれぞれ有し、
    前記搬出ユニットおよび前記搬入ユニットの各前記係止部材は、
    前記搬送路の幅方向の一方側および他方側に互いに離間して配置され、
    前記駆動装置に支持される基端部と、前記基端部よりも前記搬送路の幅方向中央側に配置され前記物品に係止する爪部と、前記基端部と前記爪部を連結する連結部と、をそれぞれ有する搬送装置。
  2. 搬送路上に載置された物品に対して所定の処理を施す第一処理装置および第二処理装置が前記物品の搬送方向に並んで設置されることにより構成される生産ラインに用いられ、前記搬送路上の前記物品を搬送する搬送装置であって、
    前記第一処理装置の機内から前記物品を機外まで搬出する搬出ユニットと、
    前記第二処理装置の機外から前記物品を機内まで搬入する搬入ユニットと、を備え、
    前記搬出ユニットおよび前記搬入ユニットは、搬送方向に重複した位置に配置され、且つ前記物品を搬送方向に移動可能とするそれぞれの搬送領域が搬送方向に連続する位置にそれぞれ配置され
    前記搬送装置は、
    前記搬入ユニットであって前記第一処理装置の機外から前記物品を機内まで搬入する第一搬入ユニットと、
    前記搬出ユニットであって前記第一処理装置の機内から前記物品を機外まで搬出する第一搬出ユニットと、
    前記搬入ユニットであって前記第二処理装置の機外から前記物品を機内まで搬入する第二搬入ユニットと、を備え、
    前記第一搬入ユニットは、前記第一処理装置の機外から前記搬送路上の規定位置まで処理前の前記物品を搬入するとともに、当該搬入動作において前記規定位置に載置された処理後の前記物品に処理前の前記物品を押し付けることによって、処理後の前記物品を前記搬送路上の搬出待機位置まで移動させ、
    前記第一搬出ユニットは、前記搬出待機位置に載置された処理後の前記物品を前記第一処理装置の機外まで搬出する搬送装置。
  3. 前記搬出ユニットおよび前記搬入ユニットは、
    前記搬送路の上方に配置され、前記搬送路の上面から所定の高さにおいて前記物品に係止して当該物品に搬送方向の外力を付与する係止部材と、
    前記係止部材を支持するとともに、当該係止部材を搬送方向に移動させる駆動装置と、をそれぞれ有し、
    前記搬出ユニットおよび前記搬入ユニットの各前記係止部材は、
    前記搬送路の幅方向の一方側および他方側に互いに離間して配置され、
    前記駆動装置に支持される基端部と、前記基端部よりも前記搬送路の幅方向中央側に配置され前記物品に係止する爪部と、前記基端部と前記爪部を連結する連結部と、をそれぞれ有する、請求項2に記載の搬送装置。
  4. 前記第一搬入ユニットおよび前記第一搬出ユニットは、
    前記物品に係止して当該物品に搬送方向の外力を付与する係止部材と、
    前記第一処理装置の機外に設けられ、前記係止部材を搬送方向に移動させる駆動装置と、をそれぞれ有し、
    前記駆動装置は、前記第一処理装置が処理している場合に、前記係止部材を前記第一処理装置の機外に退避させる、請求項2または3に記載の搬送装置。
  5. 前記第一搬入ユニットは、前記物品に前記係止部材を係止させた状態で前記第一処理装置の機内に当該物品を押し込んで搬入し、 前記第一搬出ユニットは、前記物品に前記係止部材を係止させた状態で前記第一処理装置の機内から当該物品をかき出して搬出する、請求項に記載の搬送装置。
  6. 前記第一搬入ユニットおよび前記第一搬出ユニットの少なくとも一方は、前記駆動装置に対する前記係止部材の搬送方向位置を調整可能な調整機構を有する、請求項4または5に記載の搬送装置。
  7. 前記搬送装置は、
    処理後の前記物品が前記搬出待機位置まで移動されたか否かを検出する検出部と、
    前記検出部による検出結果に基づいて前記第一搬出ユニットを動作させて、前記搬出待機位置に載置された前記物品を前記第一処理装置の機外に搬出させる制御装置と、
    をさらに備える、請求項2〜6の何れか一項に記載の搬送装置。
  8. 前記搬送路には、当該搬送路を構成し、且つ前記物品が載置された状態で鉛直な中心軸周りに回転可能な回転テーブルが設けられる、請求項2〜7の何れか一項に記載の搬送装置。
  9. 前記搬入ユニットは、前記第一処理装置において処理後の前記物品が前記搬出ユニットにより前記第二処理装置に対する前記搬送路上の搬入待機位置まで搬出されることによって、当該物品を前記第二処理装置に搬入可能な状態とされる、請求項1〜8の何れか一項に記載の搬送装置。
JP2014217391A 2014-10-24 2014-10-24 搬送装置 Expired - Fee Related JP6476744B2 (ja)

Priority Applications (2)

Application Number Priority Date Filing Date Title
JP2014217391A JP6476744B2 (ja) 2014-10-24 2014-10-24 搬送装置
CN201510652620.8A CN105538027B (zh) 2014-10-24 2015-10-10 输送装置

Applications Claiming Priority (1)

Application Number Priority Date Filing Date Title
JP2014217391A JP6476744B2 (ja) 2014-10-24 2014-10-24 搬送装置

Publications (2)

Publication Number Publication Date
JP2016083719A JP2016083719A (ja) 2016-05-19
JP6476744B2 true JP6476744B2 (ja) 2019-03-06

Family

ID=55817826

Family Applications (1)

Application Number Title Priority Date Filing Date
JP2014217391A Expired - Fee Related JP6476744B2 (ja) 2014-10-24 2014-10-24 搬送装置

Country Status (2)

Country Link
JP (1) JP6476744B2 (ja)
CN (1) CN105538027B (ja)

Families Citing this family (7)

* Cited by examiner, † Cited by third party
Publication number Priority date Publication date Assignee Title
CN105855997B (zh) * 2016-05-06 2018-07-24 重庆威诺克智能装备股份有限公司 柔性生产线控制系统及方法
US10435249B2 (en) 2017-05-29 2019-10-08 Jtekt Corporation Conveying device
JP2018199195A (ja) * 2017-05-29 2018-12-20 株式会社ジェイテクト 搬送装置
CN108941617A (zh) * 2018-09-14 2018-12-07 武创智达科技(杭州)有限公司 一种机械手及其生产方式
CN109605132B (zh) * 2018-12-21 2020-08-21 浙江欧凌机床股份有限公司 一种用于机壳加工的自动化系统
JP7352816B2 (ja) * 2019-06-11 2023-09-29 株式会社ジェイテクト 搬送装置および工作機械
CN115321274B (zh) * 2021-05-11 2025-03-11 Ykk株式会社 用于绳状物的自动连续处理的装置、方法、以及计算机程序

Family Cites Families (17)

* Cited by examiner, † Cited by third party
Publication number Priority date Publication date Assignee Title
JPS5924444Y2 (ja) * 1978-12-28 1984-07-19 トヨタ自動車株式会社 加工ラインにおける被加工物の停止位置規制装置
JPS57177703U (ja) * 1981-05-06 1982-11-10
JPH035399Y2 (ja) * 1986-01-16 1991-02-12
JPH0418977Y2 (ja) * 1986-12-22 1992-04-28
JPH06106460A (ja) * 1992-09-24 1994-04-19 Unisia Jecs Corp ワーク搬送装置
JPH10265135A (ja) * 1997-03-21 1998-10-06 Murata Mach Ltd トレイ搬送システム
JPH11347876A (ja) * 1998-06-05 1999-12-21 Hitachi Seiki Co Ltd 主軸移動型工作機械における工作物搬送方法、その装置および加工システム
JP3862197B2 (ja) * 1999-10-19 2006-12-27 株式会社グローバル 縦型熱処理装置
JP2001162481A (ja) * 1999-12-10 2001-06-19 Masahiro Kitamura 自動化加工機に於けるワーク保持パレットの搬送方法及びその装置
US6364093B1 (en) * 2000-02-25 2002-04-02 Boltech, Inc. Walking beam conveyor and method
JP4178754B2 (ja) * 2001-01-09 2008-11-12 村田機械株式会社 ワーク搬送システム
JP2003285250A (ja) * 2002-03-26 2003-10-07 Toyota Motor Corp 工作機械のワーク搬入出・搬送装置及び自動生産ライン
JP2005040895A (ja) * 2003-07-22 2005-02-17 Nippei Toyama Corp ワーク搬送システム
JP2012201453A (ja) * 2011-03-24 2012-10-22 Toshiba Corp パレット搬送装置及びパレット搬送方法
JP5337214B2 (ja) * 2011-09-05 2013-11-06 コマツNtc株式会社 工作機械ライン
CN103921159A (zh) * 2014-03-26 2014-07-16 昆山佑翔电子科技有限公司 生产线夹具
CN204161964U (zh) * 2014-08-27 2015-02-18 株式会社捷太格特 搬运装置

Also Published As

Publication number Publication date
JP2016083719A (ja) 2016-05-19
CN105538027B (zh) 2019-10-25
CN105538027A (zh) 2016-05-04

Similar Documents

Publication Publication Date Title
JP6476744B2 (ja) 搬送装置
CN101407279B (zh) 搬送作业方法及其装置
KR101554033B1 (ko) 차량용 휠 캐리어 브라켓의 탭 가공을 위한 다축 자동 탭핑 장치
JP6728647B2 (ja) 搬送装置
JP6746285B2 (ja) ガントリ型搬送装置を有する加工ライン
CN110745544A (zh) 自动转运设备
EP2944424B1 (en) Shot processing device
CN110573285A (zh) 运动系统和切齿机
JP2020199601A (ja) 搬送装置および工作機械
JP4587845B2 (ja) 組立生産装置
JPH11347876A (ja) 主軸移動型工作機械における工作物搬送方法、その装置および加工システム
JP5524676B2 (ja) 加工システムにおけるワーク搬入出装置及びその方法
JP6492530B2 (ja) 搬送装置
JP6832069B2 (ja) ワーク把持方法及びチャック装置
JP5512354B2 (ja) 棒状ワークの加工方法及びその装置
JP6741447B2 (ja) レーザ加工装置
JP2017170451A (ja) レーザ加工装置
JP6813271B2 (ja) ワーク搬送システム及びワーク加工方法
CN109689307B (zh) 工件自动输送机
JP2016013592A (ja) 搬送装置
TWI849198B (zh) 托盤搬運裝置及托盤搬運方法
JP3111843B2 (ja) トランスファマシン
JP6452431B2 (ja) パレット搬送装置
JP6700884B2 (ja) ワーク搬送装置
JP5538003B2 (ja) 多軸加工装置

Legal Events

Date Code Title Description
A621 Written request for application examination

Free format text: JAPANESE INTERMEDIATE CODE: A621

Effective date: 20170908

A977 Report on retrieval

Free format text: JAPANESE INTERMEDIATE CODE: A971007

Effective date: 20180615

A131 Notification of reasons for refusal

Free format text: JAPANESE INTERMEDIATE CODE: A131

Effective date: 20180626

A521 Request for written amendment filed

Free format text: JAPANESE INTERMEDIATE CODE: A523

Effective date: 20180801

TRDD Decision of grant or rejection written
A01 Written decision to grant a patent or to grant a registration (utility model)

Free format text: JAPANESE INTERMEDIATE CODE: A01

Effective date: 20190108

A61 First payment of annual fees (during grant procedure)

Free format text: JAPANESE INTERMEDIATE CODE: A61

Effective date: 20190121

R150 Certificate of patent or registration of utility model

Ref document number: 6476744

Country of ref document: JP

Free format text: JAPANESE INTERMEDIATE CODE: R150

LAPS Cancellation because of no payment of annual fees