JP6446405B2 - 金属製腕木 - Google Patents

金属製腕木 Download PDF

Info

Publication number
JP6446405B2
JP6446405B2 JP2016116588A JP2016116588A JP6446405B2 JP 6446405 B2 JP6446405 B2 JP 6446405B2 JP 2016116588 A JP2016116588 A JP 2016116588A JP 2016116588 A JP2016116588 A JP 2016116588A JP 6446405 B2 JP6446405 B2 JP 6446405B2
Authority
JP
Japan
Prior art keywords
arm
stiffener
main body
metal
base
Prior art date
Legal status (The legal status is an assumption and is not a legal conclusion. Google has not performed a legal analysis and makes no representation as to the accuracy of the status listed.)
Active
Application number
JP2016116588A
Other languages
English (en)
Other versions
JP2017218871A (ja
Inventor
是友 高橋
是友 高橋
俊之 渋谷
俊之 渋谷
浩一 西野
浩一 西野
勲 岩崎
勲 岩崎
真人 土田
真人 土田
Current Assignee (The listed assignees may be inaccurate. Google has not performed a legal analysis and makes no representation or warranty as to the accuracy of the list.)
Sekisui House Ltd
Nippon Steel Trading Corp
Original Assignee
Sekisui House Ltd
Nippon Steel and Sumikin Bussan Corp
Priority date (The priority date is an assumption and is not a legal conclusion. Google has not performed a legal analysis and makes no representation as to the accuracy of the date listed.)
Filing date
Publication date
Application filed by Sekisui House Ltd, Nippon Steel and Sumikin Bussan Corp filed Critical Sekisui House Ltd
Priority to JP2016116588A priority Critical patent/JP6446405B2/ja
Publication of JP2017218871A publication Critical patent/JP2017218871A/ja
Application granted granted Critical
Publication of JP6446405B2 publication Critical patent/JP6446405B2/ja
Active legal-status Critical Current
Anticipated expiration legal-status Critical

Links

Images

Landscapes

  • Joining Of Building Structures In Genera (AREA)

Description

本発明は、鉄骨製建物の外壁より室外側に突出して取り付けられるバルコニーやエアコン室外機、床あるいは庇等の外装部材の荷重を支えて、これを突出支持するための金属製腕木及び該金属製腕木を用いてなる住宅に関する。
図5〜図7は、住宅用の鉄骨性建物に用いられる従来の金属製腕木40を示すもので、図6又は図7に示すように、鉄骨製建物1の建物躯体を構成する長尺なH形鋼製梁材2にその一端部が固着され他端部が建物外壁より室外側に突出して、バルコニーやエアコン室外機、床あるいは庇等の外装部材3をその荷重を支えて該外装部材3を突出支持するようになっている。そして、この金属製腕木40は、長尺なH形鋼製梁材2にその長手方向適当間隔に複数個設けられている。(特許文献1参照)
建物躯体を構成するH形鋼製梁材2の構造は当然のことながら周知であり、上下のフランジ部2a,2b及びウエブ部2cと、両フランジ部2a,2b間にあってウエブ部2cに直交する軸線C1上に固着されてウエブ部2cの主に座屈を防止してこれを補強するためにウエブ部2c長手方向適当間隔に設けられた補強板であるスチフナー7とからなる。
金属製腕木40は、板面が上下に延びて外装部材3の荷重を効率的に支えるようにした縦板状で室外側に延びる縦板状腕木本体部50と、該縦板状腕木本体部50の室内側一端部で前記H形鋼製梁材2に固着される根元部60とからなる。
そして該根元部60は、図5の分解図に示すように、縦板状腕木本体部50と同じ肉厚で板面が上下に延びる短冊状の板状根元部本体部61と、縦板状腕木本体部50と板状根元部本体部61との間に直交して設けられ、縦板状腕木本体部50及び板状根元部本体部61と同じ肉厚で板面が上下に延びる短冊状の板状根元部芯振り部62とからなる。
そして図6、特に図7に示すように、板状根元部本体部61を、これに直交する板状根元部芯振り部62の一方の板面に固着し、且つ板状根元部芯振り部62の他方の板面に、これに直交して縦板状腕木本体部50を固着されるが、この際、図示のように板状根元部芯振り部62の一方の板面に固着される板状根元部本体部61に対して、縦板状腕木本体部50は、図中左側に若干偏位して、すなわち板状根元部本体部61に対して図中若干左寄りに芯振りして板状根元部芯振り部62に固着されることになる。
このように、従来の金属製腕木40が、縦板状腕木本体部50と、根元部60の板状根元部本体部61と、板状根元部芯振り部62との3部材からなり、これらの3部材を互いに固着してなるのは、図7に示す理由による。
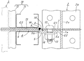
すなわち、図6及び図7に示すように、前記スチフナー7に設けた上下にボルト挿通孔10a,10bと、これに対応する金属製腕木40の前記根元部60の板状根元部本体部61に設けたボルト挿通孔11a,11bとにわたってボルト12を挿通させてナット13をボルト12に締め付けることによって、金属製腕木40の前記根元部60は、前記スチフナー7の軸線C1より側面7a側に偏位した軸線C2にあってスチフナー7の側面7aに沿って固着される板状根元部本体部61と、該板状根元部本体部61の軸線C2より前記スチフナー7の軸線C1側に芯振りして前記縦板状腕木本体部50を前記スチフナーの軸線C1の延長線C3上に配置するための板状根元部芯振り部62とからなり、このように金属製腕木40の縦板状腕木本体部50と、前記根元部60の板状根元部本体部61との間に、板状根元部芯振り部62を介在させたのは、金属製腕木40の縦板状腕木本体部50を前記スチフナーの軸線C1の延長線C3上に配置し、これによってねじり荷重の発生を阻止し、金属製腕木40のスチフナー7に対する設計上の無駄な荷重の負荷を阻止し、外装部材3を安定よく支持するようにするためである。
又、他の理由として、図7に示すように、H形鋼製梁材2の外部側にはプレハブ住宅等の規格化(モジュール化)した外壁構造の外壁部材70が取り付けられるようになっており、この外壁部材70は、リップ溝形鋼からなる外壁骨枠71とこれに一体的に取り付けられている外壁材72とからなり、これらの外壁部材70には一定間隔に室内外に貫通する目地73が存在し、この目地73は、H形鋼製梁材2に固着されるスチフナー7の軸線C1の延長線C3上に配置されるように規格化(モジュール化)されており、金属製腕木40の板状腕木本体部50が上記モジュール化されている目地73を貫通して外壁部材70から室外側に正確に延びるようにするためである。
この場合、金属製腕木40の板状腕木本体部50と、前記根元部60の板状根元部本体部61との間に、板状根元部芯振り部62を介在させないで、金属製腕木40の板状腕木本体部50を直接に前記根元部60の板状根元部本体部61に固着すれば、金属製腕木40の板状腕木本体部50は、スチフナー7の軸線C1よりスチフナー側面7a側に偏位した軸線C2上の板状根元部本体部61に固着されることになり、金属製腕木40の板状腕木本体部50が前記スチフナーの軸線C1の延長線C3上に配置することができないため、板状腕木本体部50にスチフナー7を支点とした一種のねじり荷重が発生し、板状腕木本体部50に設計外の無駄な荷重の負荷を受け、外装部材3を安定よく支持することができない虞れがあり、又、金属製腕木40の板状腕木本体部50を規格化された外壁部材70の目地73を貫通して室外側に延長することができないことになる。
以上の理由によって、従来の金属製腕木40が、縦板状腕木本体部50と、根元部60の板状根元部本体部61と、板状根元部芯振り部62との3部材からなり、これらの3部材を互いに固着してなる構造としたのであるが、この構造によれば、製作上極めて多くの組立て工数を必要とし、製作費が大幅に増大するという難点がある。
すなわち、先ず金属製腕木40の根元部60の構成部材として、図5に示すように、板状根元部本体部61と、板状根元部芯振り部62を予め別々に正確な短冊状に製作しなければならない。又、板状根元部本体部61が取り付けられるスチフナー7の側面との間に滑りが発生しないように、板状根元部本体部61の表面にショットブラスト等の摩擦面処理が施されなければならない。
又、図7に示すように、縦板状腕木本体部50と板状根元部本体部61とに夫々開先部50a,61aが切削形成されなければならない。更に、これら両開先部50a,61aに溶接金属w1,w3を埋め込み、且つこれに対向する側の隅角部にも溶接金属w1,w3を受け止めるための隅肉溶接w2,w4を施さなければならない。
以上のように、従来にあっては、板状根元部本体部と、板状根元部芯振り部との別々の正確な製作工程、板状根元部本体部の表面のショットブラスト等の摩擦面処理工程、縦板状腕木本体部と板状根元部本体部との2箇所の開先部切削形成工程、更に4箇所の溶接工程とを必要とするという極めて複雑な製作工程を経るため、製作費が大幅に増大するという難点が存在していた。
特開平9−228467号公報
そこで、本発明は、上述の問題に鑑み、金属製腕木をスチフナーの軸線延長線上に取り付けることができるとともに、製作工程を大幅に削減して、製造費を低減させることができる金属製腕木及びこれを用いた住宅を提案することを目的とするものである。
上記目的を達成するための手段を図面の参照符号を付して示せば、請求項1に係る発明は、鉄骨製建物1の建物躯体を構成する長尺なH形鋼製梁材2に一端部が固着され他端部が建物外壁より室外側に突出して、バルコニーやエアコン室外機、床あるいは庇等の外装部材3を突出支持するための金属製腕木4であって、該金属製腕木4は、前記H形鋼製梁材2に固着される根元部5と、外装部材3を支持するために根元部5から室外側に突出する腕木本体部6とからなり、H形鋼製梁材2は、上下のフランジ部2a,2b及びウエブ部2cと、両フランジ部2a,2b間にあってウエブ部2cに直交する軸線C1上に固着されるスチフナー7とからなり、金属製腕木4の前記根元部5は、スチフナー7の軸線C1よりスチフナー側面7a側に偏位した軸線C2上にあってスチフナー7の側面7aに沿って固着される根元部本体部5aと、該根元部本体部5aの軸線C2より前記スチフナー7の軸線C1側に芯振りして前記腕木本体部6を前記スチフナーの軸線C1の延長線C3上に配置するための根元部芯振り部5bとからなり、前記根元部本体部5aと前記根元部芯振り部5bとは鋳鋼によって一体形成されてなる金属製腕木に係る。
請求項2に係る発明は、金属製腕木4の腕木本体部6は外壁部材3に形成される目地73を貫通して室外側に延びるようになっている請求項1に記載の金属製腕木に係る。
請求項3に係る発明は、前記根元部5の前記根元部芯振り部5bと前記腕木本体部6とは溶接Wにより一体に接合されてなる請求項1又は2に記載の金属製腕木に係る。
請求項4に係る発明は、前記根元部5の前記根元部芯振り部5bには、鋳鋼による一体形成の際に、開先部8が鋳造形成され、該開先部8に溶接金属9を埋め込むことによって、前記根元部5の前記根元部芯振り部5bと前記腕木本体部6とは一体に接合されてなる請求項3に記載の金属製腕木に係る。
請求項5に係る発明は、前記スチフナー7と前記根元部5の前記根元部本体部5aには夫々上下一対のボルト挿通孔10a,10b,11a,11bが形成され、上下両一対のボルト挿通孔10a,10b,11a,11bにボルト12を挿通して、該ボルト12にナット13をねじ込むことによって、前記根元部本体部5aは前記スチフナー7の軸線C1よりスチフナー側面7a側に偏位した軸線C2上にあって前記スチフナー7の側面7aに沿って固着されてなる請求項1〜4の何れかに記載の金属製腕木に係る。
請求項6に係る発明は、前記根元部5の前記根元部本体部5aと前記根元部芯振り部5bとのコーナー部にはスチフナー7との衝突を避けるための肉逃し部14が形成されてなる請求項1〜5の何れかに記載の金属製腕木に係る。
請求項7に係る発明は、前記根元部5の前記根元部本体部5aには前記上下一対のボルト挿通孔10a,10bを避けて肉落とし部15が形成されてなる請求項1〜6の何れかに記載の金属製腕木に係る。
請求項8に係る発明は、請求項1〜7の何れかに記載の金属製腕木4を用いてなる住宅に係る。
以下に、本発明の効果について、図面の参照符号を付して説明する。請求項1の発明に係る金属製腕木によれば、鉄骨製建物1の建物躯体を構成する長尺なH形鋼製梁材2に一端部が固着され他端部が建物外壁より室外側に突出して、バルコニーやエアコン室外機、床あるいは庇等の外装部材3の重量を支え、これを突出支持するようになっているが、具体的には前記H形鋼製梁材2は、上下のフランジ部2a,2b及びウエブ部2cと、両フランジ部2a,2b間にあってウエブ部2cに直交する軸線C1上に一体に固着されるスチフナー7と、からなり、このスチフナー7は、ウエブ部2cの主に座屈の発生を防止する補強板であるが、H形鋼製梁材2の長手方向に適当間隔に溶接によって取り付けられてなるものである。
金属製腕木4は、その根元部5の根元部本体部5aがウエブ部2cに直交する軸線C1上に固着されるスチフナー7に対して、上記軸線C1よりスチフナー側面7a側に偏位した軸線C2上にあって前記スチフナー7の側面7aに沿って固着されることになるから、外装部材3の荷重を支え、外装部材3を安定よく支持するためには金属製腕木4の腕木本体部6の軸線C3をスチフナー7の軸線C1の延長上にもって来る必要がある。このために、スチフナー7の側面7a側の軸線C2より前記スチフナー7の軸線C1側に芯振りして前記腕木本体部6を前記スチフナーの軸線C1の延長線C3上に配置するための根元部芯振り部5bが一体形成され、該根元部芯振り部5bに金属製腕木4の腕木本体部6を一体に接合することによって該腕木本体部6をスチフナー7の軸線C1の延長線C3上に配置することができ、該腕木本体部6がスチフナー7を支点としてねじり荷重が発生することなく、該腕木本体部6をスチフナー7に安定して支持させることができる。
そして、この際に、金属製腕木4の根元部5である前記根元部本体部5aと前記根元部芯振り部5bとは鋳鋼によって一体形成されてなるため、従来のように板状根元部本体部と、板状根元部芯振り部との別々の正確な製作工程を必要としたり、板状根元部本体部に開先部切削形成工程を必要としたり、この開先部に溶接を施す工程を必要としたり、板状根元部本体部と板状根元部芯振り部との隅角部に隅肉溶接を施す工程を必要とした、これらの工程を経ることが全くなくなり、更には前記根元部5が鋳鋼により鋳造形成されるが、その後熱処理されて硬度を上げるが、その際に鋳鋼の表面にスケール等の不純物が皮膜されるため、この皮膜を除去するための摩擦面処理を行うことになるが、この摩擦面処理の際に粗度が50μ〜100μの範囲に仕上げることによって、鋳鋼性の根元部5には、その根元部本体部5aを含むその表面全体を0.45の摩擦係数の摩擦面に仕上げることができる。そのため、従来の根元部のように、板状根元部本体部の表面にショットブラスト等の摩擦面処理工程を経る必要も全くない。これがために金属製腕木4を製作するにあたって、大幅に製作費を軽減することができる。
又、H形鋼製梁材2の外部側にはプレハブ住宅等の規格化(モジュール化)した外壁構造の外壁部材70が取り付けられるようになっており、この外壁部材70には一定間隔に室内外に貫通する目地73が存在し、この目地73は、H形鋼製梁材2に固着されるスチフナー7の軸線C1の延長線C3上に配置されるようにモジュール化されているが、請求項2に係る発明の金属製腕木4によれば、上述のように金属製腕木4の腕木本体部6が前記スチフナー7の軸線C1の延長線C3上に配置されるようになっているため、該腕木本体部6は上記モジュール化されている目地73を貫通して外壁部材70から室外側に正確に延びて配設することができる。
請求項3の発明に係る金属製腕木4によれば、更に前記根元部5の前記根元部芯振り部5bと前記腕木本体部6とは一箇所の溶接Wにより一体に接合されてなるため、この面からも製作費を軽減することができる。
請求項4の発明に係る金属製腕木4によれば、前記根元部5が鋳鋼により一体形成されることによって、前記根元部5の前記根元部芯振り部5bには、鋳鋼による一体形成の際に、開先部8が同時に鋳造形成されるため、従来のように根元部芯振り部に溶接金属を埋め込むための開先部を切削形成する必要がなく、この面からも製作工程を削減して製作費の軽減を計ることができる。
なお且つ、該開先部8に溶接金属9を埋め込むことによって前記根元部5の前記根元部芯振り部5bと前記腕木本体部6とは一体に接合されてなるため、一箇所の開先部8への溶接金属9を埋め込み工程を経るだけの最小限の接合工程で上記両者を強力に一体接合することができると共に、この面からも製作費の軽減を計ることができる。
請求項5の発明に係る金属製腕木4によれば、前記スチフナー7と前記根元部5の前記根元部本体部5aには夫々上下一対のボルト挿通孔10a,10b,11a,11bが形成され、上下両一対のボルト挿通孔10a,10b,11a,11bにボルト12を挿通して、該ボルト12にナット13をねじ込むことによって前記スチフナー7の側面7aに沿って軸線C2上に前記根元部5の前記根元部本体部5aが固着されてなるため、スチフナー7への金属製腕木4の取付構造が簡単であり、その取付作業も容易である。
請求項6の発明に係る金属製腕木4によれば、前記根元部5の前記根元部本体部5aと前記根元部芯振り部5bとのコーナー部にはスチフナー7との衝突を避けるための肉逃し部14が形成されてなるため、金属製腕木4の前記根元部5をスチフナー7に正確に取り付けることができるとともに、金属製腕木4のスチフナー7への取付作業を容易にすることができる。
請求項7の発明に係る金属製腕木4によれば、前記根元部5の前記根元部本体部5aには前記上下一対のボルト挿通孔10a,10bを避けて肉落とし部15が形成されてなるため、金属製腕木4の根元部5の強度を維持しながら可能な限り鋳鋼製根元部5の使用量を減少して、金属製腕木4の製作費を軽減することができる。
請求項8の発明に係る住宅によれば、該住宅は、請求項1〜7の何れかに記載の構成の金属製腕木4を用いて製作されるため、住宅に装備される外装部材3は、これらの構成の金属製腕木4によって強固に且つ正確に支持され、長期にわたって安定して外装部材3を支持させることができる。
本発明の一実施形態に係る金属製腕木を介して鉄骨製建物の室外側にバルコニー等の外装部材を突出支持する状態を分解して示す斜視図である。 同実施形態に係る金属製腕木を鉄骨製建物のH形鋼製梁材に取り付けた状態を示す横断平面図である。 同実施形態に係る金属製腕木の要部を拡大して示す横断平面図である。 同実施形態に係る金属製腕木の根元部を拡大して示す斜視図である。 従来技術の金属製腕木の分解斜視図である。 従来技術の金属製腕木を介して鉄骨製建物の室外側にバルコニー等の外装部材を突出支持する状態を分解して示す図1と同様な斜視図である。 従来技術の金属製腕木を鉄骨製建物のH形鋼製梁材に取り付けた状態を示す図2と同様な横断平面図である。
以下、本発明に係る金属製腕木4の一実施形態について、図面を参照して具体的に説明する。なお、以下の説明において、上下左右の方向を示す場合は、図示正面から見た場合の上下左右をいうものとし、従来の構成と同一の構成には、同一の符号を付し、説明は省略するものとする。
図1及び図2に示すように、金属製腕木4は、住宅用鉄骨製建物1の建物躯体を構成する長尺なH形鋼製梁材2に一端部が固着され他端部が建物外壁より室外側に突出して、バルコニーやエアコン室外機、床あるいは庇等の外装部材3の重量を支え、これを突出支持するためのもので、従来技術と同じように、長尺なH形鋼製梁材2にその長手方向適当間隔に複数個設けられており、これらの金属製腕木4は外装部材3を形成する図示しない根太や取付桟に腕木本体部6に設けた取付孔6aにボルト等によって固着されるようになっている。(特許文献1参照)
建物躯体を構成するH形鋼製梁材2の構造は当然のことながら周知であり、上下のフランジ部2a,2b及びウエブ部2cと、両フランジ部2a,2b間にあってウエブ部2cに直交する軸線C1上に固着されウエブ部2cの座屈を防止してこれを補強するためにウエブ部2c長手方向適当間隔に設けられた補強板であるスチフナー7とからなる。
金属製腕木4は、前記H形鋼製梁材2に固着される根元部5と、外装部材3を支持するために根元部5から室外側に突出する腕木本体部6とからなり、金属製腕木4の前記根元部5は、図2に示すように、前記スチフナー7の軸線C1より側面7a側に偏位した軸線C2上にあり該側面7aに沿って固着される根元部本体部5aと、該根元部本体部5aの軸線C2側より前記スチフナー7の軸線C1側に芯振りして前記腕木本体部6を前記スチフナーの軸線C1の延長線C3上に配置するための根元部芯振り部5bとからなる。
又、H形鋼製梁材2の外部側にはプレハブ住宅等の規格化(モジュール化)した外壁構造の外壁部材70が取り付けられるようになっており、この外壁部材70は、リップ溝形鋼からなる外壁骨枠71とこれに一体的に取り付けられている外壁材72とからなり、これらの外壁部材70には一定間隔に室内外に貫通する目地73が存在し、この目地73は、H形鋼製梁材2に固着されるスチフナー7の軸線C1の延長線C3上に配置されるように規格化(モジュール化)されているが、本発明に係る金属製腕木4の腕木本体部6は、上述のように前記スチフナーの軸線C1の延長線C3上に配置されるようになっているため、金属製腕木40の板状腕木本体部50は上記モジュール化されてなる目地73を貫通して外壁部材70から室外側に正確に延びて配設することができる。
スチフナー7と根元部本体部5aとには同軸上にボルト挿通孔10a,10b,11a,11bが形成され、これらボルト挿通孔10a,10b,11a,11bにボルト12を挿通させ、該ボルト12にワッシャー16を介してナット13をねじ込むことによって、根元部本体部5aがスチフナー7の側面7aに沿って取り付けられるようになっている。なお、ボルト12は高力ボルトであって、これにナット13をトルシア形高力ボルト専用電動レンチでピンテールが破断するまで締め付けることが好ましい。
そして本発明の最大の特徴とする構成であるが、金属製腕木4の根元部5を鋳鋼によって、すなわち前記根元部本体部5aと前記根元部芯振り部5bとを鋳鋼によって一体に鋳造形成したことを特徴とする。これがために、従来のように根元部本体部と、根元部芯振り部とを別々に正確な製作工程を必要としたり、根元部本体部に開先切削形成工程を必要としたり、この開先部に溶接を施す工程を必要としたり、根元部本体部と根元部芯振り部との隅角部に隅肉溶接を施す工程を必要とした、これらの工程を経ることが全くなくなり、更には前記根元部5が鋳鋼により形成されることによって、鋳鋼製根元部5の全体が熱処理後の摩擦面処理によって所定の摩擦係数の摩擦面に形成することができ、従来のように、板状根元部本体部の表面のショットブラスト等の摩擦面処理工程を経る必要も全くない。これがために金属製腕木4を製作するにあたって、大幅に製作費を軽減することができる。
なお大きな重量物である室外建造物3を支える金属製腕木4は、その根元部5が過大な重量に耐える材料で形成されなければならない。この場合、鍛造で形成することは可能であるが、製作費が非常に高くつき実用的でない、又鋳鉄では強度不足であり、これらの理由によって、金属製腕木4の根元部5が強度の高い指定建築材料でもある鋳鋼によって鋳造形成されることになったが、この鋳鋼で金属製腕木4の根元部5を一体形成する場合に、前述のように該根元部5に鋼材等の金属製の腕木本体部6が溶接によって接合されなければならない。このため、鋳鋼としては、溶接性の良好な材料である溶接構造用鋳鋼品(SCW材)が採用される。そして、特にそのうち、JIS G 5102で 規定されているSCW480が、強度上、又、良好な溶接性から採用されることが好ましい。
しかも、鋳鋼によって前記根元部5が一体形成されることによって、特に図4に拡大して示すように、前記根元部5の前記根元部芯振り部5bの先端部には、略傾斜状平面となる開先部8が予め鋳造形成されており、従来のように根元部芯振り部に開先部を切削形成する工程を必要としないから、この面からも製作費を軽減することができる。
又、図2又は図3に示すように、前記根元部5の前記根元部芯振り部5bと前記腕木本体部6とは溶接Wにより一体に接合されてなるが、この際に、前記根元部5の前記根元部芯振り部5bに鋳造形成されてなる一箇所の開先部8に、突き合わせ溶接によって溶接金属9が埋め込まれるため、最小限の溶接工程で上記両者を強力に一体接合することができる。この際、根元部5の全体が,前述のようにその製造工程によって熱処理後の所定の摩擦面処理されているため、溶接金属9は、該摩擦面に受け止められて開先部の対応する隅角部に隅肉溶接を行う必要がないことが実験の結果判明している。
なお、この溶接金属9は、例えば、JASS(建築工事標準仕様書)の6(鉄骨工事)に準拠した溶接方法、すなわち、開先部8に例えば三層の突き合わせ溶接によって埋め込んだ金属である。この溶接金属9を前記開先部8に埋め込むことによって前記根元部5の前記根元部芯振り部5bと前記腕木本体部6とは一体に強固に接合されてなる。
又、図2、図3、特に図4に示すように、前記根元部5の前記根元部本体部5aと前記根元部芯振り部5bとのコーナー部にはスチフナー7との衝突を避けるための肉逃し部14が前記開先部8と同じように鋳造形成されてなるため、金属製腕木4の根元部5をスチフナー7の側面7aにボルト12及びナット13によって固着する際に、スチフナー7の端縁が根元部芯振り部5bと根元部本体部5aとのコーナー部に衝突することがなく、前記根元部5をスチフナー7に正確に且つ容易に取り付けることができる。
更に又、図4に示すように、前記根元部5の前記根元部本体部5aには前記上下一対のボルト挿通孔10a,10bを避けて、強度を落とすことなく肉落とし部15が同じく鋳造形成されるため、根元部5の高価な鋳鋼の使用量を可能な限り減少して金属製腕木4の製作費を軽減することができる。
又、本発明に係る住宅は、上記構成の金属製腕木4を用いて外装部材3が装備されるため、該外装部材3を長期にわたって安定して住宅の支持させることができる。
1 鉄骨製建物
2 H形鋼製梁材
2a フランジ部
2b フランジ部
2c ウエブ部
3 外装部材
4 金属製腕木
5 根元部
5a 根元部本体部
5b 根元部芯振り部
6 腕木本体部
7 スチフナー
C1 スチフナー7の軸線
7a スチフナー7の側面
C2 根元部本体部5aの軸線
C3 スチフナー7に軸線C1延長線上に取り付けられる腕木本体部6の延長線 8 根元部芯振り部5bに鋳造形成される開先部
9 開先部8に埋め込まれる溶接金属
10a ボルト挿通孔
10b ボルト挿通孔
11a ボルト挿通孔
11b ボルト挿通孔
12 ボルト
13 ナット
14 肉逃し部
15 肉落とし部


Claims (8)

  1. 鉄骨製建物の建物躯体を構成する長尺なH形鋼製梁材に一端部が固着され他端部が建物外壁より室外側に突出して、バルコニーやエアコン室外機、床あるいは庇等の外装部材を突出支持するための金属製腕木であって、該金属製腕木は、前記H形鋼製梁材に固着される根元部と、外装部材を支持するために根元部から室外側に突出する腕木本体部とからなり、H形鋼製梁材は、上下のフランジ部及びウエブ部と、両フランジ部間にあってウエブ部に直交する軸線上に固着されるスチフナーとからなり、金属製腕木の前記根元部は、前記スチフナーの軸線より側面側に偏位した軸線上にあってスチフナーの側面に沿って固着される根元部本体部と、該根元部本体部の軸線より前記スチフナーの軸線側に芯振りして前記腕木本体部を前記スチフナーの軸線の延長線上に配置するための根元部芯振り部とからなり、前記根元部本体部と前記根元部芯振り部とは鋳鋼によって一体形成されてなる金属製腕木。
  2. 金属製腕木の腕木本体部は外壁部材に形成される目地を貫通して室外側に延びるようになっている請求項1に記載の金属製腕木。
  3. 前記根元部の前記根元部芯振り部と前記腕木本体部とは溶接により一体に接合されてなる請求項1又は2に記載の金属製腕木。
  4. 前記根元部の前記根元部芯振り部には、鋳鋼による一体形成の際に、開先部が鋳造形成され、該開先部に溶接金属を埋め込むことによって、前記根元部の前記根元部芯振り部と前記腕木本体部とは一体に接合されてなる請求項3に記載の金属製腕木。
  5. 前記スチフナーと前記根元部の前記根元部本体部には夫々上下一対のボルト挿通孔が形成され、上下両一対のボルト挿通孔にボルトを挿通して、該ボルトにナットをねじ込むことによって、前記根元部本体部はスチフナーの軸線より側面側に偏位した軸線上にあってスチフナーの側面に沿って固着されてなる請求項1〜4の何れかに記載の金属製腕木。
  6. 前記根元部の前記根元部本体部と前記根元部芯振り部とのコーナー部にはスチフナーとの衝突を避けるための肉逃し部が形成されてなる請求項1〜5の何れかに記載の金属製腕木。
  7. 前記根元部5の前記根元部本体部5aには前記上下一対のボルト挿通孔を避けて肉落とし部が形成されてなる請求項1〜6の何れかに記載の金属製腕木。
  8. 請求項1〜7の何れか記載の金属製腕木を用いてなる住宅。
JP2016116588A 2016-06-10 2016-06-10 金属製腕木 Active JP6446405B2 (ja)

Priority Applications (1)

Application Number Priority Date Filing Date Title
JP2016116588A JP6446405B2 (ja) 2016-06-10 2016-06-10 金属製腕木

Applications Claiming Priority (1)

Application Number Priority Date Filing Date Title
JP2016116588A JP6446405B2 (ja) 2016-06-10 2016-06-10 金属製腕木

Publications (2)

Publication Number Publication Date
JP2017218871A JP2017218871A (ja) 2017-12-14
JP6446405B2 true JP6446405B2 (ja) 2018-12-26

Family

ID=60655953

Family Applications (1)

Application Number Title Priority Date Filing Date
JP2016116588A Active JP6446405B2 (ja) 2016-06-10 2016-06-10 金属製腕木

Country Status (1)

Country Link
JP (1) JP6446405B2 (ja)

Family Cites Families (12)

* Cited by examiner, † Cited by third party
Publication number Priority date Publication date Assignee Title
JPS5480248A (en) * 1977-12-09 1979-06-26 Kubota Ltd Welding method for heat-resisting cast steel
JPH0354485Y2 (ja) * 1986-10-30 1991-12-02
JPH0529281Y2 (ja) * 1986-12-20 1993-07-27
JP2517183B2 (ja) * 1991-08-29 1996-07-24 ミサワホーム株式会社 建物の外周部構造
JP2690846B2 (ja) * 1993-05-27 1997-12-17 川崎重工業株式会社 船体ブラケット構造
JPH09228467A (ja) * 1996-02-23 1997-09-02 Seiko Sangyo Kk バルコニーなどの組立構造
JPH11229546A (ja) * 1998-02-13 1999-08-24 Natl House Ind Co Ltd 庇支持構造
JP2005207703A (ja) * 2004-01-26 2005-08-04 Sekisui House Ltd 免震建物におけるエアコン室外機の取付構造
JP2005213871A (ja) * 2004-01-29 2005-08-11 Sekisui House Ltd 建物の空調用室外機置場
US8959849B1 (en) * 2007-11-21 2015-02-24 The Steel Network, Inc. Light steel frame structure for deck
JP2010112104A (ja) * 2008-11-07 2010-05-20 Sekisui House Ltd
US20140069049A1 (en) * 2012-09-10 2014-03-13 John Oltrogge Framing bracket

Also Published As

Publication number Publication date
JP2017218871A (ja) 2017-12-14

Similar Documents

Publication Publication Date Title
CA2576802C (en) Structural framing system and components thereof
JP4112564B2 (ja) 柱と梁の結合構造
JP2018131777A (ja) 軽量鉄骨の建物構造
JP6446405B2 (ja) 金属製腕木
JP5069335B2 (ja) 鉄骨構造物柱梁接合部の梁と内ダイアフラム直結工法
JP2010281192A (ja) 建築用接合金具、固定金具、及び、固定ピン
JP4143482B2 (ja) 耐震補強構造
JP5014824B2 (ja) 壁パネルの取付構造及び取付方法
JP2009174303A (ja) 木材連結補強用継手金物
JP4667114B2 (ja) 梁と柱との接合方法
JP4260736B2 (ja) スチールハウスの耐力壁構造
US20070234666A1 (en) Integral connectors in tubular beams for building structures
JP6902738B2 (ja) 接合金物及びこれを用いた接合構造
JP2008202213A (ja) 足場つなぎの取付構造
JP4972363B2 (ja) 柱梁接合構造及び柱梁接合方法
JP4607978B2 (ja) 木造建築物における筋交の補強構造
AU2009101214A4 (en) Connection Bracket and Method
JP2009002012A (ja) 連結金具および構造材と柱の連結構造
JPH11324115A (ja) 建築用継手金具
JP2005264710A5 (ja)
JP7084028B2 (ja) 制震構造体および制震構造体の施工方法
JP3355389B2 (ja) 補強用金具及び木造建築物
JPH1150535A (ja) 建築用補強具
JP2004183467A (ja) 木材のコーナー固定金具
JP2025112226A (ja) ブレース固定金具及びブレース取付構造

Legal Events

Date Code Title Description
A621 Written request for application examination

Free format text: JAPANESE INTERMEDIATE CODE: A621

Effective date: 20180117

TRDD Decision of grant or rejection written
A977 Report on retrieval

Free format text: JAPANESE INTERMEDIATE CODE: A971007

Effective date: 20181024

A01 Written decision to grant a patent or to grant a registration (utility model)

Free format text: JAPANESE INTERMEDIATE CODE: A01

Effective date: 20181109

A61 First payment of annual fees (during grant procedure)

Free format text: JAPANESE INTERMEDIATE CODE: A61

Effective date: 20181203

R150 Certificate of patent or registration of utility model

Ref document number: 6446405

Country of ref document: JP

Free format text: JAPANESE INTERMEDIATE CODE: R150

S533 Written request for registration of change of name

Free format text: JAPANESE INTERMEDIATE CODE: R313533

R350 Written notification of registration of transfer

Free format text: JAPANESE INTERMEDIATE CODE: R350

R250 Receipt of annual fees

Free format text: JAPANESE INTERMEDIATE CODE: R250

R250 Receipt of annual fees

Free format text: JAPANESE INTERMEDIATE CODE: R250

R250 Receipt of annual fees

Free format text: JAPANESE INTERMEDIATE CODE: R250

R250 Receipt of annual fees

Free format text: JAPANESE INTERMEDIATE CODE: R250