JP6208564B2 - サーマルヘッドおよびサーマルプリンタ - Google Patents

サーマルヘッドおよびサーマルプリンタ Download PDF

Info

Publication number
JP6208564B2
JP6208564B2 JP2013246250A JP2013246250A JP6208564B2 JP 6208564 B2 JP6208564 B2 JP 6208564B2 JP 2013246250 A JP2013246250 A JP 2013246250A JP 2013246250 A JP2013246250 A JP 2013246250A JP 6208564 B2 JP6208564 B2 JP 6208564B2
Authority
JP
Japan
Prior art keywords
connector
substrate
heat generating
housing
electrode
Prior art date
Legal status (The legal status is an assumption and is not a legal conclusion. Google has not performed a legal analysis and makes no representation as to the accuracy of the status listed.)
Active
Application number
JP2013246250A
Other languages
English (en)
Other versions
JP2015104807A (ja
Inventor
優奈 大久保
優奈 大久保
保光 山本
保光 山本
雅文 平山
雅文 平山
久利 高田
久利 高田
Current Assignee (The listed assignees may be inaccurate. Google has not performed a legal analysis and makes no representation or warranty as to the accuracy of the list.)
Kyocera Corp
Original Assignee
Kyocera Corp
Priority date (The priority date is an assumption and is not a legal conclusion. Google has not performed a legal analysis and makes no representation as to the accuracy of the date listed.)
Filing date
Publication date
Application filed by Kyocera Corp filed Critical Kyocera Corp
Priority to JP2013246250A priority Critical patent/JP6208564B2/ja
Publication of JP2015104807A publication Critical patent/JP2015104807A/ja
Application granted granted Critical
Publication of JP6208564B2 publication Critical patent/JP6208564B2/ja
Active legal-status Critical Current
Anticipated expiration legal-status Critical

Links

Images

Landscapes

  • Electronic Switches (AREA)

Description

本発明は、サーマルヘッドおよびサーマルプリンタに関する。
従来、ファクシミリあるいはビデオプリンタ等の印画デバイスとして、種々のサーマルヘッドが提案されている。例えば、基板と、基板上に設けられた複数の発熱部と、基板上に設けられ、発熱部に電気的に接続された電極と、電極に電気的に接続された複数のコネクタピン、および複数のコネクタピンを収容するハウジングを有したコネクタと、コネクタピンと電極との接続部を被覆する被覆部材とを備えるものが知られている。(例えば、引用文献1参照)。
特開2004−148577号公報
しかしながら、上述したサーマルヘッドでは、コネクタピンが被覆部材から一部露出しているため、コネクタピンが完全に封止されておらず、コネクタピンが劣化するおそれがある。そのため、コネクタピンを完全に封止するために、被覆部材をコネクタピン上に塗布する必要がある。
ところが、上述したサーマルヘッドでは、隣り合うコネクタピン同士の間に隙間が生じており、隙間から被覆部材が下方に流出してしまいコネクタピンを封止できない問題がある。
本発明の一実施形態に係るサーマルヘッドは、基板と、該基板上に設けられた複数の発熱部と、前記基板上に設けられ、前記発熱部に電気的に接続された電極と、該電極に電気的に接続された複数のコネクタピン、および該コネクタピンを収容するハウジングを有したコネクタと、前記コネクタピンと前記電極との接続部を被覆する被覆部材と、を備える。また、前記ハウジングは、平面視して、隣り合う前記コネクタピン同士の間に、前記接続部へ向けて突出した突出部を有する。
また、本発明の一実施形態に係るサーマルプリンタは、上記に記載のサーマルヘッドと、発熱部上に記録媒体を搬送する搬送機構と、発熱部上に記録媒体を押圧するプラテンローラとを備えている。
本発明によれば、コネクタピン同士の間の隙間から流出する被覆部材の量を低減することができ、コネクタピンを封止することができる。
第1の実施形態に係るサーマルヘッドを示す平面図である。 図1に示すI−I線断面図である。 第1の実施形態に係るサーマルヘッドを構成するコネクタの斜視図である。 (a)は第1の実施形態に係るサーマルヘッドを構成するコネクタの平面図、(b)は側面図である。 (a)は第1の実施形態に係るサーマルヘッドの拡大平面図、(b)は(a)に示すII−II線断面図である。 第1の実施形態に係るサーマルプリンタを示す概略図である。 (a)は第2の実施形態に係るサーマルヘッドの拡大平面図、(b)は(a)の変形例である。 (a)は第3の実施形態に係るサーマルヘッドの拡大平面図、(b)は(a)に示すIII−III線断面図である。 (a)は第4の実施形態に係るサーマルヘッドの拡大平面図、(b)は(a)の変形例である。 (a)は第5の実施形態に係るサーマルヘッドの拡大平面図である。
<第1の実施形態>
以下、サーマルヘッドX1について図1〜5を参照して説明する。図1においては、保護層25、被覆層27、および被覆部材12を省略して一点鎖線にて示している。なお、図5(a)においては、被覆部材12の図示を省略しており、図7(a),7(b),8(a),9(a),9(b),10においても同様である。
サーマルヘッドX1は、放熱体1と、放熱体1上に配置されたヘッド基体3と、ヘッド基体3に接続されたコネクタ31とを備えている。
放熱体1は、直方体形状をなしており、基板7が載置される台部1aを有している。放熱体1の上方には基板7とコネクタ31のハウジング10が配置されている。
放熱体1は、例えば、銅、鉄またはアルミニウム等の金属材料で形成されており、ヘッド基体3の発熱部9で発生した熱のうち、印画に寄与しない熱を放熱する機能を有している。また、台部1aの上面には、両面テープあるいは接着剤等(不図示)によってヘッド基体3が接着されている。
ヘッド基体3は、平面視して、長方形状に形成されており、ヘッド基体3の基板7上にサーマルヘッドX1を構成する各部材が設けられている。ヘッド基体3は、外部より供給された電気信号に従い、記録媒体(不図示)に印字を行う機能を有する。
コネクタ31は、図2に示すように、複数のコネクタピン8と、複数のコネクタピン8を収納するハウジング10とを有している。複数のコネクタピン8は、一方がハウジング10の外部に露出しており、他方がハウジング10の内部に収容されている。複数のコネクタピン8は、ヘッド基体3の各種電極と、外部に設けられた例えば電源との電気的な導通を確保する機能を有しており、それぞれが電気的に独立している。
以下、ヘッド基体3を構成する各部材について説明する。
基板7は、放熱体1の台部1a上に配置されており、平面視して、矩形状をなしている。そのため、基板7は、一方の長辺7aと、他方の長辺7bと、一方の短辺7cと、他方の短辺7dとを有している。また、他方の短辺7b側に側面7eを有している。基板7は、例えば、アルミナセラミックス等の電気絶縁性材料あるいは単結晶シリコン等の半導体材料等によって形成されている。
基板7の上面には、蓄熱層13が形成されている。蓄熱層13は、基板7の上面の左半分にわたり形成された下地部13aと、複数の発熱部9の配列方向に沿って帯状に延び、
断面が略半楕円形状をなしている隆起部13bとを有している。下地部13aは、発熱部9の近傍に設けられており、後述する保護層25の下方に配置されている。隆起部13bは、印画する記録媒体を、発熱部9上に形成された保護層25に良好に押し当てるように機能する。
蓄熱層13は、熱伝導性の低いガラスで形成されており、発熱部9で発生する熱の一部を一時的に蓄積することで、発熱部9の温度を上昇させるのに要する時間を短くすることができ、サーマルヘッドX1の熱応答特性を高めるように機能する。蓄熱層13は、例えば、ガラス粉末に適当な有機溶剤を混合して得た所定のガラスペーストを従来周知のスクリーン印刷等によって基板7の上面に塗布し、これを焼成することで形成される。
電気抵抗層15は、蓄熱層13の上面に設けられており、電気抵抗層15上には、接続端子2、グランド電極4、共通電極17、個別電極19、IC−コネクタ接続電極21、およびIC−IC接続電極26が設けられている。電気抵抗層15は、接続端子2、グランド電極4、共通電極17、個別電極19、IC−コネクタ接続電極21、およびIC−IC接続電極26と同形状にパターニングされており、共通電極17と個別電極19との間に電気抵抗層15が露出した露出領域を有する。電気抵抗層15の露出領域は、図1に示すように、蓄熱層13の隆起部13b上に列状に配置されており、各露出領域が発熱部9を構成している。
複数の発熱部9は、説明の便宜上、図1では簡略化して記載しているが、例えば、100dpi〜2400dpi(dot per inch)等の密度で配置される。電気抵抗層15は、例えば、TaN系、TaSiO系、TaSiNO系、TiSiO系、TiSiCO系またはNbSiO系等の電気抵抗の比較的高い材料によって形成されている。そのため、発熱部9に電圧が印加されたときに、ジュール発熱によって発熱部9が発熱する。
図1,2に示すように、電気抵抗層15の上面には、接続端子2、グランド電極4、共通電極17、複数の個別電極19、IC−コネクタ接続電極21、およびIC−IC接続電極26が設けられている。これらの接続端子2、グランド電極4、共通電極17、個別電極19、IC−コネクタ接続電極21、およびIC−IC接続電極26は、導電性を有する材料で形成されており、例えば、アルミニウム、金、銀および銅のうちのいずれか一種の金属またはこれらの合金によって形成されている。
共通電極17は、主配線部17a,17dと、副配線部17bと、リード部17cとを備えている。主配線部17aは、基板7の一方の長辺に沿って延びている。副配線部17bは、基板7の一方および他方の短辺のそれぞれに沿って延びている。リード部17cは、主配線部17aから各発熱部9に向かって個別に延びている。主配線部17dは、基板7の他方の長辺に沿って延びている。
共通電極17は、複数の発熱部9と、コネクタ31とを電気的に接続している。なお、主配線部17aの電気抵抗値を低下させるために、主配線部17aを他の共通電極17の部位より厚い厚電極部(不図示)としてもよい。
複数の個別電極19は、発熱部9と駆動IC11との間を電気的に接続している。また、個別電極19は、複数の発熱部9を複数の群に分けており、各群の発熱部9と各群に対応して設けられた駆動IC11とを電気的に接続している。
複数のIC−コネクタ接続電極21は、駆動IC11とコネクタ31との間を電気的に接続している。各駆動IC11に接続された複数のIC−コネクタ接続電極21は、異なる機能を有する複数の配線で構成されている。
グランド電極4は、個別電極19と、IC−コネクタ接続電極21と、共通電極17の主配線部17dとにより取り囲むように配置されており、広い面積を有している。グランド電極4は、0〜1Vのグランド電位に保持されている。
接続端子2は、共通電極17、個別電極19、IC−コネクタ接続電極21およびグランド電極4をコネクタ31に接続するために、基板7の他方の長辺7b側に設けられている。接続端子2はコネクタピン8に対応して設けられており、コネクタ31に接続する際は、それぞれ電気的に独立するようにコネクタピン8と接続端子2とが接続されている。
複数のIC−IC接続電極26は、隣り合う駆動IC11を電気的に接続している。複数のIC−IC接続電極26は、それぞれIC−コネクタ接続電極21に対応するように設けられており、各種信号を隣り合う駆動IC11に伝えている。
上記の電気抵抗層15、接続端子2、共通電極17、個別電極19、グランド電極4、IC−コネクタ接続電極21、およびIC−IC接続電極26は、例えば、各々を構成する材料層を蓄熱層13上に、例えばスパッタリング法等の従来周知の薄膜成形技術によって順次積層した後、積層体を従来周知のフォトエッチング等を用いて所定のパターンに加工することにより形成される。なお、接続端子2、共通電極17、個別電極19、グランド電極4、IC−コネクタ接続電極21、およびIC−IC接続電極26は、同じ工程によって同時に形成することができる。
駆動IC11は、図1に示すように、複数の発熱部9の各群に対応して配置されているとともに、個別電極19の他端部とIC−コネクタ接続電極21の一端部とに接続されている。駆動IC11は、各発熱部9の通電状態を制御する機能を有している。駆動IC11としては、内部に複数のスイッチング素子を有する切替部材を用いればよい。
駆動IC11は、個別電極19、IC−IC接続電極26およびIC−コネクタ接続電極21に接続された状態で、駆動IC11の保護、および駆動IC11とこれらの配線との接続部の保護のため、エポキシ樹脂、あるいはシリコーン樹脂等の樹脂からなるハードコート29によって封止されている。
図1,2に示すように、基板7の上面に形成された蓄熱層13上には、発熱部9、共通電極17の一部および個別電極19の一部を被覆する保護層25が形成されている。
保護層25は、発熱部9、共通電極17および個別電極19の被覆した領域を、大気中に含まれている水分等の付着による腐食、あるいは印画する記録媒体との接触による摩耗から保護するためのものである。保護層25は、SiN、SiO、SiON、SiC、あるいはダイヤモンドライクカーボン等を用いて形成することができ、保護層25を単層で構成してもよいし、これらの層を積層して構成してもよい。このような保護層25はスパッタリング法等の薄膜形成技術あるいはスクリーン印刷等の厚膜形成技術を用いて作製することができる。
また、図1,2に示すように、基板7上には、共通電極17、個別電極19およびIC−コネクタ接続電極21を部分的に被覆する被覆部材27が設けられている。なお、図1では、説明の便宜上、被覆部材27の形成領域を一点鎖線で示している。被覆部材27は、共通電極17、個別電極19、IC−IC接続電極26およびIC−コネクタ接続電極21の被覆した領域を、大気との接触による酸化、あるいは大気中に含まれている水分等の付着による腐食から保護するためのものである。
なお、被覆部材27は、共通電極17および個別電極19の保護をより確実にするため、図2に示すように保護層25の端部に重なるようにして形成されることが好ましい。被覆部材27は、例えば、エポキシ樹脂、あるいはポリイミド樹脂等の樹脂材料をスクリーン印刷法等の厚膜成形技術を用いて形成することができる。
被覆部材27は、駆動IC11と接続される個別電極19、IC−IC接続電極26およびIC−コネクタ接続電極21を露出させるための開口部27aが形成されている。そして、開口部27aから露出したこれらの配線が駆動IC11に接続されている。また、被覆部材27は、基板7の他方の長辺7b側に、接続端子2を露出させるための開口部27bが設けられている。開口部27bから露出した接続端子2は、コネクタピン8と電気的に接続される。
図3〜5を用いて、コネクタ31およびコネクタ31とヘッド基体3との接合について詳細に説明する。図4(a),5(a)については、被覆部材12を省略して示している。
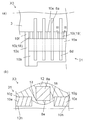
コネクタ31は、複数のコネクタピン8と、複数のコネクタピン8を収容するハウジング10とを備えている。
図4に示すように、コネクタピン8は、上部コネクタピン8aと、下部コネクタピン8bと、連結部8cと、引き出し部8dとを備えている。コネクタピン8は、主走査方向に間隔をあけて複数配列されている。コネクタピン8同士は、互いに離間しており、隣り合うコネクタピン8は、電気的に絶縁されている。
上部コネクタピン8aは、接続端子2(図1参照)上に配置されている。下部コネクタピン8bは、ヘッド基体3の基板7の下方に配置されている。そして、上部コネクタピン8aと下部コネクタピン8bとにより、ヘッド基体3を挟持している。連結部8cは、上部コネクタピン8aと下部コネクタピン8bとを連結しており、厚み方向に延びるように設けられている。引き出し部8dは、ヘッド基体3から離れる方向に引き出されており、下部コネクタピン8bから連続的に設けられている。
コネクタピン8は、上部コネクタピン8aと、下部コネクタピン8bと、連結部8cと、引き出し部8dとが一体的に設けられており、上部コネクタピン8aと、下部コネクタピン8bとにより形成された空間に、ヘッド基体3が挿入されることにより、コネクタ31とヘッド基体3とが連結されている。
ハウジング10は、各コネクタピン8をそれぞれ電気的に独立された状態で収納する機能を有する。外部に設けられたケーブル(不図示)等の着脱により、ヘッド基体3に電気を供給している。
ハウジング10は、上壁10aと、下壁10bと、側壁10cと、前壁10dと、突出部10eと、位置決め部10fとを備えている。ハウジング10は、上壁10aと、下壁10bと、側壁10cと、前壁10dとにより、全体として、コネクタピン8の引き出し部8d側が開口した箱形状をなしている。
突出部10eは、平面視して、上壁10aから隣り合う上部コネクタピン8a同士の間に向けて突出しており、ヘッド基体3側に向けて延びている。いる。また、主走査方向の両端に位置する突出部10eは、位置決め部10fと上部コネクタピン8aとの間に向けて突出しており、ヘッド基体3側に向けて延びている。
コネクタピン8は、導電性を有する必要があるため、金属あるいは合金により形成することができる。ハウジング10は、絶縁性の部材により形成することができ、例えば、PA(ポリアミド)、PBT(ポリブチレンテレフタレート)、LCP(液晶ポリマー)、ナイロン66、ガラス入りナイロン66などの樹脂により形成することができる。
図1,2,4(b),5(b)に示すように、コネクタ31とヘッド基体3とは、コネクタピン8、導電性接合材23、および被覆部材12により固定されている。
図1,2に示すように、グランド電極4の接続端子2およびIC−コネクタ接続電極21の接続端子2上には、コネクタピン8が配置されている。図2に示すように、接続端子2と、コネクタピン8とは、導電性接合材23により電気的に接続されている。
導電性接合材23は、例えば、はんだ、あるいは電気絶縁性の樹脂中に導電性粒子が混入された異方性導電接着剤等を例示することができる。本実施形態においては、はんだを用いて説明する。コネクタピン8は、導電性接合材23に覆われることにより、接続端子2と電気的に接続されている。なお、導電性接合材23と接続端子2との間にNi、Au、あるいはPdによるめっき層(不図示)を設けてもよい。
被覆部材12は、上部コネクタピン8a、ハウジング10の上壁10a、およびヘッド基体3の上面に配置されている。被覆部材12は、例えば、エポキシ系の熱硬化性の樹脂、紫外線硬化性の樹脂、あるいは可視光硬化性の樹脂により形成することができる。
被覆部材12を熱硬化性の樹脂により形成した場合、サーマルヘッドX1は、ヘッド基体3を上部コネクタピン8aと下部コネクタピン8bとの間に挿入し、コネクタピン8と、ヘッド基体3とを導電性接合材23により接続した後に、両面テープ等が設けられた放熱体1上に、ヘッド基体3を載置する。そして、上部コネクタピン8aを封止するように、被覆部材12を塗布、硬化することにより、作製することができる。
サーマルヘッドX1は、ハウジング10が、平面視して、隣り合う上部コネクタピン8a同士の間に向けて突出する突出部10fを有する構成である。これにより、コネクタピン8を被覆部材12にて封止するために被覆部材12を塗布した場合に、突出部10fにより、被覆部材12が下方へ流出することを低減することができる。
すなわち、突出部10fが被覆部材12を堰き止めることにより、被覆部材12をハウジング10の上部に留まらせることができる。その結果、ハウジング10の上部にて被覆部材12が不足する可能性を低減することができ、コネクタピン8を封止することができる。
また、サーマルヘッドX1は、被覆部材12をハウジング10の上部に留まらせることができるため、コネクタピン8とヘッド基体3とを強固に固定することができる。それにより、コネクタ31とヘッド基体3との接合強度を強固なものとすることができる。
特に、図4(a)に示すように、平面視して、隣り合う上部コネクタピン8a同士の間の長さと、突出部10eの幅が等しいことが好ましい。このような場合、被覆部材12の下方への流出をさらに抑えることができる。
図5(a)に示すように、突出部10eの突出長さLeが、位置決め部10fの突出長さLfと略等しいことが好ましい。それにより、ヘッド基体3と、突出部10eとの間に隙間が生じにくくなり、被覆部材12が下方に流出する可能性をさらに低減することができる。なお、突出部10eの突出長さLeと、位置決め部10fの突出長さLfとが略等
しいとは、突出部10eの突出長さLeと、位置決め部10fの突出長さLfとの差が、突出部10eの突出長さLeおよび位置決め部10fの突出長さLfの±10%程度の製造誤差を含む概念である。
図5(b)に示すように、上部コネクタピン8aの下面8eは、突出部10eの上面10gよりも高く配置されている。そのため、突出部10eと、上部コネクタピン8aとの間に隙間14が生じることとなる。それにより、コネクタピン8に塗布した被覆部材12の一部が、隙間14を通り、上部コネクタピン8aの下面8eにまで回り込むこととなる。
それにより、被覆部材12が、上部コネクタピン8aの全面を取り囲むように配置されることとなり、コネクタピン8aの封止性を向上させることができる。
次に、サーマルプリンタZ1について、図6を参照しつつ説明する。
図6に示すように、本実施形態のサーマルプリンタZ1は、上述のサーマルヘッドX1と、搬送機構40と、プラテンローラ50と、電源装置60と、制御装置70とを備えている。サーマルヘッドX1は、サーマルプリンタZ1の筐体(不図示)に設けられた取付部材80の取付面80aに取り付けられている。なお、サーマルヘッドX1は、後述する記録媒体Pの搬送方向Sに直交する方向である主走査方向に沿うようにして、取付部材80に取り付けられている。
搬送機構40は、駆動部(不図示)と、搬送ローラ43,45,47,49とを有している。搬送機構40は、感熱紙、インクが転写される受像紙等の記録媒体Pを図6の矢印S方向に搬送して、サーマルヘッドX1の複数の発熱部9上に位置する保護層25上に搬送するためのものである。駆動部は、搬送ローラ43,45,47,49を駆動させる機能を有しており、例えば、モータを用いることができる。搬送ローラ43,45,47,49は、例えば、ステンレス等の金属からなる円柱状の軸体43a,45a,47a,49aを、ブタジエンゴム等からなる弾性部材43b,45b,47b,49bにより被覆して構成することができる。なお、図示しないが、記録媒体Pがインクが転写される受像紙等の場合は、記録媒体PとサーマルヘッドX1の発熱部9との間に、記録媒体Pとともにインクフィルムを搬送する。
プラテンローラ50は、記録媒体PをサーマルヘッドX1の発熱部9上に位置する保護膜25上に押圧する機能を有する。プラテンローラ50は、記録媒体Pの搬送方向Sに直交する方向に沿って延びるように配置され、記録媒体Pを発熱部9上に押圧した状態で回転可能となるように両端部が支持固定されている。プラテンローラ50は、例えば、ステンレス等の金属からなる円柱状の軸体50aを、ブタジエンゴム等からなる弾性部材50bにより被覆して構成することができる。
電源装置60は、上記のようにサーマルヘッドX1の発熱部9を発熱させるための電流および駆動IC11を動作させるための電流を供給する機能を有している。制御装置70は、上記のようにサーマルヘッドX1の発熱部9を選択的に発熱させるために、駆動IC11の動作を制御する制御信号を駆動IC11に供給する機能を有している。
サーマルプリンタZ1は、図6に示すように、プラテンローラ50によって記録媒体PをサーマルヘッドX1の発熱部9上に押圧しつつ、搬送機構40によって記録媒体Pを発熱部9上に搬送しながら、電源装置60および制御装置70によって発熱部9を選択的に発熱させることにより、記録媒体Pに所定の印画を行う。なお、記録媒体Pが受像紙等の場合は、記録媒体Pとともに搬送されるインクフィルム(不図示)のインクを記録媒体P
に熱転写することによって、記録媒体Pへの印画を行う。
<第2の実施形態>
図7を用いてサーマルヘッドX2について説明する。なお、サーマルヘッドX1と同一の部材については同一の符号を付し、以下同様とする。
図7(a)に示すように、サーマルヘッドX2は、突出部10eに切欠部10iが設けられており、切欠部10iには、被覆部材12(図1参照)が配置されている。切欠部10iは、突出部10eのヘッド基体3側の角部を取り除くように設けられており、1つの突出部10eに対して2つ設けられている。そして、突出部10eは、主走査方向における中央部にてヘッド基体3と接触しており、平面視して、突出部10eと、ヘッド基体3と、上部コネクタピン8aとにより囲まれた隙間16に、被覆部材12が充填されている。
サーマルヘッドX2は、突出部10eに切欠部10iが設けられており、切欠部10iによって形成された隙間16に被覆部材12が充填されている。そのため、突出部10eと、ヘッド基体3と、上部コネクタピン8aとの接合強度を向上させることができる。その結果、ヘッド基体3とコネクタ31との接合強度を向上させることができる。
また、平面視して、切欠部10iは、突出部10eのうち、上部コネクタピン8a、および位置決め部10fに隣り合う部位に形成されている。そのため、上部コネクタピン8aと突出部10eとの間、および位置決め部10fと突出部10eとの間に、十分な量の被覆部材12を配置することができる。それにより、コネクタ31とヘッド基体3との接合強度をさらに向上させることができる。なお、上部コネクタピン8aの周囲に多くの被覆部材12を配置することができることから、コネクタピン8の封止性もさらに向上させることができる。
図7(b)に示すように、切欠部10iを、突出部10eのうち、主走査方向における中央に設けてもよい。その場合においても、切欠部10iによって、ヘッド基体3と突出部10eとの間に隙間16を形成することができる。そして、隙間16に被覆部材12が充填されることにより、ヘッド基体3と突出部10eとの間に被覆部材が配置されることとなり、ヘッド基体3とコネクタ31との接合強度を向上させることができる。
<第3の実施形態>
図8を用いてサーマルヘッドX3について説明する。
サーマルヘッドX3は、突出部10eのうち、上部コネクピン8a、または位置決め部10fに隣り合う部位に切欠部10iが形成されている。言い換えると、平面視して、突出部10eが、上部コネクタピン8a。または位置決め部10fと離間している。それにより、突出部10eと、上部コネクピン8a、または位置決め部10fとの間に隙間18が形成されている。
そして、図8(b)に示すように、隙間18には被覆部材12が配置されている。このように、切欠部10iにより、隙間18が形成され、隙間18に被覆部材12が配置されることにより、被覆部材12が上部コネクタピン8aの全体を被覆することができる。
切欠部10iの幅(主走査方向における長さ)は、0.1〜0.3mmであることが好ましい。それにより、被覆部材12が下方へ流出することを抑えつつ、被覆部材12により上部コネクタピン8aを封止することができる。
また、サーマルヘッドX3は、図8(b)に示すように、上部コネクタピン8aの上面8fが突出部10eの上面10gよりも高く配置され、上部コネクタピン8aの下面8eが突出部10eの下面10hよりも高く配置されるように構成されている。そして、上部コネクタピン8aの全体が被覆部材12により被覆されている。
このように、上部コネクタピン8aの下面8eが、突出部10eの上面10gと下面10hとの間に配置されることにより、突出部10eの側面と上部コネクタピン8aの側面とにより隙間18が形成されることとなる。そして、隙間18の幅は5〜20μmであるため、毛細管現象が働き、隙間18から被覆部材12が下方に流出する可能性を低減することができる。
また、上部コネクタピン8aの下面8eが、突出部10eの下面10hよりも高い位置に配置されていることから、上部コネクタピン8aの下面8eが隙間18より下方に配置されない構成となり、上部コネクタピン8aの下面8eにも被覆部材12を配置することができる。その結果、上部コネクタピン8aの封止性を向上させることができる。
<第4の実施形態>
図9を用いてサーマルヘッドX4について説明する。
サーマルヘッドX4は、主走査方向における両端に位置する突出部10eにのみ、切欠部10iが設けられており、主走査方向における両端に位置する突出部10eの幅Waが、他の突出部10eの幅Wbよりも狭くなっている。そして、切欠部10iによって形成された隙間18には、被覆部材(不図示)が配置されている。
ここで、サーマルヘッドは、コネクタの着脱をする際に、主走査方向における両端部に大きな外力が加わることとなる。それにより、位置決め部に変形が生じて、基板との位置合わせに不具合が生じる場合、あるいはヘッド基体と位置決め部とが剥離する場合がある。
これに対して、サーマルヘッドX4は、主走査方向における両端に位置する突出部10eの幅Waが、他の突出部10eの幅Wbよりも狭い構成を有している。それにより、主走査方向における両端に位置する突出部10eの周囲に多くの量の被覆部材が配置されることとなる。そのため、主走査方向における両端に位置する突出部10eと位置決め部10fとの接合強度を向上させることができ、位置決め部10fに変形が生じる可能性、あるいはヘッド基体3と位置決め部10fとの剥離を抑えることができる。
幅Waは、幅Wbの50〜90%であることが好ましい。それにより、被覆部材が下方に流出する可能性を低減しつつ、主走査方向における両端部の接合強度を向上させることができる。
なお、図9(b)に示すように、切欠部10iは、突出部10eのうち、位置決め部10fに隣り合う部位、および上部コネクタピン8aに隣り合う部位に設けてもよい。その場合においても、同様の効果を奏することができる。
<第5の実施形態>
図10を用いてサーマルヘッドX5について説明する。サーマルヘッドX5は、突出部10eの突出長さLeが、サーマルヘッドX1と異なっており、その他の構成は同様である。
サーマルヘッドX5は、突出部10eの突出長さLeが、位置決め部10fの突出長さ
Lfよりも短い構成を有している。そのため、ヘッド基体3は、位置決め部10fにのみ突き当てられる構成となる。
それにより、ヘッド基体3を位置決め部10fのみにより位置決めすることから、ヘッド基体3の位置決めの精度を向上させることができる。つまり、突出部10eの突出長さLeは、製造過程においてばらつきが生じる可能性があり、突出長さLeのばらつきにより、ヘッド基体3の位置決めが不安定になる可能性がある。
しかしながら、サーマルヘッドX5は、ヘッド基体3が位置決め部10fにのみ突き当てられる構成であるため、位置決め精度を向上させることができる。
また、サーマルヘッドX5は、突出部10eの突出長さLeが、位置決め部10fの突出長さLfよりも短い構成を有しているため、ヘッド基体3と突出部10eとの間に隙間18が形成され、隙間18には被覆部材(不図示)が充填されることとなる。そのため、ヘッド基体3とコネクタ31との接合強度を向上させることができる。
以上、本発明の一実施形態について説明したが、本発明は上記実施形態に限定されるものではなく、その趣旨を逸脱しない限りにおいて種々の変更が可能である。例えば、第1の実施形態であるサーマルヘッドX1を用いたサーマルプリンタZ1を示したが、これに限定されるものではなく、サーマルヘッドX2〜X5をサーマルプリンタZ1に用いてもよい。また、複数の実施形態であるサーマルヘッドX1〜X5を組み合わせてもよい。
サーマルヘッドX1〜X5では、コネクタ31が、配列方向の中央部に配置された例を示したが、配列方向の両端部に設けてもよい。
また、サーマルヘッドX1では、蓄熱層13に隆起部13bが形成され、隆起部13b上に電気抵抗層15が形成されているが、これに限定されるものではない。例えば、蓄熱層13に隆起部13bを形成せず、電気抵抗層15の発熱部9を、蓄熱層13の下地部13a上に配置してもよい。また、蓄熱層13を基板7の上面の全域にわたって設けてもよい。
また、サーマルヘッドX1では、電気抵抗層15上に共通電極17および個別電極19が形成されているが、共通電極17および個別電極19の双方が発熱部9(電気抵抗体)に接続されている限り、これに限定されるものではない。例えば、蓄熱層13上に共通電極17および個別電極19を形成し、共通電極17と個別電極19との間の領域のみに電気抵抗層15を形成することにより、発熱部9を構成してもよい。
さらにまた、電気抵抗層15を薄膜形成することにより、発熱部9の薄い薄膜ヘッドを例示して示したが、これに限定されるものではない。例えば、各種電極をパターニングした後に、電気抵抗層15を厚膜形成することにより、発熱部9の厚い厚膜ヘッドに本発明を用いてもよい。さらに、発熱部9を基板の端面に形成する端面ヘッドに本技術を用いてもよい。
さらにまた、コネクタピン8が、上部コネクタピン8aと下部コネクタピン8bとによりヘッド基体3を挟持するものを用いた例を示したがこれに限定されるものではない。コネクタピン8が上部コネクタピン8aのみを備え、上部コネクタピン8aが接続端子2上に配置されるものでもよい。
なお、被覆部材12を、駆動IC11を被覆するハードコート29とを同じ材料により形成してもよい。その場合、ハードコート29を印刷する際に、被覆部材12が形成され
る領域にも印刷して、ハードコート29と被覆部材12とを同時に形成してもよい。
X1〜X5 サーマルヘッド
Z1 サーマルプリンタ
1 放熱体
1a 台部
2 接続端子
3 ヘッド基体
4 グランド電極
7 基板
8 コネクタピン
8a 上部コネクタピン
8b 下部コネクタピン
8c 連結部
8d 引き出し部
8e 下面
9 発熱部
10 ハウジング
10a 上壁
10b 下壁
10c 側壁
10d 突出部
10e 位置決め部
10f 上面
10g 下面
11 駆動IC
12 被覆部材
13 蓄熱層
14 隙間
15 電気抵抗層
16 隙間
17 共通電極
18 隙間
19 個別電極
21 IC−コネクタ接続電極
23 導電性接着剤
25 保護層
26 IC−IC接続電極
27 被覆部材
29 ハードコート

Claims (7)

  1. 基板と、
    該基板上に設けられた複数の発熱部と、
    前記基板上に設けられ、前記発熱部に電気的に接続された電極と、
    該電極に電気的に接続された複数のコネクタピン、および該コネクタピンを収容するハウジングを有したコネクタと、
    前記コネクタピンと前記電極との接続部を被覆する被覆部材と、を備え、
    前記ハウジングは、平面視して、隣り合う前記コネクタピン同士の間に向けて突出した突出部を有しており、
    前記突出部に切欠部が設けられており、前記被覆部材が前記突出部と前記基板との間に配置されていることを特徴とするサーマルヘッド。
  2. 基板と、
    該基板上に設けられた複数の発熱部と、
    前記基板上に設けられ、前記発熱部に電気的に接続された電極と、
    該電極に電気的に接続された複数のコネクタピン、および該コネクタピンを収容するハウジングを有したコネクタと、
    前記コネクタピンと前記電極との接続部を被覆する被覆部材と、を備え、
    前記ハウジングは、平面視して、隣り合う前記コネクタピン同士の間に向けて突出した突出部を有しており、
    前記コネクタピンと前記突出部との間に隙間があることを特徴とするサーマルヘッド。
  3. 側面視して、前記コネクタピンは、上面が前記突出部の上面よりも高くに配置され、下面が前記突出部の下面よりも高くに配置されており、前記コネクタピンの全体が前記被覆部材により被覆されている、請求項に記載のサーマルヘッド。
  4. 基板と、
    該基板上に設けられた複数の発熱部と、
    前記基板上に設けられ、前記発熱部に電気的に接続された電極と、
    該電極に電気的に接続された複数のコネクタピン、および該コネクタピンを収容するハウジングを有したコネクタと、
    前記コネクタピンと前記電極との接続部を被覆する被覆部材と、を備え、
    前記ハウジングは、平面視して、隣り合う前記コネクタピン同士の間に向けて突出した
    突出部を有しており、
    前記ハウジングの側壁と隣り合うように設けられた前記突出部の幅が、他の前記突出部の幅よりも狭いことを特徴とするサーマルヘッド。
  5. 基板と、
    該基板上に設けられた複数の発熱部と、
    前記基板上に設けられ、前記発熱部に電気的に接続された電極と、
    該電極に電気的に接続された複数のコネクタピン、および該コネクタピンを収容するハウジングを有したコネクタと、
    前記コネクタピンと前記電極との接続部を被覆する被覆部材と、を備え、
    前記ハウジングは、平面視して、隣り合う前記コネクタピン同士の間に向けて突出した突出部を有しており、
    前記コネクタが、前記ハウジングの側壁に設けられ、前記基板の位置決めを行うために前記基板に向けて突出した位置決め部をさらに備え、
    前記突出部の突出長さが、前記位置決め部の突出長さと略等しいことを特徴とするサーマルヘッド。
  6. 基板と、
    該基板上に設けられた複数の発熱部と、
    前記基板上に設けられ、前記発熱部に電気的に接続された電極と、
    該電極に電気的に接続された複数のコネクタピン、および該コネクタピンを収容するハウジングを有したコネクタと、
    前記コネクタピンと前記電極との接続部を被覆する被覆部材と、を備え、
    前記ハウジングは、平面視して、隣り合う前記コネクタピン同士の間に向けて突出した突出部を有しており、
    前記コネクタが、前記ハウジングの側壁に設けられ、前記基板の位置決めを行うために前記基板に向けて突出した位置決め部をさらに備え、
    前記突出部の突出長さが、前記位置決め部の突出長さよりも短いことを特徴とするサーマルヘッド。
  7. 請求項1乃至のうちいずれか1項に記載のサーマルヘッドと、
    前記発熱部上に記録媒体を搬送する搬送機構と、
    前記発熱部上に前記記録媒体を押圧するプラテンローラと、を備えることを特徴とするサーマルプリンタ。
JP2013246250A 2013-11-28 2013-11-28 サーマルヘッドおよびサーマルプリンタ Active JP6208564B2 (ja)

Priority Applications (1)

Application Number Priority Date Filing Date Title
JP2013246250A JP6208564B2 (ja) 2013-11-28 2013-11-28 サーマルヘッドおよびサーマルプリンタ

Applications Claiming Priority (1)

Application Number Priority Date Filing Date Title
JP2013246250A JP6208564B2 (ja) 2013-11-28 2013-11-28 サーマルヘッドおよびサーマルプリンタ

Publications (2)

Publication Number Publication Date
JP2015104807A JP2015104807A (ja) 2015-06-08
JP6208564B2 true JP6208564B2 (ja) 2017-10-04

Family

ID=53435247

Family Applications (1)

Application Number Title Priority Date Filing Date
JP2013246250A Active JP6208564B2 (ja) 2013-11-28 2013-11-28 サーマルヘッドおよびサーマルプリンタ

Country Status (1)

Country Link
JP (1) JP6208564B2 (ja)

Families Citing this family (1)

* Cited by examiner, † Cited by third party
Publication number Priority date Publication date Assignee Title
JP7267905B2 (ja) * 2019-11-29 2023-05-02 京セラ株式会社 サーマルヘッド及びサーマルプリンタ

Family Cites Families (7)

* Cited by examiner, † Cited by third party
Publication number Priority date Publication date Assignee Title
JPH02248257A (ja) * 1989-03-22 1990-10-04 Matsushita Electric Ind Co Ltd サーマルヘッド
US5133670A (en) * 1991-03-18 1992-07-28 Kel Corporation Surface mount connector with contact aligning member
JP2818920B2 (ja) * 1993-02-24 1998-10-30 ローム株式会社 サーマルヘッド
JP2001105645A (ja) * 1999-10-13 2001-04-17 Rohm Co Ltd サーマルプリントヘッドおよびクリップピン
JP2001113741A (ja) * 1999-10-19 2001-04-24 Rohm Co Ltd サーマルプリントヘッドおよびその製造方法
JP3929948B2 (ja) * 2003-08-04 2007-06-13 矢崎総業株式会社 コネクタ
JP3836850B2 (ja) * 2004-04-28 2006-10-25 ローム株式会社 サーマルプリントヘッド装置

Also Published As

Publication number Publication date
JP2015104807A (ja) 2015-06-08

Similar Documents

Publication Publication Date Title
JP6018288B2 (ja) サーマルヘッドおよびサーマルプリンタ
JP6219408B2 (ja) サーマルヘッドおよびサーマルプリンタ
JP6001465B2 (ja) サーマルヘッドおよびこれを備えるサーマルプリンタ
JP6059412B1 (ja) サーマルヘッドおよびサーマルプリンタ
JP5952176B2 (ja) サーマルヘッドおよびこれを備えるサーマルプリンタ
JP6096997B2 (ja) サーマルヘッドおよびサーマルプリンタ
JP6419006B2 (ja) サーマルヘッドおよびサーマルプリンタ
JP6208564B2 (ja) サーマルヘッドおよびサーマルプリンタ
JP5489836B2 (ja) サーマルヘッド
JPWO2015029913A1 (ja) サーマルヘッドおよびこれを備えるサーマルプリンタ
JP6208561B2 (ja) サーマルヘッドおよびサーマルプリンタ
JP5937309B2 (ja) サーマルヘッドおよびこれを備えるサーマルプリンタ
JP6154334B2 (ja) サーマルヘッドおよびサーマルプリンタ
JP6046872B2 (ja) サーマルヘッドおよびサーマルプリンタ
JP5964745B2 (ja) サーマルヘッドおよびこれを備えるサーマルプリンタ
JP6352799B2 (ja) サーマルヘッドおよびサーマルプリンタ
JP6110198B2 (ja) サーマルヘッドおよびサーマルプリンタ
JP6075626B2 (ja) サーマルヘッドおよびサーマルプリンタ
JP6204084B2 (ja) サーマルヘッドおよびサーマルプリンタ
JP6426541B2 (ja) サーマルヘッドおよびサーマルプリンタ
JP6401066B2 (ja) サーマルヘッドおよびこれを備えるサーマルプリンタ
JP6352770B2 (ja) サーマルヘッドおよびサーマルプリンタ
JP2015182240A (ja) サーマルヘッドおよびサーマルプリンタ
JP2013176882A (ja) サーマルヘッドおよびこれを備えるサーマルプリンタ
JP2019147302A (ja) サーマルヘッドおよびサーマルプリンタ

Legal Events

Date Code Title Description
A621 Written request for application examination

Free format text: JAPANESE INTERMEDIATE CODE: A621

Effective date: 20160516

A977 Report on retrieval

Free format text: JAPANESE INTERMEDIATE CODE: A971007

Effective date: 20170329

A131 Notification of reasons for refusal

Free format text: JAPANESE INTERMEDIATE CODE: A131

Effective date: 20170425

A521 Written amendment

Free format text: JAPANESE INTERMEDIATE CODE: A523

Effective date: 20170608

TRDD Decision of grant or rejection written
A01 Written decision to grant a patent or to grant a registration (utility model)

Free format text: JAPANESE INTERMEDIATE CODE: A01

Effective date: 20170808

A61 First payment of annual fees (during grant procedure)

Free format text: JAPANESE INTERMEDIATE CODE: A61

Effective date: 20170907

R150 Certificate of patent or registration of utility model

Ref document number: 6208564

Country of ref document: JP

Free format text: JAPANESE INTERMEDIATE CODE: R150