JP5886552B2 - 建設機械の排気構造 - Google Patents

建設機械の排気構造 Download PDF

Info

Publication number
JP5886552B2
JP5886552B2 JP2011157830A JP2011157830A JP5886552B2 JP 5886552 B2 JP5886552 B2 JP 5886552B2 JP 2011157830 A JP2011157830 A JP 2011157830A JP 2011157830 A JP2011157830 A JP 2011157830A JP 5886552 B2 JP5886552 B2 JP 5886552B2
Authority
JP
Japan
Prior art keywords
exhaust
exhaust gas
duct
engine room
gas pipe
Prior art date
Legal status (The legal status is an assumption and is not a legal conclusion. Google has not performed a legal analysis and makes no representation as to the accuracy of the status listed.)
Active
Application number
JP2011157830A
Other languages
English (en)
Other versions
JP2013024078A (ja
Inventor
中島 一
中島  一
大 沼沢
大 沼沢
上田 員弘
員弘 上田
山口 善三
善三 山口
木村 康正
康正 木村
Current Assignee (The listed assignees may be inaccurate. Google has not performed a legal analysis and makes no representation or warranty as to the accuracy of the list.)
Kobelco Construction Machinery Co Ltd
Kobe Steel Ltd
Original Assignee
Kobelco Construction Machinery Co Ltd
Kobe Steel Ltd
Priority date (The priority date is an assumption and is not a legal conclusion. Google has not performed a legal analysis and makes no representation as to the accuracy of the date listed.)
Filing date
Publication date
Application filed by Kobelco Construction Machinery Co Ltd, Kobe Steel Ltd filed Critical Kobelco Construction Machinery Co Ltd
Priority to JP2011157830A priority Critical patent/JP5886552B2/ja
Priority to KR1020147003849A priority patent/KR101610561B1/ko
Priority to EP12815232.9A priority patent/EP2735712B1/en
Priority to US14/233,322 priority patent/US9027676B2/en
Priority to PCT/JP2012/004486 priority patent/WO2013011666A1/ja
Priority to CN201280035702.2A priority patent/CN103688030B/zh
Publication of JP2013024078A publication Critical patent/JP2013024078A/ja
Application granted granted Critical
Publication of JP5886552B2 publication Critical patent/JP5886552B2/ja
Active legal-status Critical Current
Anticipated expiration legal-status Critical

Links

Images

Classifications

    • EFIXED CONSTRUCTIONS
    • E02HYDRAULIC ENGINEERING; FOUNDATIONS; SOIL SHIFTING
    • E02FDREDGING; SOIL-SHIFTING
    • E02F9/00Component parts of dredgers or soil-shifting machines, not restricted to one of the kinds covered by groups E02F3/00 - E02F7/00
    • E02F9/08Superstructures; Supports for superstructures
    • E02F9/0858Arrangement of component parts installed on superstructures not otherwise provided for, e.g. electric components, fenders, air-conditioning units
    • E02F9/0866Engine compartment, e.g. heat exchangers, exhaust filters, cooling devices, silencers, mufflers, position of hydraulic pumps in the engine compartment
    • BPERFORMING OPERATIONS; TRANSPORTING
    • B60VEHICLES IN GENERAL
    • B60KARRANGEMENT OR MOUNTING OF PROPULSION UNITS OR OF TRANSMISSIONS IN VEHICLES; ARRANGEMENT OR MOUNTING OF PLURAL DIVERSE PRIME-MOVERS IN VEHICLES; AUXILIARY DRIVES FOR VEHICLES; INSTRUMENTATION OR DASHBOARDS FOR VEHICLES; ARRANGEMENTS IN CONNECTION WITH COOLING, AIR INTAKE, GAS EXHAUST OR FUEL SUPPLY OF PROPULSION UNITS IN VEHICLES
    • B60K13/00Arrangement in connection with combustion air intake or gas exhaust of propulsion units
    • B60K13/04Arrangement in connection with combustion air intake or gas exhaust of propulsion units concerning exhaust
    • FMECHANICAL ENGINEERING; LIGHTING; HEATING; WEAPONS; BLASTING
    • F01MACHINES OR ENGINES IN GENERAL; ENGINE PLANTS IN GENERAL; STEAM ENGINES
    • F01NGAS-FLOW SILENCERS OR EXHAUST APPARATUS FOR MACHINES OR ENGINES IN GENERAL; GAS-FLOW SILENCERS OR EXHAUST APPARATUS FOR INTERNAL-COMBUSTION ENGINES
    • F01N13/00Exhaust or silencing apparatus characterised by constructional features
    • F01N13/08Other arrangements or adaptations of exhaust conduits
    • F01N13/082Other arrangements or adaptations of exhaust conduits of tailpipe, e.g. with means for mixing air with exhaust for exhaust cooling, dilution or evacuation
    • FMECHANICAL ENGINEERING; LIGHTING; HEATING; WEAPONS; BLASTING
    • F01MACHINES OR ENGINES IN GENERAL; ENGINE PLANTS IN GENERAL; STEAM ENGINES
    • F01NGAS-FLOW SILENCERS OR EXHAUST APPARATUS FOR MACHINES OR ENGINES IN GENERAL; GAS-FLOW SILENCERS OR EXHAUST APPARATUS FOR INTERNAL-COMBUSTION ENGINES
    • F01N3/00Exhaust or silencing apparatus having means for purifying, rendering innocuous, or otherwise treating exhaust
    • F01N3/02Exhaust or silencing apparatus having means for purifying, rendering innocuous, or otherwise treating exhaust for cooling, or for removing solid constituents of, exhaust
    • F01N3/05Exhaust or silencing apparatus having means for purifying, rendering innocuous, or otherwise treating exhaust for cooling, or for removing solid constituents of, exhaust by means of air, e.g. by mixing exhaust with air
    • BPERFORMING OPERATIONS; TRANSPORTING
    • B60VEHICLES IN GENERAL
    • B60KARRANGEMENT OR MOUNTING OF PROPULSION UNITS OR OF TRANSMISSIONS IN VEHICLES; ARRANGEMENT OR MOUNTING OF PLURAL DIVERSE PRIME-MOVERS IN VEHICLES; AUXILIARY DRIVES FOR VEHICLES; INSTRUMENTATION OR DASHBOARDS FOR VEHICLES; ARRANGEMENTS IN CONNECTION WITH COOLING, AIR INTAKE, GAS EXHAUST OR FUEL SUPPLY OF PROPULSION UNITS IN VEHICLES
    • B60K11/00Arrangement in connection with cooling of propulsion units
    • B60K11/06Arrangement in connection with cooling of propulsion units with air cooling
    • BPERFORMING OPERATIONS; TRANSPORTING
    • B60VEHICLES IN GENERAL
    • B60YINDEXING SCHEME RELATING TO ASPECTS CROSS-CUTTING VEHICLE TECHNOLOGY
    • B60Y2200/00Type of vehicle
    • B60Y2200/40Special vehicles
    • B60Y2200/41Construction vehicles, e.g. graders, excavators
    • B60Y2200/412Excavators
    • FMECHANICAL ENGINEERING; LIGHTING; HEATING; WEAPONS; BLASTING
    • F01MACHINES OR ENGINES IN GENERAL; ENGINE PLANTS IN GENERAL; STEAM ENGINES
    • F01NGAS-FLOW SILENCERS OR EXHAUST APPARATUS FOR MACHINES OR ENGINES IN GENERAL; GAS-FLOW SILENCERS OR EXHAUST APPARATUS FOR INTERNAL-COMBUSTION ENGINES
    • F01N2470/00Structure or shape of exhaust gas passages, pipes or tubes
    • F01N2470/02Tubes being perforated
    • FMECHANICAL ENGINEERING; LIGHTING; HEATING; WEAPONS; BLASTING
    • F01MACHINES OR ENGINES IN GENERAL; ENGINE PLANTS IN GENERAL; STEAM ENGINES
    • F01NGAS-FLOW SILENCERS OR EXHAUST APPARATUS FOR MACHINES OR ENGINES IN GENERAL; GAS-FLOW SILENCERS OR EXHAUST APPARATUS FOR INTERNAL-COMBUSTION ENGINES
    • F01N2470/00Structure or shape of exhaust gas passages, pipes or tubes
    • F01N2470/02Tubes being perforated
    • F01N2470/04Tubes being perforated characterised by shape, disposition or dimensions of apertures
    • FMECHANICAL ENGINEERING; LIGHTING; HEATING; WEAPONS; BLASTING
    • F01MACHINES OR ENGINES IN GENERAL; ENGINE PLANTS IN GENERAL; STEAM ENGINES
    • F01NGAS-FLOW SILENCERS OR EXHAUST APPARATUS FOR MACHINES OR ENGINES IN GENERAL; GAS-FLOW SILENCERS OR EXHAUST APPARATUS FOR INTERNAL-COMBUSTION ENGINES
    • F01N2590/00Exhaust or silencing apparatus adapted to particular use, e.g. for military applications, airplanes, submarines
    • F01N2590/08Exhaust or silencing apparatus adapted to particular use, e.g. for military applications, airplanes, submarines for heavy duty applications, e.g. trucks, buses, tractors, locomotives
    • YGENERAL TAGGING OF NEW TECHNOLOGICAL DEVELOPMENTS; GENERAL TAGGING OF CROSS-SECTIONAL TECHNOLOGIES SPANNING OVER SEVERAL SECTIONS OF THE IPC; TECHNICAL SUBJECTS COVERED BY FORMER USPC CROSS-REFERENCE ART COLLECTIONS [XRACs] AND DIGESTS
    • Y02TECHNOLOGIES OR APPLICATIONS FOR MITIGATION OR ADAPTATION AGAINST CLIMATE CHANGE
    • Y02TCLIMATE CHANGE MITIGATION TECHNOLOGIES RELATED TO TRANSPORTATION
    • Y02T10/00Road transport of goods or passengers
    • Y02T10/10Internal combustion engine [ICE] based vehicles
    • Y02T10/12Improving ICE efficiencies

Landscapes

  • Engineering & Computer Science (AREA)
  • Chemical & Material Sciences (AREA)
  • General Engineering & Computer Science (AREA)
  • Combustion & Propulsion (AREA)
  • Mechanical Engineering (AREA)
  • Structural Engineering (AREA)
  • Civil Engineering (AREA)
  • Mining & Mineral Resources (AREA)
  • Transportation (AREA)
  • Health & Medical Sciences (AREA)
  • Chemical Kinetics & Catalysis (AREA)
  • Toxicology (AREA)
  • Component Parts Of Construction Machinery (AREA)
  • Exhaust Silencers (AREA)
  • Exhaust Gas After Treatment (AREA)

Description

本発明は油圧ショベル等の建設機械において、エンジンの排ガス及び冷却空気をエンジンルーム外に排出するための排気構造に関するものである。
油圧ショベルを例にとって背景技術を説明する。
図9はミニショベルと称される小型の油圧ショベルを示している。
この油圧ショベルは、下部走行体1上に上部旋回体2が地面に対して鉛直となる軸(旋回中心軸)Oのまわりに旋回自在に搭載され、この上部旋回体2の前部に掘削装置Aが装着されて構成される。
下部走行体1は、上部旋回体2が搭載されるカーボディ(図示しない)の左右両側にクローラ式走行装置3(片側のみ示す)が取付けられて成っている。
上部旋回体2を構成するアッパーフレーム4の後部に、アッパーフレーム4、及びパネルやボンネット等のエンジンガード部材5で囲われたエンジンルーム6が設けられ、このエンジンルーム6内にエンジン7とその関連機器が設置される。
また、エンジンガード部材5上に運転席8と操作レバー(図示省略)が設けられ、オペレータが運転席8に着座した状態でレバー操作を行う。
図9中、9は運転席8を上方から覆うキャノピである。
この小型ショベルにおいて、エンジンから排出される高温の排ガスを排ガス管(尾管)によってエンジンルームから外部に直接上向きに排出すると、オペレータが排気熱と排気音を身近に受けるためオペレータの作業環境が悪くなるという問題があった。
一方、排気構造に関する改良技術として、特許文献1に示されたものが公知である。
この公知技術を図10によって説明する。
図10はエンジンルーム6を背面側から見た概略図である。
エンジンルーム6には、エンジン7の一端側に、エンジン7で駆動される冷却用のファン10とラジエータ等の熱交換器11が設けられるとともに、同じ側の上面壁(エンジンガード部材5の上面壁)に吸気口12、反対側の上面壁(同)に排気口13がそれぞれ設けられ、ファン10の回転により、吸気口12から外気を導入して熱交換器11に通し、冷却済み空気(排風)を排気口13から排出するように構成されている。
一方、エンジン9の他端側には消音器(マフラー)14が設けられ、エンジン7から出る排ガスが、この消音器14、及びこれに接続された排ガス管(尾管)15を通って外部に排出される。
ここで、公知技術においては、エンジンルーム6内における排気口13の下部に筒状のダクト16を、上端が排気口13に、下端がエンジンルーム6内にそれぞれ開口する状態で上下方向に設けるととともに、排ガス管15の先端部15aをダクト下方から上向きに折り曲げてダクト16内に挿入している。
こうすることにより、排風及び排ガスをダクト16内に導き、このダクト16内で両者を混合させることにより排ガス温度を低下させた上で外部に排出し、同時にダクト内で運転騒音を減音させることとしている。
特開平3−229907号公報
しかし、公知技術によると、排ガス温度及び運転騒音を従来構造よりは低下させ得るものの、排ガスと排風の混合気を上向きに排出する点で従来技術と変わらないため、とくに図9に示すキャビンの無い小型ショベルにおいて、なおオペレータに与える熱と騒音の悪影響が大きい。
そこで本発明は、とくに小型ショベルにおいてオペレータに与える熱と音の悪影響を著しく低減することができる建設機械の排気構造を提供するものである。
上記課題を解決する手段として、本発明は下部走行体と、その下部走行体上に旋回自在に搭載された上部旋回体とを備えていて、上記上部旋回体にエンジンルームが設けられ、このエンジンルームは、冷却用の空気を外部から当該エンジンルーム内に導入する吸気口と当該エンジンルーム内からの排風を外部に排出する排気口を備え、上記下部走行体は、上記上部旋回体が搭載されるカーボディと、そのカーボディの左右両側に取り付けられた、クローラを備えたクローラ式走行装置とを有する建設機械において上記エンジンルーム内にダクトが上記排気口と連通して設けられ、上記排風を上記ダクトを通じて上記エンジンルームの外部に排出する一方、上記エンジンの排ガスを排ガス管を通じて外部に排出するように構成された建設機械の排気構造であって、上記排気口及び上記ダクトの出口は、上記エンジンルームから下向きに開口、上記排ガス管の先端側部分は、上記ダクト内に挿入されていて、上記排ガスを上記ダクト内で上記排風と混合させて上記排気口から下向きに排出させるように構成され、上記排気口は、上記エンジンルームにおける上記上部旋回体の旋回中心側の位置であって上記エンジンルームが左右片側の上記クローラ上に位置する上記上部旋回体の横向き旋回状態において上記左右片側のクローラの上面から上記下部走行体の内側に外れる位置で下向きに開口しているものである。
この構成によれば、排ガスと排風の混合気をエンジンルームから下向き、すなわち運転席と上下反対側に排出するため、とくに小型ショベルにおいてオペレータが受ける熱と騒音の悪影響を著しく低減することができる。また、この構成によれば、上部旋回体の横向き旋回状態で、混合気がクローラから外れた位置に排出されるため、とくに小型ショベルに一般的に採用されているゴムクローラの混合気熱による劣化を抑制することができる。また、この構成によれば、排気抵抗が少なくてすむため、排気の風量性能が良くなる。
本発明においては、上記排ガス管の上記ダクト内への挿入部分に、排ガスを、上記ダクト内の排風方向と異なる方向に排出する排出穴設けられているのが望ましい(請求項)。
この構成によれば、公知技術のように排ガスが排風方向に噴射されるのではなく、ダクト内で排風方向と異なる方向に排出される。
ここで、排ガスは排風と比較して圧力と流速が格段に高いため、ダクト内で排風方向と異なる方向に噴射されることによって、この排ガスと排風がダクト断面の広い面積範囲で混合する。このため、混合効率が良くなり、排ガス温度低減効果を高めることができる。
また、排ガスが排風方向と異なる方向に噴射してダクト内で拡散するため、ダクト内面での反射による音の減衰を含めてダクト内での減音効果を改善し、騒音低減効果をも高めることができる。
本発明において、排ガスをダクト内の広い範囲に排出するための具体的構成として、上記排ガス管の上記ダクト内への挿入部分に排ガスを、上記排ガス管の長さ方向に分散して排出する排出穴が設けられていてもよいし(請求項)、上記排ガス管の上記ダクト内への挿入部分に排ガスを、上記排ガス管の周方向に分散して排出する排出穴が設けられていてもよい(請求項5)
これらの構成によれば、ダクト内で排ガス排ガス管の長さ方向または周方向に分散して排出されるため、排ガスと排風の混合効率と減音効果を高め、排ガス温度低減効果及び騒音低減効果を高めることができる。
なお、これらを組み合わせ、排出穴を排ガス管の長さ方向及び周方向の双方に分散して排出する状態で設けてもよい。
また、請求項の構成をとる場合、上記排出穴、上記排ガス管の上記挿入部分における長さ方向の複数個所に設けられ、かつ、上記複数個所の排出穴から排出される排ガス量が上記挿入部分の長さ方向にほぼ均等となるように、排出穴の開口面積が上記排ガス管の挿入部分の先端に向かって漸減する状態で設けられているのが望ましい(請求項)。
この構成によれば、排ガスの流速が最も高い挿入部分の先端側は相対的に小開口面積となり、低速の反対側に向かって開口面積が漸増することで排ガスの排出量が排ガス管長さ方向で均等となるため、混合効率及び減音効果の点で有利となる。
さらに本発明においては、上記排ガス管の先端側部分は、上記ダクトと交差して上記ダクト内に挿入されているのが望ましい(請求項)。
こうすれば、排ガス管の挿入部分を、ダクト内を横断する状態でダクト断面の広い範囲に亘って位置させることができるため、請求項のように排ガスを排風方向と異なる方向に排出する構成をとる場合、及び請求項のように排ガスを排ガス管の長さ方向または周方向に分散して排出する構成をとる場合のいずれにおいても、排ガスをダクト内の広い範囲に噴射させることが容易となる。
この請求項の構成をとる場合に、上記排ガス管の上記ダクト内への挿入部分における上記ダクト内の排風の風下側の半周部分には、排ガスを排出する排出穴が設けられているのが望ましい(請求項)。
こうすれば、ダクト内で排風と排ガスが衝突することによる音の発生を抑制できるとともに、排ガスによって通風が阻害されるおそれがない。
本発明によると、とくに小型ショベルにおいてオペレータに与える熱と音の悪影響を著しく低減でき、作業環境を大幅に改善することができる。
本発明の実施形態にかかる小型ショベルの概略断面図である。 同ショベルを下面側から見た図である。 同ショベルのエンジンルームの断面図である。 図3の一部を拡大した図である。 図4のV−V線拡大断面図である。 本発明の第1参考例にかかる小型ショベルの概略断面図である。 図6の一部を拡大した図である。 本発明の第2参考例にかかる小型ショベルの概略断面図である。 本発明の適用対象となる小型ショベルの全体概略側面図である。 公知技術を示す概略断面図である。
本発明の実施形態、第1及び第2参考例を図1〜図8によって説明する。
施形態及び各参考例は小型ショベル(ミニショベル)を適用対象としている。
施形態及び各参考例において、次の点は図9,10に示す従来構造及び公知技術と同じである。
(A) 下部走行体21上に上部旋回体22が地面に対して鉛直となる軸(旋回中心軸)Oのまわりに旋回自在に搭載され、この上部旋回体22の前部に掘削装置(図示省略)が装着されてショベルが構成される点。
(B) 下部走行体21は、上部旋回体22が搭載されるカーボディ23の左右両側に、クローラ24,24を備えたクローラ式走行装置25,25が取付けられて構成される点。
(C) 上部旋回体22を構成するアッパーフレーム26の後部に、アッパーフレーム26及びパネルやボンネット等のエンジンガード部材27で囲われたエンジンルーム28が設けられる点。
(D) このエンジンルーム28にはエンジン29が収容され、かつ、図3に示すようにこのエンジン29の一端側に、ンジン29で駆動される冷却用のファン30とラジエータ等の熱交換器31が設けられるとともに、同じ側の上面壁(エンジンガード部材27の上面壁)に吸気口32、反対側に排気口33がそれぞれ設けられ、ファン30の回転により、吸気口32から外気を導入して熱交換器31に通し、冷却済み空気(排風)を排気口33から排出するように構成されている点。
(E) エンジンルーム28におけるエンジン29の他端側には消音器(マフラー)34が設けられ、エンジン29から出る排ガスが、この消音器34、及びこれに接続された排ガス管(尾管)35を通って外部に排出される点。
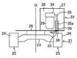
なお、図1,6,8は、上部旋回体22を、下部走行体21の進行方向に対して90度旋回させた状態、すなわち、エンジンルーム28が片側クローラ24の上方に位置することになる横向き旋回状態を示す。
施形態(図1〜図5参照)
実施形態において、排気口33は、図1,2に示すようにエンジンルーム28における上部旋回体22の旋回中心軸O側であって、上部旋回体22の横向き旋回状態でクローラ24の上面に対して内側に外れる位置で下面壁(アッパーフレーム26)に設けられ、この排気口33の上部に筒状のダクト36が設けられている。
このダクト36は、図示のように下端の出口側が排気口33に、上端の入口側がエンジンルーム28内にそれぞれ開口する状態で上下方向に設けられている。
排ガス管35は、中間部がダクト36に向かって折り曲げられ、その先端側部分(挿入部分)36aがダクト側壁を貫いてダクト36内に挿入されている。
すなわち、排ガス管35の先端側部分35aは、ダクト36と交差(望ましくは図示のように直交)してダクト36内をほぼ横断する状態で挿入されている。
この排ガス管挿入部分35aには、図4,5に示すようにダクト36内を通る排風の風下側の半周部分(排風と直交する線より下側の半周部分)に、排ガスをダクト36内に噴射する複数の排出穴37が設けられている。
この排出穴37は、図示のように挿入部分35aの半周部分における周方向の複数個所に、かつ、挿入部分35aの長さ方向の複数個所にそれぞれ間隔を置いて設けられている。
また、この排出穴37…は、ここから排出される排ガス量が挿入部分35aの長さ方向にほぼ均等となるように、その開口面積が挿入部分35aの先端に向かって漸減する状態で設けられている。
具体的には、図4に示すように、排出穴37…の挿入部分長さ方向の間隔(密度)が挿入部分35aの先端に向かって漸次大きくなる(密度が疎になる)状態で設けられている。
あるいは、排出穴37の大きさを先端に向かって漸次小さくしてもよい。
なお、排出穴37は、図示の丸穴でもよいし、角穴でもよい。あるいは、挿入部分35aの長さ方向に長い溝穴としてもよい。溝穴とする場合は、その幅寸法を、先端に向かって漸次小さくすればよい。
また、実施形態、及び後述する第、第参考例において、排ガス管35の先端開口は閉塞され、または小開口面積に絞られる。
実施形態によると、排ガスと排風の混合気がエンジンルーム28から下向き、すなわち運転席と上下反対側に排出されるため、とくに実施形態で挙げた小型ショベルにおいてオペレータが受ける熱と騒音の悪影響を著しく低減することができる。
この場合、排気口33を、エンジンルーム28における上部旋回体22の旋回中心側であって、横向き旋回状態でクローラ24から内側に外れる位置で下向きに開口させているため、エンジンルーム28が片側クローラ上に位置する横向き旋回状態で、排出される混合気がクローラ24に直接かからない。
このため、とくに小型ショベルに一般的に採用されているゴムクローラが混合気熱によって劣化し、耐久性が低下することを抑制することができる。
また、混合気を排気口33から直接排出するため、排気抵抗が少なくてすみ、排気の風量性能が良くなる。
さらに、実施形態によると、排ガスが、図4,5に示すように挿入部分35aの風下側半周部分であってほぼ全長部分からダクト36内に、挿入部分35aの中心に対して放射状に噴射される。
すなわち、排ガスが、
(i) ダクト36内の排風方向と異なる方向に、
(ii) 挿入部分35aの周方向及び長さ方向に分散して
噴射される。
この構成によると、第1に、上記(i)の異方向噴射作用により、圧力と流速が排風よりも高い排ガスがダクト断面の広い面積範囲に長くとどまるため、低圧、低速の排風と混ざり易くなる。
第2に、上記(ii)の排ガスの周方向及び長さ方向拡散作用により、排ガスがダクト36内のさらに広い範囲で排風と混ざり合う。
この二点の相乗効果により、排ガスと排風の混合効率を高め、排ガス温度を好ましい温度(たとえば500℃から100℃)まで確実に低下させた上でダクト36及び排気口33から外部に排出することができる。
また、上記(i)(ii)の排ガス噴射作用によって排ガスの排出音(排気音)がダクト36の内面に接触し易くなること、及びエンジン7及び消音器14から発し排風に乗って外部に出ようとする音が排ガスとともにダクト16内で拡散・反射し易くなることにより、外部に排出される運転騒音を低減させることができる。
すなわち、排ガス温度低減効果及び騒音低減効果を公知技術よりも格段に高めることができる。
なお、騒音低減効果をさらに向上させるためにダクト16の内面にグラスウール等の吸音材を設けるのが望ましい。
第1参考例(図6,7参照)
、第参考例については上記実施形態との相違点のみを説明する。
第1参考例においては、第1の相違点として、排気口33が、エンジンルーム28における旋回中心軸Oと反対側であって、上部旋回体22の横向き旋回状態で片側クローラ24の上面に対向する位置で下面壁(アッパーフレーム26)に設けられ、この排気口33の上部にダクト36が設けられるとともに、排気口33に風向部材としての風向板38が設けられている。
この風向板38は、図7に拡大して示すように、混合気をクローラ上面から内側に外れる位置に向けて排出案内するための内向きに傾斜した複数の穴38a…を備え、この穴38a…によって混合気がクローラ24の上面よりも内側に排出案内される。
なお、風向部材として排気口33の外面(アッパーフレーム下面)に、傾斜した複数枚の風向板を設けてもよい。
第2の相違点として、排ガス管35の先端側部分35aが、ダクト36の上方からダクト36内にまっすぐ下向きに挿入され、この挿入部分35aの長さ方向複数個所において全周部分に、排ガスを横向きに噴射する排出穴37…が間隔を置いて設けられている。
なお、この排出穴37…は、図では等径穴を長さ方向及び周方向に等間隔に設けているが、上記実施形態と同様に、排出される排ガス量が挿入部分35aの長さ方向にほぼ均等となるように、排出穴37…の長さ方向間隔(密度)が挿入部分35aの先端に向かって漸次大きくなる(密度が疎になる)状態で設けてもよいし、排出穴37…の大きさを先端に向かって漸次小さくしてもよい。
この第1参考例によると、上記実施形態と同様に、混合気をクローラ上面から外れた位置に排出するため、熱によるゴムクローラの劣化を抑えることができるとともに、排気口33を設ける位置の自由度が高くなるため、機器レイアウトやダクトの形状、配置に関する設計、設置が容易となる。
一方、排ガス管35の先端側部分35aをダクト36の上方から挿入しているため、先端側部分35aをダクト36の側壁に貫通させる必要も、そのための穴を設ける必要もなくなる。このため、排ガス管35及びダクト36の加工、設置が容易となる。
第2参考例
第2参考例においては、金属製クローラが用いられるショベルに適する構成として、第1参考例から風向板38を除去し、混合気が排気口33からそのまま下向き、すなわちクローラ24の上面に向けて排出される構成がとられている。他の構成は第1参考例と同じである。
この構成によると、排気口33を設ける位置の自由度が高くなる点の利点を生かしながら、風向板38が不要となる分、構造が簡単ですむ。
なお、上記実施形態の、排気口33を、横向き旋回状態でクローラ上面から外れる位置でエンジンルーム下面壁に設ける構成と、第、第参考例の、排ガス管先端側部分35aをダクト上方からまっすぐ挿入する構成を組み合わせてもよい。
また、上記実施形態の、排ガス管先端側部分35aをダクト側壁を貫通してダクト36内に挿入する構成と、排気口33を、横向き旋回状態でクローラ上面に対向する位置でエンジンルーム下面壁に設ける構成を組み合わせてもよい。
一方、本発明は油圧ショベルに限らず、エンジンルームを備え、冷却用空気と排ガスをこのエンジンルームから外部に排出する構成をとる他の建設機械にも上記同様に適用することができる。
21 下部走行体
22 上部旋回体
O 旋回中心軸
23 下部走行体のカーボディ
24 同、クローラ
25 クローラ式走行装置
26 アッパーフレーム
27 エンジンガード部材
28 エンジンルーム
29 エンジン
32 吸気口
33 排気口
34 消音器
35 排ガス管
35a 排ガス管の先端側部分(挿入部分)
36 ダクト
37 排出穴
38 風向板

Claims (7)

  1. 下部走行体と、その下部走行体上に旋回自在に搭載された上部旋回体とを備えていて、上記上部旋回体にエンジンルームが設けられ、このエンジンルームは、冷却用の空気を外部から当該エンジンルーム内に導入する吸気口と当該エンジンルーム内からの排風を外部に排出する排気口を備え、上記下部走行体は、上記上部旋回体が搭載されるカーボディと、そのカーボディの左右両側に取り付けられた、クローラを備えたクローラ式走行装置とを有する建設機械において上記エンジンルーム内にダクトが上記排気口と連通して設けられ、上記排風を上記ダクトを通じて上記エンジンルームの外部に排出する一方、上記エンジンの排ガスを排ガス管を通じて外部に排出するように構成された建設機械の排気構造であって
    上記排気口及び上記ダクトの出口は、上記エンジンルームから下向きに開口
    上記排ガス管の先端側部分は、上記ダクト内に挿入されていて、上記排ガスを上記ダクト内で上記排風と混合させて上記排気口から下向きに排出させるように構成され、
    上記排気口は、上記エンジンルームにおける上記上部旋回体の旋回中心側の位置であって上記エンジンルームが左右片側の上記クローラ上に位置する上記上部旋回体の横向き旋回状態において上記左右片側のクローラの上面から上記下部走行体の内側に外れる位置で下向きに開口していることを特徴とする建設機械の排気構造。
  2. 上記排ガス管の上記ダクト内への挿入部分に、排ガスを、上記ダクト内の排風方向と異なる方向に排出する排出穴設けられていることを特徴とする請求項1記載の建設機械の排気構造。
  3. 上記排ガス管の上記ダクト内への挿入部分に排ガスを、上記排ガス管の長さ方向に分散して排出する排出穴が設けられていることを特徴とする請求項1又は2に記載の建設機械の排気構造。
  4. 上記排出穴、上記排ガス管の上記挿入部分における長さ方向の複数個所に設けられ、かつ、上記複数個所の排出穴から排出される排ガス量が上記挿入部分の長さ方向にほぼ均等となるように、排出穴の開口面積が上記排ガス管の挿入部分の先端に向かって漸減する状態で設けられていることを特徴とする請求項記載の建設機械の排気構造。
  5. 上記排ガス管の上記ダクト内への挿入部分に排ガスを、上記排ガス管の周方向に分散して排出する排出穴が設けられていることを特徴とする請求項1〜のいずれか1項に記載の建設機械の排気構造。
  6. 上記排ガス管の先端側部分は、上記ダクトと交差して上記ダクト内に挿入されていることを特徴とする請求項1〜のいずれか1項に記載の建設機械の排気構造。
  7. 記排ガス管の上記ダクト内への挿入部分における上記ダクト内の排風の風下側の半周部分には、排ガスを排出する排出穴が設けられていることを特徴とする請求項記載の建設機械の排気構造。
JP2011157830A 2011-07-19 2011-07-19 建設機械の排気構造 Active JP5886552B2 (ja)

Priority Applications (6)

Application Number Priority Date Filing Date Title
JP2011157830A JP5886552B2 (ja) 2011-07-19 2011-07-19 建設機械の排気構造
KR1020147003849A KR101610561B1 (ko) 2011-07-19 2012-07-11 건설 기계
EP12815232.9A EP2735712B1 (en) 2011-07-19 2012-07-11 Construction machine
US14/233,322 US9027676B2 (en) 2011-07-19 2012-07-11 Construction machine
PCT/JP2012/004486 WO2013011666A1 (ja) 2011-07-19 2012-07-11 建設機械
CN201280035702.2A CN103688030B (zh) 2011-07-19 2012-07-11 工程机械

Applications Claiming Priority (1)

Application Number Priority Date Filing Date Title
JP2011157830A JP5886552B2 (ja) 2011-07-19 2011-07-19 建設機械の排気構造

Publications (2)

Publication Number Publication Date
JP2013024078A JP2013024078A (ja) 2013-02-04
JP5886552B2 true JP5886552B2 (ja) 2016-03-16

Family

ID=47557867

Family Applications (1)

Application Number Title Priority Date Filing Date
JP2011157830A Active JP5886552B2 (ja) 2011-07-19 2011-07-19 建設機械の排気構造

Country Status (6)

Country Link
US (1) US9027676B2 (ja)
EP (1) EP2735712B1 (ja)
JP (1) JP5886552B2 (ja)
KR (1) KR101610561B1 (ja)
CN (1) CN103688030B (ja)
WO (1) WO2013011666A1 (ja)

Families Citing this family (22)

* Cited by examiner, † Cited by third party
Publication number Priority date Publication date Assignee Title
US9180891B2 (en) * 2012-03-30 2015-11-10 Electro-Motive Diesel, Inc. HVAC system for heating and cooling a mobile machine cabin
JP2014163227A (ja) * 2013-02-21 2014-09-08 Kobelco Contstruction Machinery Ltd 建設機械の排気構造
JP6057808B2 (ja) * 2013-03-28 2017-01-11 ヤンマー株式会社 エンジン装置
US9662969B2 (en) 2013-03-28 2017-05-30 Yanmar Co., Ltd. Engine device
JP5812038B2 (ja) * 2013-04-19 2015-11-11 コベルコ建機株式会社 建設機械の排気構造
JP5842887B2 (ja) 2013-09-19 2016-01-13 コベルコ建機株式会社 作業機械
JP5783216B2 (ja) 2013-10-15 2015-09-24 コベルコ建機株式会社 建設機械の排気構造
JP6268927B2 (ja) * 2013-10-30 2018-01-31 コベルコ建機株式会社 建設機械の排気構造
JP5850024B2 (ja) * 2013-10-31 2016-02-03 コベルコ建機株式会社 作業機械
JP5949730B2 (ja) * 2013-11-07 2016-07-13 コベルコ建機株式会社 建設機械の電装品配設構造
US9302579B2 (en) * 2014-05-20 2016-04-05 Deere & Company Flush mounted tractor exhaust outlet
US10377227B2 (en) * 2014-08-21 2019-08-13 Mitsubishi Logisnext Co., LTD. Industrial vehicle
US10072900B2 (en) * 2014-09-16 2018-09-11 Mahle International Gmbh Heat exchanger distributor with intersecting streams
EP4209860B1 (en) * 2017-07-18 2024-05-22 Kubota Corporation Working machine
JP6664558B1 (ja) * 2019-02-04 2020-03-13 三菱電機株式会社 熱交換器、熱交換器を備えた空気調和装置、および熱交換器を備えた冷媒回路
NL1043254B1 (en) * 2019-05-08 2020-11-30 Rior Ind En Handelsonderneming B V Service engine with exhaust cooling
JP7302365B2 (ja) * 2019-08-07 2023-07-04 株式会社豊田自動織機 産業車両
JP7373973B2 (ja) * 2019-11-18 2023-11-06 株式会社小松製作所 作業機械
JP7469962B2 (ja) * 2020-06-01 2024-04-17 日本車輌製造株式会社 建設機械
JP7585185B2 (ja) 2021-12-28 2024-11-18 株式会社クボタ 作業機
WO2022163304A1 (ja) 2021-01-27 2022-08-04 株式会社クボタ 作業機
DE102022110879B3 (de) * 2022-05-03 2023-03-02 Liebherr-Werk Bischofshofen Gmbh Arbeitsmaschine

Family Cites Families (20)

* Cited by examiner, † Cited by third party
Publication number Priority date Publication date Assignee Title
DE575150C (de) * 1932-02-27 1933-04-25 Humboldt Deutzmotoren Akt Ges Kuehlvorrichtung fuer eine auf einem Tragrahmen angeordnete Brennkraftmaschine
JPH0337222U (ja) * 1989-08-23 1991-04-11
JPH03229907A (ja) 1989-11-02 1991-10-11 Komatsu Ltd エンジン室内蔵エンジン吸排気装置
JPH07139369A (ja) * 1993-11-19 1995-05-30 Mitsubishi Heavy Ind Ltd エンクロージャの防音冷却換気構造
JPH11257045A (ja) * 1998-03-13 1999-09-21 Hitachi Constr Mach Co Ltd 建設機械の排気装置
JP2001026944A (ja) * 1999-07-16 2001-01-30 Kobelco Contstruction Machinery Ltd 建設機械の排気系構造
CN1201055C (zh) * 2000-12-01 2005-05-11 日立建机株式会社 建筑机械
JP2002174108A (ja) * 2000-12-07 2002-06-21 Hitachi Constr Mach Co Ltd 作業車両の排気管構造
JP2002285858A (ja) * 2001-03-27 2002-10-03 Asahi Denki Kk 可搬形又は車載形の発電装置
JP2002317631A (ja) * 2001-04-23 2002-10-31 Komatsu Ltd エンジン排気ガス排出装置
US6832872B2 (en) * 2002-11-13 2004-12-21 Blaw-Knox Construction Equipment Corporation Gas discharge device for a construction vehicle
JP2004353461A (ja) * 2003-05-27 2004-12-16 Nishishiba Electric Co Ltd パッケージ型発電装置
JP2005264870A (ja) * 2004-03-19 2005-09-29 Denyo Co Ltd 防音型エンジン駆動作業機
JP4326479B2 (ja) * 2005-01-20 2009-09-09 本田技研工業株式会社 エンジン駆動式作業機
JP4578336B2 (ja) * 2005-05-31 2010-11-10 デンヨー株式会社 エンジン駆動作業機
US8006489B2 (en) * 2006-09-07 2011-08-30 Volvo Group North America, Llc Exhaust diffuser for a vocational truck
JP2009030559A (ja) * 2007-07-30 2009-02-12 Caterpillar Japan Ltd 建設機械における排気構造
JP5292534B2 (ja) * 2007-08-08 2013-09-18 日野自動車株式会社 排気浄化装置
JP5553562B2 (ja) * 2009-09-15 2014-07-16 日野自動車株式会社 排気浄化装置
JP2011106287A (ja) * 2009-11-12 2011-06-02 Yanmar Co Ltd エンジン発電装置

Also Published As

Publication number Publication date
US9027676B2 (en) 2015-05-12
EP2735712A1 (en) 2014-05-28
EP2735712B1 (en) 2016-04-06
WO2013011666A1 (ja) 2013-01-24
CN103688030A (zh) 2014-03-26
KR101610561B1 (ko) 2016-04-07
JP2013024078A (ja) 2013-02-04
EP2735712A4 (en) 2015-05-06
CN103688030B (zh) 2016-01-27
US20140144717A1 (en) 2014-05-29
KR20140048274A (ko) 2014-04-23

Similar Documents

Publication Publication Date Title
JP5886552B2 (ja) 建設機械の排気構造
US9347202B2 (en) Construction machine
JP5699653B2 (ja) 建設機械の冷却構造
JP6530977B2 (ja) 建設機械の吸気構造
JP2013039895A (ja) 建設機械の冷却装置
EP2821608A1 (en) Cooling structure for urea aqueous solution conduit
WO2014065022A1 (ja) エンジン室の換気構造
WO2004113699A1 (ja) 建設機械のエンジンフード,建設機械のエンジンルーム構造及び建設機械の冷却装置
JP5783216B2 (ja) 建設機械の排気構造
JP2012207490A (ja) 建設機械
JP2002192960A (ja) 建設機械のエンジンフード
JP2009030559A (ja) 建設機械における排気構造
US20140301839A1 (en) Construction machine
JP2017160639A (ja) 作業機械の排気装置
JP2008155790A (ja) 作業車両
JP2004353539A (ja) 建設機械のエンジンルーム構造及び建設機械のエンジン冷却装置
JPH11257045A (ja) 建設機械の排気装置
JP6700113B2 (ja) エンジン装置
JP4983040B2 (ja) ホイール式作業機械
JP4436293B2 (ja) 建設機械の吸音ダクト
JP2005125951A (ja) 建設機械のエンジンフード、建設機械のエンジンルーム構造及び建設機械の冷却装置
JP4777221B2 (ja) エンジンルームのダクト構造およびこれを備えた建設機械
JP2011157796A (ja) 建設機械
JP2011021449A (ja) エンジンルームの吸音構造
JP2005307489A (ja) 旋回型作業機械

Legal Events

Date Code Title Description
A621 Written request for application examination

Free format text: JAPANESE INTERMEDIATE CODE: A621

Effective date: 20140611

A131 Notification of reasons for refusal

Free format text: JAPANESE INTERMEDIATE CODE: A131

Effective date: 20150901

A521 Request for written amendment filed

Free format text: JAPANESE INTERMEDIATE CODE: A523

Effective date: 20151102

TRDD Decision of grant or rejection written
A01 Written decision to grant a patent or to grant a registration (utility model)

Free format text: JAPANESE INTERMEDIATE CODE: A01

Effective date: 20160202

A61 First payment of annual fees (during grant procedure)

Free format text: JAPANESE INTERMEDIATE CODE: A61

Effective date: 20160212

R150 Certificate of patent or registration of utility model

Ref document number: 5886552

Country of ref document: JP

Free format text: JAPANESE INTERMEDIATE CODE: R150

R250 Receipt of annual fees

Free format text: JAPANESE INTERMEDIATE CODE: R250

R250 Receipt of annual fees

Free format text: JAPANESE INTERMEDIATE CODE: R250

R250 Receipt of annual fees

Free format text: JAPANESE INTERMEDIATE CODE: R250

R250 Receipt of annual fees

Free format text: JAPANESE INTERMEDIATE CODE: R250

R250 Receipt of annual fees

Free format text: JAPANESE INTERMEDIATE CODE: R250

R250 Receipt of annual fees

Free format text: JAPANESE INTERMEDIATE CODE: R250