JP5489698B2 - インシュレータ、回転電機および回転電機の製造方法 - Google Patents

インシュレータ、回転電機および回転電機の製造方法 Download PDF

Info

Publication number
JP5489698B2
JP5489698B2 JP2009290689A JP2009290689A JP5489698B2 JP 5489698 B2 JP5489698 B2 JP 5489698B2 JP 2009290689 A JP2009290689 A JP 2009290689A JP 2009290689 A JP2009290689 A JP 2009290689A JP 5489698 B2 JP5489698 B2 JP 5489698B2
Authority
JP
Japan
Prior art keywords
insulator
split
stator core
stator
divided
Prior art date
Legal status (The legal status is an assumption and is not a legal conclusion. Google has not performed a legal analysis and makes no representation as to the accuracy of the status listed.)
Expired - Fee Related
Application number
JP2009290689A
Other languages
English (en)
Other versions
JP2011135640A (ja
Inventor
康浩 遠藤
知彦 宮本
英治 山田
常治 吉村
正雄 奥村
利博 木村
Current Assignee (The listed assignees may be inaccurate. Google has not performed a legal analysis and makes no representation or warranty as to the accuracy of the list.)
Toyota Motor Corp
Matsuo Industries Inc
Original Assignee
Toyota Motor Corp
Matsuo Industries Inc
Priority date (The priority date is an assumption and is not a legal conclusion. Google has not performed a legal analysis and makes no representation as to the accuracy of the date listed.)
Filing date
Publication date
Application filed by Toyota Motor Corp, Matsuo Industries Inc filed Critical Toyota Motor Corp
Priority to JP2009290689A priority Critical patent/JP5489698B2/ja
Publication of JP2011135640A publication Critical patent/JP2011135640A/ja
Application granted granted Critical
Publication of JP5489698B2 publication Critical patent/JP5489698B2/ja
Expired - Fee Related legal-status Critical Current
Anticipated expiration legal-status Critical

Links

Images

Classifications

    • YGENERAL TAGGING OF NEW TECHNOLOGICAL DEVELOPMENTS; GENERAL TAGGING OF CROSS-SECTIONAL TECHNOLOGIES SPANNING OVER SEVERAL SECTIONS OF THE IPC; TECHNICAL SUBJECTS COVERED BY FORMER USPC CROSS-REFERENCE ART COLLECTIONS [XRACs] AND DIGESTS
    • Y02TECHNOLOGIES OR APPLICATIONS FOR MITIGATION OR ADAPTATION AGAINST CLIMATE CHANGE
    • Y02TCLIMATE CHANGE MITIGATION TECHNOLOGIES RELATED TO TRANSPORTATION
    • Y02T10/00Road transport of goods or passengers
    • Y02T10/60Other road transportation technologies with climate change mitigation effect
    • Y02T10/64Electric machine technologies in electromobility

Landscapes

  • Iron Core Of Rotating Electric Machines (AREA)
  • Insulation, Fastening Of Motor, Generator Windings (AREA)
  • Manufacture Of Motors, Generators (AREA)

Description

本発明は、インシュレータ、回転電機および回転電機の製造方法に関する。
従来から各種回転電機が提案されており、たとえば、特開2008-220093号公報、特開平06-205557号公報、特開2007-259555号公報、特開2009-077468号公報などには、最近の典型的な回転電機が提案されている。
このような回転電機のステータコアには、コイルと、ステータコアおよびコイル間の絶縁性を確保するインシュレータとが装着されている。
たとえば、特開2002−101590号公報に記載されたインシュレータは、電動機固定子鉄心の各ティース部に軸方向に分割されている。
特開2008-220093号公報 特開平06-205557号公報 特開2007-259555号公報 特開2009-077468号公報 特開2002−101590号公報
従来のインシュレータは、ステータティースを受け入れる筒部が形成されており、この筒部の先端部には、コイルを支持する張出部が形成されている。
既に環状に巻回されたコイルに従来のインシュレータを装着する際には、まず、筒部の先端部を狭めて、コイル内に挿入する。そして、筒部にかけている負荷を取り除くことで、張出部がコイルの端面と係合し、コイルにインシュレータが装着される。
このようなインシュレータにおいては、筒部の先端部から大きく張り出すように張出部を形成すると、コイルにインシュレータを装着する際に、筒部の先端部を大きく変形させる必要が生じる。インシュレータの先端部を大きく変形させると、インシュレータが損傷するおそれがある。
このため、従来のインシュレータにおいては、張出部の張り出し量は小さくなっていた。このように、張出部の張り出し量が小さいと、張出部がコイルの端面を十分に支持することができず、コイルが脱落するおそれがあった。
本発明は、上記のような課題に鑑みてなされた発明であって、その目的は、損傷を抑制することができると共に、コイルを良好に保持することができるインシュレータ、およびこのインシュレータを備えた回転電機およびこの回転電機の製造方法を提案することである。
本発明に係るインシュレータは、ステータヨークおよびステータヨークの周面から突出するステータティースを含むステータコアに装着されるインシュレータである。上記ステータティースが挿入される穴部が形成された板部、および板部から突出するように形成され、ステータティースを受け入れ可能なティース受入部を含む第1分割インシュレータと、第1分割インシュレータに配置されたコイルに対して、第1分割インシュレータと反対側に配置され、第1分割インシュレータと協働して、コイルを固定可能な第2分割インシュレータとを備える。
好ましくは、上記第2分割インシュレータは、コイルの端面を押圧する押圧部と、押圧部に形成され、ステータコアと係合する脚部とを含む。
好ましくは、上記押圧部は、コイルの端面の一方の軸方向端部から他方の軸方向端部に亘って延びるように形成される。
好ましくは、上記ステータティースは、ステータコアの軸方向に配列する第1軸方向端面と、第2軸方向端面とを含む。第2分割インシュレータは、第1軸方向端面側に配置される第1端部側固定部材と、第1端部側固定部材から軸方向に間隔をあけて設けられ、第2軸方向端面側に配置される第2端部側固定部材とを含む。
好ましくは、上記脚部は、ステータコアの第1軸方向端面上に配置され、ステータコアと係合する第1脚部と、ステータコアの第2軸方向端面上に配置され、ステータコアと係合する第2脚部とを含む。上記第1分割インシュレータは、ティース受入部に形成され、第1脚部が挿入される第1挿入部と、第2脚部が挿入される第2挿入部とを含む。
好ましくは、上記第2分割インシュレータは、コイルの端面を押圧する押圧部と、押圧部に形成された脚部とを含む。上記第1分割インシュレータは、脚部と係合可能な第1係合部と、ステータコアと係合可能な第2係合部とを含む。
本発明に係る回転電機は、ステータヨークおよびステータヨークの周面に形成されたステータティースを含むステータコアと、ステータティースが挿入される穴部が形成された板部、および板部から突出するように形成され、ステータティースを受け入れ可能なティース受入部を含む第1分割インシュレータと、第1分割インシュレータに配置されたコイルと、コイルに対して、第1分割インシュレータと反対側に配置され、第1分割インシュレータと協働して、コイルを固定可能な第2分割インシュレータとを備える。
好ましくは、上記第1分割インシュレータは、ステータコアに一体的に形成される。好ましくは、上記コイルは、内側巻線と、内側巻線の外周上に配置された外側巻線とを含む。
本発明に係る回転電機の製造方法は、複数配列することで環状のステータヨークを規定する分割ヨークと、分割ヨークの周面から突出するように形成されたステータティースとを含む分割ステータコアを準備する工程と、ステータティースが挿入される穴部が形成された板部、および板部から突出するように形成され、ステータティースを受け入れ可能なティース受入部を含む第1分割インシュレータを、分割ステータコアに装着する工程と、第1分割インシュレータにコイルを装着する工程と、第1分割インシュレータに装着されたコイルに対して、第1分割インシュレータと反対側から第2分割インシュレータを装着して、コイルを固定する工程とを備える。
好ましくは、上記第1分割インシュレータに絶縁紙を装着する工程をさらに備える。
本発明に係るインシュレータ、回転電機および回転電機の製造方法によれば、インシュレータの損傷を抑制することができると共に、コイルを良好に固定させることができる。
本発明の実施の形態1に係る回転電機の概略構成を示す側断面図である。 回転中心線O方向から平面視したステータ140の平面図である。 U相コイル180Uおよび分割ステータコア175等を含むブロック200の斜視図である。 図3に示すU相コイル180Uおよび分割ステータコア175等を含むブロック200の分解斜視図である。 図3に示すV−V線における断面図である。 本実施の形態2に係るインシュレータ400を含むブロック200の斜視図である。 図6に示すブロック200の分解斜視図である。 本実施の形態3に係る回転電機のステータを構成するブロックの分解斜視図である。 ブロックの一部断面図である。 係止部材395およびその周囲の構成を示す平面図である。 ブロックの断面図である。 本実施の形態3に係るインシュレータの変形例を示す分解斜視図である。
(実施の形態1)
図1は、本発明の実施の形態1に係る回転電機の概略構成を示す側断面図である。この図1に示すように、回転電機100は、回転中心線Oを中心に回転可能に支持された回転シャフト110と、この回転シャフト110に固設され、回転シャフト110と共に回転可能に設けられたロータ120と、このロータ120の周囲に設けられた環状のステータ140とを備えている。この回転電機100は、典型的には、ハイブリッド車両に搭載され、車輪を駆動する駆動源やエンジン等の動力によって電気を発電する発電機として機能する。さらには、電気自動車等にも搭載可能であり、車輪を駆動する駆動源としても利用される。
ロータ120は、複数の電磁鋼板等を積層して構成されたロータコア125と、ロータコア125に形成された磁石挿入孔126内に挿入された永久磁石123と、ロータコア125の軸方向の端面に設けられたエンドプレート122とを備えている。永久磁石123は、磁石挿入孔126内に充填された樹脂124によって固定されている。
ステータ140は、環状に形成されており、ロータ120の周囲を取り囲むように環状に形成されたステータコア141と、このステータコア141に装着されたU相コイル180U,V相コイル180V,W相コイル180Wとを備えている。このステータ140(ステータコア141)の軸方向端面177,178には、絶縁性のモールド樹脂172が形成されている。このモールド樹脂172は、たとえばBMC(Bulk Molding Compound)、エポキシ樹脂といった熱硬化性樹脂やPPS(Polyphenylene Sulfide)、PBT(Polybutylene Terephthalate)などの熱可塑性樹脂等により構成されている。
図2は、回転中心線O方向から平面視したステータ140の平面図である。なお、この図2においては、モールド樹脂172が省略されている。
この図2に示すように、ステータ140は、ステータコア141を含み、ステータコア141は、環状に形成されたステータヨーク142と、このステータヨーク142の内周面に形成された複数のステータティースとを含む。
さらに、ステータ140は、ステータティースに装着された複数のU相コイル180U、V相コイル180V,W相コイル180Wを含む。
ステータコア141は、回転中心線Oを中心に環状に複数配列された分割ステータコア175を備えており、各分割ステータコア175には、それぞれ、U相コイル180U、V相コイル180V,W相コイル180Wのいずれかのコイルが装着されている。そして、ステータ140の周方向に沿って、U相コイル180U、V相コイル180V,W相コイル180Wが順次配列しており、各U相コイル180U同士、V相コイル180V同士、W相コイル180W同士は、それぞれ、間隔を隔て配置されている。
ここで、隣り合うU相コイル180U同士は、渡線154Uによって接続されており、V相コイル180V同士は、渡線154Vによって接続され、さらに、W相コイル180W同士は、渡線154Wによって接続されている。
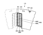
図3は、U相コイル180Uおよび分割ステータコア175等を含むブロック200の斜視図であり、図4は、上記図3に示すU相コイル180Uおよび分割ステータコア175等を含むブロック200の分解斜視図である。
図3において、ブロック200は、分割ステータコア175と、絶縁紙330と、U相コイル180Uと、インシュレータ400とを含む。図4において、分割ステータコア175は、分割ヨーク370と、この分割ヨーク370の周面から突出するように形成されたステータティース371とを含む。分割ヨーク370が環状に配列することで、図2に示す環状のステータヨーク142が形成される。
分割ステータコア175は、図1に示す回転中心線O方向に配列する軸方向端面372および軸方向端面373とを含む。複数の分割ステータコア175が環状に配列することで、環状に配列する軸方向端面372によって、図1に示す軸方向端面177が形成され、環状に配列する軸方向端面373によって、図1に示す軸方向端面178が形成される。
図3に示すインシュレータ400は、図4に示す第1分割インシュレータ350と、第2分割インシュレータ300とを含む。
第1分割インシュレータ350および第2分割インシュレータ300は、いずれも、PPS(ポリフェニレンサルファイド)樹脂やLCP(液晶ポリマー)樹脂等の絶縁材料によって形成されている。
第1分割インシュレータ350は、分割ステータコア175のステータティース371に装着される。第1分割インシュレータ350は、分割ヨーク370の内周面に当接し、ステータティース371が挿入される穴部352aが形成された板部351と、この板部351から突出するように形成され、ステータティース371を受け入れ可能なティース受入部352とを含む。板部351は、平板状に形成されており、分割ステータコア175の分割ヨーク370の内周面と当接している。ティース受入部352は、筒状に形成されており、板部351に形成された穴部352aと連通している。
第1分割インシュレータ350上には、絶縁紙330が装着されている。絶縁紙330は、絶縁材料によって形成されている。絶縁紙330は環状に形成されており、ステータティース371およびティース受入部352が挿入される穴部331が形成されている。
そして、絶縁紙330が装着された第1分割インシュレータ350にU相コイル180Uが装着されている。U相コイル180Uは、コイル線を巻回することで構成されており、筒状に形成されている。
本実施の形態に係る回転電機においては、コイルとして、2層コイルが採用されている。具体的には、U相コイル180Uは、内側巻線180Aと、この内側巻線180Aの外側に配置された外側巻線180Bとを含む。
第2分割インシュレータ300は、U相コイル180Uに対して、第1分割インシュレータ350と反対側に配置されている。第2分割インシュレータ300は、分割ステータコア175と係合する脚部303および脚部304を含む。
この図4に示す例においては、分割ステータコア175が第2分割インシュレータ300と直接係合しているが、これに限られない。たとえば、第1分割インシュレータ350を分割ステータコア175に係合させ、第2分割インシュレータ300を第1分割インシュレータ350に係合させて、間接的に第2分割インシュレータ300を分割ステータコア175に係合するようにしてもよい。
第2分割インシュレータ300が直接的または間接的に分割ステータコア175と係合することで、第2分割インシュレータ300は、第1分割インシュレータ350と協働して、U相コイル180Uを分割ステータコア175に固定する。
インシュレータ400によれば、第1分割インシュレータ350を分割ステータコア175に装着した後、U相コイル180Uを第1分割インシュレータ350に装着する。その後、第2分割インシュレータ300を分割ステータコア175に係合させることで、U相コイル180Uを分割ステータコア175に固定することができる。
このため、U相コイル180Uを固定する際に、インシュレータ400の一部を変形させる必要がなく、インシュレータ400の損傷が抑制されている。
インシュレータ400によれば、U相コイル180Uを固定する過程において、U相コイル180Uの端面を支持する第2分割インシュレータ300をU相コイル180Uの穴部内を通す必要がない。このため、第2分割インシュレータ300は、U相コイル180Uの端面を支持するために必要な大きさを確保することができる。第2分割インシュレータ300は、U相コイル180Uの端面の略全面を支持することができ、U相コイル180Uの脱落を抑制することができる。
本実施の形態1に係るインシュレータ400においては、第2分割インシュレータ300は、環状に形成されると共に板状に形成された押圧部302を含む。
U相コイル180Uは、ステータ140の径方向に配列する外端面と内端面とを含み、押圧部302は、U相コイル180Uの内端面を支持している。押圧部302は、U相コイル180Uの内端面の一方の軸方向端部から他方の軸方向端部に亘って延びるように形成されている。このため、押圧部302は、U相コイル180Uの内端面の略全面を支持可能とされ、内側巻線180Aおよび外側巻線180Bを支持することができる。押圧部302には、ティース受入部352およびステータティース371を受け入れ可能な穴部が形成されている。
脚部303および脚部304は、押圧部302に形成された穴部の開口縁部に連設されている。
脚部303および脚部304は、回転中心線O方向に間隔をあけて設けられている。脚部303の端部には、爪部305が形成されており、脚部304の端部には、爪部306が形成されている。
分割ヨーク370の外周面には、溝部374が形成されている。溝部374は、分割ヨーク370の外周面の周方向中央部に位置しており、回転中心線O方向に延びている。
脚部303に形成された爪部305および脚部304に形成された爪部306が溝部374と係合することで、第2分割インシュレータ300が分割ステータコア175と係合する。
第1分割インシュレータ350のティース受入部352には、挿入部353および挿入部354が形成されている。挿入部353は、軸方向端面372側に位置するティース受入部352の端面に形成されており、ティース受入部352の端面から上方に突出するように形成されている。挿入部354は、軸方向端面373側に位置するティース受入部352の端面に形成されており、ティース受入部352の端面から突出するように形成されている。
第1分割インシュレータ350にU相コイル180Uが装着されると、ティース受入部352、挿入部353および挿入部354は、U相コイル180Uの穴部内に挿入される。挿入部353は、溝部を規定しており、挿入部353が規定する溝部の開口部は、ティース受入部352内に向けて開口している。
同様に、挿入部354も溝部を規定しており、挿入部354によって規定された溝部の開口部は、ティース受入部352内に向けて開口している。
そして、第1分割インシュレータ350が分割ステータコア175に装着されることで、挿入部353と分割ステータコア175の軸方向端面372とによって、脚部303を挿入可能な通路が規定される。また、分割ステータコア175の軸方向端面373と、挿入部354とによって、脚部304を挿入可能な通路が規定される。
絶縁紙330に形成された穴部331の開口縁部には、凹部332および凹部333が形成されている。凹部332は、穴部331の開口縁部のうち、軸方向端面372側に位置する辺部に形成されており、脚部303および挿入部353を受け入れ可能とされている。
凹部333は、穴部331の開口縁部のうち、軸方向端面373側に位置する辺部に形成されており、脚部304および挿入部354を受け入れ可能とされている。
そして、第2分割インシュレータ300を分割ステータコア175に装着すると、脚部303は、U相コイル180Uの穴部、凹部332、および挿入部353を通って、溝部374に達するように配置される。この際、脚部303は、分割ステータコア175の軸方向端面372上に配置される。
また、脚部304は、U相コイル180Uの穴部、凹部333、および挿入部354を通って、溝部374に達するように配置される。この際、脚部304は、分割ステータコア175の軸方向端面373上に配置される。
このように、第2分割インシュレータ300を分割ステータコア175に装着する際には、脚部303および脚部304は、挿入部353および挿入部354によって案内される。これにより、脚部303および脚部304が屈曲等して、損傷することが抑制されている。
脚部303と脚部304とは互いに回転中心線O方向に間隔をあけて設けられているため、第2分割インシュレータ300は、良好に分割ステータコア175に固定される。
なお、脚部303と脚部304とは、押圧部302から先端部に向かうにつれて、互いに近接するように形成されている。脚部303および脚部304間にステータティース371が挿入されると、脚部303および脚部304は、ステータティース371によって互いに離れるように押しのけられる。これにより、脚部303および脚部304には、互いに近接しようとする付勢力が生じる。このため、爪部305および爪部306が溝部374と良好に係合することができる。
押圧部302の上端部には、保持部材301が形成されている。この保持部材301には、複数の溝部が間隔をあけて形成されており、各溝部内には、図2に示す渡線154V,154Wが挿入される。第1分割インシュレータ350が分割ステータコア175に装着されると、板部351の上端部は、軸方向端面372から突出するように形成されている。板部351の上端部には、凹部(支持部)356が形成されている。
保持部材301は、押圧部302からステータ140の径方向外方に向けて延びており、保持部材301の端部は、第1分割インシュレータ350に形成された凹部356にはめ込まれ、板部351によって支持されている。
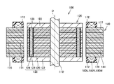
図5は、図3に示すV−V線における断面図である。この図5に示すように、U相コイル180Uの内周面と、ステータティース371との間にはティース受入部352が配置されている。U相コイル180Uの径方向外方側の端面と、分割ヨーク370との間には、板部351と絶縁紙330とが配置されている。これにより、U相コイル180Uと分割ステータコア175との間の絶縁性が確保されている。
さらに、図3および図5に示すように、U相コイル180Uの側面は、絶縁紙330によって覆われており、隣り合うコイル同士の絶縁性が確保されている。
第2分割インシュレータ300は、分割ステータコア175に係合することで、U相コイル180Uの径方向内方側の端面を押圧しており、U相コイル180Uを分割ステータコア175に固定している。
なお、図3から図5を用いて、U相コイル180Uが装着された分割ステータコア175について説明したが、V相コイル180Vが装着された分割ステータコア175およびW相コイル180Wが装着された分割ステータコア175においてもU相コイル180Uが装着された分割ステータコア175と同様に構成されている。
そして、ステータ140は、U相コイル180Uが装着された分割ステータコア175、V相コイル180Vが装着された分割ステータコア175およびW相コイル180Wが装着された分割ステータコア175を順次環状に配列することで構成されている。
上記のように構成された回転電機100の製造方法について説明する。回転電機100は、ケースにステータ140を装着し、このステータ140内にロータ120を配置することで構成される。
ステータ140を組み立てるには、まず、図4に示す分割ステータコア175を準備する。分割ステータコア175は、たとえば、円盤状に形成された回転テーブル上に配置される。分割ステータコア175は、ステータティース371が上方に向けて突出するように配置するのが好ましい。
そして、準備された分割ステータコア175の上方から第1分割インシュレータ350を装着する。この際、第1分割インシュレータ350のティース受入部352内に、ステータティース371を挿入する。
分割ステータコア175に第1分割インシュレータ350が装着されると、回転テーブルが所定角度回転する。
そして、第1分割インシュレータ350が装着された分割ステータコア175に絶縁紙330が装着される。その後、回転テーブルが所定角度回転し、第1分割インシュレータ350および絶縁紙330が装着された分割ステータコア175が搬送される。
そして、第1分割インシュレータ350および絶縁紙330が装着された分割ステータコア175に、U相コイル180Uが装着される。具体的には、ティース受入部352の周囲を取り囲むように、U相コイル180Uが配置される。
このように、U相コイル180Uが装着された後、回転テーブルが所定角度回転する。そして、第2分割インシュレータ300が、分割ステータコア175に装着される。この際、分割ステータコア175の軸方向端面372と挿入部353とによって脚部303を受け入れ可能な挿入通路が形成されている。この挿入通路は、分割ステータコア175の外周縁部にまで達している。
そして、第2分割インシュレータ300が装着されることで、脚部303が上記挿入通路内に挿入され、爪部305が溝部374と係合する。
挿入部354と軸方向端面373とによって脚部304を受け入れ可能な挿入通路が形成されている。そして、第2分割インシュレータ300が装着されることで、脚部304が軸方向端面373と挿入部354とによって形成された挿入通路内に挿入される。そして、爪部306が溝部374と係合する。
このようにして、第2分割インシュレータ300が分割ステータコア175と係合する。爪部305および爪部306が溝部374と係合すると、押圧部302は、U相コイル180Uの端面を分割ステータコア175に向けて押圧し、U相コイル180Uが分割ステータコア175に固定される。
押圧部302は、U相コイル180Uの端面の略全面を支持し、U相コイル180Uの脱落を抑制している。保持部材301の自由端は、凹部356に受け入れられると共に、板部351によって支持される。
このようにして、図3に示すように、分割ステータコア175と、第1分割インシュレータ350と、絶縁紙330と、U相コイル180Uと、第2分割インシュレータ300とが一体化されたブロック200が構成される。
そして、このブロック200を環状に配列する。環状に配列された複数のブロック200の外周面に環状の固定部材を焼き嵌め、または、圧入する。環状の固定部材を装着することで、各ブロック200が環状に配列した状態で固定され、ステータが構成される。
その後、モータケースにステータを固定し、さらに、ロータを装着することで、回転電機100を組み立てることができる。
本実施の形態に係る回転電機100の製造方法によれば、ブロック200を構築する際に、分割ステータコア175を配置した後、第1分割インシュレータ350、絶縁紙330、U相コイル180Uおよび第2分割インシュレータ300を順次組み付けることでブロック200を構成することができる。このため、ブロック200を製造ライン上に乗せることができ、ブロック200の製造コストの低減および製造時間の短縮を図ることができる。
さらに、ブロック200を構築する過程において、インシュレータを変形させる必要がなく、インシュレータ400の損傷を抑制することができる。
(実施の形態2)
図6および図7を用いて、本発明の実施の形態2に係るインシュレータ、回転電機および回転電機の製造方法について説明する。
なお、図6および図7に示す構成のうち、上記図1から図5に示す構成と同一または相当する構成については、同一の符号を付してその説明を省略する。
図6は、本実施の形態2に係るインシュレータ400を含むブロック200の斜視図であり、図7は、上記図6に示すブロック200の分解斜視図である。
この図6および図7に示すように、インシュレータ400は、ステータティース371に装着される第1分割インシュレータ350と、第1分割インシュレータ350と協働して、U相コイル180Uを固定する第2分割インシュレータ320とを含む。第2分割インシュレータ320は、U相コイル180Uの内端面側に配置されている。
第2分割インシュレータ320は、軸方向端面372側に配置される第1端部側固定部材321と、軸方向端面373側に配置される第2端部側固定部材322とを含む。
第1端部側固定部材321は、押圧部307と、この押圧部307から突出するように形成された脚部303と、この脚部303の端部に形成された爪部305とを含む。
脚部303は挿入部353と軸方向端面372とによって規定された挿入通路内に挿入されており、爪部305は、溝部374と係合している。
これにより、第1端部側固定部材321は分割ステータコア175と係合し、第1端部側固定部材321が分割ステータコア175と係合することで押圧部307がU相コイル180Uの内端面を支持する。
同様に、第2端部側固定部材322は、押圧部308と、この押圧部308から突出するように形成された脚部304と、この脚部304の先端部に形成された爪部306とを含む。第2端部側固定部材322の爪部306が溝部374と係合することで、第2端部側固定部材322が分割ステータコア175と係合する。第2端部側固定部材322が分割ステータコア175と係合することで、押圧部308がU相コイル180Uの内端面を支持する。
押圧部307および押圧部308は、いずれも、U相コイル180Uの内側巻線および外側巻線を支持可能な程度の大きさとされている。なお、第1端部側固定部材321および第2端部側固定部材322は、小さな部品であり、材料コストの低減を図ることができる。
本実施の形態2に係るインシュレータにおいても、内側巻線のみならず外側巻線をも押圧部が支持することができ、U相コイル180Uを良好に分割ステータコア175に固定することができる。
そして、回転電機100は、ステータとロータとを含み、ステータは、環状に配列する複数のブロック200によって形成されている。
図6に示すブロック200を組み立てるには、まず、分割ステータコア175を、たとえば、回転テーブル上に配置する。この際、たとえば、分割ステータコア175はステータティース371が上方に向けて突出するように配置される。
そして、第1分割インシュレータ350、絶縁紙330、U相コイル180Uおよび第2分割インシュレータ320を順次装着する。このようにして、図6に示すブロック200を組み立てることができる。
(実施の形態3)
図8から図11を用いて、本実施の形態3に係るインシュレータ、回転電機、および回転電機の製造方法について説明する。なお、図8から図11に示す構成のうち、上記図1から図7に示す構成と同一または相当する構成については、同一の符号を付してその説明を省略する場合がある。
図8は、本実施の形態に係る回転電機のステータを構成するブロックの分解斜視図である。この図8に示すように、ブロックは、分割ステータコア175と、第1分割インシュレータ350と、絶縁紙330と、U相コイル180Uと、第2分割インシュレータ360とを含む。
インシュレータは、第1分割インシュレータ350と、第2分割インシュレータ360とを含む。第1分割インシュレータ350は、分割ステータコア175と係合し、第2分割インシュレータ360は、第1分割インシュレータ350と係合している。
このため、第2分割インシュレータ360は、第1分割インシュレータ350を介して、分割ステータコア175と係合している。
第2分割インシュレータ360は、板状に形成され、U相コイル180Uの内端面を支持可能な押圧部302と、押圧部302から突出する脚部380,381および脚部382,383が形成されている。
脚部380,381は、軸方向端面372側に配置されており、脚部382,383は、軸方向端面373側に配置されている。
脚部380と脚部381とは、互いに間隔をあけて配置されており、脚部382および脚部383も互いに間隔をあけて配置されている。
図9は、ブロックの一部断面図であり、軸方向端面372を平面視している。この図9および図8に示すように、第1分割インシュレータ350のティース受入部352の一方の軸方向端面には、係止部材395が形成され、他方の軸方向端面には、係止部材396が形成されている。
そして、係止部材395には、脚部380および脚部381が係合している。同様に、係止部材396には、脚部382および脚部383が係合している。
図10は、係止部材395およびその周囲の構成を示す平面図である。この図10に示すように、脚部380の先端部には、爪部384が形成され、脚部381の先端部にも、爪部385が形成されている。
係止部材395には、爪部384,385を係止する係止部386,387が形成されている。そして、脚部380と、係止部386とが互いに係合すると共に、脚部381と係止部387とが互いに係合する。同様に、図8に示す脚部382および脚部383と係止部材396とが係合することで、第2分割インシュレータ360と第1分割インシュレータ350とが互いに結合されている。
図11は、ブロックの断面図である。この図11に示すように、分割ステータコア175の軸方向端面372には、爪部390が形成され、軸方向端面373には爪部391が形成されている。
分割ステータコア175は、複数の電磁鋼鈑を積層することで構成されている。爪部390は、軸方向端面372を規定する電磁鋼鈑の一部を切り欠き、この切りかかれた切欠部を反り返らせることで形成されている。
同様に、爪部391は、軸方向端面373を規定する電磁鋼鈑の一部を切り欠き、この切欠部を反り返らせることで形成されている。
ステータ140を組み立てた際に、ステータ140の径方向外方側に位置する爪部390および爪部391の端部は、自由端とされており、軸方向端面372および軸方向端面373から突出している。
このように、爪部390,391は、径方向内方から径方向外方に向かうにしたがって、軸方向端面372,373から離れるように形成されている。その一方で、ロータ120の径方向内方側に位置する爪部390および爪部391の端部は、軸方向端面372および軸方向端面373を規定する電磁鋼鈑に連設されている。
係止部材395の径方向外側には、支持部397が形成されており、係止部材396の径方向外側には、支持部398が形成されている。
そして、図8および図11において、支持部397は爪部390によって係止されると共に、分割ステータコア175の外周面側に向けて押圧されている。支持部398は爪部391によって係止されると共に、分割ステータコア175の外周面に向けて押圧されている。このため、第1分割インシュレータ350は、分割ヨーク370の内周面に押圧されている。
本実施の形態3に係る回転電機の製造方法について、図8および図11を用いて説明する。分割ステータコア175を、たとえば、回転テーブル上に配置する。この際、ステータティース371が上方に向けて突出するように配置する。
そして、分割ステータコア175に第1分割インシュレータ350を装着する。この際、爪部390,391は、軸方向端面372,373の先端部側から分割ヨーク370の外周面側に向かうにしたがって、軸方向端面372,373から離れるように湾曲している。
このため、第1分割インシュレータ350を装着する際には、図11に示す第1分割インシュレータ350の支持部397,398が爪部390,391を軸方向端面372,373に押さえつける。
そして、支持部397,398が、爪部390,391上を通過すると、爪部390,391が通常の状態に戻り、支持部397,398が爪部390,391によって支持される。これにより、分割ステータコア175および第1分割インシュレータ350が互いに連結される。
その後、絶縁紙330、U相コイル180U、第2分割インシュレータ360を順次、分割ステータコア175に装着する。これにより、第2分割インシュレータ360と第1分割インシュレータ350とが連結され、U相コイル180Uが固定される。
なお、第2分割インシュレータ360の押圧部302も、U相コイル180Uの内端面の略全面を支持可能とされている。
そして、第2分割インシュレータ360を分割ステータコア175に装着することで、ブロックを組み立てることができる。
そして、複数のブロックを環状に配列し、各ブロックを環状に配列した状態で固定することでステータを組み立てることができる。そして、組み立てられたステータをモータケースに固定し、ロータを組み付けることで回転電機を構築することができる。なお、本実施の形態3に係る回転電機の製造方法は、上記の例に限られない。
本実施の形態3に係るインシュレータ400においては、第1分割インシュレータ350と第2分割インシュレータ360とを互いに組み付けることができるので、第1分割インシュレータ350と絶縁紙330と、U相コイル180Uと第2分割インシュレータ360と一体化することができる。そして、このユニットを分割ステータコア175に装着することでブロックを組み立てることができる。このようにして、ステータおよび回転電機を組み立てることができる。
図12は、本実施の形態3に係るインシュレータの変形例を示す分解斜視図である。この図12に示すように、第1分割インシュレータ450は、分割ステータコア175に一体化されている。このような分割ステータコア175は、たとえば、インサート成形等により形成することができる。
そして、回転電機を組み立てる際には、第1分割インシュレータ450が一体的に形成された分割ステータコア175に絶縁紙330を装着する。その後、順次U相コイル180Uおよび第2分割インシュレータ360を組み付ける。
これにより、ブロックを組み立てる際の工程数を低減することができ、短時間でブロックを組み立てることができる。
以上のように本発明の実施の形態について説明を行なったが、今回開示された実施の形態はすべての点で例示であって制限的なものではないと考えられるべきである。本発明の範囲は特許請求の範囲によって示され、特許請求の範囲と均等の意味および範囲内でのすべての変更が含まれることが意図される。さらに、上記数値などは、例示であり、上記数値および範囲にかぎられない。
本発明は、インシュレータ、回転電機および回転電機の製造方法に好適である。
100 回転電機、110 回転シャフト、120 ロータ、122 エンドプレート、123 永久磁石、124 樹脂、125 ロータコア、126 磁石挿入孔、140 ステータ、141 ステータコア、142 ステータヨーク、175 分割ステータコア、177,178 軸方向端面、180A 内側巻線、180B 外側巻線、200 ブロック、300,320 第2分割インシュレータ、301 保持部材、302 押圧部、303,304 脚部、305,306 爪部、307,308 押圧部、321,322 端部側固定部材、330 絶縁紙、331 穴部、350 第1分割インシュレータ、351 板部、352 ティース受入部、352a 穴部、353 挿入部、354 挿入部、356 凹部、360 第2分割インシュレータ、370 分割ヨーク、371 ステータティース、372,373 軸方向端面、380,381 脚部、384,385 爪部、386,387 係止部。

Claims (7)

  1. ステータヨークおよび前記ステータヨークの周面から突出するステータティースを含むステータコアに装着されるインシュレータであって、
    前記ステータティースが挿入される穴部が形成された板部、および前記板部から突出するように形成され、前記ステータティースを受け入れ可能なティース受入部を含む第1分割インシュレータと、
    前記第1分割インシュレータに配置されたコイルに対して、前記第1分割インシュレータと反対側に配置され、前記第1分割インシュレータと協働して、前記コイルを固定可能な第2分割インシュレータとを備え
    前記第2分割インシュレータは、前記コイルの端面を押圧する押圧部と、前記押圧部に形成され、前記ステータコアと係合する脚部とを含み、
    前記脚部は、前記ステータコアの第1軸方向端面上に配置され、前記ステータコアと係合する第1脚部と、前記ステータコアの第2軸方向端面上に配置され、前記ステータコアと係合する第2脚部とを含み、
    前記第1分割インシュレータは、前記ティース受入部に形成され、前記第1脚部が挿入される第1挿入部と、前記第2脚部が挿入される第2挿入部とを含む、インシュレータ。
  2. 前記押圧部は、前記コイルの端面の一方の軸方向端部から他方の軸方向端部に亘って延びるように形成された、請求項1に記載のインシュレータ。
  3. 前記ステータティースは、前記ステータコアの軸方向に配列する第1軸方向端面と、第2軸方向端面とを含み、
    前記第2分割インシュレータは、前記第1軸方向端面側に配置される第1端部側固定部材と、前記第1端部側固定部材から前記軸方向に間隔をあけて設けられ、前記第2軸方向端面側に配置される第2端部側固定部材とを含む、請求項に記載のインシュレータ。
  4. ステータヨークおよび前記ステータヨークの周面に形成されたステータティースを含む
    ステータコアと、
    前記ステータティースが挿入される穴部が形成された板部、および前記板部から突出するように形成され、前記ステータティースを受け入れ可能なティース受入部を含む第1分割インシュレータと、
    前記第1分割インシュレータに配置されたコイルと、
    前記コイルに対して、前記第1分割インシュレータと反対側に配置され、前記第1分割インシュレータと協働して、前記コイルを固定可能な第2分割インシュレータとを備え
    前記第2分割インシュレータは、前記コイルの端面を押圧する押圧部と、前記押圧部に形成され、前記ステータコアと係合する脚部とを含み、
    前記脚部は、前記ステータコアの第1軸方向端面上に配置され、前記ステータコアと係合する第1脚部と、前記ステータコアの第2軸方向端面上に配置され、前記ステータコアと係合する第2脚部とを含み、
    前記第1分割インシュレータは、前記ティース受入部に形成され、前記第1脚部が挿入される第1挿入部と、前記第2脚部が挿入される第2挿入部とを含む、回転電機。
  5. 前記コイルは、内側巻線と、前記内側巻線の外周上に配置された外側巻線とを含む、請求項に記載の回転電機。
  6. 複数配列することで環状のステータヨークを規定する分割ヨークと、前記分割ヨークの周面から突出するように形成されたステータティースとを含む分割ステータコアを準備する工程と、
    前記ステータティースが挿入される穴部が形成された板部、および前記板部から突出するように形成され、前記ステータティースを受け入れ可能なティース受入部を含む第1分割インシュレータを、前記分割ステータコアに装着する工程と、
    前記第1分割インシュレータにコイルを装着する工程と、
    前記第1分割インシュレータに装着されたコイルに対して、前記第1分割インシュレータと反対側から第2分割インシュレータを装着して、前記コイルを固定する工程とを備え、
    前記第2分割インシュレータは、前記コイルの端面を押圧する押圧部と、前記押圧部に形成され、前記分割ステータコアと係合する脚部とを含み、
    前記脚部は、前記分割ステータコアの第1軸方向端面上に配置され、前記分割ステータコアと係合する第1脚部と、前記分割ステータコアの第2軸方向端面上に配置され、前記分割ステータコアと係合する第2脚部とを含み、
    前記第1分割インシュレータは、前記ティース受入部に形成され、前記第1脚部が挿入される第1挿入部と、前記第2脚部が挿入される第2挿入部とを含み、
    前記コイルを固定する工程は、前記第2分割インシュレータの前記第1脚部および前記第2脚部を前記第1分割インシュレータの前記第1挿入部および前記第2挿入部にそれぞれ挿入して、前記コイルを固定する工程を含む、回転電機の製造方法。
  7. 前記第1分割インシュレータに絶縁紙を装着する工程をさらに備えた、請求項に記載の回転電機の製造方法。
JP2009290689A 2009-12-22 2009-12-22 インシュレータ、回転電機および回転電機の製造方法 Expired - Fee Related JP5489698B2 (ja)

Priority Applications (1)

Application Number Priority Date Filing Date Title
JP2009290689A JP5489698B2 (ja) 2009-12-22 2009-12-22 インシュレータ、回転電機および回転電機の製造方法

Applications Claiming Priority (1)

Application Number Priority Date Filing Date Title
JP2009290689A JP5489698B2 (ja) 2009-12-22 2009-12-22 インシュレータ、回転電機および回転電機の製造方法

Publications (2)

Publication Number Publication Date
JP2011135640A JP2011135640A (ja) 2011-07-07
JP5489698B2 true JP5489698B2 (ja) 2014-05-14

Family

ID=44347800

Family Applications (1)

Application Number Title Priority Date Filing Date
JP2009290689A Expired - Fee Related JP5489698B2 (ja) 2009-12-22 2009-12-22 インシュレータ、回転電機および回転電機の製造方法

Country Status (1)

Country Link
JP (1) JP5489698B2 (ja)

Families Citing this family (20)

* Cited by examiner, † Cited by third party
Publication number Priority date Publication date Assignee Title
JP2013046420A (ja) 2011-08-20 2013-03-04 Nippon Densan Corp 巻線、および巻線を備えたステータコア
JP5494622B2 (ja) * 2011-11-17 2014-05-21 株式会社豊田中央研究所 半導体装置
JP5877075B2 (ja) * 2012-01-25 2016-03-02 株式会社ミツバ 集中巻モータ
US9641029B2 (en) * 2012-04-13 2017-05-02 Regal Beloit America, Inc. End cap for use in a stator assembly and method of assembling the stator assembly
JP5692168B2 (ja) * 2012-06-06 2015-04-01 トヨタ自動車株式会社 電気機器の絶縁部材
JP5725003B2 (ja) * 2012-12-26 2015-05-27 トヨタ自動車株式会社 回転電機
JP6364703B2 (ja) * 2013-04-08 2018-08-01 ダイキン工業株式会社 固定子、モータ及び圧縮機
JP5727577B2 (ja) * 2013-11-11 2015-06-03 ファナック株式会社 コイル固定部品を備える電動機の固定子、電動機、及び単位コイルの固定方法
JP6245018B2 (ja) * 2014-03-24 2017-12-13 アイシン・エィ・ダブリュ株式会社 モータ
JP5988005B1 (ja) * 2015-04-16 2016-09-07 ダイキン工業株式会社 固定子、および、それを有するモータおよび圧縮機
US10797551B2 (en) 2015-06-08 2020-10-06 Mitsubishi Electriccorporation Motor and compressor having insulator and stator core with non-overlapping grooves
JP6287976B2 (ja) * 2015-06-30 2018-03-07 トヨタ自動車株式会社 回転電機のステータの製造方法
US10110080B2 (en) 2015-11-30 2018-10-23 Caterpillar Inc. Coil and stator assembly of a rotary electric machine
JP6756121B2 (ja) * 2016-03-10 2020-09-16 株式会社明電舎 回転電機
CN105743238A (zh) * 2016-05-17 2016-07-06 珠海格力节能环保制冷技术研究中心有限公司 链式电动机及其铁芯总成
US10819178B2 (en) * 2017-01-17 2020-10-27 Regal Beloit America, Inc. Stator assembly including insulation member and method of assembly thereof
JP6577536B2 (ja) 2017-08-14 2019-09-18 ファナック株式会社 固定子及び電動機
EP3734802B1 (en) * 2017-12-26 2024-01-31 LG Innotek Co., Ltd. Stator and motor including same
CN112740509B (zh) * 2018-09-11 2024-06-18 Lg伊诺特有限公司 电机
KR102625832B1 (ko) * 2021-11-09 2024-01-16 경창정공 주식회사 구동 모터의 각형 코일용 보빈

Family Cites Families (3)

* Cited by examiner, † Cited by third party
Publication number Priority date Publication date Assignee Title
JP2002305851A (ja) * 2001-03-30 2002-10-18 Mitsuba Corp ステータの突極構造
JP4349292B2 (ja) * 2004-05-31 2009-10-21 株式会社デンソー 集中巻き型ステータを有する車両用回転電機
JP4730367B2 (ja) * 2007-08-21 2011-07-20 トヨタ自動車株式会社 分割固定子製造方法

Also Published As

Publication number Publication date
JP2011135640A (ja) 2011-07-07

Similar Documents

Publication Publication Date Title
JP5489698B2 (ja) インシュレータ、回転電機および回転電機の製造方法
US10186916B2 (en) Rotary machine and electric vehicle
EP2378629B1 (en) Method of manufacturing a stator
JP5109577B2 (ja) 回転電機および絶縁部材
US10439453B2 (en) Stator
CN108604845B (zh) 轴向间隙型旋转电机
JP2010154701A (ja) 回転電機用ターミナル
JP2009142031A (ja) 回転電機用ステータ
JP5418837B2 (ja) 積層巻きコア及びこれを備えた回転子、回転電機
JP5396842B2 (ja) 回転電機と回転電機の製造方法
JP4502041B2 (ja) 回転電機の固定子およびその製造方法
US20080024030A1 (en) Rotating Armature
WO2020183801A1 (ja) 回転機及びインシュレータ
JP6566896B2 (ja) ステータの製造方法、および巻線装置
JP5181627B2 (ja) 回転電機および回転電機の製造方法
JP5233630B2 (ja) ステータ、回転電機、ステータの製造方法および回転電機の製造方法
JP4791387B2 (ja) 電機子
CN103683555A (zh) 定子和旋转电机
JP2010124661A (ja) 回転電機
JP2009106004A (ja) 回転電機
JP5607591B2 (ja) ステータ用外筒、ステータ、及びステータの製造方法
JP2022061064A (ja) 回転電機およびその製造方法
JP3011597B2 (ja) アウターロータ型ブラシレスdcモータ
JP2015084629A (ja) 回転電機用ステータ
WO2024252962A1 (ja) インシュレータ、回転電機のステータ、回転電機、および回転電機のステータの製造方法

Legal Events

Date Code Title Description
A621 Written request for application examination

Free format text: JAPANESE INTERMEDIATE CODE: A621

Effective date: 20120307

A977 Report on retrieval

Free format text: JAPANESE INTERMEDIATE CODE: A971007

Effective date: 20130813

A131 Notification of reasons for refusal

Free format text: JAPANESE INTERMEDIATE CODE: A131

Effective date: 20130827

A521 Request for written amendment filed

Free format text: JAPANESE INTERMEDIATE CODE: A523

Effective date: 20131008

TRDD Decision of grant or rejection written
A01 Written decision to grant a patent or to grant a registration (utility model)

Free format text: JAPANESE INTERMEDIATE CODE: A01

Effective date: 20140204

A61 First payment of annual fees (during grant procedure)

Free format text: JAPANESE INTERMEDIATE CODE: A61

Effective date: 20140225

R151 Written notification of patent or utility model registration

Ref document number: 5489698

Country of ref document: JP

Free format text: JAPANESE INTERMEDIATE CODE: R151

R250 Receipt of annual fees

Free format text: JAPANESE INTERMEDIATE CODE: R250

R250 Receipt of annual fees

Free format text: JAPANESE INTERMEDIATE CODE: R250

R250 Receipt of annual fees

Free format text: JAPANESE INTERMEDIATE CODE: R250

R250 Receipt of annual fees

Free format text: JAPANESE INTERMEDIATE CODE: R250

R250 Receipt of annual fees

Free format text: JAPANESE INTERMEDIATE CODE: R250

R250 Receipt of annual fees

Free format text: JAPANESE INTERMEDIATE CODE: R250

R250 Receipt of annual fees

Free format text: JAPANESE INTERMEDIATE CODE: R250

LAPS Cancellation because of no payment of annual fees