JP5259572B2 - 液晶表示装置 - Google Patents

液晶表示装置 Download PDF

Info

Publication number
JP5259572B2
JP5259572B2 JP2009504013A JP2009504013A JP5259572B2 JP 5259572 B2 JP5259572 B2 JP 5259572B2 JP 2009504013 A JP2009504013 A JP 2009504013A JP 2009504013 A JP2009504013 A JP 2009504013A JP 5259572 B2 JP5259572 B2 JP 5259572B2
Authority
JP
Japan
Prior art keywords
subpixel
liquid crystal
display device
crystal display
pixel
Prior art date
Legal status (The legal status is an assumption and is not a legal conclusion. Google has not performed a legal analysis and makes no representation as to the accuracy of the status listed.)
Expired - Fee Related
Application number
JP2009504013A
Other languages
English (en)
Other versions
JPWO2008111490A1 (ja
Inventor
文一 下敷領
俊英 津幡
正典 武内
雅江 北山
郁未 逸見
明大 正楽
Current Assignee (The listed assignees may be inaccurate. Google has not performed a legal analysis and makes no representation or warranty as to the accuracy of the list.)
Sharp Corp
Original Assignee
Sharp Corp
Priority date (The priority date is an assumption and is not a legal conclusion. Google has not performed a legal analysis and makes no representation as to the accuracy of the date listed.)
Filing date
Publication date
Application filed by Sharp Corp filed Critical Sharp Corp
Priority to JP2009504013A priority Critical patent/JP5259572B2/ja
Publication of JPWO2008111490A1 publication Critical patent/JPWO2008111490A1/ja
Application granted granted Critical
Publication of JP5259572B2 publication Critical patent/JP5259572B2/ja
Expired - Fee Related legal-status Critical Current
Anticipated expiration legal-status Critical

Links

Images

Classifications

    • GPHYSICS
    • G02OPTICS
    • G02FOPTICAL DEVICES OR ARRANGEMENTS FOR THE CONTROL OF LIGHT BY MODIFICATION OF THE OPTICAL PROPERTIES OF THE MEDIA OF THE ELEMENTS INVOLVED THEREIN; NON-LINEAR OPTICS; FREQUENCY-CHANGING OF LIGHT; OPTICAL LOGIC ELEMENTS; OPTICAL ANALOGUE/DIGITAL CONVERTERS
    • G02F1/00Devices or arrangements for the control of the intensity, colour, phase, polarisation or direction of light arriving from an independent light source, e.g. switching, gating or modulating; Non-linear optics
    • G02F1/01Devices or arrangements for the control of the intensity, colour, phase, polarisation or direction of light arriving from an independent light source, e.g. switching, gating or modulating; Non-linear optics for the control of the intensity, phase, polarisation or colour 
    • G02F1/13Devices or arrangements for the control of the intensity, colour, phase, polarisation or direction of light arriving from an independent light source, e.g. switching, gating or modulating; Non-linear optics for the control of the intensity, phase, polarisation or colour  based on liquid crystals, e.g. single liquid crystal display cells
    • G02F1/133Constructional arrangements; Operation of liquid crystal cells; Circuit arrangements
    • G02F1/136Liquid crystal cells structurally associated with a semi-conducting layer or substrate, e.g. cells forming part of an integrated circuit
    • G02F1/1362Active matrix addressed cells
    • G02F1/136213Storage capacitors associated with the pixel electrode
    • GPHYSICS
    • G09EDUCATION; CRYPTOGRAPHY; DISPLAY; ADVERTISING; SEALS
    • G09GARRANGEMENTS OR CIRCUITS FOR CONTROL OF INDICATING DEVICES USING STATIC MEANS TO PRESENT VARIABLE INFORMATION
    • G09G3/00Control arrangements or circuits, of interest only in connection with visual indicators other than cathode-ray tubes
    • G09G3/20Control arrangements or circuits, of interest only in connection with visual indicators other than cathode-ray tubes for presentation of an assembly of a number of characters, e.g. a page, by composing the assembly by combination of individual elements arranged in a matrix no fixed position being assigned to or needed to be assigned to the individual characters or partial characters
    • G09G3/34Control arrangements or circuits, of interest only in connection with visual indicators other than cathode-ray tubes for presentation of an assembly of a number of characters, e.g. a page, by composing the assembly by combination of individual elements arranged in a matrix no fixed position being assigned to or needed to be assigned to the individual characters or partial characters by control of light from an independent source
    • G09G3/36Control arrangements or circuits, of interest only in connection with visual indicators other than cathode-ray tubes for presentation of an assembly of a number of characters, e.g. a page, by composing the assembly by combination of individual elements arranged in a matrix no fixed position being assigned to or needed to be assigned to the individual characters or partial characters by control of light from an independent source using liquid crystals
    • G09G3/3611Control of matrices with row and column drivers
    • G09G3/3648Control of matrices with row and column drivers using an active matrix
    • GPHYSICS
    • G02OPTICS
    • G02FOPTICAL DEVICES OR ARRANGEMENTS FOR THE CONTROL OF LIGHT BY MODIFICATION OF THE OPTICAL PROPERTIES OF THE MEDIA OF THE ELEMENTS INVOLVED THEREIN; NON-LINEAR OPTICS; FREQUENCY-CHANGING OF LIGHT; OPTICAL LOGIC ELEMENTS; OPTICAL ANALOGUE/DIGITAL CONVERTERS
    • G02F1/00Devices or arrangements for the control of the intensity, colour, phase, polarisation or direction of light arriving from an independent light source, e.g. switching, gating or modulating; Non-linear optics
    • G02F1/01Devices or arrangements for the control of the intensity, colour, phase, polarisation or direction of light arriving from an independent light source, e.g. switching, gating or modulating; Non-linear optics for the control of the intensity, phase, polarisation or colour 
    • G02F1/13Devices or arrangements for the control of the intensity, colour, phase, polarisation or direction of light arriving from an independent light source, e.g. switching, gating or modulating; Non-linear optics for the control of the intensity, phase, polarisation or colour  based on liquid crystals, e.g. single liquid crystal display cells
    • G02F1/133Constructional arrangements; Operation of liquid crystal cells; Circuit arrangements
    • G02F1/1333Constructional arrangements; Manufacturing methods
    • G02F1/1343Electrodes
    • G02F1/134309Electrodes characterised by their geometrical arrangement
    • G02F1/134345Subdivided pixels, e.g. for grey scale or redundancy
    • GPHYSICS
    • G09EDUCATION; CRYPTOGRAPHY; DISPLAY; ADVERTISING; SEALS
    • G09GARRANGEMENTS OR CIRCUITS FOR CONTROL OF INDICATING DEVICES USING STATIC MEANS TO PRESENT VARIABLE INFORMATION
    • G09G2300/00Aspects of the constitution of display devices
    • G09G2300/04Structural and physical details of display devices
    • G09G2300/0439Pixel structures
    • G09G2300/0443Pixel structures with several sub-pixels for the same colour in a pixel, not specifically used to display gradations
    • GPHYSICS
    • G09EDUCATION; CRYPTOGRAPHY; DISPLAY; ADVERTISING; SEALS
    • G09GARRANGEMENTS OR CIRCUITS FOR CONTROL OF INDICATING DEVICES USING STATIC MEANS TO PRESENT VARIABLE INFORMATION
    • G09G2300/00Aspects of the constitution of display devices
    • G09G2300/04Structural and physical details of display devices
    • G09G2300/0439Pixel structures
    • G09G2300/0443Pixel structures with several sub-pixels for the same colour in a pixel, not specifically used to display gradations
    • G09G2300/0447Pixel structures with several sub-pixels for the same colour in a pixel, not specifically used to display gradations for multi-domain technique to improve the viewing angle in a liquid crystal display, such as multi-vertical alignment [MVA]
    • GPHYSICS
    • G09EDUCATION; CRYPTOGRAPHY; DISPLAY; ADVERTISING; SEALS
    • G09GARRANGEMENTS OR CIRCUITS FOR CONTROL OF INDICATING DEVICES USING STATIC MEANS TO PRESENT VARIABLE INFORMATION
    • G09G2300/00Aspects of the constitution of display devices
    • G09G2300/08Active matrix structure, i.e. with use of active elements, inclusive of non-linear two terminal elements, in the pixels together with light emitting or modulating elements
    • G09G2300/0876Supplementary capacities in pixels having special driving circuits and electrodes instead of being connected to common electrode or ground; Use of additional capacitively coupled compensation electrodes
    • GPHYSICS
    • G09EDUCATION; CRYPTOGRAPHY; DISPLAY; ADVERTISING; SEALS
    • G09GARRANGEMENTS OR CIRCUITS FOR CONTROL OF INDICATING DEVICES USING STATIC MEANS TO PRESENT VARIABLE INFORMATION
    • G09G2320/00Control of display operating conditions
    • G09G2320/02Improving the quality of display appearance
    • G09G2320/0233Improving the luminance or brightness uniformity across the screen
    • GPHYSICS
    • G09EDUCATION; CRYPTOGRAPHY; DISPLAY; ADVERTISING; SEALS
    • G09GARRANGEMENTS OR CIRCUITS FOR CONTROL OF INDICATING DEVICES USING STATIC MEANS TO PRESENT VARIABLE INFORMATION
    • G09G2320/00Control of display operating conditions
    • G09G2320/02Improving the quality of display appearance
    • G09G2320/028Improving the quality of display appearance by changing the viewing angle properties, e.g. widening the viewing angle, adapting the viewing angle to the view direction
    • GPHYSICS
    • G09EDUCATION; CRYPTOGRAPHY; DISPLAY; ADVERTISING; SEALS
    • G09GARRANGEMENTS OR CIRCUITS FOR CONTROL OF INDICATING DEVICES USING STATIC MEANS TO PRESENT VARIABLE INFORMATION
    • G09G3/00Control arrangements or circuits, of interest only in connection with visual indicators other than cathode-ray tubes
    • G09G3/20Control arrangements or circuits, of interest only in connection with visual indicators other than cathode-ray tubes for presentation of an assembly of a number of characters, e.g. a page, by composing the assembly by combination of individual elements arranged in a matrix no fixed position being assigned to or needed to be assigned to the individual characters or partial characters
    • G09G3/34Control arrangements or circuits, of interest only in connection with visual indicators other than cathode-ray tubes for presentation of an assembly of a number of characters, e.g. a page, by composing the assembly by combination of individual elements arranged in a matrix no fixed position being assigned to or needed to be assigned to the individual characters or partial characters by control of light from an independent source
    • G09G3/36Control arrangements or circuits, of interest only in connection with visual indicators other than cathode-ray tubes for presentation of an assembly of a number of characters, e.g. a page, by composing the assembly by combination of individual elements arranged in a matrix no fixed position being assigned to or needed to be assigned to the individual characters or partial characters by control of light from an independent source using liquid crystals
    • G09G3/3611Control of matrices with row and column drivers
    • G09G3/3648Control of matrices with row and column drivers using an active matrix
    • G09G3/3659Control of matrices with row and column drivers using an active matrix the addressing of the pixel involving the control of two or more scan electrodes or two or more data electrodes, e.g. pixel voltage dependant on signal of two data electrodes

Landscapes

  • Physics & Mathematics (AREA)
  • Engineering & Computer Science (AREA)
  • Crystallography & Structural Chemistry (AREA)
  • General Physics & Mathematics (AREA)
  • Chemical & Material Sciences (AREA)
  • Nonlinear Science (AREA)
  • Computer Hardware Design (AREA)
  • Theoretical Computer Science (AREA)
  • Liquid Crystal (AREA)
  • Mathematical Physics (AREA)
  • Microelectronics & Electronic Packaging (AREA)
  • Optics & Photonics (AREA)
  • Power Engineering (AREA)
  • Liquid Crystal Display Device Control (AREA)
  • Control Of Indicators Other Than Cathode Ray Tubes (AREA)
  • Transforming Electric Information Into Light Information (AREA)

Description

本発明は液晶表示装置に関し、特に、広視野角特性を有する大型の液晶表示装置に関する。
液晶表示装置は、高精細、薄型、軽量および低消費電力等の優れた特長を有する平面表示装置であり、近年、表示性能の向上、生産能力の向上および他の表示装置に対する価格競争力の向上に伴い、市場規模が急速に拡大している。
特に、インプレイン・スイッチング・モード(IPSモード、特許文献1参照)およびマルチドメイン・バーティカル・アラインド・モード(MVAモード、特許文献2参照)は、表示面を斜め方向から観測した場合に表示コントラスト比が著しく低下する、あるいは表示階調が反転する、などの問題は起こらない広視野角モードの液晶表示装置として、液晶テレビに用いられている。
液晶表示装置の表示品位の改善が進む状況下において、今日では視野角特性の問題点として、正面観測時のγ特性と斜め観測時のγ特性が異なる点、すなわちγ特性の視野角依存性の問題が新たに顕在化してきた。ここで、γ特性とは表示輝度の階調依存性であり、γ特性が正面方向と斜め方向で異なるということは、階調表示状態が観測方向によって異なることとなるため、写真等の画像を表示する場合や、またTV放送等を表示する場合に特に問題となる。
このγ特性の視野角依存性は、IPSモードよりもMVAモードにおいて顕著である。一方、IPSモードは、MVAモードに比べて正面観測時のコントラスト比の高いパネルを生産性良く製造することが難しい。これらの点から、特にMVAモードの液晶表示装置におけるγ特性の視野角依存性を改善することが望まれる。
そこで本出願人(譲受人)は、特許文献3に、1つの画素を明るさの異なる複数の副画素に分割することによりγ特性の視野角依存性、とりわけ白浮特性を改善することができる液晶表示装置および駆動方法を開示している。本明細書においてこのような表示あるいは駆動を面積階調表示、面積階調駆動、マルチ画素表示またはマルチ画素駆動などと呼ぶことがある。
特許文献3には、1つの画素(P)内の複数の副画素(SP)ごとに補助容量(CS)を設け、補助容量を構成する補助容量対向電極(補助容量配線に接続されている)を副画素ごとに電気的に独立とし、補助容量対向電極に供給する電圧(補助容量対向電圧またはCS信号電圧という。)を変化させることによって、容量分割を利用して、複数の副画素の液晶層に印加される実効電圧を異ならせる液晶表示装置が開示されている。
図47を参照しながら、特許文献3に記載されている液晶表示装置900の画素分割構造を説明する。ここでは、スイッチング素子としてTFTを有する液晶表示装置を例示する。
画素10は、副画素10a、10bに分割されており、副画素10a、10bは、それぞれTFT16a、TFT16b、および補助容量(CS)22a、22bが接続されている。TFT16aおよびTFT16bのゲート電極は走査線(ゲートバスライン、Gバスラインと表記することもある。)12に接続され、ソース電極は共通の(同一の)信号線(ソースバスライン、Sバスラインと表記することもある。)14に接続されている。補助容量22a、22bは、それぞれ補助容量配線(CSバスライン)24aおよび補助容量配線24bに接続されている。補助容量22aおよび22bは、それぞれ副画素電極18aおよび18bに電気的に接続された補助容量電極と、補助容量配線24aおよび24bに電気的に接続された補助容量対向電極と、これらの間に設けられた絶縁層(不図示)によって形成されている。補助容量22aおよび22bの補助容量対向電極は互いに独立しており、それぞれ補助容量配線24aおよび24bから互いに異なる補助容量対向電圧(CS信号電圧)が供給され得る構造を有している。
次に、液晶表示装置900の2つの副画素10aおよび10bの液晶層に互いに異なる実効電圧を印加することができる原理について図を用いて説明する。
図48に、液晶表示装置900の1画素分の等価回路を模式的に示す。電気的な等価回路において、それぞれの副画素SP−A(10a)およびSP−B(10b)の液晶容量をそれぞれ液晶容量CLC−A(13a)およびCLC−B(13b)として表している。液晶容量CLC−AおよびCLC−Bは、それぞれ、副画素電極18aおよび18bと、液晶層と、対向電極(副画素電極18aおよび18bに対して共通)によって形成されている。
ここでは、液晶容量CLC−AおよびCLC−Bの静電容量値は同一の値CLC(V)とする。CLC(V)の値は、副画素SP−A、SP−Bの液晶層に印加される実効電圧(V)に依存する。また、各副画素SP−AおよびSP−Bの液晶容量にそれぞれ独立に接続されている補助容量CCS−A(22a)およびCCS−B(22b)の静電容量値は同一の値CCSとする。
副画素SP−Aの液晶容量CLC−Aと補助容量CCS−Aの一方の電極は副画素SP−Aを駆動するために設けたTFT−A(16a)のドレイン電極に接続されており、液晶容量CLC−Aの他方の電極は対向電極であり、補助容量CCS−Aの他方の電極は補助容量配線CS−A(24a)に接続されている。副画素SP−Bの液晶容量CLC−Bと補助容量CCS−Bの一方の電極は副画素SP−Bを駆動するために設けたTFT−B(16b)のドレイン電極に接続されており、液晶容量CLC−Bの他方の電極は対向電極であり、補助容量CCS−Bの他方の電極は補助容量配線CS−B(24b)に接続されている。TFT−AおよびTFT−Bのゲート電極はいずれもGバスライン(走査線)12に接続されており、ソース電極はいずれもSバスライン(信号線)14に接続されている。
図49(a)〜(f)に液晶表示装置900を駆動する際の各電圧のタイミングを模式的に示す。
図49(a)は、Sバスライン14の電圧波形Vs、図49(b)はCSバスラインCS−Aの電圧波形Vcsa、図49(c)はCSバスラインCS−Bの電圧波形Vcsb、図49(d)はGバスライン12の電圧波形Vg、図49(e)は副画素電極18aの電圧波形Vlca、図49(f)は、副画素電極18bの電圧波形Vlcbをそれぞれ示している。また、図中の破線は対向電極の電圧波形COMMON(Vcom)を示している。
以下、図49(a)〜(f)を用いて図48の等価回路の動作を説明する。
時刻T1のときVgの電圧がVgLからVgHに変化することにより、TFT−AとTFT−Bが同時に導通状態(オン状態)となり、副画素電極18aおよび18bにSバスライン14の電圧Vsが伝達され、副画素SP−Aの液晶容量CLC−Aおよび副画素SP−Bの液晶容量CLC−Bに充電される。同様にそれぞれの副画素の補助容量CCS−AおよびCCS−BにもSバスライン14からの充電がなされる。
次に、時刻T2のときGバスライン12の電圧VgがVgHからVgLに変化することにより、TFT−AとTFT−Bが同時に非導通状態(OFF状態)となり、副画素SP−A、SP−Bの液晶容量CLC−A、CLC−Bおよび補助容量CCS−A、CCS−Bは全て、Sバスライン14と電気的に絶縁される。なお、この直後TFT−A、TFT−Bの有する寄生容量等の影響による引き込み現象のために、それぞれの副画素電極の電圧Vlca、Vlcbは概ね同一の電圧Vdだけ低下し、
Vlca=Vs−Vd
Vlcb=Vs−Vd
となる。また、このとき、それぞれのCSバスラインの電圧Vcsa、Vcsbは
Vcsa=Vcom−Vad
Vcsb=Vcom+Vad
である。
時刻T3で、補助容量CCS−Aに接続されたCSバスラインCS−Aの電圧VcsaがVcom−VadからVcom+Vadに変化し、補助容量Csbに接続されたCSバスラインCS−Bの電圧VcsbがVcom+VadからVcom−Vadに2倍のVadだけ変化する。CSバスラインCS−AおよびCS−Bのこの電圧変化に伴い、それぞれの副画素電極の電圧Vlca、Vlcbは
Vlca=Vs−Vd+2×Kc×Vad
Vlcb=Vs−Vd−2×Kc×Vad
へ変化する。但し、Kc=CCS/(CLC(V)+CCS)である。×は乗算を表す。
時刻T4では、VcsaがVcom+VadからVcom−Vadへ、VcsbがVcom−VadからVcom+Vadへ、2倍のVadだけ変化し、Vlca、Vlcbもまた、
Vlca=Vs−Vd+2×Kc×Vad
Vlcb=Vs−Vd−2×Kc×Vad
から、
Vlca=Vs−Vd
Vlcb=Vs−Vd
へ変化する。
時刻T5では、VcsaがVcom−VadからVcom+Vadへ、VcsbがVcom+VadからVcom−Vadへ、2倍のVadだけ変化し、Vlca、Vlcbもまた、
Vlca=Vs−Vd
Vlcb=Vs−Vd
から、
Vlca=Vs−Vd+2×Kc×Vad
Vlcb=Vs−Vd−2×Kc×Vad
へ変化する。
Vcsa、Vcsb、Vlca、Vlcbは、水平走査期間(水平書き込み時間)1Hの整数倍の間隔毎に上記T4、T5における変化を交互に繰り返す。従って、それぞれの副画素電極の電圧Vlca、Vlcbの実効的な値は、
Vlca=Vs−Vd+Kc×Vad
Vlcb=Vs−Vd−Kc×Vad
となる。
よって、副画素SP−A、SP−Bの液晶層13aおよび13bに印加される実効電圧V1、V2は、
V1=Vlca−Vcom
V2=Vlcb−Vcom
すなわち、
V1=Vs−Vd+Kc×Vad−Vcom
V2=Vs−Vd−Kc×Vad−Vcom
となる。
従って、副画素SP−AおよびSP−Bのそれぞれの液晶層13aおよび13bに印加される実効電圧の差ΔV12(=V1−V2)は、ΔV12=2×Kc×Vad(但し、Kc=CCS/(CLC(V)+CCS))となり、互いに異なる電圧を印加することができる。
図50にV1とV2の関係を模式的に示す。図50からわかるように、液晶表示装置900では、V1の値が小さいほどΔV12の値が大きい。このように、V1の値が小さいほどΔV12の値が大きくなるので、とりわけ白浮特性を改善することができる。
また、特許文献3に記載されているマルチ画素構造を高精細または大型の液晶テレビに適用する場合、振動電圧の振動の周期が表示パネルの高精細化あるいは大型化に伴って短くなるため、振動電圧発生のための回路の作製が困難になる(高価になる)、消費電力が増加する、あるいはCSバスラインの電気的な負荷インピーダンスによる波形鈍りの影響が大きくなるが、特許文献4に記載されているように、電気的に互いに独立な複数のCS幹線を設け、各CS幹線に複数のCSバスラインを接続することによって、CSバスラインを介して補助容量対向電極に印加する振動電圧の振動の周期を長くすることができる。 特許文献3および4の内容の全てを参考のために本明細書に援用する。
特公昭63−21907号公報 特開平11−242225号公報 特開2004−62146号公報(米国特許第6958791号明細書) WO2006/070829A1
本出願人(譲受人)は、特許文献3および4に記載されているマルチ画素技術を適用した液晶表示装置を備えた大型の液晶テレビを市販している。これまでは、各画素を輝度が異なる2つの副画素(すなわち明副画素および暗副画素)で構成した2分割構造を採用していたが、表示面の大型化およびγ特性の視野角依存性のさらなる改善のためには、2分割では不十分であることがわかった。具体的には、表示装置の大型化に伴い1つの画素サイズが大きくなると、中間調を表示した際に、明副画素と暗副画素との市松状の配列が表示のざらつきとして視認されるという問題がある。
また、2分割構造においては、2つの副画素のV−Tカーブ(電圧−輝度(表示階調)曲線)を重ね合わせることによって、γ特性の視野角依存性を平均化するものであるため、斜め視野角におけるγ特性曲線が滑らかに変化せず、くびれが生じる。そのために、斜め視野角から表示画像を観察したときに、不自然に観察されるという問題がある。
この問題を解決するためには、画素を3以上の副画素に分割する、すなわち、1つの画素のV−Tカーブを、3以上の互いに異なるV−Tカーブの重ね合わせで表現すればよい。特許文献3に記載されているマルチ画素技術において、画素分割数を増やすには、画素分割数の増加に応じて、電気的に互いに独立な補助容量対向電圧(CS信号電圧)の数を増加させればよい。
しかしながら、電気的に独立な補助容量対向電圧を用意するためには、CS幹線の数が増加するとともに、駆動回路が複雑になり、コストアップを招く。大型の液晶テレビをさらに普及させるためには、表示特性の改善もさることながら、価格を低下させることが重要であり、上記の方法は採用しがたい。
本発明は、上記諸点に鑑みてなされたものであり、その目的は、2分割構造を有する従来の液晶表示装置の駆動回路を複雑にすることなく、3分割以上の分割構造を実現することができる液晶表示装置を提供することにある。
本発明の液晶表示装置は、複数の行および複数の列を有するマトリクス状に配列された複数の画素と、前記複数の画素のそれぞれに関連付けられた、TFTと、ソースバスラインと、ゲートバスラインと、CSバスラインとを有し、前記複数の画素のそれぞれは、それぞれが互いに異なる電圧を保持し得る液晶容量を有する少なくとも3つの副画素を有し、前記ソースバスライン、ゲートバスライン、およびCSバスラインから、前記複数の画素のそれぞれに、少なくともある中間調において前記少なくとも3つの副画素の内の2つの副画素に互いに異なる輝度を表示させる信号を供給することによって、前記少なくとも3つの副画素に互いに異なる輝度を表示させることができる。
ある実施形態において、前記複数の画素のそれぞれについて、前記少なくとも3つの副画素に対応する少なくとも3つのTFTと、1つのソースバスラインと、少なくとも1つのゲートバスラインと、少なくとも2つのCSバスラインが関連付けられており、前記少なくとも3つの副画素に対応するTFTのそれぞれは、ゲート電極、ソース電極およびドレイン電極を有している。
ある実施形態において、前記少なくとも3つの副画素の有する液晶容量は、少なくとも3つの副画素電極と、液晶層と、前記液晶層を介して前記少なくとも3つの副画素電極に対向する対向電極とを有し、前記対向電極は前記少なくとも3つの副画素電極に共通の単一の電極である。
ある実施形態において、前記少なくとも3つの副画素を第1、第2および第3副画素とし、前記少なくとも2つのCSバスラインを第1および第2CSバスラインとすると、前記第1副画素は前記第1CSバスラインに接続された補助容量を有し、前記第2副画素は前記第2CSバスラインに接続された補助容量を有し、前記第3副画素は、前記第1CSバスラインに接続された補助容量と、前記第2CSバスラインに接続された補助容量とを有する。
ある実施形態において、前記ゲートバスラインは、第1および第2ゲート配線を含み、前記第1CSバスラインは、第1および第2CS配線を含み、前記第2CSバスラインは、第3および第4CS配線を含む。
ある実施形態において、前記第1および第2ゲート配線は前記液晶表示装置内において分岐されており、前記第1および第2CS配線は前記液晶表示装置内において分岐されており、前記第3および第4CS配線は前記液晶表示装置内において分岐されている。
ある実施形態において、前記第1、第2および第3副画素は列方向に配列されており、前記第3副画素は、前記第1副画素と前記第2副画素との間に配置されている。
ある実施形態において、前記第3副画素は、前記第1ゲート配線と接続するゲート電極を有するTFTと、前記第2ゲート配線と接続するゲート電極を有するTFTとを有している。
ある実施形態において、前記ゲートバスラインは、前記第1および第2ゲート配線を接続する接続配線をさらに有しており、前記CSバスラインは、前記第1および第2CS配線を接続する接続配線、および/または、前記第3および第4CS配線を接続する接続配線をさらに有しており、前記ゲートバスラインの前記接続配線は、前記ゲートバスラインの前記第1および第2ゲート配線と同じ材料から形成されており、前記CSバスラインの前記接続配線は、前記ソースバスラインと同じ材料から形成されている。
ある実施形態において、前記第3副画素が有する前記第1CSバスラインに接続された前記補助容量の静電容量値と、前記第2CSバスラインに接続された前記補助容量の静電容量値とが略等しい。
ある実施形態において、前記第1、第2および第3副画素が互いに異なる輝度を表示する場合、前記第3副画素の輝度は、前記第1、第2副画素の一方の輝度よりも高く、他方の輝度よりも低く、前記第3副画素は列方向にストライプ状に設けられている。
ある実施形態において、前記第1および第2副画素は列方向に配列されており、前記ソースバスラインは、前記第1および第2副画素と前記第3副画素との間に設けられている。
ある実施形態において、前記第1、第2、第3副画素の面積比は1:1:1である。
ある実施形態において、前記第3副画素は前記ゲートバスラインを跨いでいる。
ある実施形態において、前記第3副画素の副画素電極が前記ゲートバスラインを跨いでいる。
ある実施形態において、前記第3副画素の副画素電極における前記ゲートバスラインを跨ぐ部分の行方向の長さは、前記第3副画素の副画素電極の行方向の最大の長さよりも短い。
ある実施形態において、前記第3副画素のTFTのドレイン電極は前記ゲートバスラインを跨いでいる。
ある実施形態において、前記第3副画素の副画素電極は、第1電極と、第2電極とを有しており、前記第3副画素のTFTのドレイン電極は前記ソースバスラインと平行に設けられており、前記ドレイン電極は、前記第3副画素の副画素電極の前記第1電極および前記第2電極を接続している。
ある実施形態において、前記第3副画素のTFTのドレイン電極が前記ゲートバスラインと重なる面積は、前記第1および第2副画素のTFTのドレイン電極が前記ゲートバスラインと重なるそれぞれの面積よりも小さい。
ある実施形態において、前記第1および第2副画素は列方向に配列されており、前記第3副画素は、第1領域と、第2領域とを有しており、前記ソースバスラインは、前記第1および第2副画素と前記第3副画素の第1領域との間に設けられた第1ソース配線と、前記第1および第2副画素と前記第3副画素の第2領域との間に設けられた第2ソース配線とを有しており、前記第1および第2副画素の列方向のそれぞれの長さは、前記第3副画素の前記第1領域と前記第2領域の列方向のそれぞれの長さの半分であり、前記第1および第2副画素の行方向の長さは、前記第3副画素の前記第1領域または前記第2領域の行方向の長さの略4倍である。
ある実施形態において、前記第3副画素は、前記第1および第2領域に対応する副画素電極を有しており、前記第1、第2および第3副画素の副画素電極には、それぞれ、複数のTFTが接続されている。
ある実施形態において、前記第1および第2ソース配線のそれぞれには複数のTFTが設けられており、前記第3副画素は、前記第1および第2領域に対応して設けられたTFTを有しており、前記第3副画素の前記第1および第2領域に設けられたTFTのドレイン電極のそれぞれの面積は、第1および第2副画素のTFTのドレイン電極のそれぞれの面積よりも小さい。
ある実施形態において、前記第1および第2副画素は、それぞれ、複数のTFTを有しており、前記第1および第2領域に設けられたTFTのそれぞれの数は、前記第1および第2副画素のTFTのそれぞれの数よりも少ない。
ある実施形態において、前記第1副画素は前記ある中間調において前記少なくとも3つの副画素の内で最高の輝度を呈し、前記第2および第3副画素の少なくとも一方は、前記第1副画素を挟むように配置された2つの領域を有する。
ある実施形態において、前記第2および第3副画素の前記少なくとも一方は、前記2つの領域に亘って連続した副画素電極を有する。
ある実施形態において、前記2つの領域に亘って連続した副画素電極は環状である。
ある実施形態において、前記2つの領域に亘って連続した副画素電極はコの字状である。
ある実施形態において、前記第2および第3副画素の前記少なくとも一方は、前記2つの領域に対応する2つの副画素電極を有し、前記2つの副画素電極は、当該副画素に関連付けられたTFTのドレイン電極に接続されたドレイン引出し配線を介して互いに接続されている。
ある実施形態において、前記3つのTFTのドレイン電極にそれぞれ接続された3つのドレイン引出し配線を有し、前記第1および第2CSバスラインの少なくとも一方は延設部を有し、前記延設部は、絶縁層を介して前記少なくとも3つの副画素電極および前記3つのドレイン引出し配線の少なくとも1つと重なっている。
ある実施形態において、前記第1および第2CSバスラインの前記少なくとも一方が有する前記延設部は環状部を含む。
ある実施形態において、前記少なくとも3つの副画素電極の内の互いに隣接する副画素電極間の間隙には、前記ドレイン引出し配線、前記ソースバスライン、前記第1および第2CSバスラインの内から選択される少なくとも1つの配線の一部が配置されている。
ある実施形態において、垂直配向型の液晶層を有し、前記少なくとも3つの副画素電極の内の前記互いに隣接する副画素電極間の前記間隙は、列方向に対して約45°の方向に延びる間隙を含む。
ある実施形態において、前記第1、第2および第3副画素は、前記第1および第2CSバスラインの間に配置され、前記第1および第2CSバスラインは、それぞれ、列方向に隣接する画素の補助容量に接続している。
ある実施形態において、前記第1、第2および第3副画素の副画素電極のそれぞれにおける列方向に沿った2つの辺の長さは略等しい。
ある実施形態において、前記少なくとも1つのゲートバスラインは第1および第2ゲート配線を有しており、前記第3副画素は、前記第1ゲート配線と接続されたゲート電極を有するTFTと、前記第2ゲート配線と接続されたゲート電極を有するTFTとを有しており、前記第3副画素の2つのTFTのドレイン電極は、2つのドレイン引出し配線とそれぞれ接続されており、前記2つのドレイン引出し配線は、前記少なくとも1つのゲートバスラインとそれぞれ交差する。
ある実施形態において、前記少なくとも1つのゲートバスラインはゲート配線を有しており、前記第3副画素は、それぞれが前記ゲート配線と接続されたゲート電極を有する2つのTFTを有しており、前記第3副画素の2つのTFTのドレイン電極は、2つのドレイン引出し配線とそれぞれ接続されており、前記第3副画素の副画素電極は前記ゲートバスラインを跨ぐ。
ある実施形態において、前記第3副画素の副画素電極は、第1電極と、第2電極と、前記第1および第2電極を連結する連結部とを有しており、前記連結部の行方向の長さは、前記第1、第2電極の前記行方向の長さよりも短い。
ある実施形態において、前記第3副画素の副画素電極の連結部は、前記画素の行方向における中央付近に設けられている。
ある実施形態において、前記第1副画素のTFTおよび前記第3副画素の一方のTFTのゲート電極、ならびに/または、前記第2副画素のTFTおよび前記第3副画素の他方のTFTのゲート電極は、ゲート電極部として一体的に設けられて前記ゲートバスラインに接続されており、前記第1および第2副画素のTFTのそれぞれのドレイン電極は前記ゲート電極部および前記ゲートバスラインと重なる。
ある実施形態において、前記2つのドレイン引出し配線は、前記第1および第2CSバスラインとそれぞれ重なり、前記第1および第2副画素の副画素電極は、前記2つのドレイン引出し配線と前記第1および第2CSバスラインとが重なる領域とは重ならない。
ある実施形態において、前記第3副画素の副画素電極は、前記2つのドレイン引出し配線とコンタクトホールをそれぞれ介して接続されており、前記2つのドレイン引出し配線は前記第1および第2CSバスラインと重なる補助容量電極をそれぞれ有している。
ある実施形態において、前記少なくとも1つのゲートバスラインは第1および第2ゲート配線を有しており、前記第3副画素は、前記第1ゲート配線または前記第2ゲート配線に接続されたゲート電極を有するTFTを有している。
ある実施形態において、前記第3副画素のTFTのドレイン電極は、ドレイン引出し配線に接続されており、前記ドレイン引出し配線は、前記第1および第2CSバスラインと重なり、前記第1および第2副画素の副画素電極は、前記ドレイン引出し配線と前記第1および第2CSバスラインとが重なる領域とは重ならない。
ある実施形態において、行方向に沿った画素において、少なくとも1つの画素ごとに前記第3副画素のTFTのゲート電極が異なるゲート配線に接続している。
ある実施形態において、行方向に隣接する2つの画素のうち、一方の画素の第3副画素のTFTのゲート電極は前記第1ゲート配線に接続しており、他方の画素の第3副画素のTFTのゲート電極は前記第2ゲート配線に接続している。
ある実施形態において、前記第3副画素のTFTのドレイン電極の面積は、前記第1および第2副画素のTFTのドレイン電極のそれぞれの面積よりも小さい。
ある実施形態において、前記第1、第2および第3副画素の面積は互いにほぼ等しい。
ある実施形態において、前記複数の画素のそれぞれは、第4副画素をさらに有しており、前記第4副画素は、前記第1CSバスラインに接続された補助容量と、前記第2CSバスラインに接続された補助容量とを有する。
ある実施形態において、前記第3副画素において、前記第1CSバスラインに接続された補助容量を第1補助容量とし、前記第2CSバスラインに接続された補助容量を第2補助容量とし、前記第4副画素において、前記第1CSバスラインに接続された補助容量を第3補助容量とし、前記第2CSバスラインに接続された補助容量を第4補助容量とすると、前記第1補助容量の静電容量値と前記第2補助容量の静電容量値とが異なり、前記第3補助容量の静電容量値と前記第4補助容量の静電容量値とが異なる。
ある実施形態において、前記ソースバスラインは、第1および第2ソース配線を有しており、前記第1および第2副画素は、前記第1ソース配線と前記第2ソース配線との間において列方向に配列されており、前記第1および第2副画素に対して、前記第1ソース配線を挟んで前記第3副画素が配置され、前記第2ソース配線を挟んで前記第4副画素が配置されている。
ある実施形態において、前記第3および第4副画素は前記ゲートバスラインを跨いでいる。
ある実施形態において、前記第1、第2、第3および第4副画素は、それぞれ、複数のTFTを有している。
ある実施形態において、前記第3および第4副画素の副画素電極が前記ゲートバスラインを跨いでいる。
ある実施形態において、前記第3および第4副画素の副画素電極において前記ゲートバスラインを跨いでいる部分の行方向の長さは、前記第3、第4副画素の副画素電極の行方向の最大の長さよりも短い。
ある実施形態において、前記第3および第4副画素のTFTのドレイン電極は前記ゲートバスラインを跨いでいる。
ある実施形態において、前記第3および第4副画素の副画素電極は、それぞれ、2つの電極を有しており、前記第3および第4副画素のTFTのドレイン電極は前記ソースバスラインと平行して設けられており、前記第3および第4副画素のTFTのドレイン電極は、前記第3および第4副画素の副画素電極の前記2つの電極をそれぞれ接続している。
ある実施形態において、前記第1、第2、第3および第4副画素のTFTのドレイン電極は前記ゲートバスラインと重なり、前記第3および第4副画素のTFTのドレイン電極が前記ゲートバスラインと重なるそれぞれの面積は、前記第1および第2副画素のTFTのドレイン電極が前記ゲートバスラインと重なるそれぞれの面積よりも小さい。
ある実施形態において、前記第1および第2副画素は、それぞれ、複数のTFTを有しており、前記第3および第4副画素のそれぞれのTFTの数は、前記第1、第2副画素のそれぞれのTFTの数よりも少ない。
ある実施形態において、前記第1、第2、第3および第4副画素の面積は互いにほぼ等しい。
ある実施形態において、前記少なくとも3つの副画素を第1、第2および第3副画素とし、前記少なくとも2つのCSバスラインを第1および第2CSバスラインとすると、前記第1副画素は前記第1CSバスラインに接続された補助容量を有し、前記第2副画素は前記第2CSバスラインに接続された補助容量を有し、前記第3副画素は前記少なくとも1つのゲートバスラインに接続された補助容量を有する。
ある実施形態において、前記第1、第2および第3副画素は、隣接する2つのゲートバスラインの間に設けられ、前記第1、第2および第3副画素のTFTのゲート電極は、前記2つのゲートバスラインのうちの一方のゲートバスラインと接続されており、前記第1および第2CSバスラインは、前記2つのゲートバスラインの間に設けられ、前記第3副画素の補助容量は、前記2つのゲートバスラインのうちの他方のゲートバスラインと接続されている。
ある実施形態において、前記第1、第2および第3副画素は、前記第1および第2CSバスラインの間に配置され、前記第3副画素の補助容量は、列方向に隣接する画素を選択するためのゲートバスラインと接続されている。
ある実施形態において、前記複数の画素は、赤を表示する赤画素と、青を表示する青画素と、緑を表示する緑画素とを有しており、前記青画素のセルギャップが前記赤画素または前記緑画素よりも小さい。
本発明による液晶表示装置は、駆動回路を複雑にすることなく、3分割構造を実現できるので、コストの上昇を抑制しつつ、表示品位(特に、γ特性の視野角依存性)を改善することができる。
本発明による実施形態の液晶表示装置100の1画素分の等価回路を模式的に示す図である。 液晶表示装置100の駆動方法を説明するための図であり、ゲート信号(Gate信号)、CS信号(補助容量対向電圧)、および画素電圧(各副画素の液晶容量に印加される電圧)の波形を示す図である。 MVA型の液晶表示装置のγ特性を示すグラフである。 本発明による実施形態の液晶表示装置100Aの画素のTFT基板上の構造を模式的に示す図である。 本発明による実施形態の液晶表示装置100Bの画素のTFT基板上の構造を模式的に示す図である。 本発明による実施形態の液晶表示装置100Cの画素のTFT基板上の構造を模式的に示す図である。 本発明による実施形態の液晶表示装置100Dの画素のTFT基板上の構造を模式的に示す図である。 本発明による実施形態の液晶表示装置200Aの画素のTFT基板上の構造を模式的に示す図である。 本発明による実施形態の液晶表示装置200Bの画素のTFT基板上の構造を模式的に示す図である。 本発明による実施形態の液晶表示装置200Cの画素のTFT基板上の構造を模式的に示す図である。 本発明による実施形態の液晶表示装置200C’の画素のTFT基板上の構造を模式的に示す図である。 本発明による実施形態の液晶表示装置200Dの画素のTFT基板上の構造を模式的に示す図である。 本発明による実施形態のMVA型液晶表示装置300Bの画素のTFT基板上の構造を模式的に示す図である。 本発明による実施形態のMVA型液晶表示装置300Cの画素のTFT基板上の構造を模式的に示す図である。 (a)および(b)は、2分割構造(2VT構造)とした場合の副画素の配列およびγ特性の視野角依存性を示す図である。 (a)および(b)は、3分割構造(3VT構造)とした場合の好ましい副画素の配列およびγ特性の視野角依存性を示す図である。 (a)および(b)は、3分割構造(3VT構造)とした場合の他の好ましい副画素の配列およびγ特性の視野角依存性を示す図である。 本発明による実施形態の液晶表示装置400Aの等価回路を模式的に示す図である。 本発明による実施形態の液晶表示装置400Bの等価回路を模式的に示す図である。 (a)は本発明による実施形態の液晶表示装置500AのTFT基板の模式的な平面図であり、(b)は2分割構造の液晶表示装置550のTFT基板の模式的な平面図である。 (a)〜(c)はそれぞれ、横シャドーの発生を説明するための模式図である。 本発明による実施形態の液晶表示装置300Dの模式的な平面図を示す。 本発明による実施形態の液晶表示装置300Eの模式的な平面図を示す。 本発明による実施形態の液晶表示装置300Fの模式的な平面図を示す。 本発明による実施形態の液晶表示装置500BのTFT基板の模式的な平面図である。 本発明による実施形態の液晶表示装置500CのTFT基板の模式的な平面図である。 本発明による実施形態の液晶表示装置500D1の1画素分の等価回路を模式的に示す図である。 本発明による実施形態の液晶表示装置500D1の画素のTFT基板上の構造を模式的に示す図である。 本発明による実施形態の液晶表示装置500D2の1画素分の等価回路を模式的に示す図である。 本発明による実施形態の液晶表示装置500D2の画素のTFT基板上の構造を模式的に示す図である。 本発明による実施形態の液晶表示装置500Eの1画素分の等価回路を模式的に示す図である。 本発明による実施形態の液晶表示装置500Eの画素のTFT基板上の構造を模式的に示す図である。 本発明による実施形態の液晶表示装置600Aの1画素分の等価回路を模式的に示す図である。 本発明による実施形態の液晶表示装置600AのTFT基板上の構造を模式的に示す図である。 本発明による実施形態の液晶表示装置600Bの1画素分の等価回路を模式的に示す図である。 本発明による実施形態の液晶表示装置600BのTFT基板上の構造を模式的に示す図である。 本発明による実施形態の液晶表示装置600Cの1画素分の等価回路を模式的に示す図である。 液晶表示装置600Cの信号波形図である。 本発明による実施形態の液晶表示装置600C1のTFT基板上の構造を模式的に示す図である。 本発明による実施形態の液晶表示装置600C2のTFT基板上の構造を模式的に示す図である。 本発明による実施形態の液晶表示装置600C3のTFT基板上の構造を模式的に示す図である。 本発明による実施形態の液晶表示装置600C4のTFT基板上の構造を模式的に示す図である。 4VT構造の液晶表示装置におけるγ特性の視野角依存性を示すグラフである。 (a)〜(d)は、それぞれ、3VT構造の液晶表示装置における視野角特性を示すグラフである。 (a)および(b)は、4VT構造の液晶表示装置における視野角特性を示すグラフである。 (a)および(b)は、本発明による実施形態の液晶表示装置を備えるテレビジョン受像機の模式図である。 特許文献3に記載されている液晶表示装置900の画素分割構造を説明するための図である。 液晶表示装置900の1画素分の等価回路を模式的に示す図である。 (a)〜(f)は、液晶表示装置900を駆動する際の各電圧のタイミングを模式的に示す図である。 液晶表示装置900における副画素間の液晶層への印加電圧の関係を示す図である。
符号の説明
10 画素
10a、10b 副画素
12 走査線(ゲートバスライン)
14 信号線(ソースバスライン)
16a、16b TFT
18a、18b 副画素電極
100、100A、100B、100C、100D、200A、200B、200C、200C’、200D、300B、300C、300D、300E、300F、400A、400B、500A、500B、500C、500D、600A、600B、600C、600C1、600C2、600C3、600C4 液晶表示装置
111a、111b、111c 副画素電極
112 ゲートバスライン(Gバスライン)
113 CSバスライン
114 ソースバスライン(Sバスライン)
116a、116b、116c TFT
117a、117b、117c、117c1、117c2、117d1、117d2 ドレイン引出し配線
118a、118b、118c1、118c2、118d1、118d2 補助容量電極
119a、119b、119c コンタクト部
SP−A、SP−B、SP−C、SP−D 副画素
TFT−A、TFT−A1、TFT−A2、TFT−B、TFT−B1、TFT−B2、TFT−C、TFT−C1、TFT−C2、TFT−D、TFT−D1、TFT−D2 薄膜トランジスタ
CCS−A、CCS−B、CCS−C、CCS−C1、CCS−C2、CCS−D、CCS−D1、CCS−D2 補助容量
CLC−A、CLC−B、CLC−C、CLC−D 液晶容量
以下、図面を参照して本発明による実施形態の液晶表示装置およびそれに用いられるTFT基板の構成を説明する。なお、本発明は以下の実施形態に限定されるものではない。
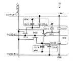
図1は、本発明による実施形態の液晶表示装置100の1画素分の等価回路を模式的に示す図である。液晶表示装置100の各画素は、3つの副画素SP−A、SP−BおよびSP−Cを有し、それぞれが3つの副画素SP−A、SP−BおよびSP−Cに対応する3つのTFT−A、TFT−BおよびTFT−Cと、1つのソースバスライン(Sバスライン)と、1つのゲートバスライン(Gバスライン)と、2つのCSバスラインCS−AおよびCS−Bが各画素に関連付けられている。
図48に示した従来の液晶表示装置900の等価回路と比較すると明らかなように、液晶表示装置100は、1つの画素が3つの副画素SP−A、SP−BおよびSP−Cを有している一方、液晶表示装置100の画素に対応する部分以外の構成、すなわち、Gバスライン、SバスラインおよびCSバスラインの数は液晶表示装置900と同じであり、これらに対応する信号(電圧)を供給する駆動回路(不図示)の構成も液晶表示装置900と同じである。このように、液晶表示装置100は、従来の2分割構造を有する液晶表示装置900の駆動回路を複雑にすることなく、3分割構造を実現している。従って、本発明の実施形態によると、コストの上昇を抑制しつつ、表示品位(特に、γ特性の視野角依存性)を改善することができる。
液晶表示装置100における、2つの副画素SP−AおよびSP−Bと、TFT−AおよびTFT−B、Gバスライン、Sバスライン、および2本の互いに電気的に独立なCSバスラインとの間の接続関係は、液晶表示装置900と全く同じである(簡単のために説明を省略)。液晶表示装置900に対して付加された3番目の副画素SP−Cは以下のように接続されている。
副画素SP−Cは、液晶容量CLC−Cと、2つの補助容量CCS−C1およびCCS−C2とを有している。液晶容量CLC−Cの一方の電極(副画素電極)はTFT−Cのドレイン電極に接続されており、補助容量CCS−C1およびCCS−C2のそれぞれの一方の電極(補助容量電極)もTFT−Cのドレイン電極に接続されている。TFT−Cは、他のTFT−AおよびTFT−Bと同様に、ゲート電極は共通のGバスラインに接続されており、ソース電極はSバスラインに接続されている。液晶容量CLC−Cの他方の電極(対向電極)は、他の液晶容量CLC−AおよびCLC−Bと共通の対向電極で構成されている。補助容量CCS−C1の他方の電極(補助容量対向電極)は、CSバスラインCS−Aに接続されており、補助容量CCS−C2の他方の電極(補助容量対向電極)は、CSバスラインCS−Bに接続されている。従って、液晶容量CLC−Cに印加される電圧は、2つの補助容量CCS−C1およびCCS−C2を介して、CSバスラインCS−Aによる突き上げ(または突き下げ)とCSバスラインCS−Bによる突き下げ(または突き上げ)との両方の作用を受け、液晶容量CLC−Aに印加される実効電圧と液晶容量CLC−Bに印加される実効電圧との中間の値となる。
なお、ここでは1つのGバスラインが3つのTFTについて共通に接続されているが、これに限ることはなく、各TFTに1つのGバスラインを設けるなど、各画素に関連付けられるGバスラインは複数であってもよい。
図2は、液晶表示装置100の駆動方法を説明するための図であり、ゲート信号(Gate信号)、CS信号(補助容量対向電圧)、Sバスラインから供給される信号電圧(=ソース信号、S信号)および画素電圧(各副画素の液晶容量に印加される電圧=各副画素の副画素電極の電圧)の波形を示す図である。また、図中の破線は対向電極の電圧波形COMMON(Vcom)を示している。あるゲートバスライン(ここではGate:001)において、ゲート信号がローからハイに切り替わったときに信号電圧がそれぞれの副画素に書き込まれる。それぞれの副画素に書き込まれた信号電圧が、上述の通り、それぞれ突き上げの作用、突き下げの作用、および突き上げと突き下げの両方の作用を受け、各副画素電極の電圧が、VClc−A、VClc−B、VClc−Cに示す波形となる。なお、ここでは簡便のため、各TFTの寄生容量等の影響による引き込み電圧は無視している。画素の印加電圧の波形を示す図中の一点鎖線は副画素電極の実効電圧を示している。VClc−Cは波形に変動がないため、実効電圧はVClc−Cの波形と同一となる。
一垂直走査期間(ここでは入力映像信号のフレームと同じ)に信号電圧の極性が反転し、且つ、行方向および列方向に隣接する画素間の極性が逆となる、典型的なドット反転駆動の場合を例示する。注目する画素において、nフレーム(nF)では正極性書き込み、n+1フレーム(n+1 F)では負極性書き込みの場合を示す。ここでは特に示さない限り、「一垂直走査期間」とは、入力映像信号で規定される期間ではなく、液晶表示装置について規定される期間であり、ある画素に信号電圧が供給されてから、再び信号電圧が供給されるまでの期間である。例えば、NTSC信号の1フレームは33.3msであるが、一般に液晶表示装置ではNTSC信号の1/2フレーム=1フィールド(16.7ms)の期間内に全ての画素に信号電圧の書き込みを行っており、16.7msが液晶表示装置の一垂直走査期間である。さらに、応答特性を改善する目的などのために倍速駆動を行う場合、液晶表示装置の一垂直走査期間は、さらに半分の8.3msとなる。また、各画素に供給される「信号電圧」とは、表示すべき階調に対応する電圧(階調電圧)に限られず、応答特性を改善するためのオーバーシュート電圧や、擬似インパルス駆動(黒挿入駆動)のための黒表示電圧など、画素に供給される全ての電圧を含むものとする。
nフレームでは正極性書き込みなので、ゲート信号が立ち下がった直後のCS信号の振幅が増大するVCS−Aが供給される液晶容量CLC−Aに印加される実効電圧が、CS電圧による突き上げ作用を受けて増大し、液晶容量CLC−Aで構成される副画素SP−Aが明副画素となる。一方、ゲート信号が立ち下がった直後のCS信号の振幅が減少するVCS−Bが供給される液晶容量CLC−Bに印加される実効電圧はCS電圧による突き下げ作用を受けて減少し、液晶容量CLC−Bで構成される副画素SP−Bが暗副画素となる。
液晶容量CLCに印加される実効電圧は、VCS−Aの突き上げ作用およびVCS−Bの突き下げ作用の両方を受けるので、液晶容量CLC−Aに印加される実効電圧と液晶容量CLC−Bに印加される実効電圧との中間の値となり、液晶容量CLC−Cで構成される副画素SP−Cは中間の輝度を呈する副画素(中副画素ということがある。)となる。ここでは、副画素SP−Cが有する2つの補助容量CCS−C1およびCCS−C2の静電容量値が互いに等しい場合を例示しており、この場合には、VCS−AおよびVCS−Bの作用が互いに相殺し合い、液晶容量CLC−Cには信号電圧と等しい電圧が印加されることになる。なお、このように液晶容量CLC−Cには信号電圧と等しい電圧を印加する場合には、副画素SP−Cの補助容量を1つだけにし、且つ、当該補助容量をオンゲート構造、すわなち、GバスラインをCSバスラインの代わりに用いる構造とすれば、駆動回路を複雑にすることなく同様の効果を得ることができる。
本実施形態はこれに限られず、補助容量CCS−C1およびCCS−C2の値を適宜設定することによって、副画素SP−Cの呈する輝度を副画素SP−Aの輝度に近づけることも、副画素SP−Bの輝度に近づけることもできる。なお、γ特性の視野角依存性の観点からは、後述するように、副画素SP−Cの輝度を副画素SP−Aの輝度と副画素SP−Bの輝度との中間とし、且つ、副画素SP−A、BおよびCの面積を互いに等しくすることが好ましい(図17参照)。ここで、副画素SP−Cの呈する輝度を明副画素の輝度に近づけると、コントラスト比を向上させることができ、副画素SP−Cの呈する輝度を暗副画素の輝度に近づけると、特に低階調におけるγ特性の視野角依存性を改善することができる。
また、上述の説明から明らかなように、2つの補助容量を有する副画素SP−Cを2つ設け、2つの副画素SP−Cが有する2つの補助容量の静電容量値を適宜設定すれば、互いに異なる4つの輝度を呈する4つの副画素を形成することができる。例えば、図1において、副画素SP−Cと電気的に等価な副画素をSP−Dを追加する。SP−Dは、SP−Cと同様に、液晶容量CLC−Dと2つの補助容量CCS−D1およびCCS−D2を有する。ここで、副画素SP−Cにおいては、補助容量CCS−C1およびCCS−C2の静電容量値を調整し突き上げ作用(または突き下げ作用)を優勢とし、副画素SP−Dにおいては補助容量CCS−D1およびCCS−D2の静電容量値を調整し突き下げ作用(または突き上げ作用)を優勢とすることによって、4つの異なる輝度を呈する副画素を得ることができる。このように、4つの異なる輝度を呈する副画素を設ければ、γ特性の視野角依存性をさらに改善することができる。以下では、本発明の最も基本的な実施形態である、3分割構造を有する液晶表示装置を説明する。
図3は、MVA型の液晶表示装置のγ特性を示すグラフであり、画素分割無し(曲線L0)、2分割構造(曲線L2)、3分割構造(L=3)のそれぞれの右60°視野角におけるγ曲線と、理想的なγ曲線(L1)を示している。MVA型液晶表示装置の斜め視野角におけるγ曲線が高輝度側にずれるという問題が、画素分割駆動によって改善されることがわかる。また、3分割構造のγ曲線L3の方が2分割構造のγ曲線L2よりも、理想的なγ曲線に近く、視野角特性が優れている。さらに、2分割構造のγ曲線L2は100/255階調付近の変化が滑らかでないのに対し、3分割構造のγ曲線L3は全階調範囲に亘って滑らかに変化していることがわかる。
なお、全ての階調電圧について、液晶容量に印加される実効電圧を異ならせる必要は必ずしもなく、最低階調(黒表示状態)および最高階調(白表示状態)においては、各液晶容量に同じ電圧が印加され、同じ輝度(階調)を表示してもよい。また、特にγ特性の視野角依存性が大きい領域(ある中間調(例えば100/255階調)よりも低い領域)においてのみ、マルチ画素駆動を行っても良い。
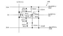
次に、図4〜図7を参照して、本発明による実施形態の液晶表示装置の画素分割構造と副画素の配置を説明する。図4〜図7は1画素構造分の等価回路と副画素の配置を模式的に示す図である。尚、副画素の配置は例示したものに限られず種々の改変が可能である。図4〜図7に示した等価回路は空間的な配置を加味しているが、電気的な接続関係は図1に示した等価回路と同じである。
図4〜図7には、本発明による実施形態の液晶表示装置が有する行列状に配列された画素のうち、m行n列の画素のTFT基板上の構造を模式的に示している。以下の図面において、共通する構成要素は共通の参照符号で説明を省略することがある。ここで、「画素」とは、液晶表示装置が表示を行う最小単位を指し、カラー表示装置の場合は、個々の色(典型的にはR、GまたはB)を表示する「絵素(またはドット)」に対応する。
図4に示す液晶表示装置100Aの画素においては、副画素SP−A、SP−CおよびSP−Bを列方向に沿ってこの順に配列している。すなわち、副画素の輝度順(ここでは上から降順)に配列されている。次のフレームにおいてもこの輝度の関係(画素内における副画素の輝度順位)は維持されるとともに、各副画素の液晶容量に印加される電圧の極性が反転するので、長期間にわたってDC電圧が印加されることを防止できる。なお、副画素SP−AとSP−Bとの輝度順位が入れ替わるようにVCS−AとVCS−Bの信号波形を調整してもよく、このときも副画素の輝度順(ここでは上から昇順)に配列されていることに代わりが無い。
図4に示すように、第1副画素SP−Aは第1副画素電極111aによって規定される領域に対応して形成され、第2副画素SP−Bは第2副画素電極111bによって規定される領域に対応して形成され、第3副画素SP−Cは、第3副画素電極111cによって規定される領域に対応して形成されている。
(m、n)画素はGバスライン112(m)とSバスライン114(n)に接続されたTFT116a、116bおよび116cによって駆動される。TFT116aのドレイン電極はドレイン引出し配線117aを介して第1副画素電極111aに接続されている。TFT116bのドレイン電極はドレイン引出し配線117bを介して第2副画素電極111bに接続されており、TFT116cのドレイン電極はドレイン引出し配線117cを介して第3副画素電極111cに接続されている。副画素電極111a、111bおよび111cは、液晶層(不図示)と、液晶層を介して対向するように配置されている共通の対向電極(不図示)とによって、液晶容量を構成する。すなわち、第1副画素電極111aは、図1中のCLC−Aを構成し、第2副画素電極111bはCLC−Bを構成し、第3副画素電極111cはCLC−Cを構成している。対向電極は複数の画素に共通に設けられ、典型的には、全ての画素に対して共通であるが、必要に応じて複数に分割されることもある。
m行の画素内には、2本のCSバスライン(=補助容量配線)CS−AおよびCS−Bが通っている。第1副画素SP−Aは、1つの補助容量CSA(図1中のCCS−A)を有している。補助容量CSAの一方の電極(補助容量対向電極)はCSバスラインCS−Aに接続されており、他方の電極(補助容量電極)はドレイン引出し配線117aに接続されている。これら一対の電極と、これら一対の電極の間の絶縁層(例えばゲート絶縁層)によって補助容量CSAが構成されている。同様に、第2副画素SP−Bは、1つの補助容量CSB(図1中のCCS−B)を有している。補助容量CSBの一方の電極(補助容量対向電極)はCSバスラインCS−Bに接続されており、他方の電極(補助容量電極)はドレイン引出し配線117bに接続されている。これら一対の電極と、これら一対の電極の間の絶縁層(例えばゲート絶縁層)によって補助容量CSBが構成されている。これらに対し、第3副画素SP−Cは、2つの補助容量CSC−1およびCSC−2(図1中のCCS−C1およびCCS−C2)を有している。補助容量CSC−1の一方の電極(補助容量対向電極)はCSバスラインCS−Aに接続されており、補助容量CSC−2の一方の電極(補助容量対向電極)はCSバスラインCS−Bに接続されている。補助容量CSC−1およびCSC−2の他方の電極(補助容量電極)はいずれもドレイン引出し配線117cに接続されている。これら二対の電極と、これら二対の電極のそれぞれの間の絶縁層(例えばゲート絶縁層)によって補助容量CSC−1およびCSC−2が構成されている。
次に、図5に示す液晶表示装置100Bの画素分割構造を説明する。
液晶表示装置100Bの画素は、3つの副画素SP−A、SP−BおよびSP−Cの内のSP−BおよびSP−Cがそれぞれ2つの領域(SP−B1とSP−B2およびSP−C1とSP−C2)を有し、且つ、それぞれの副画素の2つの領域は第1副画素SP−Aを挟むように配置されている。列方向には、SP−B2(暗副画素)、SP−C2(中副画素)、SP−A(明副画素)、SP−C1(中副画素)およびSP−B1(暗副画素)の順で配列されており、次のフレームにおいてもこの輝度の関係(画素内における副画素の輝度順位)は維持されるとともに、各副画素の液晶容量に印加される電圧の極性が反転するので、長期間にわたってDC電圧が印加されることを防止できる。なお、SP−AとSP−B1およびSP−B2との輝度順位が入れ替わるようにVCS−AとVCS−Bの信号波形を調整してもよい。
第2副画素の2つの領域SP−B1およびSP−B2は、それぞれ2つの副画素電極111b1および111b2に対応して形成されており、これらはドレイン引出し配線117bbによって互いに接続されており、ドレイン引出し配線117bbはドレイン引出し配線117bを介してTFT116bのドレイン電極に接続されている。同様に、第3副画素の2つの領域SP−C1およびSP−C2は、それぞれ2つの副画素電極111c1および111c2に対応して形成されており、これらはドレイン引出し配線117ccによって互いに接続されており、ドレイン引出し配線117ccはドレイン引出し配線117cを介してTFT116cのドレイン電極に接続されている。
その他の接続関係は、上記の液晶表示装置100Aと同じであるので説明を省略する。液晶表示装置100Bの画素における第2副画素の2つの領域SP−B1およびSP−B2は互いに等価であるとともに、液晶表示装置100Aの第2副画素SP−Bと等価である。また、液晶表示装置100Bの画素における第3副画素の2つの領域SP−C1およびSP−C2は互いに等価であるとともに、液晶表示装置100Aの第3副画素SP−Cと等価である。
液晶表示装置100Bのように、副画素をさらに空間的に分割することによって、画素内で異なる輝度を呈する領域がさらに細分化されるので、画像のざらつきが抑制され、均質性が向上する。特に、大型の液晶表示装置(例えば50型以上)においては画素サイズが大きいために、マルチ画素構造を採用すると、画素内の輝度の分布がざらつきとして感じられることがあり、これを防止するために有効である。
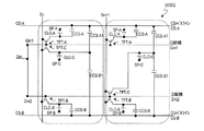
次に、図6に示す液晶表示装置100Cの画素分割構造を説明する。
液晶表示装置100Cの画素は、3つの副画素SP−A、SP−BおよびSP−Cの内のSP−BおよびSP−Cがそれぞれ第1副画素SP−Aを挟むように配置された2つの領域を有している点で、図5に示した液晶表示装置100Bと共通している。液晶表示装置100Bにおいて、第3副画素の2つの領域SP−C1およびSP−C2をそれぞれ構成する副画素電極111c1および111c2がドレイン引出し配線を介して互いに電気的に接続されていたのに対し、液晶表示装置100Cでは1つのコの字状(U字状または馬蹄形状)の副画素電極111cとして形成されている点が異なる。その他の点は液晶表示装置100Bと同じなので説明を省略する。
次に、図7に示す液晶表示装置100Dの画素分割構造を説明する。
液晶表示装置100Dの画素は、3つの副画素SP−A、SP−BおよびSP−Cの内のSP−BおよびSP−Cがそれぞれ第1副画素SP−Aを挟むように配置された2つの領域を有している点で、図5に示した液晶表示装置100Bおよび図6に示した液晶表示装置100Cと共通している。さらに、第3副画素の2つの領域を構成する副画素電極が1つのコの字状の副画素電極111cとして形成されている点で図6に示した液晶表示装置100Cと共通している。液晶表示装置100Cにおいて、第2副画素の2つの領域SP−B1およびSP−B2をそれぞれ構成する副画素電極111b1および111b2がドレイン引出し配線を介して互いに電気的に接続されていたのに対し、液晶表示装置100Dでは1つのコの字状の副画素電極111bとして形成されている点が異なる。その他の点は液晶表示装置100Cと同じなので説明を省略する。
液晶表示装置100Cおよび100Dのように、副画素を2つの領域に分割した際に、副画素電極をコの字状にすることによって、ドレイン引出し配線の引き回しを単純にすることができる。また、ここでは、第2副画素電極111bおよび第3副画素電極111cをコの字状の電極とした例を示したが、これに限られず、後述するように、環状(口の字状または角張ったO字状)の電極としてもよい。環状の電極とすると、寄生容量(例えばCsd)を容易に調整することができる。
次に、図8〜図12を参照して、本発明による液晶表示装置の画素の具体的な構成を説明する。図8〜図12は、m行n列およびm行n+1列の2つの画素のTFT基板上の構造を模式的に示している。典型的なドット反転駆動を行う場合、m行n列(以下(m、n)と表記する)の画素に信号電圧が正極性(対向電圧を基準としたときの極性)で書き込まれているとき、(m、n+1)画素は負極性で書き込まれる。このとき、(m、n)画素の副画素SP−Aが明副画素、副画素SP−Bが暗副画素、副画素SP−Cが中副画素となる場合、(m、n+1)画素の副画素SP−Aが暗副画素、副画素SP−Bが明副画素、副画素SP−Cが中副画素となるように駆動され得る。
図8に示す液晶表示装置200Aは、図4に示した液晶表示装置100Aと同じ等価回路で表され、副画素の配置も同じである。
(m、n)画素に注目する。(m、n)画素はゲートバスライン112(m)とソースバスライン114(n)に接続されたTFT116a、116bおよび116cによって駆動される。TFT116aのドレイン電極はドレイン引出し配線117aを介してコンタクト部119aにおいて第1副画素電極111aに接続されている。TFT116bのドレイン電極はドレイン引出し配線117bを介して、コンタクト部119bにおいて第2副画素電極111bに接続されており、TFT116cのドレイン電極はドレイン引出し配線117cを介して、コンタクト部119c1および119c2において第3副画素電極111cに接続されている。副画素電極111a、111bおよび111cは、液晶層(不図示)と、液晶層を介して対向するように配置されている対向電極(不図示)とによって、それぞれ液晶容量CLC−A、CLC−BおよびCLC−C(図1参照)を構成する。
ここで、ソースバスライン114(n)はn列の副画素電極111a、111bおよび111cと部分的に重なっている。ソースバスライン114(n)と副画素電極111a、111bおよび111cとの間の寄生容量(Csd)を十分に小さくできるように、これらの間には樹脂で形成された層間絶縁膜、例えば2.5μm程度のアクリル系樹脂、が設けられている。言い換えると、層間絶縁膜を設けることによって、副画素電極111a、111bおよび111cをソースバスライン114(n)と重なるように設けることが可能となり、画素開口率を向上させることができる。
TFT116a、116bおよび116cはボトムゲート構造を有しており、それぞれ、ゲートバスライン112(m)の延設部として形成されたゲート電極と、その上に形成された半導体層と、半導体層のソースおよびドレイン領域に形成されたソース電極およびドレイン電極とを有している。ソース電極はソースバスライン114(n)の延設部として形成されている。TFT116a、116bおよび116cのドレイン電極はそれぞれドレイン引出し配線117a、117bおよび117cと一体に形成されている。これら全てを覆うように層間絶縁膜(不図示)が設けられており、層間絶縁膜上に副画素電極111a、111bおよび111cが形成されている。層間絶縁膜に形成されたコンタクトホール内のコンタクト部119aにおいてドレイン引出し配線117aと副画素電極111aとが接続されており、コンタクト部119bにおいてドレイン引出し配線117bと副画素電極111bとが接続されており、コンタクト部119c1および119c2においてドレイン引出し配線117cと副画素電極111cとが接続されている。
次に、(m、n)画素における補助容量の構成を説明する。m行の画素内には、2本のCSバスライン(=補助容量配線)113−1および113−2が通っている。CSバスライン113−1は図4(または図1)中のCSバスラインCS−Aに対応し、CSバスライン113−2はCSバスラインCS−Bに対応する。
副画素SP―Aの補助容量(図4中のCSA)は、ドレイン引出し配線117aがCSバスライン113−1と重なる部分(コンタクト部119a付近)に形成されている。副画素SP−Bの補助容量(図4中のCSB)は、ドレイン引出し配線117bがCSバスライン113−2と重なる部分(コンタクト部119b付近)に形成されている。
副画素SP−Cは2つの補助容量(図4中のCSC−1およびCSC−2)を有している。補助容量CSC−1はドレイン引出し配線117cがCSバスライン113−1と重なる部分(コンタクト部119c2付近)に形成されており、補助容量CSC−2はドレイン引出し配線117cがCSバスライン113−2と重なる部分(コンタクト部119c1付近)に形成されている。CSバスライン113−1および113−2はいずれもゲートバスライン112(m)と同じ導電層で形成されており、ゲート絶縁膜(不図示)によって覆われている。補助容量CSC−1およびCSC−2の誘電体層はいずれもゲート絶縁膜であり、補助容量CSC−1およびCSC−2の容量値はそれぞれ電極の面積に比例する。ここでは図8に示すように、補助容量CSC−1およびCSC−2の容量値は互いにほぼ等しい。
図9に示す液晶表示装置200Bは、図5に示した液晶表示装置100Bと同じ等価回路で表され、副画素の配置も同じである。液晶表示装置200Bの画素は、3つの副画素SP−A、SP−BおよびSP−Cの内のSP−BおよびSP−Cがそれぞれ2つの領域(SP−B1とSP−B2およびSP−C1とSP−C2)を有し、且つ、それぞれの副画素の2つの領域は第1副画素SP−Aを挟むように配置されている。以下では、液晶表示装置200Aと異なる第2副画素SP−Bおよび第3副画素SP−Cの構成を説明する。
第2副画素の2つの領域SP−B1およびSP−B2は、それぞれ2つの副画素電極111b1および111b2に対応して形成されている。副画素電極111b1はコンタクト部119b1においてドレイン引出し配線117bと接続されており、副画素電極111b2はコンタクト部119b2においてドレイン引出し配線117bと接続されている。第3副画素の2つの領域SP−C1およびSP−C2は、それぞれ2つの副画素電極111c1および111c2に対応して形成されている。副画素電極111c1はコンタクト部119c1においてドレイン引出し配線117cと接続されており、副画素電極111c2はコンタクト部119c2においてドレイン引出し配線117cと接続されている。
また、2つのCSバスライン113−1および113―2は、それぞれ環状部と非環状部とを有している。CSバスライン113−1および113―2の環状部はソースバスライン114(n)と114(n+1)と重ならないように、これらの内側に形成されている。CSバスライン113−1および113―2の非環状部は、行方向に隣接する画素間に存在するソースバスラインと交差し、行方向に隣接する環状部を互いに連結している。CSバスライン113−2の環状部の内側に存在する副画素電極111c1の部分が副画素SP―C1の表示に寄与し、CSバスライン113−1の環状部の内側に存在する副画素電極111c2の部分が副画素SP―C2の表示に寄与する。また、2つのCSバスライン113−1および113―2の環状部は、隣接する副画素間にも存在し、この領域を遮光する機能をも果たしている。
副画素SP−Aの補助容量は、バスライン113−1の環状部とドレイン引出し配線117aとが重なる領域(コンタクト部119a近傍)に形成されている。副画素SP−Bの補助容量は、バスライン113−2の環状部とドレイン引出し配線117bとが重なる領域に形成されている。ただし、(m、n+1)画素について見ると、副画素SP−Aの補助容量は、バスライン113−2の環状部とドレイン引出し配線117aとが重なる領域に形成されており、副画素SP−Bの補助容量(SP−B1およびSP−B2に対して1つの補助容量)は、バスライン113−1の環状部とドレイン引出し配線117bとが重なる領域に形成されている。このように配置することによって、ドット反転駆動を行った場合においても、(m、n)画素と(m、n+1)画素とにおける副画素の輝度の順位を同じにできる。このことは、例えば(m、n)画素でSP−Aを明副画素とした場合、(m、n+1)画素においてもSP−Aを明副画素とすることができるので、比較的認識されやすい明副画素の位置が画素ごとに異なることで画像のざらつきとして感じられることがあるような場合に、これを抑制することができる。
なお、ドレイン引出し配線117aおよび117bは、2つのCSバスライン113−1および113−2の非環状部とそれぞれ同じ回数だけ交差するように配置されており、補助容量を形成する部分以外の容量への寄与を相殺している。また、副画素SP−Cの2つの補助容量の内の一方は、CSバスライン113−1とドレイン引出し配線117cとが重なる領域(コンタクト部119c2近傍)に形成されており、他方は、CSバスライン113−2とドレイン引出し配線117cとが重なる領域(コンタクト部119c1近傍)に形成されている。ここでも、副画素SP−Cの2つの補助容量の静電容量値はほぼ同じに設定されている。
図10に示す液晶表示装置200Cは、図6に示した液晶表示装置100Cと同じ等価回路で表され、副画素の配置も同じである。図9に示した液晶表示装置200Bと比較すると、液晶表示装置200Bにおいて、第3副画素SP−Cの2つの領域SP−C1およびSP−C2をそれぞれ構成する副画素電極111c1および111c2がドレイン引出し配線117cを介して互いに電気的に接続されていたのに対し、液晶表示装置200Cでは1つのコの字状(U字状または馬蹄形状)の副画素電極111cとして形成されている点が異なる。また、コの字状の副画素電極111cにおける2つの領域を連結する部分と副画素電極111aとの間隙は、ドレイン引出し配線117aで遮光するように構成されている。
図11に示す液晶表示装置200C’は、図10に示した液晶表示装置200Cにおけるコの字状の副画素電極111cを環状(口の字状または角張ったO字状)の副画素電極111cとした点において異なる。環状の副画素電極111cと、その開口部内に配置される副画素電極111aとの間隙は、ドレイン引出し配線117aおよび117bで遮光するように構成されている。副画素電極111cを環状とすると、副画素電極111cをコの字状とするよりもソース・ドレイン間の寄生容量(Csd)を容易に調整できるという利点が得られる。
図12に示す液晶表示装置200Dは、図7に示した液晶表示装置100Dの変形例であり、液晶表示装置100Dのコの字状の副画素SP−Cを環状に改変したものに対応する。図11に示した液晶表示装置200C’と比較すると、液晶表示装置200C’において、第2副画素SP−Bの2つの領域SP−B1およびSP−B2をそれぞれ構成する副画素電極111b1および111b2がドレイン引出し配線117bを介して互いに電気的に接続されていたのに対し、液晶表示装置200Dでは1つの環状の副画素電極111bとして形成されている点が異なる。また、副画素電極111bと副画素電極111cとの間隙は、ソースバスライン114(n)および114(n+1)によって遮光されるように構成されている。
次に、図13および図14を参照して、本発明による実施形態のMVA型の液晶表示装置の具体的な構成を説明する。MVA型の液晶表示装置は、良く知られているように、誘電異方性が負のネマチック液晶材料を用いた垂直配向モードであり、各画素内に、電圧印加時の液晶分子の配向方向が互いに異なる4つの方向(任意の2つの方向の差が約90°の倍数)であるドメイン(4分割ドメイン)を有し、ノーマリブラックモードで表示を行う表示装置である。なお、MVA型液晶表示装置にマルチ画素構造を適用する場合、視野角特性の観点から、各副画素について4つのドメインを形成することが好ましい。
図13に示す液晶表示装置300Bは、図5に示した液晶表示装置100Bおよび図9に示した液晶表示装置200Bと同じ等価回路で表され、副画素の配置も同じである。以下の説明では、液晶表示装置200Bの構造と共通する点の説明を省略する。
副画素電極111aに形成されたスリットSLa、副画素電極111aと副画素電極111c1および111c2との間隙、副画素電極111c1と副画素電極111b1との間隙、副画素電極111c2と副画素電極111b2との間隙が、斜め電界を生成し、マルチドメイン構造を形成するための配向規制手段(画素電極に形成されたスリット)として機能する。スリットSLaおよび隣接する副画素電極間の間隙は、マトリクス状に配列された列方向に対して約45°の角度で交差する方向に延びており、互いに略直交する方向に延びている。液晶パネルを介したクロスニコルに配置される偏光板の偏光軸(透過軸)は列方向および行方向に直交または平行であり、上述のように配置されたスリットおよび副画素電極間の間隙は、電圧印加時における液晶分子の配向方向を偏光軸に対して略45°方向に規制するように作用する。なお、対向基板側には、互いに隣接し互いに平行なスリットと副画素電極の間隙との間、または、互いに隣接し互いに平行な副画素電極の間隙の間に、その間隔を略2等分する位置に、それらに平行な配向規制手段が設けられる。対向基板に設けられる配向規制手段は、対向電極に設けられるスリットであってもよいし、対向電極の液晶層側に設けられる誘電体突起(リブ)であってもよい。なお、誘電体突起の誘電率は液晶層の誘電率よりも低いことが好ましい。
液晶表示装置300Bにおける補助容量は、CSバスラインの延設部とドレイン引出し配線とが重なる領域に形成されている。例えば、CSバスライン113−1は環状の延設部113−1Eを有しており、環状の延設部113−1Eの中央をブリッジする部分がドレイン引出し配線117cと重なる部分に、副画素SP−Cが有する2つの補助容量の内の一方の補助容量が形成されている。同様に、CSバスライン113−2は環状の延設部113−2Eを有しており、環状の延設部113−2Eの中央をブリッジする部分がドレイン引出し配線117cと重なる部分に、副画素SP−Cが有する2つの補助容量の内の他方の補助容量が形成されている。また、環状の延設部113−1Eおよび113−2Eの環部分は、隣接する副画素電極の間隙を遮光するように配置されている。副画素SP−Aの補助容量は、CSバスライン113−1とドレイン引出し配線117aとが重なる部分(副画素電極111c2の下部)で形成されており、副画素SP−Bの補助容量は、CSバスライン113−2とドレイン引出し配線117bとが重なる部分(副画素電極111c1の下部)で形成されている。
図14に示す液晶表示装置300Cは、図6に示した液晶表示装置100Cおよび図10に示した液晶表示装置200Cと同じ等価回路で表され、副画素の配置も同じである。図13に示した液晶表示装置300Bと比較すると、液晶表示装置300Bにおいて、副画素電極111c1および111c2がドレイン引出し配線117cを介して互いに電気的に接続されていたのに対し、液晶表示装置300Cでは1つのコの字状(U字状または馬蹄形状)の副画素電極111cとして形成されている点が異なる。また、コの字状の副画素電極111cにおける2つの領域を連結する部分と副画素電極111aとの間隙は、ドレイン引出し配線117aで遮光するように構成されている。
また、液晶表示装置300Cは第3副画素の一方の領域SP−C2に、ドレイン引出し配線と同じ導電層で形成されたドレイン浮島117c’を有している。ドレイン浮島117c’はコンタクト部119c2において副画素電極111cと接続されている。ドレイン浮島117c’とCSバスラインの環状延設部113−1Eの一部とが重なる領域に、副画素SP−Cが有する2つの補助容量の一方が形成されている。副画素SP−Cが有する2つの補助容量の他方は、ドレイン引出し配線117cがCSバスライン113−2の環状延設部113−2Eと重なる領域に形成されている。
なお、ここで、補助容量を形成する部分を、隣接する副画素電極の間隙の方向に平行に設けている理由は、マルチドメイン構造を得るために対向基板側に形成される配向規制手段(電極スリットまたは誘電体突起)と重ねることにより、光漏れを防止するためである。
次に、画素内における副画素の好ましい配列をγ特性の観点から説明する。
まず、図15(a)および(b)を参照して、2分割構造のγ特性の視野角依存性について説明する。ここでは、明副画素(SP−A)を2つの領域SP−A1およびSP−A2に分割し、暗副画素(SP−B)を2つの領域SP−B1およびSP−B2に分割した例を示しているが、γ特性は2分割構造であれば、各副画素を複数の領域に分割しても変わらない。ただし、図15(a)に示したように各副画素を2つの領域に分割すれば、例えば52型(画素配列ピッチ:行方向200μm、列方向600μm)を超える超大型の液晶表示装置において、中間調を表示した際に、明副画素と暗副画素との市松状の配列が表示のざらつきとして視認され難くなる。
2分割構造(2つのVT特性の重ね合わせを実現するので2VT構造ともいう。)のγ特性の視野角依存性を図15(b)に示す。図15(b)は、横軸が正面における階調で、縦軸が左右(偏光軸に平行または直交)における斜め視野角(表示面法線から45°)での階調を示すグラフである。2分割構造では、図15(b)に示すように、100/255階調付近に窪みが形成され、滑らかな変化が得られない。このγ特性の視野角依存性を改善するためには、分割数を3以上とする必要がある。
次に、図16および図17を参照して、3分割構造(3VT構造)とした場合の好ましい副画素の配列およびγ特性の視野角依存性について説明する。
図16(a)に示すように、明副画素SP−A、暗副画素SP−Bおよび中副画素SP−C(SP−C1およびSP−C2)の面積比を1:1:2とした場合のγ特性の視野角依存性を図16(b)に示す。図16(b)を図15(b)と比較すれば明らかなように、100/255階調付近の滑らかさが改善されている。
また、図17(a)に示すように、明副画素SP−A、暗副画素SP−Bおよび中副画素SP−C(SP−C1およびSP−C2)の面積比を1:1:1とすると、図17(b)に示すように、100/255階調付近の滑らかさがさらに改善される。このように、γ特性の視野角依存性の観点からは、明副画素、中副画素および暗副画素の面積比は1:1:1であることが好ましい。
また、表示のざらつきを低減するという観点からは、明副画素を画素の中心に配置することが好ましい。また、ドット反転駆動等において、副画素間の輝度順位を入れ替えることを考慮すると、明副画素と暗副画素とを入れ替えることが好ましい。従って、少なくとも明副画素と暗副画素の面積は等しいことが好ましい。さらに、表示のざらつきを低減するという観点からは、明副画素と暗副画素とを近接させて画素の中央に配置することが好ましい。なお、図5等に示した液晶表示装置において、画素内において中副画素と暗副画素とを入れ替えることは、容易に行うことができる。
また、γ特性の波長依存性を考慮すると、青画素のセルギャップ(液晶層の厚さ)を他の色画素(典型的には緑画素および赤画素)よりも小さくすることが好ましい。
図17(b)において、γ特性の視野角依存性を赤(R)、緑(G)および青(B)ごとに示したが、青(B)の視野角依存性は、赤(R)および緑(G)よりも大きいことが分かる。これは、液晶層のリタデーション(複屈折率)の波長分散に起因する。図17(b)は、セルギャップ(液晶層の厚さ)をR画素、G画素およびB画素の全てについて3.4μmとした場合の階調特性を示したが、B画素のセルギャップだけを3.0μmとすることによって、B画素のγ特性が他の色画素のγ特性に近づき、全体として、γ特性の視野角依存性が改善される。
なお、上述したように、補助容量の形成にGバスラインを用いてもよい。
図18に、本発明による実施形態の液晶表示装置400Aの等価回路を模式的に示す。液晶表示装置400Aにおいて1つの画素は、第1、第2、第3副画素SP−A、SP−B、SP−Cを有している。第1、第2、第3副画素SP−A、SP−B、SP−Cおよび2つのCSバスラインCS−A、CS−Bは隣接する2つのGバスラインの間に配置されている。液晶表示装置400Aでは、Gバスラインの数は画素の行数と対応しているが、Gバスラインは、画素を選択するだけでなく、列方向に隣接する画素の第3副画素SP−Cの補助容量に接続されている。このため、各画素に2つのGバスラインが関連付けられている。
図18にはm行の画素を示しており、m−1行のGバスラインおよびm行のGバスラインを、それぞれGバスラインG(m−1)およびGバスラインG(m)と示している。第1、第2、第3副画素SP−A、SP−B、SP−CのTFT−A、TFT−B、TFT−Cのゲート電極はGバスラインG(m)と接続されている。また、図18には図示していないが、同様に、m−1行の3つの副画素のTFTのゲート電極はGバスラインG(m−1)と接続されている。
液晶表示装置400Aにおける、2つの副画素SP−AおよびSP−Bと、TFT−AおよびTFT−B、Gバスライン、Sバスライン、および2本の互いに電気的に独立なCSバスラインとの間の接続関係は、図4に示した液晶表示装置100Aと基本的に同じであるため、簡単のために説明を省略する。3番目の副画素SP−Cは以下のように接続されている。
第3副画素SP−Cは、液晶容量CLC−Cと、補助容量CCS−G(m−1)とを有している。液晶容量CLC−Cの一方の電極(副画素電極)はTFT−Cのドレイン電極に接続されており、補助容量CCS−G(m−1)の一方の電極もTFT−Cのドレイン電極に接続されている。液晶容量CLC−Cの他方の電極(対向電極)は、他の液晶容量CLC−A、CLC−Bと共通の対向電極で構成されている。補助容量CCS−G(m−1)の他方の電極(補助容量対向電極)はGバスラインG(m−1)に接続されている。
第1副画素SP−Aの液晶容量CLC−Aは補助容量CCS−Aを介してCSバスラインCS−Aによる突き上げ(または突き下げ)の作用を受け、また、第2副画素SP−Bの液晶容量CLC−Bは補助容量CCS−Bを介してCSバスラインCS−Bによる突き下げ(または突き上げ)の作用を受ける。一方、GバスラインG(m)は、GバスラインG(m−1)がオフ状態になった後に選択され、次にGバスラインG(m)が選択される直前までGバスラインG(m−1)はオフ状態を維持する。なお、厳密には、GバスラインG(m−1)が選択されたときに第3副画素SP−Cの液晶容量CLC−Cは突き上げ作用を受ける。しかしながら、GバスラインG(m−1)が選択されるのは、GバスラインG(m)が選択された後一垂直走査期間経過する直前であり、GバスラインG(m−1)の選択により突き上げ作用を受けた直後にG(m)が選択され、GバスラインG(m−1)が選択されている期間は一垂直走査に比べて非常に短いため、第3副画素SP−Cの液晶容量CLC−CはGバスラインG(m−1)による作用を実質的に受けないといえる。したがって、液晶容量CLC−Cに印加される実効電圧は、液晶容量CLC−Aおよび液晶容量CLC−Bに印加される実効電圧の中間の値となる。このため、第1副画素SP−Aが暗副画素となるとき、第2副画素SP−Bは明副画素、第3副画素は中副画素となる。以上のようにして、1画素あたりのCSバスラインの本数を増加させることなく、3VT構造を実現することができる。
また、ドレイン引出し配線は、コンタクト部において第3副画素の副画素電極と接続するとともにゲートバスラインと重なる補助容量電極を有している。液晶表示装置400Aでは、列方向に隣接する画素を選択するためのゲートバスラインの傍に第3副画素を設けているため、ドレイン引出し配線のコンタクト部と補助容量電極との間の距離を短くすることができ、ドレイン引出し配線の引き回しを単純にすることができる。また、画素の中央に明副画素を配置することができ、これにより、ジャギー(ざらつき感)の発生を抑制できる。
なお、上述した液晶表示装置のCSバスラインは、1つの画素内の1つまたは複数の副画素の補助容量と接続していたが、本発明はこれに限定されない。CSバスラインは、列方向に隣接する2つの画素に属する複数の副画素の補助容量と接続してもよい。
図19に、本発明による実施形態の液晶表示装置400Bの等価回路を模式的に示す。液晶表示装置400Bでは、CSバスライン(CS配線)の数は画素の行数に対応しているが、1つのCSバスラインは列方向に隣接する2つの画素に属する副画素のそれぞれの液晶容量に突き上げまたは突き下げ作用を与えており、各画素に2つのCSバスラインが関連付けられている。したがって、液晶表示装置400BのCSバスラインの数は、図18に示した液晶表示装置400Aと比べて少ない。なお、液晶表示装置400Bでは、画素の中央にゲートバスラインが配置されており、いわゆるセンターゲート構造となっている。
ここで、m−1行の画素に注目する。m−1行の画素の第1、第2、第3副画素SP−A、SP−B、SP−Cは、隣接する2つのCSバスラインCS−A、CS−Bの間に配置されている。第3副画素SP−Cは、液晶容量CLC−Cと、補助容量CCS−G(m−2)とを有している。液晶容量CLC−Cの一方の電極(副画素電極)はTFT−Cのドレイン電極に接続されており、補助容量CCS−G(m−2)の一方の電極もTFT−Cのドレイン電極に接続されている。液晶容量CLC−Cの他方の電極(対向電極)は、他の液晶容量CLC−A、CLC−Bと共通の対向電極で構成されている。補助容量CCS−G(m−2)の他方の電極(補助容量対向電極)はGバスラインG(m−2)に接続されている。
第1副画素SP−Aの液晶容量CLC−Aは補助容量CCS−Aを介してCSバスラインCS−Aによる突き上げ(または突き下げ)の作用を受け、また、第2副画素SP−Bの液晶容量CLC−Bは補助容量CCS−Bを介してCSバスラインCS−Bによる突き下げ(または突き上げ)の作用を受ける。一方、GバスラインG(m−1)は、GバスラインG(m−2)がオフ状態になった後に選択され、次にGバスラインG(m−1)が選択される直前までGバスラインG(m−2)はオフ状態を維持するため、第3副画素SP−Cの液晶容量CLC−Cは突き上げ(または突き下げ)の作用を実質的に受けることなく、液晶容量CLC−Cに印加される実効電圧は、液晶容量CLC−Aおよび液晶容量CLC−Bに印加される実効電圧の中間の値となる。このため、第1副画素SP−Aが明副画素となるとき、第2副画素SP−Bは暗副画素となり、第3副画素SP−Cは中副画素となる。
次に、m行の画素に注目する。m行の画素の第1、第2、第3副画素SP−A、SP−B、SP−Cは、隣接する2つのCSバスラインCS−B、CS−Cの間に配置されている。第1副画素SP−Aの液晶容量CLC−Aは補助容量CCS−Bを介してCSバスラインCS−Bによる突き下げ(または突き上げ)の作用を受け、また、第2副画素SP−Bの液晶容量CLC−Bは補助容量CCS−Cを介してCSバスラインCS−Cによる突き上げ(または突き下げ)の作用を受ける。一方、GバスラインG(m)は、GバスラインG(m−1)がオフ状態になった後に選択され、次にGバスラインG(m)が選択される直前までGバスラインG(m−1)はオフ状態を維持するため、第3副画素SP−Cの液晶容量CLC−Cは突き上げ(または突き下げ)の作用を実質的に受けることなく、液晶容量CLC−Cに印加される実効電圧は、液晶容量CLC−Aおよび液晶容量CLC−Bに印加される実効電圧の中間の値となる。このため、第1副画素SP−Aが明副画素となるとき、第2副画素SP−Bは暗副画素となり、第3副画素SP−Cは中副画素となる。
なお、m−1行の画素の第2副画素SP−Bの液晶容量CLC−Bおよびm行の画素の第1副画素SP−Aの液晶容量CLC−Aは、ともにCSバスラインCS−Bによる突き下げ(または突き上げ)の作用を受けるが、液晶表示装置400Bはドット反転駆動を行っており、GバスラインG(m−1)が選択されたときにSバスラインに供給されるソース信号の極性は、GバスラインG(m)が選択されたときにSバスラインに供給されるソース信号の極性と反転している。このため、m−1行の画素の第2副画素SP−Bが暗副画素になるとき、m行の画素の第1副画素SP−Aは明副画素となる。
なお、図19に示したセンターゲート構造の液晶表示装置400Bでは、第3副画素の補助容量はGバスラインと接続されていたが、本発明はこれに限定されない。第3副画素の補助容量は2つのCSバスラインと接続されていてもよい。
図20(a)に、本発明による実施形態の液晶表示装置500AのTFT基板の模式的平面図を示す。液晶表示装置500Aは3分割構造の液晶表示装置である。なお、参考のために、図20(b)に、2分割構造の液晶表示装置550のTFT基板の模式的平面図を示す。
液晶表示装置500Aでは、CSバスライン(CS配線)の数は画素の行数に対応しているが、CSバスラインは、列方向に隣接する2つの画素に属する複数の副画素の補助容量を形成しており、各画素に2つのCSバスラインが関連付けられている。また、この液晶表示装置500Aでは、1つの画素の列方向の中心をソースバスラインが延びており、行方向の中心をゲートバスラインが延びている。このように液晶表示装置500Aはセンターゲート構造を有している。
液晶表示装置500Aにおける1つの画素は、第1、第2、第3副画素SP−A、SP−B、SP−Cを有している。第1副画素SP−Aおよび第2副画素SP−Bは列方向に配列されている。
第3副画素SP−Cは、副画素電極111cによって規定されている。第3副画素SP−Cの副画素電極111cはGバスラインを跨いでおり、Gバスラインよりも+y方向に設けられた電極111c1と、Gバスラインよりも−y方向に設けられた電極111c2と、電極111c1、111c2を連結する連結部111ccとを有している。電極111c1、111c2は、第1、第2副画素SP−A、SP−Bの副画素電極111a、111bに対して行方向に配列されている。なお、ここでは、電極111c1、111c2の行方向(x方向)の長さは、副画素電極111a、111bと略等しい。また、連結部111ccの面積は電極111c1、111c2と比べると小さいので、それを無視すると、第1副画素、第2副画素、第3副画素SP−A、SP−B、SP−Cの面積比はほぼ1:1:2である。
第1副画素SP−Aの液晶容量はCSバスラインCS―Aによる突き上げ(または突き下げ)作用を受け、第2副画素SP−Bの液晶容量はCSバスラインCS―Bによる突き下げ(または突き上げ)作用を受ける。それに対して、第3副画素SP−Cの液晶容量は、CSバスラインCS―Aによる突き上げ(または突き下げ)作用、および、CSバスラインCS−Bによる突き下げ(または突き上げ)作用の両方を受ける。第3副画素SP−Cの液晶容量に印加される電圧は、第1副画素SP−Aおよび第2副画素SP−Bの液晶容量に印加される電圧の一方よりも低く、他方よりも高い。したがって、第3副画素は中副画素となり、明副画素、中副画素、暗副画素の面積比はほぼ1:2:1となる。
なお、CSバスラインCS−Aは、m行の画素の第1副画素SP−Aの液晶容量だけでなく、m−1行の画素の第2副画素SP−Bの液晶容量に対して突き上げ(または突き下げ)作用を与えるが、液晶表示装置500Aはドット反転駆動を行う場合、m行の画素の第1副画素SP−Aおよびm−1行の画素の第2副画素SP−Bの一方が明副画素となり、他方が暗副画素となる。その結果、第1副画素および第2副画素の列方向の配列を見ると、暗副画素および明副画素が交互に配列されることになる。
液晶表示装置500Aでは、Sバスラインを画素の行方向の中心に配置しているため、Sバスラインの近傍に設けられたTFTのドレイン電極と副画素電極とを結ぶドレイン引出し配線を短くすることができ、ドレイン引出し配線は別の配線と交差しない。液晶表示装置500Aの画素構造は、図20(b)に示した2分割構造の液晶表示装置550と同様に比較的単純であり、高い透過率を維持しつつ歩留まりを向上させることができる。また、2分割構造の液晶表示装置550ではジャギー(ざらつき感)が発生することがあるが、液晶表示装置500Aでは第3副画素SP−Cが画素の列方向の全体にわたって設けられているため、ジャギー(ざらつき感)の発生を抑制することができる。
また、図4に示した液晶表示装置100Aの高速駆動を行う場合、横シャドーが発生することがある。以下、図21を参照してノーマリーブラック型の液晶表示装置における横シャドーの原因を説明する。液晶表示装置100AのCSバスラインは1つの画素内の複数の副画素の補助容量と接続している。液晶表示装置100Aが高速駆動で低輝度(中間調)の背景表示部、ならびに、背景表示部と同程度の低輝度の領域およびその領域に挟まれた高輝度の領域を有するウィンドウ部を表示するとき、図21(a)に示すように、ウィンドウ部の左右にある領域において本来の表示よりも高輝度となる横シャドーが発生することがある。
画素電極に正極性の書き込み電圧が印加される場合、ゲート・ドレイン間電位が画素電位の上昇とともに低下し、TFTのオン抵抗は徐々に上昇する。一方、画素電極に負極性の書き込み電圧が印加される場合、ゲート・ドレイン間電位は画素電極の電位の低下に関係なく一定である。このように、書き込み電圧の極性に応じてTFTのオン抵抗は変動し、正極性書き込み時のオン抵抗は大きく、負極性書き込み時のオン抵抗は小さく、その結果、画素充電時における正極性書き込みの画素充電速度は負極正書き込みよりも遅い。
また、画素充電時に画素電極の電位は変化し、この変化により、CS信号電圧にリップル電圧が重畳される。リップル電圧はTFTのオン抵抗に応じて変動し、リップル電圧の極性は書き込み電圧の極性に応じて反転する。ドット反転駆動を行う場合、隣接する画素に異なる極性の書き込み電圧が印加される。上述したように、書き込み電圧の極性に応じてTFTのオン抵抗が変動して画素電極の電位の変化速度が異なるため、結果としてCS信号電圧に正極性のリップル電圧が重畳される。
図21(b)には、背景表示部の画素におけるCS電圧に対するリップル電圧、ならびに、対向電極電圧、副画素電極電圧およびゲート電圧の時間変化を示す。なお、実際にはCS電圧は時間とともに変化しているが、ここでは、CS電圧を基準としたリップル電圧を示している。CS電圧に重畳されたリップル電圧は時間とともに減衰し、ゲート電圧がオフ状態となるとき、リップル電圧はほぼゼロとなる。このため、リップル電圧は、画素電極電圧に実質的に影響しない。一方、図21(c)に示すように、ウィンドウ部の画素書き込み電圧の正負の振幅は、ノーマリーブラック型であるために背景表示部よりも大きい。よって、ウィンドウ部の画素におけるリップル電圧は背景表示部に比べて高くなるため、ゲート電圧がオフになる時にCS信号に重畳されたリップル電圧は減衰しきっておらず、ゲート電圧がオフになった後もリップル電圧は減衰する。このため、CS電圧の影響を受ける画素電極電圧は残存しているリップル電圧Vαに起因して電圧Vβほどずれる。このように、ウィンドウ部において横シャドーが発生する。
これに対して、図20に示した液晶表示装置500Aでは、CSバスラインが、列方向に隣接する2つの画素に属する副画素の補助容量と接続している。このため、一方の画素に充電するときに他方の画素の容量が平滑化容量として機能してリップル電圧が抑制され、結果として、横シャドーの発生を抑制することができる。
なお、液晶表示装置500Aでは、明副画素、中副画素、暗副画素の面積比は1:2:1であったが、本発明はこれに限定されない。図16および図17を参照して上述したように、γ特性の視野角依存性の観点からみると、明副画素、中副画素、暗副画素の面積比は1:1:1であることが好ましい。
図22に、本発明による実施形態の液晶表示装置300Dの模式的な平面図を示す。液晶表示装置300DのTFT基板の副画素電極にはスリットが設けられており、対向基板の対向電極にはリブが設けられている。スリットおよびリブは4つの異なる方向に液晶分子を配向するように設けられている。
第1、第2副画素SP−A、SP−Bは、副画素電極111a、111bによって、それぞれ規定されており、第1、第2副画素SP−A、SP−Bは列方向(y方向)に配列されている。第3副画素SP−Cの副画素電極111cは、電極111c1と、電極111c2と、電極111c1、111c2を連結する連結部111ccとを有している。電極111c1、111c2は、第1、第2副画素SP−A、SP−Bの副画素電極111a、111bのそれぞれの行方向(x方向)に配列されている。電極111c1、111c2の行方向(x方向)の長さは、副画素電極111a、111bのほぼ半分である。また、電極111c1、111c2は連結部111ccを介して電気的に接続されているが、連結部111ccの面積は比較的小さく、第1副画素、第2副画素、第3副画素SP−A、SP−B、SP−Cの面積比はほぼ1:1:1である。
第1、第2副画素SP−A、SP−BはTFT−A、TFT−Bを有しており、第3副画素SP−Cは、電極111c1、111c2に対応するTFT−C1、TFT−C2を有している。TFT−C1、TFT−C2のゲート電極は、TFT−A、TFT−Bと同様にGバスラインに接続されており、第3副画素SP−Cは冗長構造である。このため、例えば、第3副画素SP−Cの副画素電極111cとドレイン引出し配線117c1、117c2とのコンタクト部119c1、119c2を設けるためのコンタクトホールの一方が十分に形成されなくても、歩留まりの低下を抑制することができる。あるいは、TFT−C1、TFT−C2の一方が動作不良となっても、動作不良のトランジスタを分離して他方の正常なTFTのみを使用することで、歩留まりの低下を抑制することができる。また、TFT−A、TFT−B、TFT−C1、TFT−C2について、ソース電極は、y方向に延びるソースバスラインからx方向に延びており、ドレイン電極はソース電極と対向する位置に設けられている。
副画素の補助容量は、主に、副画素電極とCSバスラインとの重なりによって形成される。このため、ドレイン引出し配線を延伸しなくてもよく、開口率の低下を抑制し、またドレイン引出し配線が断線する懸念もない。また、このような補助容量の構成は、CSバスラインと画素電極の間にサブミクロンオーダーの比較的薄い層間絶縁膜のみが存在する場合に好適である。所望の静電容量値を確保しやすいためである。第1副画素SP−Aの副画素電極111aの行方向(x方向)の長さは第2副画素SP−Bの副画素電極111bと等しく、また、副画素電極111aとCSバスラインCS−Aとの重なり幅は、副画素電極111bとCSバスラインCS−Bとの重なり幅と略等しい。このため、第1副画素SP−Aの補助容量CCS−Aは第2副画素SP−Bの補助容量CCS−Bと略等しい。
また、第3副画素SP−Cの電極111c1、111c2のそれぞれの行方向(x方向)の長さは、第1副画素SP−Aの副画素電極111aの略半分であり、第3副画素SP−Cの補助容量CCS−C1、CCS−C2は、それぞれ、第1副画素SP−Aの補助容量CCS−Aの略半分である。補助容量CCS−C1、CCS−C2は並列に接続されているため、第3副画素SP−Cの補助容量CCS−C1、CCS−C2の和は、第1、第2副画素SP−A、SP−Bの補助容量CCS−A、CCS−Bと略等しい。
なお、上述した説明では、第3副画素SP−Cの電極111c1、111c2は、連結部111ccによって直接的に連結されていたが、本発明はこれに限定されない。電極111c1、111c2は、TFTのドレイン電極によって電気的に接続されていてもよい。
図23に、本発明による実施形態の液晶表示装置300Eの模式的な平面図を示す。液晶表示装置300Eでは、第3副画素SP−Cの副画素電極111cは、電極111c1と、111c2とを有しており、電極111c1と電極111c2とは直接的に連結されていない。したがって、1つの画素は、互いに分離された4つの副画素電極111a、111b、111c1、111c2を有している。
第3副画素SP−CのTFT−Cのドレイン電極は、y方向に延びるSバスラインと平行に設けられている。電極111c1および111c2は共通のドレイン電極に電気的に接続されており、電極111c1、111c2は等電位である。また、このドレイン電極はGバスラインと重なるが、ドレイン電極の行方向(x方向)の長さは比較的短いため、寄生容量Cgdの増大が抑制されている。
図24に、本発明による実施形態の液晶表示装置300Fの模式的な平面図を示す。液晶表示装置300Fにおいて、第3副画素SP−Cの副画素電極111cは、電極111c1と、電極111c2と、電極111c1、111c2を連結する連結部111ccとを有している。連結部111ccはGバスラインと重なるが、連結部111ccの面積は電極111c1、111c2の面積と比較してかなり小さく、第3副画素SP−Cの寄生容量Cgdの増大は抑制されている。
ただし、厳密には、Gバスラインと重なる連結部111ccに起因して第3副画素SP−Cの寄生容量Cgdは増大している。液晶表示装置300Fでは、電極111c1に対応するTFT−Cが設けられているものの、電極111c2に対応するTFTは設けられておらず、TFT−Cのドレイン電極の面積はTFT−A、TFT−Bのドレイン電極の面積よりも小さい。これにより、第3副画素SP−Cの寄生容量Cgdの増大が抑制されている。Cgd比は、寄生容量Cgd/(副画素容量)と表され、この副画素容量は、主に、液晶容量Clcと補助容量CCSとから構成される。第1、第2、第3副画素SP−A、SP−B、SP−CのCgd比が大きく異なると、Cgd比に起因して引き込み電圧が大きく異なり、フリッカが発生する。液晶表示装置300Fでは、第3副画素SP−Cの寄生容量Cgdを抑制することにより、第1、第2、第3副画素SP−A、SP−B、SP−CのCgd比を略等しくして、フリッカの発生を抑制することができる。
図25に、本発明による実施形態の液晶表示装置500BのTFT基板の模式的な平面図を示す。
Sバスラインは、第1ソース配線S1と、第1ソース配線S1から分岐された第2ソース配線S2とを有しており、各画素に関連付けられるSバスラインは、配線S1、S2に分岐されている。第1副画素SP−Aは、TFT−A1およびTFT−A2を有しており、TFT−A1、TFT−A2のソース電極は、第1、第2ソース配線S1、S2にそれぞれ接続されている。同様に、第2副画素SP−Bは、TFT−B1およびTFT−B2を有しており、TFT−B1およびTFT−B2のソース電極は、第1、第2ソース配線S1、S2にそれぞれ接続されている。このように、第1副画素SP−Aおよび第2副画素SP−Bは冗長構造となっている。また、上述してきたように、第1副画素SP−Aおよび第2副画素SP−Bの一方が表示に大きく影響する明副画素となるため、第1副画素SP−Aおよび第2副画素SP−Bが冗長構造を有していることにより、歩留まり低下を抑制することができる。
第3副画素SP−Cは、第1副画素SP−Aおよび第2副画素SP−Bを挟むように配置された第1領域および第2領域を有している。第1、第2副画素SP−A、SP−Bと第3副画素SP−Cの第1領域との間に第1ソース配線S1が設けられており、第1、第2副画素SP−A、SP−Bと第3副画素SP−Cの第2領域との間に第2ソース配線S2が設けられている。
第3副画素SP−Cは、第1領域に対応する副画素電極111caと、第2領域に対応する副画素電極111cbとを有している。第3副画素SP−Aの副画素電極111caと副画素電極111cbとの間には、第1、第2副画素SP−A、SP−Bの副画素電極111a、111bが配置されている。副画素電極111caは、電極111ca1と、電極111ca2と、電極111ca1、111ca2とを連結する連結部111ccaとを有している。また、副画素電極111cbは、電極111cb1と、電極111cb2と、電極111cb1、111cb2とを連結する連結部111ccbとを有している。
また、第3副画素SP−Cの電極111ca1、111ca2、111cb1、111cb2の行方向(x方向)の長さは第1、第2副画素SP−A、SP−Bの副画素電極111a、111bのほぼ1/4であり、電極111ca1、111ca2、111cb1、111cb2の列方向(y方向)の長さは副画素電極111a、111bのほぼ2倍である。このため、副画素電極111ca、111cbの面積は副画素電極111a、111bの半分であり、第1副画素、第2副画素、第3副画素の面積比はほぼ1:1:1となる。
第3副画素SP−Cの電極111ca1、111ca2、111cb1、111cb2のそれぞれに対応してTFT−Ca1、TFT−Ca2、TFT−Cb1、TFT−Cb2が設けられており、副画素電極111ca、111cbにはそれぞれ2つのTFTが設けられて、冗長構造となっている。このように液晶表示装置500Bでは、互いに分離されている副画素電極111a、111b、111ca、111cbのすべてが冗長構造を有している。
また、液晶表示装置500Bでは、異なるソース信号の供給される列方向に隣接する2つのSバスラインの間に、異なる画素の第3副画素の副画素電極111caおよび111cbが設けられており、Sバスラインの短絡を抑制している。なお、図25では、理解を容易にするために、液晶表示装置500B内においてソース配線は分岐されているが、2つのソース配線に等価なソース信号が供給されていてもよい。
図26に、本発明による実施形態の液晶表示装置500CのTFT基板の模式的平面図を示す。副画素電極111caの電極111ca1、111ca2を連結する連結部111ccaがGバスラインと重なっており、副画素電極111ca、111cbの寄生容量Cgdは増大している。液晶表示装置500Cでは、副画素電極111ca、111cbの電極111ca1、111cb1に対応するTFT−Ca、TFT−Cbが設けられているものの、電極111ca2、111cb2に対応するTFTは設けられていない。このように、液晶表示装置500Cでは、第3副画素SP−Cの副画素電極111ca、111cbに対応するTFTの数を減らして、副画素電極111ca、111cbに対応するTFT−Ca、TFT−Cbのドレイン電極の面積を副画素電極111a、111bに対応するTFTのドレイン電極の面積の和よりも小さくすることにより、連結部111cca、111ccbとGバスラインとの重なりに起因する寄生容量Cgdの増大を相殺している。副画素電極111a、111b、111ca、111cbのCgd比が大きく異なると、Cgd比に起因して引き込み電圧が大きく異なり、フリッカが発生することになるが、液晶表示装置500Cでは、副画素電極111ca、111cbの寄生容量Cgdを抑制することにより、副画素電極111a、111b、111ca、111cbのCgd比を略等しくして、フリッカの発生を抑制している。
なお、図25および図26に示した液晶表示装置500B、500CではSバスラインは分岐されていたのに対して、図22、図23および図24に示した液晶表示装置300D、300E、300FではSバスラインは分岐されていない。このため、液晶表示装置300D、300E、300Fにおける開口率は液晶表示装置500B、500Cよりも高くすることができる。
なお、上述した説明では、複数の副画素のうちの少なくとも2つの副画素(またはその一部)が行方向(x方向)に配列されていたが、本発明はこれに限定されない。1つの画素に属するすべての副画素が列方向(y方向)に配列されていてもよい。
図27に、液晶表示装置500D1の1画素分の等価回路を模式的に示す。液晶表示装置500D1において1つの画素は、第1副画素SP−Aと、第2副画素SP−Bと、第3副画素SP−Cとを有している。第1、第2副画素SP−A、SP−BはTFT−A、TFT−Bをそれぞれ有しており、第3副画素SP−Cは2つのTFT−C1、TFT−C2を有している。
図27は、m行の画素の等価回路を示している。m行のゲートバスラインGmは、ゲート配線Gm1と、ゲート配線Gm2とを有しており、ゲート配線Gm1、Gm2は、液晶表示装置内において互いに接続されている。ゲート配線Gm1は、第1副画素SP−AのTFT−A、および、第3副画素SP−CのTFT−C1のゲート電極と接続されており、ゲート配線Gm2は、第2副画素SP−BのTFT−B、および、第3副画素SP−CのTFT−C2のゲート電極と接続されている。第3副画素SP−Cの2つのTFT−C1、TFT−C2は、等価なゲート信号の供給される2つのゲート配線Gm1、Gm2に接続されており、第3副画素SP−Cは冗長構造となっている。
第1副画素SP−Aは、液晶容量CLC−Aおよび補助容量CCS−Aを有しており、第2副画素SP−Bは、液晶容量CLC−Bおよび補助容量CCS−Bを有している。また、第3副画素SP−Cは、液晶容量CLC−Cおよび補助容量CCS−A1、CCS−B1を有している。ここで、補助容量CCS−A1の静電容量値は補助容量CCS−B1の静電容量値と略等しい。
図28に、液晶表示装置500D1におけるTFT基板の模式的な平面図を示す。液晶表示装置500D1において、第3副画素SP−Cは、第1副画素SP−Aと第2副画素SP−Bとの間に配列されており、第1、第2および第3副画素SP−A、SP−B、SP−Cは、隣接する2つのCSバスラインCS−A、CS−Bの間において列方向に配列されている。第1副画素、第2副画素、第3副画素SP−A、SP−B、SP−Cの面積比は1:1:1である。
図28には2つのゲート配線Gm1、Gm2を示しているが、図27に示したように、ゲート配線Gm1、Gm2には等価なゲート信号が供給される。また、CSバスライン(CS配線)の数は画素の行数に対応しているが、1つのCSバスラインは列方向に隣接する2つの画素に属する副画素のそれぞれの液晶容量に突き上げまたは突き下げ作用を与えており、各画素に2つのCSバスラインが関連付けられている。
第3副画素SP−Cの2つのTFT−C1、TFT−C2のドレイン電極は、ドレイン引出し配線117c1、117c2と電気的に接続されている。ドレイン引出し配線117c1、117c2は、TFT−C1、TFT−C2のドレイン電極からコンタクト部119c1、119c2を介して補助容量電極まで延びている。ドレイン引出し配線117c1、117c2はコンタクト部119c1、119c2において副画素電極111cと接続されており、ドレイン引出し配線117c1、117c2の補助容量電極はCSバスラインCS−A、CSバスラインCS−Bの補助容量対向電極とそれぞれ補助容量を形成している。ドレイン引出し配線117c1、117c2はGバスラインと平行に行方向(x方向)に延びた後、CSバスラインCS−A、CS−Bに向かって列方向(y方向)に延びており、ドレイン引出し配線117c1、117c2を短くして、第3副画素SP−Cの開口率を向上させている。
第1、第2副画素SP−A、SP−Bのドレイン引出し配線117a、117bはGバスラインと交差しないのに対して、第3副画素SP−Cのドレイン引出し配線117c1、117c2はGバスラインと交差しており、この点で、第3副画素SP−Cの寄生容量Cgdは第1、第2副画素SP−A、SP−Bよりも増大している。液晶表示装置500D1では、第3副画素SP−Cの寄生容量Cgdの増大を相殺するように、第1、第2副画素SP−A、SP−BのTFT−A、TFT−Bのドレイン電極の面積を第3副画素SP−CのTFT−C1、TFT−C2のドレイン電極の面積よりも大きくしている。これにより、第1、第2、第3副画素SP−A、SP−B、SP−CのCgd比を略等しくして、ドレイン電圧の引き込み電圧を副画素ごとに略等しくし、表示品位の低下を抑制することができる。
第3副画素SP−Cのドレイン引出し配線117c1、117c2の一部は、第1、第2副画素SP−A、SP−Bの副画素電極111a、111bと重なるが、ドレイン引出し配線117c1、117c2のうち面積の大きい補助容量電極は副画素電極111a、111bと重ならないように設けられている。このため、第1、第2副画素SP−A、SP−Bの液晶容量の電圧が、第3副画素SP−Cの影響に起因してずれることが抑制される。
互いに隣接する副画素電極とSバスラインとの間で寄生容量Csdが形成される。ドット反転駆動を行う場合、隣接する2つのSバスラインに極性の異なるソース信号が供給される。この場合、副画素電極111a、111b、111cのそれぞれにおける列方向(y方向)に延びた2辺の長さを略等しくすることにより、2つのSバスラインと副画素電極との寄生容量Csdを略等しくして、2つの寄生容量Csdが液晶容量の電圧に与える影響を相殺することができ、表示品位の低下を抑制できる。
第1副画素SP−Aの補助容量CCS−Aは、CS配線CS−Aと補助容量電極118aとから形成されており、第2副画素SP−Bの補助容量CCS−Bは、CS配線CS−Bと補助容量電極118bとから形成されている。第3副画素SP−Cの補助容量CCS−A1はCS配線CS−Aと補助容量電極118c1とから形成されており、補助容量CCS―B1はCS配線CS−Bと補助容量電極118c2とから形成されている。補助容量電極118a、118b、118c1、118c2はCS配線CS−A、CS−Bと重なるように設けられる。また、補助容量の静電容量値は、補助容量電極の面積によって規定される。ここでは、補助容量電極118a、118bの面積は互いに等しく、補助容量電極118c1、118c2の面積は互いに等しい。
また、液晶表示装置500D1では、2つのCSバスラインCS−A、CS−Bの間に2つのゲート配線を通すことにより、3分割構造を実現している。液晶表示装置500D1では、CSバスラインが、列方向に隣接する2つの画素に属する複数の副画素の補助容量と接続しており、画素の充電時に列方向に隣接する画素の容量が平滑化容量として機能するため、リップル電圧の増加を抑制でき、結果として、横シャドーの発生を抑制できる。
図29に、液晶表示装置500D2の1画素分の等価回路を模式的に示す。液晶表示装置500D2において1つの画素は、第1副画素SP−Aと、第2副画素SP−Bと、第3副画素SP−Cとを有している。第1、第2、第3副画素SP−A、SP−B、SP−CはTFT−A、TFT−B、TFT−Cをそれぞれ有している。
図29は、m行n列およびm行n+1列の画素の等価回路を示している。m行のゲートバスラインGmは、ゲート配線Gm1と、ゲート配線Gm2とを有しており、ゲート配線Gm1、Gm2は、液晶表示装置内において互いに接続されている。m行n列の画素について、ゲート配線Gm1は、第1副画素SP−AのTFT−A、および、第3副画素SP−CのTFT−Cのゲート電極と接続されており、ゲート配線Gm2は、第2副画素SP−BのTFT−Bのゲート電極と接続されている。また、m行n+1列の画素について、ゲート配線Gm1は、第1副画素SP−AのTFT−Aと接続されており、ゲート配線Gm2は、第2副画素SP−BのTFT−B、および、第3副画素SP−CのTFT−Cのゲート電極と接続されている。
m行n列およびm行n+1列のそれぞれの画素について、第1副画素SP−Aは、液晶容量CLC−Aおよび補助容量CCS−Aを有しており、第2副画素SP−Bは、液晶容量CLC−Bおよび補助容量CCS−Bを有している。また、第3副画素SP−Cは、液晶容量CLC−Cおよび補助容量CCS−A1、CCS−B1を有している。ここで、補助容量CCS−A1の静電容量値は補助容量CCS−B1の静電容量値と略等しい。
図30に、液晶表示装置500D2におけるTFT基板の模式的な平面図を示す。液晶表示装置500D2において、第3副画素SP−Cは、第1副画素SP−Aと第2副画素SP−Bとの間に配列されており、第1、第2および第3副画素SP−A、SP−B、SP−Cは、隣接する2つのCSバスラインCS−A、CS−Bの間において列方向に配列されている。第1副画素、第2副画素、第3副画素SP−A、SP−B、SP−Cの面積比は1:1:1である。
図30には2つのゲート配線Gm1、Gm2を示しているが、図29に示したように、ゲート配線Gm1、Gm2には等価なゲート信号が供給される。また、CSバスライン(CS配線)の数は画素の行数に対応しているが、1つのCSバスラインは列方向に隣接する2つの画素に属する副画素のそれぞれの液晶容量に突き上げまたは突き下げ作用を与えており、各画素に2つのCSバスラインが関連付けられている。
第3副画素SP−CのTFT−Cのドレイン電極は、ドレイン引出し配線117cと電気的に接続されている。ドレイン引出し配線117cは、TFT−Cのドレイン電極からコンタクト部119cを介して補助容量電極まで延びている。ドレイン引出し配線117cはコンタクト部119cにおいて副画素電極111cと接続されており、ドレイン引出し配線117cの補助容量電極はCSバスラインCS−A、CSバスラインCS−Bの補助容量対向電極とそれぞれ補助容量を形成している。ドレイン引出し配線117cはGバスラインと平行に行方向(x方向)に延びた後、CSバスラインCS−A、CS−Bに向かって列方向(y方向)に延びている。
第1、第2副画素SP−A、SP−Bのドレイン引出し配線117a、117bはゲート配線Gm1、Gm2と交差しないのに対して、第3副画素SP−Cのドレイン引出し配線117cはゲート配線Gm1、Gm2と交差する。第3副画素SP−Cのドレイン引出し配線117cの一部は、第1、第2副画素SP−A、SP−Bの副画素電極111a、111bと重なるが、ドレイン引出し配線117cのうち面積の大きい補助容量電極は副画素電極111a、111bと重ならないように設けられている。このため、第1、第2副画素SP−A、SP−Bの液晶容量の電圧が、第3副画素SP−Cの影響に起因してずれることが抑制される。
互いに隣接する副画素電極とSバスラインとの間で寄生容量Csdが形成される。ドット反転駆動を行う場合、隣接する2つのSバスラインに極性の異なるソース信号が供給される。この場合、副画素電極111a、111b、111cのそれぞれにおける列方向(y方向)に延びた2辺の長さを略等しくすることにより、2つのSバスラインと副画素電極との寄生容量Csdを略等しくして、2つの寄生容量Csdが液晶容量の電圧に与える影響を相殺することができ、表示品位の低下を抑制できる。
第1副画素SP−Aの補助容量CCS−Aは、CS配線CS−Aと補助容量電極118aとから形成されており、第2副画素SP−Bの補助容量CCS−Bは、CS配線CS−Bと補助容量電極118bとから形成されている。第3副画素SP−Cの補助容量CCS−A1はCS配線CS−Aと補助容量電極118c1とから形成されており、補助容量CCS―B1はCS配線CS−Bと補助容量電極118c2とから形成されている。補助容量電極118a、118b、118c1、118c2はCS配線CS−A、CS−Bと重なるように設けられる。また、補助容量の静電容量値は、補助容量電極の面積によって規定される。ここでは、補助容量電極118a、118bの面積は互いに等しく、補助容量電極118c1、118c2の面積は互いに等しい。
各画素は、列方向に沿って第1副画素SP−A、第3副画素SP−C、第2副画素SP−Bの順番に配列されている。ドット反転駆動を行っており、m行n列の画素の第1副画素SP−A、第3副画素SP−C、第2副画素SP−Bはそれぞれ明副画素、中副画素、暗副画素であるとき、m行n+1列の画素の第1副画素SP−A、第3副画素SP−C、第2副画素SP−Bはそれぞれ暗副画素、中副画素、明副画素となる。
液晶表示装置500D2では、図27および図28に示した液晶表示装置500D1とは異なり、第3副画素SP-CのTFT-Cは1つであり、これにより、Gバスラインの負荷が低減される。なお、m行n列の画素についてTFT-Cのゲート電極はゲート配線Gm1に接続されているのに対して、m行n+1列の画素についてTFT-Cのゲート電極はゲート配線Gm2に接続されている。このように、行方向に隣接する画素ごとに第3副画素のTFT-Cのゲート電極が交互にゲート配線に接続されていることにより、ゲート配線Gm1、Gm2の負荷を略等しくすることができる。また、行方向に隣接する画素ごとに第3副画素のTFT-Cのゲート電極が交互にゲート配線に接続されていなくてもよく、行方向に隣接する複数の画素ごとにゲート配線Gm1、Gm2に接続する第3副画素のTFT-Cの数が等しくてもよい。なお、第3副画素のTFT-Cのゲート電極が同一のゲート配線に接続する画素の数が極めて大きいと(例えば、数百であると)、ゲート信号のパルスが鈍ってしまい、画素充電率に差が生じるおそれがある。
また、液晶表示装置500D1、500D2では、2つのCSバスラインCS−A、CS−Bの間に2つのゲート配線を通すことにより、3分割構造を実現している。液晶表示装置500D1、500D2では、CSバスラインが、列方向に隣接する2つの画素に属する複数の副画素の補助容量と接続しており、画素の充電時に列方向に隣接する画素の容量が平滑化容量として機能するため、リップル電圧の増加を抑制でき、結果として、横シャドーの発生を抑制できる。
なお、図27〜図30に示した液晶表示装置500D1、500D2では、各画素に2つのゲート配線が通っていたが、本発明はこれに限定されない。各画素を通るゲート配線は1つであってもよい。
以下に、図31および図32を参照して、液晶表示装置500EにおけるTFT基板の模式的な平面図を示す。液晶表示装置500Eにおける1つの画素は第1、第2、第3副画素SP−A、SP−B、SP−Cを有している。ここでも第1、第2、第3副画素SP−A、SP−B、SP−Cの面積比はほぼ1:1:1である。
第1、第2、第3副画素SP−A、SP−B、SP−Cは、2つのCSバスラインCS−A、CS−Bの間において列方向(y方向)に配列されている。また、CSバスラインCS−A、CS−Bは、それぞれ列方向に隣接する2つの画素に属する複数の副画素の補助容量と接続しており、上述したように、横シャドーの発生が抑制される。
第1、第2副画素SP−A、SP−Bは、TFT−A、TFT−Bをそれぞれ有しており、第3副画素SP−Cは、2つのTFT−C1、TFT−C2を有している。TFT−A、TFT−B、TFT−C1、TFT−C2のゲート電極はGバスラインに接続されている。第3副画素SP−Cは冗長構造を有している。
TFT−AおよびTFT−C1のゲート電極は、一体的に設けられてゲート電極部G1Eを形成しており、TFT−BおよびTFT−C2のゲート電極は、一体的に設けられてゲート電極部G2Eを形成している。ゲート電極部G1E、G2EはL字形状であり、行方向(x方向)に延びたGバスラインに接続されている。TFT−A、TFT−Bのドレイン電極はゲート電極部G1E、G2EだけでなくGバスラインとも重なるため、TFT−A、TFT−Bのドレイン電極がゲート電極部G1E、G2Eに対して列方向(y方向)に多少ずれて配置されたとしても、寄生容量Cgdのずれを抑制することができる。
第3副画素SP−Cは行方向(x方向)に延びたGバスラインを跨いでいる。第3副画素SP−Cの副画素電極111cは、Gバスラインに対して+y方向に設けられた電極111c1と、Gバスラインに対して−y方向に設けられた電極111c2と、電極111c1、111c2を連結する連結部111ccとを有している。連結部111ccの行方向(x方向)の長さが電極111c1、111c2よりも短いことにより、寄生容量Cgdの増大が抑制されている。
ただし、第1、第2副画素SP−A、SP−Bの副画素電極111a、111bおよびドレイン引出し配線117a、117bはGバスラインと重なっていないのに対して、第3副画素SP−Cの副画素電極111cの連結部111ccはGバスラインと重なっており、第3副画素SP−Cの寄生容量Cgdは増大している。このため、第1、第2副画素SP−A、SP−BのTFT−A、TFT−Bのドレイン電極の面積を第3副画素SP−CのTFT−C1、C2のドレイン電極の面積よりも大きくするとともに、第1、第2副画素SP−A、SP−BのTFT−A、TFT−Bのドレイン電極は、ゲート電極部G1E、G2EだけでなくGバスラインとも重なるように設けられており、これにより、第1、第2副画素SP−A、SP−Bの寄生容量Cgdを増大させている。したがって、第1、第2、第3副画素SP−A、SP−B、SP−CのCgd比を容易に調整することができ、結果として、ドレイン電圧の引き込み電圧を略等しくして、表示品位の低下を抑制することができる。
ドレイン引出し配線117c1、117c2は各々コンタクト部119c1、119c2において第3副画素のTFT−C1、TFT−C2のドレイン電極と副画素電極111cとを電気的に接続している。また、ドレイン引出し配線117c1、117c2の補助容量電極はCSバスラインCS−A、CSバスラインCS−Bとそれぞれ補助容量を形成している。第1、第2副画素SP−A、SP−Bの副画素電極111a、111bは、ドレイン引出し配線117c1、117c2とCSバスラインCS−A、CS−Bとの重なる領域と重ならないように構成されている。これにより、第1、第2副画素SP−A、SP−Bの液晶容量の電圧が、第3副画素SP−Cに影響されることを抑制することができる。
副画素電極111cの連結部111ccはGバスラインと重なるが、これらの短絡を防止するために、有機膜からなる2〜3μm程度の層間絶縁膜が設けられている。このように、比較的厚い層間絶縁膜を設けることにより、寄生容量Cgdの増大が抑制される。勿論、例えばSiNxなどの無機膜からなる層間絶縁膜を厚く形成してもよいが、有機膜であれば塗布法(コーティング)による形成が可能なので、気相成長法などで形成する無機膜よりも厚い膜を容易に形成することができる。
また、Sバスラインは列方向(y方向)に延びており、副画素電極111a、111bの列方向(y方向)に沿った2つの辺の長さは略等しい。このため、上述したように、副画素電極111a、111bとSバスラインとの間の寄生容量Csdが第1、第2副画素SP−A、SP−Bの液晶容量に与える影響を相殺することができ、表示品位の低下を抑制できる。なお、図32において副画素電極111cの連結部111ccは、隣接する2つのSバスラインのうちの一方の近傍に設けられていたが、2つのSバスラインの中間の位置に設けられてもよい。この場合、連結部111ccと各Sバスラインとの距離が長くなるので、連結部111ccとSバスラインとの補助容量Csdの増大が抑制され、Sバスラインと副画素SP−Cとの寄生容量Csdを略等しくすることができる。
なお、上述した液晶表示装置では、Gバスライン、CSバスラインは、1つのゲート配線、CS配線からそれぞれ構成されていたが、本発明はこれに限定されない。
図33に、本発明による実施形態の液晶表示装置600Aの1画素分の等価回路を模式的に示す。液晶表示装置600Aにおける1つの画素は、第1副画素SP−A、第2副画素SP−Bおよび第3副画素SP−Cを有している。各画素に1つのGバスライン、1つのSバスラインおよび2つのCSバスラインが関連付けられている。
図33には、m行の画素を示しており、m行のGバスラインGmは、ゲート配線Gm1と、ゲート配線Gm2と、ゲート配線Gm1、Gm2と接続された接続配線Gm3とを有している。ゲート配線Gm1およびゲート配線Gm2には等価なゲート信号が供給される。
CSバスラインCS−Aは、CS配線CS−A1と、CS配線CS−A2と、CS配線CS−A1、CS−A2と接続された接続配線CS−A3とを有しており、CS配線CS−A1およびCS配線CS−A2には等価なCS信号が供給される。同様に、CSバスラインCS−Bは、CS配線CS−B1と、CS配線CS−B2と、CS配線CS−B1、CS−B2と接続された接続配線CS−B3とを有しており、CS配線CS−B1およびCS配線CS−B2には等価なCS信号が供給される。
第1、第2副画素SP−A、SP−BはTFT−A、TFT−Bをそれぞれ有しており、第3副画素SP−CはTFT−C1、TFT−C2を有している。TFT−C1、TFT−C2のゲート電極は、ゲート信号の供給されるゲート配線Gm1、Gm2と接続されており、第3副画素SP−Cは冗長構造を有している。
第1副画素SP−Aは、液晶容量CLC−Aおよび補助容量CCS−A1を有しており、第2副画素SP−Bは、液晶容量CLC−Bおよび補助容量CCS−B2を有している。また、第3副画素SP−Cは、液晶容量CLC−Cおよび補助容量CCS−A2a、CCS−B1aを有している。ここで、補助容量CCS−A2aの静電容量値は補助容量CCS−B1aの静電容量値と略等しい。
第1副画素SP−Aの液晶容量CLC−Aは、CS配線CS−A1による突き上げ(または突き下げ)作用を受け、第2副画素SP−Bの液晶容量CLC−Bは、CS配線CS−B2による突き下げ(または突き上げ)作用を受ける。また、第3副画素SP−Cの液晶容量CLC−CはCS配線CS−A2による突き上げ(または突き下げ)作用、および、CS配線CS−B1による突き下げ(または突き上げ)作用の両方を受ける。したがって、第1副画素が明副画素となるとき、第2副画素が暗副画素、第3副画素が中副画素となる。
図34に、液晶表示装置600AのTFT基板における模式的な平面図を示す。図34には、赤を表示するR画素、緑を表示するG画素、および、青を表示するB画素を示しており、R、G、B画素は行方向(x方向)に配列されている。
CS配線CS−A1、CS−A2、CS−B1、CS−B2はGバスラインと同一工程で形成される。GバスラインおよびCS配線CS−A1、CS−A2、CS−B1、CS−B2を総称してゲートメタル(ゲートレイヤ)とも呼ぶ。また、接続配線CS−A3、CS−B3は、Sバスラインと同一工程で形成される。Sバスラインおよび接続配線CS−A3、CS−B3を総称してソースメタル(ソースレイヤ)とも呼ぶ。ゲートメタルおよびソースメタルの間には絶縁層が設けられており、接続配線CS−A3は、コンタクトホールを介してCS配線CS−A1、CS−A2を接続しており、接続配線CS−B3は、コンタクトホールを介してCS配線CS−B1、CS−B2を接続している。
ゲートレイヤに注目すると、列方向(y方向)に沿って、CS配線CS−A1、ゲート配線Gm1、CS配線CS−B1、CS配線CS−A2、ゲート配線Gm2、CS配線CS−B2の順番に配列されており、CS配線CS−A1、CS−A2はゲート配線Gm1を挟むように配置されており、CS配線CS−B1、CS−B2は、ゲート配線Gm2を挟むように配置されている。CSバスラインCS−A、CS−Bが、Sバスラインと同一工程で形成された接続配線CS−A3、CS−B3をそれぞれ有していることにより、GバスラインGmとCSバスラインCS−A、CS−Bとを短絡することなくCSバスラインCS−A、CS−Bを形成することができる。
また、第3副画素SP−Cを画素の中央に配置しているため、第3副画素SP−Cは、互いに異なる位相のCS信号が印加されるCS配線CS−A2、CS−B1と補助容量を形成しやすい。また、ドレイン引出し配線を短くすることができ、開口率の低下を抑制することができる。
第3副画素SP−Cは、等価なゲート信号の供給されるゲート配線Gm1、Gm2にそれぞれ接続されたTFT−C1、TFT−C2を有しており、第3副画素SP−Cは冗長構造を有している。第3副画素SP−Cの副画素電極111cは、ゲート配線Gm1、Gm2の間に設けられている。なお、図34では、第3副画素SP−Cの副画素電極111cとCS配線CS−A2、CS−B1との重なりを理解しやすいように示しているが、図16および図17を参照して上述したように、γ特性の視野角依存性の観点から、明副画素、中副画素、暗副画素の面積比は1:1:1であることが好ましい。また、液晶表示装置600Aはドット反転駆動を行っており、行方向にみると、明副画素に隣接して暗副画素が配置され、中副画素に隣接して中副画素が配置される。
なお、上述した説明では、液晶表示装置における各画素は3つの副画素を有していたが、本発明はこれに限定されない。各画素は4つ以上の副画素を有していてもよい。
図35に、本発明による実施形態の液晶表示装置600Bの1画素分の等価回路を模式的に示す。液晶表示装置600Bにおける1つの画素は、第1副画素SP−A、第2副画素SP−B、第3副画素SP−C、第4副画素SP−Dを有している。
図35には、m行の画素を示しており、m行のGバスラインGmは、ゲート配線Gm1と、ゲート配線Gm2と、ゲート配線Gm1、Gm2と接続された接続配線Gm3とを有している。ゲート配線Gm1およびゲート配線Gm2には等価なゲート信号が供給される。
CSバスラインCS−Aは、CS配線CS−A1と、CS配線CS−A2と、CS配線CS−A1、CS−A2と接続された接続配線CS−A3とを有している。CS配線CS−A1およびCS配線CS−A2には等価なCS信号が供給される。同様に、CSバスラインCS−Bは、CS配線CS−B1と、CS配線CS−B2と、CS配線CS−B1、CS−B2と接続された接続配線CS−B3とを有している。CS配線CS−B1およびCS配線CS−B2には等価なCS信号が供給される。
第1副画素SP−Aは、液晶容量CLC−Aおよび補助容量CCS−A1を有しており、第2副画素SP−Bは、液晶容量CLC−Bおよび補助容量CCS−B2を有している。また、第3副画素SP−Cは、液晶容量CLC−Cおよび補助容量CCS−A2a、CCS−B1aを有しており、第4副画素SP−Dは、液晶容量CLC−Dおよび補助容量CCS−A2b、CCS−B1bを有している。
第1副画素SP−Aの液晶容量はCSバスラインCS−Aによる突き上げ(または突き下げ)作用を受け、第2副画素SP−BはCSバスラインCS−Bによる突き下げ(または突き上げ)作用を受ける。また、第3、第4副画素SP−C、SP−Dの液晶容量はいずれもCSバスラインCS−Aによる突き上げ(または突き下げ)作用、および、CSバスラインCS−Bによる突き下げ(または突き上げ)作用を受ける。ただし、第3副画素SP−Cの液晶容量に対して、CSバスラインCS−Aによる突き上げ(または突き下げ)作用は、CSバスラインCS−Bによる突き下げ(または突き上げ)作用よりも大きい。一方、第4副画素SP−Dの液晶容量に対して、CSバスラインCS−Bによる突き下げ(または突き上げ)作用は、CSバスラインCS−Aによる突き上げ(または突き下げ)作用よりも大きい。
このように、液晶表示装置600Bは、4分割(4VT)構造を有している。なお、第3副画素SP−Cの補助容量CCS−B1aと補助容量CCS−A2aとの差が、第4副画素SP−Dの補助容量CCS−B1bと補助容量CCS−A2bとの差とほぼ等しいとき、第3副画素SP−Cの液晶容量CLC−Cは第4副画素SP−Dの液晶容量CLC−Dと等しくなり、液晶表示装置600Bは3VT構造の液晶表示装置と同様の表示を行う。
図36に、液晶表示装置600BのTFT基板の模式的な平面図を示す。液晶表示装置600Bの第3副画素SP−Cおよび第4副画素SP−Dは、図34に示した液晶表示装置600Aの第3副画素SP−Cと対応する位置に配置されている。第3、第4副画素SP−C、SP−Dの副画素電極111c、111dの境界線は、少なくとも2つの異なる方向を向いており、この境界線が、液晶分子を配向するためのスリットとして機能する。
第1副画素SP−Aの補助容量CCS−A1は、CS配線CS−A1と補助容量電極118aとから形成されており、第2副画素SP−Bの補助容量CCS−B2は、CS配線CS−B2と補助容量電極118bとから形成されている。第3副画素SP−Cの補助容量CCS−A2aはCS配線CS−A2と補助容量電極118c1とから形成されており、補助容量CCS―B1aはCS配線CS−B1と補助容量電極118c2とから形成されている。また、第4副画素SP−Dの補助容量CCS−A2bはCS配線CS−A2と補助容量電極118d1とから形成されており、補助容量CCS―B1bはCS配線CS−B1と補助容量電極118d2とから形成されている。
補助容量電極118a、118b、118c1、118c2、118d1、118d2は、CS配線CS−A1、CS−A2、CS−B1、CS−B2と重なるように設けられており、ここでは、補助容量の静電容量値は、補助容量電極の面積によって規定される。補助容量電極118a、118b、118c1、118c2、118d1、118d2はSバスラインと同一工程で形成される。
ここで第3副画素SP−Cに注目すると、補助容量電極118c1の面積は補助容量電極118c2の面積よりも大きく、補助容量CCS−A2aの静電容量値は補助容量CCS−B1aの静電容量値よりも大きい。また、第4副画素SP−Dに注目すると、補助容量電極118d2の面積は補助容量電極118d1の面積よりも大きく、補助容量CCS−B1bの静電容量値は補助容量CCS−A2bの静電容量値よりも大きい。したがって、第1副画素が明副画素で第2副画素が暗副画素となる場合、第3副画素が中明副画素となり、第4副画素が中暗副画素となる。ここで、4つの副画素のうち2番目に明るい副画素を「中明副画素」と呼んでおり、4つの副画素のうち2番目に暗い副画素(すなわち、3番目に明るい副画素)を「中暗副画素」と呼んでいる。また、液晶表示装置600Bはドット反転駆動を行っており、明副画素と行方向に隣接する副画素は暗副画素となり、中明副画素と行方向に隣接する副画素は中暗副画素となる。
なお、上述した説明では、1つのCSバスラインは2つのCS配線を有していたが、本発明はこれに限定されない。
図37に、本発明による実施形態の液晶表示装置600Cの1画素分の等価回路を模式的に示す。Sバスラインは、第1ソース配線S1と、第1ソース配線S1から分岐された第2ソース配線S2とを有している。第1ソース配線S1は第1、第2、第3副画素SP−A、SP−B、SP−CのTFT−A、TFT−B、TFT−Cのソース電極と接続されており、第2ソース配線S2は第4副画素SP−DのTFT−Dのソース電極と接続している。
第1副画素SP−Aの液晶容量CLC−AはCSバスラインCS−Aによる突き上げ(または突き下げ)作用を受け、第2副画素SP−Bの液晶容量CLC−BはCSバスラインCS−Bによる突き下げ(または突き上げ)作用を受ける。これに対して、第3、第4副画素SP−C、SP−Dの液晶容量CLC−C、CLC−Dは、それぞれ、CSバスラインCS−Aによる突き上げ(または突き下げ)作用、および、CSバスラインCS−Bによる突き下げ(または突き上げ)作用の両方を受ける。ただし、第3副画素SP−Cについて、CSバスラインCS−Aと形成された補助容量CCS−C1の静電容量値は、CSバスラインCS−Bと形成された補助容量CCS−C2の静電容量値よりも大きい。一方、第4副画素SP−Cについて、CSバスラインCS−Bと形成された補助容量CCS−D2の静電容量値は、CSバスラインCS−Aと形成された補助容量CCS−D1の静電容量値よりも大きい。このため、第3副画素SP−Cの液晶容量CLC−Cに対して、CSバスラインCS−Aによる突き上げ(または突き下げ)作用は、CSバスラインCS−Bによる突き下げ(または突き上げ)作用よりも大きく、また、第4副画素SP−Dの液晶容量CLC−Dに対して、CSバスラインCS−Bによる突き下げ(または突き上げ)作用は、CSバスラインCS−Aによる突き上げ(または突き下げ)作用よりも大きい。
CSバスラインCS−A、CS−Bに対応する2つの補助容量の静電容量値の差により、第3副画素SP−CにおいてCSバスラインCS−Aによる突き上げ(または突き下げ)効果が優勢となり、第4副画素SP−DにおいてCSバスラインCS−Bによる突き下げ(または突き上げ)効果が優勢となる。なお、第1副画素SP−AについてCSバスラインCS−Aと接続される補助容量CCS−Aは、第2副画素についてCSバスラインCS−Bと接続される補助容量CCS−Bと略等しい。
このように、液晶表示装置600Cは4VT構造を有している。なお、理解を容易にするために、図37ではSバスラインの分岐された2つの配線を示したが、等価なソース信号の供給される2つのソース配線が設けられてもよい。
ここで、図37および図38を参照して、液晶表示装置600Cに供給される信号を説明する。図38に示した信号波形図には、Gバスラインに供給されるGate信号、CSバスラインCS−Aに供給されるCS信号VCS−A、CSバスラインCS−Bに供給されるCS信号VCS−B、第1副画素SP−Aの液晶容量CLC−Aに印加される電圧VClc−A、第2副画素SP−Bの液晶容量CLC−Bに印加される電圧VClc−B、第3副画素SP−Cの液晶容量CLC−Cに印加される電圧VClc−C、第4副画素SP−Dの液晶容量CLC−Dに印加される電圧VClc−Dを示している。また、ここでも、画素の印加電圧の波形における一点鎖線は副画素電極の実効電圧を示している。
第3副画素SP−Cの液晶容量CLC−CにはCSバスラインCS−Aによる影響が優勢となり、第4副画素SP−Dの液晶容量CLC−DにはCSバスラインCS−Bによる影響が優勢となる。また、この図38から理解されるように、実効電圧は、第1副画素SP−A、第3副画素SP−C、第4副画素SP−D、第2副画素SP−Bの順番に低くなり、第1、第2、第3、第4副画素SP−A、SP−B、SP−C、SP−Dは、それぞれ明副画素、暗副画素、中明副画素、中暗副画素となる。また、典型的なドット反転駆動が行われており、一垂直走査期間毎に信号電圧の極性が反転し、且つ、行方向および列方向に隣接する画素間の極性が逆となるが、輝度順位は変化しない。なお、図38に示した信号は、図35に示した液晶表示装置600Bでも同様である。
図39に、本発明による実施形態の液晶表示装置600C1のTFT基板の模式的な平面図を示す。液晶表示装置600C1における1つの画素は、第1副画素SP−A、第2副画素SP−B、第3副画素SP−Cおよび第4副画素SP−Dを有している。第1副画素SP−Aおよび第2副画素SP−Bは列方向(y方向)に配列されており、第1副画素SP−Aおよび第2副画素SP−Bを行方向(x方向)に挟むように第3副画素SP−Cおよび第4副画素SP−Dが配列されている。
第1、第2、第3、第4副画素SP−A、SP−B、SP−C、SP−Dは、副画素電極111a、111b、111c、111dによってそれぞれ規定されている。副画素電極111a、111b、111c、111dの行方向(x方向)の長さはほぼ等しく、副画素電極111a、111bの列方向(y方向)の長さは副画素電極111c、111dの略半分である。したがって、第1副画素、第2副画素、第3副画素、第4副画素SP−A、SP−B、SP−C、SP−Dの面積比は1:1:2:2である。
また、第1副画素SP−Aおよび第2副画素SP−BはTFT−A、TFT−Bをそれぞれ有しているのに対して、第3副画素SP−CはTFT−C1、TFT−C2を有しており、第4副画素SP−DはTFT−D1、TFT−D2を有している。GバスラインはTFT−A、TFT−B、TFT−C1、TFT−C2、TFT−D1、TFT−D2のゲート電極と接続されている。したがって、第3、第4副画素SP−C、SP−Dは冗長構造を有している。また、Sバスラインの第1ソース配線S1が第1、第2、第3副画素SP−A、SP−B、SP−CのTFT−A、TFT−B、TFT−C1、TFT−C2のソース電極と接続されており、第2ソース配線S2が第4副画素SP−DのTFT−D1、TFT−D2のソース電極と接続されている。
また、CSバスラインCS−Aは、第1、第3および第4副画素SP−A、SP−C、SP−Dの補助容量CCS−A、CCS−C1、CCS−D1に接続しており、CSバスラインCS−Bは、第2、第3および第4副画素SP−B、SP−C、SP−Dの補助容量CCS−B、CCS−C2、CCS−D2に接続している。
ここで第3副画素SP−Cに注目すると、第3副画素SP−Cの副画素電極111cはCSバスラインCS−Bと重なる部分において一部切り欠かれており、副画素電極111cとCSバスラインCS-Bとの重なり面積は、副画素電極111cとCSバスラインCS-Aとの重なり面積よりも小さい。したがって、第3副画素SP−Cの補助容量CCS−C1の静電容量値は補助容量CCS−C2よりも大きい。また、第4副画素SP−Dに注目すると、第4副画素SP−Dの副画素電極111dはCSバスラインCS−Aと重なる部分において一部切り欠かれており、副画素電極111dとCSバスラインCS−Aとの重なり面積は、副画素電極111dとCSバスラインCS−Bとの重なり面積よりも小さい。したがって、第4副画素SP−Dの補助容量CCS−D1の静電容量値は補助容量CCS−D2よりも小さい。このため、第3副画素SP−Cの液晶容量CLC−CにはCSバスラインCS−Aによる影響が優勢となり、第4副画素SP−Dの液晶容量CLC−DにはCSバスラインCS−Bによる影響が優勢となる。したがって、第1副画素が明副画素で第2副画素が暗副画素である場合、第3副画素が中明副画素となり、第4副画素が中暗副画素となる。この場合、明副画素、中明副画素、中暗副画素、暗副画素の面積比は1:2:2:1である。
また、液晶表示装置600C1がドット反転駆動を行う場合、列方向に隣接する2つの画素に属する第3副画素の一方が中明副画素、他方が中暗副画素となる。同様に、明副画素と列方向に隣接する副画素は暗副画素となる。
なお、液晶表示装置600C1では、第3、第4副画素SP−C、SP−Dの副画素電極111c、111dはGバスラインと重なるため、短絡を防ぐために、Gバスラインと副画素電極111c、111dとの間に厚い絶縁膜が設けられる。この絶縁膜は、例えば、ゲート絶縁膜と層間絶縁膜とを積層したものである。このように厚い絶縁膜を設けることにより、寄生容量Cgdの増大が抑制される。
図40は、本発明による実施形態の液晶表示装置600C2のTFT基板の模式的な平面図を示す。
液晶表示装置600C2では、第1、第2副画素SP−A、SP−BがTFT−A1、TFT−A2、TFT−B1、TFT−B2を有しており、第3、第4副画素SP−C、SP−DがTFT−C1、TFT−C2、TFT−D1、TFT−D2を有している。 第1、第2、第3、第4副画素SP−A、SP−B、SP−C、SP−Dは冗長構造となっている。また、TFT−A1、TFT−B1、TFT−C1、TFT−C2のソース電極が第1ソース配線S1から行方向(x方向)に延びており、TFT−A2、TFT−B2、TFT−D1、TFT−D2のソース電極が第2ソース配線S2から行方向(x方向)に延びている。
液晶表示装置600C2では、第3副画素SP−Cの副画素電極111cは、電極111c1と、電極111c2と、電極111c1、111c2を連結する連結部111ccを有している。また、第4副画素SP−Dの副画素電極111dは、電極111d1と、電極111d2と、電極111d1、111d2を連結する連結部111dcを有している。また、連結部111cc、111dcの行方向(x方向)の長さは比較的短く、副画素電極111c、111dとGバスラインとの重なり領域の面積を小さくして、寄生容量Cgdの増大を抑制している。
図41は、本発明による実施形態の液晶表示装置600C3のTFT基板の模式的な平面図を示す。
液晶表示装置600C3では、第3副画素SP−Cの副画素電極111cは、電極111c1と、電極111c2とを有しており、第4副画素SP−Dの副画素電極111dは、電極111d1と、電極111d2とを有している。また、第3、第4副画素SP−C、SP−DはTFT−C、TFT−Dを有しており、TFT−Cのドレイン電極は第1ソース配線S1と平行に設けられており、TFT−Dのドレイン電極は第2ソース配線S2と平行に設けられている。また、TFT−Cのドレイン電極は、副画素電極111cの電極111c1、111c2を接続しており、TFT−Dのドレイン電極は、副画素電極111dの電極111d1、111d2を接続している。なお、TFT−C、TFT−Dのドレイン電極はGバスラインと重なるが、TFT−C、TFT−Dのドレイン電極の行方向(x方向)の長さは比較的短く、寄生容量Cgdの増大が抑制されている。
図42は、本発明による実施形態の液晶表示装置600C4のTFT基板の模式的な平面図を示す。
液晶表示装置600C4では、第1、第2副画素SP−A、SP−Bは、TFT−A1、TFT−A2、TFT−B1、TFT−B2をそれぞれ有しており、第3、第4副画素SP−C、SP−DはTFT−C、TFT−Dをそれぞれ有している。
第3、第4副画素SP−C、SP−Dの副画素電極111c、111dは、Gバスラインと重なる連結部111cc、111dcを有しているが、TFT−C、TFT−Dのドレイン電極の面積は、第1副画素SP−AのTFT−A1、TFT−A2のドレイン電極の面積の和、および、第2副画素SP−BのTFT−B1、TFT−B2のドレイン電極の面積の和よりも小さく、第3、第4副画素SP−C、SP−DにおけるTFTのドレイン電極とGバスラインとの寄生容量Cgdを抑制している。このため、第1、第2、第3、第4副画素SP−A、SP−B、SP−C、SP−DのCgd比を略等しくすることができ、ドレイン電圧の引き込み電圧の差を小さくすることができ、例えば、引き込み電圧差が50mV程度以下になる。これにより、フリッカの発生を抑制することができる。
以下、3分割構造および4分割構造の液晶表示装置におけるγ特性の視野角依存性を説明する。
図43には、図3に示した曲線L0、L1、L2およびL3に加えて、4分割構造の右60°視野角におけるγ曲線(L4)を示している。上述したように、3分割構造のγ曲線L3は、2分割構造のγ曲線L2よりも理想的なγ曲線に近いが、4分割構造のγ曲線L4は、3分割構造のγ曲線L3よりもさらに理想的なγ曲線に近く、視野角特性が優れている。
図44は、3VT構造の液晶表示装置における視野角特性を示すグラフである。この液晶表示装置では、図16(a)に示したように、中副画素が2つに分離されている。各副画素の液晶容量に印加される実効電圧の差は階調により異なるが、明副画素の液晶容量に印加される実効電圧は、中副画素の液晶容量に印加される実効電圧よりも最大で0.6V大きく、暗副画素の液晶容量に印加される実効電圧は、中副画素の液晶容量に印加される実効電圧よりも最大で0.6V小さい。
図44(a)および図44(b)は、3VT構造の液晶表示装置におけるγ特性の視野角特性を示すグラフである。これらの液晶表示装置において明副画素:中副画素:暗副画素:中副画素の副画素電極の面積比は1:1:1:1であり、明副画素:中副画素:暗副画素の面積比は1:2:1である。
液晶表示装置の赤画素(R)、緑画素(G)および青画素(B)のギャップが略等しい場合、液晶表示装置のγ特性の視野角依存性は、図44(a)に示すようになる。ここで、赤画素(R)、緑画素(G)および青画素(B)のギャップは3.4μmである。一方、液晶表示装置の青画素(B)のギャップが赤画素(R)および緑画素(G)よりも小さい場合、液晶表示装置のγ特性の視野角依存性は、図44(b)に示すようになる。ここで、赤画素(R)および緑画素(G)のギャップは3.4μmであり、青画素(B)のギャップは3.0μmである。図44(a)と図44(b)との比較から理解されるように、青画素のギャップが赤および緑画素と等しい場合、青についてのγ特性の視野角依存性は高階調においても理想的なγ特性の視野角依存性からずれているが、青画素のギャップが赤および緑画素よりも小さくなると、このずれを抑制することができる。
図44(c)および図44(d)は、3VT構造の液晶表示装置におけるγ特性の視野角特性を示すグラフである。これらの液晶表示装置では、明副画素:中副画素:暗副画素:中副画素の副画素電極の面積比は1:0.5:1:0.5であり、明副画素:中副画素:暗副画素の面積比は1:1:1である。
液晶表示装置の赤画素(R)、緑画素(G)および青画素(B)のギャップが略等しい場合、液晶表示装置のγ特性の視野角依存性は、図44(c)に示すようになる。ここで、赤画素(R)、緑画素(G)および青画素(B)のギャップは3.4μmである。一方、液晶表示装置の青画素(B)のギャップが赤画素(R)および緑画素(G)よりも小さい場合、液晶表示装置のγ特性の視野角依存性は、図44(d)に示すようになる。ここで、赤画素(R)および緑画素(G)のギャップは3.4μmであり、青画素(B)のギャップは3.0μmである。
この場合も、図44(c)と図44(d)との比較から理解されるように、青画素のギャップが赤および緑画素と等しい場合、青についてのγ特性の視野角依存性は高階調において理想値から大きくずれることになるが、青画素のギャップが赤および緑画素よりも小さくなることにより、このずれを抑制することができる。また、図44(a)〜図44(d)の比較から理解されるように、明副画素:中副画素:暗副画素の面積比がほぼ等しいことにより、γ特性の視野角特性は、より理想的な特性に近づく。
ここで、図45を参照して、4VT構造の液晶表示装置における視野角特性を説明する。この液晶表示装置では、明副画素:中明副画素:中暗副画素:暗副画素の面積比は1:1:1:1である。各副画素の液晶容量に印加される実効電圧の差は階調により異なるが、中明副画素の液晶容量に印加される実効電圧は、中暗副画素の液晶容量に印加される実効電圧よりも最大で0.6V大きく、明副画素の液晶容量に印加される実効電圧は、中明副画素の液晶容量に印加される実効電圧よりも最大で0.4V大きい。また、暗副画素の液晶容量に印加される実効電圧は、中暗副画素の液晶容量に印加される実効電圧よりも最大で0.4V小さい。
液晶表示装置の赤画素(R)、緑画素(G)および青画素(B)のギャップが略等しい場合、液晶表示装置のγ特性の視野角依存性は、図45(a)に示すようになる。ここで、赤画素(R)、緑画素(G)および青画素(B)のギャップは3.4μmである。一方、液晶表示装置の青画素(B)のギャップが赤画素(R)および緑画素(G)よりも小さい場合、液晶表示装置のγ特性の視野角依存性は、図45(b)に示すようになる。ここで、赤画素(R)および緑画素(G)のギャップは3.4μmであり、青画素(B)のギャップは3.0μmである。
図45(a)と図45(b)との比較から理解されるように、青画素のギャップが赤および緑画素と等しい場合、青についてのγ特性の視野角依存性は高階調において理想的な値から大きくずれることになるが、青画素のギャップが赤および緑画素よりも小さいことにより、このずれを抑制することができる。また、図44および図45の比較から理解されるように、4VT構造の液晶表示装置におけるγ特性の視野角特性は、3VT構造の液晶表示装置よりも理想的な特性に近づいている。
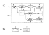
なお、本発明の液晶表示装置は、広視野角特性を有し表示品位が極めて高いので、大型のTV受像機の表示装置として好適に用いられる。本発明によるTV受像機は、テレビジョン放送を受信するチューナ等の公知の構成と、上述の液晶表示装置とを有する。
次に、本発明に係る液晶表示装置をテレビジョン受信機に使用した例について説明する。図46は、このテレビジョン受信機の表示装置800の構成を示すブロック図である。この表示装置800は、Y/C分離回路80と、ビデオクロマ回路81と、A/Dコンバータ82と、液晶コントローラ83と、液晶パネル84と、バックライト駆動回路85と、バックライト86と、マイコン(マイクロコンピュータ)87と、階調回路88とを備えている。なお、上記液晶パネル84は、アクティブマトリクス型の画素アレイからなる表示部と、その表示部を駆動するためのソースドライバおよびゲートドライバを含んでいる。
上記構成の表示装置800では、まず、テレビジョン信号としての複合カラー映像信号Scvが外部からY/C分離回路80に入力され、そこで輝度信号と色信号に分離される。これらの輝度信号と色信号は、ビデオクロマ回路81にて光の3原色に対応するアナログRGB信号に変換され、さらに、このアナログRGB信号はA/Dコンバータ82により、デジタルRGB信号に変換される。このデジタルRGB信号は液晶コントローラ83に入力される。また、Y/C分離回路80では、外部から入力された複合カラー映像信号Scvから水平および垂直同期信号も取り出され、これらの同期信号もマイコン87を介して液晶コントローラ83に入力される。
液晶コントローラ83は、A/Dコンバータ82からのデジタルRGB信号(上記実施形態におけるデジタルビデオ信号Dvに相当)に基づきドライバ用データ信号を出力する。また、液晶コントローラ83は、液晶パネル84内のソースドライバおよびゲートドライバを上記実施形態と同様に動作させるためのタイミング制御信号を、上記同期信号に基づいて生成し、それらのタイミング制御信号をソースドライバおよびゲートドライバに与える。また、階調回路88では、カラー表示の3原色R、G、Bそれぞれの階調電圧が生成され、それらの階調電圧も液晶パネル84に供給される。
液晶パネル84では、これらのドライバ用データ信号、タイミング制御信号および階調電圧に基づき内部のソースドライバやゲートドライバ等により駆動用信号(データ信号、走査信号等)が生成され、それらの駆動用信号に基づき内部の表示部にカラー画像が表示される。なお、この液晶パネル84によって画像を表示するには、液晶パネル84の後方から光を照射する必要がある。この表示装置800では、マイコン87の制御の下にバックライト駆動回路85がバックライト86を駆動することにより、液晶パネル84の裏面に光が照射される。
上記の処理を含め、システム全体の制御はマイコン87が行う。なお、外部から入力される映像信号(複合カラー映像信号)としては、テレビジョン放送に基づく映像信号のみならず、カメラにより撮像された映像信号や、インターネット回線を介して供給される映像信号等も使用可能であり、この表示装置800では、様々な映像信号に基づいた画像表示が可能である。
上記構成の表示装置800でテレビジョン放送に基づく画像を表示する場合には、図46(b)に示すように、当該表示装置800にチューナ部90が接続される。このチューナ部90は、アンテナ(不図示)で受信した受信波(高周波信号)の中から受信すべきチャンネルの信号を抜き出して中間周波信号に変換し、この中間周波数信号を検波することによってテレビジョン信号としての複合カラー映像信号Scvを取り出す。この複合カラー映像信号Scvは、既述のように表示装置800に入力され、この複合カラー映像信号Scvに基づく画像が当該表示装置800によって表示される。
なお、参考のために、本願の基礎出願である特願2007−66724号および特願2007-280865号の開示内容を本明細書に援用する。
本発明は、大型で広視野角特性を有する液晶TVに特に好適に用いられる。

Claims (58)

  1. 複数の行および複数の列を有するマトリクス状に配列された複数の画素と、
    前記複数の画素のそれぞれに関連付けられた、TFTと、ソースバスラインと、ゲートバスラインと、CSバスラインとを有し、
    前記複数の画素のそれぞれは、それぞれが互いに異なる電圧を保持し得る液晶容量を有する少なくとも3つの副画素を有し、
    前記ソースバスライン、ゲートバスライン、およびCSバスラインから、前記複数の画素のそれぞれに、少なくともある中間調において前記少なくとも3つの副画素の内の2つの副画素に互いに異なる輝度を表示させる信号を供給することによって、前記少なくとも3つの副画素に互いに異なる輝度を表示させることができる、液晶表示装置であって、
    前記複数の画素のそれぞれについて、前記少なくとも3つの副画素に対応する少なくとも3つのTFTと、1つのソースバスラインと、少なくとも1つのゲートバスラインと、少なくとも2つのCSバスラインが関連付けられており、
    前記少なくとも3つの副画素に対応するTFTのそれぞれは、ゲート電極、ソース電極およびドレイン電極を有し、
    前記少なくとも3つの副画素を第1、第2および第3副画素とし、前記少なくとも2つのCSバスラインを第1および第2CSバスラインとすると、
    前記第1副画素は前記第1CSバスラインに接続された補助容量を有し、
    前記第2副画素は前記第2CSバスラインに接続された補助容量を有し、
    前記第3副画素は、前記第1CSバスラインに接続された補助容量と、前記第2CSバスラインに接続された補助容量とを有する、液晶表示装置
  2. 前記少なくとも3つの副画素の有する液晶容量は、少なくとも3つの副画素電極と、液晶層と、前記液晶層を介して前記少なくとも3つの副画素電極に対向する対向電極とを有し、
    前記対向電極は前記少なくとも3つの副画素電極に共通の単一の電極である、請求項に記載の液晶表示装置。
  3. 前記ゲートバスラインは、第1および第2ゲート配線を含み、
    前記第1CSバスラインは、第1および第2CS配線を含み、
    前記第2CSバスラインは、第3および第4CS配線を含む、請求項1または2に記載の液晶表示装置。
  4. 前記第1および第2ゲート配線は前記液晶表示装置内において分岐されており、
    前記第1および第2CS配線は前記液晶表示装置内において分岐されており、
    前記第3および第4CS配線は前記液晶表示装置内において分岐されている、請求項に記載の液晶表示装置。
  5. 前記第1、第2および第3副画素は列方向に配列されており、
    前記第3副画素は、前記第1副画素と前記第2副画素との間に配置されている、請求項またはに記載の液晶表示装置。
  6. 前記第3副画素は、前記第1ゲート配線と接続するゲート電極を有するTFTと、前記第2ゲート配線と接続するゲート電極を有するTFTとを有している、請求項からのいずれかに記載の液晶表示装置。
  7. 前記ゲートバスラインは、前記第1および第2ゲート配線を接続する接続配線をさらに有しており、
    前記CSバスラインは、前記第1および第2CS配線を接続する接続配線、および/または、前記第3および第4CS配線を接続する接続配線をさらに有しており、
    前記ゲートバスラインの前記接続配線は、前記ゲートバスラインの前記第1および第2ゲート配線と同じ材料から形成されており、
    前記CSバスラインの前記接続配線は、前記ソースバスラインと同じ材料から形成されている、請求項からのいずれかに記載の液晶表示装置。
  8. 前記第3副画素が有する前記第1CSバスラインに接続された前記補助容量の静電容量値と、前記第2CSバスラインに接続された前記補助容量の静電容量値とが略等しい、請求項からのいずれかに記載の液晶表示装置。
  9. 前記第1、第2および第3副画素が互いに異なる輝度を表示する場合、前記第3副画素の輝度は、前記第1、第2副画素の一方の輝度よりも高く、他方の輝度よりも低く、
    前記第3副画素は列方向にストライプ状に設けられている、請求項に記載の液晶表示装置。
  10. 前記第1および第2副画素は列方向に配列されており、
    前記ソースバスラインは、前記第1および第2副画素と前記第3副画素との間に設けられている、請求項またはに記載の液晶表示装置。
  11. 前記第1、第2、第3副画素の面積比は1:1:1である、請求項10に記載の液晶表示装置。
  12. 前記第3副画素は前記ゲートバスラインを跨いでいる、請求項に記載の液晶表示装置。
  13. 前記第3副画素の副画素電極が前記ゲートバスラインを跨いでいる、請求項12に記載の液晶表示装置。
  14. 前記第3副画素の副画素電極における前記ゲートバスラインを跨ぐ部分の行方向の長さは、前記第3副画素の副画素電極の行方向の最大の長さよりも短い、請求項13に記載の液晶表示装置。
  15. 前記第3副画素のTFTのドレイン電極は前記ゲートバスラインを跨いでいる、請求項12に記載の液晶表示装置。
  16. 前記第3副画素の副画素電極は、第1電極と、第2電極とを有しており、
    前記第3副画素のTFTのドレイン電極は前記ソースバスラインと平行に設けられており、前記ドレイン電極は、前記第3副画素の副画素電極の前記第1電極および前記第2電極を接続している、請求項15に記載の液晶表示装置。
  17. 前記第3副画素のTFTのドレイン電極が前記ゲートバスラインと重なる面積は、前記第1および第2副画素のTFTのドレイン電極が前記ゲートバスラインと重なるそれぞれの面積よりも小さい、請求項に記載の液晶表示装置。
  18. 前記第1および第2副画素は列方向に配列されており、
    前記第3副画素は、第1領域と、第2領域とを有しており、
    前記ソースバスラインは、前記第1および第2副画素と前記第3副画素の第1領域との間に設けられた第1ソース配線と、前記第1および第2副画素と前記第3副画素の第2領域との間に設けられた第2ソース配線とを有しており、
    前記第1および第2副画素の列方向のそれぞれの長さは、前記第3副画素の前記第1領域と前記第2領域の列方向のそれぞれの長さの半分であり、
    前記第1および第2副画素の行方向の長さは、前記第3副画素の前記第1領域または前記第2領域の行方向の長さの略4倍である、請求項に記載の液晶表示装置。
  19. 前記第3副画素は、前記第1および第2領域に対応する副画素電極を有しており、
    前記第1、第2および第3副画素の副画素電極には、それぞれ、複数のTFTが接続されている、請求項18に記載の液晶表示装置。
  20. 前記第1および第2ソース配線のそれぞれには複数のTFTが設けられており、
    前記第3副画素は、前記第1および第2領域に対応して設けられたTFTを有しており、
    前記第3副画素の前記第1および第2領域に設けられたTFTのドレイン電極のそれぞれの面積は、第1および第2副画素のTFTのドレイン電極のそれぞれの面積よりも小さい、請求項18に記載の液晶表示装置。
  21. 前記第1および第2副画素は、それぞれ、複数のTFTを有しており、
    前記第1および第2領域に設けられたTFTのそれぞれの数は、前記第1および第2副画素のTFTのそれぞれの数よりも少ない、請求項20に記載の液晶表示装置。
  22. 前記第1副画素は前記ある中間調において前記少なくとも3つの副画素の内で最高の輝度を呈し、
    前記第2および第3副画素の少なくとも一方は、前記第1副画素を挟むように配置された2つの領域を有する、請求項に記載の液晶表示装置。
  23. 前記第2および第3副画素の前記少なくとも一方は、前記2つの領域に亘って連続した副画素電極を有する、請求項22に記載の液晶表示装置。
  24. 前記2つの領域に亘って連続した副画素電極は環状である、請求項23に記載の液晶表示装置。
  25. 前記2つの領域に亘って連続した副画素電極はコの字状である、請求項23に記載の液晶表示装置。
  26. 前記第2および第3副画素の前記少なくとも一方は、前記2つの領域に対応する2つの副画素電極を有し、前記2つの副画素電極は、当該副画素に関連付けられたTFTのドレイン電極に接続されたドレイン引出し配線を介して互いに接続されている、請求項22に記載の液晶表示装置。
  27. 前記3つのTFTのドレイン電極にそれぞれ接続された3つのドレイン引出し配線を有し、
    前記第1および第2CSバスラインの少なくとも一方は延設部を有し、
    前記延設部は、絶縁層を介して前記少なくとも3つの副画素電極および前記3つのドレイン引出し配線の少なくとも1つと重なっている、請求項26に記載の液晶表示装置。
  28. 前記第1および第2CSバスラインの前記少なくとも一方が有する前記延設部は環状部を含む、請求項27に記載の液晶表示装置。
  29. 前記少なくとも3つの副画素電極の内の互いに隣接する副画素電極間の間隙には、前記ドレイン引出し配線、前記ソースバスライン、前記第1および第2CSバスラインの内から選択される少なくとも1つの配線の一部が配置されている、請求項27または28に記載の液晶表示装置。
  30. 垂直配向型の液晶層を有し、前記少なくとも3つの副画素電極の内の前記互いに隣接する副画素電極間の前記間隙は、列方向に対して約45°の方向に延びる間隙を含む、請求項29に記載の液晶表示装置。
  31. 前記第1、第2および第3副画素は、前記第1および第2CSバスラインの間に配置され、前記第1および第2CSバスラインは、それぞれ、列方向に隣接する画素の補助容量に接続している、請求項に記載の液晶表示装置。
  32. 前記第1、第2および第3副画素の副画素電極のそれぞれにおける列方向に沿った2つの辺の長さは略等しい、請求項31に記載の液晶表示装置。
  33. 前記少なくとも1つのゲートバスラインは第1および第2ゲート配線を有しており、
    前記第3副画素は、前記第1ゲート配線と接続されたゲート電極を有するTFTと、前記第2ゲート配線と接続されたゲート電極を有するTFTとを有しており、
    前記第3副画素の2つのTFTのドレイン電極は、2つのドレイン引出し配線とそれぞれ接続されており、
    前記2つのドレイン引出し配線は、前記少なくとも1つのゲートバスラインとそれぞれ交差する、請求項31または32に記載の液晶表示装置。
  34. 前記少なくとも1つのゲートバスラインはゲート配線を有しており、
    前記第3副画素は、それぞれが前記ゲート配線と接続されたゲート電極を有する2つのTFTを有しており、
    前記第3副画素の2つのTFTのドレイン電極は、2つのドレイン引出し配線とそれぞれ接続されており、
    前記第3副画素の副画素電極は前記ゲートバスラインを跨ぐ、請求項31または32に記載の液晶表示装置。
  35. 前記第3副画素の副画素電極は、第1電極と、第2電極と、前記第1および第2電極を連結する連結部とを有しており、
    前記連結部の行方向の長さは、前記第1、第2電極の前記行方向の長さよりも短い、請求項34に記載の液晶表示装置。
  36. 前記第3副画素の副画素電極の連結部は、前記画素の行方向における中央付近に設けられている、請求項35に記載の液晶表示装置。
  37. 前記第1副画素のTFTおよび前記第3副画素の一方のTFTのゲート電極、ならびに/または、前記第2副画素のTFTおよび前記第3副画素の他方のTFTのゲート電極は、ゲート電極部として一体的に設けられて前記ゲートバスラインに接続されており、
    前記第1および第2副画素のTFTのそれぞれのドレイン電極は前記ゲート電極部および前記ゲートバスラインと重なる、請求項34から36のいずれかに記載の液晶表示装置。
  38. 前記2つのドレイン引出し配線は、前記第1および第2CSバスラインとそれぞれ重なり、
    前記第1および第2副画素の副画素電極は、前記2つのドレイン引出し配線と前記第1および第2CSバスラインとが重なる領域とは重ならない、請求項33から37のいずれかに記載の液晶表示装置。
  39. 前記第3副画素の副画素電極は、前記2つのドレイン引出し配線とコンタクトホールをそれぞれ介して接続されており、前記2つのドレイン引出し配線は前記第1および第2CSバスラインと重なる補助容量電極をそれぞれ有している、請求項33から38のいずれかに記載の液晶表示装置。
  40. 前記少なくとも1つのゲートバスラインは第1および第2ゲート配線を有しており、
    前記第3副画素は、前記第1ゲート配線または前記第2ゲート配線に接続されたゲート電極を有するTFTを有している、請求項31または32に記載の液晶表示装置。
  41. 前記第3副画素のTFTのドレイン電極は、ドレイン引出し配線に接続されており、
    前記ドレイン引出し配線は、前記第1および第2CSバスラインと重なり、
    前記第1および第2副画素の副画素電極は、前記ドレイン引出し配線と前記第1および第2CSバスラインとが重なる領域とは重ならない、請求項40に記載の液晶表示装置。
  42. 行方向に沿った画素において、少なくとも1つの画素ごとに前記第3副画素のTFTのゲート電極が異なるゲート配線に接続している、請求項40または41に記載の液晶表示装置。
  43. 行方向に隣接する2つの画素のうち、一方の画素の第3副画素のTFTのゲート電極は前記第1ゲート配線に接続しており、他方の画素の第3副画素のTFTのゲート電極は前記第2ゲート配線に接続している、請求項40から42のいずれかに記載の液晶表示装置。
  44. 前記第3副画素のTFTのドレイン電極の面積は、前記第1および第2副画素のTFTのドレイン電極のそれぞれの面積よりも小さい、請求項33から43のいずれかに記載の液晶表示装置。
  45. 前記第1、第2および第3副画素の面積は互いにほぼ等しい、請求項から44のいずれかに記載の液晶表示装置。
  46. 前記複数の画素のそれぞれは、第4副画素をさらに有しており、
    前記第4副画素は、前記第1CSバスラインに接続された補助容量と、前記第2CSバスラインに接続された補助容量とを有する、請求項から45のいずれかに記載の液晶表示装置。
  47. 前記第3副画素において、前記第1CSバスラインに接続された補助容量を第1補助容量とし、前記第2CSバスラインに接続された補助容量を第2補助容量とし、
    前記第4副画素において、前記第1CSバスラインに接続された補助容量を第3補助容量とし、前記第2CSバスラインに接続された補助容量を第4補助容量とすると、
    前記第1補助容量の静電容量値と前記第2補助容量の静電容量値とが異なり、
    前記第3補助容量の静電容量値と前記第4補助容量の静電容量値とが異なる、請求項46に記載の液晶表示装置。
  48. 前記ソースバスラインは、第1および第2ソース配線を有しており、
    前記第1および第2副画素は、前記第1ソース配線と前記第2ソース配線との間において列方向に配列されており、
    前記第1および第2副画素に対して、前記第1ソース配線を挟んで前記第3副画素が配置され、前記第2ソース配線を挟んで前記第4副画素が配置されている、請求項46または47に記載の液晶表示装置。
  49. 前記第3および第4副画素は前記ゲートバスラインを跨いでいる、請求項48に記載の液晶表示装置。
  50. 前記第1、第2、第3および第4副画素は、それぞれ、複数のTFTを有している、請求項49に記載の液晶表示装置。
  51. 前記第3および第4副画素の副画素電極が前記ゲートバスラインを跨いでいる、請求項49または50に記載の液晶表示装置。
  52. 前記第3および第4副画素の副画素電極において前記ゲートバスラインを跨いでいる部分の行方向の長さは、前記第3、第4副画素の副画素電極の行方向の最大の長さよりも短い、請求項51に記載の液晶表示装置。
  53. 前記第3および第4副画素のTFTのドレイン電極は前記ゲートバスラインを跨いでいる、請求項49または50に記載の液晶表示装置。
  54. 前記第3および第4副画素の副画素電極は、それぞれ、2つの電極を有しており、
    前記第3および第4副画素のTFTのドレイン電極は前記ソースバスラインと平行して設けられており、前記第3および第4副画素のTFTのドレイン電極は、前記第3および第4副画素の副画素電極の前記2つの電極をそれぞれ接続している、請求項53に記載の液晶表示装置。
  55. 前記第1、第2、第3および第4副画素のTFTのドレイン電極は前記ゲートバスラインと重なり、
    前記第3および第4副画素のTFTのドレイン電極が前記ゲートバスラインと重なるそれぞれの面積は、前記第1および第2副画素のTFTのドレイン電極が前記ゲートバスラインと重なるそれぞれの面積よりも小さい、請求項47に記載の液晶表示装置。
  56. 前記第1および第2副画素は、それぞれ、複数のTFTを有しており、
    前記第3および第4副画素のそれぞれのTFTの数は、前記第1、第2副画素のそれぞれのTFTの数よりも少ない、請求項55に記載の液晶表示装置。
  57. 前記第1、第2、第3および第4副画素の面積は互いにほぼ等しい、請求項46から56のいずれかに記載の液晶表示装置。
  58. 前記複数の画素は、赤を表示する赤画素と、青を表示する青画素と、緑を表示する緑画素とを有しており、
    前記青画素のセルギャップが前記赤画素または前記緑画素よりも小さい、請求項1から57のいずれかに記載の液晶表示装置。
JP2009504013A 2007-03-15 2008-03-06 液晶表示装置 Expired - Fee Related JP5259572B2 (ja)

Priority Applications (1)

Application Number Priority Date Filing Date Title
JP2009504013A JP5259572B2 (ja) 2007-03-15 2008-03-06 液晶表示装置

Applications Claiming Priority (6)

Application Number Priority Date Filing Date Title
JP2007066724 2007-03-15
JP2007066724 2007-03-15
JP2007280865 2007-10-29
JP2007280865 2007-10-29
PCT/JP2008/054069 WO2008111490A1 (ja) 2007-03-15 2008-03-06 液晶表示装置
JP2009504013A JP5259572B2 (ja) 2007-03-15 2008-03-06 液晶表示装置

Related Child Applications (1)

Application Number Title Priority Date Filing Date
JP2012217971A Division JP2012256080A (ja) 2007-03-15 2012-09-28 液晶表示装置

Publications (2)

Publication Number Publication Date
JPWO2008111490A1 JPWO2008111490A1 (ja) 2010-06-24
JP5259572B2 true JP5259572B2 (ja) 2013-08-07

Family

ID=39759432

Family Applications (2)

Application Number Title Priority Date Filing Date
JP2009504013A Expired - Fee Related JP5259572B2 (ja) 2007-03-15 2008-03-06 液晶表示装置
JP2012217971A Pending JP2012256080A (ja) 2007-03-15 2012-09-28 液晶表示装置

Family Applications After (1)

Application Number Title Priority Date Filing Date
JP2012217971A Pending JP2012256080A (ja) 2007-03-15 2012-09-28 液晶表示装置

Country Status (5)

Country Link
US (2) US8456583B2 (ja)
EP (1) EP2136247B1 (ja)
JP (2) JP5259572B2 (ja)
CN (1) CN101636690B (ja)
WO (1) WO2008111490A1 (ja)

Families Citing this family (34)

* Cited by examiner, † Cited by third party
Publication number Priority date Publication date Assignee Title
JP5116359B2 (ja) * 2007-05-17 2013-01-09 株式会社半導体エネルギー研究所 液晶表示装置
KR101483623B1 (ko) * 2008-01-30 2015-01-16 삼성디스플레이 주식회사 액정 표시 장치
CN101581858B (zh) 2008-05-16 2012-02-08 群康科技(深圳)有限公司 垂直配向型液晶显示装置及其驱动方法
US8654288B2 (en) * 2008-08-05 2014-02-18 Sharp Kabushiki Kaisha Method for manufacturing liquid crystal display device including forming alignment sustaining layers
KR101469028B1 (ko) * 2008-08-11 2014-12-04 삼성디스플레이 주식회사 표시 장치
TW201013621A (en) * 2008-09-23 2010-04-01 Acer Inc Liquid crystal display panel and pixel driving device for the liquid crystal display panel
WO2011115194A1 (ja) * 2010-03-19 2011-09-22 シャープ株式会社 液晶表示装置
JP5477140B2 (ja) * 2010-04-19 2014-04-23 カシオ計算機株式会社 液晶表示装置
KR101773934B1 (ko) * 2010-10-21 2017-09-04 삼성디스플레이 주식회사 표시 패널 및 이를 포함하는 표시 장치
JP5679172B2 (ja) 2010-10-29 2015-03-04 株式会社ジャパンディスプレイ 液晶表示装置
KR101781501B1 (ko) * 2010-12-15 2017-09-26 삼성디스플레이 주식회사 박막 트랜지스터 표시판 및 이를 이용한 액정 표시 장치
US20130314309A1 (en) * 2011-01-28 2013-11-28 Sharp Kabushiki Kaisha Display device
TWI493519B (zh) 2012-03-09 2015-07-21 Au Optronics Corp 畫素電路
TWI481940B (zh) 2012-07-05 2015-04-21 Au Optronics Corp 顯示面板及其驅動方法
CN103680430B (zh) * 2012-09-24 2016-06-29 群康科技(深圳)有限公司 液晶显示装置及其驱动方法
KR101961145B1 (ko) * 2012-10-17 2019-03-26 삼성디스플레이 주식회사 표시 장치
TWI475552B (zh) 2012-11-23 2015-03-01 Au Optronics Corp 畫素驅動電路
KR102164311B1 (ko) * 2013-12-06 2020-10-13 삼성디스플레이 주식회사 액정 표시 장치
US9256078B2 (en) 2013-12-13 2016-02-09 Shenzhen China Star Optoelectronics Technology Co., Ltd. 3D display apparatus and pixel array structure thereof
CN106233366A (zh) * 2014-04-22 2016-12-14 夏普株式会社 有源矩阵基板和具备其的显示装置
US10114255B2 (en) 2014-06-04 2018-10-30 Sakai Display Products Corporation Display apparatus
US10345641B2 (en) * 2014-12-18 2019-07-09 Sakai Display Products Corporation Liquid crystal display apparatus and method of driving liquid crystal display apparatus
CN204302636U (zh) * 2015-01-07 2015-04-29 京东方科技集团股份有限公司 一种显示装置
KR102296070B1 (ko) * 2015-01-08 2021-08-31 삼성디스플레이 주식회사 액정 표시 장치
CN108463847B (zh) * 2016-01-14 2021-08-13 寇平公司 可变占空比的显示器扫描方法和系统
WO2018061094A1 (ja) * 2016-09-27 2018-04-05 堺ディスプレイプロダクト株式会社 表示装置
US10620743B2 (en) * 2016-10-21 2020-04-14 Japan Display Inc. Detection apparatus and display apparatus
US10803798B2 (en) * 2018-02-24 2020-10-13 Wuhan China Star Optoelectronics Semiconductor Display Technology Co., Ltd. AMOLED panel and method for reducing display luminance unevenness thereof
CN108172193B (zh) 2018-03-22 2021-01-26 京东方科技集团股份有限公司 一种显示面板、显示装置及其驱动方法
CN209343105U (zh) * 2018-12-04 2019-09-03 惠科股份有限公司 一种显示面板和显示装置
CN109521591B (zh) * 2018-12-17 2024-05-03 惠科股份有限公司 一种显示面板和显示装置
CN111833787B (zh) * 2019-04-16 2022-10-11 咸阳彩虹光电科技有限公司 一种显示面板、装置及其驱动方法
CN112748614B (zh) * 2021-01-04 2022-11-29 成都中电熊猫显示科技有限公司 显示面板和液晶显示器
CN119781216B (zh) * 2024-12-31 2025-11-25 长沙惠科光电有限公司 显示面板及显示装置

Citations (3)

* Cited by examiner, † Cited by third party
Publication number Priority date Publication date Assignee Title
JP2004062146A (ja) * 2002-06-06 2004-02-26 Sharp Corp 液晶表示装置
JP2005189804A (ja) * 2003-12-05 2005-07-14 Sharp Corp 液晶表示装置
JP2005292397A (ja) * 2004-03-31 2005-10-20 Fujitsu Display Technologies Corp 液晶表示装置

Family Cites Families (29)

* Cited by examiner, † Cited by third party
Publication number Priority date Publication date Assignee Title
JPS5691277A (en) 1979-12-25 1981-07-24 Citizen Watch Co Ltd Liquiddcrystal display panel
FI74871B (fi) 1986-06-26 1987-12-31 Sinisalo Sport Oy Skyddsklaede.
JPH09236826A (ja) * 1995-09-28 1997-09-09 Sharp Corp 液晶表示素子およびその製造方法
JP3062090B2 (ja) * 1996-07-19 2000-07-10 日本電気株式会社 液晶表示装置
JPH10274783A (ja) 1997-03-31 1998-10-13 Sharp Corp 液晶表示装置
DE69840797D1 (de) 1997-06-12 2009-06-10 Sharp Kk Anzeigevorrichtung mit vertikal ausgerichtetem Flüssigkristall
JP3536006B2 (ja) * 2000-03-15 2004-06-07 シャープ株式会社 アクティブマトリクス型表示装置およびその駆動方法
TW535966U (en) * 2001-02-02 2003-06-01 Koninkl Philips Electronics Nv Display device
KR100389027B1 (ko) * 2001-05-22 2003-06-25 엘지.필립스 엘시디 주식회사 액정표시장치 및 그 구동방법
JP4248306B2 (ja) 2002-06-17 2009-04-02 シャープ株式会社 液晶表示装置
KR100906964B1 (ko) * 2002-09-25 2009-07-08 삼성전자주식회사 유기 전계발광 구동 소자와 이를 갖는 유기 전계발광 표시패널
US7253438B2 (en) * 2003-03-20 2007-08-07 Sharp Kabushiki Kaisha Liquid crystal display apparatus and manufacturing method therefor
US7206048B2 (en) * 2003-08-13 2007-04-17 Samsung Electronics Co., Ltd. Liquid crystal display and panel therefor
JP4421272B2 (ja) * 2003-11-28 2010-02-24 東芝モバイルディスプレイ株式会社 液晶表示装置
JP4197322B2 (ja) * 2004-01-21 2008-12-17 シャープ株式会社 表示装置,液晶モニター,液晶テレビジョン受像機および表示方法
JP4467334B2 (ja) 2004-03-04 2010-05-26 シャープ株式会社 液晶表示装置
EP2230551A3 (en) * 2004-10-06 2012-05-09 Sharp Kabushiki Kaisha Liquid crystal display
KR100647774B1 (ko) * 2004-11-04 2006-11-23 엘지.필립스 엘시디 주식회사 폴리 실리콘형 박막 트랜지스터 기판 및 제조 방법
CN101053009B (zh) * 2004-11-05 2010-06-16 夏普株式会社 液晶显示装置及其驱动方法
JP4104639B2 (ja) 2004-12-28 2008-06-18 シャープ株式会社 液晶表示装置およびその駆動方法
JP4447484B2 (ja) * 2005-02-15 2010-04-07 シャープ株式会社 液晶表示装置
KR101187207B1 (ko) * 2005-08-04 2012-10-02 삼성디스플레이 주식회사 디스플레이장치
JP2007066724A (ja) 2005-08-31 2007-03-15 Kasuga Electric Works Ltd 燃料電池発電システム
US7764329B2 (en) * 2005-12-02 2010-07-27 Au Optronics Corp. MVA LCD device and pixel circuit thereof
JP2007280865A (ja) 2006-04-11 2007-10-25 Toppan Printing Co Ltd 固体酸化物型燃料電池
JP2007298791A (ja) * 2006-05-01 2007-11-15 Mitsubishi Electric Corp 液晶表示装置及びその欠陥修復方法
CN100468140C (zh) * 2006-06-20 2009-03-11 友达光电股份有限公司 垂直配向型液晶显示装置及其像素单元电路
WO2008018552A1 (en) * 2006-08-10 2008-02-14 Sharp Kabushiki Kaisha Liquid crystal display
JP5116359B2 (ja) * 2007-05-17 2013-01-09 株式会社半導体エネルギー研究所 液晶表示装置

Patent Citations (3)

* Cited by examiner, † Cited by third party
Publication number Priority date Publication date Assignee Title
JP2004062146A (ja) * 2002-06-06 2004-02-26 Sharp Corp 液晶表示装置
JP2005189804A (ja) * 2003-12-05 2005-07-14 Sharp Corp 液晶表示装置
JP2005292397A (ja) * 2004-03-31 2005-10-20 Fujitsu Display Technologies Corp 液晶表示装置

Also Published As

Publication number Publication date
WO2008111490A1 (ja) 2008-09-18
EP2136247A4 (en) 2010-09-15
CN101636690B (zh) 2013-07-03
US8456583B2 (en) 2013-06-04
EP2136247B1 (en) 2014-07-02
US20100103339A1 (en) 2010-04-29
CN101636690A (zh) 2010-01-27
JPWO2008111490A1 (ja) 2010-06-24
EP2136247A1 (en) 2009-12-23
US20130250198A1 (en) 2013-09-26
JP2012256080A (ja) 2012-12-27

Similar Documents

Publication Publication Date Title
JP5259572B2 (ja) 液晶表示装置
JP5148494B2 (ja) 液晶表示装置
JP4932823B2 (ja) アクティブマトリクス基板、表示装置及びテレビジョン受像機
KR101369587B1 (ko) 액정 표시 장치
US9251746B2 (en) Liquid crystal display apparatus
JP4938032B2 (ja) 液晶パネル、液晶表示装置、およびテレビジョン装置
JP5616662B2 (ja) 液晶表示装置
JP5342004B2 (ja) 液晶表示装置
JP2004078157A (ja) 液晶表示装置
WO2006038598A1 (ja) 液晶表示装置
US20110310075A1 (en) Liquid crystal display and driving method thereof
WO2008056574A1 (en) Liquid crystal display device
US9395580B2 (en) Liquid crystal display
JP4592384B2 (ja) 液晶表示装置
WO2008023601A1 (en) Liquid crystal display device
JP2008158286A (ja) 液晶表示装置
WO2011024966A1 (ja) 液晶表示装置
WO2012093630A1 (ja) 液晶表示装置

Legal Events

Date Code Title Description
A131 Notification of reasons for refusal

Free format text: JAPANESE INTERMEDIATE CODE: A131

Effective date: 20120731

A521 Request for written amendment filed

Free format text: JAPANESE INTERMEDIATE CODE: A523

Effective date: 20120928

TRDD Decision of grant or rejection written
A01 Written decision to grant a patent or to grant a registration (utility model)

Free format text: JAPANESE INTERMEDIATE CODE: A01

Effective date: 20130402

A61 First payment of annual fees (during grant procedure)

Free format text: JAPANESE INTERMEDIATE CODE: A61

Effective date: 20130424

FPAY Renewal fee payment (event date is renewal date of database)

Free format text: PAYMENT UNTIL: 20160502

Year of fee payment: 3

R150 Certificate of patent or registration of utility model

Free format text: JAPANESE INTERMEDIATE CODE: R150

Ref document number: 5259572

Country of ref document: JP

Free format text: JAPANESE INTERMEDIATE CODE: R150

LAPS Cancellation because of no payment of annual fees