JP5073766B2 - 表示装置、液晶表示装置、テレビジョン受像機 - Google Patents

表示装置、液晶表示装置、テレビジョン受像機 Download PDF

Info

Publication number
JP5073766B2
JP5073766B2 JP2010023578A JP2010023578A JP5073766B2 JP 5073766 B2 JP5073766 B2 JP 5073766B2 JP 2010023578 A JP2010023578 A JP 2010023578A JP 2010023578 A JP2010023578 A JP 2010023578A JP 5073766 B2 JP5073766 B2 JP 5073766B2
Authority
JP
Japan
Prior art keywords
storage capacitor
electrode
display device
subpixel electrode
subpixel
Prior art date
Legal status (The legal status is an assumption and is not a legal conclusion. Google has not performed a legal analysis and makes no representation as to the accuracy of the status listed.)
Expired - Fee Related
Application number
JP2010023578A
Other languages
English (en)
Other versions
JP2010160493A5 (ja
JP2010160493A (ja
Inventor
歳久 内田
俊英 津幡
Current Assignee (The listed assignees may be inaccurate. Google has not performed a legal analysis and makes no representation or warranty as to the accuracy of the list.)
Sharp Corp
Original Assignee
Sharp Corp
Priority date (The priority date is an assumption and is not a legal conclusion. Google has not performed a legal analysis and makes no representation as to the accuracy of the date listed.)
Filing date
Publication date
Application filed by Sharp Corp filed Critical Sharp Corp
Priority to JP2010023578A priority Critical patent/JP5073766B2/ja
Publication of JP2010160493A publication Critical patent/JP2010160493A/ja
Publication of JP2010160493A5 publication Critical patent/JP2010160493A5/ja
Application granted granted Critical
Publication of JP5073766B2 publication Critical patent/JP5073766B2/ja
Expired - Fee Related legal-status Critical Current
Anticipated expiration legal-status Critical

Links

Images

Classifications

    • GPHYSICS
    • G02OPTICS
    • G02FOPTICAL DEVICES OR ARRANGEMENTS FOR THE CONTROL OF LIGHT BY MODIFICATION OF THE OPTICAL PROPERTIES OF THE MEDIA OF THE ELEMENTS INVOLVED THEREIN; NON-LINEAR OPTICS; FREQUENCY-CHANGING OF LIGHT; OPTICAL LOGIC ELEMENTS; OPTICAL ANALOGUE/DIGITAL CONVERTERS
    • G02F1/00Devices or arrangements for the control of the intensity, colour, phase, polarisation or direction of light arriving from an independent light source, e.g. switching, gating or modulating; Non-linear optics
    • G02F1/01Devices or arrangements for the control of the intensity, colour, phase, polarisation or direction of light arriving from an independent light source, e.g. switching, gating or modulating; Non-linear optics for the control of the intensity, phase, polarisation or colour 
    • G02F1/13Devices or arrangements for the control of the intensity, colour, phase, polarisation or direction of light arriving from an independent light source, e.g. switching, gating or modulating; Non-linear optics for the control of the intensity, phase, polarisation or colour  based on liquid crystals, e.g. single liquid crystal display cells
    • G02F1/133Constructional arrangements; Operation of liquid crystal cells; Circuit arrangements
    • G02F1/136Liquid crystal cells structurally associated with a semi-conducting layer or substrate, e.g. cells forming part of an integrated circuit
    • G02F1/1362Active matrix addressed cells
    • G02F1/13624Active matrix addressed cells having more than one switching element per pixel
    • GPHYSICS
    • G09EDUCATION; CRYPTOGRAPHY; DISPLAY; ADVERTISING; SEALS
    • G09GARRANGEMENTS OR CIRCUITS FOR CONTROL OF INDICATING DEVICES USING STATIC MEANS TO PRESENT VARIABLE INFORMATION
    • G09G3/00Control arrangements or circuits, of interest only in connection with visual indicators other than cathode-ray tubes
    • G09G3/20Control arrangements or circuits, of interest only in connection with visual indicators other than cathode-ray tubes for presentation of an assembly of a number of characters, e.g. a page, by composing the assembly by combination of individual elements arranged in a matrix no fixed position being assigned to or needed to be assigned to the individual characters or partial characters
    • G09G3/34Control arrangements or circuits, of interest only in connection with visual indicators other than cathode-ray tubes for presentation of an assembly of a number of characters, e.g. a page, by composing the assembly by combination of individual elements arranged in a matrix no fixed position being assigned to or needed to be assigned to the individual characters or partial characters by control of light from an independent source
    • G09G3/36Control arrangements or circuits, of interest only in connection with visual indicators other than cathode-ray tubes for presentation of an assembly of a number of characters, e.g. a page, by composing the assembly by combination of individual elements arranged in a matrix no fixed position being assigned to or needed to be assigned to the individual characters or partial characters by control of light from an independent source using liquid crystals
    • G09G3/3611Control of matrices with row and column drivers
    • G09G3/3648Control of matrices with row and column drivers using an active matrix
    • GPHYSICS
    • G02OPTICS
    • G02FOPTICAL DEVICES OR ARRANGEMENTS FOR THE CONTROL OF LIGHT BY MODIFICATION OF THE OPTICAL PROPERTIES OF THE MEDIA OF THE ELEMENTS INVOLVED THEREIN; NON-LINEAR OPTICS; FREQUENCY-CHANGING OF LIGHT; OPTICAL LOGIC ELEMENTS; OPTICAL ANALOGUE/DIGITAL CONVERTERS
    • G02F1/00Devices or arrangements for the control of the intensity, colour, phase, polarisation or direction of light arriving from an independent light source, e.g. switching, gating or modulating; Non-linear optics
    • G02F1/01Devices or arrangements for the control of the intensity, colour, phase, polarisation or direction of light arriving from an independent light source, e.g. switching, gating or modulating; Non-linear optics for the control of the intensity, phase, polarisation or colour 
    • G02F1/13Devices or arrangements for the control of the intensity, colour, phase, polarisation or direction of light arriving from an independent light source, e.g. switching, gating or modulating; Non-linear optics for the control of the intensity, phase, polarisation or colour  based on liquid crystals, e.g. single liquid crystal display cells
    • G02F1/133Constructional arrangements; Operation of liquid crystal cells; Circuit arrangements
    • G02F1/1333Constructional arrangements; Manufacturing methods
    • G02F1/1343Electrodes
    • G02F1/134309Electrodes characterised by their geometrical arrangement
    • G02F1/134345Subdivided pixels, e.g. for grey scale or redundancy
    • GPHYSICS
    • G09EDUCATION; CRYPTOGRAPHY; DISPLAY; ADVERTISING; SEALS
    • G09GARRANGEMENTS OR CIRCUITS FOR CONTROL OF INDICATING DEVICES USING STATIC MEANS TO PRESENT VARIABLE INFORMATION
    • G09G2300/00Aspects of the constitution of display devices
    • G09G2300/04Structural and physical details of display devices
    • G09G2300/0421Structural details of the set of electrodes
    • G09G2300/0426Layout of electrodes and connections
    • GPHYSICS
    • G09EDUCATION; CRYPTOGRAPHY; DISPLAY; ADVERTISING; SEALS
    • G09GARRANGEMENTS OR CIRCUITS FOR CONTROL OF INDICATING DEVICES USING STATIC MEANS TO PRESENT VARIABLE INFORMATION
    • G09G2300/00Aspects of the constitution of display devices
    • G09G2300/04Structural and physical details of display devices
    • G09G2300/0439Pixel structures
    • G09G2300/0443Pixel structures with several sub-pixels for the same colour in a pixel, not specifically used to display gradations
    • GPHYSICS
    • G09EDUCATION; CRYPTOGRAPHY; DISPLAY; ADVERTISING; SEALS
    • G09GARRANGEMENTS OR CIRCUITS FOR CONTROL OF INDICATING DEVICES USING STATIC MEANS TO PRESENT VARIABLE INFORMATION
    • G09G2300/00Aspects of the constitution of display devices
    • G09G2300/04Structural and physical details of display devices
    • G09G2300/0439Pixel structures
    • G09G2300/0443Pixel structures with several sub-pixels for the same colour in a pixel, not specifically used to display gradations
    • G09G2300/0447Pixel structures with several sub-pixels for the same colour in a pixel, not specifically used to display gradations for multi-domain technique to improve the viewing angle in a liquid crystal display, such as multi-vertical alignment [MVA]
    • GPHYSICS
    • G09EDUCATION; CRYPTOGRAPHY; DISPLAY; ADVERTISING; SEALS
    • G09GARRANGEMENTS OR CIRCUITS FOR CONTROL OF INDICATING DEVICES USING STATIC MEANS TO PRESENT VARIABLE INFORMATION
    • G09G2300/00Aspects of the constitution of display devices
    • G09G2300/08Active matrix structure, i.e. with use of active elements, inclusive of non-linear two terminal elements, in the pixels together with light emitting or modulating elements
    • G09G2300/0876Supplementary capacities in pixels having special driving circuits and electrodes instead of being connected to common electrode or ground; Use of additional capacitively coupled compensation electrodes
    • GPHYSICS
    • G09EDUCATION; CRYPTOGRAPHY; DISPLAY; ADVERTISING; SEALS
    • G09GARRANGEMENTS OR CIRCUITS FOR CONTROL OF INDICATING DEVICES USING STATIC MEANS TO PRESENT VARIABLE INFORMATION
    • G09G2310/00Command of the display device
    • G09G2310/02Addressing, scanning or driving the display screen or processing steps related thereto
    • G09G2310/0235Field-sequential colour display
    • GPHYSICS
    • G09EDUCATION; CRYPTOGRAPHY; DISPLAY; ADVERTISING; SEALS
    • G09GARRANGEMENTS OR CIRCUITS FOR CONTROL OF INDICATING DEVICES USING STATIC MEANS TO PRESENT VARIABLE INFORMATION
    • G09G2320/00Control of display operating conditions
    • G09G2320/02Improving the quality of display appearance
    • G09G2320/028Improving the quality of display appearance by changing the viewing angle properties, e.g. widening the viewing angle, adapting the viewing angle to the view direction

Landscapes

  • Physics & Mathematics (AREA)
  • Engineering & Computer Science (AREA)
  • Nonlinear Science (AREA)
  • Crystallography & Structural Chemistry (AREA)
  • General Physics & Mathematics (AREA)
  • Chemical & Material Sciences (AREA)
  • Computer Hardware Design (AREA)
  • Theoretical Computer Science (AREA)
  • Microelectronics & Electronic Packaging (AREA)
  • Mathematical Physics (AREA)
  • Optics & Photonics (AREA)
  • Liquid Crystal (AREA)
  • Liquid Crystal Display Device Control (AREA)
  • Control Of Indicators Other Than Cathode Ray Tubes (AREA)
  • Devices For Indicating Variable Information By Combining Individual Elements (AREA)

Description

本発明は、液晶表示装置およびそれに用いられるアクティブマトリクス基板に関する。
図36は、液晶表示装置に用いられる従来のアクティブマトリクス基板の構成である。同図に示されるように、アクティブマトリクス基板700には、交差配置された複数の走査信号線716および複数のデータ信号線715と、各信号線(715・716)の交点近傍に形成されたTFT712(Thin Film Transistor:薄膜トランジスタ)と、画素電極717とを備える。走査信号線716はTFT712のゲート電極を兼ねており、TFT712のソース電極719がデータ信号線715に接続され、ドレイン電極708がドレイン引き出し電極707を介して画素電極717に接続される。ドレイン引き出し電極と画素電極717との間に配される絶縁膜には穴が開けられており、これによってドレイン引き出し電極707と画素電極717とを接続するコンタクトホール710が形成されている。画素電極717はITO等の透明電極であり、アクティブマトリクス基板下からの光(バックライト光)を透過させる。
このアクティブマトリクス基板700においては、走査信号線716に送られる走査信号(ゲートON電圧)によってTFT712がON(ソース電極719とドレイン電極708とが導通状態)状態となり、この状態においてデータ信号線715に送られるデータ信号(信号電圧)が、ソース電極719、ドレイン電極708およびドレイン引き出し電極707を介して画素電極717に書き込まれる。なお、保持容量(Cs)配線718は、TFT712のオフ期間中における液晶層の自己放電を回避する等の機能を有する。
ここで、アクティブマトリクス基板700においては、各画素内の画素電極717全体が等電位となる。すなわち、アクティブマトリクス基板700を液晶表示装置に用いた場合には、全体がほぼ均一輝度の画素によって表示が行われることになる。
なお、特許文献1には、γ特性の視野角依存性を抑制するため、各画素を上下2つの副画素に分割し、一方の副画素を高輝度の明画素とし、もう一方の副画素を低輝度の暗画素とする構成が開示されている。
特開2004−62146号公報(公開日:2004年2月26日) 特開2004−78157号公報(公開日:2004年3月11日)
しかしながら、各画素内の輝度を均一にして表示を行うと、図21(b)に示されるような空間周波数の高い映像がぼやけてしまうという問題がある。また、特許文献1に開示された、上下に配した副画素間で輝度を異ならせる構成でも、空間周波数の高い映像の表示ぼけを十分に改善することができていない。
本発明は、上記課題に鑑みてなされたものであり、その目的は、空間周波数の高い映像を鮮明に表示できる表示装置およびそれに用いるアクティブマトリクス基板を提供する点にある。
本発明の表示装置は、複数の画素を備え、各画素内に、第1の輝度領域(高輝度領域)と、該第1の輝度領域を取り囲むとともに第1の輝度領域より輝度の低い第2の輝度領域(低輝度領域)とを形成できることを特徴とする。すなわち、本表示装置は、各画素に、周囲より高輝度に制御可能な第1の輝度領域と、該第1の輝度領域を取り囲むとともに該第1の輝度領域より低輝度に制御可能な第2の輝度領域とを備えている。
例えば3原色(R・G・B)の同時加法混色方式の表示装置であれば、3原色それぞれに対応して1つの画素が設けられる。この場合、3原色に対する3つの画素がストライプ状、モザイク状あるいはデルタ状等に配される。
このように、本表示装置は、各画素に、高輝度領域とこれを取り囲む低輝度領域とを形成できるように構成されているため、画素全体の輝度総和の全部あるいは大半を高輝度領域で賄って(光放射を画素中央に集中させて)中間調表示を行うことができる。これにより、高空間周波数領域における伝達特性が向上し、空間周波数の高い映像を鮮明に表示することができる。
本表示装置においては、各画素は、第1および第2のスイッチング素子と、該第1のスイッチング素子に接続する第1の副画素電極と、上記第2のスイッチング素子に接続し、第1の副画素電極を取り囲む第2の副画素電極と、を備えている構成とすることもできる。
本表示装置においては、上記第1および第2の輝度領域は、ともに同一点を重心とする形状であることが好ましい。この構成によれば、映像信号に対応する位置情報を正確に再現でき、ギザギザ感のない自然な映像表現が可能となる。
本表示装置においては、上記第1の輝度領域(高輝度領域)と第2の輝度領域(低輝度領域)との間に最低輝度領域が形成されることが好ましい。このように最低輝度領域を形成する(例えば高輝度領域の外周を遮光する)ことで、光漏れによるコントラスト低下を防止することができる。なお、上記のように最低輝度領域を設けることなく、第1の輝度領域(高輝度領域)と第2の輝度領域(低輝度領域)とを隣接させることも可能である。
アクティブマトリクス基板とカラーフィルタ基板とを備えた本表示装置においては、上記最低輝度領域が、カラーフィルタ基板に設けられたブラックマトリクス、およびアクティブマトリクス基板に設けられた遮光体の少なくとも一方によって形成されていてもよい。こうすれば、(高輝度領域外周近傍からの)光漏れ防止用部材を別途設ける必要がないため製造工程が簡略化でき製造コストを抑えることができる。
本表示装置においては、第1および第2のスイッチング素子が同一のデータ信号線に接続する構成とすることもできる。また、第1および第2のスイッチング素子は同一の走査信号線に接続している構成とすることもできる。この場合、例えば、上記第1の副画素電極と容量を形成する第1の保持容量配線と、上記第2の副画素電極と容量を形成する第2の保持容量配線とを設け、さらに、この第1および第2の保持容量配線の電位それぞれを個別に制御できるようにする。具体的には、各保持容量配線に互いに逆位相の信号電圧を印加する。こうすれば、第1および第2の各副画素電極の実効電圧を容易に制御することができ、高輝度領域および低輝度領域を容易に形成できる。この構成においては、上記第1および第2の保持容量配線を、それぞれの電位波形の位相が互いに180度ずれるように電位制御してもよい。また、上記第1および第2の保持容量配線それぞれを、第1および第2のスイッチング素子がオフされた後に電位が上昇あるいは降下するとともに、その状態が次フレームでこれらスイッチング素子がオフされるまで続くように電位制御してもよい。
すなわち、上記第1の保持容量配線が、上記各スイッチング素子がオフされた後に電位が上昇してその状態が次フレームで上記各スイッチング素子がオフされるまで続くように電位制御されるとともに、上記第2の保持容量配線が、上記各スイッチング素子がオフされた後に電位が下降してその状態が次フレームで上記各スイッチング素子がオフされるまで続くように電位制御されるか、あるいは、上記第1の保持容量配線が、上記各スイッチング素子がオフされた後に電位が下降してその状態が次フレームで上記各スイッチング素子がオフされるまで続くように電位制御されるとともに、上記第2の保持容量配線が、上記各スイッチング素子がオフされた後に電位が上昇してその状態が次フレームで上記各スイッチング素子がオフされるまで続くように電位制御される。この場合、上記第1の保持容量配線の電位が上昇するのと第2の保持容量配線の電位が下降するのとが同期しているか、あるいは、上記第1の保持容量配線の電位が下降するのと第2の保持容量配線の電位が上昇するのとが同期している構成とすることができる。また、上記第1の保持容量配線の電位が上昇するのと第2の保持容量配線の電位が下降するのとが一水平期間ずれているか、あるいは、上記第1の保持容量配線の電位が下降するのと第2の保持容量配線の電位が上昇するのとが一水平期間ずれている構成とすることもできる。
本表示装置においては、第1および第2のスイッチング素子はそれぞれ、第1および第2の走査信号線に接続している構成とすることもできる。この場合、第1の走査信号線に供給されるオンパルスと第2の走査信号線に供給されるオンパルスとが時間的に重ならないようにすることもできるし、また、第1の走査信号線に供給されるオンパルスと第2の走査信号線に供給されるオンパルスとが、時間的に重なる部分を有しつつパルス終端をとるタイミングが異なるようにすることもできる。
例えば、第1の走査信号線に供給されるオンパルスと第2の走査信号線に供給されるオンパルスとが、パルス始端をとるタイミングが同期し、パルス終端をとるタイミングは第1の走査信号線に供給されるオンパルスが先であるようにする。また、上記データ信号線に供給される電位は、一方のオンパルスが先にパルス終端をとるのと同期して、あるいはそれ以後に変化するようにする。こうすれば、第2の走査信号線が制御する第2のスイッチング素子に接続する第2の副画素電極には、ある電位が一旦与えられた状態で再度書き込むべき電位が与えられることになり、第2の副画素電極の充電を良好に行うことができる。特に、ドット反転駆動やHライン反転駆動のように水平期間ごとにデータ信号線に与えられる信号電位の極性が反転する(信号電位の波形が鈍ってしまう)場合や第2の副画素電極の面積が大きい(充電に時間がかかる)場合により効果的である。さらに、オンパルスの周期が長くなるため、走査信号の駆動周波数を抑制できるという効果もある。
なお、上記構成においては、同一のデータ信号線に供給される電位の極性が、一水平期間ごとに反転させてもよい。
本表示装置においては、第1および第2のスイッチング素子がそれぞれ、互いに独立した第1および第2のデータ信号線に接続する構成とすることもできる。この場合には、第1および第2のデータ信号線に異なる信号電位を供給することによって上記第1の輝度領域および第2の輝度領域を形成する。
本アクティブマトリクス基板は、複数の画素領域を備え、各画素領域に、第1および第2のスイッチング素子と、該第1のスイッチング素子に接続する第1の副画素電極と、上記第2のスイッチング素子に接続し、第1の副画素電極を取り囲む第2の副画素電極と、が設けられていることを特徴とする。
本アクティブマトリクス基板は、これを表示装置に用いた場合に、各画素領域に対応する画素内に、高輝度領域とこれを取り囲む低輝度領域とを形成することが可能である。すなわち、画素全体の輝度総和の全部あるいはほとんどを画素中央の高輝度領域で賄って(光放射を画素中央に集中させて)中間調表示を行うことができる。このように、本アクティブマトリクス基板を備えた表示装置においては、高空間周波数領域における伝達特性が大幅に向上し、空間周波数の高い映像を鮮明に表示することが可能となる。
本アクティブマトリクス基板は、上記第1および第2のスイッチング素子が同一の走査信号線に接続されている構成とすることもできる。また、上記第1および第2のスイッチング素子が互いに独立した第1および第2の走査信号線に接続されている構成とすることもできる。
本アクティブマトリクス基板は、各画素領域に1本のデータ信号線が配されるともに該データ信号線に上記第1および第2のスイッチング素子が接続され、かつ、上記第1の副画素電極と容量を形成する第1の保持容量配線と、上記第2の副画素電極と容量を形成する第2の保持容量配線とが設けられている構成とすることもできる。
本アクティブマトリクス基板は、各画素領域に1本のデータ信号線が配されるともに該データ信号線に上記第1および第2のスイッチング素子が接続され、かつ、上記第1の副画素電極と容量を形成する第1の保持容量配線と、上記第2の副画素電極と容量を形成する第2の保持容量配線とが設けられている構成とすることもできる。
本アクティブマトリクス基板は、各画素領域に互いに独立した第1および第2のデータ信号線が配され、この第1のデータ信号線に上記第1のスイッチング素子が接続されるとともに第2のデータ信号線に上記第2のスイッチング素子が接続されている構成とすることもできる。
本アクティブマトリクス基板は、第1および第2の副画素電極の境界部分に重畳するように遮光体が形成されている構成とすることもできる。このように、第1および第2の副画素電極の境界部分を遮光することで、本アクティブマトリクス基板を備えた表示装置において、第1および第2の副画素電極の境界近傍(間隙領域)から光が漏れ、コントラストが低下するといった問題を回避することができる。また、アクティブマトリクス基板自体に遮光体を設けるため、カラーフィルタ基板に遮光体を設ける場合のように各基板を貼り合わせる際のずれによって遮光効果が低下してしまうといった問題も起こらない。なお、上記第1あるいは第2のスイッチング素子から引き出された配線の一部が、第1および第2の副画素電極の境界部分と重畳している構成とすることもできる。また、上記走査信号線の一部が、第1および第2の副画素電極の境界部分と重畳している構成とすることもできる。この場合、上記境界部分と重畳するように、上記走査信号線が画素中段において額縁状に引き回されていても良い。また、上記第1の保持容量配線の一部が、第1および第2の副画素電極の境界部分と重畳している構成とすることもできる。この場合、上記境界部分と重畳するように、上記第1の保持容量配線が画素中段において額縁状に引き回されていても良い。
また、本発明の表示装置は、上記アクティブマトリクス基板を備えることを特徴とする。
また、本発明の液晶表示装置は、上記アクティブマトリクス基板と、時分割で複数色を発するバックライトとを備え、フィールドシーケンシャル表示を行うことを特徴とする。この構成では、1つの画素に、例えば3原色(R・G・B)の3つの色が連続して表示される(もっとも、ある時刻には1つの画素に1つの色のみが表示される)。この構成によれば、色情報の位置ずれがなくなるので表示品位が向上する。また、カラーフィルタが不要となるため、その分のコストダウンが期待できる。
本発明のテレビジョン受像機は、上記表示装置と、テレビジョン放送を受信するチューナ部とを備えることを特徴とする。
以上のように、本表示装置によれば、空間周波数の高い映像を鮮明に表示することができる。また、本アクティブマトリクス基板は、これを表示装置に用いた場合に、各画素領域に対応する画素内に、高輝度領域とこれを取り囲む低輝度領域とを形成することができ、空間周波数の高い映像を鮮明に表示することができる。
本実施の形態に係るアクティブマトリクス基板の構成を示す透視平面図である。 本アクティブマトリクス基板の等価回路図である。 本アクティブマトリクス基板を用いた液晶表示装置の等価回路図である。 本アクティブマトリクス基板の構成例を示す透視平面図である。 本アクティブマトリクス基板の構成例を示す透視平面図である。 本アクティブマトリクス基板の等価回路図である。 本アクティブマトリクス基板の等価回路図である。 本アクティブマトリクス基板の構成例を示す透視平面図である。 本アクティブマトリクス基板の構成例を示す透視平面図である。 本アクティブマトリクス基板の構成例を示す透視平面図である。 本アクティブマトリクス基板の構成例を示す透視平面図である。 本アクティブマトリクス基板の等価回路図である。 本アクティブマトリクス基板の駆動方法を示すタイミングチャートである。 映像信号の配置を説明する模式図である。 本アクティブマトリクス基板の各輝度領域の配置を説明する模式図である。 図15(a)を説明するための参考図である。 本実施の形態に係る液晶表示装置の構成を示すブロック図である。 フィールドシーケンシャル方式における画素構造を説明する模式図である。 フィールドシーケンシャル方式における画素構造を説明する模式図である。 フィールドシーケンシャル方式における駆動方法を説明する模式図である。 フィールドシーケンシャル方式の利点を説明する模式図である。 フィールドシーケンシャル方式の利点を説明する模式図である。 フィールドシーケンシャル方式の液晶表示装置の構成を示すブロック図である。 空間周波数特性の低い場合を示す模式図である。 空間周波数特性の高い場合を示す模式図である。 点灯領域の小さな表示装置を示す模式図である。 点灯領域の大きな表示装置を示す模式図である。 伝達特性を説明するグラフである。 本実施の形態に係るテレビジョン受像機の構成を示すブロック図である。 本実施の形態に係るテレビジョン受像機の構成を示す斜視図である。 本表示装置の輝度分配の一例を示すグラフである。 本表示装置の輝度分配の一例を示すグラフである。 本アクティブマトリクス基板の構成例を示す透視平面図である。 本アクティブマトリクス基板の構成例を示す透視平面図である。 図29に示すアクティブマトリクス基板の等価回路図である。 本アクティブマトリクス基板の他の駆動方法を示すタイミングチャートである。 本アクティブマトリクス基板の他の駆動方法を示すタイミングチャートである。 本アクティブマトリクス基板の他の駆動方法を示すタイミングチャートである。 本実施の形態に係る液晶パネルの構成を示す断面図である。 本アクティブマトリクス基板の他の駆動方法を示すタイミングチャートである。 従来のアクティブマトリクス基板の構成を示す平面図である。
本発明の実施の一形態を図1〜図35に基づいて説明すれば以下のとおりである。
図1は、本実施の形態に係るアクティブマトリクス基板の構成を示す透視平面図である。同図に示されるように、本アクティブマトリクス基板10は、マトリクス状に配された画素領域5と、互いに直交する走査信号線16(列方向 図中左右方向)およびデータ信号線15(行方向 図中上下方向)と、第1保持容量配線20と、第2保持容量配線21とを備える。
画素領域5には、第1のTFT(薄膜トランジスタ)12aと、第2のTFT12bと、第1副画素電極17aと、第2副画素電極17bとが形成される。
第2副画素電極17bは、長方形を一部刳り抜いた形状を有し、その外枠17xが大きな長方形、その内枠(刳り抜いた部分の外周)17yが小さな長方形となっている。そして、この内枠17yの内側に長方形形状の第1副画素電極17aが設けられている。すなわち、本アクティブマトリクス基板は、長方形形状の第1副画素電極17aを第2副画素電極17bが取り囲む構成である。
第1副画素電極17aの外枠17zと第2副画素電極の内枠17yとの間は間隙領域26となっており、この間隙領域26並びに第1副画素電極17aの外枠近傍領域および第2副画素電極17bの内枠近傍領域と重畳するように、第1保持容量配線20が額縁状に引き回されている。さらに、この第1保持容量配線20および第1副画素電極17aと重畳するように保持容量上電極30aが設けられ、この保持容量上電極30aと第1副画素電極17aとがコンタクトホール11aによって接続されている。なお、第2副画素電極17bの下端部(行方向の一方のエッジ)は、列方向(図中左右方向)に走る走査信号線16と重畳する。この構成では、第1保持容量配線20によって、高輝度領域47a(第1の輝度領域)と低輝度領域47b(第2の輝度領域)との間に、額縁状の黒表示領域(最低輝度領域)が形成される。
第1および第2のTFT12a・12bは、各信号線(15・16)の交点近傍に形成され、第1のTFT12aのソース電極9aおよび第2のTFT12bのソース電極9bはともにデータ信号線15に接続される。また、第1のTFT12aのドレイン電極8aは、ドレイン引き出し配線7aを介して保持容量上電極30aに接続され、第2のTFT12bのドレイン電極8bはドレイン引き出し配線7bおよびコンタクトホール11bを介して第2副画素電極17bに接続されている。
また、第2保持容量配線21は、第2副画素電極17bの上半分の部分(第1副画素電極17aをはさんで各TFT12a・12bの反対側)を列方向(図中左右方向)に横切るように形成され、この第2保持容量配線21および第2副画素電極17bに重畳するように保持容量上電極30bが設けられる。この保持容量上電極30bは、コンタクトホール11cを介して第2副画素電極17bに接続されている。
図1では、第1保持容量配線20が間隙領域26並びに第1副画素電極17aの外枠近傍領域および第2副画素電極17bの内枠近傍領域と重畳するように額縁状に引き回されているが、これに限定されない。例えば、図28に示す画素領域5’のように、第1および第2の保持容量配線20’・21’を、第1副画素電極17aを挟むように列方向(図中左右方向)に沿って形成してもよい。なお、第1のTFT12aのドレイン電極は、第1副画素電極17a下を通過するドレイン引き出し配線7a’を介して、第1保持容量配線20’上に形成された保持容量上電極30aに接続される。さらに、このドレイン引き出し配線7a’は、コンタクトホール11aを介して第1副画素電極17aに接続される。また、第2のTFT12bのドレイン電極は、ドレイン引き出し配線7b’を介して、第2保持容量配線21’上に形成された保持容量上電極30bに接続される。さらに、この保持容量上電極30bは、コンタクトホール11bを介して第2副画素電極17bに接続される。この図28の構成では、高輝度領域47aと低輝度領域47bとの間に遮光体による最低輝度領域が形成されないため、高輝度領域47aと低輝度領域47bとが隣接するような構成となる。
図1に示す構成によって、図2に示す回路が実現される。すなわち、第1副画素電極17aが第1のTFT12aを介してデータ信号線15に接続され、第2副画素電極17bが第2のTFT12bを介してデータ信号線15に接続される。なお、第1および第2のTFT12a・12bのゲートはともに走査信号線16に接続される。また、第1副画素電極17aに接続された保持容量上電極30aと第1保持容量配線20との間で保持容量Cs1が形成され、第2副画素電極17bに接続された保持容量上電極30bと第2保持容量配線21との間で保持容量Cs2が形成される。
なお、後述するように、図2の第1保持容量配線20および第2保持容量配線21には、互いに位相の異なるCs信号(補助容量対向電圧)が供給される。ここで、各画素をドット反転駆動あるいはVライン反転駆動する場合、列方向(図中左右方向)に隣接する2つの画素に供給される信号電位が逆極性となる。したがって、このような場合には、自画素の第1保持容量配線20は隣接画素の第2保持容量配線21に接続され、自画素の第2保持容量配線21は隣接画素の第1保持容量配線20に接続される。
図3は、アクティブマトリクス基板10を備えた液晶表示装置(液晶パネル)の等価回路である。同図に示されるように、第1副画素電極17a、対向電極(Vcom)、および両者間の液晶層によって第1副画素容量Csp1が構成され、第2副画素電極17b、対向電極(Vcom)、および両者間の液晶層によって第2副画素容量Csp2が構成される。
以下に、本実施の形態に係る液晶表示装置の駆動方法を説明する。
本実施の形態では、第1副画素電極とこれを取り囲む第2副画素電極に、共通のデータ信号線から表示信号電圧を供給しておき、その後各TFTをオフ状態にした後に第1保持容量配線および第2保持容量配線の電圧を相互に異なるように変化させる。これにより、1つの画素内に、第1副画素容量Csp1による高輝度領域と、これを取り囲む、第2副画素容量Csp2による低輝度領域とを形成する。この構成では、2つの副画素電極に1本のデータ信号線から表示信号電圧を供給するため、データ信号線の数やこれらを駆動するソースドライバの数を増加させる必要がないという利点がある。
図13は、図3に示す回路の各部の電圧を示すタイミングチャートである。なお、Vgは走査信号線(第1および第2のTFTのゲート電極)の電圧、Vsはデータ信号線の電圧(ソース電圧)、Vcs1は第1保持容量配線の電圧、Vcs2は第2保持容量配線の電圧、Vlc1は第1副画素電極の電圧、Vlc2は第1副画素電極の電圧とする。なお、液晶表示装置においては、液晶が分極しないよう、一般にフレーム反転、ライン反転、ドット反転といった交流駆動を行う。すなわち、nフレーム目にソース電圧の中央値Vscに対してプラス極性のソース電圧(Vsp)を与え、次の(n+1)フレーム目ではVscに対してマイナス極性のソース電圧(Vsn)を与え、かつフレームごとにドット反転を行う。また、第1保持容量配線の電圧および第2保持容量配線の電圧を振幅電圧Vadで振幅させるとともに、両者の位相を180度ずらす。
図13のnフレームにおける各電圧波形の経時変化を説明する。
まず、時刻T0で、Vcs1=Vcom−Vad、Vcs2=Vcom+Vadとする。なお、Vcomは対向電極の電圧である。
時刻T1で、VgがVgLからVgHに変化し、各TFTがともにON状態となる。この結果、Vlc1およびVlc2がVspに上昇し、保持容量Cs1・Cs2および副画素容量Csp1・Csp2が充電される。
時刻T2で、VgがVgHからVgLに変化し、各TFTがOFF状態となって、保持容量Cs1・Cs2および副画素容量Csp1・Csp2がデータ信号線から電気的に絶縁される。なお、この直後に寄生容量等の影響によって引き込み現象が発生し、Vlc1=Vsp−Vd1、Vlc2=Vsp−Vd2となる。
時刻T3では、Vcs1がVcom−VadからVcom+Vadへ変化し、Vcs2がVcom+VadからVcom−Vadへ変化する。この結果、Vlc1=Vsp−Vd1+2×K×Vad、Vlc2=Vsp−Vd2−2×K×Vadとなる。ここで、K=Ccs/(Clc+Ccs)であり、Ccsは各保持容量(Cs1・Cs2)の容量値、Clcは各副画素容量(Csp1・Csp2)の容量値とする。
時刻T4では、Vcs1がVcom+VadからVcom−Vadへ変化し、Vcs2がVcom−VadからVcom+Vadへ変化する。この結果、Vlc1=Vsp−Vd1、Vlc2=Vsp−Vd2となる。
時刻T5では、Vcs1がVcom−VadからVcom+Vadへ変化し、Vcs2がVcom+VadからVcom−Vadへ変化する。この結果、Vlc1=Vsp−Vd1+2×K×Vad、Vlc2=Vsp−Vd2−2×K×Vadとなる。
後は、次にVg=Vghとなり書き込みが行われるまで、水平走査期間1Hの整数倍ごとに、時刻T4・T5が繰り返される。したがって、Vlc1の実効値は、Vsp−Vd1+K×Vadとなり、Vlc2の実効値は、Vsp−Vd2−K×Vadとなる。
以上から、nフレーム目において各副画素容量(第1副画素容量Csp1・第2副画素容量Csp2)にかかる実効電圧(V1・V2)は、V1=Vsp−Vd1+K×Vad−Vcom、V2=Vsp−Vd2−K×Vad−Vcomとなるため、1つの画素内に、第1副画素容量Csp1による高輝度領域と、これを取り囲む、第2副画素容量Csp2による低輝度領域とが形成される。
次に、n+1フレームにおける各電圧波形の経時変化を説明する。
まず、時刻T0で、Vcs1=Vcom+Vad、Vcs2=Vcom−Vadとする。なお、Vcomは対向電極の電圧である。
時刻T1で、VgがVgLからVgHに変化し、各TFTがともにON状態となる。この結果、Vlc1およびVlc2がVsnに低下し、保持容量Cs1・Cs2および副画素容量Csp1・Csp2が充電される。
時刻T2で、VgがVgHからVgLに変化し、各TFTがOFF状態となって、保持容量Cs1・Cs2および副画素容量Csp1・Csp2がデータ信号線から電気的に絶縁される。なお、この直後に寄生容量等の影響によって引き込み現象が発生し、Vlc1=Vsn−Vd1、Vlc2=Vsn−Vd2となる。
時刻T3では、Vcs1がVcom+VadからVcom−Vadへ変化し、Vcs2がVcom−VadからVcom+Vadへ変化する。この結果、Vlc1=Vsn−Vd1−2×K×Vad、Vlc2=Vsn−Vd2+2×K×Vadとなる。ここで、K=Ccs/(Clc+Ccs)であり、Ccsは各保持容量(Cs1・Cs2)の容量値、Clcは各副画素容量(Csp1・Csp2)の容量値とする。
時刻T4では、Vcs1がVcom−VadからVcom+Vadへ変化し、Vcs2がVcom+VadからVcom−Vadへ変化する。この結果、Vlc1=Vsn+Vd1、Vlc2=Vsn+Vd2となる。
時刻T5では、Vcs1がVcom+VadからVcom−Vadへ変化し、Vcs2がVcom−VadからVcom+Vadへ変化する。この結果、Vlc1=Vsn−Vd1−2×K×Vad、Vlc2=Vsn−Vd2+2×K×Vadとなる。
後は、次にVg=Vghとなり書き込みが行われるまで、水平走査期間1Hの整数倍ごとに、時刻T4・T5が繰り返される。したがって、Vlc1の実効値は、Vsn−Vd1−K×Vadとなり、Vlc2の実効値は、Vsn−Vd2+K×Vadとなる。
以上から、nフレーム目において各副画素容量(Csp1・Csp2)にかかる実効電圧(V1・V2)は、V1=Vsn−Vd1−K×Vad−Vcom、V2=Vsn−Vd2+K×Vad−Vcomとなるため、1つの画素内に、第1副画素容量Csp1による高輝度領域と、これを取り囲む、第2副画素容量Csp2による低輝度領域とが形成される。
また、図35に示すように、Vcs1を、T2でVgが「L」となった(各TFT12a・12bがオフした)直後のT3で「High」になったまま(あるいは「Low」になったまま)の波形とし、同様に、Vcs2を、T2でVgが「L」となった直後のT3で「Low」になったまま(あるいは「High」になったまま)の波形とすることもできる。すなわち、各トランジスタがオフされた後に、Vcs1を突き上げて該フレームではこの突き上げたままの状態を維持するとともに、Vcs1の突き上げと同期してVcs2を突き下げて該フレームではこの突き下げたままの状態を維持するような電位制御を行うか、あるいは、各トランジスタがオフされた後に、Vcs1を突き下げて該フレームではこの突き下げたままの状態を維持するとともに、Vcs1の突き下げと同期してVcs2を突き上げて該フレームではこの突き上げたままの状態を維持するような電位制御を行う。この図35に示す電位制御は、各保持容量配線を上下(データ信号線に沿った方向)に隣接する画素同士で共有しない構成(図1・図4・図5等)に適用可能であり、Vcs1およびVcs2波形のなまりがドレイン実効電位に与える影響が小さくなるため、輝度ムラの低減に有効である。
さらに、図31のように、Vcs1を、T2でVgが「L」となった(各TFT12a・12bがオフした)直後のT3で「High」になったまま(あるいは「Low」になったまま)の波形とし、Vcs2を、T3から1水平期間(1H)後のT4で「Low」になったまま(あるいは「High」になったまま)の波形とすることもできる。すなわち、各トランジスタがオフされた後に、Vcs1を突き上げて該フレームではこの突き上げたままの状態を維持するとともに、Vcs1の突き上げから1H期間ずらしてVcs2を突き下げて該フレームではこの突き下げたままの状態を維持するような電位制御を行うか、あるいは、各トランジスタがオフされた後に、Vcs1を突き下げて該フレームではこの突き下げたままの状態を維持するとともに、Vcs1の突き下げから1H期間ずらしてVcs2を突き上げて該フレームではこの突き上げたままの状態を維持するような電位制御を行う。この図31に示す電位制御は、各保持容量配線を上下に隣接する画素同士で共有しない構成(図1等)はもちろん、各保持容量配線を上下に隣接する画素同士で共有する構成(図8)にも適用できるという利点がある。
図31のnフレームにおける各電圧波形の経時変化を説明する。
まず、時刻T0で、Vcs1=Vcom−Vad、Vcs2=Vcom+Vadとする。なお、Vcomは対向電極の電圧である。
時刻T1で、VgがVgLからVgHに変化し、各TFTがともにON状態となる。この結果、Vlc1およびVlc2がVspに上昇し、保持容量Cs1・Cs2および副画素容量Csp1・Csp2が充電される。
時刻T2で、VgがVgHからVgLに変化し、各TFTがOFF状態となって、保持容量Cs1・Cs2および副画素容量Csp1・Csp2がデータ信号線から電気的に絶縁される。なお、この直後に寄生容量等の影響によって引き込み現象が発生し、Vlc1=Vsp−Vd1、Vlc2=Vsp−Vd2となる。
時刻T3では、Vcs1がVcom−VadからVcom+Vadへ変化する。時刻T4では(T3の1H後)、Vcs2がVcom+VadからVcom−Vadへ変化する。この結果、Vlc1=Vsp−Vd1+2×K×Vad、Vlc2=Vsp−Vd2−2×K×Vadとなる。ここで、K=Ccs/(Clc+Ccs)であり、Ccsは各保持容量(Cs1・Cs2)の容量値、Clcは各副画素容量(Csp1・Csp2)の容量値とする。
以上から、nフレーム目において各副画素容量(第1副画素容量Csp1・第2副画素容量Csp2)にかかる実効電圧(V1・V2)は、V1=Vsp−Vd1+2×K×Vad−Vcom、V2=Vsp−Vd2−2×K×Vad−Vcomとなるため、1つの画素内に、第1副画素容量Csp1による明副画素と、第2副画素容量Csp2による暗副画素とが形成される。
こうすれば、Vcs1およびVcs2波形のなまりがドレイン実効電位に与える影響が小さくなり、輝度ムラの低減に有効である。
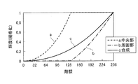
ここで、本構成における高輝度領域と低輝度領域の輝度分配の一例を図26に示す。なお、256階調表示とし、低輝度領域と高輝度領域の面積比を1:3とする。グラフa・bに示されるように、128階調付近までは、低輝度領域の輝度(単位面積あたりの光量)を0(最小輝度)としておき、階調増加に伴って高輝度領域の輝度(単位面積あたりの光量)を0から0.85(最大輝度を1とする)まで増加させる。また、128階調付近〜255階調までは、グラフa・グラフbに示されるように、階調増加に伴って高輝度領域の輝度を0.85から1.0まで逓増させる一方で低輝度領域の輝度を0から1.0まで増加させる。この低輝度領域および高輝度領域それぞれの輝度を面積積分し、合算したものが画素全体の輝度総和(グラフc=γ特性)となる。
このように、本実施の形態に係る液晶表示装置では、各画素に、高輝度領域とこれを取り囲む低輝度領域とを形成することが可能である。以下では、各画素に、高輝度領域とこれを取り囲む低輝度領域とを形成することによって、空間周波数の高い映像を鮮明に表示できる点について説明する。
図21(a)に空間周波数の低い映像の模式図を示し、図21(b)に空間周波数の高い映像の模式図を示す。ここで、映像信号としてサイン波形を入力したときの振幅とディスプレイに出力された振幅との比を伝達特性とする。また、図22(a)は、点灯領域が大きい画素をマトリクス状に配した表示装置の模式図であり、図22(b)は、点灯領域が小さい画素をマトリクス状に配した表示装置の模式図である。さらに、図23は、図22(a)に示す表示装置の伝達特性、および図22(b)に示す表示装置の伝達特性を示す。
図23から、点灯領域が小さな表示装置の方が、点灯領域の大きな表示装置よりも伝達特性が優れている、すなわち、図21(b)に示されるような高空間周波数の映像をより鮮明に表示できることがわかる。本発明はこの原理に着目したものであり、1つの画素内に、高輝度領域とこれを取り囲む低輝度領域とを形成できる画素構成とし、画素全体の輝度総和の全部あるいはほとんどを高輝度領域で賄って(光放射を画素中央に集中させて)(表示の大半を占める)中間調表示を行う。これにより、高空間周波数領域における伝達特性が大幅に向上し、空間周波数の高い映像を鮮明に表示することができる。
また、本アクティブマトリクス基板では、図15(a)に示すように、各画素の中央部に高輝度領域が形成され、各画素における高輝度領域の行方向(図中上下方向)の位置が画素間で揃っているため、図15(b)のように各画素における高輝度領域の行方向の位置が画素間でずれている構成と比較して、図14に模式的に示されような映像信号をよりきれいに表示できる。
また、図1に示す本アクティブマトリクス基板は、第1および第2の画素電極間の領域(間隙領域26)と重畳するように、第1の保持容量配線20が額縁状に引き回されている。したがって、本アクティブマトリクス基板を備えた液晶表示装置において、間隙領域26から光が漏れ、コントラストが低下するといった現象を防止することができる。
また、本実施の形態では、アクティブマトリクス基板自体に遮光体(第1の保持容量配線20)設けることになるため、カラーフィルタ基板に遮光体を設ける場合のように各基板を貼り合わせる際のずれによって遮光効果が低下してしまうといった問題も起こらない。
加えて、図1の構成では、1つの画素領域内において、第1の保持容量配線20が額縁状に引き回され、該第1の保持容量配線20が複数の経路を有することになるため、第1の保持容量配線の断線に対して冗長性を有している。
本アクティブマトリクス基板を図4に示すように構成することもできる。すなわち、画素領域105には、第1のTFT(薄膜トランジスタ)112aと、第2のTFT112bと、第1副画素電極117aと、第2副画素電極117bとが形成される。
第2副画素電極117bは、長方形を一部刳り抜いた形状を有し、その外枠117xが大きな長方形、その内枠(刳り抜いた部分の外周)117yが小さな長方形となっている。そして、この内枠117yの内側に長方形形状の第1副画素電極117aが設けられている。すなわち、本実施の形態は、長方形形状の第1副画素電極117aを第2副画素電極117bが取り囲む構成である。
第1副画素電極117aの外枠117zと第2副画素電極の内枠117yとの間は間隙領域(126a〜126d)となっている。この間隙領域は額縁状であり、列方向(図中左右方向)に伸びた領域126aおよび領域126bと、行方向(図中上下方向)に伸びた領域126cおよび領域126dとからなる。ここで、領域126a並びに第1副画素電極117aの外枠近傍領域および第2副画素電極117bの内枠近傍領域と重畳するように、第1保持容量配線121が形成され、領域126b並びに第1副画素電極117aの外枠近傍領域および第2副画素電極117bの内枠近傍領域と重畳するように、第2保持容量配線120が形成されている。さらに、この第1保持容量配線120および第1副画素電極117aと重畳するように保持容量上電極130aが設けられ、この保持容量上電極130aと第1副画素電極117aとがコンタクトホール111aによって接続されている。また、第2保持容量配線121および第2副画素電極117bに重畳するように保持容量上電極130bが設けられる。
第1および第2のTFT112a・112bは、各信号線(15・16)の交点近傍に形成され、第1のTFT112aのソース電極109aおよび第2のTFT112bのソース電極109bはともにデータ信号線15に接続される。第1のTFT112aのドレイン電極108aは、ドレイン引き出し配線107aを介して保持容量上電極130aに接続される。ここで、ドレイン引き出し配線107aは行方向(図中上下方向)に伸びる領域126c並びに第1副画素電極117aの外枠近傍領域および第2副画素電極117bの内枠近傍領域と重畳するように引き回されている。また、第2のTFT112bのドレイン電極108bはドレイン引き出し配線107bおよびコンタクトホール111bを介して第2副画素電極117bに接続されている。さらに、ドレイン引き出し配線107bは、行方向(図中上下方向)に伸びる領域126d並びに第1副画素電極117aの外枠近傍領域および第2副画素電極117bの内枠近傍領域と重畳するように引き回され、保持容量上電極130bに接続されている。
なお、図5に示すように、開口率向上のためにこのドレイン引き出し配線107bの領域126dと重畳しない部分を削除し、第2副画素電極117bと保持容量上電極130bとをコンタクトホール111cによって接続しておくこともできる。
以上説明した図4・5のアクティブマトリクス基板によって図6に示す回路が実現される。また、図4・5のアクティブマトリクス基板を用いた液晶表示装置にも、図13で説明した駆動方法を用いることができる。
本アクティブマトリクス基板を図8に示すように構成することもできる。すなわち、画素領域205には、第1のTFT(薄膜トランジスタ)212aと、第2のTFT212bと、第1副画素電極217aと、第2副画素電極217bとが形成される。
第2副画素電極217bは、長方形を一部刳り抜いた形状を有し、その外枠217xが大きな長方形、その内枠(刳り抜いた部分の外周)217yが小さな長方形となっている。そして、この内枠217yの内側に長方形形状の第1副画素電極217aが設けられている。すなわち、本実施の形態は、長方形形状の第1副画素電極217aを第2副画素電極217bが取り囲む構成である。
本構成では、画素領域205の中程に走査信号線216が設けられる。画素領域205内の走査信号線216は、第1および第2のTFT212a・212bのゲート電極となる左端部216a、額縁部216b、および右端部216cの3つの部分からなる。第1および第2のTFT212a・212bは、各信号線(15・216)の交点近傍に形成され、第1のTFT212aのソース電極209aおよび第2のTFT212bのソース電極209bはともにデータ信号線15に接続される。
第1副画素電極217aの外枠217zと第2副画素電極の内枠217yとの間は間隙領域226となっており、この間隙領域226並びに第1副画素電極217aの外枠近傍領域および第2副画素電極217bの内枠近傍領域と重畳するように、走査信号線216の引き回され、これにより上記額縁部216bが形成される。第1のTFT212aのドレイン電極208aは、ドレイン引き出し配線およびコンタクトホール211aを介して第1副画素電極217aに接続される。
また、画素領域205の上下両端部(行方向の両エッジ)に、第1および第2保持容量配線220・221が列方向(図中左右方向)に形成される。また、第1保持容量配線220と重畳するように保持容量上電極230aが設けられ、この保持容量上電極230aは、ドレイン電極208aに接続されている。さらに、第2保持容量配線221と第2副画素電極217bとに重畳するように保持容量上電極230bが設けられ、この保持容量上電極230bは、ドレイン電極208bに接続されるとともに、コンタクトホール211bを介して第2副画素電極217bに接続されている。
図8の構成によれば、上下に隣接する画素間で第1および第2の保持容量配線220・221を共用できるため、保持容量配線の総数を減らすことができる。また、1つの画素領域内において、走査信号線216が額縁状に引き回され、該走査信号線216が複数の経路を有することになるため、走査信号線の断線に対して冗長性を有している。
以上説明した図8のアクティブマトリクス基板によって図7に示す回路が実現される。また、図8のアクティブマトリクス基板を用いた液晶表示装置にも、図13で説明した駆動方法を用いることができる。
本アクティブマトリクス基板を図9に示すように構成することもできる。すなわち、画素領域305には、第1のTFT(薄膜トランジスタ)312aと、第2のTFT312bと、第1副画素電極317aと、第2副画素電極317bとが形成される。
そして、本構成では、1つの画素領域305に対して2本のデータ信号線315a・315bが設けられる。これらデータ信号線315a・315bは、画素領域305の両側端部近傍に、行方向(図中上下方向)に形成される。
第2副画素電極317bは、長方形を一部刳り抜いた形状を有し、その外枠317xが大きな長方形、その内枠(刳り抜いた部分の外周)317yが小さな長方形となっている。そして、この内枠317yの内側に長方形形状の第1副画素電極317aが設けられている。すなわち、本実施の形態は、長方形形状の第1副画素電極317aを第2副画素電極317bが取り囲む構成である。
第1副画素電極317aの外枠317zと第2副画素電極の内枠317yとの間は間隙領域326となっており、この間隙領域326並びに第1副画素電極317aの外枠近傍領域および第2副画素電極317bの内枠近傍領域と重畳するように、保持容量配線320が額縁状に引き回されている。さらに、この保持容量配線320および第1副画素電極317aと重畳するように保持容量上電極330aが設けられ、この保持容量上電極330aと第1副画素電極317aとがコンタクトホール311aによって接続されている。また、この保持容量配線320および第2副画素電極317bと重畳するように保持容量上電極330bが設けられ、この保持容量上電極330bと第2副画素電極317bとがコンタクトホール311bによって接続されている。
第1のTFT312aは、走査信号線と一方のデータ信号線315aとの交点近傍に形成され、第1のTFT312aのソース電極309aはデータ信号線315aに接続され、第1のTFT312aのドレイン電極308aは、ドレイン引き出し配線を介して保持容量上電極330aに接続される。また、第1のTFT312bは、走査信号線ともう一方のデータ信号線315bの交点近傍に形成され、第1のTFT312bのソース電極309bはデータ信号線315bに接続され、第1のTFT312bのドレイン電極308bは、ドレイン引き出し配線を介して保持容量上電極330bに接続される。
以上説明した図9のアクティブマトリクス基板によって図12に示す回路が実現される。ここで、各画素に配される2本のデータ信号線315a・315bは互いに独立に駆動され、例えば、液晶コントローラによって制御されるソースドライバから別々に信号電位が与えられる。
ここで、本構成における高輝度領域と低輝度領域の輝度(単位面積あたりの光量)分配の一例を図27に示す。なお、256階調表示とし、低輝度領域と高輝度領域の面積比を1:3とする。グラフa・bに示されるように、128階調付近までは、低輝度領域の輝度を0(規格化した最小輝度)としておき、階調増加に伴って高輝度領域の輝度を0から1.0(規格化した最大輝度)まで増加させる。また、128階調付近〜255階調までは、グラフa・bに示されるように、高輝度領域の輝度を1.0にしておき、階調増加に伴って低輝度領域の輝度を0から1.0まで増加させる。この低輝度領域および高輝度領域の各輝度を面積積分し、合算したものが画素全体の輝度総和(グラフc=γ特性)となる。
また、図10に示すように、図8のアクティブマトリクス基板をMVA(Multi−domain Vertical Alignment)構成とすることもできる。すなわち、第1および第2副画素電極217a・217bに、液晶分子の配向を制御するためのスリット(液晶分子配向制御用スリット)255を横V字形状(V字を90度回転させた形状)に設ける。このMVA構成は、アクティブマトリクス基板の画素電極にスリット(電極切除パターン)を設けるとともに、対向基板の対向電極に液晶分子配向制御用突起(リブ)を設け、これによって形成されるフリンジフィールド(Fringe Field)を利用するものである。このフリンジフィールドによって液晶分子の配向方向を複数方向に分散させることができ、広視野角が実現される。同様に、図9のアクティブマトリクス基板をMVA構成とすることもできる(図11参照)。
本実施の形態に係るアクティブマトリクス基板を図29のように構成することもできる。図29に示されるアクティブマトリクス基板は、マトリクス状に配された画素領域405と、画素領域の下端部および上端部を列方向(図中左右方向)に走る第1および第2の走査信号線416a・416bと、行方向(図中上下方向)に走るデータ信号線415と、保持容量配線420とを備える。
画素領域405には、第1のTFT412aと、第2のTFT412bと、第1副画素電極417aと、第2副画素電極417bとが形成される。第2副画素電極417bは、長方形を一部刳り抜いた形状を有し、その外枠417xが大きな長方形、その内枠(刳り抜いた部分の外周)417yが小さな長方形となっている。そして、この内枠417yの内側に長方形形状の第1副画素電極417aが設けられている。すなわち、本実施の形態は、長方形形状の第1副画素電極417aを第2副画素電極417bが取り囲む構成である。
保持容量配線420は、画素領域中央を横切るように形成されており、保持容量配線420および第2副画素電極417bと重畳するように保持容量上電極430bが設けられ、保持容量配線420および第1副画素電極417aと重畳するように保持容量上電極430aが設けられている。
ここで、第1のTFT412aは、データ信号線15と第1の走査信号線16aの交点近傍に形成されており、第1の走査信号線16aが第1のTFT412aのゲート電極となっている。また、第2のTFT412bは、データ信号線15と第2の走査信号線16bの交点近傍に形成されており、第2の走査信号線16bが第2のTFT412bのゲート電極となっている。なお、第1のTFT412aのソース電極および第2のTFT412bのソース電極はともにデータ信号線415に接続される。
また、第1のTFT412aのドレイン電極は、ドレイン引き出し配線407aを介して保持容量上電極430aに接続され、この保持容量上電極430aは、コンタクトホール411aを介して第1副画素電極417aに接続されている。また、第2のTFT412bのドレイン電極は、ドレイン引き出し配線407bを介して保持容量上電極430bに接続され、この保持容量上電極430bは、コンタクトホール411bを介して第2副画素電極417bに接続されている。
上記の構成によって、図30に示す回路が実現される。すなわち、第1副画素電極417aが第1のTFT412aを介してデータ信号線415に接続され、第2副画素電極417bが第2のTFT412bを介してデータ信号線415に接続される。第1のTFT412aのゲートは第1の走査信号線416aに接続され、第2のTFT412bのゲートは第2の走査信号線416bに接続される。また、第1副画素電極417aに接続された保持容量上電極430aと保持容量配線420との間で保持容量CSが形成され、同様に、第2副画素電極417bに接続された保持容量上電極430bと保持容量配線420との間で保持容量CSが形成される。なお、第1および第2の走査信号線21には、タイミングの異なる走査信号(パルス信号)が供給される。なお、次段用の第1および第2の走査信号線をそれぞれ416cおよび416dとし、次段用の第1および第2のTFTをそれぞれ417cおよび417dとする。
図32は、図30の回路でドット反転駆動を行う場合の各信号波形(図中Sはデータ信号線415に供給される電位信号の波形、A〜Dはそれぞれ、走査信号線416a〜416dに供給されるパルス信号の波形)である。
同図に示されるように、一水平期間に、第1の走査信号線416a、第2の走査信号線416bの順にオンパルス(走査信号)が供給されるとともに、各オンパルスに対応して、データ信号線415に、信号電位V1・V2(ともに正極性)が供給される。なお、第1および第2の走査信号線に供給される各オンパルスは時間的に重ならない。これにより、第1のTFT412aを介して第1副画素電極417aにV1が書き込まれ、第2のTFT412bを介して第2副画素電極417bにV2が書き込まれる。さらに、これに続く一水平期間では、次段の第1の走査信号線416c、同第2の走査信号線416dの順にオンパルスが供給されるとともに、各オンパルスに対応して、データ信号線415に、信号電位v1・v2(ともに負極性)が供給される。これにより、次段の第1副画素電極417cにv1が書き込まれ、同第2副画素電極417dにv2が書き込まれる。
また、図30の回路でドット反転駆動を行う場合、各信号波形を図33(図中Sはデータ信号線415に供給される電位信号の波形、A〜Dはそれぞれ、走査信号線416a〜416dに供給されるパルス信号の波形)のようにすることも可能である。
すなわち、一水平期間に、第1の走査信号線416a、第2の走査信号線416bにオンパルス(走査信号)が供給されるとともに、各オンパルスに対応して、データ信号線415に、信号電位v1・v2(ともに負極性)が供給される。ここで、第1の走査信号線に供給されるオンパルスと第2の走査信号線に供給されるオンパルスとを、時間的に重なる部分を有しつつパルス終端をとるタイミングが異なるように設定する。例えば、2つのオンパルスは、パルス始端をとるタイミングが同期する一方で、パルス終端をとるタイミングは第1の走査信号線416aに供給されるオンパルスが先であるようにする。例えば、2つのオンパルスがパルス終端をとるタイミングを1/2H(一水平期間の半分)だけずらす。加えて、データ信号線415に供給される電位は、各オンパルスがパルス始端をとるのと同期してあるいはそれ以前にv1となるとともに、一方のオンパルス(第1の走査信号線416aに供給されるオンパルス)が先にパルス終端をとるのと同期して、あるいはそれ以後にv1からv2に変化するようにしておく。こうすれば、第1副画素電極417aにv1が書き込まれ、第2副画素電極417bには、v1が書き込まれた後にv2が再書き込みされる。さらに、これに続く一水平期間では、次段の第1の走査信号線416c、同第2の走査信号線416dに、上記のタイミングでオンパルスが供給されるとともに、データ信号線415に、各オンパルスに対応して信号電位V1・V2(ともに正極性)が供給される(すなわち、第1の走査信号線416aに供給されるオンパルスが先にパルス終端をとるのと同期して、あるいはそれ以後にV1からV2に変化する)。これにより、次段の第1副画素電極417cにV1が書き込まれ、同第2副画素電極417dには、V1が書き込まれた後にV2が再書き込みされる。
こうすれば、第2の走査信号線416bが制御する第2のTFT412bに接続する第2の副画素電極417bには、v1(書き込むべき電位と同極性)が一旦与えられた状態で再度書き込むべき電位v2が与えられることになり、第2の副画素電極417bの充電を良好に行うことができる。特に、ドット反転駆動やHライン反転駆動のように水平期間ごとにデータ信号線415に与えられる信号電位の極性が反転する(信号電位の波形鈍りが大きい)場合や第2の副画素電極417bの面積が大きい(充電に時間がかかる)場合により効果的である。さらに、図33の駆動方法では、図32の駆動方法よりオンパルスの周期が長くなるため、走査信号の駆動周波数を抑制できるという効果もある。
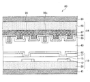
上記実施の形態で得られるアクティブマトリクス基板と、アクティブマトリクス基板の各画素に対応するようにマトリクス状に設けられた赤、緑、青のうちのいずれか1つの着色層と、各着色層の間に設けられた遮光性のブラックマトリクスからなるように形成されたカラーフィルタ基板を貼り合わせ、液晶を注入・封止することで、液晶表示パネルが形成される。
この液晶表示パネルの構成を図34に示す。同図に示すように、本液晶パネル80は、バックライト光源側から順に、偏光板41、ガラス基板28を含む本アクティブマトリクス基板10、配向膜82、液晶層43、カラーフィルタ基板84、および偏光板85を備える。カラーフィルタ基板84は、液晶層43側から順に、配向膜85、共通(対向)電極86、着色層87(ブラックマトリクス99を含む)、ガラス基板88を備える。そして、この共通(対向)電極86に液晶分子配向制御用突起(リブ)86xが設けられている。液晶分子配向制御用突起86xは、例えば、感光性樹脂等により形成される。リブ86xの(基板面垂直方向から見たときの)平面形状としては、一定の周期でジグザクに屈曲した帯状(横V字形状)等が挙げられる。上記液晶パネルにドライバ(液晶駆動用LSI)等を接続し、偏光板やバックライトを装着することで本発明の液晶表示装置が形成される。
以下に、本液晶表示装置を適用したテレビジョン受信機について説明する。
図16は、テレビジョン受信機用における液晶表示装置601の回路ブロックである。液晶表示装置601は、図16に示すように、Y/C分離回路500、ビデオクロマ回路501、A/Dコンバータ502、液晶コントローラ503、液晶パネル504、バックライト駆動回路505、バックライト506、マイコン507、階調回路508を備えた構成となっている。上記構成の液晶表示装置601において、まず、テレビ信号の入力映像信号は、Y/C分離回路500に入力され、輝度信号と色信号に分離される。輝度信号と色信号はビデオクロマ回路501にて光の3原色である、R、G、Bに変換され、さらに、このアナログRGB信号はA/Dコンバータ502により、デジタルRGB信号に変換され、液晶コントローラ503に入力される。液晶パネル504では液晶コントローラ503からのRGB信号が所定のタイミングで入力されると共に、階調回路508からのRGBそれぞれの階調電圧が供給され、画像が表示されることになる。これらの処理を含め、システム全体の制御はマイコン507が行うことになる。なお、映像信号として、テレビジョン放送に基づく映像信号、カメラにより撮像された映像信号、インターネット回線を介して供給される映像信号など、様々な映像信号に基づいて表示可能である。
なお、本アクティブマトリクス基板は、フィールドシーケンシャル方式の液晶表示装置に用いることもできる。図17(a)に示すフィールドシーケンシャル方式の1つの画素は、図17(b)に示すカラーフィルタ方式の3つ画素(R・G・B)に対応し、1つの画素に3原色の3つの色(R・G・B)が連続して表示される(ある時刻には1色のみが表示される)。フィールドシーケンシャル方式の液晶表示装置では、例えば図8のような駆動が行われる。すなわち、1フレームが3分割(第1〜第3のサブフレーム)され、第1のサブフレームではRの映像信号が送られるとともに、バックライトがR(赤)に点灯し、液晶パネルにRの信号表示がなされる。同様に、第2のサブフレームではGの映像信号が送られるとともに、バックライトがG(緑)に点灯し、液晶パネルにGの信号表示がなされる。第3のサブフレームではBの映像信号が送られるとともに、バックライトがB(青)に点灯し、液晶パネルにBの信号表示がなされる。
このフィールドシーケンシャル方式によれば、カラーフィルタを用いた構成(図19(b)に示されるように色情報の位置が各色によってずれる)と異なり、各色で色情報の位置がずれない(図19(a)のように画素中央の1箇所になる)という利点がある。ここで、図20にフィールドシーケンシャル方式の液晶表示装置の回路ブロックを示しておく。
本液晶表示装置601は、図24に示すように、テレビジョン放送を受信して映像信号を出力するチューナ部600と接続することにより、チューナ部600から出力された映像信号に基づいて映像(画像)表示を行うことが可能になる。この場合、液晶表示装置601とチューナ部600とでテレビジョン受像機602となる。
液晶表示装置601を用いてテレビジョン受信機602を構成するには、例えば、図25に示すように、液晶表示装置601を第1筐体801と第2筐体806とで包み込むようにして挟持した構成となっている。第1筐体801は、液晶表示装置601で表示される映像を透過させる開口部801aが形成されている。また、第2筐体806は、液晶表示装置601の背面側を覆うものであり、該液晶表示装置601を操作するための操作用回路805が設けられるとともに、下方に支持用部材808が取り付けられている。
なお、本発明は液晶表示装置に限定されるものではなく、例えば、カラーフィルタ基板と、カラーフィルタ基板と対向するように本発明のアクティブマトリクス基板を配置し、それら基板と基板との間に有機EL層を配置することで有機ELパネルとし、パネルの外部引き出し端子にドライバ等を接続することにより有機EL表示装置を構成することも可能である。また、液晶表示装置や有機EL表示装置以外であっても、アクティブマトリクス基板で構成される表示装置であれば、本発明は適用可能である。
本発明のアクティブマトリクス基板は、例えば液晶テレビに好適である。
5 画素領域
12a・12b TFT
15 データ信号線
16 走査信号線
17a 第1の副画素電極
17b 第2の副画素電極
11a・11b コンタクトホール
20 第1の保持容量配線
21 第2の保持容量配線

Claims (5)

  1. 画素に中間調を表示する時に、該画素内の第1および第2副画素電極を異なる実効電位とすることで第1副画素電極に対応する第1輝度領域を第2副画素電極に対応する第2輝度領域よりも高輝度とする表示装置であって、
    走査信号線と、データ信号線と、第1および第2保持容量配線と、第1保持容量配線に重なる第1保持容量上電極と、第2保持容量配線に重なる第2保持容量上電極とが設けられ、
    第1および第2副画素電極はそれぞれ、上記走査信号線に接続するトランジスタを介して上記データ信号線に接続され、
    第1保持容量上電極は第1副画素電極に接続されるとともに、第2保持容量上電極は第2副画素電極に接続され、
    第2副画素電極は平面的に視て内周および外周を有する形状であって、かつ第2副画素電極の内周の内側に第1副画素電極が配されていることにより、中間調を表示する時に第2輝度領域が第1輝度領域を取り囲み、上記第1および第2輝度領域の間隙には最低輝度領域が形成され
    上記第1および第2保持容量配線は、第1副画素電極と重ならないように配されていることを特徴とする表示装置。
  2. 上記間隙と重なるように上記走査信号線が形成されていることを特徴とする請求項1記載の表示装置。
  3. 上記走査信号線が画素中段において額縁状に引き回されていることを特徴とする請求項に記載の表示装置。
  4. 請求項1〜のいずれか1項に記載の表示装置を備えることを特徴とする液晶表示装置。
  5. 請求項に記載の液晶表示装置と、テレビジョン放送を受信するチューナ部とを備えることを特徴とするテレビジョン受像機。
JP2010023578A 2006-02-06 2010-02-04 表示装置、液晶表示装置、テレビジョン受像機 Expired - Fee Related JP5073766B2 (ja)

Priority Applications (1)

Application Number Priority Date Filing Date Title
JP2010023578A JP5073766B2 (ja) 2006-02-06 2010-02-04 表示装置、液晶表示装置、テレビジョン受像機

Applications Claiming Priority (5)

Application Number Priority Date Filing Date Title
JP2006029043 2006-02-06
JP2006029043 2006-02-06
JP2006248558 2006-09-13
JP2006248558 2006-09-13
JP2010023578A JP5073766B2 (ja) 2006-02-06 2010-02-04 表示装置、液晶表示装置、テレビジョン受像機

Related Parent Applications (1)

Application Number Title Priority Date Filing Date
JP2007557747A Division JPWO2007091365A1 (ja) 2006-02-06 2006-11-30 表示装置、アクティブマトリクス基板、液晶表示装置、テレビジョン受像機

Publications (3)

Publication Number Publication Date
JP2010160493A JP2010160493A (ja) 2010-07-22
JP2010160493A5 JP2010160493A5 (ja) 2010-09-02
JP5073766B2 true JP5073766B2 (ja) 2012-11-14

Family

ID=38344972

Family Applications (2)

Application Number Title Priority Date Filing Date
JP2007557747A Pending JPWO2007091365A1 (ja) 2006-02-06 2006-11-30 表示装置、アクティブマトリクス基板、液晶表示装置、テレビジョン受像機
JP2010023578A Expired - Fee Related JP5073766B2 (ja) 2006-02-06 2010-02-04 表示装置、液晶表示装置、テレビジョン受像機

Family Applications Before (1)

Application Number Title Priority Date Filing Date
JP2007557747A Pending JPWO2007091365A1 (ja) 2006-02-06 2006-11-30 表示装置、アクティブマトリクス基板、液晶表示装置、テレビジョン受像機

Country Status (3)

Country Link
US (1) US20090009449A1 (ja)
JP (2) JPWO2007091365A1 (ja)
WO (1) WO2007091365A1 (ja)

Families Citing this family (36)

* Cited by examiner, † Cited by third party
Publication number Priority date Publication date Assignee Title
KR101244332B1 (ko) * 2006-09-18 2013-03-18 삼성디스플레이 주식회사 표시장치
TWI360010B (en) * 2007-09-20 2012-03-11 Chimei Innolux Corp Pixel array substrate and liquid crystal display
KR101508643B1 (ko) * 2007-11-29 2015-04-07 가부시키가이샤 한도오따이 에네루기 켄큐쇼 표시장치 및 전자기기
KR101448001B1 (ko) * 2008-01-29 2014-10-13 삼성디스플레이 주식회사 액정 표시 장치
KR20090103461A (ko) 2008-03-28 2009-10-01 삼성전자주식회사 액정 표시 장치
JP4626664B2 (ja) 2008-03-31 2011-02-09 カシオ計算機株式会社 液晶表示装置
TWI377383B (en) * 2008-05-05 2012-11-21 Au Optronics Corp Pixel, display and the driving method thereof
JP5305755B2 (ja) * 2008-06-27 2013-10-02 三菱電機株式会社 液晶表示装置
KR101540302B1 (ko) * 2008-07-09 2015-07-29 삼성디스플레이 주식회사 표시기판 및 이를 갖는 액정표시패널
JP4706729B2 (ja) * 2008-07-14 2011-06-22 カシオ計算機株式会社 液晶表示装置
KR101518327B1 (ko) * 2008-07-24 2015-05-11 삼성디스플레이 주식회사 액정 표시판 및 액정 표시 장치
KR101595817B1 (ko) * 2008-08-22 2016-02-22 삼성디스플레이 주식회사 액정 표시 장치
KR101549962B1 (ko) * 2008-11-28 2015-09-04 삼성디스플레이 주식회사 액정 표시 장치
RU2478224C2 (ru) 2008-12-10 2013-03-27 Шарп Кабушики Каиша Подложка активной матрицы, способ изготовления подложки активной матрицы, жидкокристаллическая панель, способ изготовления жидкокристаллической панели, жидкокристаллическое дисплейное устройство, жидкокристаллический дисплей и телевизионный приемник
JP5348473B2 (ja) * 2009-01-20 2013-11-20 ソニー株式会社 液晶表示装置および電子機器
EP2445108B1 (en) 2009-06-17 2015-11-04 Sharp Kabushiki Kaisha Flip-flop, shift register, display drive circuit, display apparatus, and display panel
TWI420212B (zh) * 2009-12-31 2013-12-21 Au Optronics Corp 畫素陣列
EP2538271A4 (en) 2010-02-15 2013-08-21 Sharp Kk ACTIVE MATRIX SUBSTRATE, LIQUID CRYSTAL PANEL, LIQUID CRYSTAL DISPLAY DEVICE, TELEVISION RECEIVER
JP5418390B2 (ja) * 2010-04-27 2014-02-19 カシオ計算機株式会社 液晶表示装置
WO2012060254A1 (ja) * 2010-11-02 2012-05-10 シャープ株式会社 表示装置
US9190001B2 (en) 2010-11-09 2015-11-17 Sharp Kabushiki Kaisha Liquid crystal display device, display apparatus, and gate signal line driving method
KR101813517B1 (ko) * 2011-04-06 2018-01-02 삼성디스플레이 주식회사 표시 패널의 구동 방법 및 이를 수행하는 표시 장치
TWI446079B (zh) * 2011-06-29 2014-07-21 Au Optronics Corp 畫素結構及其驅動方法
WO2013069559A1 (ja) * 2011-11-10 2013-05-16 シャープ株式会社 表示装置およびその駆動方法
KR101948694B1 (ko) 2012-02-09 2019-02-18 삼성디스플레이 주식회사 액정 표시 장치
KR101944701B1 (ko) * 2012-09-05 2019-02-11 삼성디스플레이 주식회사 표시 패널 및 이의 제조 방법
CN103854614B (zh) * 2014-02-24 2016-06-29 北京京东方显示技术有限公司 背光控制电路和液晶显示装置
KR20150114638A (ko) * 2014-04-01 2015-10-13 삼성디스플레이 주식회사 액정 표시 장치
KR101635954B1 (ko) * 2014-12-31 2016-07-07 삼성디스플레이 주식회사 액정 표시 장치
KR20160087022A (ko) * 2015-01-12 2016-07-21 삼성디스플레이 주식회사 표시패널
KR101681487B1 (ko) * 2015-07-16 2016-12-02 삼성디스플레이 주식회사 액정 표시 장치
EP3537209B1 (en) * 2017-01-10 2021-09-15 BOE Technology Group Co., Ltd. Array substrate comprising a subpixel unit, control method therefor, and display device
TWI648720B (zh) * 2017-10-25 2019-01-21 元太科技工業股份有限公司 顯示裝置
CN108389557B (zh) * 2018-03-16 2020-01-21 京东方科技集团股份有限公司 显示装置及其驱动方法
CN112349749B (zh) * 2019-12-30 2022-08-05 广东聚华印刷显示技术有限公司 像素排列结构、发光器件及显示面板
TWI724795B (zh) * 2020-02-18 2021-04-11 友達光電股份有限公司 畫素結構

Family Cites Families (26)

* Cited by examiner, † Cited by third party
Publication number Priority date Publication date Assignee Title
GB8622715D0 (en) * 1986-09-20 1986-10-29 Emi Plc Thorn Display device
JP3081357B2 (ja) * 1992-04-15 2000-08-28 富士通株式会社 液晶表示装置及びその製造方法
US5793345A (en) * 1994-03-11 1998-08-11 Canon Kabushiki Kaisha Dynamic refinement of pixels for a display
AUPM440994A0 (en) * 1994-03-11 1994-04-14 Canon Information Systems Research Australia Pty Ltd A luminance weighted discrete level display
KR100259783B1 (ko) * 1994-03-11 2000-06-15 미다라이 후지오 다수의 컬러 개별 레벨 디스플레이를 위한 디스플레이 픽셀 밸런싱
AUPM440494A0 (en) * 1994-03-11 1994-04-14 Canon Information Systems Research Australia Pty Ltd Intermingling subpixels in discrete level displays
KR100295712B1 (ko) * 1994-03-11 2001-11-14 미다라이 후지오 컴퓨터디스플레이시스템컨트롤러
JP3164987B2 (ja) * 1994-12-22 2001-05-14 松下電器産業株式会社 アクティブマトリックス型液晶表示素子
US5610739A (en) * 1994-05-31 1997-03-11 Matsushita Electric Industrial Co., Ltd. Liquid crystal display unit with a plurality of subpixels
JP3662316B2 (ja) * 1994-10-24 2005-06-22 株式会社半導体エネルギー研究所 液晶表示装置および液晶表示装置の駆動方法
TW295652B (ja) * 1994-10-24 1997-01-11 Handotai Energy Kenkyusho Kk
JPH08179341A (ja) * 1994-12-22 1996-07-12 Matsushita Electric Ind Co Ltd 液晶表示装置およびその駆動方法
JP3520382B2 (ja) * 1995-02-01 2004-04-19 セイコーエプソン株式会社 液晶表示装置
JP2001222027A (ja) * 2000-02-09 2001-08-17 Seiko Epson Corp 電気光学装置および投射型表示装置
US6515728B1 (en) * 2000-09-07 2003-02-04 Lg.Philips Lcd Co., Ltd. Multi-domain liquid crystal display device
US6909413B2 (en) * 2000-10-27 2005-06-21 Matsushita Electric Industrial Co., Ltd. Display device
JP2002333870A (ja) * 2000-10-31 2002-11-22 Matsushita Electric Ind Co Ltd 液晶表示装置、el表示装置及びその駆動方法、並びに副画素の表示パターン評価方法
US6956553B2 (en) * 2001-04-27 2005-10-18 Sanyo Electric Co., Ltd. Active matrix display device
JP2002328386A (ja) * 2001-04-27 2002-11-15 Sanyo Electric Co Ltd アクティブマトリクス型表示装置
TWI271573B (en) * 2001-08-22 2007-01-21 Advanced Display Kk Liquid crystal display device and method of producing the same
JP4342200B2 (ja) * 2002-06-06 2009-10-14 シャープ株式会社 液晶表示装置
JP4248306B2 (ja) * 2002-06-17 2009-04-02 シャープ株式会社 液晶表示装置
JP4467334B2 (ja) * 2004-03-04 2010-05-26 シャープ株式会社 液晶表示装置
JP4394512B2 (ja) * 2004-04-30 2010-01-06 富士通株式会社 視角特性を改善した液晶表示装置
EP2230551A3 (en) * 2004-10-06 2012-05-09 Sharp Kabushiki Kaisha Liquid crystal display
JP4419944B2 (ja) * 2005-03-29 2010-02-24 セイコーエプソン株式会社 電気泳動表示装置及びその駆動方法

Also Published As

Publication number Publication date
US20090009449A1 (en) 2009-01-08
JPWO2007091365A1 (ja) 2009-07-02
JP2010160493A (ja) 2010-07-22
WO2007091365A1 (ja) 2007-08-16

Similar Documents

Publication Publication Date Title
JP5073766B2 (ja) 表示装置、液晶表示装置、テレビジョン受像機
JP4932823B2 (ja) アクティブマトリクス基板、表示装置及びテレビジョン受像機
KR101369587B1 (ko) 액정 표시 장치
JP4938032B2 (ja) 液晶パネル、液晶表示装置、およびテレビジョン装置
JP5214466B2 (ja) 液晶表示パネル、液晶表示素子、及び、液晶表示装置
CN101960371B (zh) 有源矩阵基板、液晶面板、液晶显示装置、液晶显示单元、以及电视接收机
US7907106B2 (en) Liquid crystal display and driving method thereof
JP5107421B2 (ja) アクティブマトリクス基板、液晶パネル、液晶表示装置、液晶表示ユニット、テレビジョン受像機
JP4541421B2 (ja) 液晶表示装置、テレビジョン受像機
US20090102824A1 (en) Active matrix substrate and display device using the same
JP5220863B2 (ja) アクティブマトリクス基板、液晶パネル、液晶表示ユニット、液晶表示装置、テレビジョン受像機
JP2007086791A (ja) 液晶パネル、その駆動方法、及びそれを用いた液晶表示装置
US6130654A (en) Driving method of a liquid crystal display device
JP5179670B2 (ja) 液晶表示装置
WO2010089820A1 (ja) アクティブマトリクス基板、液晶パネル、液晶表示ユニット、液晶表示装置、テレビジョン受像機
WO2010100788A1 (ja) アクティブマトリクス基板、液晶パネル、液晶表示装置、液晶表示ユニット、テレビジョン受像機
KR102764289B1 (ko) 이형 액정 표시 패널
CN101361109A (zh) 显示装置、有源矩阵基板、液晶显示装置、电视接收机
US10741135B2 (en) Liquid crystal display device
JP5301567B2 (ja) アクティブマトリクス基板、アクティブマトリクス基板の製造方法、液晶パネル、液晶パネルの製造方法、液晶表示装置、液晶表示ユニット、テレビジョン受像機
JP2004240263A (ja) 表示駆動装置及びその駆動制御方法
WO2013008771A1 (ja) 液晶表示装置、液晶表示装置の駆動方法、およびパルス波形信号調整方法
JP2004294913A (ja) 液晶表示装置

Legal Events

Date Code Title Description
A521 Written amendment

Free format text: JAPANESE INTERMEDIATE CODE: A523

Effective date: 20100712

A131 Notification of reasons for refusal

Free format text: JAPANESE INTERMEDIATE CODE: A131

Effective date: 20120515

A521 Written amendment

Free format text: JAPANESE INTERMEDIATE CODE: A523

Effective date: 20120711

TRDD Decision of grant or rejection written
A01 Written decision to grant a patent or to grant a registration (utility model)

Free format text: JAPANESE INTERMEDIATE CODE: A01

Effective date: 20120821

A01 Written decision to grant a patent or to grant a registration (utility model)

Free format text: JAPANESE INTERMEDIATE CODE: A01

A61 First payment of annual fees (during grant procedure)

Free format text: JAPANESE INTERMEDIATE CODE: A61

Effective date: 20120822

R150 Certificate of patent or registration of utility model

Ref document number: 5073766

Country of ref document: JP

Free format text: JAPANESE INTERMEDIATE CODE: R150

Free format text: JAPANESE INTERMEDIATE CODE: R150

FPAY Renewal fee payment (event date is renewal date of database)

Free format text: PAYMENT UNTIL: 20150831

Year of fee payment: 3

LAPS Cancellation because of no payment of annual fees