JP4988198B2 - 回転変速機 - Google Patents

回転変速機 Download PDF

Info

Publication number
JP4988198B2
JP4988198B2 JP2005500019A JP2005500019A JP4988198B2 JP 4988198 B2 JP4988198 B2 JP 4988198B2 JP 2005500019 A JP2005500019 A JP 2005500019A JP 2005500019 A JP2005500019 A JP 2005500019A JP 4988198 B2 JP4988198 B2 JP 4988198B2
Authority
JP
Japan
Prior art keywords
transmission
gear
cone
arrangement
output
Prior art date
Legal status (The legal status is an assumption and is not a legal conclusion. Google has not performed a legal analysis and makes no representation as to the accuracy of the status listed.)
Expired - Fee Related
Application number
JP2005500019A
Other languages
English (en)
Other versions
JP2006501426A (ja
Inventor
ロース,ウルリヒ
ドレーゲル,クリストフ
ブラントドウィッテ,ウェルナー
Current Assignee (The listed assignees may be inaccurate. Google has not performed a legal analysis and makes no representation or warranty as to the accuracy of the list.)
Individual
Original Assignee
Individual
Priority date (The priority date is an assumption and is not a legal conclusion. Google has not performed a legal analysis and makes no representation as to the accuracy of the date listed.)
Filing date
Publication date
Priority claimed from DE10303891A external-priority patent/DE10303891A1/de
Application filed by Individual filed Critical Individual
Publication of JP2006501426A publication Critical patent/JP2006501426A/ja
Application granted granted Critical
Publication of JP4988198B2 publication Critical patent/JP4988198B2/ja
Anticipated expiration legal-status Critical
Expired - Fee Related legal-status Critical Current

Links

Images

Classifications

    • FMECHANICAL ENGINEERING; LIGHTING; HEATING; WEAPONS; BLASTING
    • F16ENGINEERING ELEMENTS AND UNITS; GENERAL MEASURES FOR PRODUCING AND MAINTAINING EFFECTIVE FUNCTIONING OF MACHINES OR INSTALLATIONS; THERMAL INSULATION IN GENERAL
    • F16HGEARING
    • F16H37/00Combinations of mechanical gearings, not provided for in groups F16H1/00 - F16H35/00
    • F16H37/02Combinations of mechanical gearings, not provided for in groups F16H1/00 - F16H35/00 comprising essentially only toothed or friction gearings
    • F16H37/021Combinations of mechanical gearings, not provided for in groups F16H1/00 - F16H35/00 comprising essentially only toothed or friction gearings toothed gearing combined with continuously variable friction gearing
    • F16H37/022Combinations of mechanical gearings, not provided for in groups F16H1/00 - F16H35/00 comprising essentially only toothed or friction gearings toothed gearing combined with continuously variable friction gearing the toothed gearing having orbital motion
    • FMECHANICAL ENGINEERING; LIGHTING; HEATING; WEAPONS; BLASTING
    • F16ENGINEERING ELEMENTS AND UNITS; GENERAL MEASURES FOR PRODUCING AND MAINTAINING EFFECTIVE FUNCTIONING OF MACHINES OR INSTALLATIONS; THERMAL INSULATION IN GENERAL
    • F16HGEARING
    • F16H15/00Gearings for conveying rotary motion with variable gear ratio, or for reversing rotary motion, by friction between rotary members
    • F16H15/02Gearings for conveying rotary motion with variable gear ratio, or for reversing rotary motion, by friction between rotary members without members having orbital motion
    • F16H15/04Gearings providing a continuous range of gear ratios
    • F16H15/42Gearings providing a continuous range of gear ratios in which two members co-operate by means of rings or by means of parts of endless flexible members pressed between the first mentioned members
    • FMECHANICAL ENGINEERING; LIGHTING; HEATING; WEAPONS; BLASTING
    • F16ENGINEERING ELEMENTS AND UNITS; GENERAL MEASURES FOR PRODUCING AND MAINTAINING EFFECTIVE FUNCTIONING OF MACHINES OR INSTALLATIONS; THERMAL INSULATION IN GENERAL
    • F16HGEARING
    • F16H37/00Combinations of mechanical gearings, not provided for in groups F16H1/00 - F16H35/00
    • F16H37/02Combinations of mechanical gearings, not provided for in groups F16H1/00 - F16H35/00 comprising essentially only toothed or friction gearings
    • F16H37/021Combinations of mechanical gearings, not provided for in groups F16H1/00 - F16H35/00 comprising essentially only toothed or friction gearings toothed gearing combined with continuously variable friction gearing
    • FMECHANICAL ENGINEERING; LIGHTING; HEATING; WEAPONS; BLASTING
    • F16ENGINEERING ELEMENTS AND UNITS; GENERAL MEASURES FOR PRODUCING AND MAINTAINING EFFECTIVE FUNCTIONING OF MACHINES OR INSTALLATIONS; THERMAL INSULATION IN GENERAL
    • F16HGEARING
    • F16H37/00Combinations of mechanical gearings, not provided for in groups F16H1/00 - F16H35/00
    • F16H37/02Combinations of mechanical gearings, not provided for in groups F16H1/00 - F16H35/00 comprising essentially only toothed or friction gearings
    • F16H37/06Combinations of mechanical gearings, not provided for in groups F16H1/00 - F16H35/00 comprising essentially only toothed or friction gearings with a plurality of driving or driven shafts; with arrangements for dividing torque between two or more intermediate shafts
    • F16H37/08Combinations of mechanical gearings, not provided for in groups F16H1/00 - F16H35/00 comprising essentially only toothed or friction gearings with a plurality of driving or driven shafts; with arrangements for dividing torque between two or more intermediate shafts with differential gearing
    • F16H37/0833Combinations of mechanical gearings, not provided for in groups F16H1/00 - F16H35/00 comprising essentially only toothed or friction gearings with a plurality of driving or driven shafts; with arrangements for dividing torque between two or more intermediate shafts with differential gearing with arrangements for dividing torque between two or more intermediate shafts, i.e. with two or more internal power paths
    • F16H37/084Combinations of mechanical gearings, not provided for in groups F16H1/00 - F16H35/00 comprising essentially only toothed or friction gearings with a plurality of driving or driven shafts; with arrangements for dividing torque between two or more intermediate shafts with differential gearing with arrangements for dividing torque between two or more intermediate shafts, i.e. with two or more internal power paths at least one power path being a continuously variable transmission, i.e. CVT
    • F16H37/0853CVT using friction between rotary members having a first member of uniform effective diameter cooperating with different parts of a second member
    • FMECHANICAL ENGINEERING; LIGHTING; HEATING; WEAPONS; BLASTING
    • F16ENGINEERING ELEMENTS AND UNITS; GENERAL MEASURES FOR PRODUCING AND MAINTAINING EFFECTIVE FUNCTIONING OF MACHINES OR INSTALLATIONS; THERMAL INSULATION IN GENERAL
    • F16HGEARING
    • F16H37/00Combinations of mechanical gearings, not provided for in groups F16H1/00 - F16H35/00
    • F16H37/02Combinations of mechanical gearings, not provided for in groups F16H1/00 - F16H35/00 comprising essentially only toothed or friction gearings
    • F16H37/06Combinations of mechanical gearings, not provided for in groups F16H1/00 - F16H35/00 comprising essentially only toothed or friction gearings with a plurality of driving or driven shafts; with arrangements for dividing torque between two or more intermediate shafts
    • F16H37/08Combinations of mechanical gearings, not provided for in groups F16H1/00 - F16H35/00 comprising essentially only toothed or friction gearings with a plurality of driving or driven shafts; with arrangements for dividing torque between two or more intermediate shafts with differential gearing
    • F16H37/0833Combinations of mechanical gearings, not provided for in groups F16H1/00 - F16H35/00 comprising essentially only toothed or friction gearings with a plurality of driving or driven shafts; with arrangements for dividing torque between two or more intermediate shafts with differential gearing with arrangements for dividing torque between two or more intermediate shafts, i.e. with two or more internal power paths
    • F16H37/084Combinations of mechanical gearings, not provided for in groups F16H1/00 - F16H35/00 comprising essentially only toothed or friction gearings with a plurality of driving or driven shafts; with arrangements for dividing torque between two or more intermediate shafts with differential gearing with arrangements for dividing torque between two or more intermediate shafts, i.e. with two or more internal power paths at least one power path being a continuously variable transmission, i.e. CVT
    • F16H37/086CVT using two coaxial friction members cooperating with at least one intermediate friction member
    • FMECHANICAL ENGINEERING; LIGHTING; HEATING; WEAPONS; BLASTING
    • F16ENGINEERING ELEMENTS AND UNITS; GENERAL MEASURES FOR PRODUCING AND MAINTAINING EFFECTIVE FUNCTIONING OF MACHINES OR INSTALLATIONS; THERMAL INSULATION IN GENERAL
    • F16HGEARING
    • F16H61/00Control functions within control units of change-speed- or reversing-gearings for conveying rotary motion ; Control of exclusively fluid gearing, friction gearing, gearings with endless flexible members or other particular types of gearing
    • F16H61/66Control functions within control units of change-speed- or reversing-gearings for conveying rotary motion ; Control of exclusively fluid gearing, friction gearing, gearings with endless flexible members or other particular types of gearing specially adapted for continuously variable gearings
    • F16H61/662Control functions within control units of change-speed- or reversing-gearings for conveying rotary motion ; Control of exclusively fluid gearing, friction gearing, gearings with endless flexible members or other particular types of gearing specially adapted for continuously variable gearings with endless flexible members
    • F16H61/66272Control functions within control units of change-speed- or reversing-gearings for conveying rotary motion ; Control of exclusively fluid gearing, friction gearing, gearings with endless flexible members or other particular types of gearing specially adapted for continuously variable gearings with endless flexible members characterised by means for controlling the torque transmitting capability of the gearing
    • FMECHANICAL ENGINEERING; LIGHTING; HEATING; WEAPONS; BLASTING
    • F16ENGINEERING ELEMENTS AND UNITS; GENERAL MEASURES FOR PRODUCING AND MAINTAINING EFFECTIVE FUNCTIONING OF MACHINES OR INSTALLATIONS; THERMAL INSULATION IN GENERAL
    • F16HGEARING
    • F16H48/00Differential gearings
    • F16H48/06Differential gearings with gears having orbital motion
    • F16H48/08Differential gearings with gears having orbital motion comprising bevel gears
    • FMECHANICAL ENGINEERING; LIGHTING; HEATING; WEAPONS; BLASTING
    • F16ENGINEERING ELEMENTS AND UNITS; GENERAL MEASURES FOR PRODUCING AND MAINTAINING EFFECTIVE FUNCTIONING OF MACHINES OR INSTALLATIONS; THERMAL INSULATION IN GENERAL
    • F16HGEARING
    • F16H57/00General details of gearing
    • F16H57/04Features relating to lubrication or cooling or heating
    • F16H57/048Type of gearings to be lubricated, cooled or heated
    • F16H57/0487Friction gearings
    • F16H57/0491Friction gearings of the cone ring type
    • FMECHANICAL ENGINEERING; LIGHTING; HEATING; WEAPONS; BLASTING
    • F16ENGINEERING ELEMENTS AND UNITS; GENERAL MEASURES FOR PRODUCING AND MAINTAINING EFFECTIVE FUNCTIONING OF MACHINES OR INSTALLATIONS; THERMAL INSULATION IN GENERAL
    • F16HGEARING
    • F16H61/00Control functions within control units of change-speed- or reversing-gearings for conveying rotary motion ; Control of exclusively fluid gearing, friction gearing, gearings with endless flexible members or other particular types of gearing
    • F16H61/66Control functions within control units of change-speed- or reversing-gearings for conveying rotary motion ; Control of exclusively fluid gearing, friction gearing, gearings with endless flexible members or other particular types of gearing specially adapted for continuously variable gearings
    • F16H61/664Friction gearings
    • F16H61/6649Friction gearings characterised by the means for controlling the torque transmitting capability of the gearing
    • YGENERAL TAGGING OF NEW TECHNOLOGICAL DEVELOPMENTS; GENERAL TAGGING OF CROSS-SECTIONAL TECHNOLOGIES SPANNING OVER SEVERAL SECTIONS OF THE IPC; TECHNICAL SUBJECTS COVERED BY FORMER USPC CROSS-REFERENCE ART COLLECTIONS [XRACs] AND DIGESTS
    • Y10TECHNICAL SUBJECTS COVERED BY FORMER USPC
    • Y10TTECHNICAL SUBJECTS COVERED BY FORMER US CLASSIFICATION
    • Y10T74/00Machine element or mechanism
    • Y10T74/19Gearing
    • Y10T74/19219Interchangeably locked
    • Y10T74/19293Longitudinally slidable
    • Y10T74/19335Single spur gear
    • Y10T74/1934Tumbler and cone
    • Y10T74/19344Multiple cone

Landscapes

  • Engineering & Computer Science (AREA)
  • General Engineering & Computer Science (AREA)
  • Mechanical Engineering (AREA)
  • Friction Gearing (AREA)
  • Transmission Devices (AREA)
  • Lubricants (AREA)
  • Developing Agents For Electrophotography (AREA)
  • Retarders (AREA)
  • General Details Of Gearings (AREA)

Description

本発明は、摩擦でトルクを伝達することができる少なくとも2つの回転変速要素を有する回転変速機に関する。特に、本発明は、それぞれが2つの回転変速要素を連結する回転結合要素のため、少なくとも1つの動作表面を有する2つの回転変速要素を具備する変速機に関する。2つの回転変速要素の動作表面のうちの少なくとも1つは、この場合、異なる稼動半径を有する結合要素のための少なくとも2つの動作経路を好ましくは有するので、このように、連続的なおよび/またはほとんど無段変速が実行されることができる。
例えば、このタイプの配置は、コーン形の摩擦リング変速に関するEP0 878 641 A1から公知である。そこにおいて、対向するコーン形の角度を有する2つのコーンが取り付けられるので、それらの間に恒常的な距離が残るように回転することができ、かつ、リングは結合要素としてコーンのうちの1つを囲んで回転する。しかしながら、このタイプの配置が比較的大きな摩耗、および/または、不十分な変速パフォーマンスのみ、および/または、特に、より高い負荷で変速機の破壊に至ることが示された。
したがって、本発明の目的は、摩擦でトルクを伝達することができ、よりよい変速挙動、および/または、より長い耐用年数を有する少なくとも2つの回転変速要素を具備する回転変速機を提供することである。
この目的を達成するために、本発明は摩擦でトルクを伝達することができる少なくとも2つの回転変速要素を有する回転変速機を提案する。そこにおいて、少なくとも動作の間、隙間は変速要素の間で提供される。
このタイプの遠隔操作可能な動作を通じて、このタイプの変速機は、極めて低い摩耗によって組み込まれ、適切な相互作用メカニズムは、対応する変速要素と力および/またはトルク変速機のための結合要素との間で提供されている。好ましくは、圧力にもかかわらず隙間において残存したままで、必要な力および/またはトルクを伝達する流体および/または液体を経た結合は提供される。しかしながら、例えば静電または磁性の配置のような他の相互作用メカニズムもまた提供されてもよい。
本発明は、隙間および/または液体が少なくとも動作の間、コーンと摩擦リングとの間に置かれたコーン形の摩擦リング変速機のために特に適切である。このように、他に何もしなくともリングはまた、所望の速度伝達比のために配置されることができる。本発明は、しかしながら、変速要素が互いに摩擦で相互に作用する他の無段変速機にもまた、適切である。現在の文脈において、変速要素間の「摩擦の相互関係」という用語は、一方の変速要素からこの目的のためにこれらの変速要素の間に存在している明確な接続なしで他方の変速要素までトルクが伝達される相互関係を表現する。一般的に、比較的高制限のトルクより少なくとも上に、特定のスリップは摩擦の相互関係において存在する。このタイプのスリップは、非破壊的にしばしば発生し、そして、対応する変速機は、概してこれらの制限トルク以下で機能する。
代替的におよび/または累積的に、回転変速要素、および/または、摩擦リングのような結合要素の少なくとも1つが湿らされる液体として、メチル・シロキサン、ジメチル・ジフェニル・シロキサンおよび/またはフェニル基を有するメチル・フェニル・シロキサンからなる液体、特にシリコーンオイルは、上記の隙間に使用されることができる。特に、例えばフェニル・アルキル基またはフルオロアルキル基を含むジメチル・ポリシロキサンも使用されることができる。この場合、ジメチル・シロキシ基は、特にその中において個別にジフェニル・シロキシ基と、または、シロキサン・ブロックとして代替されることができる。
このタイプの液体は、用語「シリコーンオイル」として一般に公知であり、また、具体的にではないが、概して無段変速機の回転変速要素を湿らすための液体として、EP0 878 641 A1において開示されている。シリコーンオイルは、実地試験において、特に結合ローラまたは摩擦リングのような圧延結合要素での相互作用において、不都合であることが示された比較的軽微な潤滑性能を有するので、周知のシリコーンオイルでの動作の間、液体フィルムが壊れることが仮定される。しかしながら、シリコーンオイルは、他の液体と比較してその特性の高温担持能力において特に優れている。
メチル・シロキサン、ジメチル・ジフェニル・シロキサンおよび/またはフェニル基を有するメチル・フェニル・シロキサンから成る提案された液体は、特に、例えばジフェニル・シロキサン・ブロックがポリメチル・シロキサンに組み込まれる場合、おそらくフィルムの破損を防ぐ他の液体と比較して高い圧縮性において優れている。したがってオイルは、圧延結合要素を有する変速機のために温度/粘性および/または温度/圧縮性挙動において、このタイプのシステムのために見つけられた都合がよい挙動を有して提供され、その粘性および/または圧縮性は、温度に依存する粘性変化度および/または圧縮性変化度が変わるいかなるタイプもの液体であって、鉱油の粘性変化度および/または圧縮性変化度とジメチル・シロキサンの粘性変化度および/または圧縮性変化度との間にある液体は、非常に一般的に変速機に都合よく使用される。これらの特性を使用して、液体および/またはオイルは対応する変速機を十分になめらかにするので、高過ぎる運転温度に達しない。加えて、潤滑剤は、結合要素と対応する変速要素との間の十分な結合が妨げられるほど強くない。その上に、記載された圧縮性ウインドウは、加圧下でさえ液体の均一的な分配を妨げることなく部品を囲んでいる液体フィルムの十分な安定性を生じる。
特に、ポリジメチル・シロキサン、ポリジメチル・ジフェニル・シロキサン、および/またはポリメチル・フェニル基を有するフェニル・シロキサン、および/または、アルキル置換γ-トリフルオロプロピル置換ポリジメチル・シロキサンを有する液体が使用されることができる。
「シリコーン」はまた、例えば10から25%のフェニル基またはγ-トリフルオロプロピル基または他のアルキル基も、使用されるポリジメチル・シロキサンの置換基として含まれるような有機置換基において使用されることができる。
加えて、対応する液体が温度に関して安定し、かつ、可能な限り、鉱油よりその特性に関する変更が少ない場合、累積的におよび/または代替的に特に都合がよい。このように、対応する流体はより変質しないので、変速機の長い耐用年数は保証されることができる。さらに、例えば極めて高い負荷または極めて高速、または、冬における始動手順の間のような異なる作動状態においてさえ、流体の物理的な特性はできるだけ一定に保たれる。
ポリジメチル・シロキサンのフェニル・シロキサン・ユニットに関して、および/または、一般にシロキサンにおけるフェニル・シロキサン・ユニットに関して、それらは、所望の結果を達成するため、対とブロックとの両方において使用されることができる。加えて、上記した圧縮性は、結合要素と回転変速要素との間に残り、対応する液体で満たされ、かつ、高圧においてさえ液体により安定して架橋される隙間と協動して特に都合がよい。この場合、液体は力伝達のために使用されるので、本願明細書において起こっている剪断力は、積極的にではないが結合要素と対応する変速要素とを結合することができる。その上に、高い圧縮性は、小さい隙間のみが十分に高い剪断力および壊れない液体フィルムを実行し、また、隙間は、高圧およびこの高圧力に対する液体の高抵抗力のみにより維持されることが可能であるこの変速機が高いおよび/またはより高いトルクにおいてさえ可能であることを保証する。
温度安定性、圧縮性および/または粘性に関する隙間および/または液体に関する上述の考慮すべき問題は、個別にまたは共に連続変速のため、特に互いの上で回転する2つの変速要素を有する変速機のため、本発明による変速機の残りの特徴のそれぞれにさえ都合よい可能性があることは明らかである。
特に摩擦ロック装置、または油圧、流体静力学的、流体力学的、磁性または別の遠隔操作可能な相互作用、および/または明確な接続のない他の相互作用を経てさえ本質的に連結される変速要素のため、結合要素の変速要素の2つの動作経路からなる変速機において、これらの動作経路は、相互作用、例えば、適切な方法における表面圧または同様の何かを実行および/または適応させることを可能にするため、異なる表面を備える場合、都合がよい可能性がある。この場合、例えば、異なる幅および/または異なる表面組織および/または表面処理の溝または突起は、回転変速要素の少なくとも1つに沿って提供される。このように例えば、表面圧は変速要素の異なる半径に適応する。このタイプの表面のバリエーションが変速要素上の動作経路において都合がよいことは、本発明による変速機の残りの特徴のそれぞれにさえ明らかである。
動作経路から独立している相互作用の実施例のために、結合要素の表面はまた、仕上げがなめらかでなければならない。特に、表面は油圧相互作用の場合には適切な方法の剪断および圧縮力に影響するために溝または類似した何かを有することができる。加えて、結合要素はまた、接触している異なる変速要素のための異なる表面を有することができる。
よい剪断力の分配を保証するため、特に、液体フィルムが破損せずに結合要素の動作表面および/または対応する変速要素の対応する動作表面を湿らす液体との相互作用において、結合要素は、直線から逸脱する横断面を有する少なくとも1つの動作表面を有することができ、好ましくは凸面および/または冠部を持つ横断面を有する。十分な剪断力を伝達する連続液体フィルムは、したがって高圧においてでさえ保証されることができる。この場合、横断面の選択は、好ましくは液体に合わせて調整される。累積的におよび/または代替的に、結合要素の横断面は、特に下記のように、保持装置により片側のみ保持される直線から最適に逸脱することができる。なぜなら、このタイプの片側の保持装置は、結合要素に比較的大きい自由度を残すにもかかわらず結合要素と安定する方法で相互に作用することができ、直線から逸脱している動作表面により比較的不安定であるので、特に動作経路が変更する場合には、全体的なシステムはまた、低い力消費によって作動されることができるからである。
結合要素の表面デザインおよび/またはこのタイプの回転変速要素が、変速要素と結合要素との間に相互作用させるため、本発明による変速装置の残りの特徴に個別に、また都合よく使用されることができることは明らかである。
無段部分変速機を有する変速機において、特別な運転状況、例えば低速運転の間における後退用ギア、および/または、恒常的な安定した負荷がかかる間における課題の減少を保証するため、並列に結合される2つ変速経路で優れている無段部分変速機を有する変速機が提案され、無段部分変速機は、2つの変速経路の第1の経路において提供されている。
このタイプの配置は、第1の変速経路が無段変速機の利点を提供することができる一方で、特別な運転、および/または、負荷の状況が第2の変速経路により実行されることを可能にする。現在の文脈において、「2つの変速経路の並列回路」という用語は、共有されたインプット側の部分的な変速機間において、2つの変速経路が、例えば駆動軸のモータ、クラッチディスク、または類似した何か、および、共有されたアウトプット側の部分的な変速機、また、例えば自動車の主な差動装置のような(原文にてword missing)を有することを示す。共有されたインプット側の部分的な変速機と共有されたアウトプット側の部分的な変速機との間の、2つの変速経路は、このように異なる条件を満たすために、同時に交互に付加的におよび/または差別的に作動される。このタイプの配置が本発明の残りの特徴のそれぞれにさえ都合がよいことは、明らかである。
したがって、後退用ギア、第1ギアおよび/またはオーバードライブが、2つの変速経路の第2の経路に提供される場合、都合がよい可能性がある。これらの状況のため、無段変速機は、制限された方法かつ比較的大きい出費によってのみ使用可能であり、および/または、特にオーバードライブ、すなわち、高速および低トルクにおいて、大きい損失を受けさせられる。
少なくとも1つのフリーホイールが2つの変速経路の間で提供される場合、これらの変速経路は、複合の切替の出費なしでおよび/または複合の切替および調整技術なしで共に導かれることができる。
累積的におよび/または代替的に、連続的に可変の部分的な変速装置からなる変速機において、後者は、差動ギア部分または遊星ギア部分のような2つの電力分割器の間に位置することができ、連続的に可変の部分的な変速機の少なくとも1つのインプットは、インプット側の電力分割器の少なくとも1つのアウトプットに機械的に結合され、連続的に可変の部分的な変速機の少なくとも1つのアウトプットは、アウトプット側の電力分割器の少なくとも1つのインプットに機械的に結合されている。このタイプの配置を通じて、トルク変速機は、実行されることができるので、それは拡大されることができ、および/または、無段部分変速の調整範囲が拡張されることができる。このことは、2つの電力分割器が自然に損失に至るので、現行の知識に従って効率を犠牲にして起こることである。しかしながら、このタイプの配置は、連続変速機のための用途の幅の有意な増加を許容する。さらに、無段部分変速で処理されなければならないトルクはしたがって、損失が適切な実施で制限内に保たれるように減少することができる。なぜなら、無段変速機の低いトルクは、特にそれがコーン形の摩擦リング変速機である場合、より低い損失に導き、そこで電力分割器における損失を対応して減少することができるからである。
累積的におよび/または代替的に、少なくとも1つの前進用ギアと少なくとも1つの後退用ギアとを備え、独立して連続変速機が存在する変速機において、この前進用ギアとこの後退用ギアとを実行する差動ギアが提供されることができ、差動ギア部分の少なくとも1つのアセンブリは、ハウジング、および/または、差動ギア部分の他のアセンブリで交互に固定されることが可能である。このように、差動ギアの差動アセンブリがインプットとして使用されるように、前進用ギアおよび後退用ギアを有する変速機は、非常にコンパクトに実現されることができる。差動装置の中央アセンブリがそれから第2の差動アセンブリに結合される場合、1つの回転方向が実行される。対照的に、第2の差動アセンブリおよび/または差動装置の中央アセンブリがハウジングに結合され、このように固定された場合、固定されていない他のアセンブリは、上述したギア反転が実行されるその回転方向を変える。このような方法で、前進用ギアおよび後退用ギアを有する変速機は、特にコンパクトに実現されることができる。
加えて、累積的におよび/または代替的に、切替ギア部分を経た変速経路に交互に切替えられることができる少なくとも2つの変速段階を備える変速機が提案され、2つの変速段階の第1の段階は、無段部分変速を有する。このタイプの配置は、最初はシステムに反するように見える。なぜなら、連続変速はいかなるタイプもの切替を省くことが可能であるために備えられるからである。しかしながら、このタイプの配置は、その利点が実際に優れている場合にのみ、連続変速を許容する。例えば、比較的高いトルクは運転開始の間しばしば発生する、そして有意に連続変速を供給し、および/または、連続変速機の極端に大きい設計を必要とする。したがって、例えば別々に第1ギアを実行し、運転開始の後、無段部分変速を結合するだけであることは都合がよい。この場合、無段部分変速は、2つの変速段階の一方から他方への切替手順の前に、第2の変速段階の速度は、第1の変速段階の速度へと無段変速機によって適応するような方法で特に必要な大きさにされるので、第1の変速段階から第2の変速段階まで、および/または、第2の変速段階から第1の変速段階までの移行は、本質的に連続的に発生することができる。このように、連続無段変速機の利点は、運転開始の間、例えば起こることができるので、不利な点を受け入れる必要なく最適に利用されることができる。
これはまた、本質的に一定のアウトプットを有する、および/または、本質的に一定のトルクを有する状況において、速度変更はモータの速度変更により実行されることができるので、無段部分変速は本質的に不可欠ではないということはあてはまる。このタイプの作動状況において、無段部分変速は、結合された変速段階によって避けられる典型的に高い損失−例えばスリップにより生じる−を有する。切替はまたこの場合、運転の時点で実行されることが可能である。ここで、このタイプの段階変更は、自動車乗員に目立たないかまたはわずかに目立つだけである。特に、無段変速機はこの目的のために適切な作動状況に導かれることができる。例えば、フリーホイール経由でのこのタイプの変速段階の係合および/または分離も考えられる。
加えて、無段部分変速からなる変速段階に加えて係合されることができる変速段階は、例えば前進用ギアと後退用ギアとの間、および、運転開始ギアを切り替えるために使用される差動ギア要素を備えることができる。特にこのタイプの実施例において、前進と後退用ギアとの間で切り替えをするために必要である差動ギア要素のアセンブリが摩擦クラッチを経て固定する場合、可能な限りの最も細かくかつ均一である切替が実行されることができるということは都合がよい。
切替ギア部分を経て変速経路に交互に切替えられる2つの変速段階を有する変速機において、2つの変速段階の第1の段階は、無段部分変速を備え、切替ギア部分は、無段部分変速をトリロクコンバータ、または、モータアウトプットシャフトに直接結合した他のアセンブリのポンプホイールに連結することができ、そして、第2の変速段階は、トリロクコンバータのタービンホイール、または、他の接続可能なモータアウトプットアセンブリに連結することができる。このように、特に通常の動作状態においてモータアウトプットは、無段部分変速に直接伝導されることができる。その一方で、特に運転開始手順の間、高トルクが第2の変速段階に伝達されることができるので、それは無段部分変速に関連して外される。これは特に、トルク・オーバーロードが自然に発生し、別途有意に無段部分変速を供給するトリロクコンバータのタービンホイールとの相互作用において特にあてはまる。
特に電動モータと結合して、同軸的に配置された駆動およびアウトプットを有する無段部分変速は、このタイプの配置において、ハウジングに作用しているトルクが特にコンパクトな方法で最小化されることができるので、本発明による変速機の残りの特徴から独立してさえも都合がよい。好ましくは、差動ギア部分は、連続変速のアウトプットにより駆動される同軸のアウトプットにおいて提供される。連続変速機のアウトプットは特に自動車で、いずれにしろ提供されなければならない差動ギアのさらなる中間段階なしで作用するので、この配置は特にコンパクトである。さらに、歯車または他の変速機は、同軸駆動およびアウトプットを提供するためにいずれにしろ一般的に必要とされるので、差動ギア部分のために追加部品が必要にならない。上記した配置は、特に電動モータ駆動と関連して適切である。その配置は、電動モータの速度が結局のところほとんど任意に調整可能であるので、最初は無段変速機に電動モータを結合するシステムに反するように見える。しかしながら、無段変速機は、電機モータに好ましいトルク/電流強度比率を有する速度での作動を許容する。このように、対応する動力伝達系路の総合効率は上昇することができ、および/または、特に低速度での電流の必要量は減少させることができる。
本発明の変速機であるが異なる無段変速機もまた、例えば運転開始クラッチ、コンバータ、摩擦ディスク、油圧クラッチおよび/または同期のような解放点において駆動またはアウトプット側で機械的に結合されることができる。本質的に無段変速機に反するこの配置は、連続変速および/または駆動が運転開始手順で手入れされるので耐用年数が延長されるという利点を有する。アウトプット側に提供された始動クラッチおよび/または解放点は、このタイプの配置において、停止調整は動いているモータで可能であるので、特に都合がよい。加えて、始動クラッチおよび/または駆動側上の解放点は、必要な場合、他の変速要素に接続を与える。
2つの部分変速機のアウトプットは、続く変速経路の駆動において好ましくは係合し、部分変速機はこのように再び好ましくは共に導かれる。続く変速経路のこの駆動が、主な差動装置、すなわち、被駆動自動車軸の2つのホイールを結合し、かつ、駆動する差動装置である場合、変速機は特にコンパクトに作られる。このタイプのコンパクトな構造は、コストが減少することができるようなより少ない部品数に反映される。加えて、このタイプのコンパクトな構造は、自動車のための総コストがさらに減少することができるようなより小さい全体量に結びつく。
具体的な実施次第で、2つの部分変速機のうちの1つが後退用ギアを備え、場合により第1速ギアを有し、一方で第2の部分変速機が無段変速機、特にコーン形の摩擦リング変速機を有する場合、都合がよい可能性がある。特にこれらの部分変速機の第1の変速機が独立した第1速ギアをなしにする場合、これは、上述の利点を有する特にコンパクトな構造に結びつく。
2つの部分変速機は、好ましくは各々係合され、および/または、分離されることができる。これは、特にクラッチを経て特定な部分変速経路を中断することによって実行されることができる。まず得られた近似の結果において、この中断がどの点で実行されるかは、この用途においては役に立たない;駆動側、および、アウトプット側の両方において、この解放以降に配置された変速要素は、それ以上無負荷で進行することができないので、2つの部分変速経路は、2つのクラッチを各々備える必要がない。しかしながら、フリーホイールの変速要素を原因として生じる損失を避けるため、多数のクラッチが部分変速経路において提供されることができる。しかし後者は、代わりにコストに関して効果を有する部品数および必要な取付けスペースを増加させる。
並列の部分変速機を有するこのタイプの連続変速機の構造が、本発明の残りの特徴に独立してさえ都合がよいことは明らかである。これは、連続変速機としてコーン形の摩擦リング変速機と関連して特にあてはまる。なぜなら、このような方法でコーン形の摩擦リング変速機によって生じる回転方向反転の利点は、コンパクトに他の部分変速機によって、非常に効果的に実行することができるからである。
コンパクトな構造に関して、無段変速機、特にコーン形の摩擦リング変速機において、無段変速機を備えている変速経路を係合しておよび/または分離するために使用され、無段変速機要素の内部の1つ、例えば、特定の無段変速機のコーン内部に備えられるクラッチ要素が、さらに提案される。無段変速機において、比較的大きい相互作用表面が本質的な変速要素に提供されなければならないので、対応する変動性が保証されることができる。これらの大きい相互作用表面を備える変速要素内のこのタイプのクラッチ要素の配置を通じて、これらの変速要素内部の他の未使用の全体的なスペースを使用することができるので、本質的な全体のスペースを節約することができる。このタイプのクラッチ要素の配置が無段変速機の本発明の残りの特徴から独立してさえ対応する利点を示すことは、明らかである。
加えて、2つの変速要素間に十分な相互作用力を提供するため、圧力装置を経て互いにそれらを支えることは、異なる軸において回転している2つの変速要素を有する変速機において、しばしば必要である。圧力が、トルク伝達機能として場合により選ばれるということはまた、とりわけそれらが摩擦で相互作用する場合、無段変速機に特にあてはまる。
このタイプの配置において、閉鎖によって第3の変速要素に2つの変速要素を開く、および/または、係合することにより、第3の変速要素からこれらの2つの変速要素を分離するクラッチ部を交互に提供するので、特定の変速経路が変速機全体に交互に係合できることは、本発明の残りの特徴から独立して都合がよい可能性がある。このタイプの配置において、クラッチ要素を閉じるのに必要な力は、好ましくは圧力装置によって適用される。したがって、クラッチ要素が圧力の経路に置かれる場合、都合がよい。
このタイプの配置において、適切な点で圧力を補うためのクラッチの開放は十分なので、圧力は対応するクラッチをもはや供給しない。このような方法で対応するクラッチは開き、そして、2つの変速要素はしたがって分離される。特に圧力装置がトルクの機能として作動する場合、開いたクラッチを原因としてトルクが伝達されないので、直接圧力減少に結びつく。このように、開くために適用される力は、本質的な程度を直接減少させる。加えて、圧力の縮小もまた、おそらくまだフリーホイールで走っている変速要素によって生じるかもしれない損失の縮小を生じさせる。クラッチを閉じるためには、対応する反対の力を単に減少させるだけであるので、圧力装置は再び使える状態にある。したがって、クラッチを閉じるのに追加のアセンブリは必要でない。
さらに累積的におよび/または代替的に、残りの変速機と直列にアウトプットの後ろで提供される後退用ギアを有する無段変速機、特に、コーン形の摩擦リング変速機が提案される。このタイプの配置は、変速機が一定の回転方向を使用して作動され、起動に関しておよび/または摩擦リングの調整に関して無段変速機のために都合がよい可能性のある利点を有する。加えてこの配置も、後退用ギアの連続的に変化を許容する。
後退用ギアの配置に関して、「直列に」、「前に」、および/または「後に」という用語は、連続変速機を備える動力伝達系路の力の流動に関する。したがって、本発明では、後退用ギアはモータから離れて動力伝達系路に面する無段変速機の側部において直列に提供される。
後退用ギアは、遊星ギアの少なくとも1つの変速要素を取り付け、かつ、ハウジングおよび/または回転変速要素を交互に固定する少なくとも1つの回転ギア・マウントを有する遊星ギアを好ましくは含む。このタイプの配置によると、後退用ギアは、― 必要に応じて ―対応して回転変速要素を交互に固定することによって、 駆動の回転の間でさえ、すなわち、コーン形の摩擦リング駆動および/または無段変速機の回転の間でさえ切替えられるように提供される。このタイプの固定は、適切なクラッチおよび/または同期によって適切に慎重に実行されることが可能である。このタイプの転換能力は、回転用状況において変化するその速度伝達比を有するのみでよいコーン形の摩擦リング変速機の条件に合わせて特に調整される。
後退用ギアは、遊星歯車を有する遊星ギア、太陽歯車、および、第1の変速要素が無段変速機のアウトプットに機械的に結合され、かつ、第2の変速機要素が無段変速機および後退用ギアでできている全体の配置のアウトプットに機械的に結合される外付けホイールを特に備えることができる。一方で、第3の変速要素は、ハウジングに関連する自由度に関して少なくとも固定されることができる。
遊星ギアは、変速要素のうちの1つ−外付けホイール、太陽歯車、遊星歯車、(後者はそれらの内在する回転能力を都合よく維持している)−が固定される場合、有利な性質を有する。そして、特定の他の変速要素は、さらに回転することができ、そこから生じる速度伝達比に従って互いに相互に作用する。特に、変速要素の対応する固定、とりわけ自由度に関する固定によって、残りの2つの変速要素間の相対速度の大幅な変更が生じるので、相対速度のこの変更は、後退用ギアを制御するために使用されることができる。
遊星歯車が第3の変速要素である場合、後者は特に保証される。遊星歯車が遊星ギアにおける対応する太陽歯車の周りで、それらの回転自由度において固定される場合、方向における逆回りは、外付けホイールと太陽歯車との間で直ちに発生して、対応する後退用ギアが実行される。そして、特定の前進用ギアが対応して動いている遊星歯車によって実行される場合、変速比は、−必要な場合−遊星ギアを通じて適切な方法で選ばれることが可能である。
無段変速機、および/または、特にコーン形の摩擦リング変速機および後退用ギアで作成される全体の配置は、第1の変速要素がコーン形の摩擦リング変速機のアウトプットコーンと共にピニオン回転により駆動される場合、特にコンパクトに造られる。このタイプの配置は、コーン形の摩擦リング変速機と後退用ギアとの間で即座かつ直接的な力、および/または、トルクの流動を保証するので、全体の配置は、極めてコンパクトに造ることができる。したがって現代の自動車に対して極めてコスト対効果が高い。
後者の条件に関して、第2の変速要素が回転し、差動装置の回転マウントに結合する場合、累積的におよび/または代替的に有利である可能性がある。特に自動車の使用と関連して、主な差動装置はしたがって都合よく使用されことができ、その結果、後退用ギアが直にかつ直接差動装置に組み込まれ、後退用ギアの駆動側実施例とは独立して、特にコーン形の摩擦リング変速機と関連してコンパクトな構造が生じる。
特に通常運転に関して、第1および第2の変速要素が互いに固定することができる場合、有利である。後退用ギアに関する切替処理の具体的な実施例に従うと、このタイプの調整はまた、遊星ギアの所望の作動状況を固定するために他の方法が都合よく使用されることができる。第1および第2の変速要素は互いを固定することができるので、遊星ギアを経た直接の力の流動が保証される、その結果、この作動状況において、遊星ギアは本質的に損失なしで作動する、そして、特に前進のギアに関して、全体の配置は極めて高い効率で作動する。第3の変速機および2つの第1の変速要素の交互の固定は、好ましくは適切に連結されるので、遊星ギアが各々の状況において確実に回転する。この点に関しては、第1および第2の変速要素が外付けホイールおよび遊星ギアの太陽歯車によってそれぞれ形成され、第3の変速機要素が遊星歯車により形成される場合、変速要素間の必要な相互作用は、このように、非常に単純にそしてコンパクトに実現されることができるので特に有利である。このことは、第2の変速要素が差動装置の回転マウントに直接結合、および/または、それとともに一体の部分で実行され、および/または、第1の変速要素がアウトプットコーンで動いているピニオンにより直接駆動される場合、特にあてはまる。このタイプの実施例において、全体の配置、特に、補完的な自動車クラスにおける高部分数および変化のため、その全てが同方向の駆動によって実行される典型的な自動車駆動における配置は、極めてコンパクトになり、したがって、極めて小さい車両において使用可能でさえあるコスト効率が高い変速機になる。
摩擦ロックまたは明確な接続のような、非常に異なる固定のタイプは、自由度に関するハウジングに関連して例えば、回転変速機マウント、および/または、遊星歯車、または、第3の変速要素を固定するために都合よく適用されることができる。滑らかな移行を許容し、かつ、 ― 具体的な実施例に従うと ― 回転の間、後退用ギアのスイッチを入れることさえも許容する摩擦ロック接続が特に都合がよいことが示された。しかしながら、後者が、比較的高い力および摩擦損失を生じるため、すべての用途のために有利であるというわけではないので、モータとコーン形の摩擦リング変速機との間の始動クラッチは、このタイプの場合特に都合がよい可能性がある。具体的な用途に従うと、周知の変速機と関連して概して典型的であるので、クラッチ、傾斜ブレーキ、同期および類似した配置は固定のために適切である可能性がある。
このタイプの後退用ギアの配置がまた、変速機に対応する上記の利点を提供するため、本発明の特徴に累積的におよび/または代替的に有利であることは、明らかである。コンパクトさの程度、および、その理由からの使用されるアセンブリの数、および/または、そこから生じているコスト削減、および/または、モータの回転方向は、この場合最前面において際立っている。
低い損失で確実により高いトルクを伝達することができる無段変速機を提供するため、このタイプの変速機が上述の特徴に対し、累積的におよび/または代替的に、平行に変速経路に置かれる少なくとも2つの無段部分変速を有して提供されるように提案される。この2つの無段部分変速は、インプットおよび/またはアウトプット要素において加重ギアを経て切替えられる。
加重ギア、また重ね合せギアと呼ばれているギアの使用は、関連技術で必要であった、部分変速機の変速要素のうちの1つのための同一の速度および/または正確に固定された速度を必要としないという利点を有する。むしろ両方の部分変速機は、それらの自身の速度に依存する貢献を加重ギアの結果として生じる速度に供給する。本発明の配置は、したがって部分変速機の起動、さらに別個の調整の両方を許容し、ゆえに、2つの無段部分変速への無段変速機の分解から生じる、例えば2つの部分変速機上へトルクを分けるような利点を強制速度から生じる摩擦損失または、このために増加する調整コストのような不利な点を受け入れずに使用する。
非対称であり、そのため本質的に自由である加重ギアを経た2つの部分変速機の切替はしたがって、特に効率に関して、そして、コントローラ上の条件に関して、遊星ギアの遊星歯車の連結により強制されているように、対称の場合には可能でないような変速機の概念および/または使用法に関する意外な方法において利点を生じる。
本発明の加重ギアの典型的見本は、例えば、3つのギア部品(遊星歯車、太陽歯車、外付けホイール)のうちの2つは2つの部分変速機に連結され、第3ギア部品はアウトプットおよび/または駆動として使用され、遊星歯車は、ギア部品、および/または、2つの部分変速機が差動装置の差動要素のうちの1つに各々結合された差動装置として共に使用されている遊星ギアである。
2つの無段部分変速は、加重ギアから離れて面する側部上の共有された変速要素を有することができる。例えば、これは共有されたインプットシャフトまたは共有されたアウトプット軸であってもよい。これはまた、特に両方の部分変速機によって共に使用される2つの無段変速機の直接の変速要素であってもよい。コーン形の摩擦リング変速機のこの用途のために、例えば、コーンのうちの1つが共有された変速要素として提案される。このタイプの実施例を通じて、対応する変速機の要素の総数が2倍の使用により最小化されることができるので、このタイプの変速機は、比較的コンパクトに、かつ、コスト的に効率よく造られる。
現在の文脈において、「加重ギアから離れて面する側部」という用語は、変速機を通じた力の流動により定義される変速経路における方向を表現し、幾何学的および/または空間関係と絶対的に一致する必要はない。
様々な無段変速機は、インプットおよびアウトプットシャフト、入出力コーンまたは類似した回転対称ボティのような必須のアセンブリが配置され、このように変速面を定義する主な変速面を有する。2つの部分変速機の2つの主な変速面が互いに並列して配置される場合、本発明の変速機は特にコンパクトに造られる。2つの部分変速面が同一の場合、特に平坦な構造が達成される。このように実施される本発明の変速機は、極めて平坦に造られて、さらに比較的大きいトルクにさえ対処することができる。とりわけ、このタイプの変速機は、例えば荷重表面の下での取付けのためその全体のスペースに関して特によく設計され、さらに、何よりも現代のディーゼルエンジンの高トルクに対処することができるので、特にディーゼルエンジンを有する小さいトラックに適切である。
加えて、切替ギアおよび/または後退用ギアのようなさらなる調整可能な部分変速は、無段部分変速と加重ギアとの少なくとも1つの間で提供されることができる。このタイプの配置を通じて、特に連続前方及び後方の駆動の可能性のある非常に幅広い駆動挙動を有する変速機が実行されることができる。特に、アウトプットがトルクなしで止まるような方法で、駆動動作においてでさえこのタイプの変速機をフィードバックすることが可能である。
たとえ本発明が関連技術による変速機に関して全体の変速効率をかなり増加させても、無段変速機は、始動手順後またはハイウェイやフリーウエイ上におけるような、特に比較的一定の運転条件のもとで比較的高い損失を見せる。このタイプの損失を避けるため、特に無段変速機が不可欠ではない運転条件の下で、無段変速機の少なくとも1つが回避されることができる場合は有利である。このように、例えば上述の運転条件の下において、その比較的高い損失を有する無段部分変速は回避されるので、これらの運転条件の下における効率が増加する。このタイプの2つの無段変速機の使用が本発明の残りの特徴から独立してさえも有利でさえあることは、明らかである。
本発明のさらなる利点、目的および性質は、添付の図面に続く記載に基づいて説明される。そこにおいて、典型的な変速機は例示される。

図1から3において図示された変速機は、被同期切替ギア3を経て動力伝達系路に交互に切替えられることができる本質的に2つの変速段階1、2からなる。
この場合、第1の変速段階1は、コーン5を囲む一方で摩擦リング7が動くコーン4と5との間に、隙間6が残るように対向して位置する2つのコーン4、5を有するコーン形の摩擦リング変速機を有する。その結果、このコーン形の摩擦リング変速機がトルクを伝達し、コーン4は、変圧を適用する一方で支柱ベアリング9と10との間で2つのコーン4および5を支える圧力装置8を含む。
特に図1および4から明らかであるように、コーン4は、動作表面12に加えて、その間で圧力装置8が作動する支柱要素11を有し、圧力装置8は、動作表面12に関して軸方向に締結要素11を移動させることが可能であるので、支柱要素11は、支柱ベアリング9に支持され、そしてさらに、摩擦リング7に対して動作表面12を押圧する。この圧力は、第2のコーン4および補完的な支柱ベアリング10によって対処される。
詳細には、圧力装置8は2つの円板ばね13、14を含み、同様に、2つの圧力要素15、16、および、圧力要素の間に位置する2つのローラ要素17を含む。図2からすぐに明らかであるように、円板ばね13、14および圧力要素15、16は、圧力に関して連続に配置されるので、より正確で再生可能な圧力の設定に導く、関連技術におけるよりもかなり大きい移動作用がトルク変更の場合には圧力要素15に残される。加えて円板ばね13は、動作表面12および/または圧力要素15を有するアセンブリの対応する突起に係合する放射型凹部18、19を有する。このように、円板ばね13は、動作表面12および圧力要素15を有するアセンブリ間にトルクを伝達し、それを通じて圧力要素15は、動作表面15[訳注]*2を備えたアセンブリに関して、トルク装着摺動運動から外される。このことは、同様に結果として生じるトルク依存の圧力のより高い再現性につながる。回転体17は、この例示的な実施例において可変の深さを有する特定の圧力要素15、16の経路で動作する。このように、圧力要素間のトルク依存距離が実行され、圧力要素15、16がトルクの発生によって外周周辺で移動する場合、回転体17は、結果として生じる圧力の高い再現性を保証する。上述の特徴が生じる圧力の再現性を互いに独立して都合よく保証することは、明らかである。
加えて、ボール17の代わりに、ローラおよび/または圧力要素上に静止して固定された回転体のような他の回転体が使用することができることは、明らかである。さらに、駆動コーン5におけるこのタイプの圧力装置を提供することもまた考えられる。
機械配置の代わりに、しかしながら、別の実施例で、流体力学的または流体静力学的な軸のベアリングのような、トルク依存圧力を実行するために測定されたトルクに基づいて起動する動力付アクチュエータもまた圧力装置に備えることができる。
加えて、圧力要素15、16の移動、および/または、動作表面12および外周周辺に存在する支柱要素11からなる部品の移動、または例えば、支柱ベアリング9、10上の軸方向の力のみが発生しているトルクを決定するために使用されることができることは、明らかである。
図1から5における例示的な実施例ではさらに、無段コーン摩擦リング変速機2に関して駆動側にトリロクコンバータとして実行される始動クラッチを含む。このため、コーン形の摩擦リング変速機1からなる変速段階は、切替ギア3、および/または、駆動歯車35、および被同期歯車34を経由して直接トリロクコンバータ20のポンプホイール21に接続可能であり、始動は、トリロクコンバータのタービンホイール22を経て、および、差動装置ギア部23を経て実行されることが可能である。後の差動装置ギア部23の差動装置側部24は、第2の差動装置側部25がこの変速段階のアウトプットから使用され、歯車26を経由して結合される一方で、タービンホイール22、および、変速機全体におけるアウトプットピニオン33からなるメイン・アウトプットシャフト28の歯車27にしっかりと結合され、歯車27もまた、コーン形の摩擦リング部分変速機1のアウトプット29と係合している。
アウトプットピニオン33は、例えば自動車の主差動装置と係合することができる。差動装置ギア部23は、交互にハウジング32上に、またはアウトプット25上に差動装置ギア部23のメインインプットを固定する2つの摩擦クラッチ30、31を備える。このように一見して明らかであるように、アウトプットの回転方向は変更されてもよく、それにより他に何もしなくとも前進用および後退用ギアは実行されることができる。クラッチ30、31が開いている場合、差動装置およびタービンホイール22も惰性で走るので、コーン形の摩擦リング変速機が、アウトプットの連結にかかわらず使用されることができる。
この配置は、始動のためにおよび/または後退用ギアにおいて利点を有し、トリロクコンバータ20の利点が使用されることができる。加えて、前進及び後進ギアは、差動装置23により極めてコンパクトな方法で実行される。さらに、スイッチ3によって、大きなアウトプット損失、および、通常運転におけるスリップを通じた過剰なトルクの増加を引き起こすトリロクコンバータ20の不都合は、タービンホイール22はスイッチ3により短絡され、コーン形の摩擦リング部分変速機1はポンプホイール21を直接経由して駆動されるので、避けることができる。2つの変速段階1および2のアウトプット側の連結は、コーン形の摩擦リング部分変速機1がその変速比に関して、2つの変速段階1および2もまたインプット側にほとんど同期するように2つの変速段階1と2との間の切替手順の前に設定されるのを許容する。残りの同期は、切替ギア3自体によって実行され、トリロクコンバータ20はまた、サポートとして作用することが可能である。
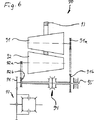
図6に示される変速機配置において、2つの回転し、かつ対向する同軸的に配置されたコーン91、92もまた、コーン91、92のマンテル面の間に残る隙間に沿って移動することができる摩擦リング93を経て互いに機械的に結合されるので、異なる変速比が実行されることができる。この構成では、駆動コーン91およびアウトプットコーン92は、自動車の主差動装置97とピニオン96を経由して交替で係合する主アウトプットシャフト95上へ同期94を経由してスイッチで切替可能である。この配置において、駆動コーン91およびアウトプットコーン92は、同一数の回転方向反転で主アウトプットシャフト軸95に結合される。その結果、回転方向反転は同期94によって直ちに保証される。この配置は、前進及び後進ギアの最小数のアセンブリでの実行を、したがって極めてコスト効率が高い方法で許容する。回転方向反転は、この場合、歯車または回転ベルトの係合により、コーン91、92のうちの1つのみと同期94と間で交互に生じることができるので、第1速ギアまたはオーバードライブもまた、必要に応じてこの配置を通じてコスト的に効率よく表されることができる。駆動の回転方向に依存して、ピニオン91aおよび/または92aおよびホイール91bおよび92bは、ベルト配置を経由して結合、または、直接係合されることができる。加えて、ピニオン96と主差動装置97との間で回転方向を逆転させる歯車を備えることは考えられる。
同期は好ましくは休止設定および/または中央位置を備えるので、コーン91、92は惰性で走ることができる。このように、車両が止められる場合でさえ、摩擦リング93および/または他の結合要素は調整されることができる。
図6に示された配置は、コスト効率が高い方法で前進及び後進ギアを提供するため、コーン形の摩擦リング変速機の回転方向反転を特に使用する。これはしたがって、回転方向を逆転させる他の全ての無段変速機に適切である。
加えて、図1から5における配置のように、図6に示された配置は、トルクがコーン形の摩擦リング変速機91、92、93の周辺に伝導されることができるのを使用してアウトプット側と駆動側との両方の上に変速要素を有する。
図7に示される動力伝達系路もまた、図1から5における例示的な実施例に記載のように、駆動側上の電力分割器41、および、アウトプット側上の電力分割器42に割り当てられる無段部分変速としてのコーン形の摩擦リング変速機40を備える。この場合、第1速ギア43は、すでに記載されたように、駆動側上で同期した電力分割器41および42を経由してコーン形の摩擦リング変速機40と並行して結合され、摩擦クラッチ44、45を経由して、駆動46とアウトプット47との間で動力伝達系路に交互に切替えられることが可能である。
図8において例示的に示された実施例は、特にコーン形の摩擦リング変速機において、連続変速機で両方の側面上での同軸アウトプットを都合よく実行する、駆動およびアウトプットの同軸配置を示す。この配置は、比較的低いハウジング負荷となり、極めてコンパクトに造られ、アウトプットシャフト50は好ましくは ― 特にこの例示的な実施例において ― コーン形の摩擦リング変速機52の駆動コーン51を貫通している。この配置は、また他のタイプの連続変速機において、特に電動モータとの結合において都合がよく、アウトプットシャフトはまた、後者の場合において電動モータの電機子軸を通じて貫通することが可能である。
モータ(図示せず)は、したがって駆動53経由で駆動し、この例示的な実施例において、駆動コーン51は、交替でアウトプットコーン55に作用する。このコーンは、アウトプットシャフト50に設置されたアウトプットホイール57にピニオン56経由で機械的に結合される。
ハウジング60が電動モータのハウジング61に配置される図9に示された変速機は、類似した構造を有する。例示的な実施例においても同様に、電機子軸53は空洞として実行され、アウトプットシャフト50により貫通される。アウトプットピニオン56は、しかしながら、2つの部分の駆動軸50に交替で結合される差動装置59の駆動輪58によって係合する。歯車は、とにかくこの点で提供されなければならないので、この配置は極めてコンパクトに造られる。加えて、この配置はモータと連続変速機との間での補足として、トルク削減のための遊星ギア62を有するので、無段変速機はオーバーロードしない。
図10に示されるコーン形の摩擦リング配置80は、図7、8および9における配置と結合して特に適用され、極めてコンパクトに、後退用ギアを実行する。この変速機80は、リング83経由で互いに相互作用する2つのコーン81および82を含む。コーン82は、通常のコーン領域(D)に加えて、変速機ハウジング86において交替で取り付けられるように固定され、かつ、その内部はコーン82のコーン形の軸87上で回転する遊星歯車85の周囲を回転するコーンリング84により、この例示的な実施例において実行される反対方向において回転している領域(R)を有する。このように、コーンリング84は、コーン82の残りの部分に対向して回転する。さらに、コーン82は、リング88を含むニュートラル領域(N)を有し、交替でコーン軸87に載置されるので、自由に回転する。
この構成において、摩擦リング83は、コーン82の主領域(D)から、ニュートラルの領域(N)に最初に移動することができ、コーンリング88は、メインコーン82および摩擦リング83によって予め設定される回転にそれ自体を適応させる。摩擦リング83が逆の領域(R)に向かう方向にさらに移動する場合、主領域(D)から離れるので、ニュートラルの領域(N)の回転方向は、後退用リング84の回転方向に適応されることができる。このように、後退用ギアは極めてコンパクトに実現される。
力および/または速度の分割機および/または加算器41または42が最適に切替えられ、変速比が最適に選ばれる場合、コーン形の摩擦リング変速機40および回転軸43が回転しても、アウトプットシャフト47の停止が実行されるので、このタイプの後退用ギア80、および/または、周知の方法で実行される回転方向反転のための配置さえも、図7において例示的に示した実施例では特に都合がよい可能性がある。このように、車両におけるすべての運転状況、すなわち、後進、前進および停止は、移行およびさらなるクラッチなしで実行される。そして、クラッチまたはさらなる変速段階が、満載状態または連続的な負荷動作のような追加的な運転状況に提供されることが確かにまだ可能である。
本質的に図1から5における配置と対応していて、繰返しの説明は省かれている図11から18に示される配置において、被同期切替ギア123および/またはコーン形のクラッチ134経由で動力伝達系路に交互に切替えることができる2つの変速経路101、102は、提供される。この場合、第1の変速経路101はまた、コーン105を囲む一方、摩擦リング107が動くコーン104、105の間に隙間6が残るように対向して配置された2つのコーン104、105を有するコーン形の摩擦リング変速機を有する。このコーン形の摩擦リング変速機がトルクを伝達することができるように、コーン104は、可変圧が適用される一方で、本質的に公知のおよび/または上記に記載の方法において2つのコーン104および105を支柱ベアリング109、110の間で支える圧力装置108を備える。このため、圧力装置は、円板ばね120を経て、および、以下に説明されるように、圧力装置108がトルクの機能として、拡大し、かつ、ベアリング109、110に対してそれ自体を対応して支持し、トルクの機能である圧力は適用されて支えられる2つの転動体117およびガイド本体118および119を有する。
特に図11から明らかであるように、後退用ギアは、その変速経路102が主変速経路から分岐することを用い、駆動輪124を含む。切替ホイール125は、主差動装置115の外付けホイール127に交替で直接係合するピニオン126に被同期切替ギア123経由で連結されることができる中間のホイール130および133を経て駆動される。全体の配置は、極めてコンパクトに造られ、そして、駆動輪124が被同期切替ギア経由で駆動軸121に接続可能であり、かつ、外付けホイール127と直接係合する場合、さらによりコンパクトに実現されることができる。
この後退用ギア102に加えて、配置は連続変速機101によって実行される前進用ギアを含む。前進用ギアは、ピニオン129経由で外付けホイール127に、そして、したがって後退用ギア102に連結され、クラッチ134を経て係合され、かつ、分離される。一見して明らかであるように、部分変速経路101および102の特定の変速要素も、ギアが入っていない状況において惰性で走る。
上記で既に示されたように、圧力装置108は、クラッチ134と共に作用する。作動モードは、図15から18に基づいて最もはっきりと参照されることができる。図15および16に示されるように、圧力装置108は、伝達されたトルク機能として拡大することができる。この場合、図15は高いトルク、したがって高圧での配置を示し、図16は低圧での配置を示す。圧力は、トルクの機能として本質的に生成され、支持体119は、対照物150を経て、および、アウトプットシャフト151を経て支柱ベアリング109上にそれ自体を支持する。アウトプットピニオン129もまた、シャフト151上に設置される。加えて、シャフト151は、ニードル軸受152を経て中心にある本体153上放射状に載置される。トルクは、歯154(図18を参照)および155を経てアウトプットコーン104から、アウトプットピニオン129まで伝達される。
圧力装置108において、これらのトルクがコーン117の移動を生じさせるので、圧力は、図15および16において明らかであるように、所望の方法で変化することができる。図15から18まで一見して明らかであるように、2つの本体119および150は、コーン面156、157(図18参照)経由で互いに対して押圧する。最後に、2つのコーン面156、157は、圧力装置108によって閉じられる作動中のクラッチ134を形成する。クラッチ134を開けるため、全体の配置は、その中でピストン159が動き、油圧線160経由でそれに適用される圧力を有するハウジング上に固定されるシリンダ158を有する。ピストン159は、軸のベアリング161および支持体162経由で支持体119に載置される。ピストン159がそれに適用される圧力を有することができる場合、圧力装置108の圧力から、クラッチ134の本体150を外す。クラッチ134が開くと、トルクはもはや伝達されないので、圧力装置108は弛緩し、非常に軽微な圧力のみがクラッチ134を開く、または、それを開いていておくために適用されなければならない。クラッチ134が開いている場合、図18において参照されるように、隙間163はコーン面156、157の間に残る。ピストン159および油圧線160の代わりに、本体119は外され、かつ、クラッチ134は開けられるような他の手段を備えることができることは、明らかである。クラッチ134を回避する一方、全体の変速機のハウジングに支持されることができる本体119を用いたあらゆる手段は、特に適切である。
ピストン159も回転しないので、比較的コスト的に効率よく封止されるという点で、図15から18に示された配置は、特に優れている。
配置は特に、クラッチを閉じるのに追加的な装置が必要でない利点を有する。加えて、閉鎖力は、圧力装置がいずれにせよこの点に関しては対応して備えられるので、伝達されるトルクの機能であり、かつ、それと共に増大する。
図19および20に示される配置は、直列にそれとともに結合されるコーン形の摩擦リング変速機201、および、後退用ギア202を各々備える。これらの例示的な実施例において、コーン形の摩擦リング変速機201は、本質的に全く同じに造られる、そして、各々は、軸方向に平行して配置され、かつ、互いの方に向いていて、摩擦リング205が、隙間205において置き換え可能であるインプットコーン203およびアウトプットコーン204を有するので、可変変速比は、摩擦リング205の位置の機能として設定される。摩擦リング206は、アウトプットコーン204がアウトプットピニオン207を担持する一方で、これらの例示的な実施例において駆動コーン203を囲む。コーン形の摩擦リング変速機がまた、具体的な実施例に依存して、異なって実行されてもよいことは明らかである。
図19の例示的な実施例において、アウトプットピニオン207は、遊星ギア210の太陽歯車209を担持するアセンブリ208と直接係合する。図20に示された配置もまた、アウトプットピニオン207によって駆動される太陽歯車212を有する遊星ギア211からなる。これは、太陽歯車212と共に回転するベルト213およびホイール214経由で実行される。十分に信頼性が高い力伝達が連続的に保証されることができる周知のベルトおよび/またはチェーン配置のすべては、ベルト213として使用されてもよい。
遊星ギア210および211の両方は、一方の側面でそれぞれ特定の太陽歯車209および212と係合し、他方の側面でそれぞれ特定の外付けホイール217および218と係合する遊星歯車215および216をそれぞれ有する。
図19の実施例において、外付けホイール217は、差動装置220の回転マウント219に直接結合される。この構成では、遊星ギア210およびしたがって、後退用ギア202が、そうして差動装置220上に直接位置する。この配置は、動力伝達系路における変速要素の数が最小化されるので、この理由のために極めてコンパクトな構造および極めて高い効率を有することが示された。コンパクトな構造のため、直接差動装置220に配置される後退用ギア202が好都合であることは、本発明の残りの特徴から独立してさえも明らかである。他の点では、このタイプの配置は、最小数の変速要素のみを必要として、したがって、極めて高い効率を有するので、後退用ギアのインプットホイール、および、後退用ギアのアウトプットホイールと直接係合するアウトプットピニオン207が差動装置の回転マウントに直接結合される配置は、コーン形の摩擦リング変速機によって生じる方向反転の理由で現行の自動車エンジンのために都合がよい。
対照的に、図20の実施例において、外付けホイール218は、アウトプットホイール221に結合されて、それとともに回転し、差動装置223の回転マウント222に交替で係合する。これによって生じる方向反転は、ベルト配置213によって補われ、図20の例示的な実施例において後退用ギアは、中間軸224に、および/または周辺に配置される。中間軸224上の配置は、図20の全体の配置がより柔軟にその空間配置を有するように実行されてもよいと図19において提案された差動装置220への直接的な配置において、利点を有する。差動装置への直接的な近接した空間関係が第3のアセンブリによって制限される環境のために、これは特に都合が良い。中間軸224上の後退用ギアの配置が、−特に、それにより生じる回転方向変化のため−本発明の残りの特徴から独立してさえ都合がよいということは、明らかである。後者は、反対の回転方向を有する異種モータと結合してコーン形の摩擦リング変速機が使用されることになっている場合、特にあてはまる。このタイプの場合には、ベルト配置213は省かれる、そして、ピニオン207はカラー214によって係合する。さらにアウトプットコーン204が直接シャフト224上に配置される場合、別々のアウトプットピニオン207およびベルト配置213が完全に省かれるので、都合がよい。
加えて、コーン形の摩擦リング変速機201から生じる駆動が、外付けホイール217および/または218、および/または、太陽歯車209および/または212経由の代わりに後退用ギアの他の変速要素経由で発生することは、当業者にとって一見して明らかである。後退用ギアのアウトプットもまた、外付けホイール217および/または218経由で発生する必要はない。むしろ、太陽歯車および/または他の変速要素はまた、この目的のために使用される。
図19および20で例示的に図示された実施例において「前進」および/または「後退」状態を確実に保つため、遊星歯車215および/または216が取り付けられ、かつ、遊星歯車と共に回転するこれらの例示的な実施例のマウント225および/または226において、一体に固定された変速要素を使用して、固定システムはいずれの場合においても提供される。さらに固定システムは、特定の遊星ギア210および/または211の2つの変速要素の固定を互いに可能して提供される。この場合、図19の例示的な実施例において、太陽歯車209および外付けホイール217は、互いに交互に固定され、図20の例示的な実施例において、遊星歯車216の外付けホイール218および回転マウント226は、互いに交互に固定される。
クラッチ、傾斜ブレーキ、および/または、同期のような異なる固定システムは、ハウジングにおよび/または互いに変速要素を固定するために使用されることができる。これらのうちの3つは、例示的な図示された実施例において実施例として示され、そして、具体的な条件に依存して、さらに何にでも交換されることが可能である。
図19の例示的な図示された実施例において、遊星歯車215のマウント225は、遊星歯車215のマウント225において交替で係合する制動ピニオン228を交互に制動することができる電磁ブレーキ227を使用して固定されることができる。したがって、回転方向がこの配置において変更されることになっている場合、ブレーキが起動するので、マウント225が太陽歯車209および外付けホイール217に関して減速される程度において、移動および/またはアウトプットの速度は、それが停止になるまで減少し、そして方向を変更する。
外付けホイール217および太陽歯車209は、ブレーキ229を経て固定され、遊星歯車215もまた、このように外付けホイール217および太陽歯車209に関して固定される。
この状態で、遊星ギア210が極めて低い損失によって動くので、この状況は、好ましくは前進のギアとして選択され、ブレーキ229に対応するブレーキもまた、例えば、マウント225と太陽歯車209および/または外付けホイール217との間に提供されることができることは、一見して明らかである。本質的に遊星ギア210を対応して停止し、全体として回転を許容するため、マウント225に関して遊星歯車215の回転を単に妨げるだけであることはまた、十分である。
図20の例示的な実施例において、交互の固定は、遊星歯車216を担持し、かつ、それらと共に回転し、外付けホイール218と交互に、または、この例示的な実施例においてハウジング232上に固定される固定されたホイール231に関して同期されてもよいマウント226を用いて、同期230を経て実行される。この場合に起こるメカニズムは、図19の例示的な実施例においてすでに説明されたメカニズムと一致するので、マウント226が、外付けホイール218の代わりに太陽歯車212によって同期されてもよいことは明らかである。
図21に示される無段変速機は、インプットコーン301、および、互いに摩擦リング304、305経由で連結され、特定のアウトプットコーン302、303の周りをインプットコーン301へ回る2つのアウトプットコーン302、303を有する。コーン301、302、303の間に残っている隙間に沿って、摩擦リング304、305を移動させることによって、コーン301および302、または301および303によりそれぞれ形成された部分変速機306および307はそれぞれ、連続的に変化することができる。
アウトプット側面上では、2つの部分変速機306、307、および/または、2つのアウトプットコーン302、303は、加重ギア308経由でアウトプットシャフト309へ切替えられる。図21の例示的な図示された実施例において、加重ギア308は、外付けカラー311を有する遊星ギア、遊星歯車312、および、太陽歯車313を備える。外付けカラー311は、コーン303のアウトプットシャフト316に配置されるピニオン315と交替で係合するさらなるカラー314に固定され結合される。太陽歯車313もまた、コーン302のアウトプットシャフト319に配置されるピニオン318と交替で係合するホイール317に固定され結合されて、それと共に回転する。さらに遊星歯車312は、アウトプットシャフト309に結合され、アウトプットシャフト309および遊星歯車312と共に回転するマウント320に取り付けられる。したがって、加重ギア308は、ピニオン315、318および/またはアウトプットコーン302、303の速度が変速比および摩擦リング304、305の位置に依存し、シャフト309の総速度に合計されて提供される。変速比は、摩擦リング304、305の同一の位置、すなわち、2つのアウトプットコーン302、303の同一の速度と共に、遊星歯車312は、マウント320における内在性の回転に関して静止し、単に外付けカラー311および太陽歯車313と共に回転するだけであるように好ましくは選ばれる。このように、連続運転の損失は最小化されることができる。加えて、クラッチ321は、駆動コーン301に直接結合されることができる、または、具体的な実施例に従って速度変換ギア経由で結合されるアウトプットシャフト309を用いて、損失を最小化するために使用されることができるので、無段変速機の利点がいずれにせよ使用されず、このタイプの無段変速機に不必要な損失をさせる特に高速かつ比較的均一の速度において、2つの部分変速機306、307は、回避される。
一見して明らかであるように、加重ギア308は、2つのコーン302、303の速度を合計し、そして、また、これらのコーン302、303に適用されるトルクのためのトルクバランスとして使用される。
図22における例示的な図示された実施例は、本質的に図21の例示的な実施例と一致するので、全く同じに作用しているアセンブリもまた、同一の参照番号を有し、同一の機能の繰り返しは省かれる。図21における例示的な実施例の特徴に加えて、図22の例示的な実施例も、遊星歯車312の回転マウント320が外付けカラー311に固定されることができる固定クラッチ322を有し、そしてさらに、マウント320およびアウトプットシャフト309が固定クラッチハウジングに固定されることができるクラッチ323を有する(さらに詳細な図示せず)。第1のクラッチ322は、特定の作動状況における遊星歯車312の内在性の回転を停止させるために使用されるので、遊星歯車312による損失は避けられ、ハウジング320およびシャフト309は、外付けカラー311および太陽歯車313と共に回転する。第2のクラッチ323は、遊星歯車312を適当であるが、それ自身の軸の周りを回転可能である位置に保つために使用される。この配置は、変速機がその外付けカラーおよび太陽歯車313は反対方向に回転することができる、および/または、回転するように設計される変速機との相互作用のために特に提供される。これは例えば、追加的な配置された歯車によって、または、部分変速機306、307のうちの少なくとも1つと加重ギア308との間の変速経路における別々の後退用ギアによってさえ実行されることができる。このタイプの配置において、駆動コーン301が回転する場合であっても、0速度がシャフト309に生じるように、加重ギア308は、2つの部分変速機306、307経由で起動することができる。この状態で、クラッチ323は変速機を固定するために使用されることができる。このタイプの配置において、それから摩擦リング304、305を単に調整すること、および/または、部分変速機306、307を調整することによってアウトプットシャフト309を始動することが可能である。
本質的に図23に示される配置は、図21の配置と一致する。2つの配置の部分変速機306、307は、したがって同一である。加重ギア308のみは、図23における配置で、図21における配置でのそれと異なって実行される。そういうわけで、対応する部品、および、それらの運転モードのより詳細な説明もまた、ここで省略される。
図23に示された無段変速機において、アウトプットシャフト309は、遊星ギアの外付けカラー324に、直接結合されて、それと共に回転する。加えて、遊星歯車312は、遊星歯車312およびホイール326と共に回転することができるマウント325に取り付けられ、ホイール326は、コーン303のアウトプットシャフト306上のピニオン315と係合している。対照的に、太陽歯車313は、図21および22の例示的な実施例に記載のように、コーン2のアウトプットシャフト319上のピニオン318と係合するホイール317に結合される。
したがって図23に示されるギア308もまた、加重ギアとして作用して、2つの部分変速機306、307の速度を加える、および/または、減ずる。
また、図24に示される配置は、その部分変速機306、307に関して、図21から23に示される配置と本質的に一致する。本質的に、ギア308のみは異なって実行される。この場合、加重ギア308は、それぞれがアウトプットシャフト316および319に配置されるコーン303および302の傘歯車327および328経由でそれぞれ駆動される。このため、傘歯車327および328は、それぞれ自身の軸のまわりを回転する差動装置の、固定された傘歯車331および332に交替で結合される傘歯車329および330とそれぞれ係合する。図24におけるギアのアウトプットは、それぞれ差動装置の傘歯車331および332と交替で係合する差動装置の回転傘歯車333および334の軸受に結合される歯車310を経て発生する。一見して明らかであるように、加重ギアもまた、この配置により備えられる。
図25における例示的な実施例の基本的な構造は、図24における例示的な実施例と一致するので、ここで、加重ギア308もまた、アウトプットホイール336を用いて傘歯車337経由でアウトプットシャフト309を駆動する差動装置335により本質的に形成される。加えて、アウトプットホイール336は、駆動コーン301に被同期クラッチ339を経て交替で接続可能である傘歯車338と係合するので、2つの部分変速機306、307は必要に応じて回避されることができる。さらに、この配置において、アウトプットコーン302、303のアウトプットシャフト316、319はそれぞれ、被同期クラッチ340および341経由で、固定された軸の周りを回る差動装置の傘歯車に結合される傘歯車346および347とそれぞれ交替で係合する傘歯車342、343、および、344、345に交互にスイッチで切り替え可能である。部分変速機306、307の活発な回転方向は、したがってクラッチ340および/または341によって、容易に変更されることができるので、図25における変速機が極めて用途が広い変速機挙動を有する。
示されたコーン形の摩擦リング変速機306、307の代わりに、他の無段変速機もまた、本発明によるこのタイプの無段変速機のための部分変速機として都合よく使用されることができることは、明らかである。図21から25において一見して明らかであるように、部分変速機306、307は、互いに各々並列に配置され、すべて図面の平面に位置する特定のコーン体軸348、349、350により定義される部分変速面を有する。このように、変速機は極めて平らに造られ、それらは例えば、荷重表面の下で提供されるので、トラックおよび/または小さいトラックに用いられるために特に適切である。より高いトルクで2つの部分変速機を使用することにより良い効率で作動する本発明よる変速機は、現代のディーゼルエンジンによって適用されるので、極めて高圧力は、2つの部分変速機を使用することにより避けることができるため、それは、いっそう適切である。
すでに、図21から24における記載および例示的な実施例に基づいて示され、図25における例示的な実施例に基づいて例示的な用途のために説明されたように、変速機の全体の特徴は、部分変速機306、307が加重ギア308に作用する回転方向の選択によって、かなり影響される可能性がある。特に、このタイプの後退用ギアおよび/または回転方向を変更する部分変速機は、都合がよい。この点に関する変形例は、上述の部分変速機80の例証として図10において説明された。
図21から25に示された変速機において、力の流動もまた、後退として選ばれることができるので、アウトプット要素309、310はインプット要素として使用され、インプットコーン301はアウトプットコーンとして使用されることは、明らかである。
図14から17までと同様に図1、4、8、および9から推定されるように、その中で示された無段変速機は、封止70によりそれらの軸受の方向に各々封止される(実施例としてのみ確認される)。関連技術から分かるように、別個の流体容器はコーンと結合要素が位置付けられている部分へ位置付けられる。例示的な本実施例において、約10から30モルパーセントのポリジメチル・シロキサンのメチレン基が好ましくはフェニル基と置換され、25°Cの粘性が好ましくはほぼ200mm/秒である「シリコーンオイル」は、流体として好ましくは使用される。しかしながら、その物理的および化学的なパラメータの温度依存が、鉱油の温度依存に関して安定し、および/または、温度に依存する圧縮変化度および/または温度に依存する粘性変化度に関して、鉱油の変化度とシリコーンオイルの変化度との間に位置する他のいかなる流体も使用されることができる。
例示的な流体および/または上記の液体の温度依存は、一例として図26において対数関数的な形状で示され、白線89aは、鉱油を表し、白線89bは、シリコーンオイルを表している。これらの流体は、流体によって架橋された隙間が、コーン4、5;51、55、81、82、91、92、104、105、203、204、301、302、303と、結合要素7;54、83、93、107、205、304、305との間で、形成されてもよいという運転条件を保証する。この隙間の存在は、電気電圧測定を通じて金属部品において検出され、例えば、この隙間が数回転した後のみに形成される、すなわち、流体が分配される場合、実験的に決定されてきたので、隙間の寸法に関して、圧縮性および粘性が最適に選ばれることになっている。この場合、対応する隙間が運転条件において維持されるというように、支柱および/または圧力装置は必要な大きさにされる。
異なる動作経路のため、およびしたがって、コーン4、5;51、55、81、82、91、92、104、105、203、204、301、302、303の異なる半径の均一の表面圧を保証するため、軸方向に異なるように、各々のコーンの動作表面12は好ましくは実行される。現在の例示的な実施例において、これは異なる幅(図示せず)の溝で実行される。あるいは、軸方向に異なる表面粗さ測定器または類似した何かが、備えられてもよい。
摩擦リング7;54、83、93、107、205、304、305の表面は、摩擦リング71に基づいて図27における例示的な用途のために示されたように、コーン4、5;51、55、81、82、91、92、104、105、203、204、301、302、303と、摩擦リング7;54、83、93、107、205、304、305との間で残っている隙間において液体の剪断力に影響するために好ましくは溝を備えている。摩擦リング71は、コーン4、5;51、55、81、82、91、92、104、105、203、204、301、302、303の表面と相互作用する摩擦リング7;54に基づいて説明されたように、2つの回転表面72、73をそれぞれ有する。この場合、表面72、73は異なる表面設計を有する。例えば、台形の力板74(図27b参照)は特に都合が良い。なぜなら、リング71の残りの材料上に、特によくそれ自身を支持するからである。累積的におよび/または代替的に、直径に沿って対向する表面における内部のフランジが避けられるような、丸い溝の吸気口(図27bおよび27c参照)は、提供される。丸い溝吸気口75はまた、油膜および/または表面圧の分配のために都合がよいようである。丸い溝の底面76(図27b、27cおよび27d参照)は、対照的に、負荷の下において溝底面の切欠き効果を避けることができる。本質的に立方形の力板77(図27c参照)もまた、備えることができる。図27dおよび27eに示されたように、丸い外部の断面形状79を有する力板78もまた、使用される。
このタイプの溝は、具体的な実施例に従い、摩擦リングの表面に全く同じに、および/または、両方のコーンで異なって提供される。特に、軸方向における溝および/または力板の分配は、表面上において変化することができる。このように、例えば、表面圧および/または表面圧分配は変化、および/または、コーンに沿ってさえも最適に設定されてもよく、および/または、オイル膜厚は適応することができる。特に溝横断面は、この場合における特定の変速要素の接点領域からのオイルの排液量を主に決定する。
加えて、摩擦リングは、好ましくは冠部を持つ横断面を有するので、隙間の存在にもかかわらず、大きい可能な接点領域はヘルツ応力を経て実行される。
摩擦リング7、54、83、93、107、205、304、305それ自体(例示的な用途にのみのため、図28から31において7、54と番号をつけられた)は、図28に示されるように、作動ブリッジ91がその上で動作し、かつ、軸92の周りを回転可能であるよう取り付けられた保持器90により、現在の例示的な実施例において周知の方法で保持される。しかしながら関連技術に反して、作動ブリッジ91は、保持器90の角度が変わる場合、自由に動かず、むしろ、アクチュエータ93経由で、ハウジング32に載置された主軸94において明らかに制御されるので、それは回転可能である。この場合、十分な遊びは、アクチュエータ93と作動ブリッジ91との間で提供されるので、アクチュエータ93の移動は最初に、保持器90の角度を変更させ、その後、リング7、54、83、93、107、205、304、305は回転軸において対応して移動する、そして、アクチュエータ93の移動が続く。
それ自体の力によるリング7、54、83、93、107、205、304、305の調整の角度が重大な意味を持つので、保持器90の角度に関するプレテンションは、ハウジング32と保持器90との間のばね95によって、この例示的な実施例において実行される。その結果、作動ブリッジ91とアクチュエータ93との間の遊びは、図29に概略的に示されているように、意図的でなく保持器90の角度を変更させない。
加えて、作動ブリッジ91が動いてもよいハウジング32上に(図30において例示的な用途のために示される)端部ストッパ96があり、これらの端部ストッパは、リング7、54、83、93、107、205、304、305が回転軸に関してコーン体軸に並列に整列配置され、したがって、もはや移動しないように置かれている。このように、リングの位置決め装置が故障した場合、変速機の完全な破壊は防ぐことができる。作動ブリッジ91の対応する位置を表示するセンサもまた、この点において備えられてもよい。
代替調整可能性97は、図31に示され、この実施例バリエーションは、極めてコスト的に効率よく造られる。この実施例バリエーションにおいて、リング7、54、83、93、107、205、304、305は保持装置98によって一方の側面のみに導かれる。この保持装置は、アプローチ側に備えられるので、選択された図において、最初に保持装置98から始まるリング7、54、83、93、107、205、304、305は最初にコーン4、5;51、55、81、82、91、92、104、105、203、204、301、302、303の間の隙間を通過し、そしてそれが再び保持装置98に達する前にコーン5;51、81、91、105、203、302、303の周りを回転する。保持装置98は、主軸99に載置され、かつ、十分な遊びでリングを囲むので、移動する動きを実行し、それ自体の力により保持装置98の動きに続くコーン体軸により形成される平面から、その回転軸の角度を移動させることができる。保持装置98の遊びの変形例として、主軸として実行されるアクチュエータ99に関して図31の図面の平面における回転自由度を備えることができ、かつ、本質的に遊びなしでリングを導く。
リング7、54、83、93、107、205、304、305が、回転軸に対して垂直なトルクを有して実行される場合、休止100上に一方の側のリング7、54、83、93、107、205、304、305を導くのみである保持装置は、備えることができ、このトルクを妨げ、および、 ― 所望の移動に従い ― リングから離れるように移動するので、それ自体の力によりコーン体軸によって形成される平面から、その回転軸の回転運動を完成し、再び適切にそれを整列配置し、またはリングの回転軸がその方へ動くように旋回する誘導装置に達するまで、移動し始める。その結果、それは誘導装置がもはや続かなくなるまで、誘導装置から離れて移動し、それが再び誘導装置に達するまで、再びそれ自体のトルクでその回転軸の方へ旋回して戻る。
後者の配置は、リング7、54、83、93、107、205、304、305の特に大きい量の遊びを許容するので、それは摩擦損失が最小化されるように非常に独立して、かつ、自動安定的に移動することができる。
第1の変速機の図2における線I-A-B-C-D-Iに沿った断面を示す; 図1の変速機の概略側面図を示す; 図1の変速機の概略図を示す; アウトプットコーンの拡大図を示す; 図1から4までの変速機の圧力装置のバネ要素の上面図を示す; 後続の変速機の概略図を示す; 後続の変速機の概略図を示す; 同軸駆動およびアウトプットを有するさらなる可能な変速機の概略図を示す; 同軸駆動およびアウトプットを有する代わりのさらなる変速機の概略図を示し、摩擦リングは2つの作動位置に示されている; 本発明の変速機の可能な後退用ギアを示す; 図3に記載の図に類似したタイプのさらなる変速機の概略図を示す; 差動装置、後退用ギアおよびアウトプットコーンの取付けを通じた図11の変速機の断面を示す; 差動装置、後退用ギアおよびアウトプットコーンの取付けを通じた図11および12の変速機の断面を示す; 図1に記載の類似した図における図11から13の変速機を示す; 拡大された圧力装置での図14における詳細拡大図を示す; 収縮された圧力装置での図15における配置を示す; 開放されたコーンクラッチでの図15および16の配置を示す; 図17における詳細拡大XVIIIを示す; 補助的なおよび/または代替の後退用ギアの概略図を示す; さらなる補助および/または代替の後退用ギアの概略図を示す。 2つの部分変速機への無段変速機の可能な分解の概略図を示す; 追加の切替可能性を有する図21の変速機を示す; 図21および22に記載の類似した図において、2つの部分変速機への無段変速機のさらなる可能な分解の概略図を示す; 図21から23に記載の類似した図において、2つの部分変速機への無段変速機のさらなる可能な分解の概略図を示す; 追加の切替可能性を有する図24に記載の切替ギアを示す; 典型的なシリコーンオイルのための温度の関数として粘性を示す; aは、結合要素および/または摩擦リングを通じた概略断面を示し、図27bからeは、図27aにおける詳細Aの詳細拡大図の異なる表面設計を示す; 概略上面図における図1の変速機の作動ブリッジを示す; 図1および28における作動ブリッジのプレテンションを概略的に示す; 図28および29における保持装置のための端部ストッパを概略的に示す; 図28から30に示された保持装置のための別の実施例を示す。

Claims (2)

  1. 摩擦でトルクを伝達することができる少なくとも2つのコーンと、前記コーンを連結する摩擦リングとを有する回転変速機であって、
    少なくとも1つの前記コーンが、前記コーンの外周方向に沿う溝を有し、2つの溝の間の距離が前記コーンの表面の軸方向に変化し、少なくとも1つの前記コーンの表面のうち摩擦リングと接触する部分が異なると、動作経路が異なり、その結果として変速比が異なることを特徴とするコーン形摩擦リング変速機。
  2. 請求項1に記載のコーン形摩擦リング変速機であって、
    前記摩擦リングは、溝を有する少なくとも1つの動作表面を有することを特徴とするコーン形摩擦リング変速機。
JP2005500019A 2002-09-30 2003-09-29 回転変速機 Expired - Fee Related JP4988198B2 (ja)

Applications Claiming Priority (13)

Application Number Priority Date Filing Date Title
DE10245897.9 2002-09-30
DE10245897 2002-09-30
DE10246655 2002-10-07
DE10246655.6 2002-10-07
DE10303891.4 2003-01-30
DE10303891A DE10303891A1 (de) 2002-09-30 2003-01-30 Getriebe
DE10303896.5 2003-01-30
DE10303896A DE10303896A1 (de) 2002-09-30 2003-01-30 Umlaufendes Getriebe
DE10304094 2003-01-31
DE10304094.3 2003-01-31
DE10323109.9 2003-05-20
DE10323109 2003-05-20
PCT/DE2003/003254 WO2004031615A2 (de) 2002-09-30 2003-09-29 Umlaufendes getriebe

Publications (2)

Publication Number Publication Date
JP2006501426A JP2006501426A (ja) 2006-01-12
JP4988198B2 true JP4988198B2 (ja) 2012-08-01

Family

ID=52433687

Family Applications (1)

Application Number Title Priority Date Filing Date
JP2005500019A Expired - Fee Related JP4988198B2 (ja) 2002-09-30 2003-09-29 回転変速機

Country Status (7)

Country Link
US (2) US7559868B2 (ja)
EP (1) EP1546578B1 (ja)
JP (1) JP4988198B2 (ja)
AU (1) AU2003299146A1 (ja)
BR (1) BRPI0307387B1 (ja)
ES (1) ES2528176T3 (ja)
WO (1) WO2004031615A2 (ja)

Families Citing this family (15)

* Cited by examiner, † Cited by third party
Publication number Priority date Publication date Assignee Title
DE102007002581A1 (de) * 2006-09-22 2008-04-03 Rohs, Ulrich, Dr. Ing. Kegelreibringgetriebe
JP5728808B2 (ja) * 2007-02-26 2015-06-03 ロース,ウルリッチ 無段変速サブギア・ボックスを有する駆動装置
ES2366990T3 (es) * 2007-11-27 2011-10-27 Rohs, Ulrich Engranaje de anillo de fricción cónico.
KR101181748B1 (ko) * 2010-03-18 2012-09-11 현대 파워텍 주식회사 콘 링 타입 무단변속기
US8574110B2 (en) * 2010-08-02 2013-11-05 Ford Global Technologies, Llc Transmission producing stepless variable speed ratios
JP2012062935A (ja) * 2010-09-15 2012-03-29 Ud Trucks Corp 無段変速機
DE102011013070A1 (de) * 2011-03-04 2012-09-06 Ulrich Rohs Kegelreibringgetriebe
KR101272935B1 (ko) * 2012-03-12 2013-06-11 현대자동차주식회사 차량의 자동화 수동 변속기
KR101360431B1 (ko) * 2012-09-04 2014-02-11 현대 파워텍 주식회사 무단변속기
JP5926407B2 (ja) * 2013-01-18 2016-05-25 ジヤトコ株式会社 マルチディスク変速機
US10221927B2 (en) 2014-08-14 2019-03-05 Ford Global Technologies, Llc Continuously variable transmission with overdrive
DE102014013468A1 (de) 2014-09-17 2016-03-17 Ulrich Rohs Kegelreibringgetriebe und Verfahren zum Betrieb eines Kegelreibringgetriebes
DE102015200798B3 (de) * 2015-01-20 2016-06-16 Schaeffler Technologies AG & Co. KG Getriebeanordnung für einen Elektromotor eines Fahrzeugs sowie Fahrzeug mit der Getriebeanordnung
US9970521B1 (en) 2016-02-26 2018-05-15 Rodney J. Cook and successors in trust Infinitely variable transmission
US11772743B2 (en) * 2022-02-18 2023-10-03 Joseph Francis Keenan System and method for bicycle transmission

Family Cites Families (97)

* Cited by examiner, † Cited by third party
Publication number Priority date Publication date Assignee Title
US1709346A (en) * 1929-04-16 garrard
US299231A (en) * 1884-05-27 Device for transmitting motion
US1069182A (en) * 1912-12-13 1913-08-05 Remy Brothers Company Differential speed-changing mechanism.
US1637664A (en) * 1924-02-02 1927-08-02 Stoeckicht Wilhelm Change-speed friction gearing
FR615659A (fr) 1926-05-05 1927-01-13 Changement de vitesses continu et automatique
GB298676A (en) 1927-07-15 1928-10-15 Charles George Garrard Improvements in and relating to variable speed gearing
US1868676A (en) * 1929-05-03 1932-07-26 Stoeckicht Wilhelm Friction roller gearing
GB343225A (en) 1929-12-09 1931-02-19 Herbert Reed Hall Improvements in and relating to speed gears of the infinitely variable type
US2073157A (en) * 1936-04-20 1937-03-09 Rex Hide Inc Wiper blade fastener
DE745147C (de) 1939-04-28 1944-02-28 Aeg Getriebe mit Rastkupplung
US2545152A (en) * 1947-07-16 1951-03-13 Ebauches Sa Infinitely variable speed gear
US2583790A (en) * 1948-11-10 1952-01-29 Westinghouse Electric Corp Frictional gear mechanism
US2743621A (en) * 1949-11-02 1956-05-01 Beier Josef Infinitely variable friction wheel gears
CH290407A (de) * 1950-09-20 1953-04-30 Ag Dabo Mechanisches stufenloses Wechselgetriebe.
US3048046A (en) * 1960-04-11 1962-08-07 Algar H Cosby Power transmission for variable speed and torque
US3026736A (en) * 1960-12-06 1962-03-27 Friedrich Cavallo Getriebe Und Ball transmission unit
FR1299074A (fr) * 1961-06-08 1962-07-20 G Ab Variateur de vitesses à frictions multiples
US3375733A (en) * 1966-01-10 1968-04-02 Deere & Co Combined variable speed and planetary drive
US3347106A (en) * 1967-02-14 1967-10-17 Metallurg De Saint Urbain Atel Device having a friction drive between two surfaces in a liquid
USRE27211E (en) * 1969-10-15 1971-11-02 Friction drive fluid
US3677109A (en) * 1971-01-14 1972-07-18 Gates Rubber Co Continuously variable friction gear
DE2336337A1 (de) 1973-07-17 1975-01-30 Neuweg Fertigung Gmbh Hydraulisch unterstuetzter mechanischer anpresskraftregler fuer stufenlos einstellbare waelzgetriebe
CA1070664A (en) * 1974-09-16 1980-01-29 Marvin F. Smith (Jr.) Viscosity index additives for lubricating oils
DE2621682A1 (de) * 1976-05-15 1977-11-24 Zahnradfabrik Friedrichshafen Stufenlos verstellbares kegelscheiben-umschlingungsgetriebe
GB1499019A (en) * 1976-08-16 1978-01-25 United Lubricants Ltd Liquid coolant composition
US4238976A (en) * 1978-10-19 1980-12-16 Vadetec Corporation Infinitely variable power transmission and system
US4382188A (en) * 1981-02-17 1983-05-03 Lockheed Corporation Dual-range drive configurations for synchronous and induction generators
US4449415A (en) * 1981-09-23 1984-05-22 Dow Corning Corporation Traction fluid and traction drive system containing said fluid
US4559841A (en) * 1982-03-15 1985-12-24 Caterpillar Tractor Co. Gear train having an internal gear mechanism
JPS5965659A (ja) 1982-10-04 1984-04-13 Nissan Motor Co Ltd 動力伝達装置
DE3241789C2 (de) * 1982-11-11 1985-08-08 Ford-Werke AG, 5000 Köln Getriebeaggregat für Fahrzeuge, insbesondere für Kraftfahrzeuge mit Frontantrieb
US4577523A (en) * 1983-11-28 1986-03-25 Dow Corning Corporation Silicone traction fluids
JPS60116959A (ja) * 1983-11-28 1985-06-24 Toyota Central Res & Dev Lab Inc 車輛用無段変速装置
GB8412855D0 (en) 1984-05-19 1984-06-27 Stidworthy F M Self-regulating transmission
GB2180020A (en) 1985-09-03 1987-03-18 Ford Motor Co Continuously variable transmission combining chain and V-belt drives with hydrokinetic torque converter
JPS62184270A (ja) * 1986-02-07 1987-08-12 Toyota Central Res & Dev Lab Inc ベルト駆動式無段変速機
SU1557395A2 (ru) 1986-07-14 1990-04-15 И.Г.Мухин, А И.Мухин, Н„И.Кузевич, 0,Н.Мухина и В.В.Кузевич Вариатор И.Г.Мухина
JPH01105057A (ja) 1987-10-14 1989-04-21 Kubota Ltd 摩擦式無段変速装置
DE3835052A1 (de) 1987-10-21 1989-05-03 Barmag Barmer Maschf Reibkoerpergetriebe
DE3785045T2 (de) 1987-12-23 1993-07-01 Honda Motor Co Ltd Stufenloses fahrzeuggetriebe.
US4955852A (en) * 1988-07-07 1990-09-11 Toyota Jidosha Kabushiki Kaisha Planetary gear mechanism having means for accurate alignment of sun gear
JPH0272262A (ja) * 1988-09-07 1990-03-12 Toyota Motor Corp ベルト式無断変速機用プーリ
JPH06100257B2 (ja) * 1989-09-04 1994-12-12 バンドー化学株式会社 無段変速装置
US5073157A (en) 1990-02-20 1991-12-17 Power Engineering & Manufacturing, Ltd. Mechanically variable transmission
US5069078A (en) * 1990-07-30 1991-12-03 Fairbanks Everitt E Transmission mechanism
BE1004806A3 (nl) * 1990-11-22 1993-02-02 Volvo Car Sint Truiden Nv Inrichting voor het regelen van een continu variabele transmissie bij motorvoertuigen.
US5213011A (en) * 1991-04-05 1993-05-25 Mazda Motor Corporation Power transmission device for vehicle
DE4202200A1 (de) 1992-01-28 1993-07-29 Fichtel & Sachs Ag Anordnung zur betaetigung einer reibungskupplung eines von einer brennkraftmaschine angetriebenen kraftfahrzeuges
DE4204200A1 (de) * 1992-02-13 1993-08-19 Daimler Benz Ag Fluessigkeit und deren verwendung
JPH05340456A (ja) * 1992-06-08 1993-12-21 Nippon Seiko Kk 動力伝達装置
RU2079017C1 (ru) 1992-06-18 1997-05-10 Новосибирский государственный технический университет Фрикционная муфта
JPH06174036A (ja) 1992-11-30 1994-06-21 Isuzu Motors Ltd トロイダル型無段変速機
JP3569537B2 (ja) * 1993-09-30 2004-09-22 Ntn株式会社 摩擦伝動機構
IN189939B (ja) 1993-12-20 2003-05-17 Torotrak Dev Ltd
DE4445017A1 (de) * 1994-03-12 1995-09-14 Kupplungstechnik Gmbh Überlastkupplung
DE728965T1 (de) 1995-02-27 1997-03-13 Isuzu Motors Ltd Stufenloses Toroidgetriebe
DE19607812A1 (de) 1995-03-21 1996-09-26 Luk Getriebe Systeme Gmbh Stufenlos einstellbares Getriebe
DE19525068A1 (de) * 1995-07-10 1997-01-16 Wacker Chemie Gmbh Beschichtungsmassen auf Basis von in Wasser redispergierbaren, wasserlösliches Polymer und Organosiliciumverbindung enthaltenden Pulvern
US5984820A (en) * 1995-10-26 1999-11-16 Getrag Innovations Gmbh Motor vehicle transmission having a continuously variable transmission ratio
FR2741128A1 (fr) 1995-11-09 1997-05-16 Crasset Dominique Perfectionnements aux dispositifs d'actionnement de systemes tels que les embrayages ou les boites de vitesses
DE19542726B4 (de) 1995-11-16 2006-02-16 Rohs, Ulrich, Dr.-Ing. Kegelreibringgetriebe
JPH10205600A (ja) * 1997-01-21 1998-08-04 Nissan Motor Co Ltd トロイダル式無段変速機用転動体構造及びトロイダル式無段変速機用転動体構造表面被膜の形成方法並びにトロイダル式無段変速機用潤滑組成物
DE19717290A1 (de) 1997-04-24 1998-10-29 Claas Usines France Vorrichtung zur Drehmomentmessung
JP4128636B2 (ja) * 1997-05-19 2008-07-30 ウルリッヒ・ロース 円錐摩擦リング式変速機および円錐摩擦リング式変速機の摩擦リング制御のための方法
US5924953A (en) * 1997-05-21 1999-07-20 Rohs; Ulrich Friction cone gearing
DE19909347B4 (de) 1998-03-10 2012-03-29 Schaeffler Technologies Gmbh & Co. Kg Getriebe
JP3956475B2 (ja) 1998-03-13 2007-08-08 日本精工株式会社 トロイダル型無段変速機
ES2166589T3 (es) * 1998-04-24 2002-04-16 Doornes Transmissie Bv Conjunto de accionamiento para vehiculo.
DE19837368A1 (de) * 1998-08-18 2000-02-24 Ulrich Rohs Kegelreibringgetriebe und Verfahren zur Regelung des Übersetzungsverhältnisses bei einem Kegelgetriebe
JP2000120822A (ja) * 1998-10-21 2000-04-28 Nsk Ltd 無段変速装置
JP2000130531A (ja) 1998-10-29 2000-05-12 Isuzu Motors Ltd 無段変速機
JP4048625B2 (ja) * 1998-12-15 2008-02-20 日産自動車株式会社 変速比無限大無段変速機の変速制御装置
JP3855142B2 (ja) 1999-04-08 2006-12-06 允彦 丹原 無段変速機
JP3736191B2 (ja) * 1999-04-08 2006-01-18 トヨタ自動車株式会社 動力伝達機構
US6056661A (en) * 1999-06-14 2000-05-02 General Motors Corporation Multi-range transmission with input split planetary gear set and continuously variable transmission unit
US6139465A (en) * 1999-06-16 2000-10-31 Holliday; Sander Infinite speed transmission
FR2796693B1 (fr) 1999-07-21 2001-11-16 Renault Groupe motopropulseur transversal a variateur et train epicycloidal
KR100361929B1 (ko) 1999-09-10 2002-11-22 남성훈 무단 변속장치
JP2001088585A (ja) * 1999-09-24 2001-04-03 Mitsubishi Motors Corp ハイブリッド型車両の制御装置
FR2800826B1 (fr) 1999-11-10 2001-12-21 Renault Groupe motopropulseur transversal de vehicule comportant un variateur et un train epicycliadal
US6379275B1 (en) * 1999-11-18 2002-04-30 The Gates Corporation Continuously variable transmission pulley
JP3630297B2 (ja) 2000-03-23 2005-03-16 日産自動車株式会社 自動車用トロイダル式無段変速機
JP2001343056A (ja) * 2000-06-01 2001-12-14 Bando Chem Ind Ltd 変速装置
DE20020562U1 (de) 2000-06-27 2001-05-03 Eichholz, Werner, 45149 Essen Variable Transmission, mechanische stufenlose Drehzahl-Verstellung für Antriebe aller Art
JP2002048213A (ja) * 2000-08-01 2002-02-15 Toyota Motor Corp 無段変速機構を備えた変速機
JP3633484B2 (ja) * 2001-01-22 2005-03-30 トヨタ自動車株式会社 内燃機関と無段変速機とを有する車両の制御装置
JP4378898B2 (ja) 2001-05-08 2009-12-09 日本精工株式会社 トロイダル型無段変速機及び無段変速装置
JP3758546B2 (ja) * 2001-10-05 2006-03-22 日本精工株式会社 無段変速装置
US6623399B2 (en) * 2001-12-28 2003-09-23 Dow Corning Corporation Traction fluids
ES2431114T3 (es) * 2002-09-30 2013-11-25 Ulrich Rohs Transmisión
AU2003283193A1 (en) * 2002-10-22 2004-05-13 Luk Lamellen Und Kupplungsbau Beteiligungs Kg Power-split transmission having an infinitely variable ratio
US7553254B2 (en) * 2003-01-06 2009-06-30 Ulrich Rohs Pressing device for tensioning two gearing elements, gearing provided with a pressing device of this type, and method for operating such a friction gearing
DE10394035D2 (de) * 2003-01-09 2005-09-15 Ulrich Rohs Stufenlos eistellbares Getriebe
US6908406B2 (en) * 2003-03-05 2005-06-21 Mark Albert Overbay Continuously variable transmission with elastomeric meshing interface
DE102004003691B4 (de) * 2004-01-24 2018-10-31 Zf Friedrichshafen Ag Kegelringgetriebe
US7048667B2 (en) * 2004-02-09 2006-05-23 Ford Global Technologies, Llc Power split transaxle for producing stepless reverse, forward and geared neutral speed ratios
TWM261145U (en) * 2004-07-30 2005-04-11 Hsiao-Wei Nien Bracket structure

Also Published As

Publication number Publication date
US20090156354A1 (en) 2009-06-18
JP2006501426A (ja) 2006-01-12
EP1546578B1 (de) 2014-11-19
EP1546578A2 (de) 2005-06-29
US7559868B2 (en) 2009-07-14
US7682278B2 (en) 2010-03-23
ES2528176T3 (es) 2015-02-05
WO2004031615A3 (de) 2004-07-15
WO2004031615A2 (de) 2004-04-15
BRPI0307387B1 (pt) 2016-07-26
BR0307387A (pt) 2004-11-09
US20060270517A1 (en) 2006-11-30
AU2003299146A1 (en) 2004-04-23

Similar Documents

Publication Publication Date Title
JP4563933B2 (ja) 変速装置
JP4988198B2 (ja) 回転変速機
JP5126989B2 (ja) 変速装置
JP2004526917A (ja) フリクション伝動式無段変速機
WO2008062406A2 (en) Continuously variable transmission-based planetary gear
US10197134B2 (en) Hybrid transmission having electro-magnetically actuated pawl clutch
CN107000567A (zh) 用于混合动力车辆的驱动系统
AU2013264683A1 (en) Vehicle power transmission device
EP0228852A2 (en) Accessory transmission for vehicle engines
JP4739018B2 (ja) トランスミッション
ITTO20010042A1 (it) Turbocompressore in particolare con albero rotore supportato tramite cuscinetti idraulici o magnetici.
JPH11117952A (ja) 変速機
JPH02159452A (ja) 車両用無段変速機
JP6465371B2 (ja) トルク伝達装置、制動装置および動力伝達装置
US4800782A (en) Accessory transmission
CN101392824A (zh) 旋转式传动机构
JP2005172127A (ja) ボールねじアクチュエータ
KR102519195B1 (ko) 자동차용 슬립 제한형 차동 장치 및 이를 포함하는 전동 구동 장치
KR20040090909A (ko) 웨지 롤러형 전동 장치의 전동 롤러 지지 기구
RU2096672C1 (ru) Гидромеханическая трансмиссия
EP2436930B1 (en) Fluid pump
CN112923033A (zh) 用于机动车辆的紧凑扭矩传递装置
JPH11507119A (ja) 可変ビスカスカップリングを利用する連続可変式変速機
CN102635671A (zh) 无级变速传动装置
US20230341004A1 (en) Clutch device

Legal Events

Date Code Title Description
A621 Written request for application examination

Free format text: JAPANESE INTERMEDIATE CODE: A621

Effective date: 20060831

A131 Notification of reasons for refusal

Free format text: JAPANESE INTERMEDIATE CODE: A131

Effective date: 20090317

A601 Written request for extension of time

Free format text: JAPANESE INTERMEDIATE CODE: A601

Effective date: 20090616

A602 Written permission of extension of time

Free format text: JAPANESE INTERMEDIATE CODE: A602

Effective date: 20090629

A601 Written request for extension of time

Free format text: JAPANESE INTERMEDIATE CODE: A601

Effective date: 20090716

A602 Written permission of extension of time

Free format text: JAPANESE INTERMEDIATE CODE: A602

Effective date: 20090728

A601 Written request for extension of time

Free format text: JAPANESE INTERMEDIATE CODE: A601

Effective date: 20090812

A602 Written permission of extension of time

Free format text: JAPANESE INTERMEDIATE CODE: A602

Effective date: 20090819

A521 Request for written amendment filed

Free format text: JAPANESE INTERMEDIATE CODE: A523

Effective date: 20090827

A131 Notification of reasons for refusal

Free format text: JAPANESE INTERMEDIATE CODE: A131

Effective date: 20091027

A601 Written request for extension of time

Free format text: JAPANESE INTERMEDIATE CODE: A601

Effective date: 20100126

A602 Written permission of extension of time

Free format text: JAPANESE INTERMEDIATE CODE: A602

Effective date: 20100202

A601 Written request for extension of time

Free format text: JAPANESE INTERMEDIATE CODE: A601

Effective date: 20100225

A602 Written permission of extension of time

Free format text: JAPANESE INTERMEDIATE CODE: A602

Effective date: 20100304

A601 Written request for extension of time

Free format text: JAPANESE INTERMEDIATE CODE: A601

Effective date: 20100326

A602 Written permission of extension of time

Free format text: JAPANESE INTERMEDIATE CODE: A602

Effective date: 20100402

A521 Request for written amendment filed

Free format text: JAPANESE INTERMEDIATE CODE: A523

Effective date: 20100423

A131 Notification of reasons for refusal

Free format text: JAPANESE INTERMEDIATE CODE: A131

Effective date: 20100907

A601 Written request for extension of time

Free format text: JAPANESE INTERMEDIATE CODE: A601

Effective date: 20101207

A602 Written permission of extension of time

Free format text: JAPANESE INTERMEDIATE CODE: A602

Effective date: 20101214

A521 Request for written amendment filed

Free format text: JAPANESE INTERMEDIATE CODE: A523

Effective date: 20110105

A02 Decision of refusal

Free format text: JAPANESE INTERMEDIATE CODE: A02

Effective date: 20110419

A521 Request for written amendment filed

Free format text: JAPANESE INTERMEDIATE CODE: A523

Effective date: 20110617

A911 Transfer to examiner for re-examination before appeal (zenchi)

Free format text: JAPANESE INTERMEDIATE CODE: A911

Effective date: 20110728

A912 Re-examination (zenchi) completed and case transferred to appeal board

Free format text: JAPANESE INTERMEDIATE CODE: A912

Effective date: 20110902

A01 Written decision to grant a patent or to grant a registration (utility model)

Free format text: JAPANESE INTERMEDIATE CODE: A01

A61 First payment of annual fees (during grant procedure)

Free format text: JAPANESE INTERMEDIATE CODE: A61

Effective date: 20120426

R150 Certificate of patent or registration of utility model

Ref document number: 4988198

Country of ref document: JP

Free format text: JAPANESE INTERMEDIATE CODE: R150

Free format text: JAPANESE INTERMEDIATE CODE: R150

FPAY Renewal fee payment (event date is renewal date of database)

Free format text: PAYMENT UNTIL: 20150511

Year of fee payment: 3

R250 Receipt of annual fees

Free format text: JAPANESE INTERMEDIATE CODE: R250

R250 Receipt of annual fees

Free format text: JAPANESE INTERMEDIATE CODE: R250

R250 Receipt of annual fees

Free format text: JAPANESE INTERMEDIATE CODE: R250

R250 Receipt of annual fees

Free format text: JAPANESE INTERMEDIATE CODE: R250

R250 Receipt of annual fees

Free format text: JAPANESE INTERMEDIATE CODE: R250

LAPS Cancellation because of no payment of annual fees