JP4744247B2 - 製本装置における表紙位置決め機構 - Google Patents

製本装置における表紙位置決め機構 Download PDF

Info

Publication number
JP4744247B2
JP4744247B2 JP2005259122A JP2005259122A JP4744247B2 JP 4744247 B2 JP4744247 B2 JP 4744247B2 JP 2005259122 A JP2005259122 A JP 2005259122A JP 2005259122 A JP2005259122 A JP 2005259122A JP 4744247 B2 JP4744247 B2 JP 4744247B2
Authority
JP
Japan
Prior art keywords
cover
cover sheet
positioning
pair
nip
Prior art date
Legal status (The legal status is an assumption and is not a legal conclusion. Google has not performed a legal analysis and makes no representation as to the accuracy of the status listed.)
Expired - Fee Related
Application number
JP2005259122A
Other languages
English (en)
Other versions
JP2007069461A (ja
Inventor
繁伸 福田
耕 大内山
洋人 中西
完太 神原
Current Assignee (The listed assignees may be inaccurate. Google has not performed a legal analysis and makes no representation or warranty as to the accuracy of the list.)
Horizon International Inc
Original Assignee
Horizon International Inc
Priority date (The priority date is an assumption and is not a legal conclusion. Google has not performed a legal analysis and makes no representation as to the accuracy of the date listed.)
Filing date
Publication date
Application filed by Horizon International Inc filed Critical Horizon International Inc
Priority to JP2005259122A priority Critical patent/JP4744247B2/ja
Publication of JP2007069461A publication Critical patent/JP2007069461A/ja
Application granted granted Critical
Publication of JP4744247B2 publication Critical patent/JP4744247B2/ja
Anticipated expiration legal-status Critical
Expired - Fee Related legal-status Critical Current

Links

Images

Landscapes

  • Folding Of Thin Sheet-Like Materials, Special Discharging Devices, And Others (AREA)

Description

本発明は製本装置の表紙位置決め機構に関するものである。
図7は無線綴じ製本装置の一例の概略の構成を示す図、図8は図7の製本装置の製本処理工程を説明する説明図であり、図7及び図8を参照して簡単に説明すると、製本装置1はクランプ部2、ミーリング部3、糊付け部4、表紙張り付け部5が設けられ、可動クランプ板7と固定クランプ板8を備えるクランパー6が各部を順に移動するように構成されている。
クランプ部2は、例えば、印刷機や複写機等から送られた葉紙15を頁順に積み重ね、一冊分積み重ねた枚葉紙(以下、「本身」という。)16をクランパー6の可動クランプ板7と固定クランプ板8の間に、本身16の背面18をレベル板9側にして挿入し、挿入された本身16を可動クランプ7の固定クランプ8側への移動、すなわちクランパー6を閉じて本身16をクランパー6に挾持させる部(本身16の製本処理開始工程)である。
ミーリング部3は、クランプ部2でクランパー6に挾持された本身16の背面18をフライス盤10により面一に揃える部(本身16のミーリング処理工程)である。糊付け部4は、ミーリング部3で面一に揃えられた本身16の背面18に糊付け機11により糊付けする部(本身16の糊付け処理工程)である。ミーリング部3及び糊付け部4での作業は、本身16をクランパー6に挾持させたままでクランパー6の移動とともに行なわれる。
表紙張り付け部(表紙張り付け機)5は、予め表紙ストッカー(あるいは給紙台)の表紙17の1枚がニップ板(締め板)12、13上に運ばれて、所定の位置に位置決めされてあり、表紙17のニップ板12、13の間に位置する上部にクランパー6に挟持された背面18に糊付けされた本身16を位置させ、ニップ板12、13及び底板14、すなわち表紙張り付け機5を少し上昇させ、本身16を、表紙17を挟んでニップ板12、13の間の底板14の上に当て本身16の背面18に表紙17を貼着し、ほぼ同時にニップ板12、13を移動して本身16の背面18側の縁辺部近傍を両側から締め付けて表紙17を折り込み、表紙17を本身16に沿わせる表紙付けする部(表紙付け処理工程)である。
製本装置は上記のように構成されているが、小型無線綴じ製本装置では、装置を小型化するため、表紙張り付け前の表紙の位置決め仮付け機構を備えておらず、表紙張り付け部で表紙の位置決めを行わなければならない。このため、従来、表紙張り付け機のニップ板上に表紙の位置決めガイドを設け、このガイドにより表紙の四辺を規制して位置決めしていた。しかし、ガイド位置の調整を手動で行うため表紙サイズの変更に伴う表紙位置決めガイドの位置調整作業に手間がかかり、また、本身に対して表紙を天地方向に希望の量だけ正確にずらす微調整の作業が困難であり、さらには表紙張り付け時には天地方向のガイドを外す手間を要するといった問題があった。
この問題を解消するために、ニップ板(締め板)上にクランパーの移動方向と平行して表紙の小口(本の小口と同じ。)の位置を決める幅自動調整可能のガイドストッパを設け、クランパーの移動方向の延長線から表紙をガイドストッパに沿わせてニップ板上に運び込むようにし、表紙の天または地(本の天地と同じ。)の端縁を自動的に位置決めするものが開発されている。
図6はこのような天または地の端縁を自動的に位置決めする表紙位置決め機構を示すもので、この図6において、6はクランパー、16は本身、17は表紙、21は表紙加圧搬送ベルト、23は状態切り替えカム、25は表紙天地方向基準ストッパ、26は加圧バネ、27は表紙加圧搬送ベルト21の駆動軸に嵌め込まれた腕、28は腕27の支点軸、29は表紙後端検出センサ、30は表紙背小口方向ガイドである。
当初、表紙天地方向基準ストッパ25は下方に下がっており、表紙加圧搬送ベルト21は腕27を介して加圧バネ26により強く加圧され、表紙背小口方向ガイド30が所定間隔より数ミリ開いた状態で位置決めされている。この状態で図示右方から表紙17が供給されると、表紙加圧搬送ベルト21によりその表紙17を表紙背小口方向ガイド30に沿ってニッピング部5に送り込まれ、表紙後端検出センサ29が表紙17の後端を検出すると、表紙加圧搬送ベルト21を停止させる。このとき、表紙17の後端は表紙天地方向基準ストッパ25の位置を過ぎており、また、表紙加圧搬送ベルト21のベルトに挟まれた状態にある。
この状態で状態切り替えカム23が所定角度回転する。この回転で表紙天地方向基準ストッパ25が図示のように上昇するとともに、状態切り替えカム23が腕27を押し上げて腕27を、支点軸28を中心に回動させ、表紙加圧搬送ベルト21の加圧が解除されるので、表紙17は自由に動く状態となる。この状態で表紙背小口方向ガイド30を設定量閉じることにより、表紙17の背小口方向の位置決めが行われる。
表紙背小口方向の位置決めが行われた後、状態切り替えカム23がさらに所定角度回転する(表紙天地方向基準ストッパ25は上昇したままである。)と、表紙加圧搬送ベルト21は下がり、弱い加圧状態となり、この状態で表紙加圧搬送ベルト21を逆方向に駆動し、表紙17を逆方向に送り、表紙17の後端を表紙天地方向基準ストッパ25に突き当て、これにより表紙天地方向の基準位置をきめる。そのあと状態切り替えカム23の回転で表紙天地方向基準ストッパ25を下降させ、予め設定した量表紙を前進させて最終の位置決めを行なう。
特開2003−291560号公報
図6に示す従来の表紙位置決め機構では、表紙の位置決めを自動化して精度良く行うことができるものの、表紙天地方向基準ストッパの上下動、表紙加圧搬送ベルトを正方向と逆方向、さらに正方向に駆動するという複雑な駆動を必要とし、その分位置決め機構が複雑であるとともに、表紙を位置決めする位置の調整に手間がかかるという問題がある。
本発明が解決しようとする課題は、簡単な機構および動作機能により、表紙の特に天地方向の位置決めを精度良く安定して行うことができるようにし、斯かる問題を解消する点にある。
本発明は、糊付け処理工程から移動したクランパに挟持され背面に糊を塗着した本身の下方に位置し、前記本身の背面に押し当てる底板および前記本身の背面側の縁辺部近傍を両側から締め付ける一対のニップ板を有する表紙貼り付け機と、前記表紙貼り付け機の前記底板および一対のニップ板からなる上面に前記クランパの移動方向の延長線から表紙を送り込む表紙搬送機と、前記表紙搬送機の表紙送り出し側の端部に配置され前記表紙搬送機から送り出される表紙の後端縁に下方の待機位置から上昇して当接し、その表紙を前記上面の所定の位置に押し進め、その後前記待機位置に戻る揺動爪を備え、前記揺動爪の押し進めにより前記表紙を前記表紙貼り付け機の上面の所定の位置に位置決めすることを主な特徴とする。
本発明では、揺動爪の押し進めを使って表紙の位置決めを行うので、ニップ板上で様々なサイズの表紙に対して、表紙の天地方向(クランパー進行方向)における位置決めを、簡単な機構と作動機能により精度良く行うことができる。また、揺動爪はその揺動によりニップ板上から退避するので、表紙張り付け動作との干渉を簡単に避けることができる。
簡単な機構および動作機能により、表紙の特に天地方向の位置決めを精度良く安定して行うことができるようにする目的を、揺動調整可能のリンク機構に連結した揺動爪の予め設定した量の揺動動作により、表紙搬送機から搬出された表紙をニップ板上の所定の位置に位置決めすることにより実現した。
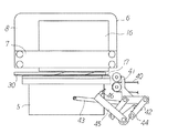
以下、本発明の実施の形態について図を参照して説明する。図1、図2は実施の形態に係る表紙張り付け部の表紙位置決め機構を示す図であり、図1は側面図、図2は上面図である。図3〜図5は表紙位置決め装置の動作状態を示す図である。なお、図7および図6に示すものと同一部分または対応する部分には同一の符号を付している。
図1、図2において、5は昇降可能の表紙張り付け機、6はクランパー、12および13は表紙張り付け機5のニップ板(締め板)、16は本身、17は表紙、30はガイド板(表紙の小口位置を決める位置決めストッパ兼用)、31は板バネ、40は表紙搬送ベルト(搬送機)、40aは加圧ローラ、41は揺動爪、42は揺動リンク機構、43は引っ張りバネ、44は図示しないモータで駆動する揺動リンク機構駆動レバー、45は検出板、46は待機位置検出センサである。
揺動リンク機構42は、表紙搬送ベルト40の搬出側の端部に配置され、揺動リンク機構42の上端は引っ張りバネ43によって表紙張り付け機5側へ附勢されている。揺動リンク駆動レバー44は図示しないモータの回動軸44aに連結され、回動軸44aの回動で揺動し、この揺動を揺動リンク機構42に伝達し、揺動リンク機構42を引っ張りバネ43のバネ力に抗して表紙張り付け機5から離れる方向および接近する方向に揺動させる。
揺動爪41は、この揺動リンク機構42の上端に連結され、揺動リンク機構42の揺動により上昇しながらニップ板12および13の端部に近づく方向へ移動し、その移動後、ニップ板12および13の端部から離れる逆方向へ下降しながら待機位置まで移動する。待機位置には、待機位置検出センサ46が配置され、また、回動軸44aには、揺動リンク駆動レバー44と連動する検出板45が連結されており、この検出板45を待機位置検出センサ46で検出することにより待機位置が決められている。この待機位置は、図3に示すように表紙搬送ベルト40で搬送する表紙17と揺動爪41が干渉しない表紙17に接近した位置とされている。この位置を基準として制御回路に数値入力してニップ板12および13の端部に近づく位置を決める。すなわち表紙17の天地方向の位置決め位置を決める。言い換えれば、揺動爪41の移動量(揺動量)の設定で、表紙17の天地方向の位置決めを調整することができる。
図3に示す揺動爪41の待機位置からの揺動駆動は、表紙搬送ベルト40で搬送する表紙の移動と同調しており、表紙搬送ベルト40で搬送される表紙17の後端が待機位置の揺動爪41を通過する時点に駆動され、図4に示すように揺動爪41は表紙搬送ベルト40から搬出され終わる表紙17の後端縁(表紙17の天または地側)に当接し、揺動爪41の予め設定した揺動量分押し進める。これによりニップ板12および13に対して表紙17の天地方向の位置決めをする。図1および図2はこの位置決めが終了した時点を示している。
ニップ板12,13のそれぞれの上にクランパー6の移動方向と平行して、表紙搬送ベルト40および揺動爪41で送り込む表紙17を案内する、表紙の小口位置を決める位置決めストッパ兼用のガイド板30が設けられ、ニップ板12,13の上に設けたガイド板30間の幅、すなわち表紙の小口間の幅は自動調整可能とされている。ガイド板30には、ニップ板12,13を軽く押える方向に附勢する板バネ31が固定されている。表紙搬送ベルト40および揺動爪41で送り込む表紙17はこの板バネ31で表紙の小口両側の端部を押えながら送り込まれる。この板バネ31の押えにより表紙17の移動を抑制することができ、表紙17が揺動爪41から離れて移動することがなく揺動爪41による位置決めを確実に行うことができる。
揺動爪41による表紙17の天地方向の位置決めが終了すると、図5に示すように揺動爪41は表紙張り付け機5から離れ、表紙17を搭載した表紙張り付け機5は上昇し、クランパー6に挟持した、背面(下端面)に糊付けした本身16の背面に表紙17を貼り付け、ニップ板12,13の締め付けで表紙付けを完成させる。なお、図5では、待機位置の揺動爪41が表紙搬送ベルト40よりも上方に突出しているが、揺動リンク機構42や揺動リンク駆動レバー44など揺動爪41を駆動する機構が表紙張り付け機5に設置しているためである。
本発明の実施の形態に係る表紙位置決め機構を示す側面図である。 図1に示す表紙位置決め機構の上面図である。 図1に示す表紙位置決め機構の待機状態を示す図である。 図1に示す表紙位置決め機構の位置決め時の状態を示す図である。 図1に示す表紙位置決め機構の表紙貼り付け時の状態を示す図である。 従来の表紙位置決め機構の表紙の天地方向位置決め時の状態を示す図である。 製本装置の一例の概略の構成を示す図である。 図8の製本装置の製本処理工程を説明する説明図である。
符号の説明
1 製本装置
2 クランプ部
3 ミーリング部
4 糊付け部
5 表紙張り付け部(機)
6 クランパー
7 可動クランプ板
8 固定クランプ板
9 レベル板
10 フライス盤
11 糊付け機
12、13 ニップ板
14 底板
16 本身
17 表紙
30 ガイド板(小口位置決め板)
31 板バネ
40 表紙搬送ベルト(搬送機)
41 揺動爪
42 揺動リンク機構
43 引っ張りバネ
44 揺動リンク機構駆動レバー
45 検出板
46 待機位置検出センサ

Claims (3)

  1. 糊付け処理工程から移動したクランパに挟持され背面に糊を塗着した本身の下方に位置し、前記本身の背面に押し当てる底板および前記本身の背面側の縁辺部近傍を両側から締め付ける一対のニップ板を有する表紙貼り付け機と、前記表紙貼り付け機の前記底板および一対のニップ板からなる上面に前記クランパの移動方向の延長線から表紙を送り込む表紙搬送機と、前記表紙搬送機の表紙送り出し側の端部に配置され前記表紙搬送機から送り出される表紙の後端縁に下方の待機位置から上昇して当接し、その表紙を前記上面の所定の位置に押し進め、その後前記待機位置に戻る揺動爪を備え、前記揺動爪の押し進めにより前記表紙を前記表紙貼り付け機の上面の所定の位置に位置決めすることを特徴とする製本装置における表紙位置決め機構。
  2. ニップ板上には、送り込まれる表紙の移動をガイドする幅調整可能の一対のガイド板を有し、前記一対のガイド板に表紙の移動を抑制する抑制手段を設けたことを特徴とする請求項1に記載の製本装置。
  3. 一対のガイド板は表紙の小口位置を決める表紙位置決めストッパであることを特徴とする請求項2に記載の製本装置における表紙位置決め機構。
JP2005259122A 2005-09-07 2005-09-07 製本装置における表紙位置決め機構 Expired - Fee Related JP4744247B2 (ja)

Priority Applications (1)

Application Number Priority Date Filing Date Title
JP2005259122A JP4744247B2 (ja) 2005-09-07 2005-09-07 製本装置における表紙位置決め機構

Applications Claiming Priority (1)

Application Number Priority Date Filing Date Title
JP2005259122A JP4744247B2 (ja) 2005-09-07 2005-09-07 製本装置における表紙位置決め機構

Publications (2)

Publication Number Publication Date
JP2007069461A JP2007069461A (ja) 2007-03-22
JP4744247B2 true JP4744247B2 (ja) 2011-08-10

Family

ID=37931343

Family Applications (1)

Application Number Title Priority Date Filing Date
JP2005259122A Expired - Fee Related JP4744247B2 (ja) 2005-09-07 2005-09-07 製本装置における表紙位置決め機構

Country Status (1)

Country Link
JP (1) JP4744247B2 (ja)

Families Citing this family (5)

* Cited by examiner, † Cited by third party
Publication number Priority date Publication date Assignee Title
JP5241001B2 (ja) * 2008-07-01 2013-07-17 ホリゾン・インターナショナル株式会社 表紙貼付け装置
DE102011119126A1 (de) * 2010-12-22 2012-06-28 Heidelberger Druckmaschinen Ag Vorrichtung zum Anlegen eines Umschlags
JP2018012205A (ja) * 2016-07-19 2018-01-25 ホリゾン・インターナショナル株式会社 製本装置
CN106585159A (zh) * 2016-12-22 2017-04-26 东莞市晟图印刷设备有限公司 一种不停机快速转版数码皮壳机
CN107364180B (zh) * 2017-07-18 2023-06-06 浙江浩达智能装备股份有限公司 一种圆角包边机的折边装置

Family Cites Families (15)

* Cited by examiner, † Cited by third party
Publication number Priority date Publication date Assignee Title
JPS5530928A (en) * 1978-08-26 1980-03-05 Komori Printing Mach Cover paper feeder for book binding machine
DE3139656A1 (de) * 1981-10-06 1983-04-21 Rahdener Maschinenfabrik August Kolbus Gmbh & Co Kg, 4993 Rahden Umschlaganlegevorrichtung fuer eine buchbindemaschine
JPH01229697A (ja) * 1988-03-10 1989-09-13 Kato Seiki:Kk 製本機における表紙同調付着装置
JPH0717503Y2 (ja) * 1988-06-10 1995-04-26 株式会社エスケイセールス 製本の表紙位置決め装置
JP3597316B2 (ja) * 1996-06-29 2004-12-08 ホリゾン・インターナショナル株式会社 製本装置の表紙位置決め装置
JP3836216B2 (ja) * 1997-04-25 2006-10-25 ホリゾン・インターナショナル株式会社 表紙位置決め装置
JP2001080232A (ja) * 1999-09-09 2001-03-27 Horizon International Kk 表紙位置決め搬送装置
JP4439042B2 (ja) * 1999-09-10 2010-03-24 ホリゾン・インターナショナル株式会社 製本処理装置
JP2001080235A (ja) * 1999-09-17 2001-03-27 Web Tec Kk 表紙の位置決め装置
JP4278799B2 (ja) * 1999-10-25 2009-06-17 ホリゾン・インターナショナル株式会社 用紙揃え送り装置及びその装置を備えた綴じ機
JP4077208B2 (ja) * 2002-02-08 2008-04-16 ホリゾン・インターナショナル株式会社 製本機
JP4156260B2 (ja) * 2002-04-08 2008-09-24 ホリゾン・インターナショナル株式会社 製本装置における表紙位置決め機構
JP4181952B2 (ja) * 2003-09-18 2008-11-19 株式会社デュプロ シート束整合装置
JP2005153075A (ja) * 2003-11-26 2005-06-16 Duplo Corp 冊子辺縁断裁装置
JP4563051B2 (ja) * 2004-03-04 2010-10-13 株式会社デュプロ 製本装置

Also Published As

Publication number Publication date
JP2007069461A (ja) 2007-03-22

Similar Documents

Publication Publication Date Title
JP4451815B2 (ja) シート束搬送装置及びこれを用いた製本装置
JP3788584B2 (ja) 製本装置および方法
JP4744247B2 (ja) 製本装置における表紙位置決め機構
JP4481885B2 (ja) 製本装置及びこれを用いた画像形成装置
JP4152401B2 (ja) シート束搬送装置
JP4156260B2 (ja) 製本装置における表紙位置決め機構
JP5022016B2 (ja) 製本装置及びこれを備えた画像形成システム
JP3165954B2 (ja) 製本装置用用紙供給装置
JP2015196214A (ja) 裁断装置及び製本装置
JP4528674B2 (ja) 製本装置及びこれを用いた画像形成装置
JP4760512B2 (ja) 製本装置
JP2006347691A (ja) シート集積装置及びこれを用いた製本装置
JP4671843B2 (ja) 製本装置の本身搬送機構
JP4177356B2 (ja) シート束搬送装置及びこれを用いた製本装置
JP4563051B2 (ja) 製本装置
US6632059B2 (en) Method for adhesive attachment of a cover provided with a binding strip and device for performing the method
JP5830734B2 (ja) 封筒供給装置及び封緘装置
JP2014198441A (ja) 製本装置
JP5289191B2 (ja) 無線綴じ製本機における本身供給装置
JP4101256B2 (ja) 製本装置及びこれを用いた画像形成装置
JP4346415B2 (ja) 製本機用本身供給装置
JPH0427876Y2 (ja)
JPH09220877A (ja) 表紙位置決め装置
JP2008093890A (ja) 製本装置
JP2023012031A (ja) 用紙搬送装置

Legal Events

Date Code Title Description
A621 Written request for application examination

Free format text: JAPANESE INTERMEDIATE CODE: A621

Effective date: 20080828

A977 Report on retrieval

Free format text: JAPANESE INTERMEDIATE CODE: A971007

Effective date: 20101207

A131 Notification of reasons for refusal

Free format text: JAPANESE INTERMEDIATE CODE: A131

Effective date: 20101214

A521 Request for written amendment filed

Free format text: JAPANESE INTERMEDIATE CODE: A523

Effective date: 20110209

TRDD Decision of grant or rejection written
A01 Written decision to grant a patent or to grant a registration (utility model)

Free format text: JAPANESE INTERMEDIATE CODE: A01

Effective date: 20110510

A01 Written decision to grant a patent or to grant a registration (utility model)

Free format text: JAPANESE INTERMEDIATE CODE: A01

A61 First payment of annual fees (during grant procedure)

Free format text: JAPANESE INTERMEDIATE CODE: A61

Effective date: 20110510

FPAY Renewal fee payment (event date is renewal date of database)

Free format text: PAYMENT UNTIL: 20140520

Year of fee payment: 3

R150 Certificate of patent or registration of utility model

Ref document number: 4744247

Country of ref document: JP

Free format text: JAPANESE INTERMEDIATE CODE: R150

Free format text: JAPANESE INTERMEDIATE CODE: R150

R250 Receipt of annual fees

Free format text: JAPANESE INTERMEDIATE CODE: R250

R250 Receipt of annual fees

Free format text: JAPANESE INTERMEDIATE CODE: R250

R250 Receipt of annual fees

Free format text: JAPANESE INTERMEDIATE CODE: R250

LAPS Cancellation because of no payment of annual fees