JP4348255B2 - 車両用シート - Google Patents

車両用シート Download PDF

Info

Publication number
JP4348255B2
JP4348255B2 JP2004245553A JP2004245553A JP4348255B2 JP 4348255 B2 JP4348255 B2 JP 4348255B2 JP 2004245553 A JP2004245553 A JP 2004245553A JP 2004245553 A JP2004245553 A JP 2004245553A JP 4348255 B2 JP4348255 B2 JP 4348255B2
Authority
JP
Japan
Prior art keywords
seat back
side frame
vehicle seat
elastic body
frame
Prior art date
Legal status (The legal status is an assumption and is not a legal conclusion. Google has not performed a legal analysis and makes no representation as to the accuracy of the status listed.)
Expired - Fee Related
Application number
JP2004245553A
Other languages
English (en)
Other versions
JP2005132345A (ja
Inventor
義仁 川島
Current Assignee (The listed assignees may be inaccurate. Google has not performed a legal analysis and makes no representation or warranty as to the accuracy of the list.)
Delta Kogyo Co Ltd
Original Assignee
Delta Kogyo Co Ltd
Priority date (The priority date is an assumption and is not a legal conclusion. Google has not performed a legal analysis and makes no representation as to the accuracy of the date listed.)
Filing date
Publication date
Application filed by Delta Kogyo Co Ltd filed Critical Delta Kogyo Co Ltd
Priority to JP2004245553A priority Critical patent/JP4348255B2/ja
Priority to KR1020040078918A priority patent/KR100596294B1/ko
Priority to DE602004026975T priority patent/DE602004026975D1/de
Priority to EP04023775A priority patent/EP1522452B1/en
Priority to US10/959,060 priority patent/US7163261B2/en
Priority to TW093130339A priority patent/TWI239912B/zh
Priority to CNB2004100959363A priority patent/CN100408375C/zh
Publication of JP2005132345A publication Critical patent/JP2005132345A/ja
Application granted granted Critical
Publication of JP4348255B2 publication Critical patent/JP4348255B2/ja
Anticipated expiration legal-status Critical
Expired - Fee Related legal-status Critical Current

Links

Images

Classifications

    • BPERFORMING OPERATIONS; TRANSPORTING
    • B60VEHICLES IN GENERAL
    • B60NSEATS SPECIALLY ADAPTED FOR VEHICLES; VEHICLE PASSENGER ACCOMMODATION NOT OTHERWISE PROVIDED FOR
    • B60N2/00Seats specially adapted for vehicles; Arrangement or mounting of seats in vehicles
    • B60N2/24Seats specially adapted for vehicles; Arrangement or mounting of seats in vehicles for particular purposes or particular vehicles
    • B60N2/42Seats specially adapted for vehicles; Arrangement or mounting of seats in vehicles for particular purposes or particular vehicles the seat constructed to protect the occupant from the effect of abnormal g-forces, e.g. crash or safety seats
    • B60N2/427Seats or parts thereof displaced during a crash
    • B60N2/42727Seats or parts thereof displaced during a crash involving substantially rigid displacement
    • B60N2/42745Seats or parts thereof displaced during a crash involving substantially rigid displacement of the back-rest
    • BPERFORMING OPERATIONS; TRANSPORTING
    • B60VEHICLES IN GENERAL
    • B60NSEATS SPECIALLY ADAPTED FOR VEHICLES; VEHICLE PASSENGER ACCOMMODATION NOT OTHERWISE PROVIDED FOR
    • B60N2/00Seats specially adapted for vehicles; Arrangement or mounting of seats in vehicles
    • B60N2/68Seat frames
    • B60N2/682Joining means
    • BPERFORMING OPERATIONS; TRANSPORTING
    • B60VEHICLES IN GENERAL
    • B60NSEATS SPECIALLY ADAPTED FOR VEHICLES; VEHICLE PASSENGER ACCOMMODATION NOT OTHERWISE PROVIDED FOR
    • B60N2/00Seats specially adapted for vehicles; Arrangement or mounting of seats in vehicles
    • B60N2/80Head-rests
    • B60N2/806Head-rests movable or adjustable
    • BPERFORMING OPERATIONS; TRANSPORTING
    • B60VEHICLES IN GENERAL
    • B60NSEATS SPECIALLY ADAPTED FOR VEHICLES; VEHICLE PASSENGER ACCOMMODATION NOT OTHERWISE PROVIDED FOR
    • B60N2/00Seats specially adapted for vehicles; Arrangement or mounting of seats in vehicles
    • B60N2/80Head-rests
    • B60N2/888Head-rests with arrangements for protecting against abnormal g-forces, e.g. by displacement of the head-rest

Landscapes

  • Engineering & Computer Science (AREA)
  • Aviation & Aerospace Engineering (AREA)
  • Transportation (AREA)
  • Mechanical Engineering (AREA)
  • Seats For Vehicles (AREA)
  • Chair Legs, Seat Parts, And Backrests (AREA)

Description

本発明は、車両後方から衝突された場合の乗員のむち打ちを防止することが可能な車両用シートに関する。
車両用シートには、通常シートバックの上方にヘッドレストが設けられており、乗員が着座した状態では、乗員の頭部とヘッドレストとの間には所定の隙間があり、車両後方から衝突された場合、身体は前方に移動するのに対し、頭部は後方に残ることで、頸部に負荷がかかりむち打ち症になることがある。
そこで、頭部とヘッドレスト間の隙間を小さくして、被害を最小限に抑えることは可能ではあるが、通常使用状態でも頭部がヘッドレストに常に触れたり、頭部を少し動かすことでヘッドレストと干渉して不快に感じるという問題がある。
また、受圧部に連結されたヘッドレストを揺動自在に取り付けるとともにコイルスプリングにより常時後方に付勢し、車両後方からの衝突に際し、受圧部に入力された荷重によりコイルスプリングの付勢力に抗してヘッドレストを前方に移動させることも提案されているが、衝突後、頭部に当接したヘッドレストが直ちに元の位置に復帰する構成のため、やはり頸部に負荷がかかるという問題がある(例えば、特許文献1参照。)。
そこで、車両後方からの衝突時、ヘッドレストを前方に移動させ、さらにその位置に保持する機構も提案されている(例えば、特許文献2あるいは3参照。)。
特開2001−39194号公報 特開2001−163097号公報 特開2002−274240号公報
特許文献2に記載の車両用シートにあっては、車両後方からの衝突時、前方に移動したヘッドレストをその位置に保持する機構としてラチェット機構を採用しているが、衝突後、前方に移動したヘッドレストを元の位置に復帰させることができなかった。また、衝突後、ヘッドレストが前方に保持されることで、頭部の衝撃はある程度軽減されるものの、まだまだ不十分であった。
また、特許文献3に記載の車両用シートにおいては、同様にラチェット機構を採用しているが、衝突後、前方に移動したヘッドレストを元の位置に復帰させる解除手段が設けられている。しかしながら、衝突後、ヘッドレストはやはり前方に保持される構成で、機構も複雑でコストアップになるという問題がある。
本発明は、従来技術の有するこのような問題点に鑑みてなされたものであり、通常は乗員頭部とヘッドレスト間の隙間は確保しておき、車両後方からの衝突に際し、ヘッドレストを前方に移動させるとともに、衝突後、ヘッドレストを元の位置に復帰可能な構成とし、復帰時抵抗を持たせることで頸部の負荷を軽減することができる簡素な構成の車両用シートを提供することを目的としている。
上記目的を達成するために、本発明のうちで請求項1に記載の発明は、シートクッションと、該シートクッションに対し傾倒自在に取り付けられたシートバックと、該シートバックの上部に取り付けられたヘッドレストとを有する車両用シートにおいて、シートクッションフレームに取り付けられた一対のサイドフレームと、該サイドフレームに回転ヒンジを介して取り付けられたシートバックフレームとを備え、該シートバックフレーム及び前記サイドフレームのいずれか一方に弾性体を取り付け、前記シートバックフレーム及び前記サイドフレームの他方に前記弾性体をガイドするガイド部を形成するとともに、該ガイド部に前記弾性体を保持する保持部を形成し、通常着座時には、前記弾性体を前記保持部に保持して前記シートバックフレームを前記サイドフレームに固定する一方、車両後方より所定値以上の荷重が入力された場合には、人体の後方への移動により腰部が前記シートバックフレームの下部を押し前記弾性体が変形して前記保持部より離脱し前記ガイド部に沿って後方に移動することで、前記シートバックフレームが前記回転ヒンジを中心に揺動し、前記ヘッドレストを前方に移動させるようにしたことを特徴とする。
また、請求項2に記載の発明は、前記弾性体としてバネ部材を使用し、前記保持部の形状を前記保持部により保持される前記バネ部材の部位と相補形状としたことを特徴とする。
さらに、請求項3に記載の発明は、前記サイドフレームに前記ガイド部を形成するとともに、前記シートバックフレームの下部に前記バネ部材を取り付けたことを特徴とする。
また、請求項4に記載の発明は、前記ガイド部が前記サイドフレームに形成されたガイド孔で、前記保持部が前記ガイド孔の近傍に形成された凹部であることを特徴とする。
また、請求項5に記載の発明は、前記バネ部材と前記保持部との間に案内部材を介装し、前記保持部の形状を前記保持部により保持される前記案内部材の部位と相補形状としたことを特徴とする。
また、請求項6に記載の発明は、前記バネ部材が皿バネであることを特徴とする。
また、請求項7に記載の発明は、前記皿バネに放射状の突出部を形成したことを特徴とする。
また、請求項8に記載の発明は、前記ガイド部を前記サイドフレームに形成されたガイド孔と該ガイド孔の両側に形成された隆起部で構成するとともに、前記保持部を前記ガイド孔の両側に形成された二つの凹部で構成し、前記弾性体に形成された二つの突起を前記二つの凹部にそれぞれ嵌入させたことを特徴とする。
また、請求項9に記載の発明は、前記弾性体が前記保持部から後方に向かって移動を開始するときの荷重を調節できるようにしたことを特徴とする。
また、請求項10に記載の発明は、前記シートバックフレームの下方に受圧板を取り付け、車両後方より所定値以上の荷重が入力された場合には、人体の移動による荷重を前記受圧板に伝達するようにしたことを特徴とする。
また、請求項11に記載の発明は、前記シートバックフレームが前記回転ヒンジを中心に揺動して前記ヘッドレストが前方に移動した後、前記ヘッドレストあるいは前記シートバックフレームに荷重を加えることにより前記弾性体を前記保持部に復帰させるようにしたことを特徴とする。
本発明によれば、通常着座時には、弾性体をガイド部に形成された保持部に保持させてシートバックフレームをサイドフレームに固定し、例えば車両後方よりの衝突等により所定値以上の荷重が入力された場合には、人体の後方への移動により腰部がシートバックフレームの下部を押し弾性体が変形して保持部より離脱しガイド部に沿って後方に移動することで、ヘッドレストを前方に移動させるようにしたので、弾性体の弾力性で乗員の頸部の損傷を防止することができる。また、ヘッドレストは弾性体の弾力性により前方位置に保持されるが、衝突後のリバウンド(体重移動)によりヘッドレストが元の位置に復帰するに際し、ある程度の抵抗が生じることで、頸部の負荷が軽減される。
以下、本発明の実施の形態について、図面を参照しながら説明する。
本発明にかかる車両用シートは、車体フロアに取り付けられるシートクッションと、シートクッションに対し傾倒自在に取り付けられるシートバックとを備えている。
実施の形態1.
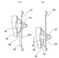
図1は、本発明の実施の形態1にかかる車両用シートのシートバックを示しており、シートクッションフレーム(図11あるいは図12参照)にリクライニングアジャスタ2を介して取り付けられる左右一対のサイドフレーム4と、サイドフレーム4に取り付けられるシートバックフレーム6と、シートバックフレーム6に取り付けられるパッド材8と、パッド材8を被覆する表皮材10とにより構成されている。ヘッドレスト11(図4参照)は、シートバックフレーム6の上部に取り付けられる。
左右のリクライニングアジャスタ2は連結軸12を介して連結されており、一方のリクライニングアジャスタ2に取り付けられた操作レバー14を操作することにより、サイドフレーム4は所望の角度に設定される。
図2及び図3に示されるように、リクライニングアジャスタ2はシートクッションフレームに取り付けられる下部ブラケット16と、下部ブラケット16に対し傾倒自在に取り付けられた上部ブラケット18とを備えているが、リクライニングアジャスタ2は本発明の主眼ではないので、詳細説明は省略する。
リクライニングアジャスタ2の上部ブラケット18には、サイドフレームインナー20が取り付けられており、サイドフレームインナー20には、シートバックフレーム6に取り付けられたボルト(後述)が遊挿されるガイド孔(ガイド部)20aが形成されている。また、ガイド孔20aの前端部には弾性部材(後述)を保持するための凹部(弾性体保持部)20bが形成されている。サイドフレームインナー20の上部には、サイドフレーム4が接合されており、サイドフレームインナー20に形成された凹部20bに対向するサイドフレーム4には、ナット挿入孔4aが穿設されている。さらに、サイドフレーム4の上部には回転ヒンジ挿入孔4bが穿設されている。なお、上述したガイド孔20aは、回転ヒンジ挿入孔4bを中心とする円弧状の長孔形状に形成されている。
一方、シートバックフレーム6は、サイドフレームインナー20に形成された凹部20bに対向する部位にブラケット22が接合されており、このブラケット22に凹部20bに向かって突出する第1のボルト24が取り付けられている。また、サイドフレーム4に形成された回転ヒンジ挿入孔4bに対向するシートバックフレーム6には、別のブラケット26が接合されており、このブラケット26に回転ヒンジ挿入孔4bに向かって突出する回転ヒンジとしての第2のボルト28が取り付けられている。
シートバックフレーム6をサイドフレーム4及びサイドフレームインナー20に取り付けるに際し、第1のボルト24が皿バネ30の中心孔30aとサイドフレームインナー20の凹部20bの中心孔(ガイド孔20aの先端部)に挿通されるとともに、第2のボルト28がサイドフレーム4の回転ヒンジ挿入孔4bに挿通される。また、サイドフレーム4のナット挿入孔4aを介して第1のナット32が第1のボルト24に螺合され、第2のナット34が第2のボルト28に螺合される。
なお、弾性体あるいはバネ部材としての皿バネ30は、外方に向かって円錐状の内端部が、この内端部と相補形状をなすサイドフレームインナー20の凹部20bの円錐状の傾斜面に嵌入して保持されており、皿バネ30の外端部はブラケット22の平坦面に当接している。
上記構成の本発明にかかる車両用シートは、通常の着座時には、皿バネ30がサイドフレームインナー20の凹部20bに保持されているので、シートバックフレーム6はサイドフレーム4に固定されており、この状態で乗員の上体の荷重をシートバックフレーム6で支持している。また、シートバックフレーム6の上部に取り付けられたヘッドレスト11は、乗員の頭部とは所定の間隔をおいて離隔している。
一方、例えば車両後方から衝突(後突)され、後方から所定値以上の荷重が入力された場合、人体は相対的にシートバックに押しつけられる。このとき、人体の後方への移動により腰部がシートバックフレーム6の下部を後方に押すことになるので、皿バネ30は変形して(圧縮されて)サイドフレームインナー20の凹部20bから離脱し、第1のボルト24とともにガイド孔20aに沿ってガイド孔20aの後端部に向かって移動する。したがって、シートバックフレーム6は第2のボルト28を回転ヒンジとして揺動し、ヘッドレスト11は乗員の頭部に向かって移動して乗員の頭部を支持することになる。
図4は、通常の着座状態(a)と、後突時のシートバックフレーム6及びヘッドレスト11の作動状態(b)を示している。
なお、第1のボルト24と第2のボルト28との間隔は、第2のボルト28とヘッドレスト11の高さ方向の間隔より大きく設定されているが、後突時に乗員頭部の荷重がヘッドレスト11に遅れて加えられると、腰部が押し戻されヘッドレスト11は元の位置に向かって移動する。しかしながら、後突時の皿バネ30の変形は弾性範囲内の変形であることから、ある程度の抵抗が生じ、乗員の頚部の負荷が軽減される。
また、ヘッドレスト11が元の位置に完全に復帰できなかった場合、ヘッドレスト11に後方への荷重を加えることにより、あるいは、シートバックフレーム6の下部に前方への荷重を加えることにより、第2のボルト28及び皿バネ30はガイド孔20aに沿って前方に向かって移動し、皿バネ30は凹部20bに再び保持される(元の位置に復帰する)。
なお、上記実施の形態において、皿バネ30及び第1のボルト24のガイド孔20aをサイドフレームインナー20に形成したが、サイドフレームインナーをサイドフレームと一体的に形成し、サイドフレームの一部にガイド孔を形成する構成も可能である。
また、上記実施の形態においては、皿バネ30を弾性体として採用したが、後述するように、皿バネに放射状の突出部を複数設けて、突出部がブラケット22の平坦面に当接するようにしてもよい。この場合、後突時に皿バネの突出部が容易に変形し、安定した荷重で皿バネがガイド孔20aに沿って移動する。
さらに、皿バネ30あるいは複数の突出部を有する皿バネと凹部20bとの間に円錐状の斜面を有する樹脂製あるいは金属製ワッシャを案内部材として介装することもできる。
図5及び図6は、複数の突出部36aを有する皿バネ36と凹部20bとの間に上述した円錐状の斜面を有するワッシャ38を介装した構成を示している。この構成においては、ワッシャ38の円錐状斜面が、この斜面と相補形状をなすサイドフレームインナー20の凹部20bの円錐状の傾斜面に嵌入して保持されており、ワッシャ38の反対側平坦面は、皿バネ36の円錐形状の内端部外面と当接している。また、皿バネ36の複数の突出部36aがブラケット22の平坦面に当接している。
なお、図5及び図6の構成において、皿バネ36に代えて、円筒状のゴム体や圧縮バネやウェーブワッシャ等を使用することもできる。
また、皿バネ30,36をシートバックフレーム6に設けられた第1のボルト24に取り付けるようにしたが、シートバックフレーム6にガイド孔を有するブラケットを接合するとともに、サイドフレームインナー20に設けられたボルトに皿バネを取り付けることもできる。
さらに、図7及び図8に示されるように、サイドフレームインナー20に形成されたガイド孔20aの前端部を除く両側にガイド孔20aと略平行に延びる凸部40を形成することも可能で、この場合、ガイド孔20aの前端部には皿バネ30(あるいは36)を保持するための凹部は形成されていない。
この構成において、通常の着座時には、図8(a)に示されるように、皿バネ30がガイド孔20aの前端部に保持されている。一方、後突時には、図8(b)に示されるように、皿バネ30は変形して(圧縮されて)凸部40に乗り上げ、第1のボルト24とともにガイド孔20aに沿ってガイド孔20aの後端部に向かって移動する。したがって、シートバックフレーム6は第2のボルト28を回転ヒンジとして揺動し、ヘッドレスト11は乗員の頭部に向かって移動して乗員の頭部を支持することになる。
また、図9に示されるように、金属製のボール42を介して後突時にシートバックフレーム6を揺動させることも可能である。
すなわち、サイドフレーム4の下端部をサイドフレームインナー20に接合し、サイドフレームインナー20に凹部44をサイドフレーム4に向かって円錐状に形成するとともに、シートバックフレーム6に接合されたブラケット22にボール収容孔22aを形成して、ボール42をサイドフレームインナー20の凹部44とブラケット22のボール収容孔22aに収容している。また、ブラケット22には板ばね等の弾性体46の一端が螺着されており、この弾性体46の他端でボール42を凹部44に向かって付勢している。
この構成は、通常の着座時には、ボール42は弾性体46の弾性力により凹部44内に保持されている。一方、後突時には、シートバックフレーム6の下部に後方への荷重が加わるので、ボール42を付勢している弾性体46の他端部が内方に向かって持ち上げられる。その結果、ボール42は凹部44から離脱して、ボール収容孔22aに収容された状態で後方に向かって移動する。したがって、シートバックフレーム6は第2のボルト28を回転ヒンジとして揺動し、ヘッドレスト11は乗員の頭部に向かって移動して乗員の頭部を支持することになる。
さらに、図10に示される構成も可能である。
詳述すると、図10に示されるように、サイドフレーム4の下端部をサイドフレームインナー20に接合し、サイドフレームインナー20に前後方向に延びる矩形長孔20cを形成するとともに、シートバックフレーム6に接合されたブラケット22にも同一形状の矩形長孔22bを形成し、略L字状に折曲され基端部がブラケット22に螺着された板ばね等の弾性体48の先端部を二つの矩形長孔20c,22bに遊挿している。弾性体48の先端後部にはテーパ状の切欠部48aが形成されており、この切欠部48aがサイドフレームインナー20の矩形長孔20cの後縁に対向するように設定されている。
この構成において、通常の着座時には、弾性体48の先端部は二つの矩形長孔20c,22bに遊挿され保持されている。一方、後突時には、シートバックフレーム6の下部に後方への荷重が加わるので、弾性体48の弾性力に抗して弾性体48の先端後部に形成されたテーパ状の切欠部48aがサイドフレームインナー20の矩形長孔20cの後縁に乗り上げ、内方に向かって持ち上げられる。その結果、弾性体48の先端部は矩形長孔20cから離脱して後方に向かって移動する。したがって、シートバックフレーム6は第2のボルト28を回転ヒンジとして揺動し、ヘッドレスト11は乗員の頭部に向かって移動して乗員の頭部を支持することになる。
実施の形態2.
図11及び図12は、本発明の実施の形態2にかかる車両用シートを示しており、以下上述した実施の形態1との相違点を主に説明する。
リクライニングアジャスタ2の上部ブラケット18には、サイドフレーム50の下端部が取り付けられており、サイドフレーム50には、シートバックフレーム52の下端部近傍に取り付けられたボルト(後述)が遊挿されるガイド孔(ガイド部)50aが形成されている。
図13に示されるように、ガイド孔50aの後端部を除く両側には、ガイド孔50aと略平行に延びるとともに外方に向かって凸状の隆起部54が形成されており、隆起部54の中間部には、弾性部材(後述)を保持するための凹部(弾性体保持部)54aが形成されている。さらに、サイドフレーム50の上部には回転ヒンジ挿入孔50bが穿設されている。なお、上述したガイド孔50aは、回転ヒンジ挿入孔50bを中心とする円弧状の長孔形状に形成されている。
一方、上部にヘッドレスト11が取り付けられたシートバックフレーム52は、略逆U字状に形成されており、図12及び図14に示されるように、その下端部には揺動リンク56の一端が回動自在に取り付けられ、揺動リンク56の他端はサイドフレーム50の下端部に形成された切欠50cに嵌入している。また、揺動リンク56の中間部にはコイルスプリング58の一端が係止され、コイルスプリング58の他端がサイドフレーム50の下端部に係止されることで、揺動リンク56はその他端が切欠50cに向かって付勢されている。
さらに、サイドフレーム50に形成されたガイド孔50aに対向するシートバックフレーム52には、ガイド孔50aに向かって突出する第1のボルト60が取り付けられており、サイドフレーム50に形成された回転ヒンジ挿入孔50bに対向するシートバックフレーム52には、回転ヒンジ挿入孔50bに向かって突出する回転ヒンジとしての第2のボルト62が取り付けられている。
また、シートバックフレーム52の両側部には複数のS字バネ64の両端が固定されており、下方に位置する二つのS字バネ64の間には着座者の腰部に対向する受圧板66が設けられ、その両端はS字バネ64と同様、シートバックフレーム52の両側部に固定されている。なお、S字バネ64はシートバックフレーム52をカバーするパッド材(図示せず)の裏面に当接しているのに対し、受圧板66はパッド材の裏面とは離隔しており、人が座ったときに初めて受圧板66はパッド材と当接する。
シートバックフレーム52をサイドフレーム50に取り付けるに際し、第1のボルト60がサイドフレーム50のガイド孔50aと略長円形あるいは菱形状の弾性部材(板バネ)68の中心孔68aに挿通されるとともに、第2のボルト62がサイドフレーム50の回転ヒンジ挿入孔50bに挿通された後、第1及び第2のボルト60,62にはナット70,72が螺合される。
なお、弾性部材68の両端にはサイドフレーム50に向かって凸状の突起74が、サイドフレーム50に形成された隆起部54の凹部54aと相補形状をなすように形成されており、第1のボルト60とナット70とを螺合させるに際し、突起74が隆起部54の凹部54aに嵌入する。このとき、第1のボルト60はガイド孔50aの前端部に位置している。
上記構成の本発明にかかる車両用シートは、通常の着座時には、弾性部材68の突起74がサイドフレーム50に形成された隆起部54の凹部54aに嵌入して保持されているので、シートバックフレーム52はサイドフレーム50に固定されており、この状態で乗員の上体の荷重をシートバックフレーム52で支持している。また、シートバックフレーム52の上部に取り付けられたヘッドレスト11は、乗員の頭部とは所定の間隔をおいて離隔している。
一方、例えば車両後方から衝突(後突)され、後方から所定値以上の荷重が入力された場合、人体は相対的にシートバックに押しつけられる。このとき、人体の後方への移動により腰部が受圧板66を後方に押すことになるので、弾性部材68が変形し、弾性部材68の突起74は隆起部54の凹部54aから離脱し、第1のボルト60とともにガイド孔50aに沿ってガイド孔50aの後端部に向かって移動する。したがって、シートバックフレーム52は第2のボルト62を回転ヒンジとして揺動し、ヘッドレスト11は乗員の頭部に向かって移動して乗員の頭部を支持することになる。
図15(a)及び(b)は、通常の着座状態と、後突時のシートバックフレーム52及びヘッドレスト11の作動状態をそれぞれ示している。
なお、図16(a)に示されるように、隆起部54は後方に向かってなだらかなテーパ形状を呈していることから、作動時(ヘッドレスト11の前方移動時)には、弾性部材68が容易に後方へ移動できるように作用し、ヘッドレスト11を元の位置に復帰させる時には、ある程度の抵抗を与えることになる。
後突試験により、人体からの荷重は最初腰部が高く、その後胸部や頭部が高くなることが分かっており、本発明においては、腰部の荷重が高くなった時点でシートバックフレーム52の揺動機構が働いて、一旦ヘッドレスト11が前方へ移動し頭部を保持する。その後、胸部や頭部の荷重が高くなったときには、上述したテーパ形状の作用により、頭部や胸部の衝撃を吸収しながら、弾性部材68が元の保持位置に復帰する(リバウンド)。
また、弾性部材68の突起74が嵌入する凹部54aは必ずしも隆起部54に形成する必要はなく、凹部54aが形成されたサイドフレーム50の形状を図16(b)あるいは(c)に示されるように、後方に向かってなだらかに上昇するテーパ形状や平坦な形状に設定することによりヘッドレスト11の前方移動時あるいは復帰時の抵抗を種々変更することができる。図16(a)〜(c)における中段及び下段のグラフは、ヘッドレスト11の前方移動時及び復帰時の荷重をそれぞれ示している。
なお、弾性部材68の突起74が隆起部54の凹部54aから離脱するときの荷重は、ナット70により調節可能で、図12ではナット70に代えてナット付き調節ダイヤル70Aを図示している。ナット70あるいは調節ダイヤル70Aにより第1のボルト60との締め付け力を変えることで凹部54aからの突起74の離脱時の荷重を変更することができる。
また、上記実施の形態1においては、シートバックを大きく後倒させた時に、通常着座時に着座者の腰部が当接する部位に大きな荷重(例えば、着座者の体重等)が加わると、シートバックフレームの揺動機構が働く可能性があるが、本実施の形態においては、シートバック後倒時におけるシートバックフレームの揺動機構は働かない構成となっている。
詳述すると、シートバックを図15(a)に示される着座状態から図15(c)の状態まで後倒させると、シートバックフレーム52の下端部に回動自在に取り付けられた揺動リンク56の下端部が、シートクッションフレーム76の後端部に形成された係合部78に当接する。その後、シートバックをさらに後倒させると、揺動リンク56の下端部は係合部78に当接した状態で、サイドフレーム50の下端部に形成された切欠50cより離脱し、図15(d)〜(f)に示されるように、シートバックフレーム52の下端部を所定の高さに維持する。したがって、例えば図15(f)に示される状態で、受圧板66に着座者の体重が加わっても、シートバックフレーム52の揺動リンク56との連結部は揺動リンク56に支えられて所定の高さに保持されており、弾性部材68の突起74が隆起部54の凹部54aから離脱することはない。
また、後突により弾性部材68の突起74が隆起部54の凹部54aから一旦離脱し、その後のリバウンドにより弾性部材68が元の保持位置に復帰しなかったとしても、シートバックを図15(f)に示される状態まで後倒することで、シートバックフレーム52の下端部が揺動リンク56により徐々に持ち上げられ、元の位置に復帰する。すなわち、揺動リンク56は、シートバックフレーム52の揺動機構の復帰手段あるいはシートバック後倒時における揺動機構の作動防止手段として作用し、上述した実施の形態1にも適用できるものである。
また、後突時、人体の移動による荷重が伝達される受圧板66についても、同様に実施の形態1にも適用できるものである。
本発明にかかる車両用シートは、シートバックフレーム及びサイドフレームのいずれか一方に弾性体を取り付け、他方に弾性体をガイドするガイド部を形成しただけの構成で、後突時ヘッドレストを前方に移動させて乗員の頭部を支持するとともに、後突後ある程度の抵抗を持って元の位置に向かって移動させるようにしたので、簡素な構成で乗員のむち打ち症を防止することができる車両用シートとして有用である。
本発明の実施の形態1にかかる車両用シートを構成するシートバックの分解斜視図である。 図1のシートバックの部分分解斜視図である。 図1のシートバックの別の部分分解斜視図である。 本発明にかかる車両用シートの側面図を示しており、(a)は通常着座時を、(b)は後突時の状態をそれぞれ示している。 実施の形態1にかかる車両シートの変形例の要部分解斜視図である。 図5の部分縦断面図である。 実施の形態1にかかる車両シートの別の変形例の要部分解斜視図である。 図7の部分縦断面図であり、(a)は(a)は通常着座時を、(b)は後突時の状態をそれぞれ示している。 実施の形態1にかかる車両シートのさらに別の変形例の要部分解斜視図である。 実施の形態1にかかる車両シートのさらに別の変形例の要部分解斜視図である。 本発明の実施の形態2にかかる車両用シートの斜視図である。 図11の車両用シートの分解斜視図である。 図11の車両用シートに設けられたシートバックの部分斜視図である。 シートバックの別の部分斜視図である。 シートバックを後倒した場合の種々の側面図である。 図13における線A−Aに沿った断面図と、ヘッドレストの前方移動時及び復帰時の荷重を示しており、(a)は図13に示される構成のものを、(b)及び(c)はその変形例の構成のものをそれぞれ示している。
符号の説明
2 リクライニングアジャスタ、 4 サイドフレーム、 6 シートバックフレーム、
8 パッド材、 10 表皮材、 11 ヘッドレスト、 12 連結軸、
14 操作レバー、 16 下部ブラケット、 18 上部ブラケット、
20 サイドフレームインナー、 20a ガイド孔、 20b 凹部、
20c 長孔、 22,26 ブラケット、 22a ボール収容孔、 22b 長孔、
24 第1のボルト、 28 第2のボルト、 30,36 皿バネ、
32 第1のナット、 34 第2のナット、 36a 突出部、 38 ワッシャ、
40 凸部、 42 ボール、 44 凹部、 46,48 弾性体、
48a 切欠部、 50 サイドフレーム、 50a ガイド孔、
52 シートバックフレーム、 54 隆起部、 54a 凹部、 56 揺動リンク、
58 コイルスプリング、 60 第1のボルト、 62 第2のボルト、
64 S字バネ、 66 受圧板、 68 弾性部材、 70,72 ナット、
74 突起、 76 シートクッションフレーム、 78 係合部。

Claims (11)

  1. シートクッションと、該シートクッションに対し傾倒自在に取り付けられたシートバックと、該シートバックの上部に取り付けられたヘッドレストとを有する車両用シートにおいて、
    シートクッションフレームに取り付けられた一対のサイドフレームと、該サイドフレームに回転ヒンジを介して取り付けられたシートバックフレームとを備え、該シートバックフレーム及び前記サイドフレームのいずれか一方に弾性体を取り付け、前記シートバックフレーム及び前記サイドフレームの他方に前記弾性体をガイドするガイド部を形成するとともに、該ガイド部に前記弾性体を保持する保持部を形成し、通常着座時には、前記弾性体を前記保持部に保持して前記シートバックフレームを前記サイドフレームに固定する一方、車両後方より所定値以上の荷重が入力された場合には、人体の後方への移動により腰部が前記シートバックフレームの下部を押し前記弾性体が変形して前記保持部より離脱し前記ガイド部に沿って後方に移動することで、前記シートバックフレームが前記回転ヒンジを中心に揺動し、前記ヘッドレストを前方に移動させるようにしたことを特徴とする車両用シート。
  2. 前記弾性体としてバネ部材を使用し、前記保持部の形状を前記保持部により保持される前記バネ部材の部位と相補形状としたことを特徴とする請求項1に記載の車両用シート。
  3. 前記サイドフレームに前記ガイド部を形成するとともに、前記シートバックフレームの下部に前記バネ部材を取り付けたことを特徴とする請求項2に記載の車両用シート。
  4. 前記ガイド部が前記サイドフレームに形成されたガイド孔で、前記保持部が前記ガイド孔の近傍に形成された凹部であることを特徴とする請求項3に記載の車両用シート。
  5. 前記バネ部材と前記保持部との間に案内部材を介装し、前記保持部の形状を前記保持部により保持される前記案内部材の部位と相補形状としたことを特徴とする請求項4に記載の車両用シート。
  6. 前記バネ部材が皿バネであることを特徴とする請求項2乃至5のいずれか1項に記載の車両用シート。
  7. 前記皿バネに放射状の突出部を形成したことを特徴とする請求項6に記載の車両用シート。
  8. 前記ガイド部を前記サイドフレームに形成されたガイド孔と該ガイド孔の両側に形成された隆起部で構成するとともに、前記保持部を前記ガイド孔の両側に形成された二つの凹部で構成し、前記弾性体に形成された二つの突起を前記二つの凹部にそれぞれ嵌入させたことを特徴とする請求項3に記載の車両用シート。
  9. 前記弾性体が前記保持部から後方に向かって移動を開始するときの荷重を調節できるようにしたことを特徴とする請求項8に記載の車両用シート。
  10. 前記シートバックフレームの下方に受圧板を取り付け、車両後方より所定値以上の荷重が入力された場合には、人体の移動による荷重を前記受圧板に伝達するようにしたことを特徴とする請求項1乃至9のいずれか1項に記載の車両用シート。
  11. 前記シートバックフレームが前記回転ヒンジを中心に揺動して前記ヘッドレストが前方に移動した後、前記ヘッドレストあるいは前記シートバックフレームに荷重を加えることにより前記弾性体を前記保持部に復帰させるようにしたことを特徴とする請求項1乃至10のいずれか1項に記載の車両用シート。
JP2004245553A 2003-10-08 2004-08-25 車両用シート Expired - Fee Related JP4348255B2 (ja)

Priority Applications (7)

Application Number Priority Date Filing Date Title
JP2004245553A JP4348255B2 (ja) 2003-10-08 2004-08-25 車両用シート
KR1020040078918A KR100596294B1 (ko) 2003-10-08 2004-10-05 차량용 시트
EP04023775A EP1522452B1 (en) 2003-10-08 2004-10-06 Automobile seat
DE602004026975T DE602004026975D1 (de) 2003-10-08 2004-10-06 Kraftfahrzeugsitz
US10/959,060 US7163261B2 (en) 2003-10-08 2004-10-07 Automobile seat
TW093130339A TWI239912B (en) 2003-10-08 2004-10-07 Automobile seat
CNB2004100959363A CN100408375C (zh) 2003-10-08 2004-10-08 车座

Applications Claiming Priority (2)

Application Number Priority Date Filing Date Title
JP2003349331 2003-10-08
JP2004245553A JP4348255B2 (ja) 2003-10-08 2004-08-25 車両用シート

Publications (2)

Publication Number Publication Date
JP2005132345A JP2005132345A (ja) 2005-05-26
JP4348255B2 true JP4348255B2 (ja) 2009-10-21

Family

ID=34315753

Family Applications (1)

Application Number Title Priority Date Filing Date
JP2004245553A Expired - Fee Related JP4348255B2 (ja) 2003-10-08 2004-08-25 車両用シート

Country Status (7)

Country Link
US (1) US7163261B2 (ja)
EP (1) EP1522452B1 (ja)
JP (1) JP4348255B2 (ja)
KR (1) KR100596294B1 (ja)
CN (1) CN100408375C (ja)
DE (1) DE602004026975D1 (ja)
TW (1) TWI239912B (ja)

Families Citing this family (39)

* Cited by examiner, † Cited by third party
Publication number Priority date Publication date Assignee Title
GB2421277B (en) * 2004-12-20 2009-10-14 Autoliv Dev Improvements in or relating to a seat back support mechanism
US20060226686A1 (en) * 2005-03-22 2006-10-12 Shihong Yu Spinal protection system for automotive seat
JP4850476B2 (ja) * 2005-10-18 2012-01-11 デルタ工業株式会社 車両用シート
KR100767515B1 (ko) * 2005-12-07 2007-10-17 기아자동차주식회사 차량용 시트백 프레임의 마운팅 구조
JP4643480B2 (ja) * 2006-03-23 2011-03-02 トヨタ自動車株式会社 車両用シートバックフレーム
JP2008087554A (ja) * 2006-09-29 2008-04-17 Aisin Seiki Co Ltd 車両用シート装置
DE102007018715A1 (de) * 2007-04-20 2008-10-23 Faurecia Autositze Gmbh Fahrzeugsitz
JP5054444B2 (ja) * 2007-06-25 2012-10-24 株式会社今仙電機製作所 後突衝撃吸収ユニット、リクライニング装置及び車両用シートの骨組み構造体
JP5328116B2 (ja) * 2007-07-19 2013-10-30 テイ・エス テック株式会社 シートフレーム及び車両用シート
DE102008038696A1 (de) * 2007-11-20 2009-05-28 C. Rob. Hammerstein Gmbh & Co. Kg Gestell eines Kraftfahrzeugsitzes mit einem Gelenkbeschlag, insbesondere Rückenlehnengelenkbeschlag
JP5308011B2 (ja) * 2007-11-21 2013-10-09 テイ・エス テック株式会社 車両用シート
FR2931403B1 (fr) * 2008-05-22 2010-04-23 Sicma Aero Seat Dispositif d'absorption de choc et siege comportant un tel dispositif
KR200468858Y1 (ko) * 2008-12-10 2013-09-04 주식회사다스 시트 높이 조절 장치의 회전 링크 앗세이
JP5496617B2 (ja) * 2009-11-20 2014-05-21 デルタ工業株式会社 車両用シート
JP5576111B2 (ja) * 2009-12-28 2014-08-20 テイ・エス テック株式会社 乗物用シート
DE102010007052A1 (de) * 2010-02-06 2011-08-11 Sitech Sitztechnik GmbH, 38442 Rückenlehne aus Kunststoff mit aus Kunststoff gebildeten oder beschichteten Funktionselementen
DE102010047120B4 (de) 2010-09-25 2023-05-11 Adient Us Llc Struktur für einen Fahrzeugsitz
US8439441B2 (en) 2010-09-29 2013-05-14 Lear Corporation Adjustable lumbar assembly for vehicle seats
US9108546B2 (en) * 2010-12-08 2015-08-18 Ts Tech Co., Ltd. Vehicle seat
CN103402816B (zh) * 2011-03-01 2015-10-21 丰田自动车株式会社 车辆用座椅
US9499080B2 (en) 2011-06-03 2016-11-22 Ford Global Technologies, Llc Vehicle seat back member
DE102011055860A1 (de) * 2011-11-30 2013-06-06 Brose Fahrzeugteile Gmbh & Co. Kommanditgesellschaft, Coburg Fahrzeugsitz mit Deformationseinrichtung
CN103799741B (zh) * 2012-11-01 2017-06-20 奥弗·巴查 座椅靠背,座椅装置及方法
JP2015089777A (ja) * 2013-11-07 2015-05-11 株式会社タチエス 車両用シート
JP6070601B2 (ja) * 2014-02-26 2017-02-01 トヨタ自動車株式会社 車両用シート
JP6390288B2 (ja) * 2014-09-11 2018-09-19 いすゞ自動車株式会社 シートバックフレーム構造
CN104709128B (zh) * 2015-01-22 2017-03-15 上海延锋江森座椅有限公司 一种带有吸能结构的车辆座椅
CN105109369B (zh) * 2015-08-28 2017-11-03 北汽福田汽车股份有限公司 一种调角器、座椅骨架、汽车座椅及调角器设计方法
CN105270223A (zh) * 2015-11-12 2016-01-27 张家港孚冈汽车部件有限公司 高强度汽车座椅侧板
US10059234B2 (en) * 2016-06-10 2018-08-28 Ford Global Technologies, Llc Vehicle seatback
JP6874360B2 (ja) * 2016-12-21 2021-05-19 トヨタ紡織株式会社 乗物用シート
US10166887B2 (en) * 2017-03-02 2019-01-01 Ford Global Technologies, Llc Seatback lift mechanism for a supine motor vehicle seating assembly
JP7059128B2 (ja) * 2018-06-26 2022-04-25 株式会社タチエス シートロック装置
JP7160260B2 (ja) * 2018-10-09 2022-10-25 日本発條株式会社 車両用シート
JP7352482B2 (ja) * 2020-02-07 2023-09-28 日本発條株式会社 柱状体、シートフレーム及び車両用シート
FR3108566B1 (fr) * 2020-03-31 2022-04-08 Faurecia Sieges Dautomobile Système de redressement réactif et dissipatif d’un siège de véhicule
JP7780070B2 (ja) * 2021-03-30 2025-12-04 テイ・エス テック株式会社 シートフレーム及び車両用シート
JP7760367B2 (ja) * 2021-12-28 2025-10-27 トヨタ紡織株式会社 乗物用シート
KR102802170B1 (ko) * 2022-09-06 2025-05-02 주식회사 광진 프레임리스 윈도우 레귤레이터의 체결구조

Family Cites Families (18)

* Cited by examiner, † Cited by third party
Publication number Priority date Publication date Assignee Title
US3802737A (en) * 1972-07-07 1974-04-09 Heizer K Safety seat, particularly for automotive vehicles
EP0249605A1 (fr) * 1985-11-22 1987-12-23 BOULAY, Maurice Siege dynamique dont l'inclinaison du dossier et de l'appui-tete varie en fonction des accelerations et des decelerations du vehicule
US6022074A (en) * 1995-09-14 2000-02-08 Autoliv Development Ab Seat for use in a vehicle
US5884968A (en) * 1997-01-23 1999-03-23 Lear Corporation Seat assembly with pneumatically adjustable contour and energy absorption
FR2765533B1 (fr) * 1997-07-03 1999-09-03 Faure Bertrand Equipements Sa Siege de vehicule dote d'un dispositif de protection du cou en cas de choc arriere
GB2329113B (en) * 1997-09-10 2001-07-18 Autoliv Dev Improvements in or relating to a vehicle seat
US6109690A (en) * 1998-12-18 2000-08-29 Johnson Controls Technology Company Pivoting seat back
JP2000201771A (ja) * 1999-01-14 2000-07-25 Ikeda Bussan Co Ltd 自動車用シ―トバック
US6523892B1 (en) * 1999-05-20 2003-02-25 Mazda Motor Corporation Seat structure for vehicle
JP2001039194A (ja) 1999-07-30 2001-02-13 Ikeda Bussan Co Ltd 自動車用シートバック
JP2001058533A (ja) * 1999-08-23 2001-03-06 Ikeda Bussan Co Ltd 自動車用シートバック
DE29915719U1 (de) * 1999-09-07 2001-01-11 Johnson Controls GmbH, 51399 Burscheid Fahrzeugsitz mit integrierter Schutzeinrichtung
JP3519644B2 (ja) * 1999-09-07 2004-04-19 ダイハツ工業株式会社 自動車用シート
JP2001163097A (ja) 1999-12-07 2001-06-19 Toyota Central Res & Dev Lab Inc 車両用シート
JP3673480B2 (ja) 2001-03-15 2005-07-20 ダイハツ工業株式会社 自動車用シート
JP2003080985A (ja) * 2001-06-26 2003-03-19 Nhk Spring Co Ltd 自動車用シート装置
US6789846B2 (en) * 2002-12-20 2004-09-14 Lear Corporation Vehicle seat having a movable head restraint
JP2004245553A (ja) 2003-02-17 2004-09-02 Osaka Gas Co Ltd 昇降五徳付きコンロ

Also Published As

Publication number Publication date
CN100408375C (zh) 2008-08-06
EP1522452B1 (en) 2010-05-05
EP1522452A3 (en) 2008-09-10
TWI239912B (en) 2005-09-21
KR100596294B1 (ko) 2006-07-03
KR20050033813A (ko) 2005-04-13
US20050077763A1 (en) 2005-04-14
TW200520995A (en) 2005-07-01
US7163261B2 (en) 2007-01-16
DE602004026975D1 (de) 2010-06-17
JP2005132345A (ja) 2005-05-26
CN1616274A (zh) 2005-05-18
EP1522452A2 (en) 2005-04-13

Similar Documents

Publication Publication Date Title
JP4348255B2 (ja) 車両用シート
JP4850476B2 (ja) 車両用シート
JP5394036B2 (ja) 車両用シート
JP5091574B2 (ja) 車両用シート
CN101223051B (zh) 车辆座椅
CN102642489B (zh) 头枕及设置有该头枕的车辆座椅
JP4427430B2 (ja) 車両用シート
WO2005073017A1 (ja) 自動車用シート
JP5096009B2 (ja) 車両用シート
JP4431480B2 (ja) ヘッドレスト
JP5112736B2 (ja) 車両用シート
JP4721334B2 (ja) 車両用シート
JP4450316B2 (ja) 車両用シート
JP4716725B2 (ja) 車両用シート
JP5252936B2 (ja) 車両用シート
JP4488854B2 (ja) 車両用シート
JP4492871B2 (ja) 車両用シート
KR200388661Y1 (ko) 의자용 헤드레스트 연결장치
JP4744236B2 (ja) 自動車用シート
JP4632306B2 (ja) 車両用シート
JP2006117042A (ja) 車両用シート
JP2001233109A (ja) 可倒式ヘッドレスト
JP2008013066A (ja) ヘッドレストを備えた車両用シート
JPH08182557A (ja) 車両用シートリクライニング装置

Legal Events

Date Code Title Description
A621 Written request for application examination

Free format text: JAPANESE INTERMEDIATE CODE: A621

Effective date: 20070718

RD03 Notification of appointment of power of attorney

Free format text: JAPANESE INTERMEDIATE CODE: A7423

Effective date: 20070718

A977 Report on retrieval

Free format text: JAPANESE INTERMEDIATE CODE: A971007

Effective date: 20090702

TRDD Decision of grant or rejection written
A01 Written decision to grant a patent or to grant a registration (utility model)

Free format text: JAPANESE INTERMEDIATE CODE: A01

Effective date: 20090707

A01 Written decision to grant a patent or to grant a registration (utility model)

Free format text: JAPANESE INTERMEDIATE CODE: A01

A61 First payment of annual fees (during grant procedure)

Free format text: JAPANESE INTERMEDIATE CODE: A61

Effective date: 20090717

R150 Certificate of patent or registration of utility model

Free format text: JAPANESE INTERMEDIATE CODE: R150

FPAY Renewal fee payment (event date is renewal date of database)

Free format text: PAYMENT UNTIL: 20120724

Year of fee payment: 3

FPAY Renewal fee payment (event date is renewal date of database)

Free format text: PAYMENT UNTIL: 20130724

Year of fee payment: 4

R250 Receipt of annual fees

Free format text: JAPANESE INTERMEDIATE CODE: R250

R250 Receipt of annual fees

Free format text: JAPANESE INTERMEDIATE CODE: R250

R250 Receipt of annual fees

Free format text: JAPANESE INTERMEDIATE CODE: R250

LAPS Cancellation because of no payment of annual fees