JP3673480B2 - 自動車用シート - Google Patents
自動車用シート Download PDFInfo
- Publication number
- JP3673480B2 JP3673480B2 JP2001074118A JP2001074118A JP3673480B2 JP 3673480 B2 JP3673480 B2 JP 3673480B2 JP 2001074118 A JP2001074118 A JP 2001074118A JP 2001074118 A JP2001074118 A JP 2001074118A JP 3673480 B2 JP3673480 B2 JP 3673480B2
- Authority
- JP
- Japan
- Prior art keywords
- headrest
- support frame
- seat back
- frame
- headrest support
- Prior art date
- Legal status (The legal status is an assumption and is not a legal conclusion. Google has not performed a legal analysis and makes no representation as to the accuracy of the status listed.)
- Expired - Lifetime
Links
- 238000003466 welding Methods 0.000 description 5
- 210000000038 chest Anatomy 0.000 description 4
- 230000000694 effects Effects 0.000 description 4
- 230000006378 damage Effects 0.000 description 3
- 208000027418 Wounds and injury Diseases 0.000 description 2
- 208000014674 injury Diseases 0.000 description 2
- 230000001105 regulatory effect Effects 0.000 description 2
- 210000000115 thoracic cavity Anatomy 0.000 description 2
- 208000028373 Neck injury Diseases 0.000 description 1
- 230000001133 acceleration Effects 0.000 description 1
- 238000005452 bending Methods 0.000 description 1
- 210000003679 cervix uteri Anatomy 0.000 description 1
- 210000000078 claw Anatomy 0.000 description 1
- 208000037265 diseases, disorders, signs and symptoms Diseases 0.000 description 1
- 238000011156 evaluation Methods 0.000 description 1
- 238000009434 installation Methods 0.000 description 1
- 230000000116 mitigating effect Effects 0.000 description 1
- 238000000465 moulding Methods 0.000 description 1
- 230000002265 prevention Effects 0.000 description 1
- 230000000630 rising effect Effects 0.000 description 1
Images
Landscapes
- Seats For Vehicles (AREA)
- Chair Legs, Seat Parts, And Backrests (AREA)
Description
【発明の属する技術分野】
本発明はヘッドレストを備えた自動車用シートに関するものである。
【0002】
【従来の技術】
自動車が後突されたときに乗員の鞭打ち症を軽減するために、自動車用シートのシートバック上方に乗員の頭部を後方から受けるヘッドレストが設けられている。しかし、ヘッドレストを固定的に設けたものでは、後突時の衝撃によるシート全体の加速と乗員の慣性によって、シートバックが後方に傾斜すると共に乗員の体が斜上後方に浮き上がるため、乗員の頭部がヘッドレストの上方にずれて頸部に大きな負荷が作用し、乗員の鞭打ち症を確実に軽減することは困難であった。
【0003】
この様な問題点に対処するものとして、後突時の乗員の胸部の後方移動によってヘッドレストを前方に移動させ、乗員の頭部に接近させて鞭打ち症を軽減するようにしたものが提案されている。
【0004】
この種の鞭打ち症軽減手段の従来の構成例を図9を参照して説明すると、ヘッドレスト53を装着したヘッドレスト支持フレーム52の上下方向中間部を、シートバックフレーム51の側辺部の上端から適当距離下方位置で枢支ブラケット54にて前後に回動可能に支持し、ヘッドレスト支持フレーム52の下部にシートバックの前面から加わる荷重を受ける受圧部55を設け、追突時に乗員の胸部の後方移動による受圧部55の移動量に対してヘッドレスト53が前方に大きく移動するようにし、またシートバックフレーム51のヘッドレスト支持フレーム52の下部に対応する部分に配設したガイドブラケット56にてヘッドレスト支持フレーム52の下部の回動をガイドするとともに回動端を規制してヘッドレスト53の過大な前方移動を防止するようにし、また引張ばね57にてヘッドレスト支持フレーム52の下部を前方に付勢し、一定の付勢力でヘッドレスト支持フレーム52を初期位置に位置決めするように構成されている。なお、ヘッドレスト53はヘッドレスト支持フレーム52に対して上下位置調整可能に装着されている。
【0005】
さらに、上記構成では、追突後の反動で乗員の上半身が前方に移動すると、ヘッドレストは後方に復帰移動して頭部を支持できない状態になり、その状態で乗員が上記反動に対して頭部を反射的に後方に移動させることで鞭打ち障害が発生する恐れがある。そこで、特開2000−118280号公報には、追突時にヘッドレストが前方に所定位置まで移動したときに、後方に戻ってしまうのを防止する係止手段を設けたものが開示されている。
【0006】
また、特開平10−138813号公報には、乗員の後方移動によって係止を解除することで、前方に移動付勢されたヘッドレストが前方移動するようにした構成において戻り止めストッパを設けたものが開示されている。
【0007】
また、特開平10−181402号公報には、一方のヘッドレストステーの中間部の円形枢支部の外周に複数の係合溝を形成し、円形枢支部を回動自在に支持する取付ブラケットに係合溝に係合するように付勢された係合爪を配設し、ヘッドレストの前後位置を調整できるようにしたものが開示されている。
【0008】
【発明が解決しようとする課題】
ところが、上記特開2000−118280号公報に開示された構成では、乗員の胸部の後方移動によるヘッドレストの前方移動が所定位置まで達しないと、後方への戻り防止機能が作動しないため、作用に不安定性があるという問題があり、また特開平10−138813号公報に開示された構成でもヘッドレストは付勢手段にて前方に移動駆動される点で異なるが、やはり同様の問題がある。
【0009】
また、特開平10−181402号公報に開示された構成は、鞭打ち障害防止機構自体が全く異なり、かつたとえその係止機構を特開平10−138813号公報に開示された構成の枢支部に適用するにしても、構造が複雑でかつ回動中心の近傍にあり、また片側にのみ配設しているため、安定した作用を奏するのに必要な強度・剛性を確保するには、頑丈な構成にする必要があり、重量及びコストが高くなるという問題がある。
【0010】
本発明は、上記従来の問題点に鑑み、後突時の乗員胸部の後方移動に伴ってヘッドレストが任意位置まで前方移動した時の後方への戻りを軽量・低コストの構成にて確実に防止でき、鞭打ち軽減効果が発揮される自動車用シートを提供することを目的とする。
【0011】
【課題を解決するための手段】
本発明の自動車用シートは、後突時に乗員の背中の後方移動によってヘッドレストを前方に移動させるようにヘッドレスト支持フレームをシートバックフレームに回動可能に枢支した自動車用シートにおいて、ヘッドレスト支持フレームは、その上下方向中間部をシートバックフレームの側辺部の上端から適当距離下方位置で前後に回動可能に枢支し、ヘッドレスト支持フレームの上辺中央部とシートバックフレームの上辺中央部との間にヘッドレストの後方ヘの戻り移動を防止するラチェット機構を配設し、ラチェット機構は、ヘッドレスト支持フレームの上辺中央部に設けられたラッチプレートと、シートバックフレームの上辺中央部に上下揺動可能に設けられるとともにラッチプレートに噛み合う方向に付勢されかつ解除操作部が一体に設けられたラチェットにて構成したものである。また、ラチェットは、シートバックフレームの上辺中央部の前面部に設けられた取付ブラケットにて上下揺動可能に枢支するのが好ましい。
【0012】
本発明の構成によれば、ヘッドレストが任意位置まで前方移動した時の後方への戻りを1つだけのラチェット機構にて確実に防止でき、かつヘッドレスト支持フレームの回動中心とラチェット機構の間に距離があるため、ラチェット機構に作用する力が小さくて済み、軽量・低コストのラチェット機構にて確実に鞭打ち軽減効果を発揮することができる。また、ラチェット機構がラッチプレートとラチェットから成るので一層軽量・簡易な構成となり、またシートバック上で解除操作部を操作しながらヘッドレスト支持フレームの回動位置を調整することにより簡単に回動開始位置を選択することができる。
【0013】
【発明の実施の形態】
以下、本発明の自動車用シートの実施形態について、図1〜図5を参照して説明する。
【0014】
図1において、1は自動車用シートのシートバックであり、シートクッション(図示せず)にリクライニング可能に取付けられている。2はシートバック1の左右両側と上側を取り囲む骨格構造を構成する全体正面形状が略倒立U字状のシートバックフレームであり、パイプ材を下向きに開放された略コ字状に曲げた上部パイプ3と、板材を横断面略コ字状にプレス成形して構成した両側の側辺枠板4とからなり、上部パイプ3の両側の下端部を側辺枠板4の上端部に一体固着して構成されている。
【0015】
上部パイプ3の両側部の上端から適当距離下方位置には横断面略コ字状の枢支ブラケット5が配設され、その両フランジ部が上部パイプ3の外面に当接させて溶接にて固着されている。
【0016】
6はシートバック1の上部に配設されるヘッドレストで、その下部両側から下方に一対のステー7が延出されている。
【0017】
8はヘッドレスト6を支持するヘッドレスト支持フレームで、パイプ材を下向きに開放された略コ字状に曲げて構成したパイプフレーム9にて構成され、その下端部間が垂直断面が略コ字状部材やパイプ材等から成る受圧部材10にて連結されている。この受圧部材10は後突時に乗員の胸部の慣性によってシートバック1の前面に作用する荷重を受けるものである。このヘッドレスト支持フレーム8は、シートバックフレーム2の内側にほぼ嵌まり込むような幅に形成され、その上端は上部パイプ3の直下に位置している。
【0018】
ヘッドレスト支持フレーム8は、その上下方向中間位置が段付きボルト11にて枢支ブラケット5に枢支され、ヘッドレスト支持フレーム8が前後に揺動自在にシートバックフレーム2に支持されている。パイプフレーム9の上部にはステー7を挿脱及び任意位置で固定可能な一対の支持筒部12の下端部が溶接にて固着され、ヘッドレスト6を高さ調整可能に支持できるように構成されている。
【0019】
また、ヘッドレスト支持フレーム8の下端部とシートバックフレーム2の側辺枠板4の前方の立ち上げ鍔4aの間に引張ばね13が介装され、受圧部材10に一定以上の荷重が作用しないとヘッドレスト支持フレーム8の下部が後方に回動しないように構成されている。
【0020】
また、受圧部材10が後方に押圧されてヘッドレスト支持フレーム8が回動しし、ヘッドレスト6が前方に移動した状態でヘッドレスト6の後方ヘの戻り移動を防止するラチェット機構14が、ヘッドレスト支持フレーム8の上端部とシートバックフレーム2の上端部との間に配設されている。
【0021】
ラチェット機構14は、図2に詳細に示すように、ヘッドレスト支持フレーム8の上辺中央部上に跨ぐように配置されて溶接にて一体固着され、その上面に前後方向に複数の係合歯16が形成されたラッチプレート15と、シートバックフレーム2の上部パイプ3の上辺中央部に前面側が平坦になるように形成された平坦部17に溶接にて一体固着された取付ブラケット18と、この取付ブラケット18に枢支ボルト19にて上下揺動自在に枢支され、かつその前端に係合歯16に噛み合う係止歯21が形成されるとともに、斜め後方上方に向けて解除操作レバー22が延出されたラチェット20と、ラチェット20を係止歯21が係合歯16に噛み合うように回動付勢する付勢ばね23にて構成されている。係合歯16と係止歯21の係合は、ラッチプレート15が相対的に前方に移動する際はラチェット20が容易に上方に揺動してその移動を許し、逆にラッチプレート15が相対的に後方に移動しようとすると係止されるように構成されている。
【0022】
なお、ラチェット20の解除操作部の構成としては、上記解除操作レバー22に代えて、図3に示すように、枢支部からシートバック1の上端面に突出するように上方に延出し、その上端に解除操作摘み24を設けてもよい。
【0023】
また、図4に示すように、ヘッドレスト支持フレーム8の上辺の両側部に固着された支持筒部12に対して当接して、ヘッドレスト支持フレーム8の回動開始位置を規制する調整ストッパ25を、シートバックフレーム2の上部パイプ3の上辺両側の支持筒部12に対向する位置に配設してもよい。この調整ストッパ25は、前面側が平坦になるように上部パイプ3に形成された平坦部26に取付座27を溶接にて一体固着し、平坦部26及び取付座27に形成したねじ穴にストッパボルト28を螺合し、ロックナット29にて任意の螺合位置で固定するように構成されている。かくして、ストッパボルト28が支持筒部12に当接することでヘッドレスト支持フレーム8の回動開始位置が規制され、ストッパボルト28の突出量を調整することで回動開始位置を調整可能である。
【0024】
以上の構成において、後突前の通常状態では、図1に実線で示す如くヘッドレスト支持フレーム8の下部が引張ばね13にて前方に付勢されており、支持筒部12が上部パイプ3に係合した状態でヘッドレスト6が静止している。また、図4に示す如く調整ストッパ25を設けた場合には、支持筒部12がこの調整ストッパ25に係合し、その調整によってシートバックフレーム2に対するヘッドレスト支持フレーム8の組み付け誤差があっても、ヘッドレスト6の初期停止位置、すなわち回動開始位置を調整することができ、適正な作用を確保することができる。
【0025】
次に、自動車が後突された時には、シートが前方に向けて衝撃的に押され、その反動で乗員の上半身が後方に移動し、シートバック1の前面に後方に向けて大きな荷重が作用し、受圧部材10が後方に向けて強く押圧され、ヘッドレスト支持フレーム8の下部が引張ばね13の付勢力に抗して枢支ブラケット5における段付きボルト11の軸芯回りに後方に回動し、ヘッドレスト支持フレーム8の上部のヘッドレスト6が前方に移動する。その際、受圧部材10の後方への移動量に対してヘッドレスト6は、ヘッドレスト6と段付きボルト11間の距離と、段付きボルト11と受圧部材10間の距離の比だけ拡大して前方に移動するため、枢支ブラケット5を下方に配置することによってヘッドレスト6の前方移動量を大きく確保することができて、乗員の頭部をヘッドレスト6によって確実に受け止めることができ、乗員の頸部を保護して鞭打ち症を効果的に防止することができる。
【0026】
また、ヘッドレスト支持フレーム8がシートバックフレーム2の側辺部に配設した枢支ブラケット5にて枢支されているので、衝撃に十分に耐える剛性を持ち、また乗員の背中の背部には受圧部材10が位置するだけであるので、動作の安定性が高く所望の性能を確保できる。
【0027】
また、ヘッドレスト支持フレーム8の上端部とシートバックフレーム2との間に配設したラチェット機構14にて、ヘッドレスト6が任意位置まで前方移動した状態で後方への戻り移動が確実に防止されるので、その後の反動で乗員の上半身が前方に移動する一方で頭部が慣性で残ることによって相対的に頭部が後方に振られても、その頭部が前方に位置しているヘッドレスト6で確実に受け止められるので、乗員の頸部を保護して鞭打ち傷害を防止することができる。
【0028】
また、ラチェット機構14はヘッドレスト支持フレーム8の回動中心から距離をあけて配設されているので、ラチェット機構14に作用する力が小さくて済み、軽量・低コストのラチェット機構14にて確実に上記鞭打ち軽減効果を発揮することができる。
【0029】
更に、ヘッドレスト支持フレーム8の上辺中央部にラッチプレート15を配設し、シートバックフレーム2のラッチプレート15に対応する位置にラッチプレート15に噛み合うラチェット20を配設しているので、1つだけの軽量・簡易なラチェット機構14にてヘッドレスト6の後方への戻りを防止でき、またシートバックフレーム2上で解除操作レバー22を操作しながらヘッドレスト支持フレーム8の回動位置を調整することにより簡単に回動開始位置を選択することができる。
【0030】
図5に、鞭打ち障害の評価値であるNIC(Neck Injury Criterion )値の変化を、ヘッドレスト6が固定型のもの(破線で示す)と、図9に示した従来例のもの(一点鎖線で示す)と、本実施形態の構成のもの(実線で示す)を比較して示す。ここで、NIC=arelative×L×(Vrelative)2 m2 /s2 で与えられ、arelativeは第1頸椎と第1胸椎間での相対減速度差、Vrelativeは第1頸椎と第1胸椎間での相対速度差、Lは0.2(定数)である。
【0031】
図5から明らかなように、固定型に比べて従来例でも低いNIC値が得られているが、従来例でヘッドレストで頭部を支持した後、ヘッドレストが戻り移動することによってNIC値に2字ピーク(図5のa部)が発生してしまう。これに対して、本実施形態によれば、ヘッドレストの戻り移動をロックすることによってNIC値を大幅に低減することができる。
【0032】
次に、本発明の参考例について、図6〜図8を参照して説明する。なお、車両用シートの全体構成は上記実施形態で説明したものと同一であり、同一の構成要素について同一参照符号を付して説明を省略し、相違点についてのみ説明する。
【0033】
上記実施形態ではヘッドレスト支持フレーム8の上端部中央部とシートバックフレーム2との間にラチェット機構14を配設した例を示したが、本参考例ではヘッドレスト支持フレーム8の下端部とシートバックフレーム2との間にラチェット機構14を配設している。
【0034】
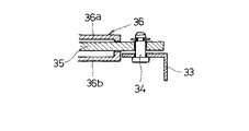
図6において、シートバックフレーム2の側辺枠板4の上端部の内側に取付ブラケット30が溶接固着され、その上(内側面)にラチェットアッセンブリ31が取付ボルト32にて取付けられている。一方、ヘッドレスト支持フレーム8の下端部の受圧部材10の端部前面に、枢支ブラケット33が溶接固着され、この枢支ブラケット33にてヒンジピン34を介してラッチプレート35の一端が枢支されている。
【0035】
ラチェットアッセンブリ31は、図7、図8に示すように、アウタケース36aとインナケース36bをリベット37にて一体化したケース36を備え、そのケース36内にラッチプレート35を挿通して長手方向に移動自在にガイドするように構成されている。ラッチプレート35には、その一側縁に複数の係合歯38が形成され、この係合歯38に噛み合うラチェット39がケース36内に配設され、支軸40にて回動自在に支持されている。41はラチェット39を噛み合い方向に回動付勢する付勢ばねである。なお、この付勢ばね41の一端はケース36の外側まで延出されてラチェット39の係合解除操作に使用できるように構成されている。
【0036】
なお、図6において、42はヘッドレスト支持フレーム8の上部、すなわちヘッドレスト6が一定量以上前方に揺動するのを防止するように枢支ブラケット5に設けられたストッパである。
【0037】
以上の構成によれば、ラチェット機構14の配設場所がヘッドレスト支持フレーム8の下端部である点で、また具体構成においても上記実施形態と異なっているが、ラチェット機構14にてヘッドレスト6が任意位置まで前方移動した状態で後方への戻り移動が確実に防止され、その後の反動で乗員の上半身が前方に移動する一方で頭部が慣性で残ることによって相対的に頭部が後方に振られても、その頭部が前方に位置しているヘッドレスト6で確実に受け止められ、乗員の頸部を保護して鞭打ち傷害を防止することができる。また、ヘッドレスト支持フレーム8の回動中心とラチェット機構14の間に距離があるので、ラチェット機構14を頑丈でなく軽量な構成にて所期の作用を確実に得ることができ、低コストにて実現できる。
【0038】
【発明の効果】
本発明の自動車用シートによれば、以上の説明から明らかなように、ヘッドレスト支持フレームの上辺中央部とシートバックフレームの上辺中央部との間にヘッドレストの後方ヘの戻り移動を防止するラチェット機構を配設したので、ヘッドレストが任意位置まで前方移動した時の後方への戻りを1つだけのラチェット機構にて確実に防止でき、かつヘッドレスト支持フレームは、その上下方向中間部をシートバックフレームの側辺部の上端から適当距離下方位置で前後に回動可能に枢支してヘッドレスト支持フレームの回動中心とラチェット機構の間に距離があるため、ラチェット機構に作用する力が小さく済み、軽量・低コストのラチェット機構にて確実に鞭打ち軽減効果を発揮することができる。
【0039】
また、ラチェット機構は、ヘッドレスト支持フレームの上辺中央部に設けられたラッチプレートと、シートバックフレームの上辺中央部に上下揺動可能に設けられるとともにラッチプレートに噛み合う方向に付勢されかつ解除操作部が一体に設けられたラチェットにて構成しているので、一層軽量・簡易なラチェット機構にてヘッドレストの後方への戻りを防止でき、またシートバック上で解除操作部を操作しながらヘッドレスト支持フレームの回動位置を調整することにより簡単に回動開始位置を選択することができる。
【図面の簡単な説明】
【図1】 本発明の自動車用シートの実施形態の縦断側面図である。
【図2】 同実施形態におけるラチェット機構の斜視図である。
【図3】 同実施形態におけるラチェット機構の変形例の斜視図である。
【図4】 同実施形態におけるラチェット機構と回動開始位置調整部の斜視図である。
【図5】 衝撃時のNIC値の変化を本実施形態と従来例を比較して示したグラフである。
【図6】 本発明の自動車用シートの参考例の斜視図である。
【図7】 同参考例におけるラチェット機構の縦断側面図である。
【図8】 同参考例におけるラチェット機構の要部の横断平面図である。
【図9】 従来例の自動車用シートの概略構成を示す斜視図である。
【符号の説明】
2 シートバックフレーム
6 ヘッドレスト
8 ヘッドレスト支持フレーム
14 ラチェット機構
15 ラッチプレート
20 ラチェット
22 解除操作レバー
24 解除操作摘み
Claims (2)
- 後突時に乗員の背中の後方移動によってヘッドレストを前方に移動させるようにヘッドレスト支持フレームをシートバックフレームに回動可能に枢支した自動車用シートにおいて、ヘッドレスト支持フレームは、その上下方向中間部をシートバックフレームの側辺部の上端から適当距離下方位置で前後に回動可能に枢支し、ヘッドレスト支持フレームの上辺中央部とシートバックフレームの上辺中央部との間にヘッドレストの後方ヘの戻り移動を防止するラチェット機構を配設し、ラチェット機構は、ヘッドレスト支持フレームの上辺中央部に設けられたラッチプレートと、シートバックフレームの上辺中央部に上下揺動可能に設けられるとともにラッチプレートに噛み合う方向に付勢されかつ解除操作部が一体に設けられたラチェットにて構成したことを特徴とする自動車用シート。
- ラチェットは、シートバックフレームの上辺中央部の前面部に設けられた取付ブラケットにて上下揺動可能に枢支したことを特徴とする請求項1記載の自動車用シート。
Priority Applications (1)
| Application Number | Priority Date | Filing Date | Title |
|---|---|---|---|
| JP2001074118A JP3673480B2 (ja) | 2001-03-15 | 2001-03-15 | 自動車用シート |
Applications Claiming Priority (1)
| Application Number | Priority Date | Filing Date | Title |
|---|---|---|---|
| JP2001074118A JP3673480B2 (ja) | 2001-03-15 | 2001-03-15 | 自動車用シート |
Publications (2)
| Publication Number | Publication Date |
|---|---|
| JP2002274240A JP2002274240A (ja) | 2002-09-25 |
| JP3673480B2 true JP3673480B2 (ja) | 2005-07-20 |
Family
ID=18931438
Family Applications (1)
| Application Number | Title | Priority Date | Filing Date |
|---|---|---|---|
| JP2001074118A Expired - Lifetime JP3673480B2 (ja) | 2001-03-15 | 2001-03-15 | 自動車用シート |
Country Status (1)
| Country | Link |
|---|---|
| JP (1) | JP3673480B2 (ja) |
Cited By (1)
| Publication number | Priority date | Publication date | Assignee | Title |
|---|---|---|---|---|
| US7644987B2 (en) | 2004-09-27 | 2010-01-12 | Lear Corporation | Vehicle seat having active head restraint system |
Families Citing this family (6)
| Publication number | Priority date | Publication date | Assignee | Title |
|---|---|---|---|---|
| US7097242B2 (en) * | 2003-02-06 | 2006-08-29 | Lear Corporation | Anti-backdriving active head restraint |
| JP4348255B2 (ja) | 2003-10-08 | 2009-10-21 | デルタ工業株式会社 | 車両用シート |
| JP4492871B2 (ja) * | 2004-12-27 | 2010-06-30 | テイ・エス テック株式会社 | 車両用シート |
| JP4850476B2 (ja) | 2005-10-18 | 2012-01-11 | デルタ工業株式会社 | 車両用シート |
| KR100823200B1 (ko) | 2007-03-22 | 2008-04-18 | (주)동성기공 | 차량용 헤드레스트 각도 조절장치 |
| JP5453846B2 (ja) * | 2009-03-05 | 2014-03-26 | トヨタ紡織株式会社 | アクティブヘッドレスト |
-
2001
- 2001-03-15 JP JP2001074118A patent/JP3673480B2/ja not_active Expired - Lifetime
Cited By (5)
| Publication number | Priority date | Publication date | Assignee | Title |
|---|---|---|---|---|
| US7644987B2 (en) | 2004-09-27 | 2010-01-12 | Lear Corporation | Vehicle seat having active head restraint system |
| US8162392B2 (en) | 2004-09-27 | 2012-04-24 | Lear Corporation | Vehicle seat having active head restraint system |
| US8215709B2 (en) | 2004-09-27 | 2012-07-10 | Lear Corporation | Vehicle seat having active head restraint system |
| US8434818B2 (en) | 2004-09-27 | 2013-05-07 | Lear Corporation | Vehicle seat having active head restraint |
| US8894144B2 (en) | 2004-09-27 | 2014-11-25 | Lear Corporation | Vehicle seat having active head restraint |
Also Published As
| Publication number | Publication date |
|---|---|
| JP2002274240A (ja) | 2002-09-25 |
Similar Documents
| Publication | Publication Date | Title |
|---|---|---|
| US4511180A (en) | Headrest in passenger cars | |
| JP5049790B2 (ja) | シートの背もたれ支持機構 | |
| EP1203692A2 (en) | Vehicle seat back assembly | |
| JP5738626B2 (ja) | 車両用ランバーサポート付きシートバックの構造 | |
| CA2706460C (en) | Manual retracting head restraint | |
| US20040245833A1 (en) | Safety headrest for a motor vehicle | |
| JP3619041B2 (ja) | 自動車用シート | |
| JP3673480B2 (ja) | 自動車用シート | |
| JP3936166B2 (ja) | 車両用シート構造 | |
| JP3673420B2 (ja) | 自動車用シート | |
| JP3973936B2 (ja) | 自動車用シート | |
| JP2001071802A (ja) | 自動車用シート | |
| US5149171A (en) | Walkover seat with inertial latch | |
| KR101837425B1 (ko) | 차량용 헤드레스트 | |
| JPH04237646A (ja) | 自動車のリヤシート構造 | |
| JP3635917B2 (ja) | 車両用シートバック | |
| GB2347621A (en) | A vehicle seat | |
| JPS5849868Y2 (ja) | 乗用車用ヘツドレスト付後部座席 | |
| WO2009005414A1 (en) | A seat back support mechanism | |
| JP2001287580A (ja) | 自動車用シート | |
| KR100410728B1 (ko) | 자동차용 시트쿠션의 틸팅구조 | |
| JP2004189097A (ja) | 車両用シート構造 | |
| JP2008295608A (ja) | 前倒し式シートバック構造 | |
| JPS63500Y2 (ja) | ||
| JPS5849869Y2 (ja) | 自動車用安全枕つきシ−ト |
Legal Events
| Date | Code | Title | Description |
|---|---|---|---|
| A977 | Report on retrieval |
Free format text: JAPANESE INTERMEDIATE CODE: A971007 Effective date: 20040517 |
|
| A131 | Notification of reasons for refusal |
Free format text: JAPANESE INTERMEDIATE CODE: A131 Effective date: 20040526 |
|
| A521 | Written amendment |
Free format text: JAPANESE INTERMEDIATE CODE: A523 Effective date: 20040723 |
|
| A02 | Decision of refusal |
Free format text: JAPANESE INTERMEDIATE CODE: A02 Effective date: 20041026 |
|
| A521 | Written amendment |
Free format text: JAPANESE INTERMEDIATE CODE: A523 Effective date: 20041217 |
|
| A911 | Transfer to examiner for re-examination before appeal (zenchi) |
Free format text: JAPANESE INTERMEDIATE CODE: A911 Effective date: 20050114 |
|
| TRDD | Decision of grant or rejection written | ||
| A01 | Written decision to grant a patent or to grant a registration (utility model) |
Free format text: JAPANESE INTERMEDIATE CODE: A01 Effective date: 20050412 |
|
| A61 | First payment of annual fees (during grant procedure) |
Free format text: JAPANESE INTERMEDIATE CODE: A61 Effective date: 20050422 |
|
| R150 | Certificate of patent or registration of utility model |
Ref document number: 3673480 Country of ref document: JP Free format text: JAPANESE INTERMEDIATE CODE: R150 Free format text: JAPANESE INTERMEDIATE CODE: R150 |
|
| FPAY | Renewal fee payment (event date is renewal date of database) |
Free format text: PAYMENT UNTIL: 20090428 Year of fee payment: 4 |
|
| FPAY | Renewal fee payment (event date is renewal date of database) |
Free format text: PAYMENT UNTIL: 20100428 Year of fee payment: 5 |
|
| FPAY | Renewal fee payment (event date is renewal date of database) |
Free format text: PAYMENT UNTIL: 20100428 Year of fee payment: 5 |
|
| S533 | Written request for registration of change of name |
Free format text: JAPANESE INTERMEDIATE CODE: R313533 |
|
| FPAY | Renewal fee payment (event date is renewal date of database) |
Free format text: PAYMENT UNTIL: 20100428 Year of fee payment: 5 |
|
| R350 | Written notification of registration of transfer |
Free format text: JAPANESE INTERMEDIATE CODE: R350 |
|
| FPAY | Renewal fee payment (event date is renewal date of database) |
Free format text: PAYMENT UNTIL: 20100428 Year of fee payment: 5 |
|
| FPAY | Renewal fee payment (event date is renewal date of database) |
Free format text: PAYMENT UNTIL: 20110428 Year of fee payment: 6 |
|
| FPAY | Renewal fee payment (event date is renewal date of database) |
Free format text: PAYMENT UNTIL: 20110428 Year of fee payment: 6 |
|
| FPAY | Renewal fee payment (event date is renewal date of database) |
Free format text: PAYMENT UNTIL: 20120428 Year of fee payment: 7 |
|
| FPAY | Renewal fee payment (event date is renewal date of database) |
Free format text: PAYMENT UNTIL: 20130428 Year of fee payment: 8 |
|
| FPAY | Renewal fee payment (event date is renewal date of database) |
Free format text: PAYMENT UNTIL: 20130428 Year of fee payment: 8 |
|
| FPAY | Renewal fee payment (event date is renewal date of database) |
Free format text: PAYMENT UNTIL: 20140428 Year of fee payment: 9 |
|
| R250 | Receipt of annual fees |
Free format text: JAPANESE INTERMEDIATE CODE: R250 |
|
| R250 | Receipt of annual fees |
Free format text: JAPANESE INTERMEDIATE CODE: R250 |
|
| R250 | Receipt of annual fees |
Free format text: JAPANESE INTERMEDIATE CODE: R250 |
|
| R250 | Receipt of annual fees |
Free format text: JAPANESE INTERMEDIATE CODE: R250 |
|
| R250 | Receipt of annual fees |
Free format text: JAPANESE INTERMEDIATE CODE: R250 |
|
| R250 | Receipt of annual fees |
Free format text: JAPANESE INTERMEDIATE CODE: R250 |
|
| EXPY | Cancellation because of completion of term |