JP4171237B2 - 包装容器 - Google Patents
包装容器 Download PDFInfo
- Publication number
- JP4171237B2 JP4171237B2 JP2002092191A JP2002092191A JP4171237B2 JP 4171237 B2 JP4171237 B2 JP 4171237B2 JP 2002092191 A JP2002092191 A JP 2002092191A JP 2002092191 A JP2002092191 A JP 2002092191A JP 4171237 B2 JP4171237 B2 JP 4171237B2
- Authority
- JP
- Japan
- Prior art keywords
- wall
- lid
- container body
- product label
- outer peripheral
- Prior art date
- Legal status (The legal status is an assumption and is not a legal conclusion. Google has not performed a legal analysis and makes no representation as to the accuracy of the status listed.)
- Expired - Lifetime
Links
Images
Classifications
-
- B—PERFORMING OPERATIONS; TRANSPORTING
- B65—CONVEYING; PACKING; STORING; HANDLING THIN OR FILAMENTARY MATERIAL
- B65D—CONTAINERS FOR STORAGE OR TRANSPORT OF ARTICLES OR MATERIALS, e.g. BAGS, BARRELS, BOTTLES, BOXES, CANS, CARTONS, CRATES, DRUMS, JARS, TANKS, HOPPERS, FORWARDING CONTAINERS; ACCESSORIES, CLOSURES, OR FITTINGS THEREFOR; PACKAGING ELEMENTS; PACKAGES
- B65D43/00—Lids or covers for rigid or semi-rigid containers
- B65D43/14—Non-removable lids or covers
- B65D43/16—Non-removable lids or covers hinged for upward or downward movement
- B65D43/163—Non-removable lids or covers hinged for upward or downward movement the container and the lid being made separately
- B65D43/168—Non-removable lids or covers hinged for upward or downward movement the container and the lid being made separately and connected by one or more hinges formed by a separate, single container and a flexible, band-like element fixed to the container and the lid
-
- B—PERFORMING OPERATIONS; TRANSPORTING
- B65—CONVEYING; PACKING; STORING; HANDLING THIN OR FILAMENTARY MATERIAL
- B65D—CONTAINERS FOR STORAGE OR TRANSPORT OF ARTICLES OR MATERIALS, e.g. BAGS, BARRELS, BOTTLES, BOXES, CANS, CARTONS, CRATES, DRUMS, JARS, TANKS, HOPPERS, FORWARDING CONTAINERS; ACCESSORIES, CLOSURES, OR FITTINGS THEREFOR; PACKAGING ELEMENTS; PACKAGES
- B65D81/00—Containers, packaging elements, or packages, for contents presenting particular transport or storage problems, or adapted to be used for non-packaging purposes after removal of contents
- B65D81/18—Containers, packaging elements, or packages, for contents presenting particular transport or storage problems, or adapted to be used for non-packaging purposes after removal of contents providing specific environment for contents, e.g. temperature above or below ambient
- B65D81/22—Containers, packaging elements, or packages, for contents presenting particular transport or storage problems, or adapted to be used for non-packaging purposes after removal of contents providing specific environment for contents, e.g. temperature above or below ambient in moist conditions or immersed in liquids
-
- B—PERFORMING OPERATIONS; TRANSPORTING
- B65—CONVEYING; PACKING; STORING; HANDLING THIN OR FILAMENTARY MATERIAL
- B65D—CONTAINERS FOR STORAGE OR TRANSPORT OF ARTICLES OR MATERIALS, e.g. BAGS, BARRELS, BOTTLES, BOXES, CANS, CARTONS, CRATES, DRUMS, JARS, TANKS, HOPPERS, FORWARDING CONTAINERS; ACCESSORIES, CLOSURES, OR FITTINGS THEREFOR; PACKAGING ELEMENTS; PACKAGES
- B65D2251/00—Details relating to container closures
- B65D2251/0003—Two or more closures
- B65D2251/0006—Upper closure
- B65D2251/0018—Upper closure of the 43-type
- B65D2251/0021—Upper closure of the 43-type of the B65D43/16-type
-
- B—PERFORMING OPERATIONS; TRANSPORTING
- B65—CONVEYING; PACKING; STORING; HANDLING THIN OR FILAMENTARY MATERIAL
- B65D—CONTAINERS FOR STORAGE OR TRANSPORT OF ARTICLES OR MATERIALS, e.g. BAGS, BARRELS, BOTTLES, BOXES, CANS, CARTONS, CRATES, DRUMS, JARS, TANKS, HOPPERS, FORWARDING CONTAINERS; ACCESSORIES, CLOSURES, OR FITTINGS THEREFOR; PACKAGING ELEMENTS; PACKAGES
- B65D2251/00—Details relating to container closures
- B65D2251/0003—Two or more closures
- B65D2251/0068—Lower closure
- B65D2251/0093—Membrane
-
- B—PERFORMING OPERATIONS; TRANSPORTING
- B65—CONVEYING; PACKING; STORING; HANDLING THIN OR FILAMENTARY MATERIAL
- B65D—CONTAINERS FOR STORAGE OR TRANSPORT OF ARTICLES OR MATERIALS, e.g. BAGS, BARRELS, BOTTLES, BOXES, CANS, CARTONS, CRATES, DRUMS, JARS, TANKS, HOPPERS, FORWARDING CONTAINERS; ACCESSORIES, CLOSURES, OR FITTINGS THEREFOR; PACKAGING ELEMENTS; PACKAGES
- B65D2251/00—Details relating to container closures
- B65D2251/10—Details of hinged closures
- B65D2251/1016—Means for locking the closure in closed position
- B65D2251/1041—The closure having a part penetrating in the dispensing aperture and retained by snapping over integral beads or projections
-
- B—PERFORMING OPERATIONS; TRANSPORTING
- B65—CONVEYING; PACKING; STORING; HANDLING THIN OR FILAMENTARY MATERIAL
- B65D—CONTAINERS FOR STORAGE OR TRANSPORT OF ARTICLES OR MATERIALS, e.g. BAGS, BARRELS, BOTTLES, BOXES, CANS, CARTONS, CRATES, DRUMS, JARS, TANKS, HOPPERS, FORWARDING CONTAINERS; ACCESSORIES, CLOSURES, OR FITTINGS THEREFOR; PACKAGING ELEMENTS; PACKAGES
- B65D2543/00—Lids or covers essentially for box-like containers
- B65D2543/00009—Details of lids or covers for rigid or semi-rigid containers
- B65D2543/00018—Overall construction of the lid
- B65D2543/00064—Shape of the outer periphery
- B65D2543/0012—Shape of the outer periphery having straight sides, e.g. with curved corners
- B65D2543/00175—Shape of the outer periphery having straight sides, e.g. with curved corners four straight sides, e.g. trapezium or diamond
- B65D2543/00194—Shape of the outer periphery having straight sides, e.g. with curved corners four straight sides, e.g. trapezium or diamond square or rectangular
-
- B—PERFORMING OPERATIONS; TRANSPORTING
- B65—CONVEYING; PACKING; STORING; HANDLING THIN OR FILAMENTARY MATERIAL
- B65D—CONTAINERS FOR STORAGE OR TRANSPORT OF ARTICLES OR MATERIALS, e.g. BAGS, BARRELS, BOTTLES, BOXES, CANS, CARTONS, CRATES, DRUMS, JARS, TANKS, HOPPERS, FORWARDING CONTAINERS; ACCESSORIES, CLOSURES, OR FITTINGS THEREFOR; PACKAGING ELEMENTS; PACKAGES
- B65D2543/00—Lids or covers essentially for box-like containers
- B65D2543/00009—Details of lids or covers for rigid or semi-rigid containers
- B65D2543/00018—Overall construction of the lid
- B65D2543/00259—Materials used
- B65D2543/00296—Plastic
-
- B—PERFORMING OPERATIONS; TRANSPORTING
- B65—CONVEYING; PACKING; STORING; HANDLING THIN OR FILAMENTARY MATERIAL
- B65D—CONTAINERS FOR STORAGE OR TRANSPORT OF ARTICLES OR MATERIALS, e.g. BAGS, BARRELS, BOTTLES, BOXES, CANS, CARTONS, CRATES, DRUMS, JARS, TANKS, HOPPERS, FORWARDING CONTAINERS; ACCESSORIES, CLOSURES, OR FITTINGS THEREFOR; PACKAGING ELEMENTS; PACKAGES
- B65D2543/00—Lids or covers essentially for box-like containers
- B65D2543/00009—Details of lids or covers for rigid or semi-rigid containers
- B65D2543/00444—Contact between the container and the lid
- B65D2543/00481—Contact between the container and the lid on the inside or the outside of the container
- B65D2543/0049—Contact between the container and the lid on the inside or the outside of the container on the inside, or a part turned to the inside of the mouth of the container
- B65D2543/00509—Cup
-
- B—PERFORMING OPERATIONS; TRANSPORTING
- B65—CONVEYING; PACKING; STORING; HANDLING THIN OR FILAMENTARY MATERIAL
- B65D—CONTAINERS FOR STORAGE OR TRANSPORT OF ARTICLES OR MATERIALS, e.g. BAGS, BARRELS, BOTTLES, BOXES, CANS, CARTONS, CRATES, DRUMS, JARS, TANKS, HOPPERS, FORWARDING CONTAINERS; ACCESSORIES, CLOSURES, OR FITTINGS THEREFOR; PACKAGING ELEMENTS; PACKAGES
- B65D2543/00—Lids or covers essentially for box-like containers
- B65D2543/00009—Details of lids or covers for rigid or semi-rigid containers
- B65D2543/00444—Contact between the container and the lid
- B65D2543/00481—Contact between the container and the lid on the inside or the outside of the container
- B65D2543/00537—Contact between the container and the lid on the inside or the outside of the container on the outside, or a part turned to the outside of the mouth of the container
- B65D2543/00546—NO contact
-
- B—PERFORMING OPERATIONS; TRANSPORTING
- B65—CONVEYING; PACKING; STORING; HANDLING THIN OR FILAMENTARY MATERIAL
- B65D—CONTAINERS FOR STORAGE OR TRANSPORT OF ARTICLES OR MATERIALS, e.g. BAGS, BARRELS, BOTTLES, BOXES, CANS, CARTONS, CRATES, DRUMS, JARS, TANKS, HOPPERS, FORWARDING CONTAINERS; ACCESSORIES, CLOSURES, OR FITTINGS THEREFOR; PACKAGING ELEMENTS; PACKAGES
- B65D2543/00—Lids or covers essentially for box-like containers
- B65D2543/00009—Details of lids or covers for rigid or semi-rigid containers
- B65D2543/00444—Contact between the container and the lid
- B65D2543/00592—Snapping means
- B65D2543/00601—Snapping means on the container
- B65D2543/00611—Profiles
- B65D2543/0062—Groove or hollow bead
-
- B—PERFORMING OPERATIONS; TRANSPORTING
- B65—CONVEYING; PACKING; STORING; HANDLING THIN OR FILAMENTARY MATERIAL
- B65D—CONTAINERS FOR STORAGE OR TRANSPORT OF ARTICLES OR MATERIALS, e.g. BAGS, BARRELS, BOTTLES, BOXES, CANS, CARTONS, CRATES, DRUMS, JARS, TANKS, HOPPERS, FORWARDING CONTAINERS; ACCESSORIES, CLOSURES, OR FITTINGS THEREFOR; PACKAGING ELEMENTS; PACKAGES
- B65D2543/00—Lids or covers essentially for box-like containers
- B65D2543/00009—Details of lids or covers for rigid or semi-rigid containers
- B65D2543/00444—Contact between the container and the lid
- B65D2543/00592—Snapping means
- B65D2543/00601—Snapping means on the container
- B65D2543/00675—Periphery concerned
- B65D2543/00694—Segments
-
- B—PERFORMING OPERATIONS; TRANSPORTING
- B65—CONVEYING; PACKING; STORING; HANDLING THIN OR FILAMENTARY MATERIAL
- B65D—CONTAINERS FOR STORAGE OR TRANSPORT OF ARTICLES OR MATERIALS, e.g. BAGS, BARRELS, BOTTLES, BOXES, CANS, CARTONS, CRATES, DRUMS, JARS, TANKS, HOPPERS, FORWARDING CONTAINERS; ACCESSORIES, CLOSURES, OR FITTINGS THEREFOR; PACKAGING ELEMENTS; PACKAGES
- B65D2543/00—Lids or covers essentially for box-like containers
- B65D2543/00009—Details of lids or covers for rigid or semi-rigid containers
- B65D2543/00444—Contact between the container and the lid
- B65D2543/00592—Snapping means
- B65D2543/00712—Snapping means on the lid
- B65D2543/00722—Profiles
- B65D2543/00731—Groove or hollow bead
-
- B—PERFORMING OPERATIONS; TRANSPORTING
- B65—CONVEYING; PACKING; STORING; HANDLING THIN OR FILAMENTARY MATERIAL
- B65D—CONTAINERS FOR STORAGE OR TRANSPORT OF ARTICLES OR MATERIALS, e.g. BAGS, BARRELS, BOTTLES, BOXES, CANS, CARTONS, CRATES, DRUMS, JARS, TANKS, HOPPERS, FORWARDING CONTAINERS; ACCESSORIES, CLOSURES, OR FITTINGS THEREFOR; PACKAGING ELEMENTS; PACKAGES
- B65D2543/00—Lids or covers essentially for box-like containers
- B65D2543/00009—Details of lids or covers for rigid or semi-rigid containers
- B65D2543/00444—Contact between the container and the lid
- B65D2543/00592—Snapping means
- B65D2543/00712—Snapping means on the lid
- B65D2543/00787—Periphery concerned
- B65D2543/00805—Segments
-
- B—PERFORMING OPERATIONS; TRANSPORTING
- B65—CONVEYING; PACKING; STORING; HANDLING THIN OR FILAMENTARY MATERIAL
- B65D—CONTAINERS FOR STORAGE OR TRANSPORT OF ARTICLES OR MATERIALS, e.g. BAGS, BARRELS, BOTTLES, BOXES, CANS, CARTONS, CRATES, DRUMS, JARS, TANKS, HOPPERS, FORWARDING CONTAINERS; ACCESSORIES, CLOSURES, OR FITTINGS THEREFOR; PACKAGING ELEMENTS; PACKAGES
- B65D2543/00—Lids or covers essentially for box-like containers
- B65D2543/00009—Details of lids or covers for rigid or semi-rigid containers
- B65D2543/00824—Means for facilitating removing of the closure
- B65D2543/00833—Integral tabs, tongues, handles or similar
- B65D2543/00842—Integral tabs, tongues, handles or similar outside of the lid
-
- B—PERFORMING OPERATIONS; TRANSPORTING
- B65—CONVEYING; PACKING; STORING; HANDLING THIN OR FILAMENTARY MATERIAL
- B65D—CONTAINERS FOR STORAGE OR TRANSPORT OF ARTICLES OR MATERIALS, e.g. BAGS, BARRELS, BOTTLES, BOXES, CANS, CARTONS, CRATES, DRUMS, JARS, TANKS, HOPPERS, FORWARDING CONTAINERS; ACCESSORIES, CLOSURES, OR FITTINGS THEREFOR; PACKAGING ELEMENTS; PACKAGES
- B65D2577/00—Packages formed by enclosing articles or materials in preformed containers, e.g. boxes, cartons, sacks, bags
- B65D2577/10—Container closures formed after filling
- B65D2577/20—Container closures formed after filling by applying separate lids or covers
- B65D2577/2041—Pull tabs
- B65D2577/205—Pull tabs integral with the closure
-
- B—PERFORMING OPERATIONS; TRANSPORTING
- B65—CONVEYING; PACKING; STORING; HANDLING THIN OR FILAMENTARY MATERIAL
- B65D—CONTAINERS FOR STORAGE OR TRANSPORT OF ARTICLES OR MATERIALS, e.g. BAGS, BARRELS, BOTTLES, BOXES, CANS, CARTONS, CRATES, DRUMS, JARS, TANKS, HOPPERS, FORWARDING CONTAINERS; ACCESSORIES, CLOSURES, OR FITTINGS THEREFOR; PACKAGING ELEMENTS; PACKAGES
- B65D2577/00—Packages formed by enclosing articles or materials in preformed containers, e.g. boxes, cartons, sacks, bags
- B65D2577/10—Container closures formed after filling
- B65D2577/20—Container closures formed after filling by applying separate lids or covers
- B65D2577/2066—Means on, or attached to, container flange facilitating opening, e.g. non-bonding region, cut-out
Landscapes
- Engineering & Computer Science (AREA)
- Mechanical Engineering (AREA)
- Closures For Containers (AREA)
- Packages (AREA)
- Details Of Rigid Or Semi-Rigid Containers (AREA)
- Medical Preparation Storing Or Oral Administration Devices (AREA)
Description
【発明の属する技術分野】
本発明は、例えばカット綿にアルコールなどの消毒液を含浸した多数の消毒綿などを入れるのに用いて好適な包装容器に関する。
【0002】
【従来の技術】
例えば、病院などの医療施設では、注射をする際などに、カット綿にアルコールなどの消毒液を含浸した消毒綿が多数消費される。かかる消毒綿を収容する包装容器は、特開平11−268765号公報に公知である。そこでは、多数の消毒綿を収容する容器本体と、容器本体の開口上面を塞ぐ内蓋と、内蓋の中央に設けた出入口を開閉する外蓋とからなる。外蓋は内蓋の外側上面に粘着剤で接着されており、内蓋の出入口を外蓋で密封した状態で出荷される。外蓋を内蓋から引き剥がすように開放すると、出入口が露出して内部の消毒綿を取り出すことができる。不使用時には、外蓋を内蓋に再び接合することにより、出入口を塞ぐことができる。
【0003】
【発明が解決しようとする課題】
かかる従来の包装容器によれば、内蓋に外蓋を繰り返し接着できるので、容器本体内の消毒綿を使い終わるまで、消毒綿に含浸されたアルコールが蒸発するのを防ぎ、異物が容器内へ入り込むのもよく解消できる。しかし、そこでの出入口は、内蓋の中央部を限って設けられているため、小さ過ぎて消毒綿を取り出し難い。とくに、消毒綿の残量が少なくなると、消毒綿の取り出しに手間取る。ピンセットで消毒綿を取り出すとき、消毒綿が出入口の開口縁に引っ掛かりやすい。消毒綿を取り出す過程で、消毒綿に含浸のアルコールが滴り落ちて内蓋に付着し、この付着液が外蓋側の粘着剤に接触することにより、内蓋に対する外蓋の接着力が劣化して、密封機能が低下しやすい。外蓋の裏面側に粘着剤層を設ける形態なので、外蓋を捲るように開いた状態において表向きとなる粘着剤層に異物が付着しやすいことも、接着力が低下する原因になりやすい。
【0004】
本発明の目的は、容器本体の広い開口上面を液含浸体の出入口にして、液含浸体の出し入れが容易に行える包装容器を提供することにある。本発明の目的は、不使用時に出入口を確実に密封できる包装容器を提供することにある。
【0005】
本発明の目的は、容器本体の出入口を密封するシール蓋をいったん開封した後にも、出入口を繰り返し確実に密閉できる包装容器を提供することにある。
【0006】
本発明の目的は、容器本体から液含浸体を取り出す際に、液含浸体から含浸液がシール蓋や外蓋に滴り落ちて付着しても、シール作用の低下を招くことがなく、従ってシール蓋をいったん開封した後にも、容器本体内の液含浸体を乾燥したり、変質したりすることなく保管しておける包装容器を提供することにある。
【0007】
本発明の目的は、容器本体にシール蓋の上方を覆う外蓋が開閉可能に連結されている包装容器において、外蓋の外表面に貼付される商品ラベルをヒンジとして利用することにより、この点でも製造コストの低減化を図ることにある。
【0008】
本発明の目的は、外蓋の外表面に貼付の商品ラベルをヒンジとして利用した包装容器において、容器本体を閉じている外蓋が、温度や湿度の変化に伴って不用意に開放するのを阻止することにある。
【0009】
本発明の目的は、外蓋の外表面に貼付の商品ラベルをヒンジとして利用するに際し、外蓋の開閉によって商品ラベルのヒンジ部分が繰り返し屈曲されても破損するのをよく防止できる包装容器を提供することにある。
【0010】
本発明の目的は、外蓋の外表面に貼付の商品ラベルをヒンジとして利用するに際し、商品ラベルのヒンジ部分を容器本体に対して確りと固定でき、従って外蓋の開閉によって商品ラベルのヒンジ部分が繰り返し屈曲されても、ヒンジ部分が容器本体から剥がれ落ちるのを確実に防止できる包装容器を得ることにある。
【0011】
【課題を解決するための手段】
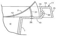
本発明の包装容器は、図1および図2に示すごとく、内部に液含浸体Cを収容するために、上面が出入口12として開口する容器本体1と、容器本体1の出入口12を密封する内側のシール蓋2と、容器本体1の開口上面の外側を閉じる外蓋3と、外蓋3の外表面に貼付される商品ラベル4とを備えている。液含浸体Cとしては、例えばカット綿にアルコールなどの消毒液を含浸させた消毒綿を挙げることができるが、とくに限定されない。
【0012】
容器本体1は、底壁5と、底壁5の外周から立ち上がる周側壁6と、周側壁6の上端外周に張り出し形成された水平状のフランジ壁10と、フランジ壁10の外周に形成された外周壁部11とを含む。
【0013】
シール蓋2は、その外周縁部がフランジ壁10の上面に剥離可能に固着される。ここでの固着とは、接着剤ないし粘着剤による接着、ヒートシール、超音波溶着などを含む概念である。
【0014】
外蓋3は、シール蓋2の上方を覆う主面壁19と、主面壁19につながるシール壁20と、シール壁20の外周に形成された外周壁部21とを含み、容器本体1に外蓋3を閉じ合わせたとき、シール壁20がフランジ壁10の上面にシール蓋2の外周縁部をはさんで接合し、外蓋3の外周壁部21が容器本体1の外周壁部11に被さる。
【0015】
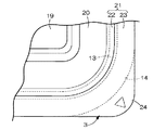
商品ラベル4は、図2に示すごとく、印刷表示が入る主面部分32と、主面部分32につながるヒンジ部分33とを含み、主面部分32が外蓋3の主面壁19の外表面に固着され、ヒンジ部分33が外蓋3の外周縁を越えて容器本体1の外周壁部11の外面に固着されるようになっている。
【0016】
容器本体1のフランジ壁10と外蓋3のシール壁20とには、図1に示すごとく、シール蓋2の外周縁部を蛇行状に挟持する挟持手段26・27が、全周にわたってそれぞれ形成されている。図示例では、挟持手段26・27として、フランジ壁10側に凸条26を、シール壁20側に凹条27をそれぞれ設けてある。シール壁20には、凹条27をはさむように、2つの凸条28・28を設けてある。この点に関しては、フランジ壁10側に凹条27を、シール壁20側に凸条26を設けてあってもよく、両者10・20に凸条26・28を互い違い状に一条ずつ設けてあってもよい。
【0017】
容器本体1に外蓋3を閉じた状態に保持するために、容器本体1の外周壁部11と外蓋2の外周壁部21とには、図1および図2に示すごとく、互いに係合する係合手段29・30が設けられている。この係合手段としては、例えば容器本体1側の外周壁部11に係合溝30を、外蓋3側の外周壁部21に突起29をそれぞれ設け、容器本体1に外蓋3を閉じたとき突起29と係合溝30とが、凹凸係合する形態を採ることができる。
【0018】
更に具体的に説明すると、容器本体1と外蓋3とは、それぞれ薄肉のプラスチック成形品であり、容器本体1に外蓋3が商品ラベル4で開閉操作可能に連結されている。すなわち、商品ラベル4が、容器本体1に外蓋3を開閉自在に連結するためのヒンジの機能を果たす。
【0019】
シール蓋2は、ガスバリア性を有するプラスチックフィルムからなり、シール蓋2の外周縁部がフランジ壁10の上面にヒートシールされている。
【0020】
商品ラベル4は、図2に示すごとくヒートシール性能を有するプラスチックフィルム製のラベル基材4aを含み、ヒンジ部分33のラベル基材4aが容器本体1側の壁面にヒートシールされている。
【0021】
商品ラベル4のラベル基材4aの表面には、図7に示すごとく、接着剤34をストライプ状に塗布形成し、商品ラベル4の主面部分32は、接着剤34で外蓋3の主面壁19の外表面に貼付する。また、商品ラベル4のヒンジ部分33は、容器本体1側の壁面に対して接着剤34で接着し、かつ接着剤34間のラベル基材4aの部分をヒートシールすることができる。
【0022】
商品ラベル4のヒンジ部分33には、図6に示すごとく、ミシン目35を入れ、ミシン目35の両端近くに、ミシン目35と交差する向きの切込み36を形成しておくことができる。
【0023】
【作用】
容器本体1内に液含浸体Cを収容した図1の出荷状態において、容器本体1の内部はシール蓋2で完全に密封されており、更にシール蓋2の上方外側が外蓋3で閉じられている。その際、外蓋3はシール蓋2が他物と接触して損傷するのを防止する。容器本体1から液含浸体Cを取り出す際には、ユーザーが商品ラベル4をヒンジにして外蓋3を開き操作したのち、容器本体1からシール蓋2を引き剥がす。これで容器本体1の開口上面の出入口12が大きく開放するので、この出入口12から液含浸体Cを一つずつ容易にピックアップできる。容器本体1内の液含浸体Cを使い切るまでは、容器本体1にシール蓋2を再び被せ付けて外蓋3を閉じ合わせる。
【0024】
シール蓋2が開封されるまでの期間は長い。この点を考慮すると、シール蓋2はこれの外周縁部を容器本体1のフランジ壁10にヒートシールして確実に出入口12を密封しておくことが望まれる。その場合、ユーザーがいったんシール蓋2を開封すると、シール蓋2の外周縁部は前記フランジ壁10に再接着できない。しかし、シール蓋2を開放した後は、短期間のうちに液含浸体Cが消費し尽くされるのが常である。そこで、容器本体1に外蓋3を閉じ合わせたとき、容器本体1のフランジ壁10と外蓋3のシール壁20との間に挟持手段26・27を設けてあり、この挟持手段26・27でシール蓋2の外周縁部が蛇行状に挟持される。これにて、容器本体1内を密封状態に維持しておくことができる。
【0025】
【発明の効果】
本発明の包装容器によれば、ユーザーがシール蓋2を開封したとき、容器本体1の開口上面がそのまま出入口12として大きく開放する。従って、この出入口12から液含浸体Cを簡単に取り出すことができる。
【0026】
シール蓋2の開封後、次に液含浸体Cを取り出すまでの間は、出入口12をシール蓋2で塞いだのち、容器本体1に外蓋3を閉じ合わせると、両者1・3の係合手段29・30で外蓋3が閉じ状態に保持される。これで容器本体1のフランジ壁10と、外蓋3のシール壁20とに設けた挟持手段26・27が、シール蓋2の外周縁部を蛇行状に挟み込まれて、シール機能が有効に発揮され、液含浸体Cの含浸液の蒸発や、外気の出入りを確実に防止できる。従って、いったんシール蓋2を開封した後でも、出入口12を繰り返し密封し、液含浸体Cを使い切るまでは適正な状態に保存できる。
【0027】
開封後は外蓋3と本体容器1とでシール蓋2を挟持する形態としたので、液含浸体Cの取り出し時にこれから含浸液が滴り落ちてもシール作用が低下することはない。従って、開封後の液含浸体Cの保存期間が長期にわたるような場合にも、液含浸体Cが乾燥したり、変質したりするのをよく防止できる。
【0028】
容器本体1と外蓋3とが、それぞれ薄肉のプラスチック成形品からなるときは、軽量にして安価に量産できる。外蓋2は容器本体1に商品ラベル4で開閉操作可能に連結されており、商品ラベル4これ自体がヒンジ機能を果たすので、専用のヒンジを省略できる分だけ、包装容器の全体構造を簡素化を図り、製造コストの低減化を図れる。
【0029】
シール蓋2がガスバリア性を有するプラスチックフィルムからなるときは、シール蓋2の外周縁部をフランジ壁10の上面にヒートシールすることができる。従って、本発明の包装容器は、出荷後にシール蓋2が開封されるまでに長期間を経ても、液含浸体Cに含浸の液が蒸発するのを確実に防止する。
【0030】
商品ラベル4のラベル基材4aがヒートシール性能を有するプラスチックフィルムからなるときは、ヒンジ部分33のラベル基材4aを容器本体1側の壁面に対してヒートシールすることにより、ヒンジ部分33が小面積であっても、容器本体1側にヒンジ部分33を確実に固着できる。従って、外蓋3を繰り返し開閉操作しても、商品ラベル4のヒンジ部分33が不用意に剥がれて、容器本体1と外蓋3とがバラバラに分離することはない。
【0031】
本発明の商品ラベル4において、そのラベル基材4aの表面に接着剤34がストライプ状に形成されていると、ラベル基材4aに接着剤34がベタ塗り状態で全面的に塗布形成されている形態とは異なり、接着剤34の使用量が少なくて済み、製造コストを低減化できる。商品ラベル4の主面部分32は、広い面積を持っているので、この主面部分32を外蓋3の主面壁19の外表面に確りと接着固定できる。使用後は、商品ラベル4を外蓋3から剥ぎ取りやすくなるので、外蓋3と商品ラベル4との分別回収による再利用にも有利である。商品ラベル4のヒンジ部分33は、容器本体1側の壁面に対して、ストライプ状の接着剤34で仮接着して位置決めしたのち、接着剤34どうしの間をヒートシールできるので、ヒンジ部分33を皺付きなく端面にかつ確りと固着できることにもなる。
【0032】
商品ラベル4のヒンジ部分33にミシン目35が入っていると、商品ラベル4の材質にかかわらず、ヒンジ部分33がミシン目35の存在で屈曲しやすくなるので、容器本体1に対して外蓋3を容易に開閉操作できるし、外蓋3を半開き状態にならず完全に開き切ることができる。とくに商品ラベル4が紙製の場合、温度や湿度の変化に伴って商品ラベル4が縮んでヒンジ部分33に引っ張り力が作用し、容器本体1に閉じ合わせた外蓋3が不用意に半開き状態になりやすい。この点、ヒンジ部分33にミシン目35を入れてあると、ミシン目35がヒンジ部分33に及ぶ引っ張り力を吸収するので、容器本体1から外蓋3が不用意に開くことがない。
【0033】
一方、外蓋3を繰り返し開閉すると、商品ラベル4のヒンジ部分33がミシン目35に沿って破れやすくなる。この点、ヒンジ部分33において、前記ミシン目35の両端近くに切込み36が形成されていると、ヒンジ部分33の側端縁からの破れ目37は切込み36に達して止まり、破れ目37が切込み36より内側のミシン目35にそのまま連続状に成長して行くのを阻止して、ヒンジ部分33の切断を防止する。
【0034】
【発明の実施の形態】
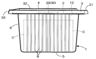
(第1実施例) 図1ないし図7は本発明に係る包装容器の第1実施例を示す。本発明の包装容器は、図1および図2に示すごとく、滅菌済みのカット綿に消毒用アルコールが含浸された消毒綿C(液含浸体)の包装用に供され、さらに消毒綿Cの使用を開始した後には保存容器としても使用される。保存容器として使用する場合には、内部の消毒綿Cを使い終わるまで、消毒綿Cに含浸のアルコールが蒸発するのを解消し、異物が容器本体1内へ入り込むのを解消する。具体的には容器本体1内に4cm角の消毒綿が100枚入ることを予測している。
【0035】
包装容器は、上面が開口する容器本体1と、容器本体1の開口上面の内側を密封するシール蓋2と、容器本体1の開口上面の上方を閉じる外蓋3と、外蓋3の外表面に貼付される商品ラベル4とからなる。
【0036】
容器本体1は、半透明のポリプロピレンからなる薄肉のプラスチック成形品であり、正四角形の底壁5と、底壁5の外周から上拡がり状に立ち上がる正四角筒状の周側壁6とを有する。周側壁6には、底壁5にわたって、縦向きに走る多数の補強用リブ8が一体に膨出形成されている。
【0037】
図1において周側壁6の上端外周には、水平状のフランジ壁10が張り出し形成されており、フランジ壁10の外周に外周壁部11が立ち上げ形成されている。周側壁6で囲まれた開口上面が、消毒綿Cの出入口12になっている。シール蓋2は、これの外周縁部をフランジ壁10の上面に剥離可能に固着することにより、出入口12の全面を塞いで容器本体1内を密封する。
【0038】
図4において外周壁部11は、フランジ壁10の外周縁から立ち上がる内周側壁13と、内周側壁13の上端縁から外向きに張り出された水平状の受壁14と、受壁14の外周縁に連続して下向きに折れ曲がる外周側壁15とからなる。
【0039】
シール蓋2は、四角形状に形成した透明なプラスチックフィルムからなり、後述するように、その外周縁部がフランジ壁10の上面にヒートシールされる。容器本体1の前面側に臨むシール蓋2の外周縁には、図2に示すごとくひとつの舌片17が一体に突出形成されており、この舌片17をつかんでシール蓋2を上方へ引き剥がすことができる。容器本体1に外蓋3を閉じ合わせたとき、舌片17は容器本体1の外周壁部11に沿って折り曲げられて、外蓋3で押え保持される。符号18は、舌片17の位置を明示するためにシール蓋2に印刷した表示である。シール蓋2の形成素材としては、ガスバリア性を備えており、さらにアルコールに耐性を有する軟らかなプラスチックフィルムの1種、あるいは複数種のプラスチックフィルムを積層した複合プラスチックフィルムが好適である。
【0040】
外蓋3は、出入口12の上方を覆う四角形状の主面壁19と、主面壁19の外周縁に連続して下方に凹み形成されてフランジ壁10の上面にシール蓋2の外周縁部をはさんで接合するシール壁20と、シール壁20の外周縁から立ち上がる外周壁部21とを備えており、容器本体1と同様に半透明のポリプロピレンからなる薄肉のプラスチック成形品である。
【0041】
図1において外周壁部21は、シール壁20の外周縁に連続して上向きに立ち上がる周側壁22と、周側壁22の上端に連続して横向きに張り出し形成された水平状の鍔壁23とからなる。図5に示すように鍔壁23の前縁の左右両隅は、容器本体1の受壁14の隅部から外方へ突出しており、この突出部分が外蓋3を開閉する際の指掛片24になっている。
【0042】
シール蓋2は、後縁部を残して前方および左右の三方周縁部を上方に引き剥がして出入口12を開放する。シール蓋2は、いったん開封したのちも、容器本体1内の消毒綿Cを使い切るまで容器本体1の内部を可及的に密封状態に閉じる機能を与えておく必要がある。そのために、図1に示すように容器本体1のフランジ壁10と外蓋3のシール壁20とには、互いに嵌合してシール蓋2の外周縁部を上下方向から挟持する凸条26と凹条27とが全周にわたってそれぞれ形成されている。
【0043】
詳しくは、図1および図2に示すごとくフランジ壁10の上面側に凸条26を全周にわたって形成する。一方、シール壁20の下面側には、一対の凸条28・28を全周にわたって下向きに突出形成し、これら両凸条28・28間に、フランジ壁10側の前記凸条26が嵌合する凹条27を形成してある。これにてシール蓋2の外周縁部は、3個の凸条28・26・28に沿って蛇行状に変形されて、蛇行部分がフランジ壁10とシール壁20との対向面間で挟み付けられることになる。従って、いったんシール蓋2を開封しても、シール蓋2で出入口12を繰り返し密封するのに支障はない。図4に示すように、出荷状態におけるシール蓋2は、フランジ壁10の凸条26において全周にわたり線状にヒートシールされている。符号31はこのヒートシール個所を示す。
【0044】
容器本体1に外蓋3を閉じ合わせてシール蓋2で出入口12を密封した状態において、外蓋3を閉じ状態に保持しておく必要がある。そのために、容器本体1の外周壁部11と外蓋3の外周壁部21との間には、互いに凹凸係合する係合手段29・30が設けられている。詳しくは、図1および図2に示すように、外蓋3の周側壁22の前辺および左右辺の中央上部に、外向きに突出する長いリブ状の突起29を設け、容器本体1の内周側壁13の四辺の中央部下端に、該突起29が嵌入係合する長い係合溝30を設けてある。
【0045】
商品ラベル4は、外蓋3の主面壁19の外表面に貼り付けられる主面部分32と、主面部分32の後縁に連続して設けられるヒンジ部分33とを含む。商品ラベル4は、図2に示すごとくポリエチレンテレフタレートなどのヒートシール性能を有するプラスチックフィルム製のラベル基材4a上に、印刷特性を有する紙などの印刷層4bを一体に積層した複合シートからなり、とくに主面部分32における印刷層4bに消毒綿Cの薬学上の仕様や効能、および使用上の注意、製造者の表示などが印刷されている。
【0046】
図7において商品ラベル4のラベル基材4aの裏側表面には、多数本の接着剤34がストライプ状に塗布形成されている。商品ラベル4は主面部分32を外蓋3の主面壁19の外表面に接着剤34で貼付した後、図6に示すようにヒンジ部分33を外蓋3の鍔壁23の後端縁を越えて容器本体1の外周側壁15の外表面に接着剤34で貼り付け、さらに外周側壁15に貼付したヒンジ部分33のうち、ストライプ状の接着剤34の間に露出するラベル基材部分をヒートシールする。図7において符号39はヒートシールした部分を示す。
【0047】
これにより、容器本体1の外周側壁15に対して、ヒンジ部分33は接着剤34の接着作用とヒートシール作用とで強固に固定できる。かくして、外蓋3は図3に示すように容器本体1に対し商品ラベル4をヒンジとして開閉自在に連結できる。
【0048】
温度や湿度の変化に伴い、とくに過乾燥状態になると、商品ラベル4の紙製の印刷層4bが縮むように変形し、この変形力によって容器本体1に装着されている外蓋3が不用意に開くことがある。これを阻止するために、図6に示すごとくヒンジ部分33には、容器本体1と外蓋3とをつなぐ部位に、左右方向に走る直線状のミシン目35・35が二列平行に入っている。すなわち、ヒンジ部分33は、図3に示すごとく容器本体1の外周側壁15の外面において折れ曲がってヒンジ中心33aを形成するが、ミシン目35・35は、ヒンジ中心33aを間に挟むように位置する。これによれば、ミシン目35で外蓋3が開閉操作しやすくなる。更にミシン目35は商品ラベル4の変形力を吸収し、外蓋3を閉じ状態に維持し続ける。
【0049】
外蓋3を繰り返し開閉操作したとき、前記ヒンジ中心33aが側端縁から破れることがある。ミシン目35を入れてあると、なお更に破れやすい。その際に、破れ目37がミシン目35に繋がると、破れ目37はミシン目35に沿って成長し、いずれはヒンジ部分33の切断に至る。このような破れ目37の成長を阻止するために、図6に示すようにミシン目35の左右両端寄りには、ミシン目35と交差する向きの切込み36が形成されている。これによれば、破れ目37が切込み36に達すると、新たな破れ目は切込み36の前後端から成長しやすくなるので、破れ目37が切込み36より内側のミシン目35に直接に連続するのを良く防止できる。
【0050】
以上のように消毒綿Cを収容した包装容器を使用する場合には、外蓋3を反転状に後ろ側へ大きく開いた後、舌片17をつまんでシール蓋2を引き剥がして開封操作し、出入口12を開放する。このとき、シール蓋2で出入口12を再び密封するときの位置ずれを避けるために、シール蓋2の後縁部分はヒートシールされた状態のまま残しておく。このようにシール蓋2を開放し、出入口12の殆どを開放した状態で容器本体1内の消毒綿Cをピンセットで取り出す。その際、シール蓋2に邪魔されずに消毒綿Cを最後の一つまで容易に取り出せる。消毒綿Cを使い切ってしまうことが予想される場合には、シール蓋2を完全に引き剥がして除去してもよい。消毒綿Cを取り出す過程で、消毒綿Cに含浸のアルコールが滴り落ちることがあっても、その液滴はシール蓋2か容器本体1に付着するだけであり、何ら不都合を生じない。
【0051】
消毒綿Cを使い残した場合には、シール蓋2で出入口12を塞ぐ。次に、外蓋3を閉じ合わせて、前記突起29と前記溝30とで外蓋3を閉じ状態に保持すると、シール蓋2で容器本体1内を密閉することができる。フランジ壁10とシール壁20とに設けた凸条26と凹条27とでシール蓋2の外周縁部が蛇行状になって挟持することにより、消毒綿Cからのアルコール分の蒸気および外気の出入りを確実に防止する。従って、いったんシール蓋2を開封しても、出入口12を繰り返し密封できる。
【0052】
(第2実施例) 容器本体1の大きさは、内部に収容する消毒綿Cの個数に応じて、その大きさを自由に変更できる。例えば、図8に示すように容器本体1の高さを大きくして、200個の消毒綿Cが収容できるようにしてもよい。
【0053】
(第3実施例) 商品ラベル4における接着剤34の塗布パターンは、図9に示すように横向きのストライプ状に形成してもよい。この場合のヒンジ部分33は、左右幅方向の全長にわたってヒートシールすることができる。ミシン目35は、図9に示すように1列だけで形成してもよい。
【0054】
(第4実施例) 図10は本発明の第4実施例を示す。この場合の容器本体1は、フランジ壁10の外周に外周壁部11が斜め下向きに連設されている。外蓋3は主面壁19の外周部分がシール壁20になっており、シール壁20の前方および左右の三方外周縁に外周壁部21が斜め下向きに連設されている。商品ラベル4は、主面部分32が外蓋3の主面壁19の外表面に接着され、主面部分32の後端につながるヒンジ部分33が容器本体1の外周壁部11の後辺の外面に接着されている。
【0055】
第4実施例によれば、容器本体1に外蓋3を閉じ合わせたとき、外蓋3の外周壁部21の下端周縁に設けた係合部41が容器本体1側に外周壁部11の下端周縁に回り込み係合して、外蓋3が閉じた状態に保持される。その他の構成は、実質的に第1実施例と同じであるから、同一部材には同一符号を付して説明を省略する。
【0056】
(第5実施例) 図11は本発明に係る包装容器の第5実施例を示す。この場合の外蓋3は、主面壁19の外周部分がシール壁20になっており、シール壁20の前方および左右の三方外周縁に外周壁部21が下向きに連出している。商品ラベル4は、主面部分32が外蓋3の主面壁19の外表面に接着され、主面部分32の後端につながるヒンジ部分33が、容器本体1のフランジ壁10の後辺の下面に回り込んで接着されている。
【0057】
第5実施例によれば、容器本体1に蓋体3を閉じ合わせたとき、外蓋3の外周壁部21に設けた係合部41が、容器本体1側のフランジ壁10の外周縁の下方に回り込み係合して、外蓋3が閉じた状態に保持される。その他の構成は、実質的に第1実施例と同じであるから、同一部材には同一符号を付して説明を省略する。
【0058】
上記の実施例以外に、液含浸体Cとしては、滅菌済みのカット綿に過酸化水素水やヨードチンキなどの薬剤を含浸させた消毒綿であってもよく、あるいは化粧水やクレンジング液を含浸させたカット綿であってもよい。さらに、含浸液を含ませるための担体としては、カット綿に限られず、任意形状の綿塊や球状に丸めた綿塊であってもよいし、滅菌処理された不織布を四角形状にカットしたマットや、面棒のような棒状体であってもよい。
【0059】
容器本体1の四角形である必要はなく、円形、楕円形、あるいは多角形など必要に応じて任意形状を採用できる。ミシン目35はジグザグに形成してあってもよい。商品ラベル4における接着剤34の塗布パターンは、前後方向に対して斜めになるよう形成されていてもよい。
【図面の簡単な説明】
【図1】外蓋を閉じた状態での包装容器の縦断側面図
【図2】包装容器の構成部材を分解して示す斜視図
【図3】外蓋を開放した状態での包装容器の側面図
【図4】シール蓋のヒートシール部分を拡大して示す縦断面図
【図5】外蓋の隅部の形状を拡大して示す平面図
【図6】包装容器のヒンジ部分を示す背面図
【図7】商品ラベルにおける接着剤の塗布パターンを示す底面図
【図8】本発明の第2実施例を示す包装容器の側面図
【図9】本発明の第3実施例を示す商品ラベルの底面図
【図10】本発明の第4実施例を示す包装容器の縦断側面図
【図11】本発明の第5実施例を示す包装容器の縦断側面図
【符号の説明】
1 容器本体
2 シール蓋
3 外蓋
4 商品ラベル
4a 商品ラベルのラベル基材
10 フランジ壁
11 容器本体の外周壁部
19 主面壁
20 シール壁
21 外蓋の外周壁部
26 凸条
27 凹条
29 突起
30 係合溝
32 商品ラベルの主面部分
33 商品ラベルのヒンジ部分
34 接着剤
35 ミシン目
36 切込み
C 液含浸体
Claims (6)
- 内部に液含浸体(C)を収容するために、上面が出入口(12)として開口する容器本体(1)と、
容器本体(1)の出入口(12)を密封する内側のシール蓋(2)と、
容器本体(1)の開口上面の外側を閉じる外蓋(3)と、
外蓋(3)の外表面に貼付される商品ラベル(4)とを備えており、
容器本体(1)が、底壁(5)と、底壁(5)の外周から立ち上がる周側壁(6)と、周側壁(6)の上端外周に張り出し形成された水平状のフランジ壁(10)とを含み、
シール蓋(2)は、その外周縁部がフランジ壁(10)の上面に剥離可能に固着されており、
外蓋(3)は、シール蓋(2)の上方を覆う主面壁(19)と、主面壁(19)につながっていて、フランジ壁(10)の上面にシール蓋(2)の外周縁部をはさんで接合するシール壁(20)とを含み、
商品ラベル(4)は、印刷表示が入っていて、外蓋(3)の主面壁(19)の外表面に固着される主面部分(32)と、主面部分(32)につながっていて、外蓋(3)の外周縁を越えて容器本体(1)側の壁面に固着されるヒンジ部分(33)とを含んでおり、
商品ラベル(4)が、ヒートシール性能を有するプラスチックフィルム製のラベル基材(4a)を含み、
ヒンジ部分(33)のラベル基材(4a)が、容器本体(1)側の壁面にヒートシールされており、
商品ラベル(4)のラベル基材(4a)の表面に、接着剤(34)がストライプ状に塗布形成されており、
商品ラベル(4)の主面部分(32)は、接着剤(34)で外蓋(3)の主面壁(19)の外表面に貼付されており、
商品ラベル(4)のヒンジ部分(33)は、容器本体(1)側の壁面に対して接着剤(34)で接着され、かつ接着剤(34)間のラベル基材(4a)の部分がヒートシールされていることを特徴とする包装容器。 - 容器本体(1)のフランジ壁(10)と外蓋(3)のシール壁(20)とには、シール蓋(2)の外周縁部を蛇行状に挟持する挟持手段(26・27)が、全周にわたってそれぞれ形成されている請求項1記載の包装容器。
- 容器本体(1)に外蓋(3)を閉じた状態に保持するために、容器本体(1)のフランジ壁(10)の外周に形成された外周壁部(11)と、外蓋(2)のシール壁(20)の外周に形成された外周壁部(21)とに、互いに係合する係合手段(29・30)が設けられている請求項1記載の包装容器。
- 容器本体(1)と外蓋(3)とは、それぞれ薄肉のプラスチック成形品であり、
シール蓋(2)は、ガスバリア性を有するプラスチックフィルムからなり、
シール蓋(2)の外周縁部がフランジ壁(10)の上面にヒートシールされている請求項1記載の包装容器。 - 商品ラベル(4)のヒンジ部分(33)に、ミシン目(35)が入っている請求項1記載の包装容器。
- 商品ラベル(4)のヒンジ部分(33)には、ミシン目(35)の両端近くに、ミシン目(35)と交差する向きの切込み(36)が形成されている請求項5記載の包装容器。
Priority Applications (7)
| Application Number | Priority Date | Filing Date | Title |
|---|---|---|---|
| JP2002092191A JP4171237B2 (ja) | 2002-03-28 | 2002-03-28 | 包装容器 |
| TW091108907A TW548225B (en) | 2002-03-28 | 2002-04-30 | Packing container |
| CNB021202389A CN100357163C (zh) | 2002-03-28 | 2002-05-21 | 包装容器 |
| DE10227356A DE10227356A1 (de) | 2002-03-28 | 2002-06-19 | Verpackungsbehälter |
| US10/183,634 US6786329B2 (en) | 2002-03-28 | 2002-06-28 | Packaging container and method of making same |
| KR1020020039899A KR100823214B1 (ko) | 2002-03-28 | 2002-07-10 | 포장용기 |
| HK04101955.7A HK1059424B (en) | 2002-03-28 | 2004-03-17 | Packaging container |
Applications Claiming Priority (1)
| Application Number | Priority Date | Filing Date | Title |
|---|---|---|---|
| JP2002092191A JP4171237B2 (ja) | 2002-03-28 | 2002-03-28 | 包装容器 |
Publications (2)
| Publication Number | Publication Date |
|---|---|
| JP2003285874A JP2003285874A (ja) | 2003-10-07 |
| JP4171237B2 true JP4171237B2 (ja) | 2008-10-22 |
Family
ID=28035857
Family Applications (1)
| Application Number | Title | Priority Date | Filing Date |
|---|---|---|---|
| JP2002092191A Expired - Lifetime JP4171237B2 (ja) | 2002-03-28 | 2002-03-28 | 包装容器 |
Country Status (6)
| Country | Link |
|---|---|
| US (1) | US6786329B2 (ja) |
| JP (1) | JP4171237B2 (ja) |
| KR (1) | KR100823214B1 (ja) |
| CN (1) | CN100357163C (ja) |
| DE (1) | DE10227356A1 (ja) |
| TW (1) | TW548225B (ja) |
Families Citing this family (54)
| Publication number | Priority date | Publication date | Assignee | Title |
|---|---|---|---|---|
| ITMI20040175U1 (it) * | 2004-04-16 | 2004-07-16 | Pilot Italia | Struttura di confezione per alimenti con etichettatura perfezionata |
| US7886928B2 (en) * | 2006-04-28 | 2011-02-15 | Silgan Plastics Corporation | Container with venting closure assembly |
| US8105638B2 (en) | 2006-11-16 | 2012-01-31 | C-Pak, Llc | Reclosable package for a product |
| US20080156858A1 (en) * | 2006-12-27 | 2008-07-03 | Perry James P | Container |
| US20080156806A1 (en) * | 2006-12-27 | 2008-07-03 | Perry James P | Container with Sealing Wall |
| US20080156805A1 (en) * | 2006-12-27 | 2008-07-03 | Perry James P | Container with Gasket Seal |
| EP4219331A1 (en) * | 2006-12-27 | 2023-08-02 | Abbott Laboratories | Container |
| US8511499B2 (en) | 2007-12-18 | 2013-08-20 | Abbott Laboratories | Container |
| US20080308443A1 (en) * | 2007-06-13 | 2008-12-18 | Baxter International Inc. | Packaging system and method of use |
| US20080308444A1 (en) | 2007-06-13 | 2008-12-18 | Baxter International Inc. | Packaging system and method of alerting a practitioner |
| US7811522B2 (en) * | 2007-07-05 | 2010-10-12 | Viaflo Corporation | Sample reservoir kits with disposable liners |
| US20090145165A1 (en) * | 2007-12-05 | 2009-06-11 | Rich Products Corporation | Topping Caddy |
| US8978918B2 (en) | 2007-12-05 | 2015-03-17 | Rich Producuts Corporation | Topping caddy |
| US8763835B2 (en) * | 2007-12-05 | 2014-07-01 | Rich Products Corporation | Topping caddy |
| JP2012512882A (ja) * | 2008-12-18 | 2012-06-07 | ミンテック コーポレーション | 殺胞子性の手指消毒用ローション |
| EP2406145A4 (en) * | 2009-03-13 | 2012-08-01 | Nestec Sa | COMPOSITE COVERS FOR CONTAINERS |
| US8469223B2 (en) * | 2009-06-05 | 2013-06-25 | Abbott Laboratories | Strength container |
| US8627981B2 (en) * | 2009-06-05 | 2014-01-14 | Abbott Laboratories | Container |
| KR101921344B1 (ko) * | 2010-08-20 | 2018-11-22 | 폼텍 인터내셔널 컴퍼니, 리미티드 | 청정실 세정 장치 |
| US8387821B2 (en) * | 2011-04-01 | 2013-03-05 | Der I Industrial Co., Ltd. | Food container |
| TWM424900U (en) * | 2011-07-01 | 2012-03-21 | Ya-Qian Zheng | Sealed food container convenient to open |
| JP5890644B2 (ja) * | 2011-09-30 | 2016-03-22 | ユニ・チャーム株式会社 | 清掃体用収容袋、清掃体パッケージ |
| CN102627167B (zh) * | 2011-12-31 | 2015-11-25 | 深圳市通产丽星股份有限公司 | 包装罐 |
| CN102633046B (zh) * | 2011-12-31 | 2014-10-15 | 深圳市通产丽星股份有限公司 | 密封包装罐 |
| US20130270143A1 (en) * | 2012-04-13 | 2013-10-17 | Zachary Muscato | Two-piece package and method of assembling the same |
| ES2610243T3 (es) | 2012-04-27 | 2017-04-26 | Abbott Laboratories | Tapa unida a un envase por un aro |
| JP6125501B2 (ja) * | 2012-06-27 | 2017-05-10 | 川澄化学工業株式会社 | 医療器具の包装容器及び医療器具包装体並びに医療器具包装体の製造方法 |
| USD733320S1 (en) | 2013-04-26 | 2015-06-30 | Abbott Laboratories | Container |
| DE102013109837A1 (de) * | 2013-09-09 | 2015-03-26 | Phoenix Contact Gmbh & Co. Kg | Kabelmarker |
| JP2015182781A (ja) * | 2014-03-24 | 2015-10-22 | 明広商事株式会社 | パッケージ |
| WO2016130910A1 (en) | 2015-02-13 | 2016-08-18 | Direct Pack, Inc. | Container comprising integral film lid |
| US10329064B2 (en) * | 2015-08-26 | 2019-06-25 | Biery Cheese Co. | Tray with re-closeable lid |
| US11051985B2 (en) * | 2015-10-01 | 2021-07-06 | Nobelpharma Co., Ltd. | Preparation jig for tympanic membrane regenerating agent and preparation vessel for tympanic membrane regenerating agent |
| EP3193771B1 (en) | 2015-10-30 | 2023-11-22 | O&M Halyard, Inc. | Sterilization packaging systems |
| US20170166367A1 (en) * | 2015-12-11 | 2017-06-15 | Berry Plastics Corporation | Package |
| CN107176373B (zh) * | 2016-03-10 | 2018-11-20 | 中南大学湘雅二医院 | 一种用于安瓿瓶颈部消毒去屑棉块的提取箱 |
| SE539899C2 (en) * | 2016-04-15 | 2018-01-02 | A & R Carton Lund Ab | Paperboard packaging container with a lid and a method for producing such a container |
| JP6152201B1 (ja) * | 2016-06-29 | 2017-06-21 | Ckd株式会社 | ブリスタ包装機 |
| JP6944991B2 (ja) | 2016-08-05 | 2021-10-06 | バッヘン・ホールディング・アクチエンゲゼルシャフト | 乾燥容器 |
| US10603464B2 (en) * | 2017-12-12 | 2020-03-31 | Medtronic Vascular, Inc. | Sterile barrier product packaging |
| SE543099C2 (en) | 2018-05-23 | 2020-10-06 | A & R Carton Lund Ab | Flexible membrane with valve |
| JP7149126B2 (ja) * | 2018-07-31 | 2022-10-06 | 勇治 篠原 | 包装容器 |
| SE542898C2 (en) | 2018-08-31 | 2020-08-18 | Å&R Carton Lund Ab | A composite container with separable top, a body blank, and a method of separating a top end portion from a main body of the container |
| CN109250290A (zh) * | 2018-10-23 | 2019-01-22 | 镇江刘恒记食品有限公司 | 一种盛醋容器 |
| EP3747786B1 (de) * | 2019-06-04 | 2022-04-27 | silver plastics GmbH & Co. KG | Verpackungsschale mit profiliertem siegelrand |
| SE544358C2 (en) | 2019-07-02 | 2022-04-19 | A & R Carton Lund Ab | Method of producing a packaging container and a packaging container |
| US11299334B2 (en) * | 2019-09-05 | 2022-04-12 | Sonoco Development, Inc. | Membrane lid with integrated two-stage tab system |
| SE544445C2 (en) | 2019-12-12 | 2022-05-31 | Ar Packaging Systems Ab | Method of producing a packaging container, a packaging container and a curling tool |
| US11505373B2 (en) * | 2020-01-31 | 2022-11-22 | Greener Shapes Inc. | Receptacle having a tamper resistant locking mechanism for produce and foodstuff |
| CA3196760A1 (en) * | 2020-12-22 | 2022-06-30 | Polarpak Company | Tamper resistant container |
| GB2637096B (en) * | 2021-12-21 | 2025-12-17 | Polarpak Company | Tamper resistant container |
| SE546556C2 (en) | 2022-05-25 | 2024-12-03 | Gpi Systems Ab | Method of producing packaging container comprising a valve |
| WO2024112716A1 (en) | 2022-11-22 | 2024-05-30 | Graphic Packaging International, Llc | Container with reinforcement features, related systems and methods |
| WO2025233197A1 (en) * | 2024-05-07 | 2025-11-13 | Jt International Sa | Container for pouches |
Family Cites Families (15)
| Publication number | Priority date | Publication date | Assignee | Title |
|---|---|---|---|---|
| JPS6326555U (ja) * | 1986-08-01 | 1988-02-22 | ||
| JPH0176406U (ja) * | 1987-11-06 | 1989-05-23 | ||
| US4990345A (en) * | 1988-12-05 | 1991-02-05 | Webb John D | Package with compartmented closure assembly |
| JPH02102383U (ja) * | 1989-01-31 | 1990-08-15 | ||
| JPH063423Y2 (ja) * | 1989-02-10 | 1994-01-26 | 冨士シール工業株式会社 | 容器用タックラベル |
| JPH0730363Y2 (ja) * | 1989-05-24 | 1995-07-12 | 株式会社小森コーポレーション | 版面の清掃装置 |
| JPH06255692A (ja) * | 1993-02-24 | 1994-09-13 | Dainippon Printing Co Ltd | 納豆容器 |
| JP2599936Y2 (ja) * | 1993-09-02 | 1999-09-27 | 押尾産業株式会社 | 包装容器 |
| JP3009838U (ja) * | 1994-10-04 | 1995-04-11 | 株式会社カネカシーフーズ | 包装用容器 |
| JPH11268765A (ja) * | 1998-03-18 | 1999-10-05 | Kankyo Planning:Kk | 開閉自在密閉容器 |
| JP2000103470A (ja) * | 1998-09-30 | 2000-04-11 | Nippon Matai Co Ltd | 密閉容器 |
| US6471122B1 (en) * | 1999-02-13 | 2002-10-29 | Stone Container Corporation | Paperboard can with an integrated paperboard lid having a slide closure |
| JP2001328666A (ja) * | 2000-05-19 | 2001-11-27 | Meisei Sansho Kk | 密閉容器 |
| US6395318B1 (en) * | 2000-06-15 | 2002-05-28 | General Mills, Inc. | Delaminating membrane lid for a canister containing a particulate-type product |
| CN2460478Y (zh) * | 2001-02-02 | 2001-11-21 | 永裕塑胶工业股份有限公司 | 具有掀盖的纸盒 |
-
2002
- 2002-03-28 JP JP2002092191A patent/JP4171237B2/ja not_active Expired - Lifetime
- 2002-04-30 TW TW091108907A patent/TW548225B/zh not_active IP Right Cessation
- 2002-05-21 CN CNB021202389A patent/CN100357163C/zh not_active Expired - Fee Related
- 2002-06-19 DE DE10227356A patent/DE10227356A1/de not_active Withdrawn
- 2002-06-28 US US10/183,634 patent/US6786329B2/en not_active Expired - Fee Related
- 2002-07-10 KR KR1020020039899A patent/KR100823214B1/ko not_active Expired - Fee Related
Also Published As
| Publication number | Publication date |
|---|---|
| TW548225B (en) | 2003-08-21 |
| US6786329B2 (en) | 2004-09-07 |
| HK1059424A1 (en) | 2004-07-02 |
| CN1448318A (zh) | 2003-10-15 |
| JP2003285874A (ja) | 2003-10-07 |
| CN100357163C (zh) | 2007-12-26 |
| KR100823214B1 (ko) | 2008-04-18 |
| US20030183540A1 (en) | 2003-10-02 |
| DE10227356A1 (de) | 2003-10-09 |
| KR20030078593A (ko) | 2003-10-08 |
Similar Documents
| Publication | Publication Date | Title |
|---|---|---|
| JP4171237B2 (ja) | 包装容器 | |
| AU750534B2 (en) | Refillable towelette dispensing package | |
| JP2780931B2 (ja) | 包装体 | |
| US5647506A (en) | Readily openable pop-up dispenser for moist tissues | |
| JP2713704B2 (ja) | 包装体 | |
| JPH01226579A (ja) | ウエツトテイツシュ包装体 | |
| JP2004538220A (ja) | 使い捨てソフトコンタクトレンズ用包装容器 | |
| JPWO2011052422A1 (ja) | 包装容器 | |
| JPH01167084A (ja) | 包装体 | |
| WO2018079496A1 (ja) | ウエットシート包装体 | |
| JP2862476B2 (ja) | シート状開閉蓋を有する包装体 | |
| JP2001328666A (ja) | 密閉容器 | |
| JP3059752U (ja) | シート状開閉蓋を有する包装体 | |
| HK1059424B (en) | Packaging container | |
| JP4986221B2 (ja) | ウエットティシュペーパー収納容器 | |
| JP2003020081A (ja) | 清拭シートの包装体 | |
| JP3059753U (ja) | シート状開閉蓋を有する包装体 | |
| JPH10120050A (ja) | ウエットティッシュ包装体 | |
| JPH10120049A (ja) | ウエットティッシュ包装体 | |
| JP3836706B2 (ja) | 液浸材の包装体 | |
| JPH0121619Y2 (ja) | ||
| JPH0219415Y2 (ja) | ||
| JP2002114254A (ja) | 密閉容器 | |
| MXPA00004142A (es) | Un envase mejorado para toallitas humedas. | |
| MXPA99007903A (en) | Tape for resealing a pack of flexible articles |
Legal Events
| Date | Code | Title | Description |
|---|---|---|---|
| A621 | Written request for application examination |
Free format text: JAPANESE INTERMEDIATE CODE: A621 Effective date: 20050314 |
|
| RD02 | Notification of acceptance of power of attorney |
Free format text: JAPANESE INTERMEDIATE CODE: A7422 Effective date: 20070331 |
|
| A977 | Report on retrieval |
Free format text: JAPANESE INTERMEDIATE CODE: A971007 Effective date: 20071227 |
|
| A131 | Notification of reasons for refusal |
Free format text: JAPANESE INTERMEDIATE CODE: A131 Effective date: 20080109 |
|
| A521 | Request for written amendment filed |
Free format text: JAPANESE INTERMEDIATE CODE: A523 Effective date: 20080308 |
|
| TRDD | Decision of grant or rejection written | ||
| A01 | Written decision to grant a patent or to grant a registration (utility model) |
Free format text: JAPANESE INTERMEDIATE CODE: A01 Effective date: 20080716 |
|
| A01 | Written decision to grant a patent or to grant a registration (utility model) |
Free format text: JAPANESE INTERMEDIATE CODE: A01 |
|
| A61 | First payment of annual fees (during grant procedure) |
Free format text: JAPANESE INTERMEDIATE CODE: A61 Effective date: 20080808 |
|
| FPAY | Renewal fee payment (event date is renewal date of database) |
Free format text: PAYMENT UNTIL: 20110815 Year of fee payment: 3 |
|
| R150 | Certificate of patent or registration of utility model |
Free format text: JAPANESE INTERMEDIATE CODE: R150 Ref document number: 4171237 Country of ref document: JP Free format text: JAPANESE INTERMEDIATE CODE: R150 |
|
| R250 | Receipt of annual fees |
Free format text: JAPANESE INTERMEDIATE CODE: R250 |
|
| R250 | Receipt of annual fees |
Free format text: JAPANESE INTERMEDIATE CODE: R250 |
|
| S531 | Written request for registration of change of domicile |
Free format text: JAPANESE INTERMEDIATE CODE: R313531 |
|
| R350 | Written notification of registration of transfer |
Free format text: JAPANESE INTERMEDIATE CODE: R350 |
|
| R250 | Receipt of annual fees |
Free format text: JAPANESE INTERMEDIATE CODE: R250 |
|
| R250 | Receipt of annual fees |
Free format text: JAPANESE INTERMEDIATE CODE: R250 |
|
| R250 | Receipt of annual fees |
Free format text: JAPANESE INTERMEDIATE CODE: R250 |
|
| R250 | Receipt of annual fees |
Free format text: JAPANESE INTERMEDIATE CODE: R250 |
|
| R250 | Receipt of annual fees |
Free format text: JAPANESE INTERMEDIATE CODE: R250 |
|
| EXPY | Cancellation because of completion of term |