JP4133696B2 - 押ボタンスイッチ構造 - Google Patents

押ボタンスイッチ構造 Download PDF

Info

Publication number
JP4133696B2
JP4133696B2 JP2003310629A JP2003310629A JP4133696B2 JP 4133696 B2 JP4133696 B2 JP 4133696B2 JP 2003310629 A JP2003310629 A JP 2003310629A JP 2003310629 A JP2003310629 A JP 2003310629A JP 4133696 B2 JP4133696 B2 JP 4133696B2
Authority
JP
Japan
Prior art keywords
button
switch
bottom cap
movable contact
contact
Prior art date
Legal status (The legal status is an assumption and is not a legal conclusion. Google has not performed a legal analysis and makes no representation as to the accuracy of the status listed.)
Expired - Fee Related
Application number
JP2003310629A
Other languages
English (en)
Other versions
JP2005079025A (ja
Inventor
専 小松
Current Assignee (The listed assignees may be inaccurate. Google has not performed a legal analysis and makes no representation or warranty as to the accuracy of the list.)
Honda Motor Co Ltd
Original Assignee
Honda Motor Co Ltd
Priority date (The priority date is an assumption and is not a legal conclusion. Google has not performed a legal analysis and makes no representation as to the accuracy of the date listed.)
Filing date
Publication date
Application filed by Honda Motor Co Ltd filed Critical Honda Motor Co Ltd
Priority to JP2003310629A priority Critical patent/JP4133696B2/ja
Publication of JP2005079025A publication Critical patent/JP2005079025A/ja
Application granted granted Critical
Publication of JP4133696B2 publication Critical patent/JP4133696B2/ja
Anticipated expiration legal-status Critical
Expired - Fee Related legal-status Critical Current

Links

Images

Landscapes

  • Push-Button Switches (AREA)

Description

本発明は、押ボタンスイッチ構造に関するものである。
押ボタンスイッチは、ボタン部を押すことで操作を行うもので、一般的に、ボタン本体を有する操作機構と、接点部を有するコンタクト機構とからなり、例えば、自動車の自動変速機のシフトレバーに用いられる。
従来の押ボタンスイッチ構造として、プッシュロックスイッチが知られている(例えば、特許文献1参照。)。
実開平4−101329号公報
図10は、特許文献1の図1の再掲図である。
特許文献1のプッシュロックスイッチは、ケース1にスライド可能に嵌めた操作子3を移動させることで、可動盤5が移動して可動接片8を固定接点9に接触させる。
ケース1は、断面形状が略コ字形状で、開口側に基盤2を取り付けた構成である。
可動接片8は、可動盤5に嵌合するとともに、基盤2内面を弾性を有して摺接し、固定接点9と接離する。
しかし、特許文献1のプッシュロックスイッチは、ケース1の横(図の左右)の開口側に基盤2を取り付けた構成であり、使用条件によっては、横の開口を底(図の下方)の開口に変えた仕様にしたいことがある。例えば、基盤2側への押し付け力が大きい場合、ケース1の横を一体に成形し、底の開口にボトムキャップを嵌めると、簡単な構成で剛性を確保しやすい。ただ、ボトムキャップを嵌める構造では、ボトムキャップを嵌める際に、ボトムキャップが可動接片8の先端に干渉することがあり、その点では、従来の横から可動接片8に抗して基盤2などの蓋材を嵌める構成が有利であった。
本発明は、スイッチケースにボトムキャップを取り付ける際に、ボトムキャップと可動接触子との干渉を防止し、押ボタンスイッチの組立てを容易にすることを課題とする。
請求項1に係る発明は、スイッチケースと、このスイッチケースに押込み動可能に設けるとともに可動接触子を備えるボタン部と、このボタン部の可動接触子に対応する固定接触子を備えスイッチケースのボトム部に取り付けるボトムキャップとを有する押ボタンスイッチ構造において、ボタン部のボトムキャップ側に、可動接触子の拡がりを規制するストッパ面、ボトムキャップのボタン部側に、このボトムキャップをスイッチケースに取り付ける際、スイッチケースと可動接触子の端との間に押し込まれて、ストッパ面で規制された可動接触子の端をスイッチの中央に導く傾斜ガイド面、ボタン部を待機位置に戻す復帰スプリングと、復帰スプリングとは別に設けられ、ボタン部の操作時にクリック感を付与するクリック片と、を備えクリック片は、ボタン部に設けられ、ボトムキャップに設けられるクリック凸部に掛合することでボタン部の操作時にクリック感を付与することを特徴とする。
請求項は、可動接触子と、クリック片とがボタン部に一体的、且つボタン部を中心軸とした円周上に別々に設けられ、復帰スプリングは、圧縮コイルばねであり、ボタン部の中心軸と同心に配置されていることを特徴とする。
請求項では、固定接触子は、ボトムキャップの側面と下面に面一となるL字形状であり、可動接触子は、ボタン部を押圧した場合に、端を含む接点部側がL字形状の固定接触子の側面と下面との両方に接触することを特徴とする。
請求項1に係る発明では、ボタン部のボトムキャップ側に、可動接触子の拡がりを規制するストッパ面を備え、ボトムキャップのボタン部側に、このボトムキャップをスイッチケースに取り付ける際、ストッパ面で規制された可動接触子の端をスイッチの中央に導く傾斜ガイド面を備えたので、ボトムキャップをほぼ半部、押し込むと、傾斜ガイド面が可動接触子の端に当たり、傾斜ガイド面は、自身の傾斜で可動接触子の端をスイッチの中央に移動させる。移動する可動接触子は、傾斜ガイド面から離れてたわむ。従って、ボトムキャップと可動接触子との干渉を防止するという利点があるとともに、押ボタンスイッチの組立ては容易になるという利点がある。
また、ボタン部を待機位置に戻す復帰スプリングを備えているので、ボタン本体から手を離すと、復帰スプリングによって、ボタン本体を自動的に待機位置に戻すことができる。そして、復帰スプリングとは別に設けられ、ボタン部の操作時にクリック感を付与するクリック片を備えているので、押ボタンスイッチを押すと、クリック片はボトムキャップに掛合し、クリック感を付与することができる。その結果、押ボタンスイッチを押す感触とクリック感の感触とを各々設定することができる。
請求項では、クリック片は、ボタン部に設けられ、ボトムキャップに設けられるクリック凸部に掛合することでボタン部の操作時にクリック感を付与するので、ボトムキャップにクリック凸部を設けるだけでよい。
請求項では、可動接触子と、クリック片とがボタン部に一体的、且つボタン部を中心軸とした円周上に別々に設けられ、復帰スプリングは、圧縮コイルばねであり、ボタン部の中心軸と同心に配置されているので、押ボタンスイッチを小型化することができる。
請求項では、固定接触子は、ボトムキャップの側面と下面に面一となるL字形状であり、可動接触子は、ボタン部を押圧した場合に、端を含む接点部側がL字形状の固定接触子の側面と下面との両方に接触するので、側面と下面との両方に接触することができる。
本発明を実施するための最良の形態を添付図に基づいて以下に説明する。なお、図面は符号の向きに見るものとする。
図1は、本発明の押ボタンスイッチを用いたシフトレバー構造及び車両室内を示す図であり、車両11は、オートマチック・トランスミッション車(AT車)、つまり、自動変速機を搭載した車両で、右に設けた運転席12と、この運転席12の前方に設けたインストルメントパネル13と、ステアリングホイール14と、インストルメントパネル13の中央に配置したシフトレバー装置15と、を備える。
シフトレバー装置15は、予め決められた走行条件から所望の走行条件を選択し、設定するもので、走行条件をそれぞれ「P」、「R」、「N」、「D」、「2」の略語で表示するとともに、これらをこの順に並べた5ポジションとし、ゲート21を一直線に形成し、シフトレバー22のグリップ23を左手で握り、走行条件を表示したポジションへシフトレバー22をゲート21に沿って一直線に移動させる。その際、条件によってはノブ24を押しながら、移動させる。図1は「N」レンジを選択したシフトレバー22の状態を示す。25は押ボタンスイッチ、26はロック解除キー穴を示す。
Pは、パーキングレンジで、駐車専用のブレーキのレンジである。
Rは、リバース(後退)レンジで、バックギアで走行するレンジである。
Nは、ニュートラル(中立)レンジで、エンジンと駆動系との間で動力を切るレンジである。
Dは、ドライブレンジで、通常走行時、全ギアの自動変速を行うレンジである。
2は、セカンドレンジで、セカンドギアホールドで走行するレンジである。
図2は、本発明の押ボタンスイッチの正面図である。
押ボタンスイッチ25は、オーバードライブ(OD)ボタンとして用いたもので、円形のボタン部31と、このボタン部31を支持するコンタクト機構32と、コンタクト機構32に接続した電線部33とからなる。Fは待機位置、Sは動作(導通)を開始するまでのストロク量、Lmは最大ストロク量を示す。
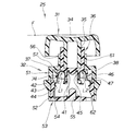
図3は、図2の3−3線断面図であり、押ボタンスイッチの待機状態を示す。
ボタン部31は、操作者が押すボタン本体34と、ボタン本体34の軸部35に嵌合してボタン本体34とともにスライドするスライダ36と、スライダ36に取り付けた可動接触子37並びにクリック片38と、からなる。
可動接触子37は、断面U字形に成形したもので、スライダ36に固定する固定部41を形成し、固定部41に連ねてたわみ部42を距離L1だけ伸ばし、たわみ部42に連ねて接点部43を円弧状に成形したものである。44は可動接触子37の端を示す。
クリック片38は、断面U字形に成形したもので、スライダ36に固定する固定部45を形成し、固定部45に連ねてたわみ部46を距離L2だけ伸ばし、たわみ部46に連ねて凸部47を成形したもので、クリック感を付与する。
コンタクト機構32は、スイッチケース51と、スイッチケース51のボトム部52に取り付けるボトムキャップ53と、ボトムキャップ53に取り付けた図3及び図4の示されている構造で明らかな固定接触子54と、中央に設けた復帰スプリング55と、からなる。56はスイッチケース51の上部を示す。
スイッチケース51は、升形状のケース本体57の上(図の上方)にガイド筒61を成形し、底(図の下方)に開口62を成形したものである。
復帰スプリング55は、非操作時にスライダ36とともにボタン本体34を待機位置Fに戻す。
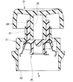
図4は、本発明の押ボタンスイッチの動作説明図であり、押ボタンスイッチの断面を示す。
押ボタンスイッチ25を最大ストロク量Lmだけ押すと、図4に示されているように可動接触子37の接点部43及び端44が固定接触子54に密着し、導通を維持する。
押ボタンスイッチ25をストロク量Sだけ押すと、可動接触子37が固定接触子54に接触し始め、互いに導通可能となる。
また、押ボタンスイッチ25を最大ストロク量Lmだけ押すと、クリック片38の凸部47はボトムキャップ53のクリック凸部84に一旦掛合し、クリック感を付与する。ボタン本体34から手を離すと、復帰スプリング55によって、ボタン本体34は自動的に待機位置Fに戻る。
図5は、本発明の押ボタンスイッチのスライダの断面図である。
スライダ36は、可動接触子37の拡がり(矢印aの方向)を規制するストッパ面65を備える。具体的には、ボタン本体34を嵌めかつ、スイッチケース51のガイド筒61にスライド可能に嵌る筒状の嵌合部66を成形し、嵌合部66の端に可動接触子37を固定する第1固定部67を成形し、固定部67に連ねてストッパ面65を角度θ1で成形し、嵌合部66の端にクリック片38を固定する第2固定部71を成形し、第2固定部71に連ねてクリック片38の拡がり(矢印bの方向)を規制する規制面72を角度θ2で成形し、嵌合部66の端の中央にばね掛止部73を成形したものである。
つまり、ボタン部31のボトムキャップ側であるところの下部74に、可動接触子37の拡がりを規制するストッパ面65を備える。
図6は、本発明の押ボタンスイッチのボトムキャップの断面図である。
ボトムキャップ53は、傾斜ガイド面75を備える。具体的には、ボトムキャップ53は、スイッチケース51のケース本体57内に嵌合する本体76を升形状に成形し、ボトムキャップ53(本体76)のボタン部側であるところの上部77に、このボトムキャップ53をスイッチケース51に取り付ける際、ストッパ面65(図5参照)で規制された可動接触子37(図3参照)の端44(図3参照)をスイッチの中央78に導く(矢印dの方向)傾斜ガイド面75を角度θ3で形成し、ボトムキャップ53の隅81に固定接触子54をインサートし、固定接触子54に対向するボトムキャップ53の内面83にクリック凸部84を成形し、ボトムキャップ53の底中央にばね掛止部85を成形したものである。
次に本発明の押ボタンスイッチの組立て要領及び作用を説明する。
図7は、本発明の押ボタンスイッチの組立て要領説明図(その1)である。
まず、スイッチケース51の開口62からスライダ36を入れ(矢印eの方向)、スイッチケース51のガイド筒61にスライダ36の嵌合部66を嵌めることで、スライダ36を組み込む。続けて、嵌合部66にボタン部31の軸部35を一体的に取り付ける。
図8は、本発明の押ボタンスイッチの組立て要領説明図(その2)である。
引き続き、ボトムキャップ53のばね掛止部85に復帰スプリング55を載せ、復帰スプリング55を載せたボトムキャップ53をスイッチケース51の開口62から矢印fの如く入れ、押し込む。押し込むと、ボトムキャップ53の傾斜ガイド面75は可動接触子37に矢印gの如く当たり始める。
図9は、本発明の押ボタンスイッチの組立て要領説明図(その3)である。
さらに押し込むことで、押ボタンスイッチの組立ては完了する。その際、ボトムキャップ53をほぼ半部、押し込むと、傾斜ガイド面75が可動接触子37の端44並びに円弧状の接点部43に当たるので、傾斜ガイド面75は、自身の傾斜で可動接触子37の端44並びに円弧状の接点部43を矢印hの如くスイッチの中央78に移動させるとともに、ストッパ面65から離れた可動接触子37の角度δ1を増加させ、可動接触子37のたわみ部42をたわませる。従って、ボトムキャップ53と可動接触子37との干渉を防止しするという利点があるとともに、押ボタンスイッチ25の組立ては容易になるという利点がある。
また、ボトムキャップ53をほぼ半部、押し込むと、クリック凸部84がクリック片38を矢印jの如くスイッチの中央78に移動させるとともに、規制面72から離れたクリック片38の角度δ2を増加させ、クリック片38のたわみ部46をたわませる。従って、ボトムキャップ53とクリック片38との干渉を防止しするという利点があるとともに、押ボタンスイッチ25の組立ては容易になるという利点がある。
尚、本発明の押ボタンスイッチ構造は、実施の形態では四輪車に適用したが、三輪車、建設機械、農業機械、産業機械にも適用可能であり、一般の車両に適用することは差し支えない。
本発明の押ボタンスイッチ構造は、四輪車に好適である。
本発明の押ボタンスイッチを用いたシフトレバー構造及び車両室内を示す図 本発明の押ボタンスイッチの正面図 図2の3−3線断面図 本発明の押ボタンスイッチの動作説明図 本発明の押ボタンスイッチのスライダの断面図 本発明の押ボタンスイッチのボトムキャップの断面図 本発明の押ボタンスイッチの組立て要領説明図(その1) 本発明の押ボタンスイッチの組立て要領説明図(その2) 本発明の押ボタンスイッチの組立て要領説明図(その3) 特許文献1の図1の再掲図
符号の説明
25…押ボタンスイッチ、31…ボタン部、37…可動接触子、44…可動接触子の端、51…スイッチケース、52…スイッチケースのボトム部、53…ボトムキャップ、54…固定接触子、65…ストッパ面、74…ボタン部のボトムキャップ側(ボタン部の下部)、75…傾斜ガイド面、77…ボトムキャップのボタン部側(ボトムキャップの上部)、78…スイッチの中央。

Claims (3)

  1. スイッチケース(51)と、このスイッチケース(51)に押込み動可能に設けるとともに可動接触子(37)を備えるボタン部(31)と、このボタン部(31)の可動接触子(37)に対応する固定接触子(54)を備え前記スイッチケース(51)のボトム部(52)に取り付けるボトムキャップ(53)とを有する押ボタンスイッチ構造(25)において、
    前記ボタン部(31)の前記ボトムキャップ(53)側に、前記可動接触子(37)の拡がりを規制することで、前記スイッチケース(51)に前記可動接触子(37)の端(44)を触れないようにするストッパ面(65)
    前記ボトムキャップ(53)の前記ボタン部(31)側に、このボトムキャップ(53)をスイッチケース(51)に取り付ける際、該スイッチケース(51)と前記可動接触子(37)の端(44)との間に押し込まれて、前記ストッパ面(65)で規制された可動接触子(37)の端(44)をスイッチ(25)の中央(78)に導く傾斜ガイド面(75)
    前記ボタン部(31)を待機位置に戻す復帰スプリング(55)と、
    前記復帰スプリング(55)とは別に設けられ、前記ボタン部(31)の操作時にクリック感を付与するクリック片(38)と、を備え
    前記クリック片(38)は、前記ボタン部(31)に設けられ、前記ボトムキャップ(53)に設けられるクリック凸部(84)に掛合することでボタン部(31)の操作時にクリック感を付与することを特徴とする押ボタンスイッチ構造。
  2. 前記可動接触子(37)と、前記クリック片(38)とが前記ボタン部(31)に一体的、且つ前記ボタン部(31)を中心軸とした円周上に別々に設けられ、
    前記復帰スプリング(55)は、圧縮コイルばねであり、前記ボタン部(31)の中心軸と同心に配置されていることを特徴とする請求項1に記載の押ボタンスイッチ構造。
  3. 前記固定接触子(54)は、前記ボトムキャップ(53)の側面と下面に面一となるL字形状であり、
    前記可動接触子(37)は、前記ボタン部(31)を押圧した場合に、前記端(44)を含む接点部(43)側が前記L字形状の固定接触子(54)の側面と下面との両方に接触することを特徴とする請求項1に記載の押ボタンスイッチ構造。
JP2003310629A 2003-09-02 2003-09-02 押ボタンスイッチ構造 Expired - Fee Related JP4133696B2 (ja)

Priority Applications (1)

Application Number Priority Date Filing Date Title
JP2003310629A JP4133696B2 (ja) 2003-09-02 2003-09-02 押ボタンスイッチ構造

Applications Claiming Priority (1)

Application Number Priority Date Filing Date Title
JP2003310629A JP4133696B2 (ja) 2003-09-02 2003-09-02 押ボタンスイッチ構造

Publications (2)

Publication Number Publication Date
JP2005079025A JP2005079025A (ja) 2005-03-24
JP4133696B2 true JP4133696B2 (ja) 2008-08-13

Family

ID=34412447

Family Applications (1)

Application Number Title Priority Date Filing Date
JP2003310629A Expired - Fee Related JP4133696B2 (ja) 2003-09-02 2003-09-02 押ボタンスイッチ構造

Country Status (1)

Country Link
JP (1) JP4133696B2 (ja)

Families Citing this family (5)

* Cited by examiner, † Cited by third party
Publication number Priority date Publication date Assignee Title
WO2008006882A1 (en) 2006-07-14 2008-01-17 Siemens Aktiengesellschaft Method for generating an extended route request message and an extended route reply message for route discovery procedures
JP5256066B2 (ja) * 2009-02-02 2013-08-07 東京パーツ工業株式会社 プッシュスイッチ
JP5938139B2 (ja) 2012-03-20 2016-06-22 レイセオン カンパニー 通信ネットワークのデータパケットのルーティング
JP2014203521A (ja) * 2013-04-01 2014-10-27 富士通コンポーネント株式会社 キースイッチ装置および入力装置
CN108422192B (zh) * 2018-04-16 2023-11-14 浙江佳龙电子有限公司 一种按钮开关自动装配设备

Also Published As

Publication number Publication date
JP2005079025A (ja) 2005-03-24

Similar Documents

Publication Publication Date Title
CN102725165B (zh) 换档装置
JP3889951B2 (ja) 多段自動変速機操作装置
JP4133696B2 (ja) 押ボタンスイッチ構造
JP2009101914A (ja) シフトレバー装置
KR101316185B1 (ko) 자동 변속 차량의 마우스 타입 기어 변속 장치
JP4388342B2 (ja) 自動変速機のシフトレバー装置
JP3751718B2 (ja) 自動変速機の変速操作入力装置
JP2005297756A (ja) 自動変速機用シフトレバー装置
JP3572818B2 (ja) 変速操作レバーのノブ構造
JP4278785B2 (ja) シフトレバー装置
JPS6234324Y2 (ja)
JPS6217855Y2 (ja)
JPS6349764Y2 (ja)
JPS6410367B2 (ja)
JP2023184324A (ja) シフト装置
JPH0315877Y2 (ja)
JPH1134685A (ja) 自動変速機の変速操作入力装置
JP3751717B2 (ja) 自動変速機の変速操作入力装置
JP2006256411A (ja) 変速機用シフトスイッチ、シフト装置および自動車
KR101316157B1 (ko) 자동변속기의 변속레버용 조작감 형성기구
JP3768651B2 (ja) 自動変速機の変速操作入力装置
JP2576558B2 (ja) 自動変速機のリバース装置
JP2007160966A (ja) 自動変速機の変速操作装置
JPH11170883A (ja) 自動車用自動変速機のシフト装置
JPH10100720A (ja) 自動変速機の変速操作入力装置

Legal Events

Date Code Title Description
A625 Written request for application examination (by other person)

Free format text: JAPANESE INTERMEDIATE CODE: A625

Effective date: 20050512

A131 Notification of reasons for refusal

Free format text: JAPANESE INTERMEDIATE CODE: A131

Effective date: 20070911

A521 Written amendment

Free format text: JAPANESE INTERMEDIATE CODE: A523

Effective date: 20071112

A131 Notification of reasons for refusal

Free format text: JAPANESE INTERMEDIATE CODE: A131

Effective date: 20080205

A521 Written amendment

Free format text: JAPANESE INTERMEDIATE CODE: A523

Effective date: 20080331

TRDD Decision of grant or rejection written
A01 Written decision to grant a patent or to grant a registration (utility model)

Free format text: JAPANESE INTERMEDIATE CODE: A01

Effective date: 20080507

A01 Written decision to grant a patent or to grant a registration (utility model)

Free format text: JAPANESE INTERMEDIATE CODE: A01

A61 First payment of annual fees (during grant procedure)

Free format text: JAPANESE INTERMEDIATE CODE: A61

Effective date: 20080602

FPAY Renewal fee payment (event date is renewal date of database)

Free format text: PAYMENT UNTIL: 20110606

Year of fee payment: 3

R150 Certificate of patent or registration of utility model

Free format text: JAPANESE INTERMEDIATE CODE: R150

FPAY Renewal fee payment (event date is renewal date of database)

Free format text: PAYMENT UNTIL: 20110606

Year of fee payment: 3

FPAY Renewal fee payment (event date is renewal date of database)

Free format text: PAYMENT UNTIL: 20130606

Year of fee payment: 5

FPAY Renewal fee payment (event date is renewal date of database)

Free format text: PAYMENT UNTIL: 20130606

Year of fee payment: 5

FPAY Renewal fee payment (event date is renewal date of database)

Free format text: PAYMENT UNTIL: 20140606

Year of fee payment: 6

LAPS Cancellation because of no payment of annual fees