JP3676523B2 - コンタクトピン及び電気的接続装置 - Google Patents
コンタクトピン及び電気的接続装置 Download PDFInfo
- Publication number
- JP3676523B2 JP3676523B2 JP29803696A JP29803696A JP3676523B2 JP 3676523 B2 JP3676523 B2 JP 3676523B2 JP 29803696 A JP29803696 A JP 29803696A JP 29803696 A JP29803696 A JP 29803696A JP 3676523 B2 JP3676523 B2 JP 3676523B2
- Authority
- JP
- Japan
- Prior art keywords
- contact
- contact pin
- inclined surface
- bifurcated
- spherical terminal
- Prior art date
- Legal status (The legal status is an assumption and is not a legal conclusion. Google has not performed a legal analysis and makes no representation as to the accuracy of the status listed.)
- Expired - Fee Related
Links
- 230000007423 decrease Effects 0.000 claims description 4
- 230000005489 elastic deformation Effects 0.000 claims description 2
- 229910000679 solder Inorganic materials 0.000 description 36
- 230000000694 effects Effects 0.000 description 14
- 238000010586 diagram Methods 0.000 description 7
- 238000003780 insertion Methods 0.000 description 5
- 230000037431 insertion Effects 0.000 description 5
- 238000005452 bending Methods 0.000 description 2
- 239000000463 material Substances 0.000 description 1
- 239000002184 metal Substances 0.000 description 1
- 238000000034 method Methods 0.000 description 1
- 230000002093 peripheral effect Effects 0.000 description 1
- 239000004065 semiconductor Substances 0.000 description 1
Images
Classifications
-
- H—ELECTRICITY
- H01—ELECTRIC ELEMENTS
- H01R—ELECTRICALLY-CONDUCTIVE CONNECTIONS; STRUCTURAL ASSOCIATIONS OF A PLURALITY OF MUTUALLY-INSULATED ELECTRICAL CONNECTING ELEMENTS; COUPLING DEVICES; CURRENT COLLECTORS
- H01R4/00—Electrically-conductive connections between two or more conductive members in direct contact, i.e. touching one another; Means for effecting or maintaining such contact; Electrically-conductive connections having two or more spaced connecting locations for conductors and using contact members penetrating insulation
- H01R4/02—Soldered or welded connections
- H01R4/023—Soldered or welded connections between cables or wires and terminals
- H01R4/024—Soldered or welded connections between cables or wires and terminals comprising preapplied solder
-
- H—ELECTRICITY
- H01—ELECTRIC ELEMENTS
- H01R—ELECTRICALLY-CONDUCTIVE CONNECTIONS; STRUCTURAL ASSOCIATIONS OF A PLURALITY OF MUTUALLY-INSULATED ELECTRICAL CONNECTING ELEMENTS; COUPLING DEVICES; CURRENT COLLECTORS
- H01R11/00—Individual connecting elements providing two or more spaced connecting locations for conductive members which are, or may be, thereby interconnected, e.g. end pieces for wires or cables supported by the wire or cable and having means for facilitating electrical connection to some other wire, terminal, or conductive member, blocks of binding posts
- H01R11/11—End pieces or tapping pieces for wires, supported by the wire and for facilitating electrical connection to some other wire, terminal or conductive member
- H01R11/22—End pieces terminating in a spring clip
Landscapes
- Connecting Device With Holders (AREA)
- Testing Of Individual Semiconductor Devices (AREA)
Description
【発明の属する技術分野】
この発明は、半導体装置(以下「ICパッケージ」という)等の電子部品の球状端子に離接されるコンタクトピン及び、このコンタクトピンを用いた電気的接続装置の改良に関するものである。
【0002】
【従来の技術】
従来のこの種のものとしては、例えば図18及び図19に示すようなものがある(実開昭60ー109272号公報参照)。この「コンタクトピン」に相当する接触子1は、一枚の金属板が折曲げ加工されて形成され、この接触子1には、一対の接触片2,3が形成されている。そして、この両接触片2,3の間に、図19に示すように、棒状のピン端子4が挿入されて接触されることにより電気的に接続されるようになっている。
【0003】
詳しくは、一方の接触片2には、スリット部2aが形成されると共に、他方の接触片3には、切起し部3aが形成されている。そして、前記棒状のピン端子4が、それらスリット部2a及び切起し部3aの各角部2b,3bに当接されて導通されることとなる。
【0004】
【発明が解決しようとする課題】
しかしながら、このような従来のものにあっては、かかる接触子1を配設する部位に、スペース的に制約がある場合には、かかる接触子1の構造では、間隔Lをそれ程短くできない。
【0005】
また、ピン端子4と両接触片2,3との位置関係がズレた時には、各角部2b,3bに確実に接触されず、導通性能が低下する虞がある。
【0006】
そこで、この発明は、スペース的に有利で、且つ、導通性を確保できるコンタクトピン及び電気的接続装置を提供することを課題としている。
【0007】
【課題を解決するための手段】
かかる課題を達成するために、請求項1に記載の発明は、弾性変形されることにより先端部側の接触部の片面側が、電気部品の球状端子に離接される長板状のコンタクトピンにおいて、前記接触部は、幅方向の両側縁部側より中央部側が薄肉とされて、前記球状端子に離接する2つの傾斜面が形成され、該両傾斜面が前記球状端子の中心を向いているコンタクトピンとしたことを特徴とする。
【0008】
請求項2に記載の発明は、請求項1に記載の構成に加え、前記先端部側は二股形状に形成されて、この二股に分かれた各分岐片に、一つずつ前記傾斜面を形成したことを特徴とする。
【0009】
請求項3に記載の発明は、請求項2に記載の構成に加え、前記二股形状の各分岐片は、接触部側より、根本側の幅を狭く形成したことを特徴とする。
【0010】
請求項4に記載の発明は、請求項2に記載の構成に加え、前記二股形状の各分岐片の接触部のみに、前記傾斜面を形成したことを特徴とする。
【0011】
請求項5に記載の発明は、請求項2に記載の構成に加え、前記二股形状の各分岐片は、根本から先端に行くに従って徐々に幅が狭くなるように形成され、該根本から先端まで前記傾斜面を形成したことを特徴とする。
【0012】
請求項6に記載の発明は、長板状のコンタクトピンが配設された接続装置本体上に、移動されたときに前記コンタクトピンを弾性変形させる移動板が移動自在に配設され、又、前記接続装置本体に、操作部材が移動自在に配設され、該操作部材を一方へ移動させたときに、前記移動板を移動させて前記コンタクトピンを弾性変形させて変位させることにより、電子部品の球状端子が前記コンタクトピンと非圧接状態で挿入され、前記操作部材を元の位置に復帰させたときに、前記移動板が元の位置に復帰されて前記コンタクトピンの弾性変形が解除されることにより、前記電子部品の球状端子に前記コンタクトピンの接触部を接触させて電気的に接続させるようにした電気的接続装置であって、前記コンタクトピンの接触部は、幅方向の両側縁部側より中央部側が薄肉とされると共に、二股形状に形成されることにより、この二股に分かれた各分岐片に、一つずつ前記球状端子の中心を向くように傾斜面が形成された電気的接続装置としたことを特徴とする。
【0013】
【発明の実施の形態】
以下、この発明の実施の形態について説明する。
【0014】
[発明の実施の形態1]
図1乃至図13には、この発明の実施の形態1を示す。
【0015】
まず構成を説明すると、図4,5,6中符号11は、「電気的接続装置」としてのICソケットで、このICソケット11は、「電子部品」であるICパッケージ12の性能試験を行うために、このICパッケージ12の「球状端子」としての半田ボール12bと、測定器(テスター)のプリント配線板(図示省略)との電気的接続を図るものである。
【0016】
このICソケット11は、大略すると、プリント配線板状に装着される「接続装置本体」としてのソケット本体13を有し、このソケット本体13上には、四角形の移動板14が所定の方向に横動自在する配設され、この移動板14を横動させることにより、ソケット本体13に配設されたコンタクトピン19が弾性変形されるようになっている、また、この移動板14の上側には、上プレート16がソケット本体13に固定された状態で配設されると共に、これらの上側には、更に、四角形の枠形状の操作部材17が上下動自在に配設されており、この操作部材17を上下動させることにより、X字形リンク18を介して前記移動板14が横動させるようになっている。
【0017】
より詳しくは、前記コンタクトピン19は、バネ性を有し、導電性の優れた材料から長板状に形成され、図5及び図6等に示すように、ソケット本体13に圧入され、このソケット本体13の下面から下方にリード部19aが突出され、このリード部19aが、前記プリント配線板に電気的に接続されるようになっている。また、このコンタクトピン19の、ソケット本体13の上面から突出した上部側(先端部側)は、移動板14の挿通部14b及び上プレート16の貫通孔16bに挿入されている。このコンタクトピン19の先端部側は、図1及び図2に示すように、幅方向の両側縁部側より中央部側が薄肉とされると共に、二股形状に形成されることにより、この二股に分かれた各分岐片19b,19bに、一つずつ半田ボール12bの中心を向くように傾斜面19c,19cが形成されている。そして、図7の(a)に示す状態から(b)に示す状態まで移動板14が矢印方向に横動されることにより、この移動板14の押圧部14aでコンタクトピン19が押圧されて弾性変形されて変位され、ICパッケージ12の半田ボール12bが上プレート16の貫通孔16bに挿入できるようになっている。その後、移動板14を図7の(c)に示すように矢印方向に戻すことにより、コンタクトピン19がICパッケージ12の半田ボール12bに接触されて電気的に接続されるようになっている。
【0018】
さらに、上プレート16は、四角形状を呈し、ソケット本体13から突設された図示省略の複数の位置決めボスが、四角形の角部に形成された凹部に嵌合されることにより、ソケット本体13に固定された状態で、前記移動板14の上側に配設されている。この移動板14には、前記位置決めボスが遊挿される遊挿部が形成されており、この遊挿部の大きさは、移動板14の横動時にその位置決めボスに干渉せずに横動を許容する大きさに設定されている。そして、この上プレート16には、ICパッケージ12の半田ボール12bが挿入される四角形の多数の貫通孔16bが、前記移動板14の挿通部14bと対応した位置に形成されると共に、図4等に示すように、ICパッケージ12を載置するときの位置決めを行うガイド部16cが、ICパッケージ12の各角部に対応して4カ所に突設されている。
【0019】
さらに、操作部材17は、図4に示すように、ICパッケージ12が挿入可能な大きさの開口17aを有する四角形の枠状を呈し、この開口17aを介してICパッケージ12が挿入されて上プレート16上に載置されるようになっていると共に、この操作部材17はソケット本体13にスライド部17bを介して上下動自在に配設されている。そして、図6に示すように、操作部材17はソケット本体13との間に配設されたスプリング20により上方に付勢されている。
【0020】
さらにまた、前記X字形リンク18は、この実施の形態では、四角形の移動板14の横動方向に沿う両側面部の、移動方向の各両端部に対応して4カ所に配設されており、トグルジョイントを構成するようになっている。
【0021】
具体的には、このX字形リンク18は、同じ長さの第1リンク部材23と第2リンク部材25とを有し、これらが中央連結ピン27にて回動自在に連結されている。
【0022】
そして、この第1リンク部材23の下端部23bが、ソケット本体13に下端連結ピン29にて回動自在に連結される一方、第2リンク部材25の下端部25aが、移動板14の横動方向に沿う側面部の一方の端部に下端連結ピン30にて回動自在に連結されている。これら第1,第2リンク部材23,25の上端部23c,25bが操作部材17に上端連結ピン33,34にて回動自在に連結されている。この第1リンク部材23の上端部23cに設けられた上端連結ピン33は、操作部材17に形成された横方向に長い長孔17cに対して横方向に移動自在に挿入されている。
【0023】
また、ソケット本体13には、図6及び図8に示すように、ラッチ35が下端部の軸35aを中心に回動自在に配設されて、所定の位置にセットされたICパッケージ12の側縁部に係脱するように設定され、スプリング36により係止方向に付勢されている。そして、操作部材17には、下降時に、そのラッチ35に摺動して離脱方向に回動させるカム部17dが形成されている。
【0024】
なお、図5中符号38は、プリント配線板に取り付ける時に位置決めを行うロケートボードである。
【0025】
次に、かかる構成のICソケット11の使用方法について説明する。
【0026】
まず、予め、ICソケット11のコンタクトピン19のリード部19aをプリント配線板の挿通孔に挿入して半田付けすることにより、プリント配線板上に複数のICソケット11を配設しておく。
【0027】
そして、かかるICソケット11にICパッケージ12を例えば自動機により以下のようにセットして電気的に接続する。
【0028】
すなわち、自動機により、ICパッケージ12を保持した状態で、操作部材17をスプリング20の付勢力に抗して下方に押圧して下降させる。すると、図8の(b)に示すように、この操作部材17のカム部17dにより、ラッチ35がスプリング36の付勢力に抗して回動されることにより、このラッチ35がICパッケージ12挿入範囲から退避される。これと同時に、X字形リンク18を介して移動板14が横動され、この横動により、移動板14の押圧部14aにてコンタクトピン19が押圧されて弾性変形されて変位される。(図7(b)参照)。この状態で、保持していたICパッケージ12の半田ボール12bを、上プレート16の貫通孔16bに挿入して自動機からICパッケージ12を開放する。
【0029】
その後、自動機による操作部材17の押圧力を解除すると、スプリング20の付勢力により、この操作部材17が上昇され、移動板14が元の位置に復帰される。これで、コンタクトピン19が弾性力により復帰し、このコンタクトピン19上端部の一対の傾斜面19cがICパッケージ12の半田ボール12bに接触して電気的に接続される。
【0030】
詳しくは、半田ボール12bが上プレート16の貫通孔16bに挿入された状態で、図10の(a)に示すように、半田ボール12bが貫通孔16bの中心からズレた場合には、コンタクトピン19が復帰することにより、コンタクトピン19の一方の分岐片19bの傾斜面19cが、半田ボール12bの側面に当接する(図10の(b)参照)。これにより、半田ボール12bが傾斜面19cの角度に沿って移動されることにより、他方の傾斜面19cにも接触され、両傾斜面19cに均等な力で半田ボール12bが当接することにより、導通性が確保されると共に、半田ボール12bが所定の位置に位置決めされる(図10の(c)参照)。また、このように半田ボール12bが傾斜面19cを摺動することにより、ワイピング効果が発揮されることとなる。
【0031】
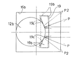
さらに、傾斜面19cで半田ボール12bを押圧すると、図12の(a)に示すように、この半田ボール12bからの反力Pが傾斜面19cの垂直方向に作用する。すると、この反力Pの分力P1により、二股形状に形成された各分岐片19bは、図12の(b)中二点鎖線に示すように外側に撓む。これにより、半田ボール12bが傾斜面19cを摺動することにより、ワイピング効果が発揮されることとなる。しかも、これら各分岐片19bには、その反力Pにより、図13に示すように、捻りモーメントが生じ、各分岐片19bが図中二点鎖線に示すように捻られる。この捻りにより、傾斜面19cの角度が変わるため、反力Pの方向がP2まで変化し、その結果、分力P1が大きくなり、それだけ各分岐片19bのたわみが大きくなる結果、ワイピング効果も一層向上することとなる。
【0032】
これと同時に、操作部材17が上昇されることで、ラッチ35がスプリング36の付勢力にて図6中矢印方向と反対方向に回動されて、ICパッケージ12の側部を係止することにより、このICパッケージ12が保持されることとなる(図8の(a)参照)。
【0033】
ここで、移動板14を横動させるX字形リンク18の動作について説明すれば、操作部材17が下降されると、図9の(a)の状態から(b)に示すように、の各リンク部材23,25の上端部23c,25bが下方に押圧されて下降されることにより、各リンク部材23,25が回動し、第2リンク部材25の下端部25aが横方向(矢印方向)に移動する。これにより、移動板14が矢印方向に横動されることとなる。
【0034】
ところで、上記のようにコンタクトピン19の幅方向の両側縁部側より中央部側が薄肉とされて傾斜面19cが形成されているため、この薄肉の部分に球状の半田ボール12bが入り込むようになっている。従って、図11の(b)に示すようにこの実施の形態のもと,(a)に示すようにコンタクトピン19に改良がされておらず、単なる平板状のものと比較すると、前者の方が寸法Cだけ上プレート16の貫通孔16bを小さくできる。すなわち、上プレート16の貫通孔16bは、数種類の大きさの半田ボール12bを挿入できるように、最大径の半田ボール12bとコンタクトピン19とを挿入できる大きさに設定する必要があるが、多数の半田ボール12bが微少間隔で設けられているICパッケージ12を保持する場合には、貫通孔16bの大きさを極力小さくする必要がある。従って、上記のように寸法Cだけ短くできれば、極めて効果的である。
【0035】
尚、上記実施の形態において、コンタクトピン19の傾斜面19cの半田ボール12bとの接触部、或いは、貫通孔16b周縁部の半田ボール12bとの当接部に、半田ボール12bの一部が入るような凹所を形成すれば、半田ボール12bをコンタクトピン傾斜面19cと貫通孔16b周縁部との間に挟持した状態で、半田ボール12bが上方に抜けないようにすることができ、パッケージ12を保持することもできる。以下の実施の形態でも同様である。
【0036】
[発明の実施の形態2]
図14には、この発明の実施の形態2を示す。
【0037】
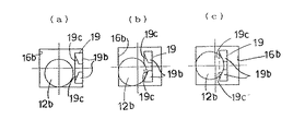
この実施の形態2は、二股形状の各分岐片19bは、接触部19d側より、根本19e側の幅Hが狭く形成されている。
【0038】
このようにすれば各分岐片19bの根本19eの断面二次モーメントが小さくなるため、接触部19d側に半田ボール12b側から反力が作用した場合には、この各分岐片19bの捻りと撓みが実施の形態1より大きくなる。従って、ワイピング効果を向上させることができる。
【0039】
他の構成及び作用は実施の形態1と同様である。
【0040】
[発明の実施の形態3]
図15には、この発明の実施の形態3を示す。
【0041】
この発明の実施の形態3は、二股形状の各分岐片19bの先端部(接触部19d)のみに、傾斜面19cが形成されている。
【0042】
このようにすれば各分岐片19bは全体として断面二次モーメントが大きくなるため、各分岐片19bの捻りと撓みが実施の形態1より小さくなるため、半田ボール12bとコンタクトピン19との接触圧力を大きくするのに有効である。
【0043】
他の構成及び作用は実施の形態1と同様である。
【0044】
[発明の実施の形態4]
図16には、この発明の実施の形態4を示す。
【0045】
この発明の実施の形態4は、二股形状の各分岐片19bは、根本19eから先端に行くに従って徐々に幅Hが狭くなるように形成され、この根本19eから先端まで傾斜面19cが形成されている。
【0046】
このようにすれば各分岐片19bの断面二次モーメントが徐々に変化するため、各分岐片19bの各位置における応力分布を略均一にすることができ、応力集中を防止できる。
【0047】
他の構成及び作用は実施の形態1と同様である。
【0048】
[発明の実施の形態5]
図17には、この発明の実施の形態5を示す。
【0049】
この発明の実施の形態5のコンタクトピン29は、上部側にU字状部31が形成され、このU字状部31のそれぞれが二股形状に形成されて、計4つの分岐片32が形成されている。そして、これら各分岐片32に実施の形態1と同様に傾斜面32aが形成されている。
【0050】
このものにあっては半田ボール12bが、U字状部31の間に挿入されて、両U字状部31が弾性変形されて広がることにより、各傾斜面32aに半田ボール12bが接触することとなる。
【0051】
なお、上記各実施の形態では、この発明の「コンタクトピン」をICソケット11のコンタクトピン19に適用したが、これに限らず、他の装置のコンタクトピンに適用できると共に、「電気的接続装置」としてICソケット11に適用したが、電気的な接続を図るものであれば他の装置にも適用できることは勿論である。また、上記各実施の形態では、コンタクトピンが二股形状に形成されているが、二股でなくても、接触部の、幅方向の両側縁部側より中央部側が薄肉とされて、球状端子に離接する2つの傾斜面が形成され、この両傾斜面が球状端子の中心を向いていれば良く、この場合は、2つの傾斜面がくの字状に連続することとなる。
【0052】
【発明の効果】
以上説明してきたように、請求項1に記載の発明によれば、コンタクトピンの幅方向の両側縁部側より中央部側が薄肉とされて傾斜面が形成されているため、この薄肉の部分に球状端子が入り込むことから、単なる平板状のものと比較すると、スペースをそれだけ狭くできる。また、その一対の傾斜面により、球状端子を案内して所定の位置に位置決めすることができると共に、この傾斜面を球状端子が摺動することにより、ワイピング効果を発揮することができる。
【0053】
請求項2に記載の発明によれば、請求項1の効果に加え、二股とすれば、各分岐片が捻れを伴う撓みを生ずるため、一層ワイピング効果が向上する。
【0054】
請求項3に記載の発明によれば、請求項2の効果に加え、二股状の各分岐片は接触部側より、根本側の幅を狭く形成することにより、各分岐片の捻りを大きくでき、ワイピング効果を大きくできると共に、球状端子とコンタクトピントの接触圧が小さくても良い場合に有効となる。
【0055】
請求項4に記載の発明によれば、請求項2の効果に加え、二股形状の各分岐片の接触部のみに、傾斜面を形成することにより、各分岐片の断面二次モーメントが大きくなるため、各分岐片の捻りと撓みが小さくなるため、球状端子とコンタクトピンとの接触圧力を大きくするのに有効である。
【0056】
請求項5に記載の発明によれば、請求項1の効果に加え、二股形状の各分岐片は、根本から先端に行くに従って徐々に幅が狭くなるように形成され、この根本から先端まで傾斜面が形成されているため、各分岐片の断面二次モーメントが徐々に変化するため、各分岐片の各位置における応力分布を略均一にすることができ、応力集中を防止できる。
【0057】
請求項6に記載の発明によれば、電気的接続装置に配設されたコンタクトピンは、幅方向の両側縁部側より中央部側が薄肉とされて傾斜面が形成されているため、この薄肉の部分に球状端子が入り込むことから、単なる平板状のものと比較すると、スペースをそれだけ狭くできる。また、その一対の傾斜面により、球状端子を案内して所定の位置に位置決めすることができると共に、この傾斜面を球状端子が摺動することにより、ワイピング効果を発揮することができる。しかも、そのコンタクトピンを二股とすれば、各分岐片が捻れを伴う撓みを生ずるため、一層ワイピング効果が向上する、という実用上有益な効果を発揮する。
【図面の簡単な説明】
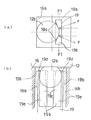
【図1】この発明の実施の形態1に係るコンタクトピンや半田ボール等を示す図で、(a)は平面図、(b)は断面図である。
【図2】同実施の形態1に係るコンタクトピンの上部側を示す斜視図である。
【図3】同実施の形態1に係るコンタクトピンの正面図である。
【図4】同実施の形態1に係るICソケットの平面図である。
【図5】同実施の形態1に係るICソケットの半断面した正面図である。
【図6】同実施の形態1に係る図5の半断面した右側面図である。
【図7】同実施の形態1に係る移動板やコンタクトピン等の関係を示す断面図である。
【図8】同実施の形態1に係るラッチ等を示す図で、(a)はICパッケージを保持した状態、(b)はICパッケージを解除した状態を示す図である。
【図9】同実施の形態1に係るICソケットのリンク機構を示す概略図で、(a)は上部操作部材を下降させる前の状態、(b)は上部操作部材を下降させた状態を示す。
【図10】同実施の形態1に係るコンタクトピンと半田ボールとの作用を示す平面図である。
【図11】同実施の形態1に係るコンタクトピンと半田ボールとを示す平面図である。
【図12】同実施の形態1に係るコンタクトピンと半田ボールとを示す図で、(a)は平面図、(b)は断面図である。
【図13】同実施の形態1に係るコンタクトピンと半田ボールとの作用を示す平面図である。
【図14】この発明の実施の形態2に係るコンタクトピンを示す図で、(a)は平面図、(b)は正面図である。
【図15】この発明の実施の形態3に係るコンタクトピンを示す図で、(a)は平面図、(b)は正面図である。
【図16】この発明の実施の形態4に係るコンタクトピンを示す図で、(a)は平面図、(b)は正面図である。
【図17】この発明の実施の形態4に係るコンタクトピン及び半田ボールを示す図で、(a)は平面図、(b)は正面図である。
【図18】従来例を示す接触子の斜視図である。
【図19】同従来例を示す断面図である。
【符号の説明】
11 ICソケット(電気的接続装置)
12 ICパッケージ(電気部品)
12b 半田ボール(球状端子)
13 ソケット本体(接続装置本体)
14 移動板
14a 押圧部
16 上プレート
16b 貫通孔
17 操作部材
18 X字形リンク(リンク機構)
19,29 コンタクトピン
19b,32 分岐片
19c,32a 傾斜面
19d 接触部
19e 根本
Claims (6)
- 弾性変形されることにより先端部側の接触部の片面側が、電気部品の球状端子に離接される長板状のコンタクトピンにおいて、前記接触部は、幅方向の両側縁部側より中央部側が薄肉とされて、前記球状端子に離接する2つの傾斜面が形成され、該両傾斜面が前記球状端子の中心を向いていることを特徴とするコンタクトピン。
- 前記先端部側は二股形状に形成されて、この二股に分かれた各分岐片に、一つずつ前記傾斜面を形成したことを特徴とする請求項1記載のコンタクトピン。
- 前記二股形状の各分岐片は、接触部側より、根本側の幅を狭く形成したことを特徴とする請求項2記載のコンタクトピン。
- 前記二股形状の各分岐片の接触部のみに、前記傾斜面を形成したことを特徴とする請求項2記載のコンタクトピン。
- 前記二股形状の各分岐片は、根本から先端に行くに従って徐々に幅が狭くなるように形成され、該根本から先端まで前記傾斜面を形成したことを特徴とする請求項2記載のコンタクトピン。
- 長板状のコンタクトピンが配設された接続装置本体上に、移動されたときに前記コンタクトピンを弾性変形させる移動板が移動自在に配設され、又、前記接続装置本体に、操作部材が移動自在に配設され、該操作部材を一方へ移動させたときに、前記移動板を移動させて前記コンタクトピンを弾性変形させて変位させることにより、電子部品の球状端子が前記コンタクトピンと非圧接状態で挿入され、前記操作部材を元の位置に復帰させたときに、前記移動板が元の位置に復帰されて前記コンタクトピンの弾性変形が解除されることにより、前記電子部品の球状端子に前記コンタクトピンの接触部を接触させて電気的に接続させるようにした電気的接続装置であって、前記コンタクトピンの接触部は、幅方向の両側縁部側より中央部側が薄肉とされると共に、二股形状に形成されることにより、この二股に分かれた各分岐片に、一つずつ前記球状端子の中心を向くように傾斜面が形成されたことを特徴とする電気的接続装置。
Priority Applications (3)
| Application Number | Priority Date | Filing Date | Title |
|---|---|---|---|
| JP29803696A JP3676523B2 (ja) | 1996-10-22 | 1996-10-22 | コンタクトピン及び電気的接続装置 |
| US09/068,406 US6139348A (en) | 1996-10-22 | 1997-10-17 | Electric connector with an elastically deformable contact pin |
| PCT/JP1997/003764 WO2004093264A1 (ja) | 1996-10-22 | 1997-10-17 | コンタクトピン及び電気的接続装置 |
Applications Claiming Priority (1)
| Application Number | Priority Date | Filing Date | Title |
|---|---|---|---|
| JP29803696A JP3676523B2 (ja) | 1996-10-22 | 1996-10-22 | コンタクトピン及び電気的接続装置 |
Publications (2)
| Publication Number | Publication Date |
|---|---|
| JPH10125377A JPH10125377A (ja) | 1998-05-15 |
| JP3676523B2 true JP3676523B2 (ja) | 2005-07-27 |
Family
ID=17854299
Family Applications (1)
| Application Number | Title | Priority Date | Filing Date |
|---|---|---|---|
| JP29803696A Expired - Fee Related JP3676523B2 (ja) | 1996-10-22 | 1996-10-22 | コンタクトピン及び電気的接続装置 |
Country Status (3)
| Country | Link |
|---|---|
| US (1) | US6139348A (ja) |
| JP (1) | JP3676523B2 (ja) |
| WO (1) | WO2004093264A1 (ja) |
Families Citing this family (17)
| Publication number | Priority date | Publication date | Assignee | Title |
|---|---|---|---|---|
| JP3755718B2 (ja) * | 1999-04-28 | 2006-03-15 | 株式会社エンプラス | 電気部品用ソケット |
| JP3720657B2 (ja) * | 1999-11-29 | 2005-11-30 | 株式会社エンプラス | 電気部品用ソケット |
| JP3683476B2 (ja) * | 2000-06-19 | 2005-08-17 | 株式会社エンプラス | 電気部品用ソケット及びその組立方法 |
| TW564578B (en) * | 2000-10-25 | 2003-12-01 | Texas Instruments Inc | Socket apparatus and method for removably mounting an electronic package |
| JP4845304B2 (ja) * | 2000-10-25 | 2011-12-28 | 株式会社センサータ・テクノロジーズジャパン | ソケット及びこれを備えた電子部品装着装置 |
| JP2005063868A (ja) * | 2003-08-18 | 2005-03-10 | Yamaichi Electronics Co Ltd | 半導体装置用ソケット |
| US7121860B2 (en) * | 2004-09-02 | 2006-10-17 | Micron Technology, Inc. | Pinch-style support contact, method of enabling electrical communication with and supporting an IC package, and socket including same |
| KR100629958B1 (ko) * | 2005-01-15 | 2006-09-28 | 황동원 | 반도체용 테스트 및 번인을 위한 비지에이형 소켓 |
| DE102005007593B4 (de) * | 2005-02-18 | 2008-05-29 | Qimonda Ag | Sockel-Vorrichtung zum Testen von Halbleiter-Bauelementen und Verfahren zum Aufnehmen eines Halbleiter-Bauelements in einer Sockel-Vorrichtung |
| JP4729346B2 (ja) * | 2005-06-30 | 2011-07-20 | 株式会社エンプラス | 電気部品用ソケット |
| TWI261350B (en) * | 2005-09-02 | 2006-09-01 | Wintek Corp | Electronic member with conductive connection structure |
| CN100392914C (zh) * | 2005-09-06 | 2008-06-04 | 林乐贤 | 连接器的锡球抓持结构 |
| TWI379391B (en) * | 2008-05-05 | 2012-12-11 | Siliconware Precision Industries Co Ltd | Electronic carrier board |
| WO2012098837A1 (ja) * | 2011-01-19 | 2012-07-26 | ユニテクノ株式会社 | 検査ソケット |
| JP5693338B2 (ja) * | 2011-04-05 | 2015-04-01 | モレックス インコーポレイテドMolex Incorporated | 基板対基板コネクタ |
| KR102520051B1 (ko) | 2015-12-18 | 2023-04-12 | 삼성전자주식회사 | 테스트 소켓 및 반도체 패키지 테스트 방법 |
| JP6669963B2 (ja) * | 2016-02-25 | 2020-03-18 | 山一電機株式会社 | コンタクト端子、および、それを備えるicソケット |
Family Cites Families (6)
| Publication number | Priority date | Publication date | Assignee | Title |
|---|---|---|---|---|
| JPH02121288A (ja) * | 1988-10-31 | 1990-05-09 | Yamaichi Electric Mfg Co Ltd | 電気部品用ソケットにおける接触及び接触解除用移動板の移動機構 |
| GB2290176B (en) * | 1994-06-10 | 1997-07-02 | Wayne Kay Pfaff | Mounting apparatus for ball grid array device |
| JP3588854B2 (ja) * | 1995-03-30 | 2004-11-17 | 株式会社エンプラス | Icソケット |
| JP3550786B2 (ja) * | 1995-03-30 | 2004-08-04 | 株式会社エンプラス | Icソケット |
| JP3550787B2 (ja) * | 1995-03-30 | 2004-08-04 | 株式会社エンプラス | Icソケット |
| US5646447A (en) * | 1996-06-03 | 1997-07-08 | Pcd Inc. | Top loading cam activated test socket for ball grid arrays |
-
1996
- 1996-10-22 JP JP29803696A patent/JP3676523B2/ja not_active Expired - Fee Related
-
1997
- 1997-10-17 US US09/068,406 patent/US6139348A/en not_active Expired - Lifetime
- 1997-10-17 WO PCT/JP1997/003764 patent/WO2004093264A1/ja not_active Ceased
Also Published As
| Publication number | Publication date |
|---|---|
| JPH10125377A (ja) | 1998-05-15 |
| WO2004093264A1 (ja) | 2004-10-28 |
| US6139348A (en) | 2000-10-31 |
Similar Documents
| Publication | Publication Date | Title |
|---|---|---|
| JP3676523B2 (ja) | コンタクトピン及び電気的接続装置 | |
| KR100365485B1 (ko) | 전기부품용 소켓 | |
| US6296505B1 (en) | Socket for electrical parts | |
| KR100344048B1 (ko) | Pga 패키지용의 점검 가능한 전기 커넥터 | |
| US6899558B2 (en) | Socket for electrical parts | |
| JP3619413B2 (ja) | 電気部品用ソケット | |
| KR100356902B1 (ko) | 전기부품용 소켓 | |
| JP2003178851A (ja) | 電気部品用ソケット | |
| JP2000340324A (ja) | 電気部品用ソケット | |
| JP3801713B2 (ja) | 電気部品用ソケット | |
| JP4180906B2 (ja) | コンタクトピン,コンタクトピン成形方法及び電気部品用ソケット | |
| JP4072780B2 (ja) | 電気部品用ソケット | |
| US6824411B2 (en) | Socket for electrical parts | |
| JP3725456B2 (ja) | コンタクトピン及びicソケット | |
| KR100394337B1 (ko) | 전기부품용 소켓 | |
| JP3730020B2 (ja) | 電気部品用ソケット | |
| JP3714642B2 (ja) | 電気的接続装置 | |
| JP3822074B2 (ja) | 電気部品用ソケット | |
| JP3717706B2 (ja) | 電気部品用ソケット | |
| JP4322461B2 (ja) | 電気部品用ソケット | |
| JP3717674B2 (ja) | 電気部品用ソケット | |
| JP4251920B2 (ja) | 電気部品用ソケット | |
| JP4079214B2 (ja) | 電気部品用ソケットの製造方法 | |
| JP4041341B2 (ja) | 電気部品用ソケット | |
| JP3786342B2 (ja) | コンタクトピン及びicソケット |
Legal Events
| Date | Code | Title | Description |
|---|---|---|---|
| A977 | Report on retrieval |
Free format text: JAPANESE INTERMEDIATE CODE: A971007 Effective date: 20050412 |
|
| TRDD | Decision of grant or rejection written | ||
| A01 | Written decision to grant a patent or to grant a registration (utility model) |
Free format text: JAPANESE INTERMEDIATE CODE: A01 Effective date: 20050426 |
|
| A61 | First payment of annual fees (during grant procedure) |
Free format text: JAPANESE INTERMEDIATE CODE: A61 Effective date: 20050428 |
|
| R150 | Certificate of patent or registration of utility model |
Free format text: JAPANESE INTERMEDIATE CODE: R150 |
|
| FPAY | Renewal fee payment (event date is renewal date of database) |
Free format text: PAYMENT UNTIL: 20090513 Year of fee payment: 4 |
|
| FPAY | Renewal fee payment (event date is renewal date of database) |
Free format text: PAYMENT UNTIL: 20090513 Year of fee payment: 4 |
|
| FPAY | Renewal fee payment (event date is renewal date of database) |
Free format text: PAYMENT UNTIL: 20120513 Year of fee payment: 7 |
|
| FPAY | Renewal fee payment (event date is renewal date of database) |
Free format text: PAYMENT UNTIL: 20130513 Year of fee payment: 8 |
|
| LAPS | Cancellation because of no payment of annual fees |