JP3676461B2 - コンパクト容器 - Google Patents
コンパクト容器 Download PDFInfo
- Publication number
- JP3676461B2 JP3676461B2 JP31687495A JP31687495A JP3676461B2 JP 3676461 B2 JP3676461 B2 JP 3676461B2 JP 31687495 A JP31687495 A JP 31687495A JP 31687495 A JP31687495 A JP 31687495A JP 3676461 B2 JP3676461 B2 JP 3676461B2
- Authority
- JP
- Japan
- Prior art keywords
- lid
- connecting piece
- container
- notch
- vertical groove
- Prior art date
- Legal status (The legal status is an assumption and is not a legal conclusion. Google has not performed a legal analysis and makes no representation as to the accuracy of the status listed.)
- Expired - Fee Related
Links
- 210000000078 claw Anatomy 0.000 description 6
- 239000002537 cosmetic Substances 0.000 description 4
- 238000004519 manufacturing process Methods 0.000 description 4
- 238000000465 moulding Methods 0.000 description 4
- 230000002093 peripheral effect Effects 0.000 description 4
- 230000000717 retained effect Effects 0.000 description 3
- 230000000694 effects Effects 0.000 description 1
- 239000000843 powder Substances 0.000 description 1
- 230000001105 regulatory effect Effects 0.000 description 1
Images
Landscapes
- Closures For Containers (AREA)
Description
【発明の属する技術分野】
この発明は、蓋体を容器本体に着脱自在にヒンジ連結することができるコンパクト容器に関するものである。
【0002】
【従来の技術】
一般に、ファンデーション等の化粧料を収容して携帯するコンパクト容器としては、容器本体に、化粧料が充填された中皿が収容され、この容器本体の後端部に、下面に鏡が貼着された蓋体が開閉自在にヒンジ連結されたものが用いられている。そして、最近では、利用者の多様なニーズに対応して各種のコンパクト容器が開発されているが、鏡が貼着された蓋体だけを取り外し、手鏡として利用するために、蓋体を着脱自在に形成することも行われている。
【0003】
そこで、蓋体を着脱自在に取り付けられるコンパクト容器として、例えば、実願平2−127699号公報(実開平4−83106号公報)に示すコンパクト容器が提案されている。このものは、図15に示すように、プラスチック製で、上面に中皿(図示せず)を収容するための収容部33を有する容器本体31と、裏面に鏡32aが貼着された蓋体32とで構成されている。上記容器本体31の後端面には、切欠部34が形成されており、この切欠部34の相対向する両側面に上端側が開放した縦溝35が形成されている。上記蓋体32の裏面後端には、上記切欠部34に取り付けられる連結片36が垂設され、この連結片36の左右両側面には、上記縦溝35に摺動自在に嵌合する回転軸部37が突設されている。38は上記切欠部34の奥面に横設された突条であり、この突条38を囲うように略U字状の切抜部40が上記切欠部34の奥面部に形成され、この切抜部40の内側が弾性片41になっている。上記突条38は、上記切欠部34に連結片36を取り付けた際に、閉蓋状態で連結片36の前面に形成された抜け止め凹部39内に入り込むように嵌合し、連結片36が上方に抜けないように抜け止めされるようになっている。なお、上記容器本体31の前端面に形成された切欠凹部42の奥面に形成された係合突起43と、上記蓋体32の前端部に形成された係合爪44との係合により閉蓋状態が保持される。また、上記切欠凹部42に進退自在に取り付けられた操作片45を押圧することによりワンタッチで開蓋するようになっている。
【0004】
上記コンパクト容器において、蓋体32を取り付ける場合には、まず蓋体32を容器本体31の上方に位置させ、回転軸部37を縦溝35の上端部に位置合わせする。この状態で、連結片36を切欠部34の下側に押し込むと、連結片36の下端が突条38に当接した状態になる。この状態からさらに連結片36を下側に押すと、切欠部34の弾性片41を前側に反らせながら連結片36が突条38を乗り越えてその下側に位置し、かつ回転軸部37が縦溝35の下端に位置した状態になり、蓋体32が容器本体31に取り付けられる。また、蓋体32を容器本体31から取り外す場合には、上記とは逆に、蓋体32を上方に持ち上げ、回転軸部37を縦溝35に沿って上方に移動させると、連結片36が弾性片41を前側に反らせながら突条38を乗り越えて、回転軸部37が縦溝35の上端から抜けて蓋体32が容器本体31から取り外されるようになっている。
【0005】
【発明が解決しようとする課題】
しかしながら、上記コンパクト容器では、蓋体32を取り付けたときの連結片36の位置決めと抜け止めを、弾性片41に設けられた突条38によって行うため、上記連結片36に弾性片41の弾性力を上回る力が働くと、蓋体32が容易に容器本体31から外れてしまうという問題がある。しかも、蓋体32の回動角度にかかわらず、たとえ閉蓋状態であっても、連結片36に上方向の力が加わると、回転軸部37は縦溝35に沿って上方に移動して蓋体32が外れるため、誤ってコンパクト容器を床面に落下させた場合等、不用意に蓋体32が容器本体31から外れやすいという問題がある。また、容器本体31に弾性片41を形成するためにU字状の切抜部30を設けなければならず、それだけ構造が複雑になる。しかも、それに伴い成形金型も非常に複雑なものになるため、製造コストが高くなるという問題もある。さらに、上記コンパクト容器では、連結片36が突条38を乗り越えてその下側に位置決めされた状態では、上記突条38は連結片36の上側に位置するだけであり、蓋体32の回動が規制されない。したがって、回動途中で蓋体32から手指を離すと蓋体32は倒れてしまうため、使用中に蓋体32の裏面に貼着された鏡32aを覗く際には、蓋体32を常に手指で把持しておかなければならず、使い勝手が悪いという問題もある。
【0006】
この発明は、このような事情に鑑みなされたもので、着脱操作が容易で、かつ、不用意に蓋体が外れることがなく、しかも構造が簡単で使い勝手の良いコンパクト容器の提供をその目的とする。
【0007】
【課題を解決するための手段】
上記の目的を達成するため、この発明のコンパクト容器は、上面に収容部が凹設された容器本体と、この容器本体の上面を蓋する蓋体とを備え、上記蓋体の後端面に切欠部を形成し、この切欠部の相対向する両内側面にそれぞれ縦溝を設け、この縦溝の下端側を開放し、上記容器本体の後端に上記切欠部に収まる大きさの連結片を立設するとともに、この連結片の左右両側面に上記縦溝内を摺動しその上端に回動自在に嵌合する回転軸部を突設し、上記切欠部の奥面に、上記回転軸部が上記縦溝の上端に位置した状態で上記連結片と係合してこの連結片を上記切欠部内に位置決めするとともに、蓋体が回動する際に連結片と摺接して回動を規制する凸部を形成し、上記連結片の上記切欠部の奥面部と対面する面に閉蓋状態で上記凸部と嵌合して連結片を抜け止めする抜け止め凹部を形成し、蓋体を起こした状態で上記回転軸部を上記縦溝に嵌挿させることにより蓋体を容器本体に着脱自在にヒンジ連結させるようにしたことを特徴とするものである。
【0008】
すなわち、この発明のコンパクト容器は、容器本体から蓋体が着脱自在であるため、蓋体だけを取り外し、手鏡として使用することができる。また、蓋体に切欠部を形成してヒンジ部を構成するようにしたことから、上記蓋体には突起物がなく、蓋体を外して手鏡として携帯する際等に、衣類等に引っ掛かることがなく携帯時に支障が生じない。さらに、上記コンパクト容器は、蓋体を起こした状態で回転軸部を縦溝に嵌挿させることにより蓋体を容器本体に着脱自在にヒンジ連結させるようにするとともに、連結片の切欠部の奥面部と対面する面に閉蓋状態で凸部と嵌合して連結片を抜け止めする抜け止め凹部を形成している。これにより、蓋体を着脱する場合には、蓋体を起こして開蓋状態にしてから回転軸部を縦溝に嵌挿させることにより容易に着脱することができ、一方、閉蓋状態では、抜け止め凹部と凸部とが嵌合して連結片は完全に抜け止めされる。このため、閉蓋状態で外力が加わった場合でも、不用意に蓋体が外れることがない。また、連結片は凸部と係合することにより切欠部内に位置決めされるようになっており、容器本体には弾性片が設けられていないため、構造が簡単で、それに伴い成形金型も簡単なものですむため、製造コストが安くなる。さらに、このコンパクト容器では、蓋体が回動する際に連結片と凸部が摺接して回動が規制されるため、回動途中で蓋体から手指を離しても蓋体は倒れず、どの角度でもそのままの姿勢が保持されるため、使用中に蓋体の裏面の鏡を覗く際にも、蓋体を手指で把持する必要がなく、使い勝手が良い。
【0009】
【発明の実施の形態】
つぎに、この発明の実施の形態を図面にもとづいて詳細に説明する。
【0010】
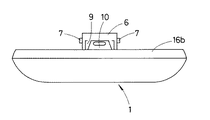
図1は、この発明のコンパクト容器の一実施形態を示している。このコンパクト容器は、プラスチック製で、上面に中皿(図示せず)を収容する収容部3が凹設された容器本体1と、この容器本体1の後端部にヒンジ連結され、その下面に鏡2aが貼着された蓋体2とを備えている。上記蓋体2には、その後端部に、切欠部4が形成されており、この切欠部4の相対向する両内側面に縦溝5が形成され、この縦溝5の下端側が開放されている。一方、上記容器本体1の後端の上面には、上記切欠部4に取り付けられる連結片6が立設され、この連結片6の左右両側面には、上記縦溝5に嵌挿されその上端に回動自在に嵌合する回転軸部7が突設されている。8は上記切欠部4の奥面に横設された凸部であり、上記回転軸部7が縦溝5の上端に位置した状態で、連結片6に当接して切欠部4内に位置決めされるようになっている。上記連結片6には、その前面に抜け止め凹部9が形成され、閉蓋状態で、上記抜け止め凹部9内に上記凸部8が入り込むように嵌合し、連結片6が下方に抜けないようになっている。図において、10は容器本体1の前端上面に立設された係合爪であり、蓋体2の前端下面に形成された被係合部11と係合して閉蓋状態を保持するようになっている。
【0011】
より詳しく説明すると、上記蓋体2は、図2〜図5に示すように、平面視で略円形に形成され、下面に凹部13aが形成されてちょうど深皿を伏せたような状態に形成されている。この蓋体2の外周縁の下側は、その略全周にわたって、内側に向かって傾斜する傾斜面16aに形成されている。また、上記凹部13aの周縁には、その略全周にわたって突条14が形成されているとともに、上記凹部13aの奥面(蓋体2の下面)に、鏡を貼着する鏡貼着凹部12が形成されている。そして、この蓋体2の後端部には、切欠部4が切り欠き形成されており、この切欠部4の両内側面に、下側に開放する縦溝5が形成され、奥面には凸部8が横設されている。さらに、この切欠部4の上端縁には、開蓋時に連結片6の後側面と当接して当たり止めをする当たり止め突条17が形成されている。そして、この蓋体2の前端部の下面には、容器本体1の係合爪10と係合する被係合部11が係合されている。また、上記蓋体2の上面には、キャラクターマーク等を取り付ける取り付け穴15が形成されている。
【0012】
上記容器本体1は、図6〜図10に示すように、上記蓋体2と同じく平面視で略円形に形成され、上面に凹部13bが形成されて略深皿状に形成され、さらに中皿を収容する収容部3が凹設されている。また、この容器本体1の外周縁の上側は、略その全周にわたって、内側に向かって傾斜する傾斜面16bに形成されている。上記凹部13bには、閉蓋時に上記蓋体2の突条14が嵌入するようになっている。この容器本体1の後端部には、上記切欠部4に収まる連結片6が立設されている。この連結片6の左右両側面に、上記切欠部4の縦溝5に嵌合する回転軸部7が突設され、前面には、閉蓋状態で上記切欠部4の凸部8が嵌合する抜け止め凹部9が凹設されている。一方、この容器本体1の前端部の上面には、上記蓋体2の被係合部11と係合する係合爪10が立設されている。図6および図9において、19は中皿を取り外すときに細棒等を差し込む小孔である
【0013】
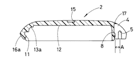
上記連結片6はその上端が凸面部18に形成されており、この凸面部18の頂部と上記回転軸部7との距離(図7に示すB寸法)が、上記蓋体2の切欠部4の縦溝5と凸部8との距離(図5に示すA寸法)よりも少し大きく設定されており、蓋体2を起立させた状態で回転軸部7を縦溝5に嵌挿させると連結片6の凸面部18が上記凸部8と係合し、連結片6が回転軸部7を縦溝5の上端に位置させた状態で位置決めされるようになっている。さらに、上記回転軸部7と連結片6の前面の距離(図7に示すC寸法)は、上記B寸法よりも大きく形成され、閉蓋状態では、凸部8が抜け止め凹部9内に入り込むように嵌合して完全に抜け止めされるようになっている。そして、上記回転軸部7が縦溝5の上端位置で蓋体2が回動する際には、上記凸面部18が上記凸部8と摺接し、その摩擦力で蓋体2の回動を規制するようになっている。また、上記連結片6の左右両側には、蓋体2が回動する際に蓋体2の後端が接触するのを防止するための逃がし凹部20が設けられている。
【0014】
上記構成のコンパクト容器において、容器本体1に蓋体2を取り付ける場合には、まず、容器本体1の後側に蓋体2を起立させた状態で配設し、連結片6の回転軸部7の後ろに蓋体2の縦溝5の開口部を位置合わせする。ついで、容器本体1を後方にスライドさせて回転軸部7を縦溝5に嵌挿させ、さらに連結片6を押し込むと、連結片6の凸面部18が凸部8と係合する。この状態で回転軸部7が縦溝5の上端位置で回動自在に嵌合するようになっている。つぎに、蓋体2を前方に回動させると、図11に示すように、連結片6の凸面部18が上記凸部8と摺接しながら蓋体2が前方に回動し、このとき、その摩擦力により蓋体2の回動が規制され、回動途中で蓋体2から手指を離しても蓋体2は倒れずにそのままの姿勢が保持されるようになっている。さらに回動させて、図12に示すように、前端部の係合爪10と被係合部11とを係合させることにより閉蓋される。
【0015】
上記閉蓋状態では、凸部8が抜け止め凹部9に入り込むように嵌合し、連結片6は完全に抜け止めされる。また、閉蓋状態では、図13に示すように、容器本体1の上面の凹部13bに、蓋体2の凹部13aの周縁に形成された突条14が嵌合して、化粧料粉末が外に漏れ出難いようになっている。しかも、上記コンパクト容器では、蓋体2と容器本体1の外周縁に傾斜面16a,16bを設けていることから、閉蓋状態でコンパクト容器の外周に、上記両傾斜面16a,16bからなる溝部16が略全周に形成され、開蓋する場合には上記溝部16に手指を掛けて蓋体2を回動させるようになっている。また、閉蓋状態において、蓋体2の凹部13aと容器本体1の凹部13bとで形成される空間に、パフ23等を収容することができる。なお、図11〜図13において、21はキャラクターマークであり、22は化粧料が充填された中皿である。
【0016】
一方、容器本体1から蓋体2を取り外す場合には、上記と逆に、まず、閉蓋状態の容器本体1と蓋体2の周縁の傾斜面16a,16bに手指を掛けて、蓋体2の前端部を少し上方に持ち上げ、係合爪10と被係合部11の係合を解除する。ついで、蓋体2を後方に回動させて起立させ、この状態で蓋体2を後方に向かって容器本体1から引き離すように力を加えると、凸部8と連結片6との係合が解除され、回転軸部7が縦溝5から抜けて、蓋体2は容器本体1から容易に取り外される。
【0017】
このように、上記コンパクト容器では、蓋体2を着脱する場合には、蓋体2を起こして開蓋状態にしてから回転軸部7を縦溝5に嵌挿させることにより容易に着脱することができる。一方、閉蓋状態では、抜け止め凹部9と凸部8とが嵌合して連結片6は完全に抜け止めされるため、閉蓋状態で外力が加わった場合にも、不用意に蓋体2が外れることがない。また、容器本体1に弾性片が設けられていないため、構造が簡単で、それに伴い成形金型も簡単なものですみ、製造コストが安くなる。さらに、このコンパクト容器では、蓋体2が回動する際に連結片6と凸部8が摺接して回動が規制されるため、回動途中で蓋体2から手指を離しても蓋体2は倒れずにそのままの姿勢が保持されるため、使用中に蓋体2の裏面の鏡2aを覗く際にも、蓋体2を手指で把持する必要がなく、使い勝手が良い。しかも、上記コンパクト容器では、閉蓋状態でコンパクト容器の略全周に、傾斜面16a,16bが形成されていることから、上記傾斜面16a,16bに手指を掛けて蓋体2を開蓋する場合に、手指を掛ける場所が1個所に制約されず、開蓋操作が行いやすい。また、手中に収めた場合にも、上記傾斜面16a,16bからなる溝部16が引っ掛かりとなって滑りにくいうえ、外観上も良好である。
【0018】
なお、上記コンパクト容器において、図14に示すように、蓋体2を取り外したのち、蓋体2の上下を逆にしてから再び連結片6を切欠部4に取り付け、蓋体2に貼着された鏡2aが斜め上方を向いた状態で止めることもできる。このようにすることにより、コンパクト容器を卓上に置き、卓上鏡としても使用することができる。
【0019】
また、上記コンパクト容器において、蓋体2の上面の取り付け穴15には、キャラクターマークを取り付けているが、このキャラクターマークは、各種のものを用意して適宜取り替えることができる。また、上記取り付け穴15には、キャラクターマークだけでなく、ネームプレート,トレードマーク等,各種の表示物等を取り付けることができる。
【0020】
【発明の効果】
以上のように、この発明のコンパクト容器によれば、容器本体から蓋体が着脱自在であるため、蓋体だけを取り外し、手鏡として使用することができる。また、蓋体に切欠部を形成してヒンジ部を構成するようにしたことから、上記蓋体には突起物がなく、蓋体を外して手鏡として携帯する際等に、衣類等に引っ掛かることがなく携帯時に支障が生じない。さらに、上記コンパクト容器は、蓋体を着脱する場合には、蓋体を起こして開蓋状態にしてから回転軸部を縦溝に嵌挿させることにより容易に着脱することができる。一方、閉蓋状態では、抜け止め凹部と凸部とが嵌合して連結片は完全に抜け止めされる。このため、閉蓋状態で外力が加わった場合でも、不用意に蓋体が外れることがない。また、連結片は凸部と係合することにより切欠部内に位置決めされるようになっており、容器本体には弾性片が設けられていないため、構造が簡単で、それに伴い成形金型も簡単なものですむため、製造コストが安くなる。さらに、このコンパクト容器では、蓋体が回動する際に連結片と凸部が摺接して回動が規制されるため、回動途中で蓋体から手指を離しても蓋体は倒れず、どの角度でもそのままの姿勢が保持されるため、使用中に蓋体の裏面の鏡を覗く際にも、蓋体を手指で把持する必要がなく、使い勝手が良い。
【図面の簡単な説明】
【図1】この発明のコンパクト容器の一実施形態を示す斜視図である。
【図2】上記コンパクト容器の蓋体を示す平面図である。
【図3】上記蓋体を示す底面図である。
【図4】上記蓋体を示す背面図である。
【図5】上記蓋体を示す断面図である。
【図6】上記コンパクト容器の容器本体を示す平面図である。
【図7】上記容器本体を示す側面図である。
【図8】上記容器本体を示す正面図である。
【図9】上記容器本体を示す断面図である。
【図10】上記容器本体を示す断面図である。
【図11】上記コンパクト容器の組み立て状態を示す断面図である。
【図12】上記コンパクト容器の組み立て状態を示す断面図である。
【図13】上記コンパクト容器の組み立て状態を示す断面図である。
【図14】上記コンパクト容器の作用を示す断面図である。
【図15】従来例のコンパクト容器を示す斜視図である。
【符号の説明】
1 容器本体
2 蓋体
3 収容部
4 切欠部
5 縦溝
6 連結片
7 回転軸部
8 凸部
9 抜け止め凹部
Claims (1)
- 上面に収容部3が凹設された容器本体1と、この容器本体1の上面を蓋する蓋体2とを備え、上記蓋体2の後端面に切欠部4を形成し、この切欠部4の相対向する両内側面にそれぞれ縦溝5を設け、この縦溝5の下端側を開放し、上記容器本体1の後端に上記切欠部4に収まる大きさの連結片6を立設するとともに、この連結片6の左右両側面に上記縦溝5内を摺動しその上端に回動自在に嵌合する回転軸部7を突設し、上記切欠部4の奥面に、上記回転軸部7が上記縦溝5の上端に位置した状態で上記連結片6と係合してこの連結片6を上記切欠部4内に位置決めするとともに、蓋体2が回動する際に連結片6と摺接して回動を規制する凸部8を形成し、上記連結片6の上記切欠部4の奥面部と対面する面に閉蓋状態で上記凸部8と嵌合して連結片6を抜け止めする抜け止め凹部9を形成し、蓋体2を起こした状態で上記回転軸部7を上記縦溝5に嵌挿させることにより蓋体2を容器本体1に着脱自在にヒンジ連結させるようにしたことを特徴とするコンパクト容器。
Priority Applications (1)
| Application Number | Priority Date | Filing Date | Title |
|---|---|---|---|
| JP31687495A JP3676461B2 (ja) | 1995-12-05 | 1995-12-05 | コンパクト容器 |
Applications Claiming Priority (1)
| Application Number | Priority Date | Filing Date | Title |
|---|---|---|---|
| JP31687495A JP3676461B2 (ja) | 1995-12-05 | 1995-12-05 | コンパクト容器 |
Publications (2)
| Publication Number | Publication Date |
|---|---|
| JPH09154629A JPH09154629A (ja) | 1997-06-17 |
| JP3676461B2 true JP3676461B2 (ja) | 2005-07-27 |
Family
ID=18081883
Family Applications (1)
| Application Number | Title | Priority Date | Filing Date |
|---|---|---|---|
| JP31687495A Expired - Fee Related JP3676461B2 (ja) | 1995-12-05 | 1995-12-05 | コンパクト容器 |
Country Status (1)
| Country | Link |
|---|---|
| JP (1) | JP3676461B2 (ja) |
Cited By (1)
| Publication number | Priority date | Publication date | Assignee | Title |
|---|---|---|---|---|
| US11647824B2 (en) | 2019-09-04 | 2023-05-16 | Lg Household & Health Care Ltd. | Cosmetic container |
Families Citing this family (3)
| Publication number | Priority date | Publication date | Assignee | Title |
|---|---|---|---|---|
| KR200491307Y1 (ko) * | 2019-10-15 | 2020-03-18 | 한국콜마주식회사 | 용기 |
| JP7522653B2 (ja) * | 2020-12-28 | 2024-07-25 | フクダ電子株式会社 | 生体情報記録装置 |
| KR200499175Y1 (ko) * | 2024-06-17 | 2025-05-19 | 주식회사 두성캠테크 | 회전 개폐식 화장품 용기 |
-
1995
- 1995-12-05 JP JP31687495A patent/JP3676461B2/ja not_active Expired - Fee Related
Cited By (1)
| Publication number | Priority date | Publication date | Assignee | Title |
|---|---|---|---|---|
| US11647824B2 (en) | 2019-09-04 | 2023-05-16 | Lg Household & Health Care Ltd. | Cosmetic container |
Also Published As
| Publication number | Publication date |
|---|---|
| JPH09154629A (ja) | 1997-06-17 |
Similar Documents
| Publication | Publication Date | Title |
|---|---|---|
| JP3676461B2 (ja) | コンパクト容器 | |
| JPS5836328Y2 (ja) | コンパクト容器 | |
| JPH0593Y2 (ja) | ||
| JPH10192043A (ja) | 化粧料容器 | |
| JPS6317368Y2 (ja) | ||
| JPS6335703Y2 (ja) | ||
| JPS5836333Y2 (ja) | 化粧ブラシ繰上げ式コンパクト容器 | |
| JPH0445608Y2 (ja) | ||
| JP3778308B2 (ja) | 化粧料容器 | |
| JP3616412B2 (ja) | 化粧用コンパクト容器 | |
| JPH0534565Y2 (ja) | ||
| JP3051056B2 (ja) | 化粧料容器 | |
| JP3539703B2 (ja) | コンパクト容器 | |
| JPH0231052Y2 (ja) | ||
| JPH064809Y2 (ja) | 薄型コンパクト容器 | |
| JPH053150Y2 (ja) | ||
| JP2999384B2 (ja) | 化粧料容器 | |
| JP2545011Y2 (ja) | コンパクト | |
| JPH04112308U (ja) | コンパクト容器 | |
| JP2663157B2 (ja) | コンパクト容器 | |
| JP3525214B2 (ja) | 化粧用コンパクト容器 | |
| JP2000175734A (ja) | 気密化粧料容器 | |
| JP2953717B2 (ja) | コンパクト容器 | |
| JPH084Y2 (ja) | 容器の蓋開閉機構 | |
| JPS6018167Y2 (ja) | コンパクト容器 |
Legal Events
| Date | Code | Title | Description |
|---|---|---|---|
| A977 | Report on retrieval |
Free format text: JAPANESE INTERMEDIATE CODE: A971007 Effective date: 20050223 |
|
| TRDD | Decision of grant or rejection written | ||
| A01 | Written decision to grant a patent or to grant a registration (utility model) |
Free format text: JAPANESE INTERMEDIATE CODE: A01 Effective date: 20050419 |
|
| A61 | First payment of annual fees (during grant procedure) |
Free format text: JAPANESE INTERMEDIATE CODE: A61 Effective date: 20050428 |
|
| R150 | Certificate of patent or registration of utility model |
Free format text: JAPANESE INTERMEDIATE CODE: R150 |
|
| FPAY | Renewal fee payment (event date is renewal date of database) |
Free format text: PAYMENT UNTIL: 20080513 Year of fee payment: 3 |
|
| FPAY | Renewal fee payment (event date is renewal date of database) |
Free format text: PAYMENT UNTIL: 20090513 Year of fee payment: 4 |
|
| FPAY | Renewal fee payment (event date is renewal date of database) |
Free format text: PAYMENT UNTIL: 20100513 Year of fee payment: 5 |
|
| FPAY | Renewal fee payment (event date is renewal date of database) |
Free format text: PAYMENT UNTIL: 20110513 Year of fee payment: 6 |
|
| FPAY | Renewal fee payment (event date is renewal date of database) |
Free format text: PAYMENT UNTIL: 20110513 Year of fee payment: 6 |
|
| FPAY | Renewal fee payment (event date is renewal date of database) |
Free format text: PAYMENT UNTIL: 20120513 Year of fee payment: 7 |
|
| FPAY | Renewal fee payment (event date is renewal date of database) |
Free format text: PAYMENT UNTIL: 20130513 Year of fee payment: 8 |
|
| FPAY | Renewal fee payment (event date is renewal date of database) |
Free format text: PAYMENT UNTIL: 20140513 Year of fee payment: 9 |
|
| LAPS | Cancellation because of no payment of annual fees |