JP2012190865A - 半導体装置の製造方法 - Google Patents

半導体装置の製造方法 Download PDF

Info

Publication number
JP2012190865A
JP2012190865A JP2011050928A JP2011050928A JP2012190865A JP 2012190865 A JP2012190865 A JP 2012190865A JP 2011050928 A JP2011050928 A JP 2011050928A JP 2011050928 A JP2011050928 A JP 2011050928A JP 2012190865 A JP2012190865 A JP 2012190865A
Authority
JP
Japan
Prior art keywords
substrate
manufacturing
semiconductor device
protective film
silicon carbide
Prior art date
Legal status (The legal status is an assumption and is not a legal conclusion. Google has not performed a legal analysis and makes no representation as to the accuracy of the status listed.)
Granted
Application number
JP2011050928A
Other languages
English (en)
Other versions
JP2012190865A5 (ja
JP5659882B2 (ja
Inventor
Takeyoshi Masuda
健良 増田
Current Assignee (The listed assignees may be inaccurate. Google has not performed a legal analysis and makes no representation or warranty as to the accuracy of the list.)
Sumitomo Electric Industries Ltd
Original Assignee
Sumitomo Electric Industries Ltd
Priority date (The priority date is an assumption and is not a legal conclusion. Google has not performed a legal analysis and makes no representation as to the accuracy of the date listed.)
Filing date
Publication date
Priority to JP2011050928A priority Critical patent/JP5659882B2/ja
Application filed by Sumitomo Electric Industries Ltd filed Critical Sumitomo Electric Industries Ltd
Priority to PCT/JP2011/076267 priority patent/WO2012120731A1/ja
Priority to EP11860559.1A priority patent/EP2685488A4/en
Priority to CN201180067218.3A priority patent/CN103548118A/zh
Priority to KR1020137018075A priority patent/KR20140031846A/ko
Priority to TW100143597A priority patent/TW201237968A/zh
Priority to US13/415,406 priority patent/US8524585B2/en
Publication of JP2012190865A publication Critical patent/JP2012190865A/ja
Publication of JP2012190865A5 publication Critical patent/JP2012190865A5/ja
Application granted granted Critical
Publication of JP5659882B2 publication Critical patent/JP5659882B2/ja
Expired - Fee Related legal-status Critical Current
Anticipated expiration legal-status Critical

Links

Images

Classifications

    • HELECTRICITY
    • H10SEMICONDUCTOR DEVICES; ELECTRIC SOLID-STATE DEVICES NOT OTHERWISE PROVIDED FOR
    • H10PGENERIC PROCESSES OR APPARATUS FOR THE MANUFACTURE OR TREATMENT OF DEVICES COVERED BY CLASS H10
    • H10P95/00Generic processes or apparatus for manufacture or treatments not covered by the other groups of this subclass
    • H10P95/90Thermal treatments, e.g. annealing or sintering
    • H10P95/906Thermal treatments, e.g. annealing or sintering for altering the shape of semiconductors, e.g. smoothing the surface
    • HELECTRICITY
    • H10SEMICONDUCTOR DEVICES; ELECTRIC SOLID-STATE DEVICES NOT OTHERWISE PROVIDED FOR
    • H10DINORGANIC ELECTRIC SEMICONDUCTOR DEVICES
    • H10D12/00Bipolar devices controlled by the field effect, e.g. insulated-gate bipolar transistors [IGBT]
    • H10D12/01Manufacture or treatment
    • H10D12/031Manufacture or treatment of IGBTs
    • HELECTRICITY
    • H10SEMICONDUCTOR DEVICES; ELECTRIC SOLID-STATE DEVICES NOT OTHERWISE PROVIDED FOR
    • H10DINORGANIC ELECTRIC SEMICONDUCTOR DEVICES
    • H10D30/00Field-effect transistors [FET]
    • H10D30/01Manufacture or treatment
    • H10D30/021Manufacture or treatment of FETs having insulated gates [IGFET]
    • H10D30/028Manufacture or treatment of FETs having insulated gates [IGFET] of double-diffused metal oxide semiconductor [DMOS] FETs
    • H10D30/0291Manufacture or treatment of FETs having insulated gates [IGFET] of double-diffused metal oxide semiconductor [DMOS] FETs of vertical DMOS [VDMOS] FETs
    • HELECTRICITY
    • H10SEMICONDUCTOR DEVICES; ELECTRIC SOLID-STATE DEVICES NOT OTHERWISE PROVIDED FOR
    • H10DINORGANIC ELECTRIC SEMICONDUCTOR DEVICES
    • H10D30/00Field-effect transistors [FET]
    • H10D30/60Insulated-gate field-effect transistors [IGFET]
    • H10D30/64Double-diffused metal-oxide semiconductor [DMOS] FETs
    • H10D30/66Vertical DMOS [VDMOS] FETs
    • HELECTRICITY
    • H10SEMICONDUCTOR DEVICES; ELECTRIC SOLID-STATE DEVICES NOT OTHERWISE PROVIDED FOR
    • H10DINORGANIC ELECTRIC SEMICONDUCTOR DEVICES
    • H10D62/00Semiconductor bodies, or regions thereof, of devices having potential barriers
    • H10D62/80Semiconductor bodies, or regions thereof, of devices having potential barriers characterised by the materials
    • H10D62/83Semiconductor bodies, or regions thereof, of devices having potential barriers characterised by the materials being Group IV materials, e.g. B-doped Si or undoped Ge
    • H10D62/832Semiconductor bodies, or regions thereof, of devices having potential barriers characterised by the materials being Group IV materials, e.g. B-doped Si or undoped Ge being Group IV materials comprising two or more elements, e.g. SiGe
    • H10D62/8325Silicon carbide
    • HELECTRICITY
    • H10SEMICONDUCTOR DEVICES; ELECTRIC SOLID-STATE DEVICES NOT OTHERWISE PROVIDED FOR
    • H10PGENERIC PROCESSES OR APPARATUS FOR THE MANUFACTURE OR TREATMENT OF DEVICES COVERED BY CLASS H10
    • H10P14/00Formation of materials, e.g. in the shape of layers or pillars
    • H10P14/20Formation of materials, e.g. in the shape of layers or pillars of semiconductor materials
    • HELECTRICITY
    • H10SEMICONDUCTOR DEVICES; ELECTRIC SOLID-STATE DEVICES NOT OTHERWISE PROVIDED FOR
    • H10PGENERIC PROCESSES OR APPARATUS FOR THE MANUFACTURE OR TREATMENT OF DEVICES COVERED BY CLASS H10
    • H10P14/00Formation of materials, e.g. in the shape of layers or pillars
    • H10P14/60Formation of materials, e.g. in the shape of layers or pillars of insulating materials
    • H10P14/63Formation of materials, e.g. in the shape of layers or pillars of insulating materials characterised by the formation processes
    • H10P14/6326Deposition processes
    • H10P14/6349Deposition of epitaxial materials
    • HELECTRICITY
    • H10SEMICONDUCTOR DEVICES; ELECTRIC SOLID-STATE DEVICES NOT OTHERWISE PROVIDED FOR
    • H10PGENERIC PROCESSES OR APPARATUS FOR THE MANUFACTURE OR TREATMENT OF DEVICES COVERED BY CLASS H10
    • H10P30/00Ion implantation into wafers, substrates or parts of devices
    • H10P30/20Ion implantation into wafers, substrates or parts of devices into semiconductor materials, e.g. for doping
    • H10P30/202Ion implantation into wafers, substrates or parts of devices into semiconductor materials, e.g. for doping characterised by the semiconductor materials
    • H10P30/204Ion implantation into wafers, substrates or parts of devices into semiconductor materials, e.g. for doping characterised by the semiconductor materials into Group IV semiconductors
    • H10P30/2042Ion implantation into wafers, substrates or parts of devices into semiconductor materials, e.g. for doping characterised by the semiconductor materials into Group IV semiconductors into crystalline silicon carbide
    • HELECTRICITY
    • H10SEMICONDUCTOR DEVICES; ELECTRIC SOLID-STATE DEVICES NOT OTHERWISE PROVIDED FOR
    • H10PGENERIC PROCESSES OR APPARATUS FOR THE MANUFACTURE OR TREATMENT OF DEVICES COVERED BY CLASS H10
    • H10P30/00Ion implantation into wafers, substrates or parts of devices
    • H10P30/20Ion implantation into wafers, substrates or parts of devices into semiconductor materials, e.g. for doping
    • H10P30/21Ion implantation into wafers, substrates or parts of devices into semiconductor materials, e.g. for doping of electrically active species
    • HELECTRICITY
    • H10SEMICONDUCTOR DEVICES; ELECTRIC SOLID-STATE DEVICES NOT OTHERWISE PROVIDED FOR
    • H10PGENERIC PROCESSES OR APPARATUS FOR THE MANUFACTURE OR TREATMENT OF DEVICES COVERED BY CLASS H10
    • H10P30/00Ion implantation into wafers, substrates or parts of devices
    • H10P30/20Ion implantation into wafers, substrates or parts of devices into semiconductor materials, e.g. for doping
    • H10P30/28Ion implantation into wafers, substrates or parts of devices into semiconductor materials, e.g. for doping characterised by an annealing step, e.g. for activation of dopants
    • HELECTRICITY
    • H10SEMICONDUCTOR DEVICES; ELECTRIC SOLID-STATE DEVICES NOT OTHERWISE PROVIDED FOR
    • H10PGENERIC PROCESSES OR APPARATUS FOR THE MANUFACTURE OR TREATMENT OF DEVICES COVERED BY CLASS H10
    • H10P95/00Generic processes or apparatus for manufacture or treatments not covered by the other groups of this subclass
    • H10P95/90Thermal treatments, e.g. annealing or sintering
    • HELECTRICITY
    • H10SEMICONDUCTOR DEVICES; ELECTRIC SOLID-STATE DEVICES NOT OTHERWISE PROVIDED FOR
    • H10DINORGANIC ELECTRIC SEMICONDUCTOR DEVICES
    • H10D12/00Bipolar devices controlled by the field effect, e.g. insulated-gate bipolar transistors [IGBT]
    • H10D12/01Manufacture or treatment
    • H10D12/031Manufacture or treatment of IGBTs
    • H10D12/032Manufacture or treatment of IGBTs of vertical IGBTs

Landscapes

  • Electrodes Of Semiconductors (AREA)
  • Recrystallisation Techniques (AREA)

Abstract

【課題】炭化珪素からなる基板の活性化アニールにおける表面荒れを抑制することが可能な半導体装置の製造方法を提供する。
【解決手段】MOSFETの製造方法は、炭化珪素からなるエピタキシャル成長層付き基板8を準備する工程と、エピタキシャル成長層付き基板8にイオン注入を実施する工程と、イオン注入が実施されたエピタキシャル成長層付き基板8上に二酸化珪素からなる保護膜80を形成する工程と、保護膜80が形成されたエピタキシャル成長層付き基板8を、酸素原子を含むガスを含有する雰囲気中において1600℃以上の温度域に加熱する工程とを備えている。
【選択図】図5

Description

本発明は半導体装置の製造方法に関し、より特定的には、炭化珪素からなる基板に導入された不純物を活性化させる活性化アニールにおける基板の表面荒れを抑制することが可能な半導体装置の製造方法に関するものである。
近年、半導体装置の高耐圧化、低損失化、高温環境下での使用などを可能とするため、半導体装置を構成する材料として炭化珪素の採用が進められつつある。炭化珪素は、従来から半導体装置を構成する材料として広く使用されている珪素に比べてバンドギャップが大きいワイドバンドギャップ半導体である。そのため、半導体装置を構成する材料として炭化珪素を採用することにより、半導体装置の高耐圧化、オン抵抗の低減などを達成することができる。また、炭化珪素を材料として採用した半導体装置は、珪素を材料として採用した半導体装置に比べて、高温環境下で使用された場合の特性の低下が小さいという利点も有している。
このような炭化珪素を材料として用いた半導体装置の製造方法では、炭化珪素からなる基板に所望の不純物を導入した後、当該不純物を活性化させる活性化アニールが実施される。ここで、炭化珪素からなる基板の活性化アニールは高温で実施する必要がある。その結果、活性化アニールにより基板の表面荒れが発生する場合がある。この表面荒れは、製造される半導体装置の特性に悪影響を及ぼすおそれがあるため、低減されることが望ましい。
これに対し、イオン注入により導入された不純物の活性化アニールの前に、イオン注入が行なわれた領域の表面を窒化珪素膜により被覆する炭化珪素半導体装置の製造方法が提案されている(たとえば、特許文献1参照)。
特開平7−86199号公報
しかしながら、上記活性化アニールにおいては、基板は1600℃以上の高温に加熱される必要がある。そのため、上記特許文献1に記載の半導体装置の製造方法では、炭化珪素と窒化珪素との線膨張係数の違い等に起因して、窒化珪素膜に亀裂が生じるおそれがある。そして、保護膜としての窒化珪素膜に亀裂が生じると、基板の表面荒れを十分に抑制できないという問題が生じる。
本発明はこのような問題に対応するためになされたものであって、その目的は、炭化珪素からなる基板の活性化アニールにおける表面荒れを抑制することが可能な半導体装置の製造方法を提供することである。
本発明に従った半導体装置の製造方法は、炭化珪素からなる基板を準備する工程と、基板にイオン注入を実施する工程と、イオン注入が実施された基板上に二酸化珪素からなる保護膜を形成する工程と、保護膜が形成された基板を、酸素原子を含むガスを含有する雰囲気中において1600℃以上の温度域に加熱する工程とを備えている。
本発明の半導体装置の製造方法においては、イオン注入が実施された炭化珪素からなる基板に二酸化珪素からなる保護膜を形成した後、酸素原子を含むガスを含有する雰囲気中において1600℃以上の温度域に加熱することにより活性化アニールが実施される。このとき、二酸化珪素からなる保護膜に亀裂が生じ得る状態となった場合でも、炭化珪素基板から離脱する珪素と雰囲気中のガスに含まれる酸素原子とが結合して生成する二酸化珪素により当該亀裂の発生が抑制される。その結果、本発明の半導体装置の製造方法によれば、炭化珪素からなる基板の活性化アニールにおける表面荒れを抑制することができる。
上記本発明の半導体装置の製造方法においては、基板を加熱する工程では、保護膜が形成された基板が1700℃以下の温度域に加熱されてもよい。基板の加熱温度を1700℃以下とすることにより、二酸化珪素からなる保護膜により基板の表面荒れをより確実に抑制することが可能となる。
上記本発明の半導体装置の製造方法においては、基板を加熱する工程では、保護膜が形成された基板が酸素ガスを含有する雰囲気中において加熱される。
酸素ガスは、安価で取り扱いも容易であるため、上記基板を加熱する工程の雰囲気を構成するガス(酸素原子を含むガス)として好適である。
上記本発明の半導体装置の製造方法においては、保護膜を形成する工程では、熱酸化により保護膜が形成されてもよい。これにより、二酸化珪素からなる保護膜を容易に形成することができる。
上記本発明の半導体装置の製造方法においては、保護膜を形成する工程と基板を加熱する工程とは単一の工程として実施されてもよい。
上記保護膜を熱酸化処理により形成する場合、上記基板は酸素原子を含むガスを含有する雰囲気中において加熱される。そのため、当該保護膜を形成する工程と後続の酸素原子を含むガスを含有する雰囲気中において上記基板を加熱する工程とを単一の工程として実施することができる。これにより、半導体装置の製造プロセスを簡略化することができる。
以上の説明から明らかなように、本発明の半導体装置の製造方法によれば、炭化珪素からなる基板の活性化アニールにおける表面荒れを抑制することが可能な半導体装置の製造方法を提供することができる。
本発明の一実施の形態におけるMOSFET(Metal Oxide Semiconductor Field Effect Transistor)の構造を示す概略断面図である。 MOSFETの製造方法の概略を示すフローチャートである。 MOSFETの製造方法を説明するための概略断面図である。 MOSFETの製造方法を説明するための概略断面図である。 MOSFETの製造方法を説明するための概略断面図である。 MOSFETの製造方法を説明するための概略断面図である。 MOSFETの製造方法を説明するための概略断面図である。 MOSFETの製造方法を説明するための概略断面図である。
以下、図面に基づいて本発明の実施の形態を説明する。なお、以下の図面において同一または相当する部分には同一の参照番号を付し、その説明は繰返さない。
まず、本発明の一実施の形態における半導体装置の製造方法により製造可能な半導体装置について説明する。図1を参照して、半導体装置としてのMOSFET100は、DiMOSFETであって、導電型がn型(第1導電型)である炭化珪素基板1と、炭化珪素からなり導電型がn型であるバッファ層2と、炭化珪素からなり導電型がn型のドリフト層3と、導電型がp型(第2導電型)の一対のp型ボディ領域4と、導電型がn型のn領域5と、導電型がp型のp領域6とを備えている。
バッファ層2は、炭化珪素基板1の一方の主面1A上に形成され、n型不純物を含むことにより導電型がn型となっている。ドリフト層3は、バッファ層2上に形成され、n型不純物を含むことにより導電型がn型となっている。ドリフト層3に含まれるn型不純物は、たとえばN(窒素)であり、バッファ層2に含まれるn型不純物よりも低い濃度(密度)で含まれている。バッファ層2およびドリフト層3は、炭化珪素基板1の一方の主面1A上に形成されたエピタキシャル成長層である。
一対のp型ボディ領域4は、エピタキシャル成長層において、炭化珪素基板1側の主面とは反対側の主面3Aを含むように互いに分離して形成され、p型不純物(導電型がp型である不純物)を含むことにより、導電型がp型となっている。p型ボディ領域4に含まれるp型不純物は、たとえばアルミニウム(Al)、硼素(B)などである。
領域5は、上記主面3Aを含み、かつp型ボディ領域4に取り囲まれるように、一対のp型ボディ領域4のそれぞれの内部に形成されている。n領域5は、n型不純物、たとえばPなどをドリフト層3に含まれるn型不純物よりも高い濃度(密度)で含んでいる。p領域6は、上記主面3Aを含み、かつp型ボディ領域4に取り囲まれるとともに、n領域5に隣接するように一対のp型ボディ領域4のそれぞれの内部に形成されている。p領域6は、p型不純物、たとえばAlなどをp型ボディ領域4に含まれるp型不純物よりも高い濃度(密度)で含んでいる。上記バッファ層2、ドリフト層3、p型ボディ領域4、n領域5およびp領域6は、活性層7を構成する。
さらに、図1を参照して、MOSFET100は、ゲート絶縁膜としてのゲート酸化膜91と、ゲート電極93と、一対のソースコンタクト電極92と、層間絶縁膜94と、ソース配線95と、ドレイン電極96とを備えている。
ゲート酸化膜91は、主面3Aに接触し、一方のn領域5の上部表面から他方のn領域5の上部表面にまで延在するようにエピタキシャル成長層の主面3A上に形成され、たとえば二酸化珪素(SiO)からなっている。
ゲート電極93は、一方のn領域5上から他方のn領域5上にまで延在するように、ゲート酸化膜91に接触して配置されている。また、ゲート電極93は、不純物が添加されたポリシリコン、Alなどの導電体からなっている。
ソースコンタクト電極92は、一対のn領域5上のそれぞれから、ゲート酸化膜91から離れる向きに延在してp領域6上にまで達するとともに、主面3Aに接触して配置されている。また、ソースコンタクト電極92は、たとえばNiSi(ニッケルシリサイド)など、n領域5とオーミックコンタクト可能な材料からなっている。
層間絶縁膜94は、ドリフト層3の主面3A上においてゲート電極93を取り囲み、かつ一方のp型ボディ領域4上から他方のp型ボディ領域4上にまで延在するように形成され、たとえば絶縁体である二酸化珪素(SiO)からなっている。
ソース配線95は、ドリフト層3の主面3A上において、層間絶縁膜94を取り囲み、かつソースコンタクト電極92の上部表面上にまで延在している。また、ソース配線95は、Alなどの導電体からなり、ソースコンタクト電極92を介してn領域5と電気的に接続されている。
ドレイン電極96は、炭化珪素基板1においてドリフト層3が形成される側とは反対側の主面に接触して形成されている。このドレイン電極96は、たとえばNiSiなど、炭化珪素基板1とオーミックコンタクト可能な材料からなっており、炭化珪素基板1と電気的に接続されている。
次に、MOSFET100の動作について説明する。図1を参照して、ゲート電極93の電圧が閾値電圧未満の状態、すなわちオフ状態では、ドレイン電極に電圧が印加されても、ゲート酸化膜91の直下に位置するp型ボディ領域4とドリフト層3との間のpn接合が逆バイアスとなり、非導通状態となる。一方、ゲート電極93に閾値電圧以上の電圧を印加すると、p型ボディ領域4のゲート酸化膜91と接触する付近であるチャネル領域において、反転層が形成される。その結果、n領域5とドリフト層3とが電気的に接続され、ソース配線95とドレイン電極96との間に電流が流れる。
ここで、上述のようにMOSFET100では、p型ボディ領域4のゲート酸化膜91と接触する付近の領域であるチャネル領域において反転層が形成され、当該反転層を電流が流れる。そのため、主面3Aに面荒れが生じた場合、反転層における抵抗(チャネル抵抗)が上昇し、オン抵抗が高くなるという問題を生じ得る。しかし、本実施の形態におけるMOSFET100は、以下に説明する本実施の形態における半導体装置の製造方法により製造されていることにより、主面3Aの面荒れが低減され、上記問題の発生が抑制されている。
次に、本実施の形態におけるMOSFET100の製造方法について、図2〜図8を参照して説明する。図2を参照して、本実施の形態におけるMOSFET100の製造方法では、まず工程(S110)として炭化珪素基板準備工程が実施される。この工程(S110)では、図3を参照して、たとえば昇華法により製造されたインゴットをスライスして得られた炭化珪素基板1が準備される。
次に、工程(S120)としてエピタキシャル成長工程が実施される。この工程(S120)では、図3を参照して、エピタキシャル成長により炭化珪素基板1の一方の主面1A上に炭化珪素からなるバッファ層2およびドリフト層3が順次形成される。これにより、炭化珪素からなる基板としてのエピタキシャル成長層付き基板8が得られる。
次に、工程(S130)としてイオン注入工程が実施される。この工程(S130)では、図3および図4を参照して、まずp型ボディ領域4を形成するためのイオン注入が実施される。具体的には、たとえばAl(アルミニウム)イオンがドリフト層3に注入されることにより、p型ボディ領域4が形成される。次に、n領域5を形成するためのイオン注入が実施される。具体的には、たとえばP(リン)イオンがp型ボディ領域4に注入されることにより、p型ボディ領域4内にn領域5が形成される。さらに、p領域6を形成するためのイオン注入が実施される。具体的には、たとえばAlイオンがp型ボディ領域4に注入されることにより、p型ボディ領域4内にp領域6が形成される。上記イオン注入は、たとえばドリフト層3の主面上に二酸化珪素(SiO)からなり、イオン注入を実施すべき所望の領域に開口を有するマスク層を形成して実施することができる。
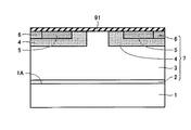
次に、工程(S140)として保護膜形成工程が実施される。この工程(S140)では、図5を参照して、工程(S130)においてイオン注入が実施されたエピタキシャル成長層付き基板8の主面3A上に二酸化珪素からなる保護膜80が形成される。この保護膜80は、たとえば熱酸化により形成することができる。また、保護膜80の厚みは、たとえば0.1μm以上1μm以下とすることができる。保護膜80は、プラズマCVD(Chemical Vapor Deposition)などのCVD法により形成されてもよい。
次に、工程(S150)として活性化アニール工程が実施される。この工程(S150)では、工程(S140)において保護膜80が形成されたエピタキシャル成長層付き基板8が、酸素原子を含むガスを含有する雰囲気中において1600℃以上の温度域に加熱される。これにより、工程(S130)においてイオン注入によりエピタキシャル成長層付き基板8に導入された不純物が活性化し、所望の導電型のp型ボディ領域4、n領域5およびp領域6が得られる。
このとき、工程(S150)においてエピタキシャル成長層付き基板8が、たとえばアルゴンガス雰囲気中において加熱された場合、図6に示すように炭化珪素と二酸化珪素との線膨張係数の違い等に起因して保護膜80に亀裂80Aが生じるおそれがある。この場合、エピタキシャル成長層付き基板8から離脱した珪素原子が当該亀裂80Aを通して雰囲気中に放出される。その結果、表面荒れが発生する。
これに対し、本実施の形態における工程(S150)では、エピタキシャル成長層付き基板8が酸素原子を含むガスを含有する雰囲気中において加熱される。そのため、エピタキシャル成長層付き基板8から離脱した珪素は雰囲気中の酸素と結合し、二酸化珪素となる。その結果、図7に示すように、エピタキシャル成長層付き基板8と保護膜80との境界部に二酸化珪素膜82が形成されるとともに、二酸化珪素からなり亀裂80Aを充填(修復)する亀裂抑制部81が形成される。これにより、亀裂80Aの発生や成長が抑制され、表面荒れの発生が低減される。
ここで、上記酸素原子を含むガスとしては、たとえば酸素ガス、オゾンガス、一酸化窒素ガス、二酸化窒素ガス、一酸化炭素ガスなどを採用することができる。酸素ガスは、安価で取り扱いも容易であるため、上記酸素原子を含むガスとして特に好適である。また、工程(S150)では、エピタキシャル成長層付き基板8が、酸素ガス雰囲気中、または酸素ガスとアルゴンガスとを含有し、残部不純物からなる雰囲気中において加熱されてもよい。
また、工程(S150)では、エピタキシャル成長層付き基板8の加熱温度は1700℃以下とすることが好ましい。エピタキシャル成長層付き基板8の加熱温度を1700℃以下とすることにより、二酸化珪素からなる保護膜80、二酸化珪素膜82および亀裂抑制部81によって表面荒れをより確実に抑制することができる。
さらに、上記工程(S140)と(S150)とは単一の工程として実施されてもよい。具体的には、たとえばエピタキシャル成長層付き基板8を、酸素ガスとアルゴンガスとを含有し、残部不純物からなる雰囲気に調整された反応室内において1100℃以上1600℃以下の温度域に加熱して5分間以上120分間以下の時間保持することにより保護膜80を形成した後、雰囲気を変化させることなく同一の反応室内において1600℃以上1700℃以下の温度域に加熱して1分間以上30分間以下の時間保持することにより活性化アニールを実施する。このように工程(S140)と(S150)とを単一の工程として実施することにより、MOSFET100の製造プロセスを簡略化することができる。
次に、工程(S160)として保護膜除去工程が実施される。この工程(S160)では、保護膜80が除去される。保護膜80の除去は、たとえばフッ酸系の液体を用いて実施してもよいし、フッ素系プラズマ処理により実施してもよい。
次に、工程(S170)として酸化膜形成工程が実施される。この工程(S170)では、図8を参照して、たとえば酸素雰囲気中において1300℃に加熱して60分間保持する熱処理が実施されることにより、酸化膜(ゲート酸化膜)91が形成される。
次に、工程(S180)として電極形成工程が実施される。図8および図1を参照して、この工程(S180)では、まず、たとえばCVD法、フォトリソグラフィおよびエッチングにより、高濃度に不純物が添加された導電体であるポリシリコンからなるゲート電極93が形成される。その後、たとえばCVD法により、絶縁体であるSiOからなる層間絶縁膜94が、主面3A上においてゲート電極93を取り囲むように形成される。次に、フォトリソグラフィおよびエッチングにより、ソースコンタクト電極92を形成すべき領域の層間絶縁膜94と酸化膜91とが除去される。次に、たとえば蒸着法により形成されたニッケル(Ni)膜が加熱されてシリサイド化されることにより、ソースコンタクト電極92およびドレイン電極96が形成される。そして、たとえば蒸着法により、導電体であるAlからなるソース配線95が、主面3A上において、層間絶縁膜94を取り囲むとともに、n領域5およびソースコンタクト電極92の上部表面上にまで延在するように形成される。以上の手順により、本実施の形態におけるMOSFET100が完成する。
以上のように、本実施の形態におけるMOSFET100の製造方法においては、工程(S150)において二酸化珪素からなる保護膜80に亀裂80Aが生じ得る状態となった場合でも、エピタキシャル成長層付き基板8から離脱する珪素と雰囲気中のガスに含まれる酸素原子とが結合して生成する二酸化珪素により当該亀裂80Aの発生が抑制される。その結果、本実施の形態におけるMOSFET100の製造方法によれば、エピタキシャル成長層付き基板8の活性化アニールにおける表面荒れを抑制することができる。
なお、上記実施の形態においては、本発明の半導体装置の製造方法の一例としてMOSFETが製造される場合について説明したが、本発明の製造方法により製造可能な半導体装置はこれに限られない。本発明の半導体装置の製造方法は、炭化珪素からなる基板にイオン注入を実施した後、活性化アニールを実施するプロセスが採用される半導体装置の製造方法に広く適用することができ、具体的にはダイオード、JFET(Junction Field Effect Transistor)、IGBT(Insulated Gate Bipolar Transistor)などの製造方法にも適用することができる。
今回開示された実施の形態はすべての点で例示であって、制限的なものではないと考えられるべきである。本発明の範囲は上記した説明ではなくて特許請求の範囲によって示され、特許請求の範囲と均等の意味、および範囲内でのすべての変更が含まれることが意図される。
本発明の半導体装置の製造方法は、炭化珪素からなる基板にイオン注入を実施した後、活性化アニールを実施するプロセスが採用される半導体装置の製造方法に、特に有利に適用され得る。
1 炭化珪素基板、1A 主面、2 バッファ層、3 ドリフト層、3A 主面、4 p型ボディ領域、5 n領域、6 p領域、7 活性層、8 エピタキシャル成長層付き基板、80 保護膜、80A 亀裂、81 亀裂抑制部、82 二酸化珪素膜、91 ゲート酸化膜(酸化膜)、92 ソースコンタクト電極、93 ゲート電極、94 層間絶縁膜、95 ソース配線、96 ドレイン電極、100 MOSFET。

Claims (5)

  1. 炭化珪素からなる基板を準備する工程と、
    前記基板にイオン注入を実施する工程と、
    前記イオン注入が実施された前記基板上に二酸化珪素からなる保護膜を形成する工程と、
    前記保護膜が形成された前記基板を、酸素原子を含むガスを含有する雰囲気中において1600℃以上の温度域に加熱する工程とを備えた、半導体装置の製造方法。
  2. 前記基板を加熱する工程では、前記保護膜が形成された前記基板が1700℃以下の温度域に加熱される、請求項1に記載の半導体装置の製造方法。
  3. 前記基板を加熱する工程では、前記保護膜が形成された前記基板が酸素ガスを含有する雰囲気中において加熱される、請求項1または2に記載の半導体装置の製造方法。
  4. 前記保護膜を形成する工程では、熱酸化により前記保護膜が形成される、請求項1〜3のいずれか1項に記載の半導体装置の製造方法。
  5. 前記保護膜を形成する工程と前記基板を加熱する工程とは単一の工程として実施される、請求項4に記載の半導体装置の製造方法。
JP2011050928A 2011-03-09 2011-03-09 半導体装置の製造方法 Expired - Fee Related JP5659882B2 (ja)

Priority Applications (7)

Application Number Priority Date Filing Date Title
JP2011050928A JP5659882B2 (ja) 2011-03-09 2011-03-09 半導体装置の製造方法
EP11860559.1A EP2685488A4 (en) 2011-03-09 2011-11-15 METHOD OF MANUFACTURING A SEMICONDUCTOR COMPONENT
CN201180067218.3A CN103548118A (zh) 2011-03-09 2011-11-15 制造半导体器件的方法
KR1020137018075A KR20140031846A (ko) 2011-03-09 2011-11-15 반도체 장치의 제조 방법
PCT/JP2011/076267 WO2012120731A1 (ja) 2011-03-09 2011-11-15 半導体装置の製造方法
TW100143597A TW201237968A (en) 2011-03-09 2011-11-28 Production method for semiconductor device
US13/415,406 US8524585B2 (en) 2011-03-09 2012-03-08 Method of manufacturing semiconductor device

Applications Claiming Priority (1)

Application Number Priority Date Filing Date Title
JP2011050928A JP5659882B2 (ja) 2011-03-09 2011-03-09 半導体装置の製造方法

Publications (3)

Publication Number Publication Date
JP2012190865A true JP2012190865A (ja) 2012-10-04
JP2012190865A5 JP2012190865A5 (ja) 2014-01-23
JP5659882B2 JP5659882B2 (ja) 2015-01-28

Family

ID=46795959

Family Applications (1)

Application Number Title Priority Date Filing Date
JP2011050928A Expired - Fee Related JP5659882B2 (ja) 2011-03-09 2011-03-09 半導体装置の製造方法

Country Status (7)

Country Link
US (1) US8524585B2 (ja)
EP (1) EP2685488A4 (ja)
JP (1) JP5659882B2 (ja)
KR (1) KR20140031846A (ja)
CN (1) CN103548118A (ja)
TW (1) TW201237968A (ja)
WO (1) WO2012120731A1 (ja)

Cited By (3)

* Cited by examiner, † Cited by third party
Publication number Priority date Publication date Assignee Title
JP2014229708A (ja) * 2013-05-21 2014-12-08 ローム株式会社 半導体装置および半導体装置の製造方法
CN105161416A (zh) * 2015-09-24 2015-12-16 株洲南车时代电气股份有限公司 一种半导体结构的掺杂方法
JP2017168719A (ja) * 2016-03-17 2017-09-21 国立大学法人大阪大学 炭化珪素半導体装置の製造方法

Families Citing this family (5)

* Cited by examiner, † Cited by third party
Publication number Priority date Publication date Assignee Title
CN104143503A (zh) * 2013-05-07 2014-11-12 上海凯世通半导体有限公司 掺杂方法
JP6314965B2 (ja) * 2015-12-11 2018-04-25 トヨタ自動車株式会社 半導体装置の製造方法
WO2018134024A1 (en) * 2017-01-17 2018-07-26 Zf Friedrichshafen Ag Method of manufacturing an insulation layer on silicon carbide
CN110391317B (zh) * 2019-07-29 2021-03-09 通威太阳能(成都)有限公司 一种单晶硅片的绒面制备方法
JP7697313B2 (ja) * 2021-08-17 2025-06-24 富士電機株式会社 炭化珪素半導体装置および炭化珪素半導体装置の製造方法

Citations (4)

* Cited by examiner, † Cited by third party
Publication number Priority date Publication date Assignee Title
JPH10125611A (ja) * 1996-10-17 1998-05-15 Denso Corp 炭化珪素半導体装置の製造方法
JP2002314071A (ja) * 2001-04-18 2002-10-25 Denso Corp 炭化珪素半導体装置の製造方法
JP2010067917A (ja) * 2008-09-12 2010-03-25 Sumitomo Electric Ind Ltd 半導体装置の製造方法および半導体装置
JP2010262952A (ja) * 2009-04-29 2010-11-18 Mitsubishi Electric Corp 炭化珪素半導体装置の製造方法

Family Cites Families (9)

* Cited by examiner, † Cited by third party
Publication number Priority date Publication date Assignee Title
US5411907A (en) * 1992-09-01 1995-05-02 Taiwan Semiconductor Manufacturing Company Capping free metal silicide integrated process
JPH0786199A (ja) 1993-09-16 1995-03-31 Fuji Electric Co Ltd 炭化けい素半導体装置の製造方法
KR100327086B1 (ko) * 1994-06-15 2002-03-06 구사마 사부로 박막 반도체 장치의 제조방법, 박막 반도체 장치,액정표시장치 및 전자기기
US5952679A (en) 1996-10-17 1999-09-14 Denso Corporation Semiconductor substrate and method for straightening warp of semiconductor substrate
JP3760688B2 (ja) * 1999-08-26 2006-03-29 富士電機ホールディングス株式会社 炭化けい素半導体素子の製造方法
JP4134575B2 (ja) * 2002-02-28 2008-08-20 松下電器産業株式会社 半導体装置およびその製造方法
US7572741B2 (en) * 2005-09-16 2009-08-11 Cree, Inc. Methods of fabricating oxide layers on silicon carbide layers utilizing atomic oxygen
JP5509520B2 (ja) * 2006-12-21 2014-06-04 富士電機株式会社 炭化珪素半導体装置の製造方法
US7820534B2 (en) * 2007-08-10 2010-10-26 Mitsubishi Electric Corporation Method of manufacturing silicon carbide semiconductor device

Patent Citations (4)

* Cited by examiner, † Cited by third party
Publication number Priority date Publication date Assignee Title
JPH10125611A (ja) * 1996-10-17 1998-05-15 Denso Corp 炭化珪素半導体装置の製造方法
JP2002314071A (ja) * 2001-04-18 2002-10-25 Denso Corp 炭化珪素半導体装置の製造方法
JP2010067917A (ja) * 2008-09-12 2010-03-25 Sumitomo Electric Ind Ltd 半導体装置の製造方法および半導体装置
JP2010262952A (ja) * 2009-04-29 2010-11-18 Mitsubishi Electric Corp 炭化珪素半導体装置の製造方法

Cited By (3)

* Cited by examiner, † Cited by third party
Publication number Priority date Publication date Assignee Title
JP2014229708A (ja) * 2013-05-21 2014-12-08 ローム株式会社 半導体装置および半導体装置の製造方法
CN105161416A (zh) * 2015-09-24 2015-12-16 株洲南车时代电气股份有限公司 一种半导体结构的掺杂方法
JP2017168719A (ja) * 2016-03-17 2017-09-21 国立大学法人大阪大学 炭化珪素半導体装置の製造方法

Also Published As

Publication number Publication date
US8524585B2 (en) 2013-09-03
KR20140031846A (ko) 2014-03-13
TW201237968A (en) 2012-09-16
EP2685488A1 (en) 2014-01-15
US20120231617A1 (en) 2012-09-13
EP2685488A4 (en) 2014-10-22
WO2012120731A1 (ja) 2012-09-13
CN103548118A (zh) 2014-01-29
JP5659882B2 (ja) 2015-01-28

Similar Documents

Publication Publication Date Title
JP5659882B2 (ja) 半導体装置の製造方法
JP5141227B2 (ja) 半導体装置の製造方法
JP5759293B2 (ja) 半導体装置の製造方法
JP2012253108A (ja) 炭化珪素半導体装置およびその製造方法
JP2012243966A (ja) 半導体装置
JP5626037B2 (ja) 半導体装置の製造方法
WO2014046073A1 (ja) 炭化珪素半導体装置およびその製造方法
JP5870672B2 (ja) 半導体装置
JP2010034481A (ja) 半導体装置の製造方法および半導体装置
JP2015191923A (ja) 炭化珪素半導体装置およびその製造方法
JP2015204409A (ja) 炭化珪素半導体装置およびその製造方法
JP2013172111A (ja) 炭化珪素半導体装置およびその製造方法
JP5704003B2 (ja) 半導体装置の製造方法
JP5655570B2 (ja) 半導体装置の製造方法
JP2016143788A (ja) 炭化珪素半導体装置の製造方法
JP2015115570A (ja) 炭化珪素半導体装置およびその製造方法
JP2010027638A (ja) 半導体装置の製造方法および半導体装置
JP2015115571A (ja) 炭化珪素半導体装置の製造方法
JP2015095511A (ja) 炭化珪素半導体装置およびその製造方法
JP2017168719A (ja) 炭化珪素半導体装置の製造方法

Legal Events

Date Code Title Description
A621 Written request for application examination

Free format text: JAPANESE INTERMEDIATE CODE: A621

Effective date: 20131029

A521 Request for written amendment filed

Free format text: JAPANESE INTERMEDIATE CODE: A523

Effective date: 20131204

A131 Notification of reasons for refusal

Free format text: JAPANESE INTERMEDIATE CODE: A131

Effective date: 20140212

A521 Request for written amendment filed

Free format text: JAPANESE INTERMEDIATE CODE: A523

Effective date: 20140319

TRDD Decision of grant or rejection written
A01 Written decision to grant a patent or to grant a registration (utility model)

Free format text: JAPANESE INTERMEDIATE CODE: A01

Effective date: 20141104

A61 First payment of annual fees (during grant procedure)

Free format text: JAPANESE INTERMEDIATE CODE: A61

Effective date: 20141117

R150 Certificate of patent or registration of utility model

Ref document number: 5659882

Country of ref document: JP

Free format text: JAPANESE INTERMEDIATE CODE: R150

R250 Receipt of annual fees

Free format text: JAPANESE INTERMEDIATE CODE: R250

R250 Receipt of annual fees

Free format text: JAPANESE INTERMEDIATE CODE: R250

R250 Receipt of annual fees

Free format text: JAPANESE INTERMEDIATE CODE: R250

R250 Receipt of annual fees

Free format text: JAPANESE INTERMEDIATE CODE: R250

LAPS Cancellation because of no payment of annual fees